Ministerio de Industria, Turismo y Comercio LogoMinisterior
 

Alerta

Resultados 1111 resultados
LastUpdate Última actualización 26/01/2026 [07:08:00]
pdfxls
Publicaciones de los últimos 15 días/Last 15 days publications (excluidas pubs. CN y JP /CN and JP pubs. excluded)
previousPage Resultados 900 a 925 de 1111 nextPage  

INFORMATION PROCESSING METHOD, INFORMATION PROCESSING DEVICE, AND NON-TRANSITORY COMPUTER READABLE RECORDING MEDIUM STORING INFORMATION PROCESSING PROGRAM

NºPublicación:  US20260017124A1 15/01/2026
Solicitante: 
PANASONIC INTELLECTUAL PROPERTY MAN CO LTD [JP]
PANASONIC INTELLECTUAL PROPERTY MANAGEMENT CO., LTD
US_20260017124_PA

Resumen de: US20260017124A1

An information terminal acquires a plurality of abnormal state items indicating a state item for which an abnormal value is detected from among a plurality of state items indicating a plurality of states of a plurality of batteries, upon receiving selection of one abnormal state item of one battery among the plurality of abnormal state items having been acquired, acquires a related state item indicating a state item related to the one abnormal state item having been selected from among the plurality of state items of the one battery, and displays an operation history of the related state item having been acquired.

AUTOMATIC BATTERY SYSTEM TESTING AND REPORTING SYSTEM AND METHODS

NºPublicación:  US20260016540A1 15/01/2026
Solicitante: 
A123 SYSTEMS LLC [US]
A123 Systems LLC
US_20260016540_PA

Resumen de: US20260016540A1

Systems and methods are provided for an automatic battery test system for a battery system. The automatic battery test system includes a switch matrix coupled to the battery system, a peripheral instrument coupled to the battery system via the switch matrix, a communication interface coupled to the switch matrix, and a computing system coupled to the switch matrix via the communication interface.

INFORMATION PROCESSING DEVICE, INFORMATION PROCESSING METHOD, AND PROGRAM

NºPublicación:  US20260016542A1 15/01/2026
Solicitante: 
GS YUASA INT LTD [JP]
GS Yuasa International Ltd
US_20260016542_PA

Resumen de: US20260016542A1

An information processing device includes an acquisition unit that acquires time-series data including a current value of a first energy storage device detected by a first detection device, and a correction unit that corrects the acquired time-series data based on a correlation between the time-series data acquired by the acquisition unit and reference time-series data including a current value of a second energy storage device detected by a second detection device.

BATTERY MONITORING SYSTEM

NºPublicación:  US20260016545A1 15/01/2026
Solicitante: 
DENSO CORP [JP]
DENSO CORPORATION
US_20260016545_PA

Resumen de: US20260016545A1

A battery monitoring system of a battery having multiple battery cells, includes: multiple monitoring circuits each of which is connected in series via a communication path and uses a power of a battery module to acquire data relating to the battery module; a microcomputer that monitors the battery during a normal operation; and a communication bridge that is connected to the monitoring circuits via the communication path and transitions to a low power consumption mode when the microcomputer is in a sleep mode. The communication bridge includes: an instruction unit that activates from the low power consumption mode autonomously from the microcomputer using a power source different from the battery module and issues an instruction to acquire the data; an acquisition unit that acquires the data from the monitoring circuits; and a determination unit that determines whether the battery is in an anomaly state.

TESTING METHOD AND TESTING SYSTEM FOR STORAGE AND CHARGING SYSTEM

NºPublicación:  US20260016546A1 15/01/2026
Solicitante: 
CONTEMPORARY AMPEREX TECH CO LIMITED [CN]
CONTEMPORARY AMPEREX FUTURE ENERGY TECH SHENZHEN LIMITED [CN]
CONTEMPORARY AMPEREX TECHNOLOGY CO., LIMITED,
CONTEMPORARY AMPEREX FUTURE ENERGY TECHNOLOGY (SHENZHEN) LIMITED
US_20260016546_A1

Resumen de: US20260016546A1

A testing method and a testing system for a storage and charging system are disclosed. A tester acquires first charging data about that an energy management system instructs an AC-DC converter to charge an energy storage apparatus in a case that the remaining power of the energy storage apparatus is less than or equal to a first threshold, and determines whether an energy storage function of the storage and charging system is normal; the tester acquires second charging data about that the energy management system controls the AC-DC converter and/or the energy storage apparatus to charge a device when the device is connected to the charging conversion apparatus, and determines whether a charging function of the storage and charging system is normal. The energy storage function and the charging function are tested when a communication function between a battery management unit and the energy management system passes testing.

EXTERIOR MATERIAL FOR POWER STORAGE DEVICE, POWER STORAGE DEVICE, AND POWER STORAGE APPARATUS

NºPublicación:  WO2026014256A1 15/01/2026
Solicitante: 
TOPPAN HOLDINGS INC [JP]
\uFF34\uFF2F\uFF30\uFF30\uFF21\uFF2E\u30DB\u30FC\u30EB\u30C7\u30A3\u30F3\u30B0\u30B9\u682A\u5F0F\u4F1A\u793E
WO_2026014256_PA

Resumen de: WO2026014256A1

An exterior material for a power storage device according to the present disclosure comprises: a hydrogen sulfide adsorption layer containing a hydrogen sulfide adsorbent; a base material layer; a metal foil layer; and a sealant layer, in this order. In the exterior material for a power storage device, the hydrogen sulfide adsorbent is composed of metal oxide, and the hydrogen sulfide adsorbent content in the hydrogen sulfide adsorption layer is not less than 0.5 mass%.

NONAQUEOUS ELECTROLYTE FOR NONAQUEOUS ELECTROLYTE CELL, AND NONAQUEOUS ELECTROLYTE CELL

NºPublicación:  WO2026014378A1 15/01/2026
Solicitante: 
PANASONIC INTELLECTUAL PROPERTY MAN CO LTD [JP]
\u30D1\u30CA\u30BD\u30CB\u30C3\u30AF\uFF29\uFF30\u30DE\u30CD\u30B8\u30E1\u30F3\u30C8\u682A\u5F0F\u4F1A\u793E
WO_2026014378_PA

Resumen de: WO2026014378A1

A nonaqueous electrolyte for a nonaqueous electrolyte cell, said nonaqueous electrolyte comprising a nonaqueous solvent, an electrolyte salt, and an additive, wherein the additive includes an imidazole compound, the imidazole compound has an imidazole ring and at least one amide bond-containing group R, and the carbonyl carbon of the amide bond in the amide bond-containing group R is bonded to the imidazole ring.

NEGATIVE ELECTRODE MATERIAL FOR SECONDARY BATTERY

NºPublicación:  EP4679523A1 14/01/2026
Solicitante: 
POSCO SILICON SOLUTION CO LTD [KR]
POSCO Silicon Solution Co., Ltd
EP_4679523_PA

Resumen de: EP4679523A1

The present invention relates to a negative electrode material for a secondary battery, having excellent initial charge/discharge efficiency, and, specifically, the negative electrode material for a secondary battery comprises: a matrix containing a silicon oxide, a composite oxide of silicon and at least one doping element selected from the group consisting of an alkali metal, an alkaline earth metal and a post-transition metal, or a mixture thereof; and silicon nanocrystals dispersed and incorporated in the matrix, and comprises, in an X-ray diffraction pattern using CuKα rays, a first peak of diffraction angle 2θ in the range of 20.3°-21.3°, a second peak in the range of 26°-27°, a third peak in the range of 28°-29°, and a fourth peak in the range of 30.5°-31.5°, and the ratio (I2/I4) of the maximum intensity (I2) of the second peak to the maximum intensity (I4) of the fourth peak satisfies 1-20.

ONLINE PREDICTION METHOD AND APPARATUS FOR RESIDUAL LIFE OF ENERGY STORAGE BATTERY

NºPublicación:  EP4679112A1 14/01/2026
Solicitante: 
HUANENG CLEAN ENERGY RES INST [CN]
Huaneng Clean Energy Research Institute
EP_4679112_A1

Resumen de: EP4679112A1

A method for predicting the remaining useful life of an energy storage battery online, a device, electronic equipment, storage medium, computer program product and computer program thereof, are disclosed. The method includes: obtaining energy storage battery sampled data corresponding to a plurality of identical sampled energy storage batteries under different sampled depths of charge-discharge respectively to establish a mapping relationship among a capacity degradation rate, cumulative discharge energy, and a depth of charge-discharge corresponding to the energy storage battery according to the energy storage battery sampled data; obtaining single depth of discharge and single cumulative discharge energy of a target energy storage battery in each discharge process from a first discharge to a current moment, and obtaining a single capacity degradation rate and an average single capacity degradation rate of the target energy storage battery by combining the mapping relationship; obtaining a current capacity degradation rate of the target energy storage battery according to the single capacity degradation rate corresponding to each discharge process; and obtaining a preset maximum capacity degradation rate corresponding to the target energy storage battery, and obtaining the remaining useful life of the target energy storage battery by combining the current capacity degradation rate and the average single capacity degradation rate.

ELECTRICAL DEVICE ASSEMBLY, CONTROLLER, AND VEHICLE

NºPublicación:  EP4679692A1 14/01/2026
Solicitante: 
BYD CO LTD [CN]
BYD Company Limited
EP_4679692_PA

Resumen de: EP4679692A1

A vehicle has a controller. The controller has an electrical device assembly. The electrical device assembly includes a first electrical device and a second electrical device. The first electrical device includes a first electrical device body, a first positive electrode connection terminal, and a first negative electrode connection terminal. The second electrical device includes a second electrical device body, a second positive electrode connection terminal, and a second negative electrode connection terminal. The first positive electrode connection terminal and the first negative electrode connection terminal are stacked along a second direction. The second positive electrode connection terminal and the second negative electrode connection terminal are stacked along the second direction. The first positive electrode connection terminal is mated with the second positive electrode connection terminal along a first direction. The first negative electrode connection terminal is mated with the second negative electrode connection terminal along the first direction.

METHOD FOR ASSEMBLING COMPOSITE POLE OF CELL WITHOUT TOP COVER

NºPublicación:  EP4679616A1 14/01/2026
Solicitante: 
JIANGSU RDF PRECISION TECH CO LTD [CN]
Jiangsu RDF Precision Technology Co., Ltd
EP_4679616_PA

Resumen de: EP4679616A1

The present application discloses a method for assembling a composite pole of a cell without a top cover. The method comprises the following assembly steps: 1) providing a fixing ring, arranging a composite pole in a fixing area in a penetrating mode, and enabling a rubber injection opening to be communicated with a rubber-coated area; 2) injecting rubber into the rubber-coated area through the rubber injection opening to form a rubber-coated ring, 3) providing an annular plate, inserting a pole fixing body into a mounting hole, the pole fixing body downwardly abutting against a sealing ring, and fixedly connecting the fixing ring to the annular plate; and 4) fixing a lower plastic member at the bottom of the annular plate. A fixing ring and a composite pole are integrated into one by means of a rubber-coated ring to form an independent component, i.e., a pole fixing body, and after the pole fixing body is mounted on an annular plate, the periphery of the pole fixing body is protected and isolated by means of a lower plastic member. The structure assembly mode is simple, and the costs are low. The problem of complex assembly in the process of assembling a composite pole of a cell without a top cover is solved.

HOT-PRESSING DEVICE

NºPublicación:  EP4679545A1 14/01/2026
Solicitante: 
WUXI LEAD INTELLIGENT EQUIPMENT CO LTD [CN]
Wuxi Lead Intelligent Equipment Co., Ltd
EP_4679545_PA

Resumen de: EP4679545A1

Disclosed is a hot-pressing apparatus, which comprises a hot-pressing drive mechanism, a first hot-pressing mechanism, a second hot-pressing mechanism, a diaphragm clamping mechanism and a jacking mechanism. Before transferring the battery cell, the supporting assembly may be driven first to jack a part of the diaphragm, thus forming the transferring-supporting surface above the second hot-pressing plate. The jaw first places the battery cell on the transferring-supporting surface, the transferring-supporting surface may contact only a part of the battery cell to allow the jaw to be suspended, and once the jaw is released, it can be withdrawn. Next, the jacking mechanism withdraws to flatten the diaphragm, and the battery cell will be borne on the diaphragm steadily. As the hot-pressing drive mechanism drives the first hot-pressing plate and the second hot-pressing plate close to each other, the first hot-pressing plate may press the diaphragm and the battery cell borne on the diaphragm against the second hot-pressing plate. It is clear that in a process of transferring the battery cell to the second hot-pressing plate, the use of the diaphragm for transferring may prevent the battery cell from shaking or tilting, thus placing the battery cell steadily. (FIG. 1)

BATTERY PACK AND ELECTRIC APPARATUS

NºPublicación:  EP4679594A1 14/01/2026
Solicitante: 
EVE ENERGY CO LTD [CN]
Eve Energy Co., Ltd
EP_4679594_PA

Resumen de: EP4679594A1

Provided are a battery pack and an electric apparatus, which relates to the technical field of batteries. The battery pack includes a box (10), a cold plate (22) and a cell assembly (30). The box (10) is provided with an accommodation space. The cell assembly (30) is located in the accommodation space and includes multiple cells (31). The multiple cells (31) are arranged in a horizontal plane and are disposed at equal spacing. A potting adhesive is filled in the cell assembly. The cold plate (22) fits an upper side and/or a lower side of the cell assembly (30) and the potting adhesive.

SINGLE BATTERY

NºPublicación:  EP4679612A1 14/01/2026
Solicitante: 
SUNWODA MOBILITY ENERGY TECHNOLOGY CO LTD [CN]
Sunwoda Mobility Energy Technology Co., Ltd
EP_4679612_PA

Resumen de: EP4679612A1

The present application relates to the technical field of batteries, and discloses a single battery, comprising battery cells, a top cover, and connection members. Tabs extend out from one end of each battery cell; the top cover comprises conductive terminals; the connection members each comprise a base body and a thinned region, and the thickness of the thinned region is smaller than that of the base body; the conductive terminals are welded to the thinned regions; and the tabs are welded to the base bodies. The connection members are connected to the conductive terminals by means of the thinned regions, and are connected to the tabs by means of the base bodies. The thickness of the base bodies does not affect the welding between the thinned regions and the conductive terminals. Therefore, the structure and thickness of the thinned regions can be rationally configured according to welding requirements. The thickness of the base bodies is rationally configured according to current passing requirements, thereby avoiding the effect of the increase in the current passing area of the connection members on the yield of welding between the connection members and the conductive terminals. In addition, the thinned regions realize the reduction of local thickness, thereby reducing the amount of a material, facilitating the reduction of the material cost, reducing the weight, facilitating the improvement of the weight energy density of single batteries, and implementing high-energy-den

ELECTROCHEMICAL DEVICE AND ELECTRONIC DEVICE

NºPublicación:  EP4679619A1 14/01/2026
Solicitante: 
NINGDE AMPEREX TECHNOLOGY LTD [CN]
Ningde Amperex Technology Limited
EP_4679619_PA

Resumen de: EP4679619A1

An electrochemical apparatus includes a housing, an electrode assembly, and an insulating sleeve. The electrode assembly is a wound structure, where a first electrode plate of the electrode assembly includes a current collector and a tab. The current collector includes a first side and a second side oppositely disposed in a first direction. The tab includes a first connection region connected to the first side and a second connection region connected to the first connection region. The electrode assembly includes a first end face and a second end face oppositely disposed in the first direction, where the second connection region forms the first end face. The insulating sleeve includes a first region and a second region integrally connected. The first region covers the first connection region, and the second region is disposed on the second connection region and has a first opening. The electrode assembly includes a first portion and a second portion connected in a second direction, where the first portion includes the first connection region, and the second portion is separated from the insulating sleeve. A width of the first portion is less than a width of the second portion. An electronic apparatus is further provided. This application can improve the reliability and service life of the electrochemical apparatus.

HOLDING MECHANISM FOR ELECTRODE LAMINATE

NºPublicación:  EP4679543A1 14/01/2026
Solicitante: 
NISSAN MOTOR [JP]
Nissan Motor Co., Ltd
EP_4679543_PA

Resumen de: EP4679543A1

A holding structure (1) for a laminated body (10) includes the laminated body (10) in which a plurality of electrodes are laminated, and a holder (40) that holds the laminated body (10) to fix the plurality of electrodes to one another. The holder (40) includes an upper cover (50) that covers an upper surface (10a) of the laminated body (10) and covers left and right side-surfaces (10c, 10d) of the laminated body (10), and a lower cover (60) that covers a lower surface (10b) of the laminated body (10) and covers the left and right side-surfaces (10c, 10d) of the laminated body (10). The upper cover (50) and the lower cover (60) are joined together on the left and right side-surfaces (10c, 10d) of the laminated body (10).

BATTERY ASSEMBLY AND BATTERY PACK INCLUDING SAME

NºPublicación:  EP4679602A1 14/01/2026
Solicitante: 
LG ENERGY SOLUTION LTD [KR]
LG Energy Solution, Ltd
EP_4679602_PA

Resumen de: EP4679602A1

A battery assembly according to certain embodiments of the present disclosure includes: a plurality of battery cells; a frame that houses the plurality of battery cells; an inflow port and an outflow port for circulating a cooling material into the inside of the frame; and a venting unit provided on one surface of the frame and discharging gas inside the frame when the pressure inside the frame is equal to or greater than a specified pressure. The cooling material flowed in through the inflow port directly cools the battery cells and is discharged through the outflow port.

BATTERY RACK

NºPublicación:  EP4679589A1 14/01/2026
Solicitante: 
EVE ENERGY STORAGE CO LTD [CN]
Eve Energy Storage Co., Ltd
EP_4679589_PA

Resumen de: EP4679589A1

A battery rack is provided, which includes a frame (1) and a wire-tying unit (3). The frame (1) is configured to support a battery pack, the wire-tying unit (3) is detachably connected to the frame (1), the wire-tying unit (3) comprises a base (31) and at least two wire-tying rods (32), the base (31) is connected to the frame (1), the wire-tying rods (32) are arranged on the base (31) at intervals in a first direction, and the wire-tying rods (32) extend in a second direction. The wire-tying rod is configured to connect a connection wire of the battery pack, and the first direction is arranged at an angle with respect to the second direction.

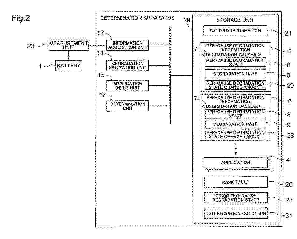
DETERMINATION DEVICE, DETERMINATION METHOD, AND DETERMINATION PROGRAM

NºPublicación:  EP4679115A1 14/01/2026
Solicitante: 
KRI INC [JP]
OSAKA GAS CO LTD [JP]
KRI, Inc,
Osaka Gas Co., Ltd
EP_4679115_PA

Resumen de: EP4679115A1

An object is to accurately determine the suitability of a secondary battery (battery) for an application, with a simple configuration. A determination apparatus determines, from a plurality of batteries 1, a battery 1 suitable for an application 4, and includes: an information acquisition unit 12 configured to acquire battery information 21 regarding the batteries 1; a degradation estimation unit 14 configured to estimate, for each of the batteries 1, per-cause degradation information 6 indicating a degradation state per degradation cause 7 from the battery information 21; an application input unit 15 configured to receive an input of the application 4; and a determination unit 17 configured to, based on the estimated per-cause degradation information 6 and the input application 4, determine a battery 1 suitable for the application 4 from the plurality of batteries 1 while considering a degree of influence of each degradation cause 7 on the application 4.

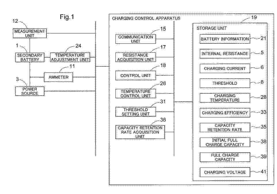
CHARGING CONTROL DEVICE, CHARGING CONTROL METHOD, AND CHARGING CONTROL PROGRAM

NºPublicación:  EP4679671A1 14/01/2026
Solicitante: 
KRI INC [JP]
OSAKA GAS CO LTD [JP]
KRI, Inc,
Osaka Gas Co., Ltd
EP_4679671_PA

Resumen de: EP4679671A1

An object is to easily suppress the degradation of battery performance during charging. A charging control apparatus controls charging of a secondary battery 1 that is performed by supplying power from a power source 3, and includes: a control unit 18 configured to control power supplied from the power source 3; and a resistance acquisition unit 17 configured to obtain an internal resistance 5 of the secondary battery 1. The power source 3 can change a charging current 6 and supply power to the secondary battery 1. The control unit 18 performs suppression control on the power source 3 such that the product of the charging current 6 and the internal resistance 5 is smaller than or equal to a predetermined threshold 8.

CARBON-AIR SECONDARY BATTERY

NºPublicación:  EP4679573A1 14/01/2026
Solicitante: 
INST OF SCIENCE TOKYO [JP]
INSTITUTE OF SCIENCE TOKYO
EP_4679573_PA

Resumen de: EP4679573A1

The present invention provides a carbon/air secondary battery that can secure a large amount of stored electricity, has high charge/discharge efficiency, and has good cycle characteristics.A secondary battery 1 has a reactor 20 in which a negative electrode 21 is installed inside, which is separated from the outside by an electrolyte 23 and which is configured to store carbon that deposits during charging inside, and a structure 60 which surrounds the reactor 20 and suppresses heat loss due to radiant heat transfer from the reactor 20. During charging, carbon dioxide is electrolyzed on the surface of the negative electrode 21, causing carbon to deposit on the negative electrode side, which is a closed system, and at the positive electrode 22, oxygen is generated from oxide ions which are generated at the negative electrode 21 and are permeating the electrolyte 23. During discharging, oxide ions are generated from oxygen at the positive electrode 22, and carbon and/or carbon monoxide are electrochemically oxidized on the surface of the negative electrode 21 to generate carbon dioxide.

Insulating edge coating

NºPublicación:  GB2642468A 14/01/2026
Solicitante: 
NORTHVOLT AB [SE]
Northvolt AB
GB_2642468_PA

Resumen de: GB2642468A

An electrode comprises a conductive foil 1, an active layer 5 and an insulating edge coating 6. The active layer comprises an active material, a binder and optionally a conductive additive. The insulating edge coating comprises polyurethane or polyurethane urea binder, and hydrogenated nitrile butadiene rubber binder, and optionally antioxidant. The conductive foil comprises a first region 2, a third region 4, and a second region 3 located between the first and third regions. The active layer is coated on the first region. The insulating edge coating is coated on the second region and overlaps 7 the interface between the active layer and the second region. The third region is not coated with active layer or insulating edge coating. A method of preparing the insulating edge coating may comprise combining the binder composition, the ceramic and solvent to form a slurry, and then depositing the slurry by slot-die coating.

PACK HOUSING

NºPublicación:  EP4679598A1 14/01/2026
Solicitante: 
LG ENERGY SOLUTION LTD [KR]
LG ENERGY SOLUTION, LTD
EP_4679598_PA

Resumen de: EP4679598A1

Example embodiments provide a pack housing. The pack housing includes a plurality of plates coupled to each other, and side walls coupled to the plurality of plates and each including a plate part coupled to the plurality of plates, a side wall part perpendicular to the plate part, and a wing part spaced apart from the plate part with the side wall part between the wing part and the plate part, in which the plate part of each of the side walls includes a cavity, and each of the side walls includes an impact transfer structure horizontally overlapping the cavity of the plate part of each of the side walls.

FLUORINE-CONTAINING POLYMER, PREPARATION METHOD THEREFOR, POSITIVE ELECTRODE SHEET, SECONDARY BATTERY AND ELECTRIC DEVICE

NºPublicación:  EP4678666A1 14/01/2026
Solicitante: 
CONTEMPORARY AMPEREX TECHNOLOGY CO LTD [CN]
Contemporary Amperex Technology Co., Limited
EP_4678666_PA

Resumen de: EP4678666A1

This application provides a fluoropolymer, a preparation method therefor, a positive electrode plate, a secondary battery, and an electric device. The fluoropolymer comprises a structural unit derived from vinylidene fluoride and a structural unit derived from an unsaturated carboxylic acid monomer, wherein a weight average molecular weight of the fluoropolymer ranges from 5 million to 9 million, and optionally, from 5 million to 8 million.

BATTERY AND ELECTRIC DEVICE

Nº publicación: EP4679592A1 14/01/2026

Solicitante:

CONTEMPORARY AMPEREX TECHNOLOGY CO LTD [CN]
Contemporary Amperex Technology Co., Limited

EP_4679592_PA

Resumen de: EP4679592A1

The present application discloses a battery and an electric apparatus. The battery includes: a first battery cell assembly, the first battery cell assembly including at least one first battery cell, the first battery cell being internally provided with a first elastic buffer pad; a second battery cell assembly, the second battery cell assembly including at least two second battery cells, the at least two second battery cells being disposed on both sides of the first battery cell assembly along a thickness direction of the first battery cell assembly, where the thickness direction of the first battery cell assembly is consistent with a thickness direction of the first battery cell.

traducir