Ministerio de Industria, Turismo y Comercio LogoMinisterior
 

Alerta

Resultados 1111 resultados
LastUpdate Última actualización 26/01/2026 [07:08:00]
pdfxls
Publicaciones de los últimos 15 días/Last 15 days publications (excluidas pubs. CN y JP /CN and JP pubs. excluded)
previousPage Resultados 875 a 900 de 1111 nextPage  

Electrode for Lithium Rechargeable Battery and Lithium Rechargeable Battery

NºPublicación:  US20260018616A1 15/01/2026
Solicitante: 
LG CHEM LTD [KR]
LG Chem, Ltd
US_20260018616_PA

Resumen de: US20260018616A1

An electrode for a lithium rechargeable battery includes an electrode substrate and a porous layer. The porous layer includes a binder resin and inorganic fine particles. The porous layer is present on the electrode substrate. The binder resin includes a (co)polymer containing a repeating unit derived from a urethane (meth)acrylate-based monomer or oligomer. A lithium rechargeable battery comprising the same is also provided.

LITHIUM METAL BATTERY AND MANUFACTURING METHOD THEREFOR

NºPublicación:  WO2026014660A1 15/01/2026
Solicitante: 
SAMSUNG SDI CO LTD [KR]
\uC0BC\uC131\uC5D0\uC2A4\uB514\uC544\uC774 \uC8FC\uC2DD\uD68C\uC0AC
WO_2026014660_PA

Resumen de: WO2026014660A1

The present invention relates to a lithium metal battery and a manufacturing method therefor, and more specifically, comprises: a negative electrode current collector; a positive electrode; an electrolyte layer between the negative electrode current collector and the positive electrode, the electrolyte layer comprising a first electrolyte layer adjacent to the negative electrode current collector, and a second electrolyte layer adjacent to the positive electrode; and a composite separation layer impregnated in the first electrolyte layer. The first electrolyte layer comprises a first gel-polymer electrolyte, the second electrolyte layer comprises a second gel-polymer electrolyte, the weight ratio of a polymer in the first gel-polymer electrolyte and the weight ratio of a polymer in the second gel-polymer electrolyte are different from each other, and the composite separation layer comprises a separator, and an expansion buffer layer on at least one surface of the separator.

LITHIUM METAL BATTERY NEGATIVE ELECTRODE COMPRISING POLYMER PROTECTIVE LAYER, AND LITHIUM METAL BATTERY COMPRISING SAME

NºPublicación:  WO2026014650A1 15/01/2026
Solicitante: 
SAMSUNG SDI CO LTD [KR]
\uC0BC\uC131\uC5D0\uC2A4\uB514\uC544\uC774 \uC8FC\uC2DD\uD68C\uC0AC
WO_2026014650_PA

Resumen de: WO2026014650A1

The present invention relates to a lithium metal battery negative electrode that comprises a polymer protective layer. More specifically, the present invention comprises a polymer protective layer on a negative electrode current collector, wherein the polymer protective layer may comprise an ion conductive polymer and a zwitterionic salt.

NEGATIVE ELECTRODE FOR SECONDARY BATTERY AND ALL-SOLID-STATE BATTERY COMPRISING SAME

NºPublicación:  WO2026014629A1 15/01/2026
Solicitante: 
SAMSUNG SDI CO LTD [KR]
IUCF HYU INDUSTRY UNIV COOPERATION FOUNDATION HANYANG UNIV [KR]
\uC0BC\uC131\uC5D0\uC2A4\uB514\uC544\uC774 \uC8FC\uC2DD\uD68C\uC0AC,
\uD55C\uC591\uB300\uD559\uAD50 \uC0B0\uD559\uD611\uB825\uB2E8
WO_2026014629_PA

Resumen de: WO2026014629A1

The present invention relates to a negative electrode for a secondary battery, comprising: a negative electrode current collector; a functional layer coating the surface of the negative electrode current collector; and an electrodeposition layer disposed on the functional layer, wherein the functional layer contains conductive carbon, and the functional layer is configured to stabilize the interface with the electrodeposition layer. The electrodeposition layer comprises: an amorphous carbon matrix; and composite particles dispersed in the amorphous carbon matrix and containing crystalline carbon.

METHOD FOR MANUFACTURING SOLID ELECTROLYTE, SOLID ELECTROLYTE MANUFACTURED USING SAME, AND ALL-SOLID-STATE BATTERY COMPRISING SAME

NºPublicación:  WO2026014617A1 15/01/2026
Solicitante: 
SAMSUNG SDI CO LTD [KR]
\uC0BC\uC131\uC5D0\uC2A4\uB514\uC544\uC774 \uC8FC\uC2DD\uD68C\uC0AC
WO_2026014617_PA

Resumen de: WO2026014617A1

The present invention relates to a method for manufacturing a solid electrolyte, a solid electrolyte manufactured using same, and an all-solid-state battery comprising same. More specifically, the method comprises: dry-mixing sulfide-based solid electrolyte raw materials to form a mixture; performing a first heat treatment process on the mixture at a first temperature to form first particles; adding the first particles to a solvent and milling same to form second particles; drying the second particles to form third particles; and performing a second heat treatment process on the third particles at a second temperature, wherein the second temperature is lower than the first temperature.

METHOD FOR PRODUCING LITHIUM SULFIDE

NºPublicación:  WO2026014610A1 15/01/2026
Solicitante: 
ISU SPECIALTY CHEMICAL [KR]
\uC8FC\uC2DD\uD68C\uC0AC \uC774\uC218\uC2A4\uD398\uC15C\uD2F0\uCF00\uBBF8\uCEEC
WO_2026014610_A1

Resumen de: WO2026014610A1

The present invention relates to a method for producing lithium sulfide. More specifically, provided is a method for preparing high-performance lithium sulfide, the lithium sulfide prepared by using a mixed solvent of polar and non-polar solvents allowing the particle diameter to be controlled and impurities in the lithium sulfide to be reduced.

BATTERY PACK AND ELECTRIC APPARATUS

NºPublicación:  US20260018696A1 15/01/2026
Solicitante: 
EVE ENERGY CO LTD [CN]
EVE ENERGY CO., LTD
US_20260018696_PA

Resumen de: US20260018696A1

A battery pack includes a box, a cold plate and a cell assembly. The box is provided with an accommodation space. The cell assembly is located in the accommodation space and includes multiple cells. The multiple cells are arranged in a horizontal plane and are disposed at equal spacing. A potting adhesive is filled in the cell assembly. The cold plate fits an upper side and/or a lower side of the cell assembly and the potting adhesive.

CUSTOMIZABLE SUPPORT PAD FOR REDUCING VIBRATION AND GRAVITATIONAL SHOCK ACTING ON A BATTERY

NºPublicación:  US20260018727A1 15/01/2026
Solicitante: 
MEGAWARE KEELGUARD REACQUISITION LLC [US]
Megaware Keelguard Reacquisition, LLC
US_20260018727_PA

Resumen de: US20260018727A1

This invention relates to a support pad formed of a shock absorbing material capable of absorbing energy resulting from vibration and gravitational forces acting on a battery disposed in engagement with the support pad and, correspondingly, transferring gravitational forces that occur along a z-axis resulting from up and down movement of the battery and dispersing these gravitation forces along an x-axis, a y-axis and the z-axis so as to reduce the impact shock on the battery by between about 65% to about 80% and, in doing so, prolonging the performance and life-cycle of the battery. Additional implementations are described.

BATTERY PACK, ENERGY STORAGE DEVICE, AND ELECTRICAL APPARATUS

NºPublicación:  US20260018698A1 15/01/2026
Solicitante: 
CONTEMPORARY AMPEREX TECH CO LIMITED [CN]
CONTEMPORARY AMPEREX FUTURE ENERGY TECH SHENZHEN LIMITED [CN]
CONTEMPORARY AMPEREX TECHNOLOGY CO., LIMITED,
CONTEMPORARY AMPEREX FUTURE ENERGY TECHNOLOGY (SHENZHEN) LIMITED
US_20260018698_PA

Resumen de: US20260018698A1

Embodiments of the present disclosure provide a battery pack, an energy storage device, and an electrical apparatus, which belong to the field of battery technologies. The battery pack includes a box, a thermal management component, and a battery unit. The thermal management component is mounted in the box. The thermal management component separates the battery unit from a bottom wall of the box. The battery unit includes a battery cell and a frame for mounting the battery cell. The thermal management component is configured to regulate the temperature of the battery cell. The battery cell and the frame are both arranged on the thermal management component.

Battery Module and Battery Pack Including the Same

NºPublicación:  US20260018730A1 15/01/2026
Solicitante: 
LG ENERGY SOLUTION LTD [KR]
LG Energy Solution, Ltd
US_20260018730_PA

Resumen de: US20260018730A1

A battery module and a battery pack including the same are described. The battery module includes a battery cell stack in which a plurality of battery cells is stacked, a module frame configured to accommodate the battery cell stack, an endplate configured to cover the battery cell stack exposed by the module frame, and module coupling portions that are protruding portions provided on a lateral surface of the module frame and a lateral surface of the endplate, in which the module coupling portions include holes penetrated by coupling members.

BATTERY AND ELECTRICAL APPARATUS

NºPublicación:  US20260018694A1 15/01/2026
Solicitante: 
CONTEMPORARY AMPEREX TECH CO LIMITED [CN]
CONTEMPORARY AMPEREX TECHNOLOGY CO., LIMITED
US_20260018694_PA

Resumen de: US20260018694A1

A battery and an electrical apparatus are provided. The battery includes a battery cell and multiple heat exchange plates. The battery cell has a shell accommodating an electrode unit, which includes a plurality of first electrode plate layers of the same polarity stacked in a first direction. Some of the electrode plate layers are equipped with first tabs, forming two tab groups, each comprising multiple connected tabs. A tab-free electrode plate layer is positioned between the two tab groups. The heat exchange plates are arranged in the first direction such that the shell is located between adjacent heat exchange plates and is capable of heat exchange. Each first electrode plate layer at least partially overlaps with a heat exchange plate in the first direction, thereby enhancing heat dissipation of the battery.

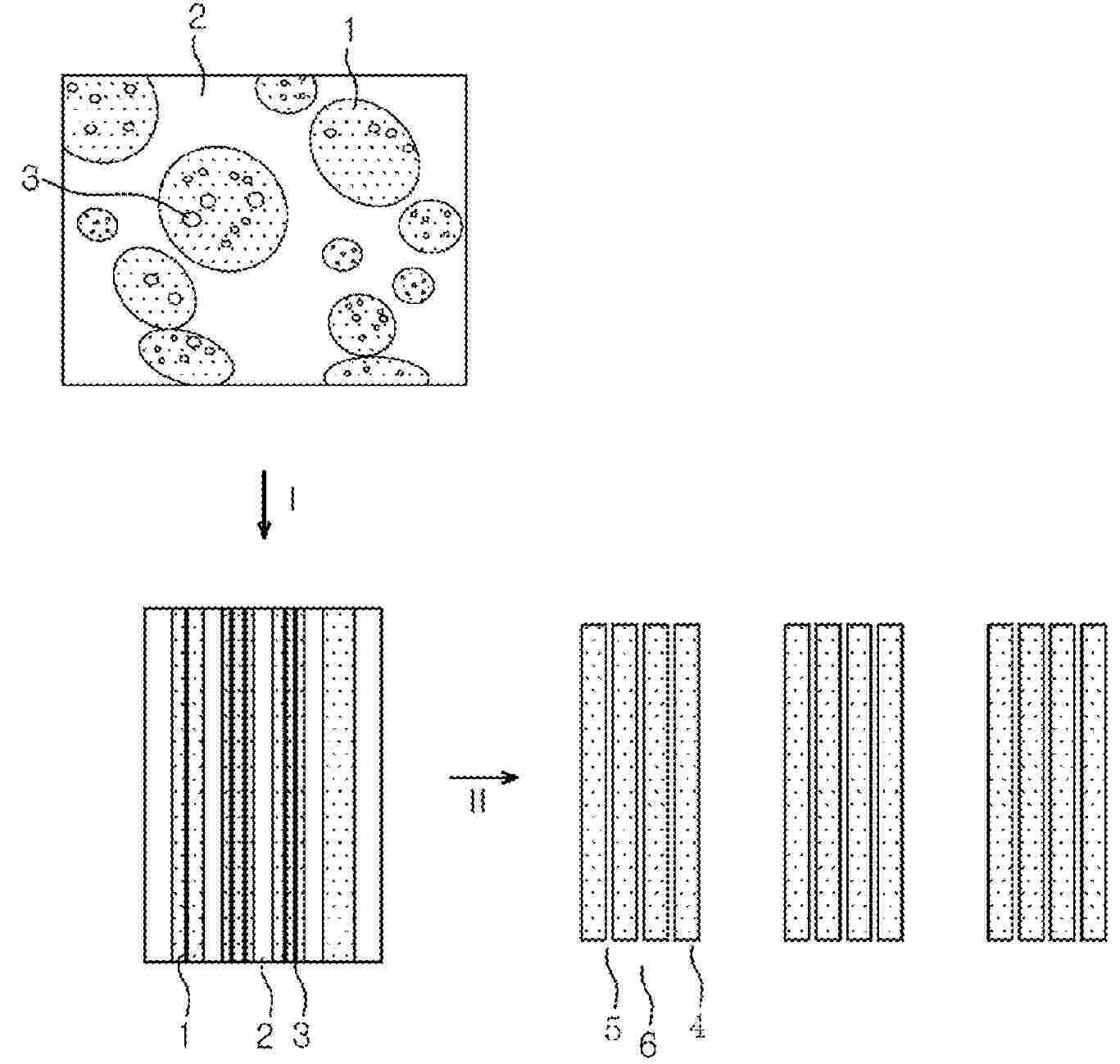
NEGATIVE ELECTRODE ACTIVE MATERIAL FOR RECHARGEABLE LITHIUM BATTERY, METHOD FOR PREPARING THE SAME, NEGATIVE ELECTRODE INCLUDING THE SAME, AND RECHARGEABLE LITHIUM BATTERY INCLUDING THE SAME

NºPublicación:  US20260018612A1 15/01/2026
Solicitante: 
SAMSUNG SDI CO LTD [KR]
SAMSUNG SDI CO., LTD
US_20260018612_PA

Resumen de: US20260018612A1

The present disclosure relates to a negative electrode active material for a rechargeable lithium battery, a method for preparing the same, a rechargeable lithium battery including the same, and the negative electrode active material for a rechargeable lithium battery includes a carbon nanofiber bundle including a plurality of carbon nanofibers, wherein the carbon nanofiber bundle exhibits H1, H3, and H4 hysteresis in a gas adsorption-desorption isotherm curve, and, in the gas adsorption-desorption isotherm curve, an adsorption curve and a desorption curve do not meet in all of a first region in which a relative pressure (P/P0) is 0.8 or higher, a second region in which the relative pressure (P/P0) is less than 0.8 and 0.4 or more, and a third region in which the relative pressure (P/P0) is less than 0.4.

POSITIVE ELECTRODE MATERIAL, PREPARATION METHOD THEREFOR, LITHIUM-ION BATTERY AND ELECTRIC DEVICE

NºPublicación:  US20260018601A1 15/01/2026
Solicitante: 
CONTEMPORARY AMPEREX TECH CO LIMITED [CN]
CONTEMPORARY AMPEREX TECHNOLOGY CO., LIMITED
US_20260018601_PA

Resumen de: US20260018601A1

A positive electrode material is disclosed, represented by the formula LiaNixCoyMn1-x-yMbO2-cQc, where 0.2≤a≤1.2, x≥0.6, y>0, b>0, and c>0. M comprises a high-valence cation and Q comprises an anion. The doping of a high-valence cation and an anion in a nickel-rich ternary material stabilizes the bulk structure during lithium deintercalation, reduces side reactions, lattice oxygen release, and transition metal dissolution, and improves cycling stability, high-temperature storage, and rate capability. The outer surface of the positive electrode material may further include a selenium-containing coating layer that reacts with residual lithium compounds and binds released lattice oxygen to suppress electrolyte oxidation. A conductive coating layer may be formed on the selenium-containing layer to prevent direct contact with the electrolyte and inhibit side reactions.

METHOD FOR MANUFACTURING ELECTRODE FOR LITHIUM SECONDARY BATTERY, TRANSFER STACK, AND LITHIUM SECONDARY BATTERY COMPRISING ELECTRODE

NºPublicación:  US20260018584A1 15/01/2026
Solicitante: 
LG ENERGY SOLUTION LTD [KR]
LG ENERGY SOLUTION, LTD
US_20260018584_PA

Resumen de: US20260018584A1

A method for manufacturing an electrode for a lithium secondary battery is described, as well as an electrode intermediate, and a lithium secondary battery including the electrode. The method comprises forming an electrode current collector layer and an electrode active material layer on one surface or both surfaces of the electrode current collector layer; preparing a transfer laminate in which a base material film, a transfer force enhancing layer, and a lithium metal layer are sequentially stacked; forming a transfer start portion by removing the lithium metal layer in a transverse direction (TD); transferring the lithium metal layer having the transfer start portion formed thereon, on top of the electrode active material layer; and removing the base material film.

Dry electrode manufacturing for energy storage devices

NºPublicación:  US20260018620A1 15/01/2026
Solicitante: 
ATLAS POWER TECH INC [CA]
Atlas Power Technologies Inc
US_20260018620_PA

Resumen de: US20260018620A1

Electrical energy storage devices made using a wet electrode application technique are associated with high energy consumption. Herein, a dry electrode or electrolyte application process involves mixing activated carbon with a binder and then fibrillating the mixture. The mixture is roll-pressed into a film, which is then actively cooled. Optionally, tension in the cooled portion of the film is increased for spooling the film. The film is adhered to a pre-treated current collector and then wound into a jelly roll for the manufacture of an electrical energy storage device.

SOLID ELECTROLYTE, ACTIVE MATERIAL, ELECTRODE MIXTURE, SOLID ELECTROLYTE LAYER, AND SOLID-STATE BATTERY

NºPublicación:  WO2026014435A1 15/01/2026
Solicitante: 
MITSUI KINZOKU COMPANY LTD [JP]
\u4E09\u4E95\u91D1\u5C5E\u682A\u5F0F\u4F1A\u793E
WO_2026014435_PA

Resumen de: WO2026014435A1

The present invention addresses the problem of providing a solid-state battery and active material capable of suppressing decreases in the recovery capacity of the solid-state battery and capable of suppressing increases in the resistance of the solid-state battery, even if the solid-state battery is stored in a high-temperature environment in a charged state. A solid electrolyte, according to the present invention, contains a lithium (Li) element, a phosphorus (P) element, a sulfur (S) element, an oxygen (O) element, and a halogen (X) element. The molar ratio of the halogen (X) element to the phosphorus (P) element is less than 1.2. The molar ratio of the oxygen (O) element to the phosphorus (P) element is greater than 0.001 but less than 1.0. According to the present invention, the X-ray diffraction pattern measured by an X-ray diffractometer using Cu Kα radiation has diffraction peaks at a position of 2θ=15.4°±1° and at a position of 2θ=17.8°±1°.

SILICON POWDER FOR ANODE MATERIAL OF SECONDARY BATTERY, METHOD OF PREPARING SAME, AND ANODE MATERIAL FOR SECONDARY BATTERY

NºPublicación:  WO2026014602A1 15/01/2026
Solicitante: 
LK TECH CO LTD [KR]
\uC8FC\uC2DD\uD68C\uC0AC \uC5D8\uCF00\uC774\uD14C\uD06C\uB180\uB7EC\uC9C0
WO_2026014602_PA

Resumen de: WO2026014602A1

Provided are a silicon powder for an anode material of a secondary battery, a method of preparing same, and an anode material for a secondary battery, comprising same, the silicon powder being obtained from waste slurry generated during a semiconductor process and having a crystal size of 24-50 nm, which is obtained by means of mathematical relation 1 with respect to the maximum intensity peak at 2θ of 23° to 33° in X-ray diffraction (XRD) analysis. Mathematical relation 1 Crystal size (nm) = {shape factor × X-ray wavelength} / {the full width at half maximum (FWHM) of the maximum intensity peak × cosθ}

POLYMER, ELECTROLYTE COMPOSITION, AND BATTERY

NºPublicación:  WO2026014389A1 15/01/2026
Solicitante: 
SUMITOMO CHEMICAL COMPANY LTD [JP]
KYOTO UNIV [JP]
\u4F4F\u53CB\u5316\u5B66\u682A\u5F0F\u4F1A\u793E,
\u56FD\u7ACB\u5927\u5B66\u6CD5\u4EBA\u4EAC\u90FD\u5927\u5B66
WO_2026014389_PA

Resumen de: WO2026014389A1

One aspect of the present disclosure provides a polymer which is represented by general formula (A). In general formula (A), X is a branch center, Poly is a polymer part that contains a structural unit B represented by general formula (B) and a structural unit C represented by general formula (C) at a specific ratio, and n is an integer of 3 or more. (In general formula (B), R1 to R4 are each independently a hydrogen atom or the like, a halogen atom, or a monovalent organic group having 1 to 20 carbon atoms; Y1 is a covalent bond, -O-, -S-, -NR10-, -(C= O)-, -(C=O)-O-, -O-(C=O)-, -(C=O)-NR11-, or -NR12-(C=O)-; R10, R11, and R12 are each independently a hydrogen atom or an organic group having 1 to 20 carbon atoms.) (In general formula (C), R5 and R6 are each independently a hydrogen atom, a halogen atom, or a monovalent organic group having 1 to 20 carbon atoms, or alternatively, one of R5 and R6 is a hydrogen atom, a halogen atom, or a monovalent organic group having 1 to 20 carbon atoms, and the other forms a ring together with Y2; R7 is a hydrogen atom, a halogen atom, or a monovalent organic group having 1 to 20 carbon atoms; Y2 is a divalent organic group having 1 to 20 carbon atoms, or forms a ring together with one of R5 and R6; Z- is an anionic functional group; and M is a lithium atom, a sodium atom, and a potassium atom.)

PLANAR HEAT GENERATION BODY AND BATTERY SYSTEM

NºPublicación:  WO2026014471A1 15/01/2026
Solicitante: 
TOKYO COSMOS ELECTRIC CO LTD [JP]
\u6771\u4EAC\u30B3\u30B9\u30E2\u30B9\u96FB\u6A5F\u682A\u5F0F\u4F1A\u793E
WO_2026014471_PA

Resumen de: WO2026014471A1

The present invention addresses the problem of providing a planar heat generation body that has a simple structure and is capable of efficiently maintaining a to-be-heated object at a constant temperature. A planar heat generation body that solves the abovementioned problem is such that a heating promotion unit having PTC characteristics and a temperature control unit having PCT characteristics are arranged in series. The Curie temperature of the temperature control unit is lower than the Curie temperature of the heating promotion unit. The temperature control unit is disposed closer to a portion that connects to a power source than the heating promotion unit. The supply of current to the heating promotion unit is suppressed in response to temperature increases of the temperature control unit.

MEDICAL DEVICE

NºPublicación:  US20260013726A1 15/01/2026
Solicitante: 
SHENZHEN MINDRAY BIO MEDICAL ELECTRONICS CO LTD [CN]
SHENZHEN MINDRAY BIO-MEDICAL ELECTRONICS CO., LTD
US_20260013726_PA

Resumen de: US20260013726A1

A medical device, comprising a housing, a combined modular structure which is formed by connecting a board card and an interface panel to a main bracket; a first opening arranged on the housing for the insertion of the combined modular structure; a first locking structure for locking and fixing the combined modular structure to the housing; a screen assembly; a second opening arranged on the housing for mounting the screen assembly, and a second locking structure for locking and fixing the screen assembly to the housing. The integral arrangement of a functional module of a medical device helps to improve the assembly precision between various components, and ensure the reliability of the connection between components. The present disclosure facilitates the assembly of board card and other components, as well as module configuration and modular testing while also having good seismic performance.

HIGH-VOLTAGE POWER DISTRIBUTION APPARATUS, BATTERY AND ELECTRICAL APPARATUS

NºPublicación:  US20260018691A1 15/01/2026
Solicitante: 
CONTEMPORARY AMPEREX TECH CO LIMITED [CN]
CONTEMPORARY AMPEREX TECHNOLOGY CO., LIMITED
US_20260018691_PA

Resumen de: US20260018691A1

A high-voltage power distribution apparatus, a battery and an electrical apparatus. The high-voltage power distribution apparatus comprises a housing, a cover body and a low-voltage terminal; the housing has an opening; the cover body seals the opening, and forms a mounting chamber with the housing; the low-voltage terminal is integrated onto a target member, the target member being the housing or the cover body; a first end of the low-voltage terminal is exposed outside the mounting chamber, and a second end of the low-voltage terminal is electrically connected to a low-voltage circuit inside the housing; at least one side wall of the target member is provided with a protective housing having an outward opening; the first end of the low-voltage terminal is located inside the protective housing.

TESTING APPARATUS AND BATTERY PRODUCTION DEVICE

NºPublicación:  US20260018692A1 15/01/2026
Solicitante: 
CONTEMPORARY AMPEREX TECH CO LIMITED [CN]
Contemporary Amperex Technology Co., Limited
US_20260018692_PA

Resumen de: US20260018692A1

A testing apparatus comprises an X-ray source, a linear array detector and a carrying platform. The linear array detector is opposite an emission port of the X-ray source, the carrying platform can move in a first direction Y, a movement trajectory of the carrying platform passes between the X-ray source and the linear array detector, and the carrying platform is configured to carry a battery to be tested. The linear array detector comprises a plurality of columns of sensing regions, which are arranged in the first direction Y.

BATTERY MANAGEMENT APPARATUS AND METHOD

NºPublicación:  US20260018688A1 15/01/2026
Solicitante: 
LG ENERGY SOLUTION LTD [KR]
LG ENERGY SOLUTION, LTD
US_20260018688_PA

Resumen de: US20260018688A1

A battery management apparatus according to an embodiment of the present disclosure includes a communication unit configured to receive battery information for a plurality of batteries, a priority setting unit configured to determine an index value of a performance index preset for the plurality of batteries based on the battery information and set a priority for the plurality of batteries based on the determined index value, and a battery determining unit configured to determine a target battery among the plurality of batteries based on the battery information and the priority, and provide information about the determined target battery.

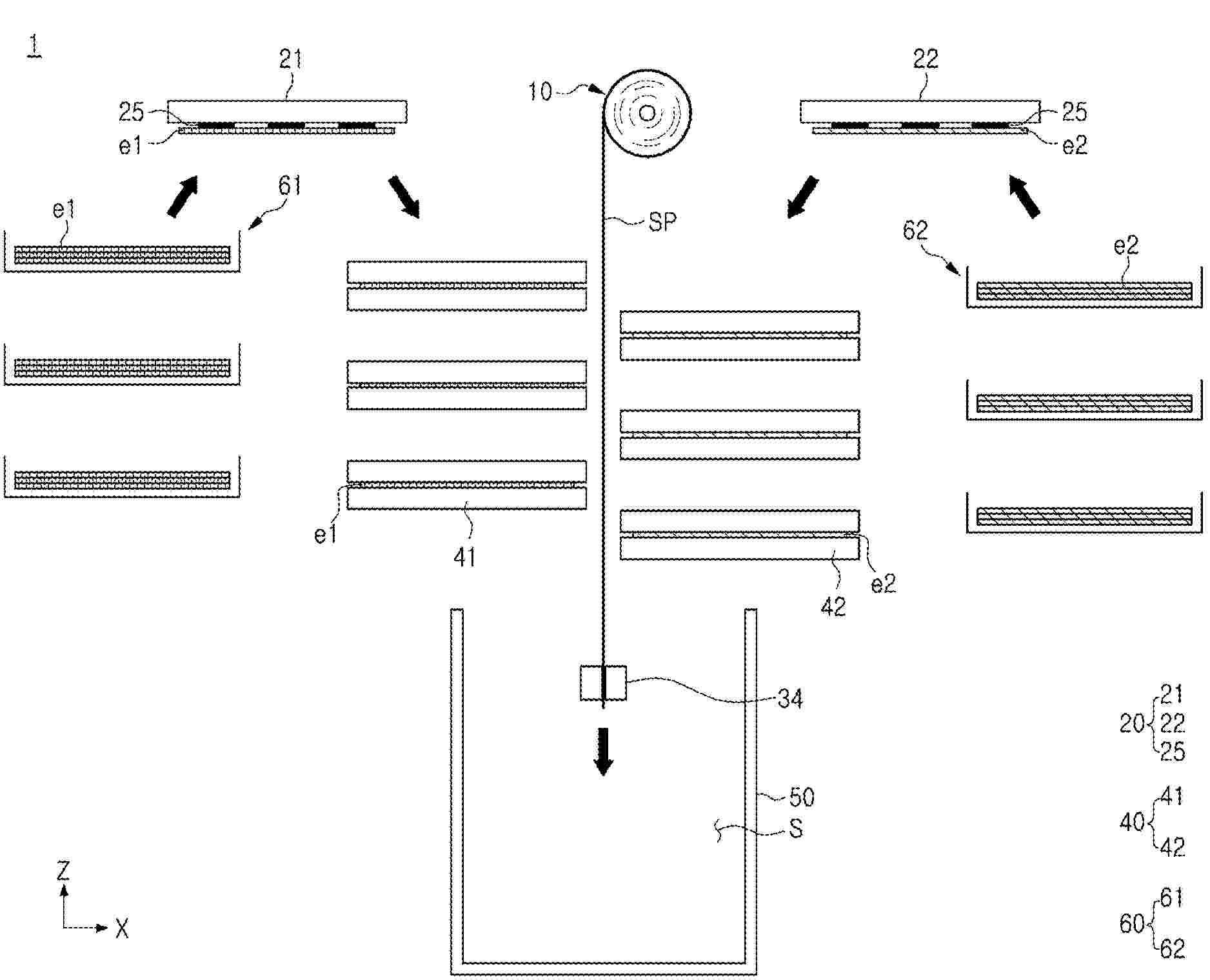
SEPARATOR SUPPLY APPARATUS

NºPublicación:  US20260018647A1 15/01/2026
Solicitante: 
SK ON CO LTD [KR]
SK ON CO., LTD
US_20260018647_PA

Resumen de: US20260018647A1

A separator supply apparatus for supplying a separator includes a bobbin support member including a first surface facing a supply position, a position in which a supplied separator is disposed, and a second surface opposite to the first surface, a plurality of bobbin holders disposed on the first surface and the second surface respectively and supporting the separators, at least one of which is disposed in the supply position, a first shaft disposed on the bobbin support member in a direction penetrating the first and second surfaces, and a second shaft providing a rotational axis to the bobbin support member. The plurality of bobbin holders revolve around at least one of the first or second shaft and are provided such that a bobbin holder disposed in the supply position is changed.

CRIMPING APPARATUS AND METHOD FOR CYLINDRICAL SECONDARY CELLS

Nº publicación: US20260018645A1 15/01/2026

Solicitante:

SK ON CO LTD [KR]
SK ON CO., LTD

US_20260018645_PA

Resumen de: US20260018645A1

A crimping apparatus according to an exemplary embodiment of the present disclosure includes: a roller support device disposed to be movable up and down in an axial direction of a battery case; and a roller connected to the roller support device and configured to press an opening part of the battery case, wherein the roller may be disposed to be movable in a radial direction of the battery case.

traducir