Ministerio de Industria, Turismo y Comercio LogoMinisterior
 

Alerta

Resultados 1111 resultados
LastUpdate Última actualización 26/01/2026 [07:08:00]
pdfxls
Publicaciones de los últimos 15 días/Last 15 days publications (excluidas pubs. CN y JP /CN and JP pubs. excluded)
previousPage Resultados 850 a 875 de 1111 nextPage  

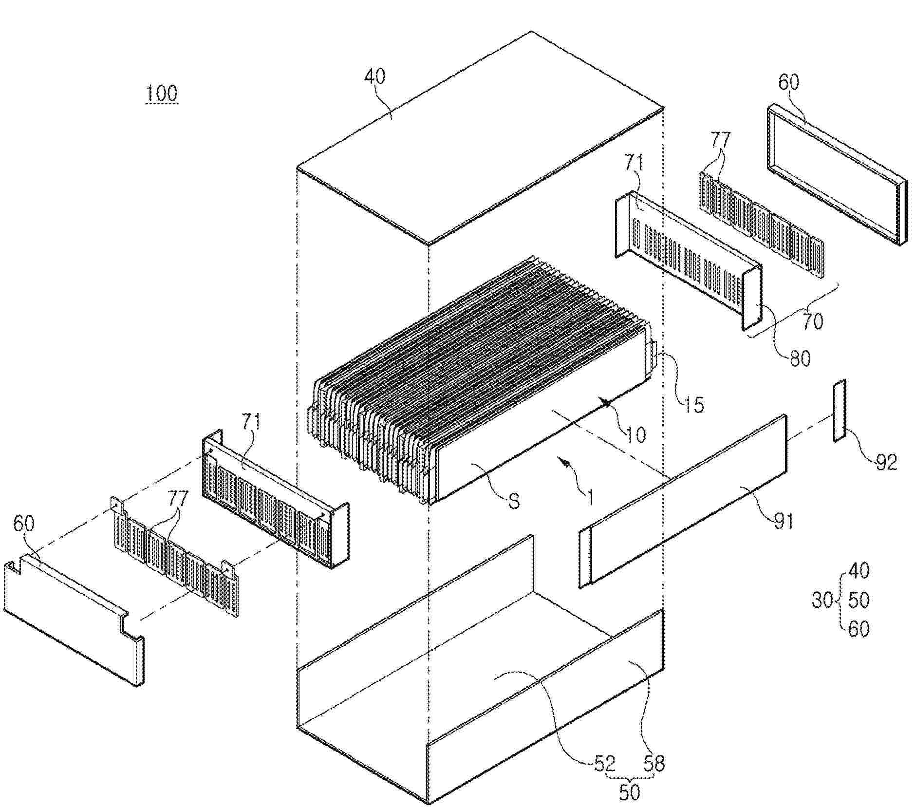
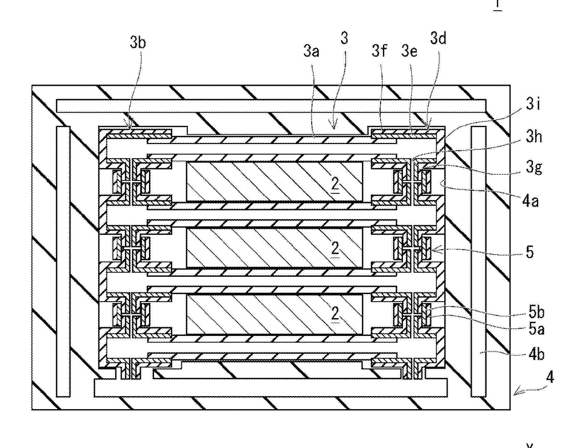
PRISMATIC BATTERY CELL, BATTERY MODULE PROVIDED WITH SUCH BATTERY CELL, AND CORRESPONDING BATTERY PACK

NºPublicación:  US20260018704A1 15/01/2026
Solicitante: 
FERRARI S P A [IT]
FERRARI S.P.A
US_20260018704_PA

Resumen de: US20260018704A1

A prismatic battery cell has a shell with an upper wall, from which at least one electrical connector protrudes, a lower wall and a perimetral wall; the battery cell further has a safety valve carried by the shell and configured to vent, outwardly, gases possibly generated within the shell; the safety valve is arranged in proximity to the lower wall of the shell so as to vent the gases into a cavity defined by a lower area of a battery pack where the battery cell is installed.

HEAT ABSORBER AND BATTERY MODULE INCLUDING THE SAME

NºPublicación:  US20260018709A1 15/01/2026
Solicitante: 
LG ENERGY SOLUTION LTD [KR]
LG ENERGY SOLUTION, LTD
US_20260018709_PA

Resumen de: US20260018709A1

A heat absorber according to an embodiment of the present invention may absorb heat generated in a battery cell. The heat absorber may include: an absorbent configured to absorb a cooling liquid; and an exterior in which the absorbent is accommodated in a state of absorbing the cooling liquid.

BATTERY RACK

NºPublicación:  US20260018734A1 15/01/2026
Solicitante: 
EVE ENERGY STORAGE CO LTD [CN]
EVE ENERGY STORAGE CO., LTD
US_20260018734_PA

Resumen de: US20260018734A1

A battery rack is provided, which includes a frame and a wire-tying unit. The frame is configured to support a battery pack, the wire-tying unit is detachably connected to the frame, the wire-tying unit comprises a base and at least two wire-tying rods, the base is connected to the frame, the wire-tying rods are arranged on the base at intervals in a first direction, and the wire-tying rods extend in a second direction. The wire-tying rod is configured to connect a connection wire of the battery pack, and the first direction is arranged at an angle with respect to the second direction.

RESERVOIR TANK

NºPublicación:  US20260018701A1 15/01/2026
Solicitante: 
HANON SYSTEMS [KR]
Hanon Systems
US_20260018701_PA

Resumen de: US20260018701A1

The present invention relates to a reservoir tank, which has a plurality of spaces partitioned from each other in the reservoir tank and provides each space as a reservoir for each cooling circuit of a cooling system, and thus can solve the problem of insufficient coolant supplementation during pump operation.

CATHODE ACTIVE MATERIAL AND PREPARATION METHOD THEREOF, POSITIVE ELECTRODE PLATE, BATTERY, AND ELECTRICAL APPARATUS

NºPublicación:  US20260018602A1 15/01/2026
Solicitante: 
BEIJING EASPRING MATERIAL TECH CO LTD [CN]
BEIJING EASPRING MATERIAL TECHNOLOGY CO., LTD
US_20260018602_A1

Resumen de: US20260018602A1

The present application relates to the technical field of lithium-ion battery, and particularly, to a cathode active material and a preparation method thereof, a positive electrode plate, a battery, and an electrical apparatus. An offset angle of a (104) diffraction peak of the cathode active material is αnm, n is the number of charging cycles of a battery including the cathode active material, where n is an integer; m % is a percentage of a charging capacity to a total capacity of the battery at a n-th charging cycle of the battery; αnm is a 2θ value corresponding to the (104) diffraction peak in an XRD diffraction spectrum of the cathode active material when the percentage of the charging capacity to the total capacity of the battery is m % at the n-th charging cycle of the battery; αnm satisfies: α10050−α1000≤0.250°; and α100100−α1000≤1.500°.

ANODE FOR ALL-SOLID-STATE BATTERY, ALL-SOLID-STATE BATTERY INCLUDING THE SAME, AND METHOD OF MANUFACTURING ALL-SOLID-STATE BATTERY

NºPublicación:  US20260018597A1 15/01/2026
Solicitante: 
SAMSUNG ELECTRONICS CO LTD [KR]
SAMSUNG ELECTRONICS CO., LTD
US_20260018597_PA

Resumen de: US20260018597A1

Provided is an anode for an all-solid-state battery including an anode layer, and an interface layer on the anode layer, wherein the anode layer includes an anode active material, and wherein the interface layer includes a metal oxynitride satisfying MxNyOz, where, Mis one or more of silicon (Si), aluminum (Al), and hafnium (Hf), 0<x<1, 0<y<1, 0<z<1, and x+y+z=1.

HIGH LOADING ELECTRODES

NºPublicación:  US20260018593A1 15/01/2026
Solicitante: 
NAVITAS SYSTEMS LLC [US]
Navitas Systems, LLC
US_20260018593_A1

Resumen de: US20260018593A1

Provided are electrodes that may be used in electrochemical cells that incorporate relatively high loading of active material while also demonstrating excellent adhesion, resistance to mechanical breakdown, and also offer improved capacity retention, particularly at discharge rates of C/2 or greater.

ELECTROCHEMICAL DEVICE AND ELECTRONIC DEVICE

NºPublicación:  US20260018589A1 15/01/2026
Solicitante: 
NINGDE AMPEREX TECH LIMITED [CN]
Ningde Amperex Technology Limited
US_20260018589_A1

Resumen de: US20260018589A1

An electrochemical device includes a negative electrode sheet, the negative electrode sheet includes a negative electrode current collector and a negative electrode active material layer, and the negative electrode active material layer is located on the negative electrode current collector. The negative electrode current collector includes a copper foil, and a (220) crystal face peak area percentage of the copper foil is 15% to 21%. Using the copper foil with a (220) crystal face peak area percentage of 15% to 21% as the negative electrode current collector can increase the impact pass rate of the electrochemical device, thereby improving the safety performance of the electrochemical device.

BINDER FOR ELECTRICITY STORAGE DEVICE, BINDER SOLUTION FOR ELECTRICITY STORAGE DEVICE, ELECTRODE SLURRY FOR ELECTRICITY STORAGE DEVICE, ELECTRODE FOR ELECTRICITY STORAGE DEVICE, AND ELECTRICITY STORAGE DEVICE

NºPublicación:  US20260018617A1 15/01/2026
Solicitante: 
KURARAY CO LTD [JP]
Kuraray Co., Ltd
US_20260018617_A1

Resumen de: US20260018617A1

The present disclosure relates to a binder for an electricity storage device comprising a vinyl alcohol polymer.

ANODE MATERIAL AND BATTERY

NºPublicación:  US20260018613A1 15/01/2026
Solicitante: 
BTR NEW MAT GROUP CO LTD [CN]
BTR NEW MATERIAL GROUP CO., LTD
US_20260018613_PA

Resumen de: US20260018613A1

Anode material, and battery. Anode material includes graphite and carbon layer located on at least part of surface of graphite. Particle surface and particle section of anode material are respectively tested by Raman spectroscopy, peak area ratio of D characteristic peak within range of 1300 cm−1 to 1350 cm−1 to G characteristic peak within range of 1500 cm−1 to 1580 cm-1 is ID/Ig, ratio of ID/IG measured on the particle surface is A, and ratio of ID/IG measured on particle section is B, and 1.22

BIPOLAR BATTERY AND MANUFACTURING METHOD THEREFOR

NºPublicación:  WO2026014977A1 15/01/2026
Solicitante: 
LG ENERGY SOLUTION LTD [KR]
\uC8FC\uC2DD\uD68C\uC0AC \uC5D8\uC9C0\uC5D0\uB108\uC9C0\uC194\uB8E8\uC158
WO_2026014977_PA

Resumen de: WO2026014977A1

According to an embodiment of the present invention, provided are a bipolar battery and a manufacturing method therefor, the bipolar battery comprising: a bipolar assembly including a laminate including a bipolar electrode and a separator, and a gel electrolyte impregnated in the entire laminate; and a battery case, wherein no interfacial gap is included in an interface between the bipolar electrode and the separator, and voids in the gel electrolyte are less than or equal to 5% of the total volume of the gel electrolyte that can be impregnated.

SEPARATOR FOR ELECTROCHEMICAL DEVICE, AND MANUFACTURING METHOD THEREOF

NºPublicación:  WO2026014957A1 15/01/2026
Solicitante: 
LG ENERGY SOLUTION LTD [KR]
\uC8FC\uC2DD\uD68C\uC0AC \uC5D8\uC9C0\uC5D0\uB108\uC9C0\uC194\uB8E8\uC158
WO_2026014957_A1

Resumen de: WO2026014957A1

A separator according to the present invention comprises a porous polymer substrate, an adhesive layer, and a heat-resistant layer, wherein the adhesive layer includes an acrylic binder polymer having a swelling degree of 50% or greater. The separator can ensure sufficient peel strength while being thin.

METHOD FOR ACTIVATING LITHIUM SECONDARY BATTERY

NºPublicación:  WO2026014884A1 15/01/2026
Solicitante: 
LG ENERGY SOLUTION LTD [KR]
SEOUL NATIONAL UNIV R&DB FOUNDATION [KR]
\uC8FC\uC2DD\uD68C\uC0AC \uC5D8\uC9C0\uC5D0\uB108\uC9C0\uC194\uB8E8\uC158,
\uC11C\uC6B8\uB300\uD559\uAD50\uC0B0\uD559\uD611\uB825\uB2E8
WO_2026014884_PA

Resumen de: WO2026014884A1

The present invention relates to a method for activating a lithium secondary battery comprising a manganese-rich positive electrode material, wherein the method can improve the capacity characteristics and lifespan characteristics of the lithium secondary battery and reduce the amount of gas generation of the lithium secondary battery. The activation method is a method for activating a lithium secondary battery comprising: a positive electrode comprising a positive electrode active material made of a lithium metal oxide; a negative electrode; and an electrolyte, and comprises the steps of: charging the lithium secondary battery at a first temperature; and discharging the lithium secondary battery at a second temperature that is at least 15°C higher than the first temperature, wherein the lithium metal oxide comprises at least 50 mol% and less than 100 mol% of manganese on the basis of the total content of metals excluding lithium.

NONAQUEOUS ELECTROLYTE FOR NONAQUEOUS ELECTROLYTE CELL, AND NONAQUEOUS ELECTROLYTE CELL

NºPublicación:  WO2026014485A1 15/01/2026
Solicitante: 
PANASONIC INTELLECTUAL PROPERTY MAN CO LTD [JP]
\u30D1\u30CA\u30BD\u30CB\u30C3\u30AF\uFF29\uFF30\u30DE\u30CD\u30B8\u30E1\u30F3\u30C8\u682A\u5F0F\u4F1A\u793E
WO_2026014485_PA

Resumen de: WO2026014485A1

This nonaqueous electrolyte for a nonaqueous electrolyte cell comprises a nonaqueous solvent, an electrolyte salt, and an additive, wherein: the additive includes a pyrazine compound; the pyrazine compound has a pyrazine ring and at least two electron-donating groups Rx bonded to the pyrazine ring; and the at least one pair of electron-donating groups Rx is bonded to the ortho or para positions of the pyrazine ring. Alternatively, the pyrazine compound has a pyrazine ring and at least one carbonyl carbon-containing group Ry, and the carbonyl carbon of the carbonyl carbon-containing group Ry is bonded to the 2-, 3-, 5-, or 6-position of the pyrazine ring.

METHOD FOR MANUFACTURING HYBRID SOLID ELECTROLYTE POROUS SILICA NANO-SUPPORT PARTICLES FOR BATTERY

NºPublicación:  WO2026014919A1 15/01/2026
Solicitante: 
SUKGYUNG AT CO LTD [KR]
(\uC8FC)\uC11D\uACBD\uC5D0\uC774\uD2F0
WO_2026014919_PA

Resumen de: WO2026014919A1

The present invention relates to a method for manufacturing spherical porous silica particles used as a support for an ionic liquid and a lithium salt liquid electrolyte inside a semi-solid or solid electrolyte, wherein a tetraalkoxysilane such as tetraethyl orthosilicate (TEOS) is used as a precursor of the porous silica, and a metal hydroxide such as LiOH is used as a base catalyst. In addition, the particles may contain a desired ionic liquid therein, and the particles having a diameter of 20-60 nm are each configured to have a pore diameter of 1-2 nm in order to maximize the supporting ability.

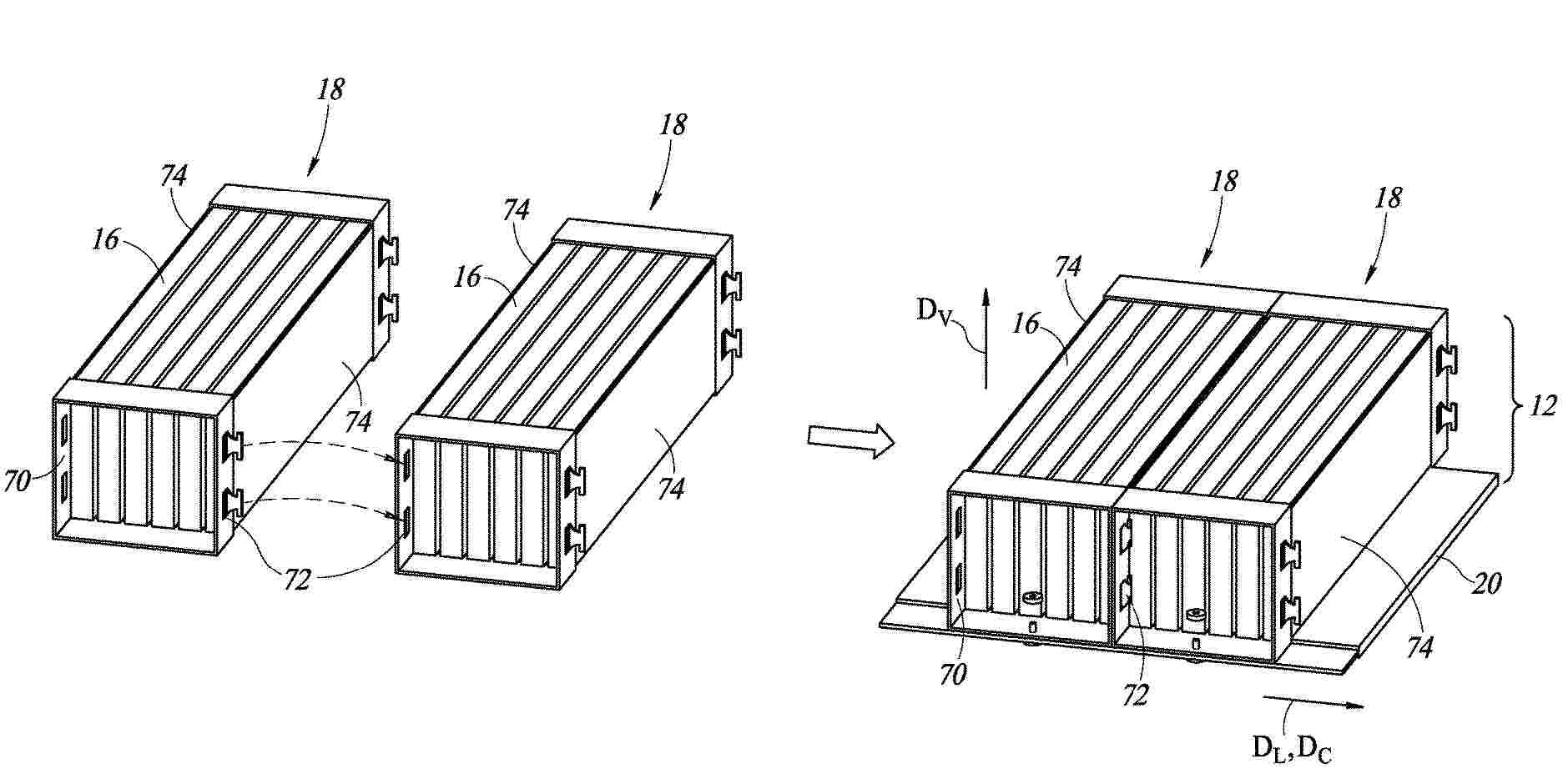
MODULAR AND SCALABLE BATTERY PACKS HAVING SUB-MODULAR CONSTRUCTION

NºPublicación:  US20260018731A1 15/01/2026
Solicitante: 
PACCAR INC [US]
PACCAR INC
US_20260018731_PA

Resumen de: US20260018731A1

A battery pack includes battery cells arranged in an array to form a battery module layer. Multiple layers are vertically stacked with thermal management devices, such as active heat exchangers in the form of battery cold plates, above and below each layer to form a multi-layer battery stack that may be held in compression by a battery pack frame. The multi-layer battery stack and battery pack frame are surrounded by a battery enclosure, which has flat sealing surfaces to ensure robust sealing. The battery pack is associated with a thermal management system for cooling and heating the battery cells of the battery pack. The battery thermal management system provides cooling and heating by alternating cooling flow directions to achieve uniform temperature distribution.

HEAT MANAGEMENT ASSEMBLY, BATTERY, AND ELECTRICAL APPARATUS

NºPublicación:  US20260018702A1 15/01/2026
Solicitante: 
CONTEMPORARY AMPEREX TECH HONG KONG LIMITED [CN]
CONTEMPORARY AMPEREX TECHNOLOGY (HONG KONG) LIMITED
US_20260018702_PA

Resumen de: US20260018702A1

A heat management assembly, a battery, and an electrical apparatus are disclosed. The heat management assembly has a liquid inlet and a liquid outlet and a heat exchange plate and a first partition plate. The heat exchange plate is formed with a plurality of heat exchange channels that are arranged in a first direction and allow a heat exchange medium to flow, the heat exchange channels extend in a second direction, and the first direction intersects with the second direction. The first partition plate is disposed at one end of the heat exchange plate in the second direction, and the first partition plate is to block a portion of the liquid inlet, so that at least part of the heat exchange channels are connected in series with one another, thereby mitigating uneven heating and improving the temperature consistency of the battery cells, and enhancing the heat exchange effect of the battery.

COOLER, ARRANGEMENT STRUCTURE OF SUPPLY-DISCHARGE PORTION, AND ELECTRICITY STORAGE APPARATUS

NºPublicación:  US20260018700A1 15/01/2026
Solicitante: 
TOYOTA JIDOSHA KK [JP]
TOYOTA JIDOSHA KABUSHIKI KAISHA
US_20260018700_PA

Resumen de: US20260018700A1

A cooler mounted on an electricity storage apparatus includes: a cooler main body in which a circulation passage of a refrigerant is provided; and a supply-discharge portion that communicates with the circulation passage of the cooler main body and is to be inserted into the cooler main body to supply the refrigerant to the circulation passage of the cooler main body or discharge the refrigerant from the circulation passage of the cooler main body. The supply-discharge portion includes a contacting portion that arranges the supply-discharge portion in a preset position in the cooler main body by being in contact with a portion to be contacted of the electricity storage apparatus, in a state in which the cooler is mounted on the electricity storage apparatus.

BATTERY DEVICE

NºPublicación:  US20260018728A1 15/01/2026
Solicitante: 
SK ON CO LTD [KR]
SK On Co., Ltd
US_20260018728_PA

Resumen de: US20260018728A1

A battery device according to the disclosed technology may include a cell assembly in which a plurality of battery cells are stacked, a busbar assembly coupled to one side of the cell assembly, and a cell guide extending from the busbar assembly toward the cell assembly and partially facing both side surfaces of the cell assembly.

TERMINAL COOLING PART FOR ELECTRICITY STORAGE DEVICE, BUS BAR FOR ELECTRICITY STORAGE DEVICE, AND ELECTRICITY STORAGE DEVICE MODULE

NºPublicación:  US20260018699A1 15/01/2026
Solicitante: 
PRIME PLANET ENERGY & SOLUTIONS INC [JP]
Prime Planet Energy & Solutions, Inc
US_20260018699_PA

Resumen de: US20260018699A1

A terminal cooling part for an electricity storage device includes a first plate and a second plate. The first plate includes a joining portion that is joined to the electrode terminal. The second plate is opposed to a surface of the first plate at an opposite side to a surface of the first plate that is superimposed on the end surface of the electrode terminal except for the joining portion. The second plate includes a raised portion that forms a refrigerant circulating space between the raised portion and the first plate. The second plate is configured such that a portion around the raised portion is joined to the first plate. The second plate includes a supply port via which a refrigerant is supplied to the refrigerant circulating space, and a discharge port via which the refrigerant is discharged from the refrigerant circulating space.

NEGATIVE ELECTRODE COMPOSITION, NEGATIVE ELECTRODE, LITHIUM SECONDARY BATTERY, BATTERY MODULE, AND BATTERY PACK

NºPublicación:  US20260018594A1 15/01/2026
Solicitante: 
LG ENERGY SOLUTION LTD [KR]
LG ENERGY SOLUTION, LTD
US_20260018594_A1

Resumen de: US20260018594A1

A negative electrode composition, a negative electrode, a lithium secondary battery, a battery module, and a battery pack are provided. The negative electrode composition includes a negative electrode active material comprising a silicon carbon composite and graphite, wherein a tap density of the graphite is equal to or greater than a tap density of the silicon carbon composite.

ALKALINE ELECTROCHEMICAL CELLS COMPRISING INCREASED ZINC OXIDE LEVELS AND HIGH VALENT NICKEL CATHODES

NºPublicación:  US20260018591A1 15/01/2026
Solicitante: 
ENERGIZER BRANDS LLC [US]
Energizer Brands, LLC
US_20260018591_PA

Resumen de: US20260018591A1

Alkaline electrochemical cells are provided, wherein runtime and performance are increased by preventing zinc oxide reaction precipitate from creating a conductive bridge between the two electrodes. The alkaline electrochemical cell comprises a nickel material in the cathode, and solid zinc oxide particles in the anode.

BATTERIES CONTAINING TRANSITION METAL CHLORIDES

NºPublicación:  US20260018590A1 15/01/2026
Solicitante: 
THE TRUSTEES OF BOSTON COLLEGE [US]
The Trustees of Boston College
US_20260018590_PA

Resumen de: US20260018590A1

Disclosed is a battery having a positive electrode, a negative electrode, and an electrolyte. At least one of the positive electrode and the negative electrode contains a lithium or sodium compound of A2MCl4, in which A is Li or Na and M is Ti, V, Cr, Mn, Fe, or Co. The electrolyte has a salt concentration of at least 3 mol/L.

NEGATIVE ELECTRODE ACTIVE MATERIAL FOR SODIUM-ION SECONDARY BATTERY

NºPublicación:  US20260018592A1 15/01/2026
Solicitante: 
NATIONAL UNIV CORPORATION NAGAOKA UNIV OF TECHNOLOGY [JP]
NIPPON ELECTRIC GLASS CO LTD [JP]
NATIONAL UNIVERSITY CORPORATION NAGAOKA UNIVERSITY OF TECHNOLOGY,
NIPPON ELECTRIC GLASS CO., LTD
US_20260018592_PA

Resumen de: US20260018592A1

Provided is a negative electrode active material for a sodium-ion secondary battery that exhibits stable battery characteristics when repeatedly charged and discharged. A negative electrode active material for a sodium-ion secondary battery contains: an amorphous phase containing SiO2 and a Fe—Sn-based alloy.

SECONDARY BATTERY AND ELECTRONIC APPARATUS

Nº publicación: US20260018622A1 15/01/2026

Solicitante:

NINGDE AMPEREX TECH LIMITED [CN]
Ningde Amperex Technology Limited

US_20260018622_PA

Resumen de: US20260018622A1

An electrode assembly includes a positive electrode plate and a negative electrode plate; where the positive electrode plate includes a positive electrode current collector, the positive electrode current collector including a first metal layer; and the negative electrode plate includes a negative electrode current collector, an elongation rate of the negative electrode current collector being 8% to 25%, and a tensile strength of the negative electrode current collector being 200 MPa to 450 MPa. When the elongation rate and tensile strength of the negative electrode current collector are within the above ranges, the debris generated by the negative electrode current collector is reduced when the secondary battery is subjected to an external impact, which can lower the probability of the negative electrode current collector debris acting as a short-circuit site and triggering the positive electrode current collector-negative electrode material layer short-circuit mode.

traducir