Ministerio de Industria, Turismo y Comercio LogoMinisterior
 

Alerta

Resultados 1111 resultados
LastUpdate Última actualización 26/01/2026 [07:08:00]
pdfxls
Publicaciones de los últimos 15 días/Last 15 days publications (excluidas pubs. CN y JP /CN and JP pubs. excluded)
previousPage Resultados 825 a 850 de 1111 nextPage  

Pressure equalization device

NºPublicación:  US20260018736A1 15/01/2026
Solicitante: 
BODO KONZELMANN KG [DE]
Bodo Konzelmann KG
US_20260018736_PA

Resumen de: US20260018736A1

The invention relates to a pressure equalization device (20) for equalizing an internal pressure in a receiving housing of an electrochemical or electrotechnical device, in particular a battery housing, having a housing (20.3) that has at least one gas passage opening (20.4), which forms a gas-permeable connection between an interior (20.1) and an exterior (20.2) of the housing (20.3), wherein the gas passage opening (20.4) is blocked by means of a gas-permeable or gas-tight diaphragm (40), wherein the diaphragm (40) is assigned a burst element (30), which is designed and positioned such that, when the diaphragm (40) is deformed in the direction of the exterior (20.2), the diaphragm is destroyed at least at one point under the action of the burst element (30) to establish a flow connection from the interior (20.1) to the exterior (20.2) through the gas passage opening (20.4). In order to be able to achieve a reproducible bursting behavior in such a pressure equalization device by simple means, according to the invention provision is made for the diaphragm (40), its inner face (42) facing the interior (20.1) of the housing (20.3), to be connected, in particular by a material bond, to the burst element (30).

COMPOSITE COATING SEPARATOR, METHOD FOR PREPARING THE SAME, AND APPLICATION OF THE SAME

NºPublicación:  US20260018740A1 15/01/2026
Solicitante: 
EVE POWER CO LTD [CN]
EVE POWER CO., LTD
US_20260018740_A1

Resumen de: US20260018740A1

A method for preparing a composite coating separator is disclosed. The method includes: mixing raw materials including an inorganic powder, a hollow latex microsphere emulsion, a binder, and a solvent to obtain a mixed slurry; applying the mixed slurry to a surface of a base film, and drying the mixed slurry on the surface of the base film to obtain the composite coating separator. A mass ratio of the inorganic powder in the mixed slurry is 20%-35%, and a mass ratio of the hollow latex microsphere emulsion in the mixed slurry is 5%-10%. A viscosity of the mixed slurry is 100 mPa·s-120 mPa·s. The hollow latex microsphere emulsion includes hollow microspheres, and a density of the hollow microspheres is 0.8 g/cm3-0.9 g/cm3.

BATTERY MODULE

NºPublicación:  US20260018738A1 15/01/2026
Solicitante: 
JTEKT CORP [JP]
JTEKT CORPORATION
US_20260018738_PA

Resumen de: US20260018738A1

A battery module includes: a pouch battery cell including a battery portion and an exterior member that covers the battery portion; and an explosion-proof member. The explosion-proof member includes: a plate portion facing the pouch battery cell; and a protruding portion that is provided to protrude from the plate portion to break through the exterior member when the pouch battery cell is expanded. In the explosion-proof member, a first air passage through which a gas discharged from an opening formed in the exterior member by the protruding portion flows is provided in a part of the protruding portion excluding a distal end.

ELECTRODE ASSEMBLY, SECONDARY BATTERY INCLUDING SAME AND ELECTRODE ASSEMBLY INSPECTION METHOD

NºPublicación:  US20260018766A1 15/01/2026
Solicitante: 
SAMSUNG SDI CO LTD [KR]
SAMSUNG SDI CO., LTD
US_20260018766_PA

Resumen de: US20260018766A1

An electrode assembly includes: a first electrode plate including: a first electrode non-coated portion spaced from opposite ends of the first electrode plate in a longitudinal direction; and a substrate tab connected to one surface of the first electrode non-coated portion; a second electrode plate including: a second electrode non-coated portion spaced from opposite ends of the second electrode plate in the longitudinal direction; and a substrate tab connected to one surface of the second electrode non-coated portion; a separator between the first electrode plate and the second electrode plate; and a first insulating tape and a second insulating tape covering a part of the substrate tab of at least one of the first electrode plate or the second electrode plate. The first insulating tape and the second insulating tape have different colors from each other.

SECONDARY BATTERY, BATTERY ASSEMBLY AND ELECTRONIC DEVICE

NºPublicación:  US20260018675A1 15/01/2026
Solicitante: 
AESC JAPAN LTD [JP]
AESC Japan Ltd
US_20260018675_PA

Resumen de: US20260018675A1

A secondary battery, a battery assembly, and an electronic device are provided. The secondary battery includes a negative electrode sheet, a positive electrode sheet, and a separator located between the positive electrode sheet and the negative electrode sheet. The negative electrode sheet includes the negative active material layer includes a negative straight region and a negative thinned region located at one end of the negative straight region in a first direction. The positive electrode sheet includes the positive active material layer includes a positive straight region and a positive thinned region located at one end of the positive straight region away from the first direction. In the first direction, the positive active material layer includes a protruding portion that extends beyond the negative straight region. The protruding portion overlaps with an orthogonal projection of the negative thinned region in a second direction perpendicular to the first direction.

SOLID ELECTROLYTE COMPOSITION, SOLID ELECTROLYTE LAYER OR ELECTRODE MIXTURE, AND LITHIUM ION BATTERY

NºPublicación:  US20260018661A1 15/01/2026
Solicitante: 
IDEMITSU KOSAN CO LTD [JP]
IDEMITSU KOSAN CO.,LTD
US_20260018661_PA

Resumen de: US20260018661A1

A solid electrolyte composition including (A) a sulfide solid electrolyte including lithium, phosphorus and sulfur, and (B) one or more compounds selected from the compounds represented by the following formulas (1) to (3).

SOLID ELECTROLYTE COMPRISING HALIDE, PREPARATION METHOD THEREOF AND SECONDARY BATTERY COMPRISING THE SAME

NºPublicación:  US20260018659A1 15/01/2026
Solicitante: 
LOTTE ENERGY MAT CORPORATION [KR]
SEOUL NATIONAL UNIV R&DB FOUNDATION [KR]
Lotte Energy Materials Corporation,
SEOUL NATIONAL UNIVERSITY R&DB FOUNDATION
US_20260018659_PA

Resumen de: US20260018659A1

Disclosed is a novel halide-based solid electrolyte composition exhibiting enhanced ionic conductivity, wherein the solid electrolyte composition comprises a lithium yttrium halide with a hexagonal close-packed structure, and when the occupancy of metal ions is defined as the number of metal ions relative to the number of metal ion sites within two consecutive layers constituting a unit cell with a hexagonal close-packed structure in the halide, the sum of the occupancies of metal ions within the two layers is 0.888 or less.

SECONDARY BATTERY AND ELECTRONIC DEVICE

NºPublicación:  US20260018670A1 15/01/2026
Solicitante: 
NINGDE AMPEREX TECH LIMITED [CN]
Ningde Amperex Technology Limited
US_20260018670_PA

Resumen de: US20260018670A1

An electrode assembly includes a positive electrode, a negative electrode, and a separator, and the separator is disposed between the positive electrode and the negative electrode; the electrode assembly satisfies 20≤n*x/y≤2000, where n represents a quantity of layers of the positive electrode along a thickness direction of the electrode assembly, x represents a dimension of the longest edge of a projection of the electrode assembly along the thickness direction, and y represents a maximum dimension of the electrode assembly along the thickness direction; the electrolyte includes a first additive with a reduction potential of 0.8 V to 1.8 V; and a mass percentage of the first additive in the electrolyte is denoted as a, where a is 0.1% to 15%.

NEGATIVE ELECTRODE FOR RECHARGEABLE LITHIUM BATTERY AND RECHARGEABLE LITHIUM BATTERY INCLUDING SAME

NºPublicación:  US20260018657A1 15/01/2026
Solicitante: 
SAMSUNG SDI CO LTD [KR]
SAMSUNG SDI CO., LTD
US_20260018657_PA

Resumen de: US20260018657A1

A negative electrode for a rechargeable lithium battery and a rechargeable lithium battery including the same are provided. The negative electrode includes: a current collector; a first negative active material layer on the current collector and including a first negative active material; and a second negative active material layer on the first negative active material layer and including a second negative active material, wherein the first negative active material layer and the second negative active material layer have a peak intensity ratio (I(002)/I(110)) of a peak intensity at a (002) plane relative to a peak intensity at a (110) plane of 150 or less when measured by X-ray powder diffraction (XRD) using a CuKα ray.

Battery assembly, wing of an aircraft, aircraft, and method for installing a battery assembly

NºPublicación:  US20260015091A1 15/01/2026
Solicitante: 
VAERIDION GMBH [DE]
Vaeridion GmbH
US_20260015091_PA

Resumen de: US20260015091A1

The present disclosure relates to a battery assembly configured to be mounted within at least one wing of at least one aircraft. The battery assembly includes at least one battery module which includes at least one battery cell. The battery assembly further includes at least one mounting structure configured to mount the battery module, along a mounting side of the battery module, to at least one support structure within the wing. The battery assembly is free of a mounting structure for mounting the battery module along a second side of the battery module, the second side being substantially opposite from the mounting side. The present disclosure further relates to wing of an aircraft, an aircraft, and method for installing a battery assembly.

Pouch Film Supply Device for Secondary Batteries

NºPublicación:  US20260015198A1 15/01/2026
Solicitante: 
LG ENERGY SOLUTION LTD [KR]
LG Energy Solution, Ltd
US_20260015198_PA

Resumen de: US20260015198A1

A pouch film supply device for a secondary battery of the present technology includes: a plurality of first guide rollers installed between a pouch film inlet and a pouch film outlet to be spaced apart from each other, and configured to guide a pouch film, wherein one side of each of the plurality of first guide rollers is fixedly supported; a plurality of second guide rollers installed below the plurality of first guide rollers between the pouch film inlet and the pouch film outlet to be spaced apart from each other, and configured to guide the pouch film; and an inclination measurement member provided on another side of each of the first guide rollers to measure at least one of a vertical inclination and a horizontal inclination of each of the first guide rollers.

WINDER

NºPublicación:  US20260015196A1 15/01/2026
Solicitante: 
LG ELECTRONICS INC [KR]
LG ELECTRONICS INC
US_20260015196_PA

Resumen de: US20260015196A1

A winder applied can include a turret part configured to hold a running film roll and a standby film roll, and a leading part including a head part configured to sense a finishing tape attached to an end side of a thin film wound on the standby film roll, grip the finishing tape, and remove the finishing tape from the standby film roll. The head part can include a head body part, a sensing unit disposed on the head body part, and a tape adsorption part disposed on the head body part. The tape adsorption part may be configured to move to a position of the finishing tape sensed by the sensing unit, temporarily couple to the finishing tape, and remove the finishing tape from the end side of the thin film wound on the standby film roll. The sensing unit may be configured to sense the finishing tape.

CATALYSED SYNTHESIS OF FLUORINATED ALKENES AND FLUORINATED ALKENE COMPOSITIONS

NºPublicación:  US20260015306A1 15/01/2026
Solicitante: 
THE CHEMOURS COMPANY FC LLC [US]
THE CHEMOURS COMPANY FC, LLC
US_20260015306_PA

Resumen de: US20260015306A1

A method of producing a fluoroolefin includes contacting a compound of formula (1), RfCX1═CHCF3, with a fluorinated ethylene compound of formula (2), CX2X3═CX4X5 in the presence of a catalyst. In the compound of formula (1), Rf is a linear or branched C1-C10perfluorinated alkyl group and X1 is H, Br, Cl, or F. In the compound of formula (2), X2, X3, X4, and X5 are each independently H, Br, Cl, or F and at least three of X2, X3, X4, and X5 are 10 F. The resulting composition comprises a compound of formula (3), Rf(CF2)nCX6═CH(CF2)mCX7X8CFX9X10. In the compound of formula (3), X6, X7, X8, X9, and X10 are each independently H, Br, Cl, or F, and the total number of each of H, Br, Cl, and F corresponds to the total number of each of H, Br, Cl, and F provided by the compounds of formulae (1) and (2).

BATTERY CELL, BATTERY, AND ELECTRIC DEVICE

NºPublicación:  US20260018764A1 15/01/2026
Solicitante: 
CONTEMPORARY AMPEREX TECH CO LIMITED [CN]
Contemporary Amperex Technology Co., Limited
US_20260018764_PA

Resumen de: US20260018764A1

A battery cell comprises a housing, an electrode assembly, a pressure relief mechanism, and a first insulating member, wherein the housing comprises a wall portion; and the electrode assembly is accommodated in the housing. The pressure relief mechanism is arranged on the wall portion, and the pressure relief mechanism comprises a pressure relief body and a first weak portion arranged around the pressure relief body, the pressure relief body and the first weak portion forming a first pressure relief area. At least part of the first insulating member is arranged between the first pressure relief area and the electrode assembly, the first insulating member is provided with a first through hole, and in the direction of thickness of the wall portion, the projection of the first through hole is located in the projection of the first pressure relief area.

BATTERY CELL, BATTERY, AND ELECTRIC DEVICE

NºPublicación:  US20260018762A1 15/01/2026
Solicitante: 
CONTEMPORARY AMPEREX TECH CO LIMITED [CN]
CONTEMPORARY AMPEREX TECHNOLOGY CO., LIMITED
US_20260018762_PA

Resumen de: US20260018762A1

Disclosed are a battery cell, a battery, and an electric device. The battery cell includes an electrode assembly, a positive electrode lead-out portion, a positive electrode connecting assembly, a negative electrode lead-out portion, and a negative electrode connecting assembly; the positive electrode connecting assembly is connected to a positive plate and the positive electrode lead-out portion; the negative electrode connecting assembly is electrically connected to a negative plate and the negative electrode lead-out portion; a minimum current-carrying cross-sectional area of the positive electrode connecting assembly is smaller than a current-carrying cross-sectional area of the positive electrode lead-out portion, a melting point of the positive electrode connecting assembly is smaller than a melting point of the negative electrode connecting assembly, and the minimum current-carrying cross-sectional area of the positive electrode connecting assembly is A1, with a unit of mm2.

BATTERY PACK AND ELECTRICAL APPARATUS

NºPublicación:  US20260018759A1 15/01/2026
Solicitante: 
CONTEMPORARY AMPEREX TECH CO LIMITED [CN]
CONTEMPORARY AMPEREX FUTURE ENERGY TECH SHENZHEN LIMITED [CN]
CONTEMPORARY AMPEREX TECHNOLOGY CO., LIMITED,
CONTEMPORARY AMPEREX FUTURE ENERGY TECHNOLOGY (SHENZHEN) LIMITED
US_20260018759_PA

Resumen de: US20260018759A1

A battery pack includes a box, a battery unit, a busbar device, and a temperature measurement device. The temperature measurement device includes at least one first temperature measurement element and at least one second temperature measurement element, the first temperature measurement element is arranged in contact with the shell of the corresponding battery cell, and the second temperature measurement element is arranged in contact with the terminal post of the corresponding battery cell and/or the corresponding busbar device, the at least one second temperature measurement element is located in an end area on one side of the box along the first direction, the at least one second temperature measurement element is located in an end area on the other side of the box along the first direction, and the at least one second temperature measurement element is located in a middle area of the box along the first direction.

BATTERY CELL, BATTERY AND ELECTRICAL APPARATUS

NºPublicación:  US20260018765A1 15/01/2026
Solicitante: 
CONTEMPORARY AMPEREX TECH CO LIMITED [CN]
Contemporary Amperex Technology Co., Limited
US_20260018765_PA

Resumen de: US20260018765A1

A battery cell comprises an electrode assembly, a shell, an electrode terminal, an insulating member, and a protective member. The shell comprises a wall portion provided with an electrode lead-out hole. The electrode assembly is accommodated in the shell and comprises a tab. The electrode terminal is electrically connected to the tab. The electrode terminal comprises a terminal body passing through the electrode lead-out hole and a fixing portion connected to the terminal body. The insulating member is arranged surrounding the terminal body. At least a portion of the insulating member is located between the fixing portion and the wall portion to isolate, in an insulated manner, the fixing portion from the wall portion. The protective member is arranged surrounding the terminal body and in contact with the insulating member.

ELECTROLYTE, SECONDARY BATTERY, AND ELECTRIC DEVICE

NºPublicación:  US20260018672A1 15/01/2026
Solicitante: 
CONTEMPORARY AMPEREX TECH CO LIMITED [CN]
CONTEMPORARY AMPEREX TECHNOLOGY CO., LIMITED
US_20260018672_PA

Resumen de: US20260018672A1

An electrolyte, a secondary battery, and an electric device. The electrolyte comprises a component, a nitrile solvent. The nitrile solvent comprises a compound represented by formula (1): wherein: L is selected from any one of C(R1R2), O, Si(R3R4), B(R5), P(R6R7R8), and N(R9); R1-R9 are each independently selected from at least one of H, halogen, substituted or unsubstituted alkyl having 1-3 carbon atoms, alkoxy having 1-3 carbon atoms, amino, and cyano, and R1 and R2 are not cyanos and H; R11 is an alkane chain containing 1-4 carbon atoms; R12-R14 are each independently selected from at least one of H, halogen, substituted or unsubstituted alkyl having 1-3 carbon atoms, alkoxy having 1-3 carbon atoms, amino, and cyano; and when L is C(R1R2), R12-R14 are not cyanos.

INSULATION SHEET AND BATTERY PACK CONTAINING SAME

NºPublicación:  WO2026014774A1 15/01/2026
Solicitante: 
LG ENERGY SOLUTION LTD [KR]
\uC8FC\uC2DD\uD68C\uC0AC \uC5D8\uC9C0\uC5D0\uB108\uC9C0\uC194\uB8E8\uC158
WO_2026014774_PA

Resumen de: WO2026014774A1

An insulation sheet according to one embodiment of the present invention is disposed between a first battery cell and a second battery cell, and comprises an insulation pad part and a packaging member, which encompasses the entire outer surface of the insulation pad part, wherein the packaging member includes a main body surface covering the front and rear surfaces and upper and lower surfaces of the insulation pad part and a pair of extension surfaces covering both ends of the insulation pad part, one end of each of the pair of extension surfaces is connected to the main body surface covering the rear surface of the insulation pad part, the other end of each of the pair of extension surfaces passes through both ends of the insulation pad part and extends to each of both ends of the main body surface covering the front surface of the insulation pad part, the first battery cell is disposed between the other ends of the pair of extension surfaces, and the second battery cell is disposed on the rear surface of the insulation pad part.

BATTERY CHARGING DEVICE AND BATTERY FORMATION SYSTEM INCLUDING SAME

NºPublicación:  WO2026014734A1 15/01/2026
Solicitante: 
LG ENERGY SOLUTION LTD [KR]
\uC8FC\uC2DD\uD68C\uC0AC \uC5D8\uC9C0\uC5D0\uB108\uC9C0\uC194\uB8E8\uC158
WO_2026014734_A1

Resumen de: WO2026014734A1

A battery charging device according to the present invention comprises: a current supply circuit configured to supply a charging current through a plurality of conducting wires respectively corresponding to a plurality of batteries; and a charging jig configured to support the plurality of batteries and provide a charging current supplied through the plurality of conducting wires to the plurality of batteries. The charging jig comprises: a plurality of connection pins electrically connecting the plurality of conducting wires to first electrode terminals of the plurality of batteries; a conductive plate commonly in contact with second electrode terminals of the plurality of batteries to allow the second electrode terminals to have the same potential; and a cooling structure having a cooling channel through which a cooling material moves and configured to cool the conductive plate.

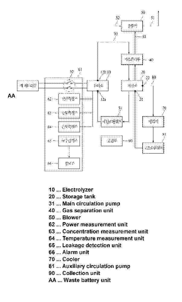
ELECTROLYTE-CIRCULATION TYPE BATTERY DISCHARGING SYSTEM

NºPublicación:  WO2026014727A1 15/01/2026
Solicitante: 
SEBINE TECH INC [KR]
\uC138\uBE48\uAE30\uC220\uC8FC\uC2DD\uD68C\uC0AC
WO_2026014727_PA

Resumen de: WO2026014727A1

The present invention relates to an electrolyte-circulation type battery discharging system capable of safely and rapidly discharging residual power of a high voltage battery in a process for regeneration or disposal of the battery, thereby preventing an accident which may be caused by current or power. The battery discharging system according to the present invention, comprises: an electrolytic cell having an electrode unit including a positive electrode and a negative electrode and electrically connected to electrodes of a battery, the electrolytic cell having a first supply port formed at one side thereof for receiving an electrolyte and a first discharge port formed at the other side thereof for discharging the electrolyte, and being configured to induce an electrochemical reaction between the electrode unit and the electrolyte flowing therethrough; a storage tank in which the electrolyte is accommodated; and a main circulation pipe and a main circulation pump for circulating the electrolyte accommodated in the storage tank to the electrolytic cell.

ELECTROLYTE COMPOSITION FOR LITHIUM METAL BATTERY FOR FAST CHARGING AND LITHIUM METAL BATTERY COMPRISING SAME

NºPublicación:  WO2026014986A1 15/01/2026
Solicitante: 
LG ENERGY SOLUTION LTD [KR]
KOREA ADVANCED INSTITUTE OF SCIENCE AND TECH [KR]
\uC8FC\uC2DD\uD68C\uC0AC \uC5D8\uC9C0\uC5D0\uB108\uC9C0\uC194\uB8E8\uC158,
\uD55C\uAD6D\uACFC\uD559\uAE30\uC220\uC6D0
WO_2026014986_PA

Resumen de: WO2026014986A1

The present specification discloses: an electrolyte composition for a lithium metal battery, enabling uniform electrodeposition of lithium metal under fast charging conditions; and a lithium metal battery comprising same.

HIGH-VOLTAGE BOX, BATTERY, AND ELECTRICAL DEVICE

NºPublicación:  US20260018690A1 15/01/2026
Solicitante: 
CONTEMPORARY AMPEREX TECH CO LIMITED [CN]
Contemporary Amperex Technology Co., Limited
US_20260018690_PA

Resumen de: US20260018690A1

A high-voltage box comprises: a first housing, having a wall portion and an accommodating space enclosed by the wall portion, wherein the accommodating space is used for accommodating an electrical device; an electrical connector, disposed in the first housing, the electrical connector comprising a plurality of terminals and a conductive connection portion, wherein the conductive connection portion is connected to at least one terminal and is integrally formed with the terminal, and the terminals are used for connecting the electrical device.

NEGATIVE ELECTRODE PLATE, BATTERY, AND ELECTRICAL APPARATUS

NºPublicación:  US20260018684A1 15/01/2026
Solicitante: 
CONTEMPORARY AMPEREX TECH CO LIMITED [CN]
CONTEMPORARY AMPEREX TECHNOLOGY CO., LIMITED
US_20260018684_PA

Resumen de: US20260018684A1

A negative electrode plate comprises a negative electrode current collector and a negative electrode film layer located on at least one surface of the negative electrode current collector. The negative electrode film layer comprises a base coating and a negative electrode active layer. The base coating is located between the negative electrode current collector and the negative electrode active layer. The base coating comprises a conductive agent and a first binder. The negative electrode active layer comprises a silicon-based material. The tensile strength of the negative electrode current collector is ≥800 MPa, and the peel strength of the negative electrode film layer is ≥28 N/m.

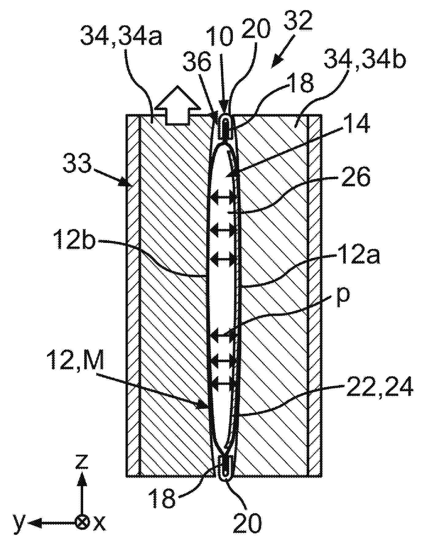
CELL SEPARATING ELEMENT WITH FIRE PROTECTION LAYER AND BATTERY MODULE

Nº publicación: US20260018708A1 15/01/2026

Solicitante:

AUDI AG [DE]
AUDI AG

US_20260018708_PA

Resumen de: US20260018708A1

A cell separating element for arrangement between two battery cells of a cell stack, the cell separating element is elastically compressible at least in a first direction and includes at least one fire protection layer. The cell separating element includes a flexible outer shell enclosing an interior space in which a fluid is located, the at least one fire protection layer is arranged in the interior space and comprises an intumescent material.

traducir