Ministerio de Industria, Turismo y Comercio LogoMinisterior
 

Alerta

Resultados 1111 resultados
LastUpdate Última actualización 26/01/2026 [07:08:00]
pdfxls
Publicaciones de los últimos 15 días/Last 15 days publications (excluidas pubs. CN y JP /CN and JP pubs. excluded)
previousPage Resultados 750 a 775 de 1111 nextPage  

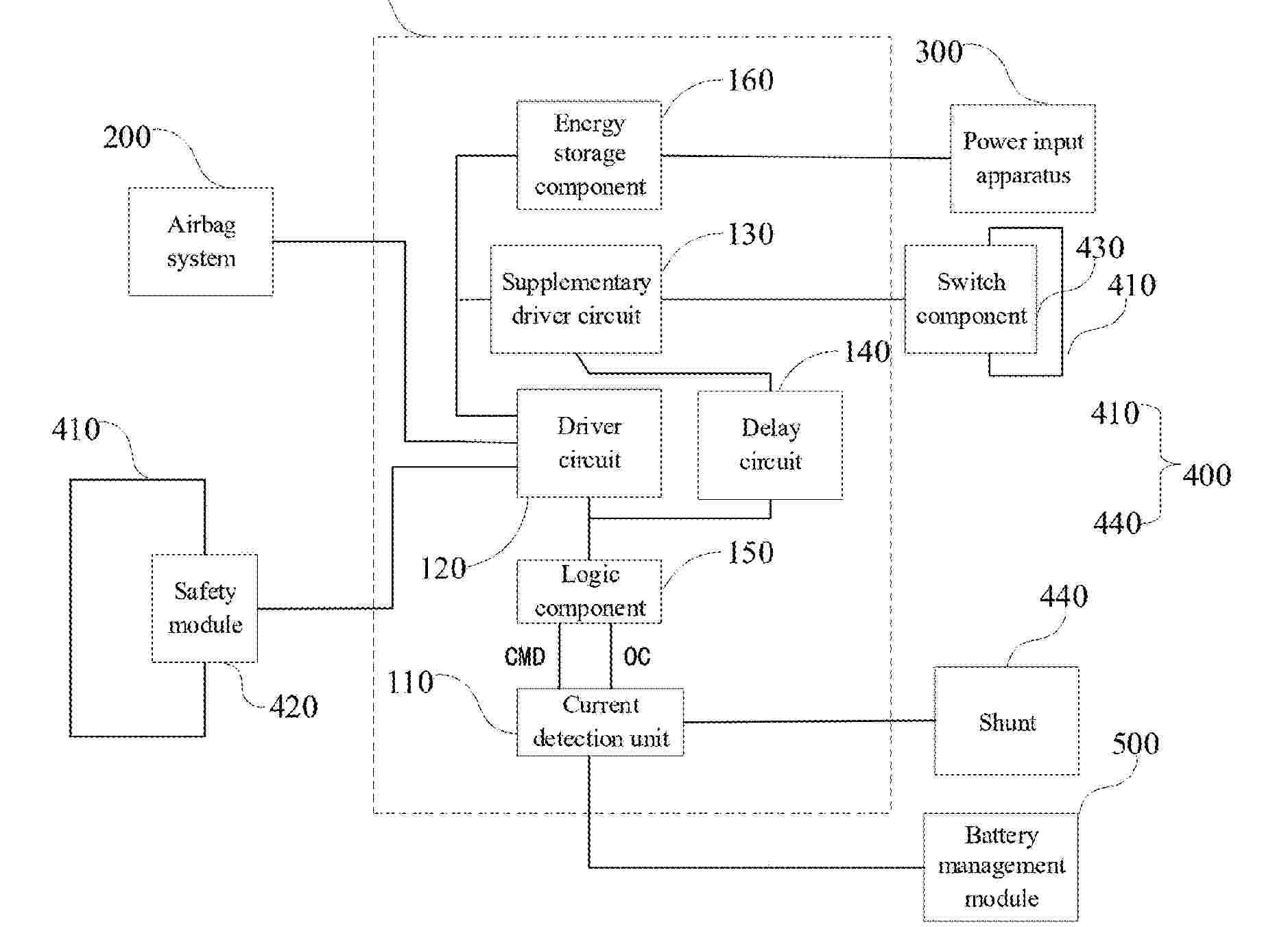
CONTROL CIRCUIT, CONTROL SYSTEM, AND TRANSPORTATION DEVICE

NºPublicación:  US20260014949A1 15/01/2026
Solicitante: 
CONTEMPORARY AMPEREX TECH CO LIMITED [CN]
CONTEMPORARY AMPEREX TECHNOLOGY CO., LIMITED
US_20260014949_PA

Resumen de: US20260014949A1

A control circuit includes: a current detection unit, where the current detection unit is configured to: when being connected to a battery, output a first type signal when detecting that the battery has an overcurrent or a short circuit; and a driver circuit, where an input terminal of the driver circuit is connected to a signal output terminal of the current detection unit, an output terminal of the driver circuit is configured to connect to a safety module in the target loop, and the driver circuit is configured to output, in response to receiving the first type signal transmitted from the current detection unit, a drive signal to drive the safety module to be disconnected, where the target loop is a loop in the battery or a loop in a device in which the battery is located.

ENERGY STORAGE APPARATUS

NºPublicación:  US20260014945A1 15/01/2026
Solicitante: 
GS YUASA INT LTD [JP]
GS Yuasa International Ltd
US_20260014945_PA

Resumen de: US20260014945A1

An energy storage apparatus includes a cell, a relay which cuts off a current of the cell, a bypass circuit connected in parallel with the relay, and a management device. The bypass circuit includes two back-to-back connected FETs. When an abnormality of the cell is detected by the management device, the management device opens the relay, closes one FET of the two FETs, and opens the other FET, and permits a discharge or a charge of the cell through a path passing through a parasitic diode of the FET. When the discharge or the charge is being performed through the path passing through the parasitic diode, if a current I and an energization time T of the FET(s) reach a predetermined condition or the temperature of the FET(s) reaches a predetermined condition, the management device 150 closes the relay 53 and the other FET(s) that is open.

TEMPERATURE MANAGEMENT FOR BATTERIES

NºPublicación:  US20260014900A1 15/01/2026
Solicitante: 
VOLVO TRUCK CORP [SE]
Volvo Truck Corporation
US_20260014900_A1

Resumen de: US20260014900A1

A computer system is disclosed for determining a target operating temperature for a battery, the computer system including processing circuitry configured to determine a first cost associated with a resistance of the battery, determine a second cost associated with a life expectancy of the battery, and determine a target operating temperature for the battery such that a sum of the first and second costs is below a threshold, wherein the first cost includes a third cost associated with one or more of increasing a discharge power of the battery and decreasing a charging time of the battery. A computer-implemented method for determining a target operating temperature for a battery is also disclosed.

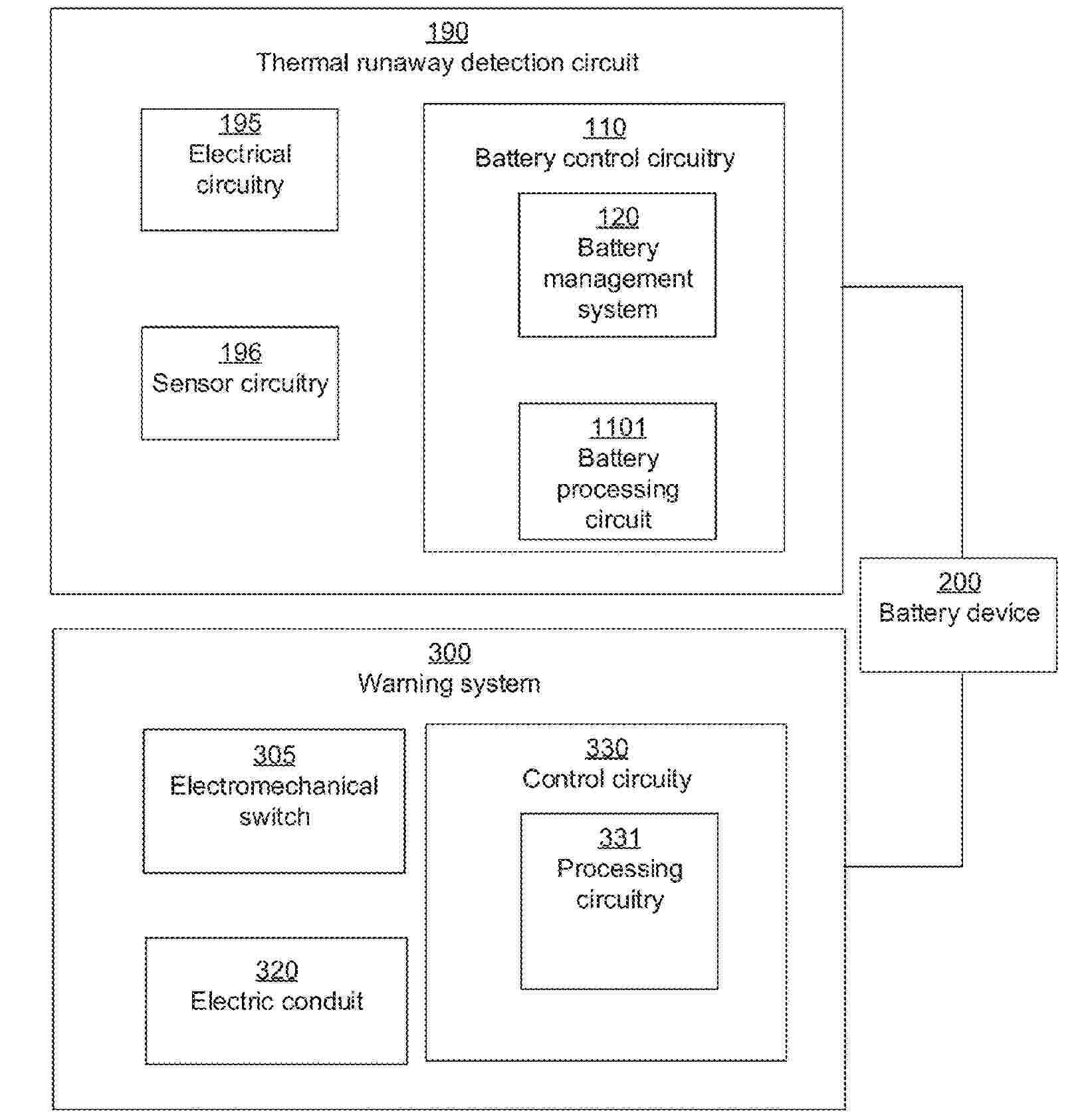
WARNING SYSTEM FOR PROVIDING A WARNING INDICATING A THERMAL RUNAWAY

NºPublicación:  US20260014897A1 15/01/2026
Solicitante: 
VOLVO TRUCK CORP [SE]
Volvo Truck Corporation
US_20260014897_PA

Resumen de: US20260014897A1

A warning system for providing a warning indicating a thermal runaway of a battery device, the warning system comprising an electromechanical switch configured to be operatively connected to a pressure actuatable device of the battery device such that actuation of the pressure actuatable device causes activation of the electromechanical switch, and an electric conduit connected to the electromechanical switch and configured to be connected to an indicating device for providing an indication of thermal runaway of the battery device.

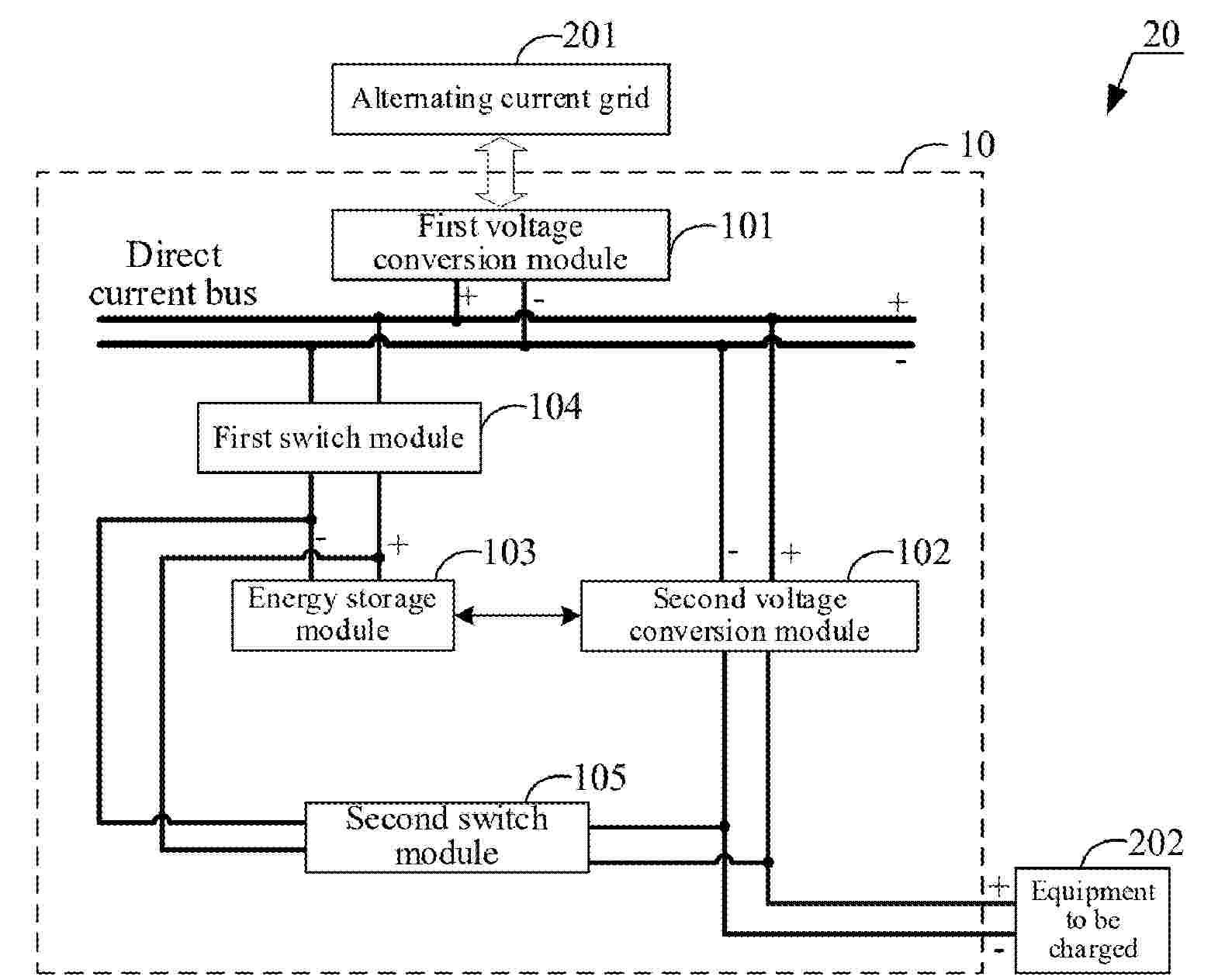
INTEGRATED STORAGE AND CHARGING DEVICE AND CHARGING SYSTEM

NºPublicación:  US20260014890A1 15/01/2026
Solicitante: 
CONTEMPORARY AMPEREX TECH CO LIMITED [CN]
CONTEMPORARY AMPEREX FUTURE ENERGY TECH SHENZHEN LIMITED [CN]
CONTEMPORARY AMPEREX TECHNOLOGY CO., LIMITED,
CONTEMPORARY AMPEREX FUTURE ENERGY TECHNOLOGY (SHENZHEN) LIMITED
US_20260014890_PA

Resumen de: US20260014890A1

The integrated storage and charging device includes a first voltage conversion module, a second voltage conversion module, an energy storage module, a first switch module, and a second switch module. An output end of the first voltage conversion module is connected to a first end of the first switch module. A second end of the first switch module is connected to the energy storage module. An output end of the second voltage conversion module is connected to a first end of the second switch module. A second end of the second switch module is connected to the energy storage module. The integrated storage and charging device is configured to: control the on-off state of the first switch module and the on-off state of the second switch module and perform charging and discharging tests between the first voltage conversion module, the second voltage conversion module, and the energy storage module.

BATTERY AND ELECTRONIC APPARATUS

NºPublicación:  US20260018719A1 15/01/2026
Solicitante: 
AESC JAPAN LTD [JP]
AESC Japan Ltd
US_20260018719_PA

Resumen de: US20260018719A1

A battery and an electronic apparatus are provided. The battery includes an outer casing including an opening and a cover plate closing the opening. A portion of the cover plate adjacent to an edge protrudes toward an inner cavity of the outer casing to form a boss. A side of the boss facing away from the inner cavity of the outer casing includes a groove, and a portion of the cover plate located at a radial outer side of the boss forms a connecting edge. The boss is embedded into the opening, and the connecting edge overlaps an end portion of the outer casing. An inner wall of the groove includes a bottom wall and an outer groove wall surrounding an outer periphery of the bottom wall. A stamped groove is provided at connection between the bottom wall and the outer groove wall.

BATTERY RACK

NºPublicación:  US20260018705A1 15/01/2026
Solicitante: 
SK ON CO LTD [KR]
SK ON CO., LTD
US_20260018705_PA

Resumen de: US20260018705A1

A battery rack includes: a housing; a module unit provided in the housing, including a plurality of battery cells, and having at least one vent hole; and a cooling unit provided to face the vent hole in the housing, and including a cooling line in which a coolant is provided, wherein the cooling line is provided so that at least a portion of an outer periphery thereof is melted by heat generated from the module unit to supply the coolant toward the vent hole.

BATTERY PACK, ELECTRICAL APPARATUS, AND ENERGY STORAGE APPARATUS

NºPublicación:  US20260018703A1 15/01/2026
Solicitante: 
CONTEMPORARY AMPEREX TECH CO LIMITED [CN]
CONTEMPORARY AMPEREX FUTURE ENERGY TECH SHENZHEN LIMITED [CN]
CONTEMPORARY AMPEREX TECHNOLOGY CO., LIMITED,
CONTEMPORARY AMPEREX FUTURE ENERGY TECHNOLOGY (SHENZHEN) LIMITED
US_20260018703_PA

Resumen de: US20260018703A1

A battery pack includes a box, a battery cell, a thermal management component, a flange, a first connecting pipe, and a second connecting pipe. The box has an accommodating cavity and a mounting hole in communication with the accommodating cavity. The battery cell is located in the accommodating cavity. The thermal management component is located in the accommodating cavity to cool the battery cell. The mounting hole is used to avoid a temperature-regulating fluid entering and exiting the thermal management component. The flange covers the mounting hole. The flange is mounted on the box. The first connecting pipe is respectively connected to the flange and the thermal management component to provide the temperature-regulating fluid. The second connecting pipe is respectively connected to the flange and the thermal management component to discharge the temperature-regulating fluid. The flange spans the first connecting pipe and the second connecting pipe.

HIGH-VOLTAGE UPS BATTERY SYSTEM

NºPublicación:  US20260018706A1 15/01/2026
Solicitante: 
LEOCH INT HOLDING PTE LTD [SG]
LEOCH INTERNATIONAL HOLDING PTE. LTD
US_20260018706_PA

Resumen de: US20260018706A1

Provided is a high-voltage UPS battery system. The system includes a battery casing, a cell mounted within the battery casing, and a heating base mounted within the battery casing and at a bottom end of the cell. The heating base is configured to selectively heat the cell.

DEVICE FOR THERMAL REGULATION, IN PARTICULAR FOR COOLING

NºPublicación:  US20260018697A1 15/01/2026
Solicitante: 
VALEO SYSTEMES THERMIQUES [FR]
VALEO SYSTEMES THERMIQUES
US_20260018697_PA

Resumen de: US20260018697A1

A device for thermal regulation, for a component that is liable to release heat during operation, includes a circulation network for a heat-transfer fluid, the circulation network includes a fluid flow channel, and a mixing member. The mixing chamber includes openings that are arranged so as to cause the fluid circulating in the channel to be successively separated and mixed.

WIRELESS BATTERY MANAGEMENT SYSTEM, BATTERY PACK COMPRISING THE SAME, AND APPARATUS COMPRISING THE BATTERY PACK

NºPublicación:  US20260018689A1 15/01/2026
Solicitante: 
SK ON CO LTD [KR]
SK ON CO., LTD
US_20260018689_PA

Resumen de: US20260018689A1

Wireless battery management systems, battery packs, and apparatuses comprising the battery packs are disclosed. In an embodiment, a wireless battery management system may include a plurality of wireless electrochemical impedance spectroscopy (EIS) modules configured to connect to a respective battery module of a plurality of battery modules included in a battery pack and measure EIS of the respective battery module; and a first wireless battery management module configured to communicatively couple wirelessly with the plurality of wireless EIS modules, receive EIS measurement results wirelessly from the plurality of wireless EIS modules, and integrally manage the plurality of battery modules based on the received EIS measurement results.

BATTERY CHARGING DEVICE

NºPublicación:  US20260018921A1 15/01/2026
Solicitante: 
SHINDENGEN ELECTRIC MFG CO LTD [JP]
Shindengen Electric Manufacturing Co., Ltd
US_20260018921_PA

Resumen de: US20260018921A1

A battery charging device includes: a rectification unit configured to output DC electric power which is obtained by rectifying three-phase AC electric power output from a power generator as charging electric power of a battery through turning-on of a switch element connected to an output signal line of each phase of the three-phase AC electric power with rotation of a rotor; a power supply sustaining switch that is able to be sustained in a state in which control electric power of the switch element from the battery is able to be supplied when a main switch is switched to a cutoff state in which supply of the control electric power to the power supply line is stopped; and a control unit configured to control turning-on of the switch element, the control unit sustaining the power supply sustaining switch in a state in which the control electric power of the switch element is able to be supplied when the main switch is switched to the cutoff state and performing control such that the switch element on a negative electrode side connected to a negative electrode terminal of the battery is switched to a turned-on state when the rotor is rotating.

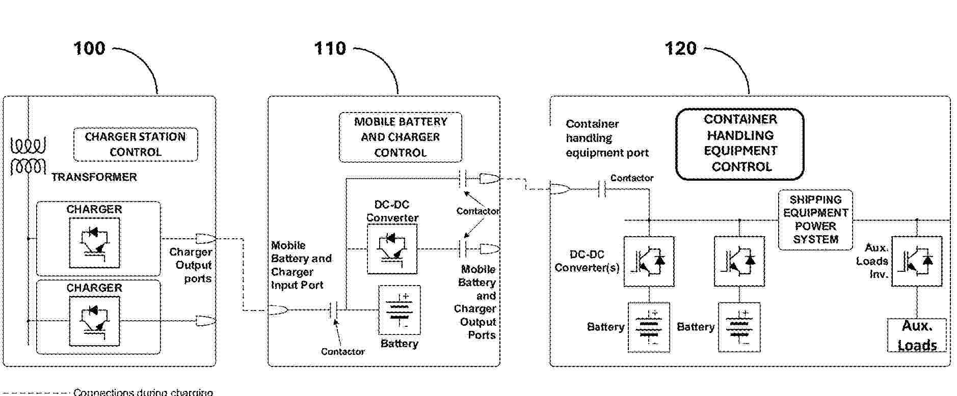
MOBILE BATTERY AND CHARGER FOR CONTAINER HANDLING EQUIPMENT

NºPublicación:  US20260018922A1 15/01/2026
Solicitante: 
TMEIC CORP AMERICAS [US]
TMEIC Corporation Americas
US_20260018922_PA

Resumen de: US20260018922A1

Systems and methods for charging batteries of electric container handling equipment at container terminals comprising mobile batteries and chargers that can be transported to a location near the container handling equipment. The mobile batteries and chargers are configured for energy storage and capable of being recharged at one or more charging stations. Multiple mobile batteries and chargers can be included in the system and/or methods, and one or more or each mobile battery and charger can be configured to recharge one or more or several pieces of container handling equipment before the mobile battery and charger travels to the charging station to recharge. Included are systems for managing shipping equipment in a container terminal comprising one or more mobile battery and charger configured to deliver at least about 100 KW of power to any equipment configured for loading, unloading, and/or moving shipping containers, such as a shipping container crane.

SECONDARY BATTERY AND ELECTRODE MEMBER THEREOF, BATTERY MODULE, AND RELATED APPARATUS

NºPublicación:  US20260018750A1 15/01/2026
Solicitante: 
CONTEMPORARY AMPEREX TECH HONG KONG LIMITED [CN]
CONTEMPORARY AMPEREX TECHNOLOGY (HONG KONG) LIMITED
US_20260018750_PA

Resumen de: US20260018750A1

A secondary battery and an electrode member thereof, a battery module, and a related apparatus are provided. The electrode member includes a current collector, an active material layer, an adapting sheet, and an electrode lead. The current collector includes an insulating substrate, a first conductive layer, and a second conductive layer. The first conductive layer and the second conductive layer each include a coated region and an uncoated region, the coated region is coated with an active material layer, and the uncoated region is not coated with an active material layer, a size of the current collector in a length direction is larger than that in a width direction, and the uncoated region is located on a side of the coated region in a length direction. The adapting sheet includes a first conductive member and a second conductive member.

CURRENT COLLECTOR, SECONDARY BATTERY AND ELECTRONIC DEVICE

NºPublicación:  US20260018751A1 15/01/2026
Solicitante: 
AESC JAPAN LTD [JP]
AESC Japan Ltd
US_20260018751_PA

Resumen de: US20260018751A1

An embodiment of the present disclosure provides a current collector, configured to electrically connect an electrode assembly and a terminal, and including: a terminal fixing part and an electrode assembly connecting part disposed around the terminal fixing part; and a first transition part, connected between the terminal fixing part and the electrode assembly connecting part. The current collector has an electrode assembly connecting side and a terminal connecting side distributed in opposite directions. The first transition part and the terminal fixing part respectively include a first surface and a first end surface located on the terminal connecting side, as well as a second surface and a second end surface located on the electrode assembly connecting side. The second surface protrudes in a direction away from the terminal connecting side compared with the second end surface.

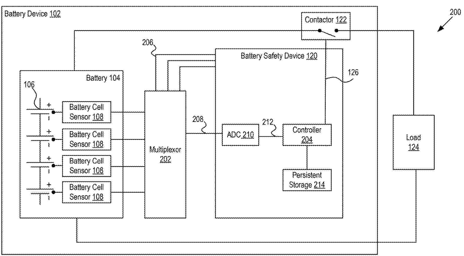
BATTERY SAFETY DEVICE FOR ENSURING COMPLIANCE WITH FUNCTIONAL SAFETY REQUIREMENTS

NºPublicación:  US20260014874A1 15/01/2026
Solicitante: 
SENSATA TECH INC [US]
SENSATA TECHNOLOGIES, INC
US_20260014874_PA

Resumen de: US20260014874A1

In an embodiment, an apparatus includes a battery having one or more battery cells. The apparatus also includes a battery safety device coupled to the battery, where the battery safety device is configured to receive one or more analog signals indicating a measured value of an operational characteristic of a battery cell, and change a state of a control signal in response to detecting that the measured value of the operational characteristic is outside of a safe operating area that is defined for the battery. The apparatus also includes a contactor configured to disconnect the battery from a load based on the control signal. The operational characteristic can include voltage, temperature, and/or current in the battery. The battery safety device is remote from the BMS.

Ultrasonic Welding Device and Welding Method for Secondary Battery

NºPublicación:  US20260014640A1 15/01/2026
Solicitante: 
LG ENERGY SOLUTION LTD [KR]
LG Energy Solution, Ltd
US_20260014640_PA

Resumen de: US20260014640A1

An ultrasonic welding device for a secondary battery is provided. The ultrasonic welding device is configured to weld an overlapping surface of an electrode tab and an electrode lead in an electrode assembly. The ultrasonic welding device includes an anvil on which the overlapping surface of the electrode tab and the electrode lead are disposed. A horn is configured to apply ultrasonic waves to the overlapping surface of the electrode tab and the electrode lead while pressing the overlapping surface. The overlapping surface is disposed on the anvil. An electrode tab measuring part is configured to measure a thickness of the electrode tab disposed on the overlapping surface. A pressure adjusting device is configured to adjust a pressure applied to the overlapping surface by the anvil and the horn according to the thickness value of the electrode tab. The thickness value is measured by the electrode tab measuring part.

ENERGY STORAGE DEVICE AND ENERGY STORAGE SYSTEM

NºPublicación:  US20260014879A1 15/01/2026
Solicitante: 
ISUZU MOTORS LTD [JP]
ISUZU MOTORS LIMITED
US_20260014879_PA

Resumen de: US20260014879A1

An energy storage device mounted in a moving body, the energy storage device including a plurality of thin-coated cells to which first active materials having thicknesses within a first range are applied between a current collector and a separator, and a plurality of thick-coated cells to which second active materials having thicknesses within a second range whose lower limit value is greater than an upper limit value of the first range, are applied between the current collector and the separator. The thin-coated cells and the thick-coated cells are alternately arranged at predetermined intervals.

METHOD FOR DISMANTLING A LITHIUM BATTERY

NºPublicación:  US20260014604A1 15/01/2026
Solicitante: 
TES SUSTAINABLE BATTERY SOLUTIONS FRANCE [FR]
TES SUSTAINABLE BATTERY SOLUTIONS FRANCE
US_20260014604_PA

Resumen de: US20260014604A1

A method for dismantling a lithium battery includes: providing a lithium battery; cutting the lithium battery by means of a jet of cutting liquid under pressure, the cutting liquid including at least one component that is in liquid state, the cutting liquid being devoid of water, separating constituents of the cut battery and the cutting liquid. The component includes a first component in liquid state to cut the lithium battery, for example carbon dioxide. The component can include at least a second component chosen from ethylene glycol, propylene glycol or a mixture of the latter.

COATING ROLLER ASSEMBLY, COATING METHOD, ELECTRODE PLATE, AND BATTERY

NºPublicación:  US20260014581A1 15/01/2026
Solicitante: 
CONTEMPORARY AMPEREX TECH CO LIMITED [CN]
CONTEMPORARY AMPEREX TECHNOLOGY CO., LIMITED
US_20260014581_PA

Resumen de: US20260014581A1

A coating roller assembly for coating an electrode plate of a battery, where the coating roller assembly includes: coating rollers; and coating portions, disposed around the coating rollers. The coating portions include a first coating portion, a second coating portion, and a third coating portion, where the first coating portion is configured to form a first coating layer portion, the second coating portion is configured to form a second coating layer portion, and the third coating portion is configured to form a third coating layer portion between the first coating layer portion and the second coating layer portion. A coating method for coating an electrode plate of a battery with the foregoing coating roller assembly, an electrode plate obtained through the coating roller assembly or the coating method, and a battery including the electrode plate.

BATTERY INTERNAL SHORT CIRCUIT TRIGGER AND IMPROVED PERFORMANCE METHOD

NºPublicación:  US20260018686A1 15/01/2026
Solicitante: 
THE GOVERNMENT OF THE US SECRETARY OF THE NAVY [US]
The Government of the United States of America, as represented by the Secretary of the Navy
US_20260018686_PA

Resumen de: US20260018686A1

Disclosed is a method of: providing an electrochemical energy storage device having a first electrode and a second electrode; and simultaneously: a) maintaining the first electrode and a first temperature; b) maintaining the second electrode at a second temperature; and c) charging or discharging the device. The coolest portion of the second electrode is at least 1° C. warmer than the warmest portion of the first electrode.

ELECTRODE SHEET, BATTERY CELL, BATTERY, AND ELECTRIC DEVICE

NºPublicación:  US20260018685A1 15/01/2026
Solicitante: 
CONTEMPORARY AMPEREX TECH CO LIMITED [CN]
Contemporary Amperex Technology Co., Limited
US_20260018685_PA

Resumen de: US20260018685A1

The present application relates to an electrode sheet, a battery cell, a battery, and an electric device. The electrode sheet includes a current collector, a coating, and an active material layer. The coating is provided on at least one surface of the current collector and includes at least one coating area. The coating area includes a decomposable material. The decomposable material is configured to decompose under at least one condition of charging and discharging of the battery cell. The decomposable material includes at least one of a lithium supplementing material and a pore forming material. The lithium supplementing material includes a lithium ion-containing compound. The active material layer is provided on at least one surface of the current collector and covers the coating.

BATTERY AND CHARGING METHOD THEREOF, BATTERY MANAGEMENT SYSTEM, AND ELECTRIC DEVICE

NºPublicación:  US20260018693A1 15/01/2026
Solicitante: 
CONTEMPORARY AMPEREX TECH CO LIMITED [CN]
CONTEMPORARY AMPEREX TECHNOLOGY CO., LIMITED
US_20260018693_PA

Resumen de: US20260018693A1

This application provides a battery and a charging method thereof, a battery management system, and an electric device, capable of improving charging performance of the battery. The battery includes at least one battery cell and a battery management system. A positive electrode active material of the battery cell includes LiMPO4, and M includes element Mn and element Fe. The battery management system is configured to: when an SOC of the battery is less than or equal to a preset SOC threshold, control the battery to charge based on a first charging current so as to heat the battery during a charging process; and when the SOC of the battery is greater than the SOC threshold, control the battery to charge based on a second charging current, where the first charging current is greater than the second charging current.

BATTERY STRUCTURE AND BATTERY PACK

NºPublicación:  US20260018720A1 15/01/2026
Solicitante: 
EVE ENERGY CO LTD [CN]
EVE ENERGY CO., LTD
US_20260018720_PA

Resumen de: US20260018720A1

Provided are a battery structure and a battery pack. The battery structure includes a first housing and a battery assembled within the first housing, a second housing, and a capacitor assembled within the second housing. A positive terminal of the battery is provided with a first positive output member, and a cover plate of the battery serves as a negative terminal of the battery. A positive terminal of the capacitor is provided with a second positive output member, and a negative terminal of the capacitor is provided with a negative output member.

SEPARATOR, SECONDARY BATTERY INCLUDING SEPARATOR, AND POWER CONSUMING APPARATUS

Nº publicación: US20260018687A1 15/01/2026

Solicitante:

CONTEMPORARY AMPEREX TECH CO LIMITED [CN]
CONTEMPORARY AMPEREX TECHNOLOGY CO., LIMITED

US_20260018687_PA

Resumen de: US20260018687A1

The present application provides a separator, a secondary battery including a separator, and a power consuming apparatus. The separator includes a first base film and a coating. The coating is located on a surface of the first base film, and the coating includes a thermochromic material.

traducir