Ministerio de Industria, Turismo y Comercio LogoMinisterior
 

Alerta

Resultados 1111 resultados
LastUpdate Última actualización 26/01/2026 [07:08:00]
pdfxls
Publicaciones de los últimos 15 días/Last 15 days publications (excluidas pubs. CN y JP /CN and JP pubs. excluded)
previousPage Resultados 775 a 800 de 1111 nextPage  

ELECTRICITY STORAGE SYSTEM AND LIMITING METHOD

NºPublicación:  US20260018884A1 15/01/2026
Solicitante: 
PRIME PLANET ENERGY & SOLUTIONS INC [JP]
Prime Planet Energy & Solutions, Inc
US_20260018884_PA

Resumen de: US20260018884A1

An electricity storage system includes a load and multiple electricity storage units connected to the load. Each of the electricity storage units is connected to the load and includes a battery pack including multiple battery cells, a contactor provided between the battery pack and the load, and a controller. The controller includes a determination controller that determines whether an abnormality has occurred in the electricity storage unit and a supply limiting controller that, when it is determined by the determination section that an abnormality has occurred in the electricity storage unit, limits a maximum amount of electric power that is supplied to the load in a stepwise manner in accordance with a level of the abnormality of the electricity storage unit.

A MULTISTAGE ENERGY CONVERSION SYSTEM

NºPublicación:  US20260018895A1 15/01/2026
Solicitante: 
PHILLIPS STEPHEN [AU]
PHILLIPS Stephen
US_20260018895_PA

Resumen de: US20260018895A1

A power conversion system comprises a DC element, a source inverter interfacing an AC source and the DC element, a load inverter interfacing a load on the DC element and a controller. Voltage of an output of the load inverter is controlled by a controller to reduce power consumption according to a variable charge state of the DC element.

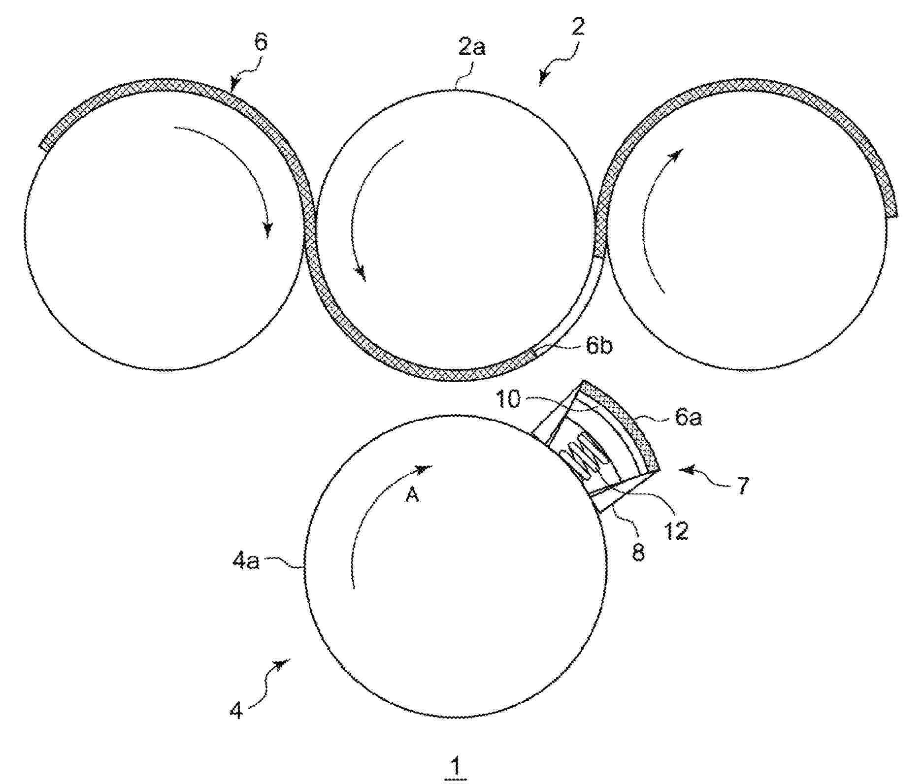
MOLDING APPARATUS AND MOLDING METHOD FOR COMPOUND SHEET

NºPublicación:  US20260018587A1 15/01/2026
Solicitante: 
PANASONIC INTELLECTUAL PROPERTY MAN CO LTD [JP]
Panasonic Intellectual Property Management Co., Ltd
US_20260018587_PA

Resumen de: US20260018587A1

A molding apparatus for a compound sheet includes: a support roll that supports a compound sheet on a circumferential surface of the support roll; and a molding roll that includes a cutting jig having a frame shape and a removal pad disposed in a frame of the cutting jig and rotates together with the support roll, the circumferential surface of the molding roll facing the circumferential surface of the support roll at a predetermined interval. The molding roll presses the cutting jig against the compound sheet to cut the compound sheet partially and attaches a cut portion to a surface of the removal pad to remove the cut portion.

SECONDARY BATTERY, SECONDARY BATTERY MANUFACTURING METHOD, AND BATTERY PACK

NºPublicación:  US20260018748A1 15/01/2026
Solicitante: 
SAMSUNG SDI CO LTD [KR]
SAMSUNG SDI CO., LTD
US_20260018748_PA

Resumen de: US20260018748A1

The present disclosure relates to a secondary battery, a secondary battery manufacturing method, and a battery pack, in which defects in bonding of an electrode can be prevented or substantially prevented and power efficiency is increased. To this end, the present disclosure provides a secondary battery including a case, an electrode assembly disposed inside the case and having a first electrode and a second electrode, a first tab member connected to the first electrode and having a first insertion hole, a cap plate coupled to the case and disposed to face the electrode assembly, a first inner current collector inserted into the first insertion hole, a first outer current collector disposed to face the first inner current collector with the first tab member interposed therebetween, and a first terminal connected to the first outer current collector and extending outward from the cap plate.

POWER SUPPLY DEVICE

NºPublicación:  WO2026014089A1 15/01/2026
Solicitante: 
PANASONIC INTELLECTUAL PROPERTY MAN CO LTD [JP]
\u30D1\u30CA\u30BD\u30CB\u30C3\u30AF\uFF29\uFF30\u30DE\u30CD\u30B8\u30E1\u30F3\u30C8\u682A\u5F0F\u4F1A\u793E
WO_2026014089_PA

Resumen de: WO2026014089A1

The present invention suppresses an imbalance between a temperature rise and a temperature difference in a battery cell. This power supply device comprises a battery holder 5 for positioning a plurality of battery cells 1 at fixed locations. The battery holder 5 includes: inner holders 20 for positioning the plurality of battery cells 1 at fixed locations; and an outer holder 30 for positioning the inner holders 20 at fixed locations on the inner part of the battery holder. Each inner holder 20 is a conductive metal block, and the plurality of battery cells therein are arranged in insertion holes 23 to constitute a battery block 10. The outer holder 30 insulates a plurality of battery blocks 10, which are connected in series, and positions the battery blocks at fixed locations by way of insulating walls 33. Each inner holder 20 is connected to one electrode of the corresponding battery cells 1 and is arranged in a thermal coupling state in surface contact with an outer peripheral surface 1a of the battery cells 1. The inner holder 20 is used, in combination with a connection line connecting the battery cells 1 in parallel and a connection line connecting adjacent battery blocks 10 in series, for dispersing heat from the battery cells 1.

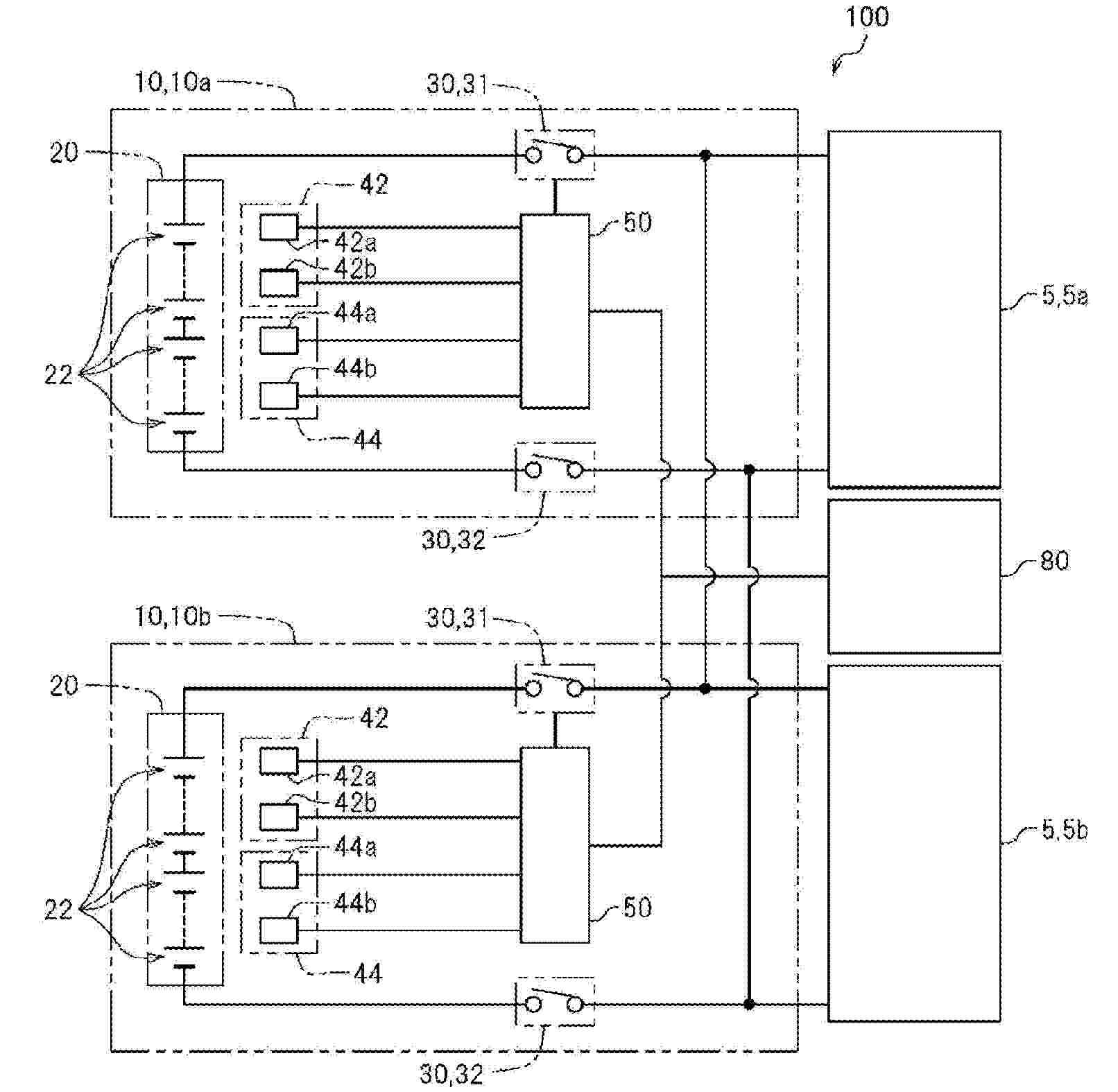
METHOD OF BATTERY BALANCING AND BATTERY SYSTEM PROVIDING THE SAME

NºPublicación:  US20260018910A1 15/01/2026
Solicitante: 
LG ENERGY SOLUTION LTD [KR]
LG ENERGY SOLUTION, LTD
US_20260018910_PA

Resumen de: US20260018910A1

A battery system may include a battery pack including a plurality of battery modules, a switching circuit connecting the plurality of battery modules in series or in parallel, and a battery management system (BMS) configured to control the switching circuit so as to connect the plurality of battery modules in series in a discharge mode to supply power from the battery pack to an external device and in a charge mode to charge the battery pack by receiving the power from the external device. In addition, the BMS may be configured to control entering a module balancing mode when a voltage difference among the plurality of battery modules exceeds a predetermined reference value, and control the switching circuit so as to connect the plurality of battery modules in parallel in the module balancing mode.

ENERGY STORAGE SYSTEM

NºPublicación:  WO2026011916A1 15/01/2026
Solicitante: 
CONTEMPORARY AMPEREX TECH CO LIMITED [CN]
\u5B81\u5FB7\u65F6\u4EE3\u65B0\u80FD\u6E90\u79D1\u6280\u80A1\u4EFD\u6709\u9650\u516C\u53F8
WO_2026011916_PA

Resumen de: WO2026011916A1

Disclosed in the present application is an energy storage system. The energy storage system comprises a plurality of battery devices, a first compartment body, a second compartment body, a first fire-fighting mechanism, a second fire-fighting mechanism, and a fire-fighting control module. The battery devices are accommodated in both the first compartment body and the second compartment body. The first fire-fighting mechanism is arranged in the first compartment, and the second fire-fighting mechanism is arranged in the second compartment body. The fire-fighting control module is arranged in the second compartment or the first compartment, and the fire-fighting control module is in communication connection with the first fire-fighting mechanism and the second fire-fighting mechanism, so as to respectively control the first fire-fighting mechanism and the second fire-fighting mechanism to work. The technical solution provided by the present application can improve the volumetric energy density of energy storage systems.

WEARABLE AND REPLACEABLE POUCH OR SKIN FOR HOLDING A PORTABLE BATTERY PACK

NºPublicación:  US20260018867A1 15/01/2026
Solicitante: 
LAT ENTPR INC D/B/A MEDIPAK ENERGY SYSTEMS [US]
LAT Enterprises, Inc., d/b/a MediPak Energy Systems
US_20260018867_PA

Resumen de: US20260018867A1

A wearable pouch operable to hold at least one portable battery pack and other power or communications equipment. The wearable pouch includes a main body with a front side, a back side opposite the front side, at least one scalable opening, and at least one opening for at least one lead from the at least one portable battery pack secured within the wearable pouch.

Method for Manufacturing Lithium Secondary Battery

NºPublicación:  US20260018768A1 15/01/2026
Solicitante: 
LG ENERGY SOLUTION LTD [KR]
LG ENERGY SOLUTION, LTD
US_20260018768_PA

Resumen de: US20260018768A1

A method for manufacturing a lithium secondary battery may includes a first step of preparing a battery case, a second step of disposing an electrode assembly in the battery case and injecting an electrolyte to assemble a battery cell such that electrolyte mass per unit capacity is a (g/Ah), wherein a is from 2.0 g/Ah to 3.0 g/Ah, a third step of activating the battery cell, and a fourth step of pre-charging/discharging the activated battery cell b times, wherein b is an integer of 0 to 3, and wherein Equation 1 below is satisfied;1⁢5≤4⁢8⁢6.77-37⁢3.0⁢9×e(-0.0⁢0⁢6⁢b)×a0.29≤3⁢0Equation⁢1

BATTERY

NºPublicación:  US20260018761A1 15/01/2026
Solicitante: 
MURATA MFG CO LTD [JP]
MURATA MANUFACTURING CO., LTD
US_20260018761_PA

Resumen de: US20260018761A1

A battery is provided and incudes a safety valve, in which the safety valve includes a first metal member located on an outer side, a second metal member located an inner side, and an insulating member located between the first metal member and the second metal member, and the first metal member and the second metal member are connected to each other such that the first metal member and the second metal member straddle the insulating member, the first metal member includes a step portion and a thin portion located on an inner peripheral side of the step portion, and the first metal member has a first groove, the second metal member has a second groove, and the first groove is provided on an outer surface of the first metal member.

AUTOMATIC GROUPING METHOD FOR TRACTION BATTERY USED IN ELECTRIC VEHICLE

NºPublicación:  US20260018648A1 15/01/2026
Solicitante: 
LEOCH INT HOLDING PTE LTD [SG]
LEOCH INTERNATIONAL HOLDING PTE. LTD
US_20260018648_PA

Resumen de: US20260018648A1

Provided is an automatic grouping method for a traction battery used in an electric vehicle. The method includes: step 1: collecting battery data; step 2: storing and aggregating data; step 3: grouping the battery information: grouping, by the computer, the plurality of batteries based on a grouping condition, labeling, by the computer, the plurality of batteries with a cut-off voltage, a discharge period, grouping information, and a date, and directly rejecting a battery that meets a screening condition; step 4: printing and pasting a barcode; and step 5: screening and grouping the plurality of batteries.

ELECTRODE ASSEMBLY AND LITHIUM SECONDARY BATTERY INCLUDING THE SAME

NºPublicación:  US20260018681A1 15/01/2026
Solicitante: 
LG ENERGY SOLUTION LTD [KR]
LG Energy Solution, Ltd
US_20260018681_PA

Resumen de: US20260018681A1

An electrode assembly including an electrode stack, which includes a positive electrode including a positive electrode active material layer; a negative electrode including a negative electrode active material layer; and a separator disposed between the positive electrode and the negative electrode, and at least one fixing member which fixes the electrode stack by winding the electrode stack in an overall width direction, wherein the positive electrode includes a positive electrode sliding portion in which a thickness of the positive electrode active material layer decreases, the fixing member includes a first fixing member overlapping the positive electrode sliding portion and a second fixing member not overlapping the positive electrode sliding portion, and a thickness of the first fixing member is greater than a thickness of the second fixing member.

Jelly Roll Type Electrode Assembly and Secondary Battery Comprising Same

NºPublicación:  US20260018678A1 15/01/2026
Solicitante: 
LG ENERGY SOLUTION LTD [KR]
LG Energy Solution, Ltd
US_20260018678_PA

Resumen de: US20260018678A1

A jelly-roll type electrode assembly having an outer circumference tab structure. The jelly-roll type electrode assembly includes a first electrode double-side coated portion, whereby it is possible to prevent crack and deformation of the electrode assembly due to stress concentration on the outermost first electrode. A cylindrical secondary battery including the jelly-roll type electrode assembly is also provided.

Electrode Assembly Comprising Surface-Treated Separator, Secondary Battery Comprising Same, and Electrode Assembly Manufacturing Method

NºPublicación:  US20260018676A1 15/01/2026
Solicitante: 
LG ENERGY SOLUTION LTD [KR]
LG Energy Solution, Ltd
US_20260018676_PA

Resumen de: US20260018676A1

The present invention relates to an electrode assembly, a secondary battery including the electrode assembly, and a method of manufacturing the electrode assembly, wherein a corona surface treatment is applied to a portion of a surface of a separator located inside a unit cell to increase interfacial adhesion between the separator and an electrode without decreasing electrolyte impregnability.

CELL AND LITHIUM-ION SECONDARY BATTERY

NºPublicación:  US20260018679A1 15/01/2026
Solicitante: 
ZHUHAI COSMX BATTERY CO LTD [CN]
ZHUHAI COSMX BATTERY CO., LTD
US_20260018679_PA

Resumen de: US20260018679A1

The disclosure provides a cell and a lithium-ion secondary battery. The cell includes a positive electrode plate, a separator, and a negative electrode plate. The negative electrode plate includes a negative electrode current collector and a negative electrode active material layer, wherein a surface of the negative electrode active material layer is provided with a first recess, the first recess has a depth H in μm, the cell has a length L in mm, and the cell has a width W in mm; and H, L and W satisfy: 0.05H≤L/W≤0.5H.

BATTERY DEFECT DETECTION DEVICE, DETECTION METHOD AND STORAGE MEDIUM

NºPublicación:  US20260016424A1 15/01/2026
Solicitante: 
CONTEMPORARY AMPEREX TECH CO LIMITED [CN]
Contemporary Amperex Technology Co., Limited
US_20260016424_PA

Resumen de: US20260016424A1

A battery defect detection device comprises a ray source, a detector, a bearing part, a moving mechanism and a defect detection unit; the moving mechanism is used for adjusting, in a direction parallel to a battery bearing surface, relative positions between the bearing part and the ray source as well as between the bearing part and the detector, such that optical axes of rays emitted by the ray source vertically project to a plurality of target positions on the surface of a battery, respectively; the detector receives the rays penetrating through the battery so as to obtain a plurality of initial images; the defect detection unit is connected to the detector, and the defect detection unit is used for splicing the plurality of initial images so as to obtain a detection image comprising the whole battery, and performing defect detection on the battery on the basis of the detection image.

ABNORMAL TEMPERATURE DETECTION SYSTEM FOR BATTERY CELL

NºPublicación:  US20260016339A1 15/01/2026
Solicitante: 
LS ELECTRIC CO LTD [KR]
LS ELECTRIC CO., LTD
US_20260016339_PA

Resumen de: US20260016339A1

Disclosed is an abnormal temperature detection system in which the amount of temperature information processing for an entire battery cell can be reduced and stability can be improved, the system comprising: a plurality of light guide plates which overlap at least a partial area of one side of a battery cell in one direction, are struck by electromagnetic waves radiated from the battery cell, and change the path of the electromagnetic waves; an image sensor which overlaps at least a partial area of each of the plurality of light guide plates in the one direction, detects the electromagnetic waves reflected from the light guide plates, and outputs temperature spectrum information for the one side of the battery cell on the basis of the detected electromagnetic waves; and a calculation unit which determines that an abnormal temperature has been detected in the battery cell if the temperature of the one side of the battery cell is outside a preset temperature range.

SYSTEMS, APPARATUSES, AND METHODS FOR DETERMINING QUANTITIES OF MULTIPLE VAPORS USING A SINGLE SENSOR

NºPublicación:  US20260016436A1 15/01/2026
Solicitante: 
HONEYWELL INT INC [US]
Honeywell International Inc
US_20260016436_PA

Resumen de: US20260016436A1

Embodiments of the present disclosure provide systems, apparatuses, and methods for determining quantities of multiple vapors using a single sensor. In one embodiment, a method includes determining, by one or more processors an impedance of a sensing element; determining, by the one or more processors, a capacitance of the sensing element; and determining, by the one or more processors and based at least in part on (i) the impedance of the sensing element and (ii) the capacitance of the sensing element, (a) a quantity of a first vapor that has reacted with the sensing element and (b) a quantity of a second vapor that has reacted with the sensing element.

METHOD AND APPARATUS FOR MAPPING ENERGY STORAGE MODULE LOCATION IN A MODULAR BATTERY ENERGY STORAGE SYSTEM

NºPublicación:  US20260016544A1 15/01/2026
Solicitante: 
ENPHASE ENERGY INC [US]
Enphase Energy, Inc
US_20260016544_PA

Resumen de: US20260016544A1

A method and apparatus for mapping energy storage module locations in a modular battery energy storage system. The apparatus comprises a plurality of energy storage modules, arranged in an array within a frame, for storing energy and electrically connected to at least one wiring harness to interconnect the plurality of energy storage modules. The plurality of energy storage modules are coupled to an energy storage module mapping system for determining a physical location of each energy storage module within the array of energy storage modules based upon signals from the energy storage modules.

END CAP ASSEMBLY, ENERGY STORAGE DEVICE AND ELECTRICITY-CONSUMPTION EQUIPMENT

NºPublicación:  US20260018758A1 15/01/2026
Solicitante: 
XIAMEN HITHIUM ENERGY STORAGE TECH CO LTD [CN]
Xiamen Hithium Energy Storage Technology Co., Ltd
US_20260018758_PA

Resumen de: US20260018758A1

An end cover assembly, an energy storage device and electricity-consumption equipment. The end cover assembly includes an end plate, a pole and a connecting member. The end plate has a first surface and a second surface disposed opposite to each other along a thickness direction thereof. The end plate further has a first pole hole penetrating the end plate. The pole has a first pole section and a second pole section. An outer circumferential surface of the first pole section is connected with the outer circumferential surface of the second pole section through an annular stepped surface. The first pole section is inserted into the first pole hole. The connecting member is located at a side where the annular stepped surface of the pole is located, and has a second pole hole coaxially arranged with the first pole hole.

BUS BAR MODULE

NºPublicación:  US20260018744A1 15/01/2026
Solicitante: 
YAZAKI CORP [JP]
YAZAKI CORPORATION
US_20260018744_PA

Resumen de: US20260018744A1

A second bus bar of a bus bar module includes a first electrical connection part connected to one electrode terminal, a second electrical connection part connected to another electrode terminal, and a U-shaped bypass part that connects the first and the second electrical connection parts and bypasses a projection on a battery module. A housing case includes a first bus bar housing part that houses a first bus bar, a second bus bar housing part that houses the first electrical connection part, a third bus bar housing part that houses the second electrical connection part, and an electric wire housing part that guides an electric wire along a bottom wall that is disposed to be opposed to the battery module. The electric wire housing part is disposed adjacent to the first bus bar housing part, the second bus bar housing part, and the third bus bar housing part.

BATTERY MODULE WITH IMPROVED VENTING STRUCTURE

NºPublicación:  US20260018739A1 15/01/2026
Solicitante: 
LG ENERGY SOLUTION LTD [KR]
LG ENERGY SOLUTION, LTD
US_20260018739_PA

Resumen de: US20260018739A1

A battery module includes a housing having an upper surface; a battery cell laminate accommodated in the housing, the battery cell laminate includes a plurality of stacked battery cells, each stacked battery cell having a pair of electrode leads; a busbar frame electrically interconnecting the pair of electrode leads of each of the stacked battery cells; and a positive terminal and a negative terminal electrically connected to the busbar frame, each of the positive terminal and the negative terminal protruding above the upper surface of the housing.

CELL LEAD SUPPORT MODULE

NºPublicación:  US20260018746A1 15/01/2026
Solicitante: 
HYUNDAI MOBIS CO LTD [KR]
Hyundai Mobis Co., Ltd
US_20260018746_PA

Resumen de: US20260018746A1

A cell lead support module including a cell lead guide portion applied to an end of a battery pack, including an end coupled to a sensing assay, to guide a battery cell in coupling to the battery cell; and a counter jig interpolated into the cell lead guide portion to support a cell lead of the battery cell on a side of the battery cell. The counter jig includes a support portion to support the cell lead in a first end of the counter jig contacting the cell lead of the battery cell; and an aiming portion including a coupling reference point of the counter jig, in a second end of the counter jig.

ENERGY STORAGE APPARATUS AND ENERGY STORAGE SYSTEM

NºPublicación:  US20260018745A1 15/01/2026
Solicitante: 
CONTEMPORARY AMPEREX TECH CO LIMITED [CN]
CONTEMPORARY AMPEREX TECHNOLOGY CO., LIMITED
US_20260018745_PA

Resumen de: US20260018745A1

An energy storage apparatus and an energy storage system, where the energy storage apparatus includes a box, at least two mutually insulated input-output terminals, and at least two mutually independent high-voltage circuits; and each high-voltage circuit includes at least one battery, a plurality of batteries are accommodated in the box, and the high-voltage circuits are electrically connected to the input-output terminals in a one-to-one correspondence.

SECONDARY BATTERY

Nº publicación: US20260018742A1 15/01/2026

Solicitante:

SAMSUNG SDI CO LTD [KR]
SAMSUNG SDI CO., LTD

US_20260018742_PA

Resumen de: US20260018742A1

A secondary battery includes: an electrode assembly including a cathode, an anode, and a separator between the cathode and the anode; a case accommodating the electrode assembly in an internal space, and including a vent portion; a cap plate covering an upper portion of the case to seal the case; and an insulator between the electrode assembly and the case within the case. The vent portion is located at a side of the case opposite to the cap plate, and at least an area of the insulator overlapping with the vent portion includes a mesh area having a mesh shape.

traducir