Ministerio de Industria, Turismo y Comercio LogoMinisterior
 

Alerta

Resultados 1317 resultados
LastUpdate Última actualización 26/04/2026 [07:23:00]
pdfxls
Publicaciones de los últimos 15 días/Last 15 days publications (excluidas pubs. CN y JP /CN and JP pubs. excluded)
previousPage Resultados 11368 a 1317 de 1317  

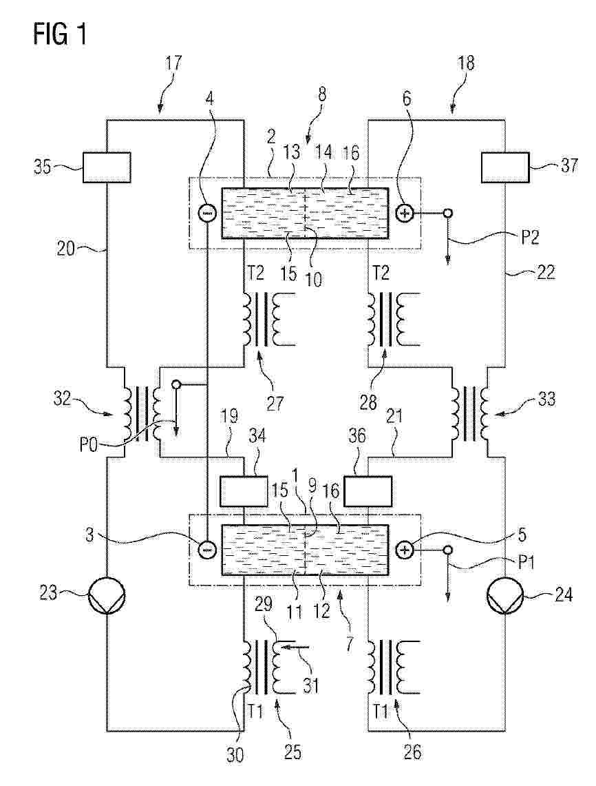
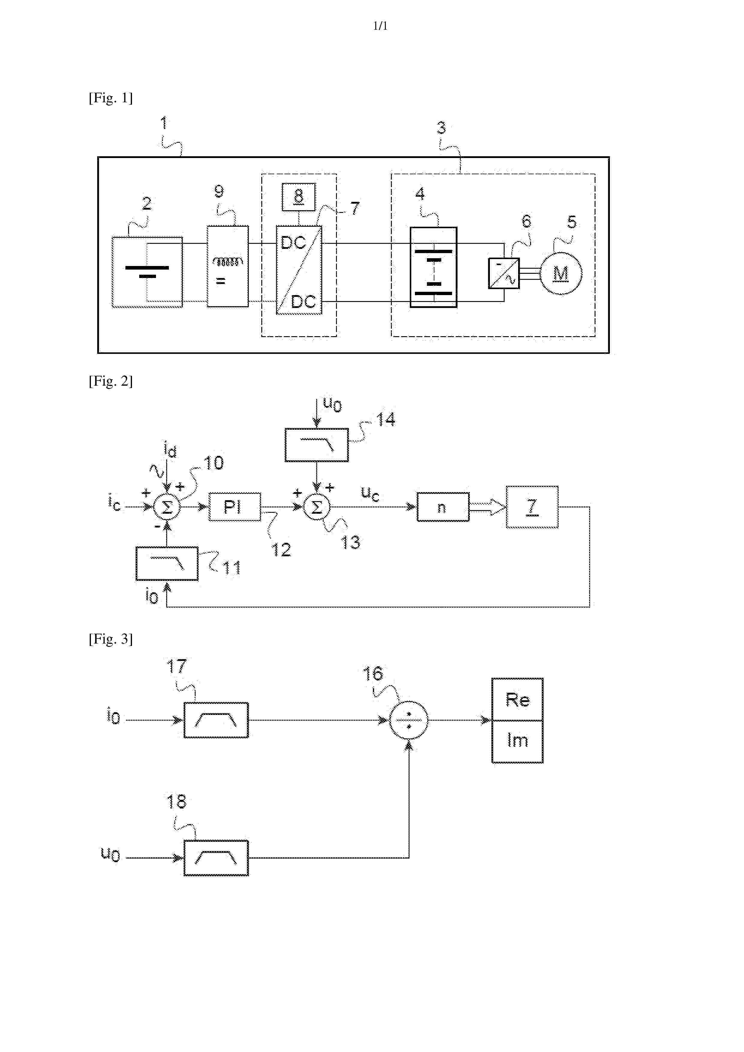
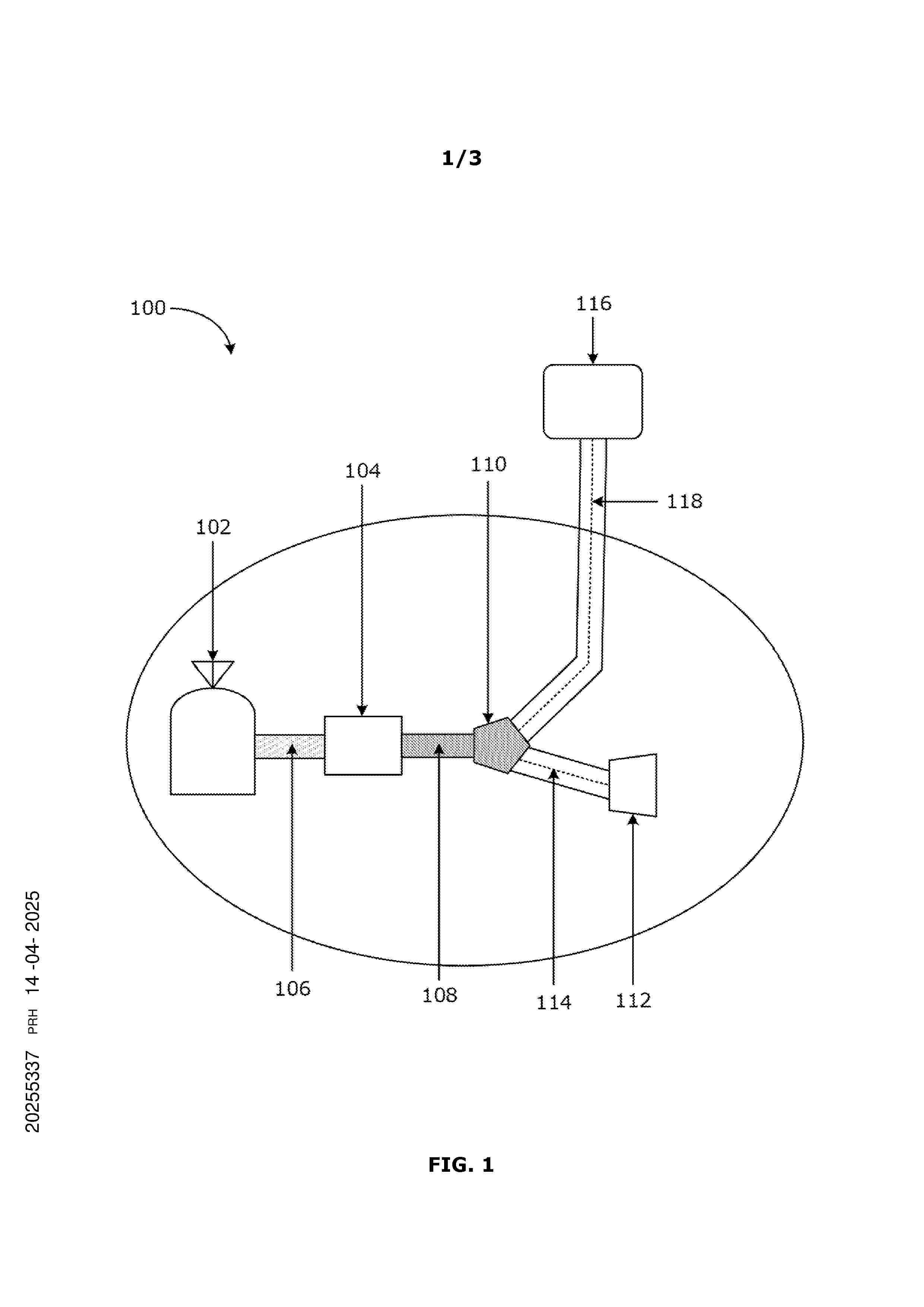
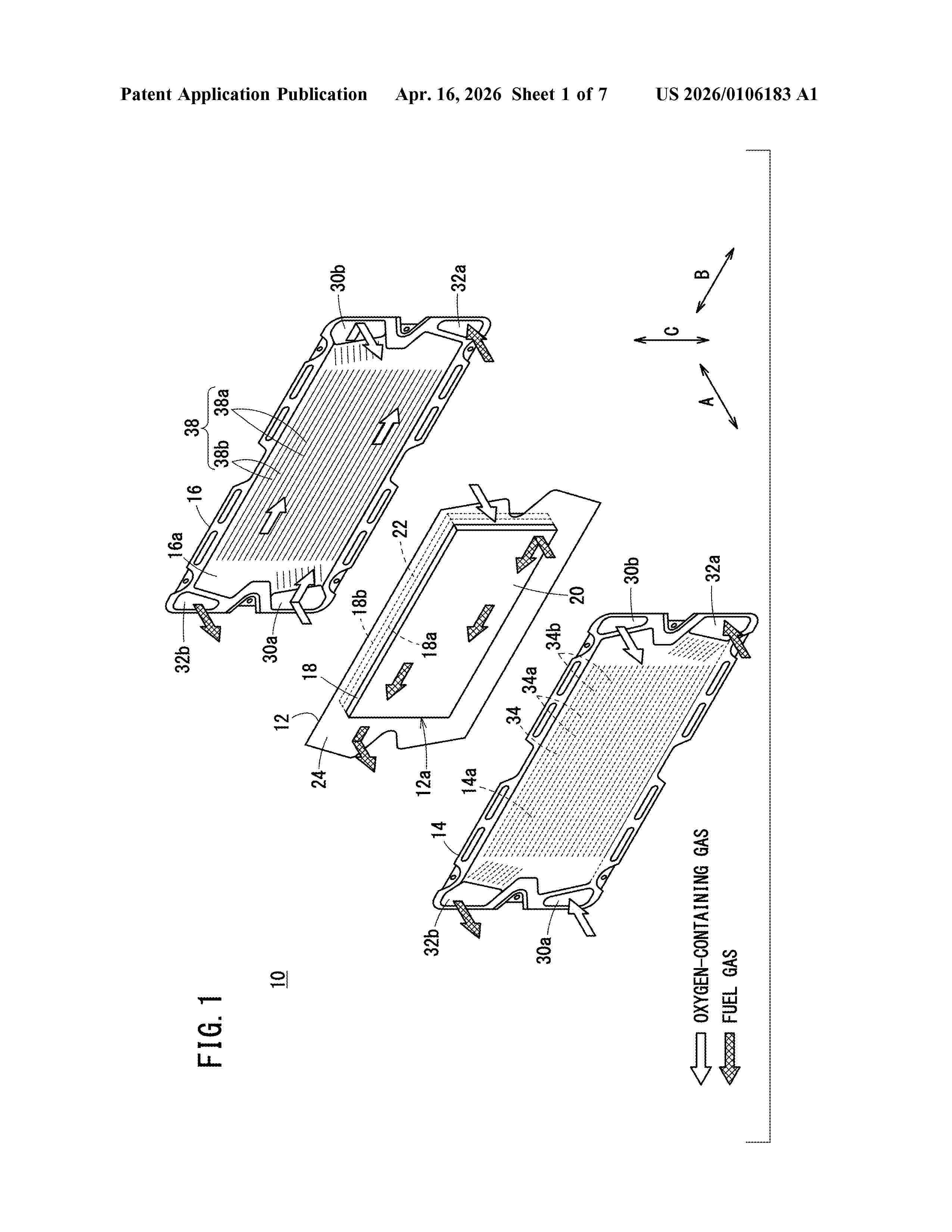
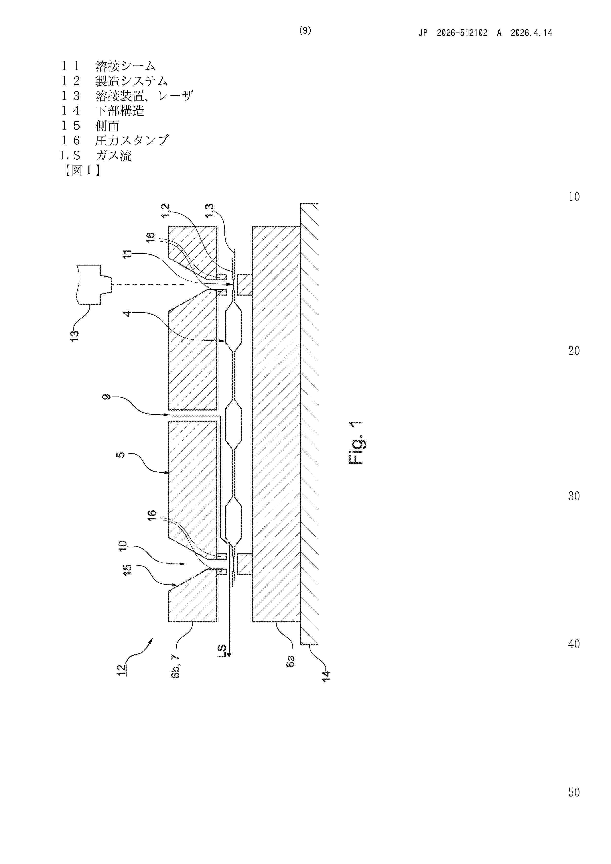
Procédé de diagnostic d’un état de santé d’une pile à combustible, procédé de maintenance d’une pile à combustible , véhicule configuré pour mettre en œ u vre ces procédés

NºPublicación:  FR3167772A1 24/04/2026
Solicitante: 
AMPERE SAS [FR]
FR_3167772_A1

Resumen de: FR3167772A1

Il est proposé un procédé de diagnostic d’un état de santé d’une pile à combustible (2) équipant un véhicule automobile (1) et configurée pour alimenter, par l’intermédiaire d’un convertisseur de tension continu-continu (7) commandé par une unité de commande (8), un réseau haute-tension (3) du véhicule automobile, comportant les étapes suivantes mise en œuvre par l’unité de commande : - une étape de commande du convertisseur continu-continu de façon que la pile à combustible génère un courant sinusoïdal, - une étape de mesure d’une caractéristique de l’impédance entre les bornes de la pile à combustible pendant la génération du courant sinusoïdal, - une étape de comparaison de la caractéristique mesurée de l’impédance à une valeur de référence, et - une étape d’établissement du diagnostic en fonction du résultat de la comparaison. Il est également proposé un procédé de maintenance comportant la mise en œuvre du procédé de diagnostic, et un véhicule automobile comportant une unité de commande configurée pour mettre en œuvre ce procédé. Figure pour l’abrégé : Fig.1

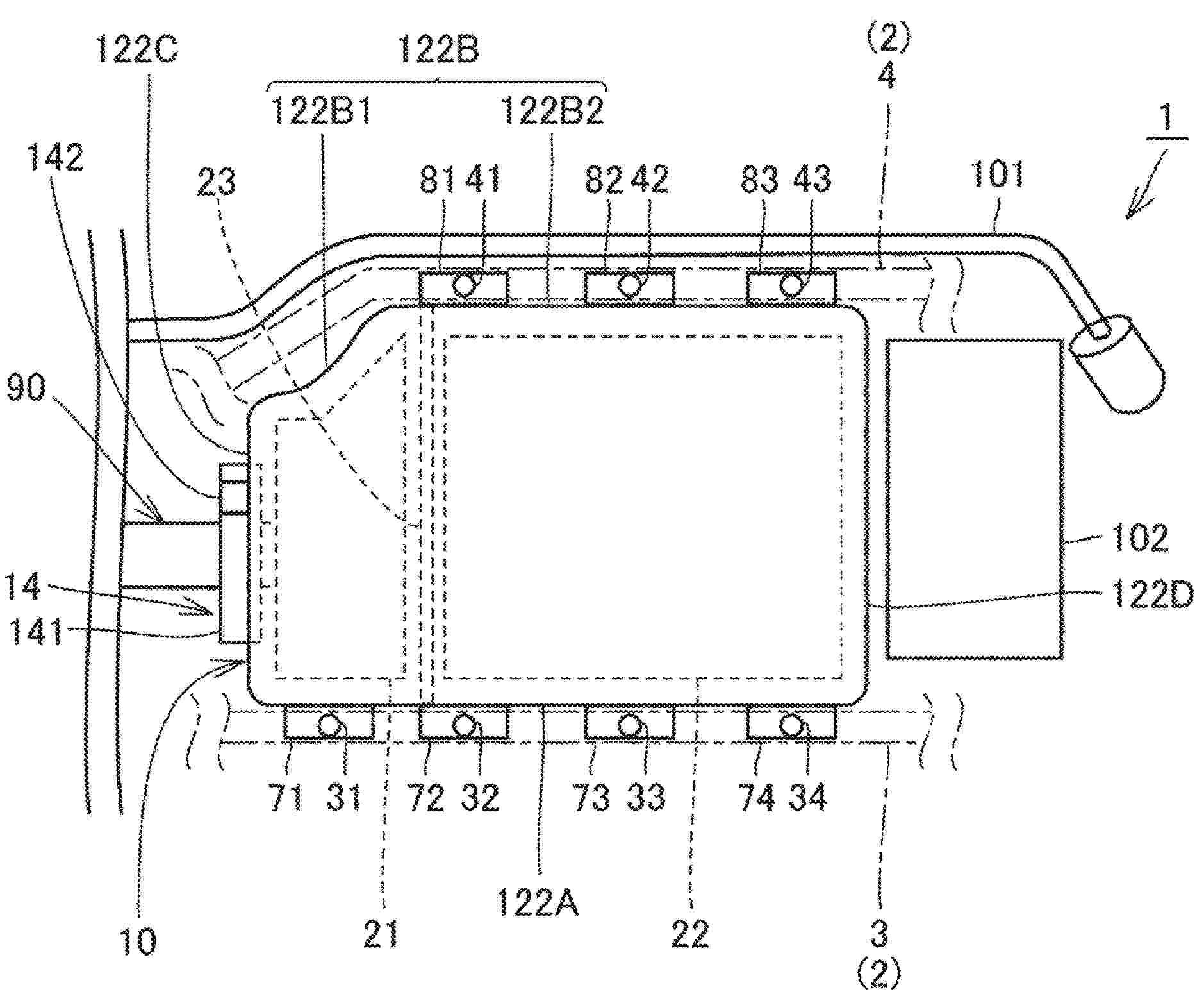
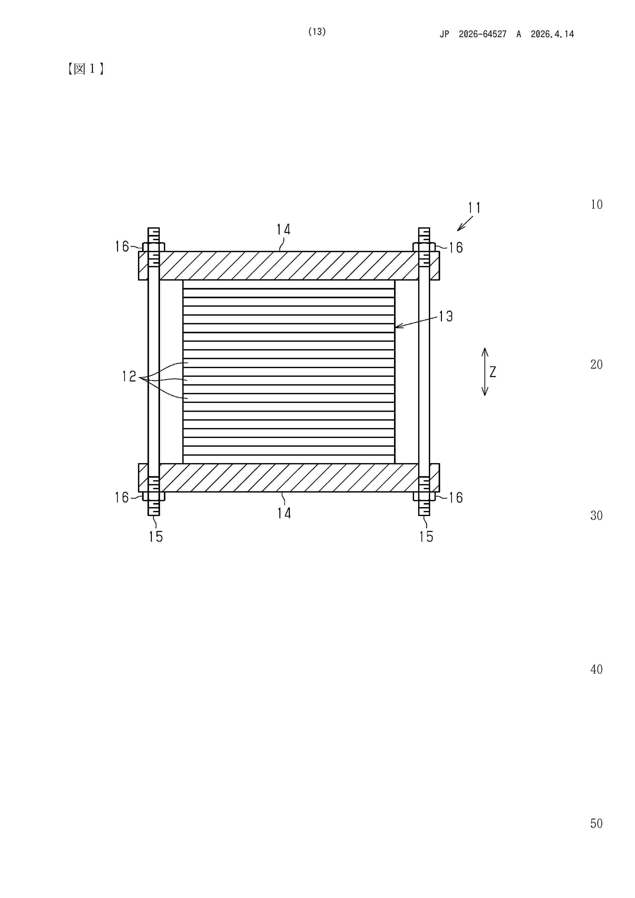
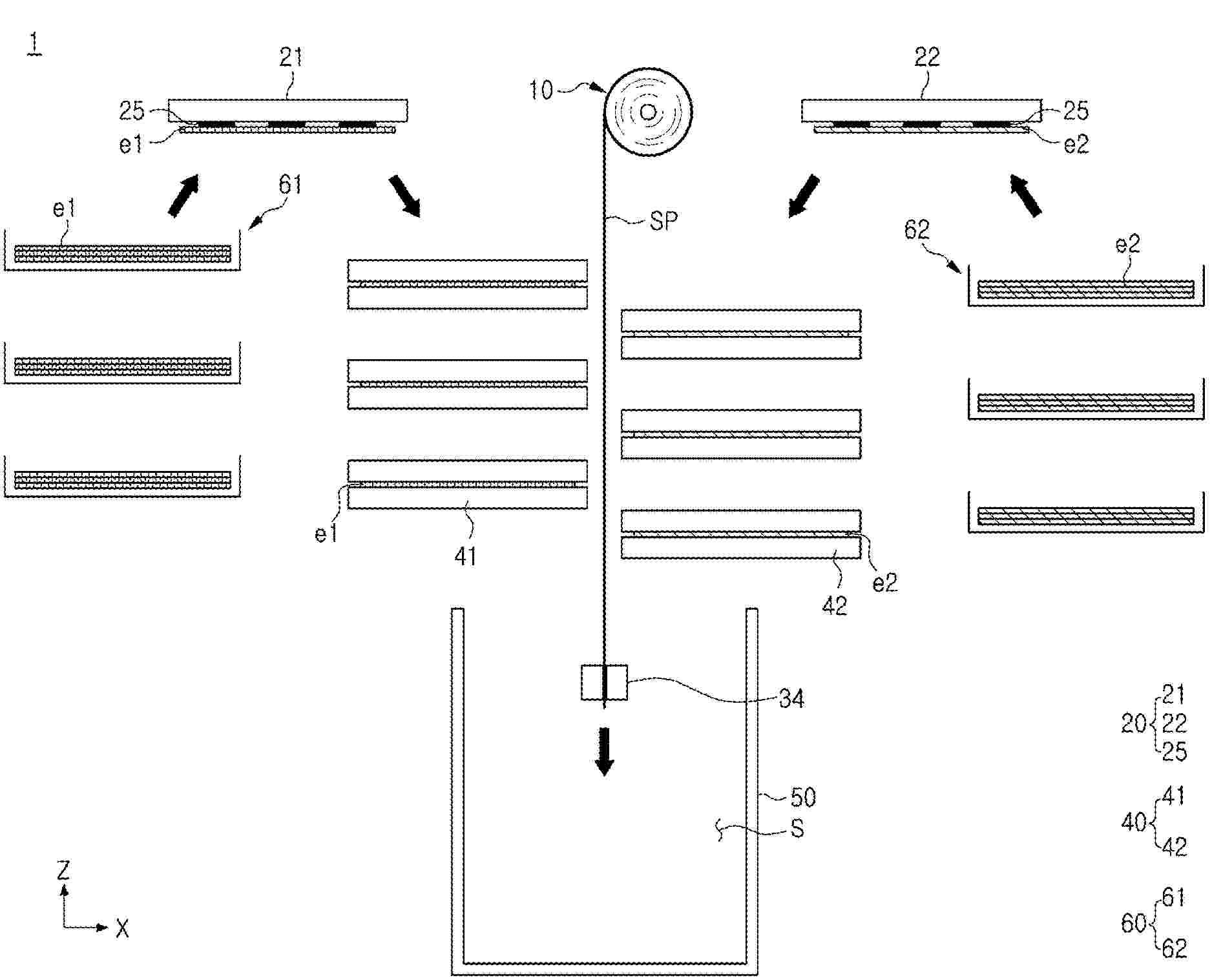
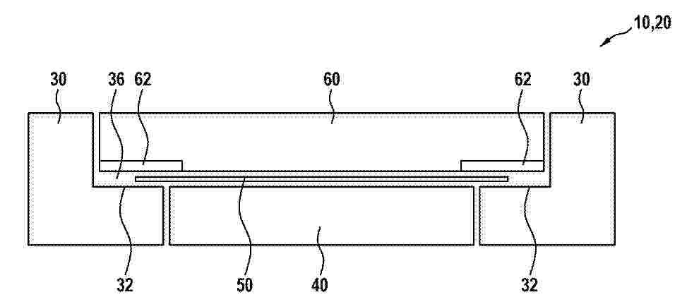
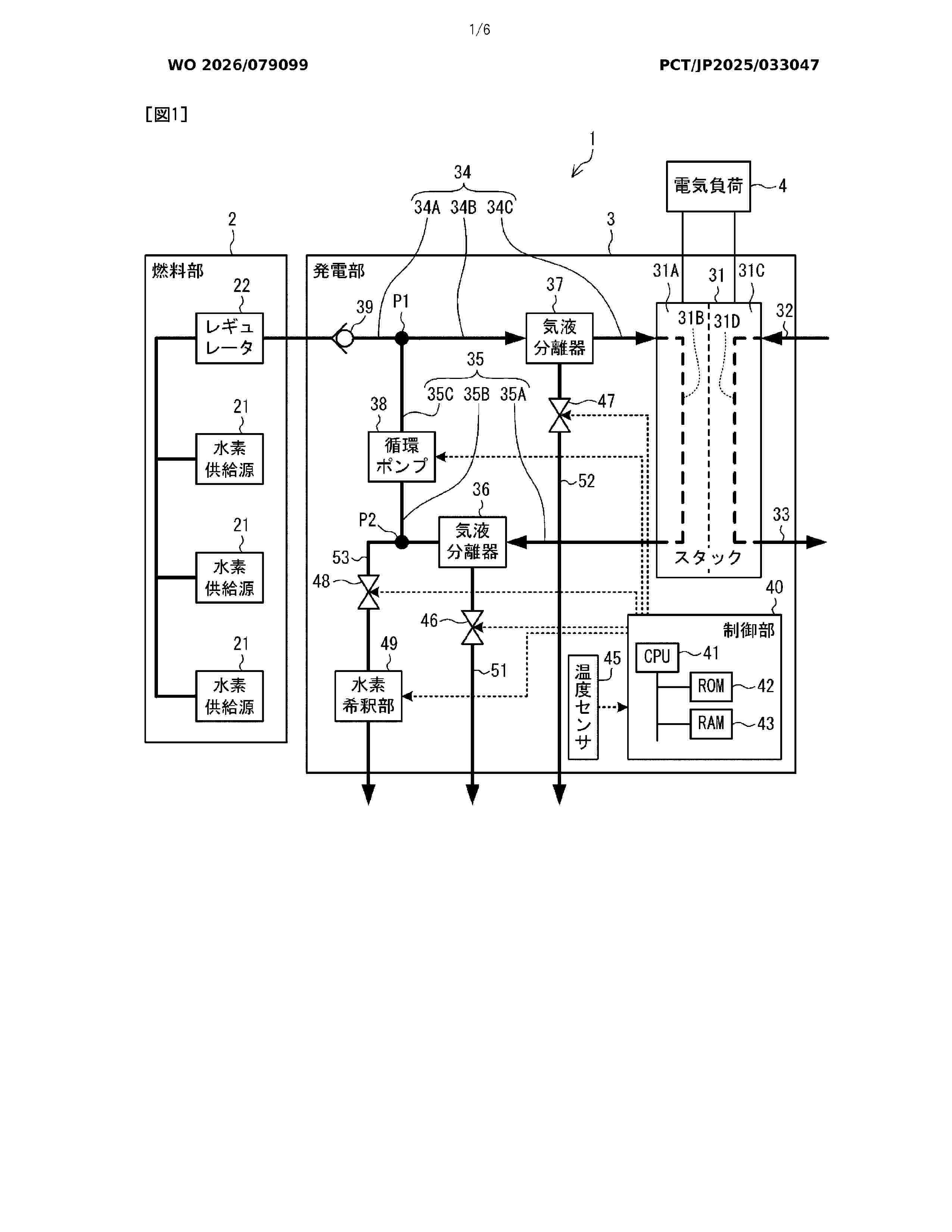
Stack comprenant une plaque d’interconnexion électrique et fluidique monolithique et des joints en vitrocéramique

NºPublicación:  FR3167654A1 24/04/2026
Solicitante: 
COMMISSARIAT A LENERGIE ATOMIQUE ET AUX ENERGIES ALTERNATIVES [FR]
FR_3167654_A1

Resumen de: FR3167654A1

Le présent exposé concerne un interconnecteur électrique et fluidique (8, 20-23) comprenant : - une plaque d’interconnexion (8, 8 i, 8 i+1)) monolithique ; - une couche LSM (15) et une grille (16) ; et - des joints (20-23) configurés de sorte à délimiter des compartiments de circulation de de gaz. Figure pour l’abrégé : Fig. 8

电装置的热调节

NºPublicación:  CN121914680A 24/04/2026
Solicitante: 
阿科玛法国公司
CN_121914680_PA

Resumen de: CN114981381A

The present invention relates to the use of a heat transfer composition comprising at least one refrigerant selected from the group consisting of halogenated hydrocarbons, perhalogenated hydrocarbons, fluorinated ketones, fluorinated ethers and combinations thereof and at least one dielectric fluid for cooling a device, such as a battery of an electric or hybrid vehicle, the heat transfer composition has a volume resistivity of greater than or equal to 106 Omega.cm at 25 DEG C.

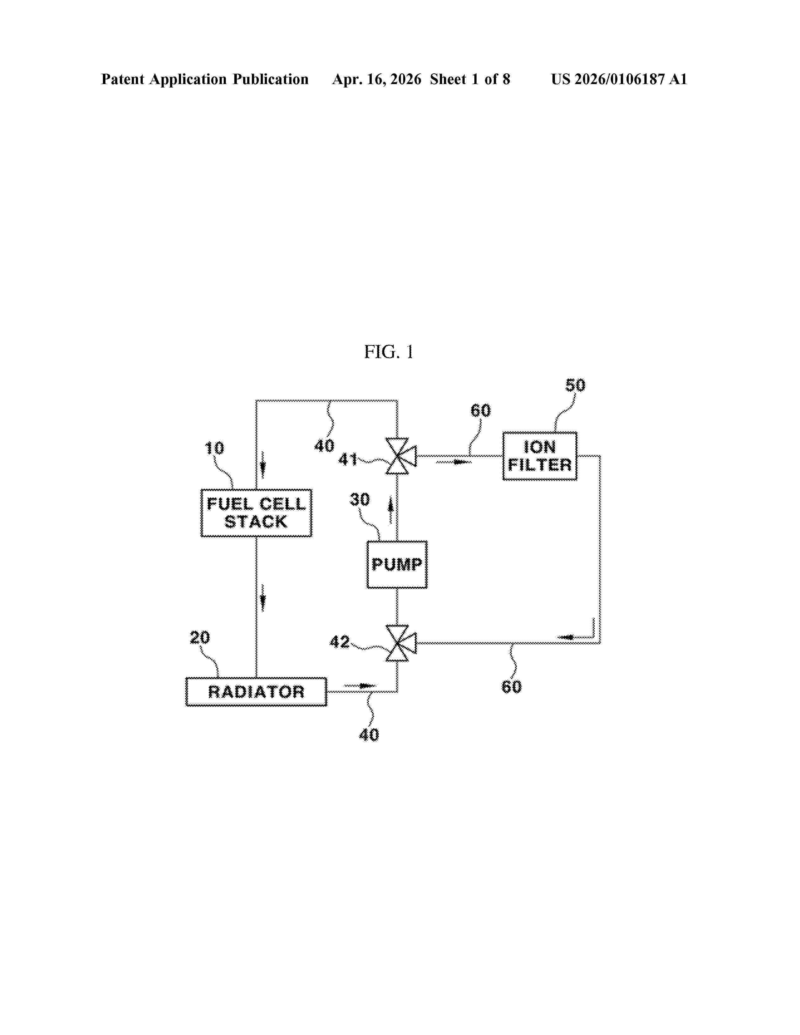
具有颗粒过滤器和离子交换器的过滤器单元以及具有过滤器单元的冷却回路

NºPublicación:  CN121925301A 24/04/2026
Solicitante: 
曼·胡默尔有限公司
CN_121925301_PA

Resumen de: EP4529967A1

0001 A filter unit (30) for a coolant, the filter unit (30) includes a housing (45), a particle filter (32) arranged in the housing (45), an ion exchanger (33) arranged in the housing (45), an inlet (35), a first outlet (39), and a main stream duct (63) extending between the inlet (35) and the first outlet (39), the particle filter (32) being arranged in the main stream duct (63). The filter unit (30) further includes a side stream duct (54) branching off from the main stream duct (63), and being configured to guide part of the coolant from the main stream duct (63) to the ion exchanger (33), and a second outlet (43) downstream of the ion exchanger (33).

用于改善的加湿器性能的混合中空纤维尺寸

NºPublicación:  CN121925303A 24/04/2026
Solicitante: 
帕克汉尼芬公司
CN_121925303_PA

Resumen de: WO2025049517A1

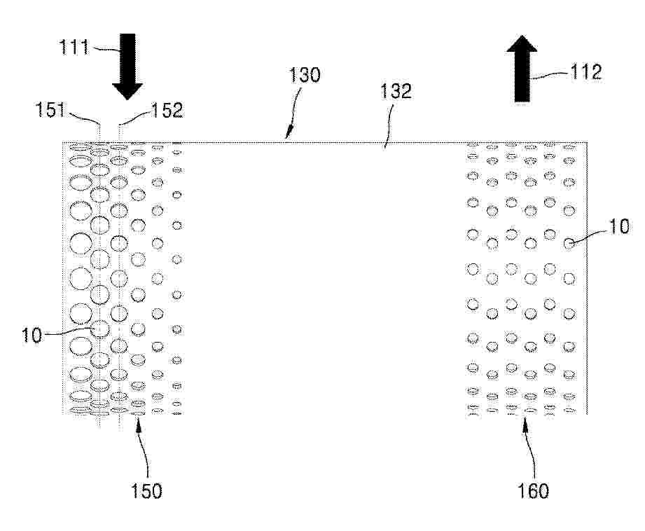
A fluid transfer element is provided that may be used as a humidifier in a fuel cell application to transfer moisture from wet discharge air to incoming dry air from ambient. The element comprises an arrangement of hollow membrane tubes, also referred to as hollow membrane fibers, which have a passageway through the tubes and a separate passageway around the tubes through interstices between adjacent exteriors of tubes. The arrangement of the hollow membrane tubes comprises tubes having different flow cross-section areas arranged to provide different flow restriction properties, which can be provide by larger diameter tubes and smaller diameter tubes. The tubes may be arranged to reduce pressure drop and induce wet gas air flow into smaller interstices along the wet air flow path.

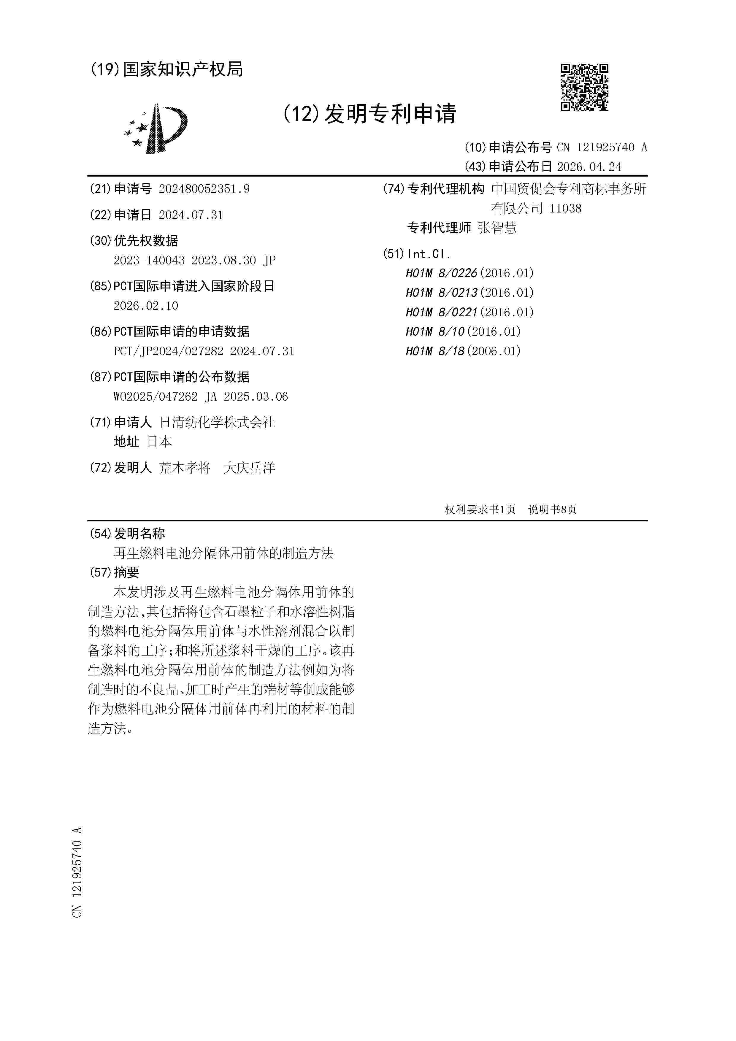
再生燃料电池分隔体用前体的制造方法

NºPublicación:  CN121925740A 24/04/2026
Solicitante: 
日清纺化学株式会社
CN_121925740_A

Resumen de: JP2025033963A

To provide a method for manufacturing a precursor for a recycled fuel cell separator which converts defectives and end materials generated in processing into a material recyclable as a precursor for a fuel cell separator.SOLUTION: A method for a precursor for a recycled fuel cell separator includes the steps of: mixing a precursor for a fuel cell separator containing black particles and a water-soluble resin and an aqueous solvent, and preparing a slurry; and drying the slurry.SELECTED DRAWING: None

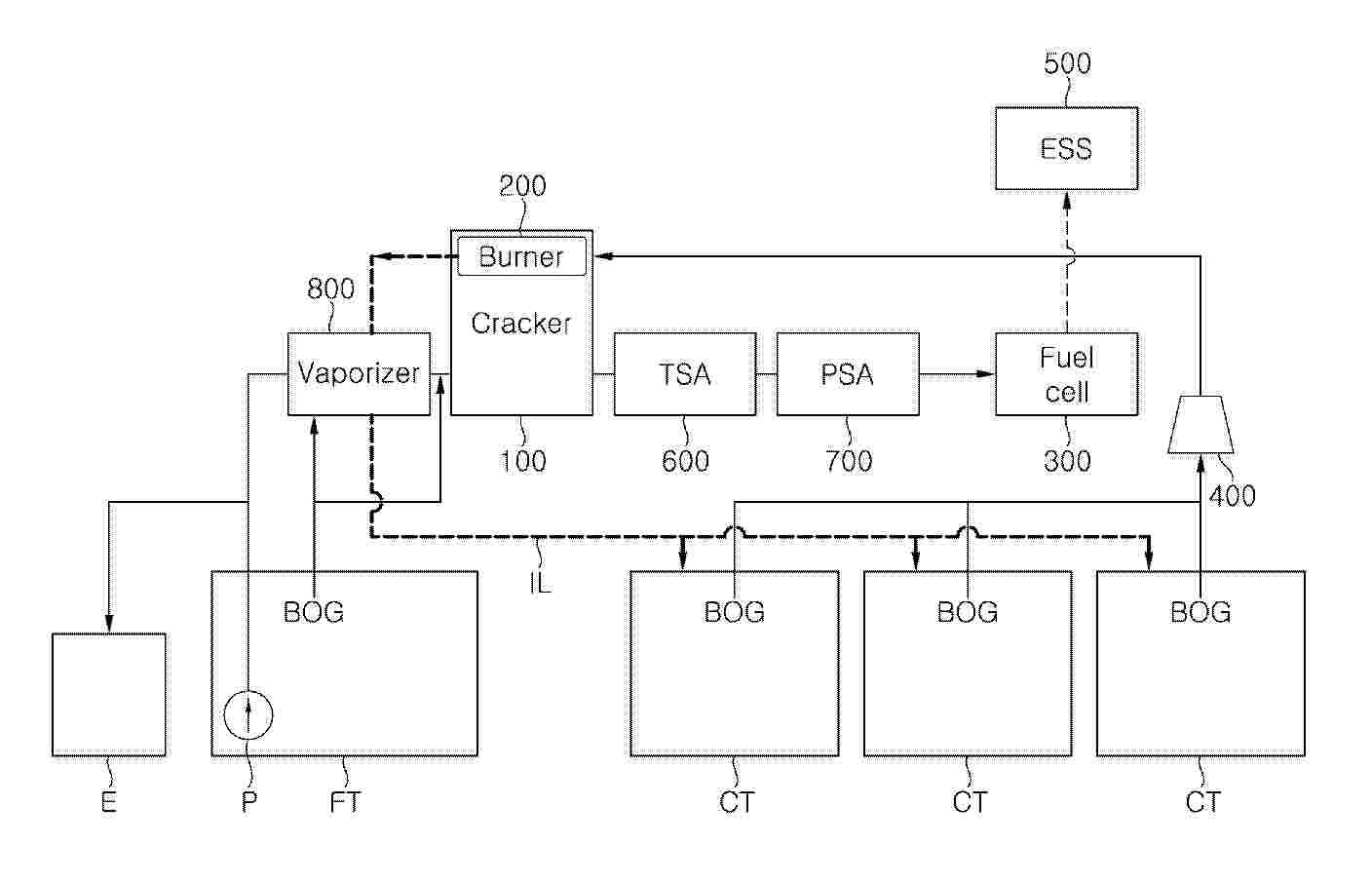
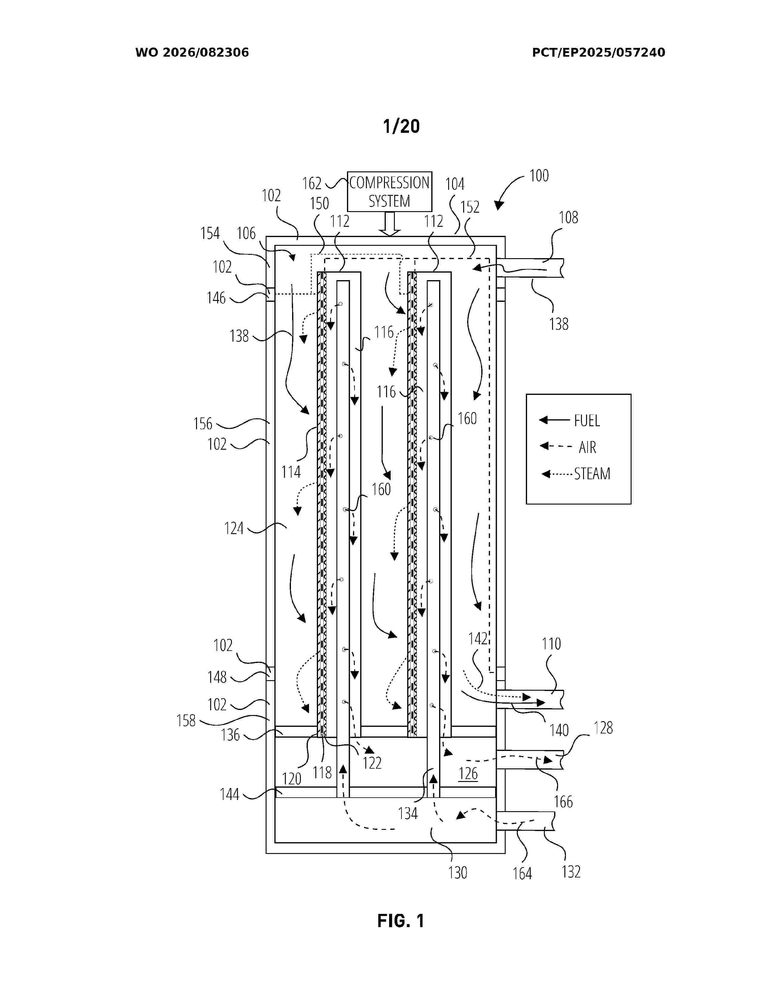
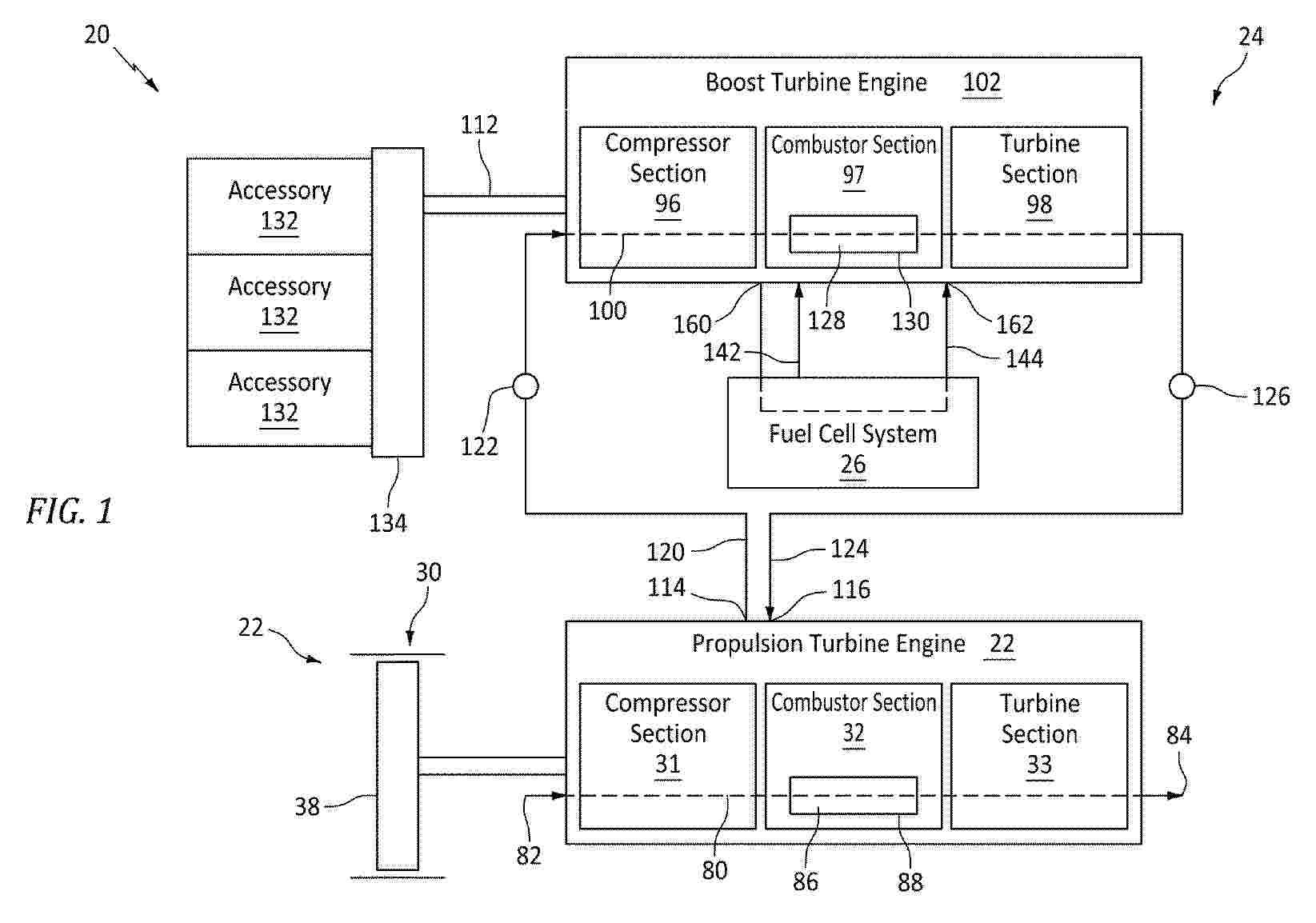
FUEL CELL MODULE, SYSTEM, AND PROCESS

NºPublicación:  WO2026082306A1 23/04/2026
Solicitante: 
SIEMENS ENERGY GLOBAL GMBH & CO KG [DE]
WO_2026082306_A1

Resumen de: WO2026082306A1

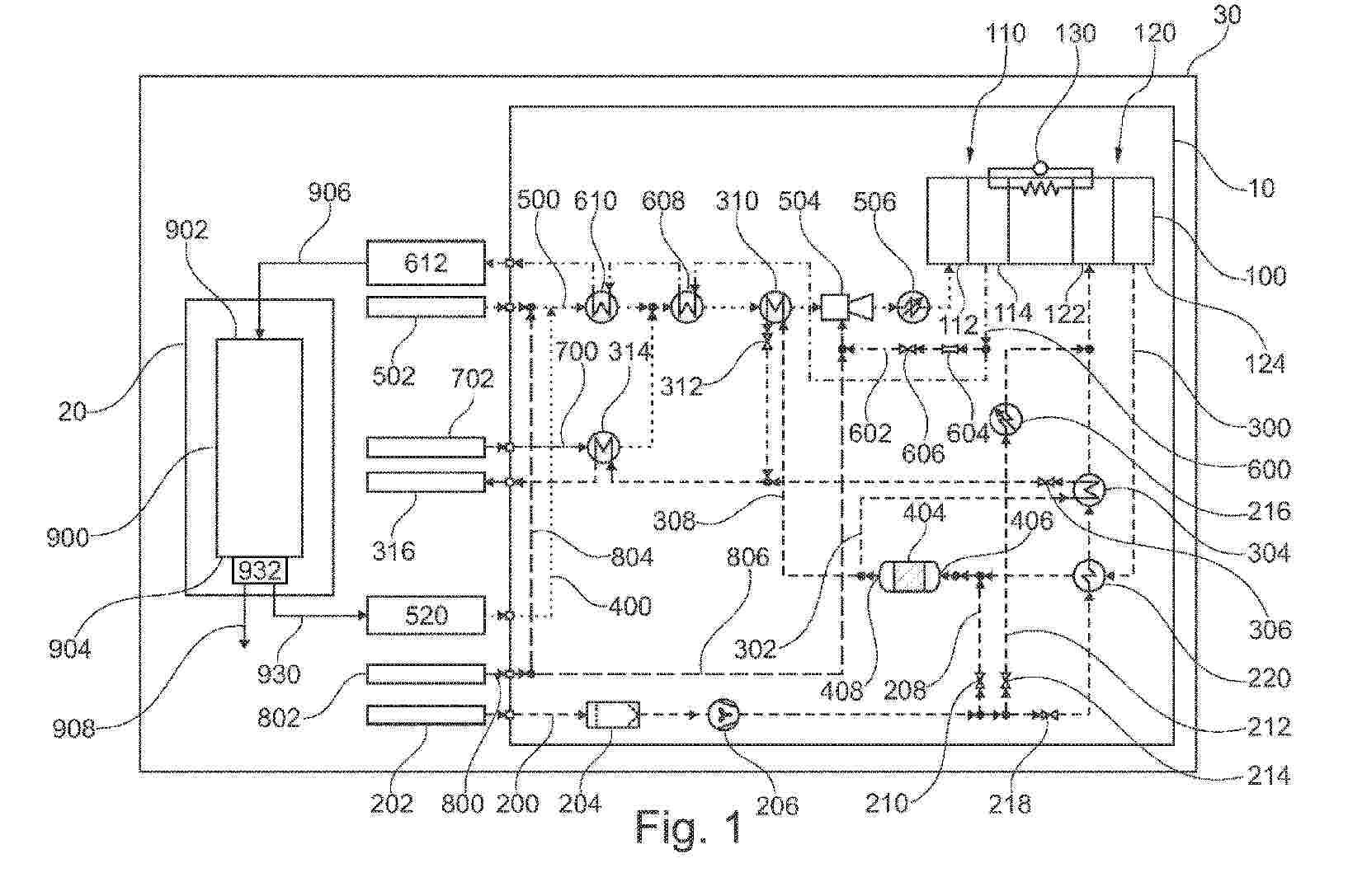
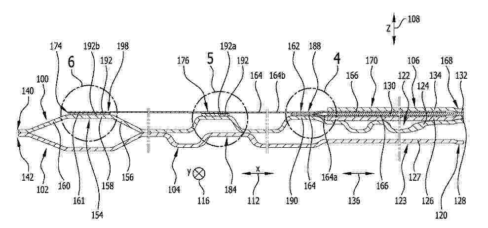
A fuel cell module (100) is provided for generating electricity, which includes at least three annular segments (102) in a successively stacked arrangement that are operative to form a casing (104). The casing includes therein a fuel cell chamber (106) having a fuel inlet (108), a depleted fuel outlet (140), and a plurality of fuel cells (112) comprised of an electrolyte layer (118) between an anode layer (120) and a cathode layer (122). Each of the fuel cells extends through all three of the segments. The segments include at least one electrically insulating segment (156) stacked between two electrically conductive segments (146, 148). The electrically conductive segments correspond to positive and negative terminal segments, to which the fuel cells inside the module are electrically connected, and to which an electrical load (2216) outside the module may be electrically connected.

OPEN-CIRCUIT PURGING METHOD AND DEVICE FOR FUEL CELL SYSTEM AND STORAGE MEDIUM

NºPublicación:  WO2026082025A1 23/04/2026
Solicitante: 
DONGFENG MOTOR GROUP CO LTD [CN]
\u4E1C\u98CE\u6C7D\u8F66\u96C6\u56E2\u80A1\u4EFD\u6709\u9650\u516C\u53F8
WO_2026082025_A1

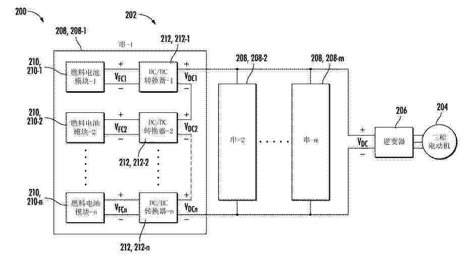
Resumen de: WO2026082025A1

An open-circuit purging method for a fuel cell system. The fuel cell system comprises a stack (4) and a DC-DC module (5), and the method comprises: when the fuel cell system is shut down, on the basis of an under-voltage protection voltage of the stack (4), determining a first target value of a low-side current, wherein the low-side current is a current output by the stack (4) to the DC-DC module (5), and the first target value is greater than 0 A; purging the stack on the basis of the first target value, and acquiring the current voltage of the stack (4); when the current voltage is discharged to the under-voltage protection voltage, controlling the DC-DC module (5) to discharge the current voltage to a safe voltage of the stack, and determining a second target value of the low-side current, wherein the second target value is 0 A; and purging the stack on the basis of the second target value.

VEHICLE WITH REVERSIBLE FUEL CELL SYSTEM AND METHOD OF OPERATION

NºPublicación:  US20260112664A1 23/04/2026
Solicitante: 
RTX CORP [US]
US_20260112664_A1

Resumen de: US20260112664A1

0000 A method of operation is provided during which hydrogen fuel is produced using a reversible fuel cell system onboard a vehicle while the vehicle is stationary and/or docked. The reversible fuel cell system receives water and input electricity to produce the hydrogen fuel. The hydrogen fuel is stored onboard the vehicle. Output electricity is generated using the reversible fuel cell system while the vehicle is moving. The reversible fuel cell system receives the hydrogen fuel stored onboard the vehicle and air to generate the output electricity.

AUSGANGSSTEUERVORRICHTUNG

NºPublicación:  DE102025142241A1 23/04/2026
Solicitante: 
ISUZU MOTORS LTD [JP]
DE_102025142241_PA

Resumen de: DE102025142241A1

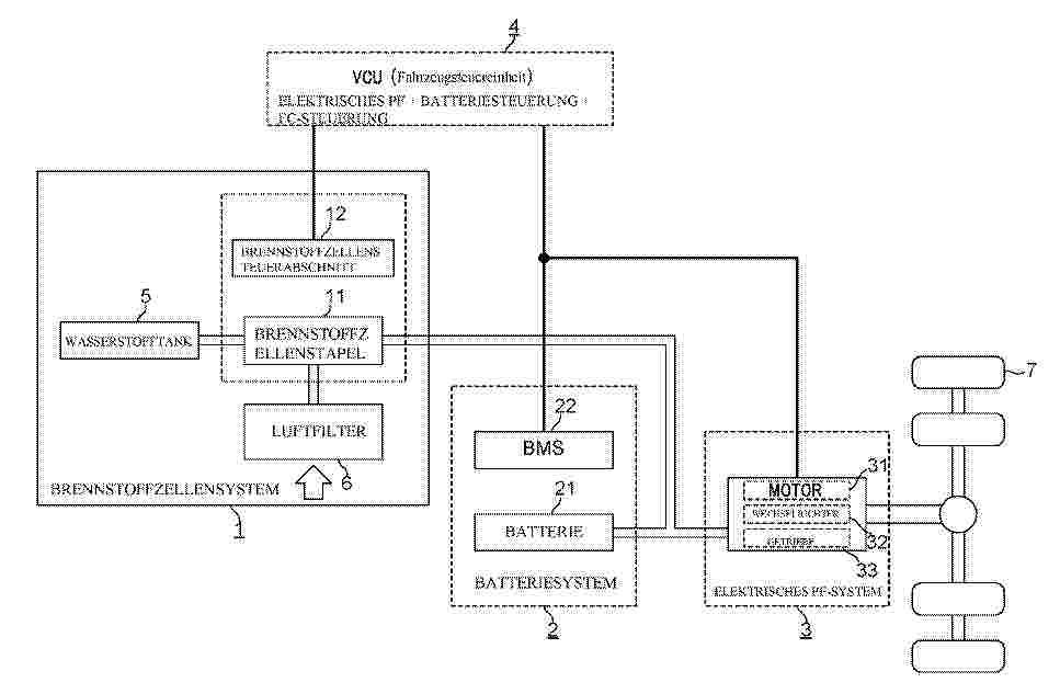
Eine Ausgangssteuervorrichtung kann eine Verschlechterung zwischen Batterie und Brennstoffzelle ausgleichen. Die Ausgangssteuervorrichtung umfasst einen Erfassungsabschnitt, der Informationen in Bezug auf den Gesundheitszustand der Brennstoffzelle und der Batterie erfasst, die Leistung zum Betrieb eines Motors als Fahrzeugantriebsquelle ausgeben, sowie Informationen, die eine angeforderte Ausgangsleistung des Motors anzeigen; und einen Steuerabschnitt, der die Batterie und die Brennstoffzelle derart steuert, dass, wenn die Information über den Gesundheitszustand der Batterie nicht kleiner als ein im Voraus gesetzter Zielwert ist, die Brennstoffzelle eine vorbestimmte erste Leistung unabhängig von der angeforderten Ausgangsleistung ausgibt und die Batterie eine zweite Leistung entsprechend der angeforderten Ausgangsleistung ausgibt, und dass, wenn die Information über den Gesundheitszustand der Batterie größer als der Zielwert ist, die Batterie eine vorbestimmte dritte Leistung unabhängig von der angeforderten Ausgangsleistung ausgibt und die Brennstoffzelle eine vierte Leistung entsprechend der angeforderten Ausgangsleistung ausgibt.

POROUS CARBON, ELECTRODE MATERIAL, CATALYST CARRIER, CAPACITOR, FUEL CELL, SECONDARY BATTERY, AND METHOD FOR PRODUCING POROUS CARBON

NºPublicación:  WO2026083826A1 23/04/2026
Solicitante: 
PANASONIC HOLDINGS CORP [JP]
\u30D1\u30CA\u30BD\u30CB\u30C3\u30AF\u30DB\u30FC\u30EB\u30C7\u30A3\u30F3\u30B0\u30B9\u682A\u5F0F\u4F1A\u793E
WO_2026083826_A1

Resumen de: WO2026083826A1

Disclosed is a powder porous carbon which has a specific surface area of 1,400 m2/g to 2,800 m2/g, a micropore volume of 0.2 cm3/g to 1.4 cm3/g, and a mesopore volume of 0.2 cm3/g to 1.4 cm3/g, wherein the total gas amount of hydrogen (H2) derived from terminal hydrogen of carbon, water (H2O) derived from an oxygen-containing functional group, carbon monoxide (CO), and carbon dioxide (CO2) detected from the porous carbon by temperature-programmed desorption gas analysis is 0.01-2.0 mmol/g.

MANUFACTURING MULTI-LAYERED BIPOLAR PLATE FOR FUEL CELL

NºPublicación:  US20260108944A1 23/04/2026
Solicitante: 
RTX CORP [US]
US_20260108944_A1

Resumen de: US20260108944A1

A method of manufacture is provided during which a first material layer is disposed with a second material layer to provide a multi-layered preform. The first material layer lengthwise and widthwise overlaps the second material layer. The first material layer is configured from or otherwise includes a titanium material. The second material layer is configured from or otherwise includes an aluminum material. The multi-layered preform is clamped between a first die and a second die. The first die and the second die each lengthwise and widthwise overlap the multi-layered preform. The multi-layered preform clamped between the first die and the second die is sintered and bonded to provide a bipolar plate for a fuel cell. The titanium material in the first material layer of the bipolar plate is bonded to the aluminum material in the second material layer of the bipolar plate during the sintering of the multi-layered preform.

Verfahren zur Überwachung eines Brennstoffzellensystems und Brennstoffzellensystem

NºPublicación:  DE102024210041A1 23/04/2026
Solicitante: 
BOSCH GMBH ROBERT [DE]
DE_102024210041_PA

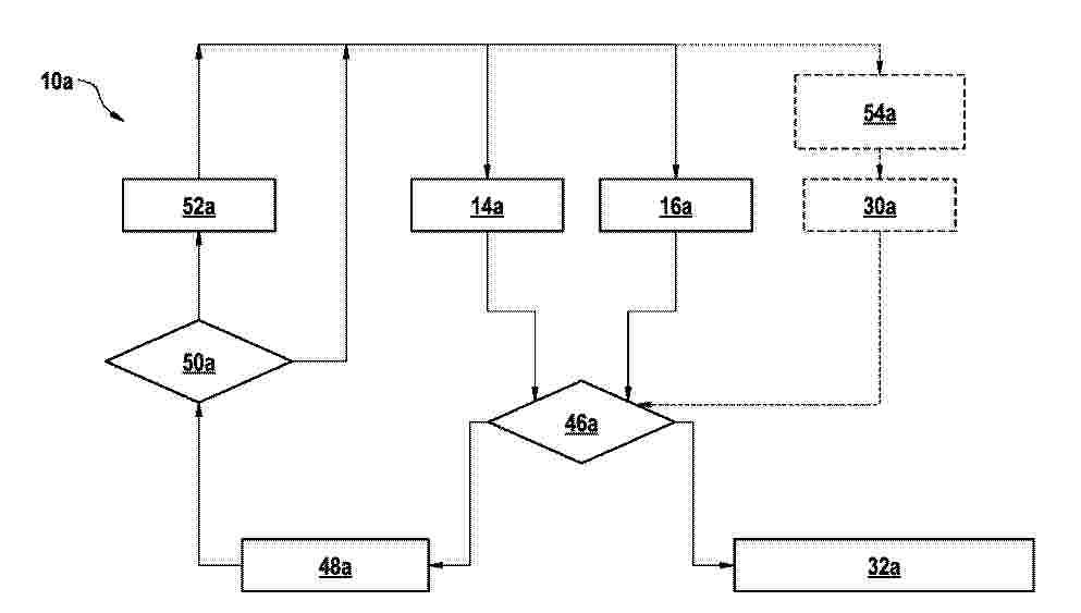
Resumen de: DE102024210041A1

Die Erfindung geht aus von einem Verfahren (10a; 10b; 10c) zur Überwachung eines Brennstoffzellensystems (12a; 12b; 12c), welches zumindest einen Brennstoff in ein Abgas umsetzt, welches aus dem Brennstoffzellensystem (12a; 12b; 12c) abgeführt wird, wobei in zumindest einem Verfahrensschritt eine Brennstoffmenge in dem Abgas charakterisiert wird.Es wird vorgeschlagen, dass zur Charakterisierung der Brennstoffmenge in zumindest einem ersten Ermittlungsschritt (14a; 14b; 14c) ein Sauerstoffparameter des Abgases an einer ersten Ermittlungsstelle ermittelt wird und in zumindest einem weiteren Ermittlungsschritt (16a; 16b; 16c) ein weiterer Wert des Sauerstoffparameters an einer weiteren Ermittlungsstelle ermittelt wird.

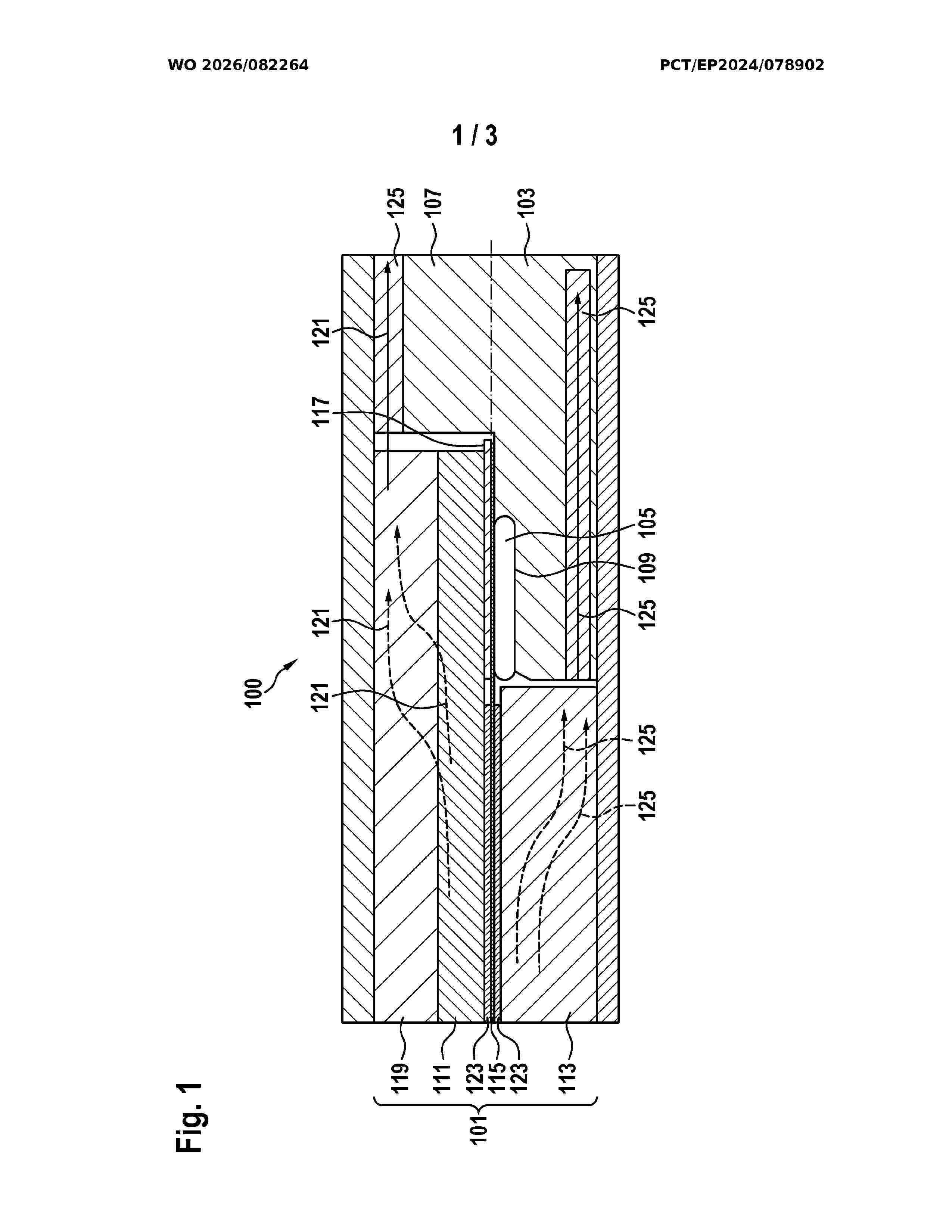
CELL FOR AN ELECTROCHEMICAL ENERGY CONVERTER

NºPublicación:  WO2026082265A1 23/04/2026
Solicitante: 
ROBERT BOSCH GMBH [DE]
WO_2026082265_A1

Resumen de: WO2026082265A1

The present invention relates to a method (100) for producing a cell (200) for an electrochemical energy converter (300), the method (100) comprising: - arranging (101) a terrace seal (201) in a recess (203) formed by a frame terrace (205) of a frame (207) for encompassing a membrane electrode assembly (MEA) (209) of the cell (200), wherein the frame (207) comprises a frame body (211) and the frame terrace (205), wherein a height of the frame terrace (205) is smaller than a height of the frame body (211), wherein the terrace seal (201) comprises a first part (213) and a second part (215), wherein a height of the second part (215) of the terrace seal (201) is smaller than a height of the first part (213) of the terrace seal (201), wherein the first part (213) of the terrace seal (201) protrudes in height direction over an upper level (217) of the recess (203), and wherein the second part (215) of the terrace seal (201) protrudes in height direction beneath the upper level (217) of the recess, - combining (103) the MEA (209) and the frame (207), thereby pressing the first part (213) of the terrace seal (201) in the recess (203) using the MEA (209), - arranging (105) a first bipolarplate (219) on an upper side of the MEA (209) and the frame (207), - arranging (107) a second bipolarplate (221) on a lower side of the MEA (209) and the frame (207).

Verfahren zum Diagnostizieren eines Katalysator-Zustands in einer Brennstoffzelle

NºPublicación:  DE102024210232A1 23/04/2026
Solicitante: 
BOSCH GMBH ROBERT [DE]
DE_102024210232_PA

Resumen de: DE102024210232A1

Die vorliegende Erfindung betrifft ein Verfahren zum Diagnostizieren des Zustands mindestens eines Katalysators (20), der in Brennstoffzellen, insbesondere in Hochtemperatur-Brennstoffzellen oder in Festoxid-Brennstoffzellen, vorgesehen wird, die in Form mindestens eines Stacks seriell angeordnet werden, aufweisend die folgenden Schritte:- Einstellen eines stabilen Betriebszustands, insbesondere eines thermisch stabilen Betriebspunkts, des Stacks;- Abschalten oder Herunterfahren der Last des Stacks in einen Leerlaufzustand, insbesondere auf Null;- Messen und Auswerten-- der Leerlaufspannung pro Brennstoffzelle und-- der am Ausgang des Stacks noch auftretenden Konzentration des am Eingang des Stacks zugeführten gasförmigen Brennstoffs.

NANOSTRUCTURED ANION-EXCHANGE MEMBRANE AND METHOD FOR OBTAINING SAME

NºPublicación:  WO2026082550A1 23/04/2026
Solicitante: 
CIE GENERALE DES ETABLISSEMENTS MICHELIN [FR]
CENTRE NATIONAL DE LA RECHERCHE SCIENT [FR]
UNIV DE MONTPELLIER [FR]
ECOLE NAT SUPERIEURE DE CHIMIE DE MONTPELLIER [FR]
WO_2026082550_A1

Resumen de: WO2026082550A1

The invention relates to a method for obtaining an anion-exchange membrane which contains an ionomer film, wherein the copolymer chains of the ionomer are arranged throughout the thickness of the film according to a nanostructure having double gyroid morphology, the ionomer being of formula A-B'-C, wherein A is a hydrocarbon polyvinylaromatic block; B' is a polymer block, of which the constituent repeating units each contain a nitrogen-containing aromatic heterocyclic pendant group and in which all or part of the nitrogen-containing aromatic heterocyclic pendant groups are N-alkylated; and C is a hydrophilic polyether block. The nanostructure formed maximises the transport of anions and water through the membrane and improves the operation of a fuel cell or an electrolyser containing such a membrane.

COMPUTER SYSTEM AND A METHOD FOR CONTROLLING A FUEL CELL SYSTEM

NºPublicación:  US20260112673A1 23/04/2026
Solicitante: 
VOLVO TRUCK CORP [SE]
US_20260112673_A1

Resumen de: US20260112673A1

A computer system and method for controlling a power system comprising a fuel cell system and an electric energy storage system is disclosed. The fuel cell system comprising a power conversion and distribution circuitry configured to convert and deliver electric power to an electric energy storage system and to a power consumer. The method for controlling the power system comprises predicting a power request for power delivery from the fuel cell system. The method further comprises monitoring operating voltage of the power system. The method further comprises detecting an upcoming event during which a power capability of the fuel cell system is expected to be insufficient to deliver power in accordance with the power request. The method further comprises determining if a selection criterion for selecting a first operating mode is fulfilled and activating the first operating mode when the selection criterion is fulfilled.

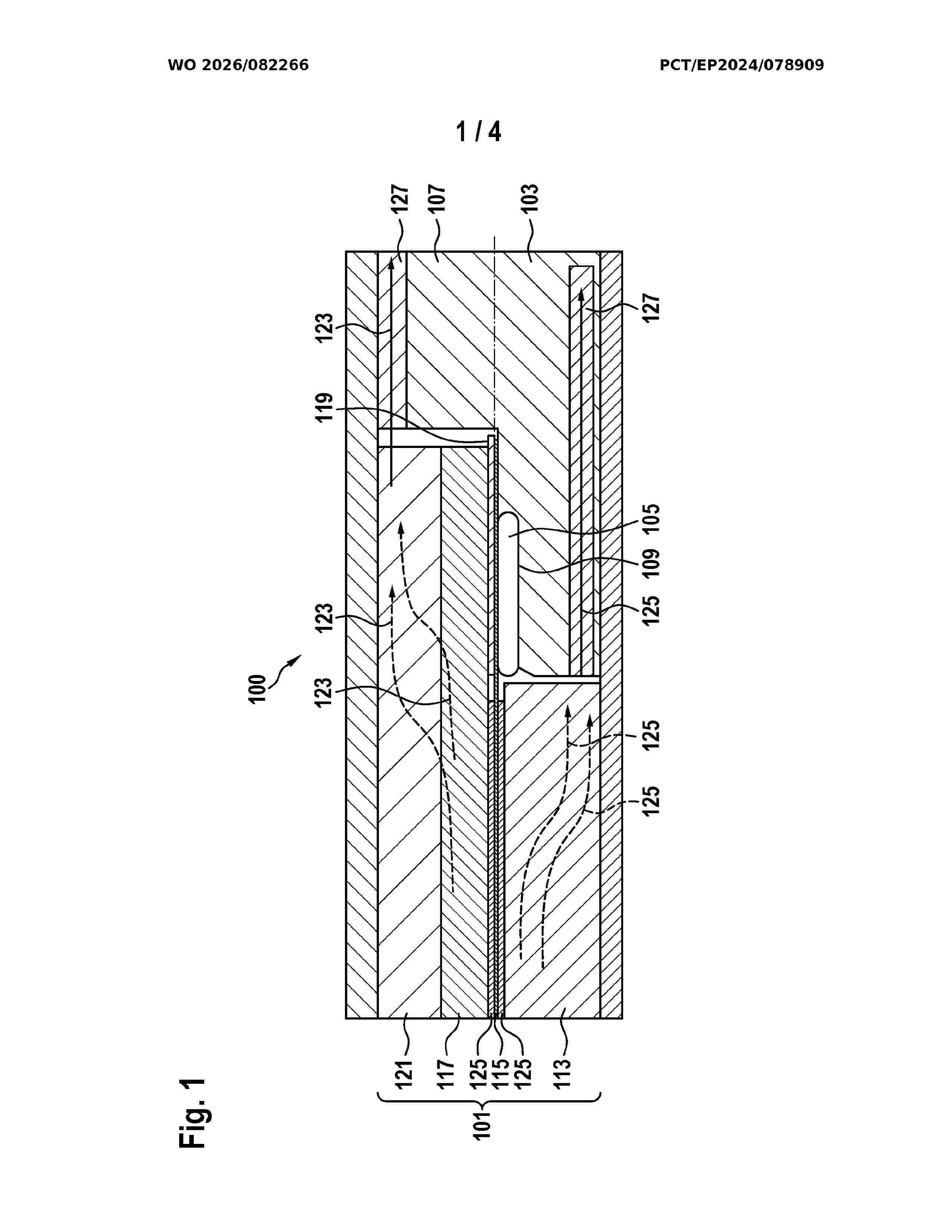
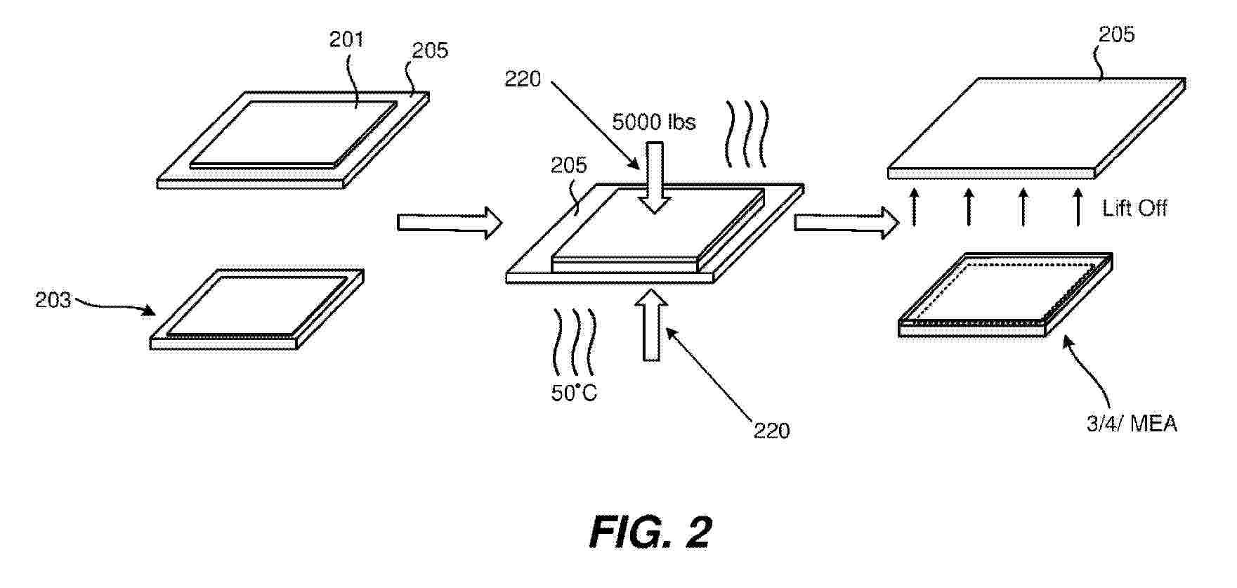
CELL FOR AN ELECTROCHEMICAL ENERGY CONVERTER

NºPublicación:  WO2026082266A1 23/04/2026
Solicitante: 
ROBERT BOSCH GMBH [DE]
WO_2026082266_A1

Resumen de: WO2026082266A1

The present invention relates to a cell (100) for an electrochemical energy converter (300), the cell (100) comprising: - a membrane electrode assembly (MEA) (101), - a frame (103) encompassing the MEA, - a terrace seal (105), wherein the frame (103) comprises a frame body (107) and a frame terrace (109), wherein a height of the frame terrace (109) is smaller than a height of the frame body (107), wherein the terrace seal (105) is arranged at the frame terrace (109), wherein the MEA (101) comprises: - a porous transport layer (PTL) (111), - a gas diffusion layer (GDL) (113), - a membrane (115) arranged between the PTL (111) and the GDL (113), wherein the PTL (111) comprises a first part (117) having a first porosity and a second part (119) having a second porosity, wherein the second porosity is smaller than the first porosity, and wherein at least a part of the second part (119) overlies the terrace seal (105).

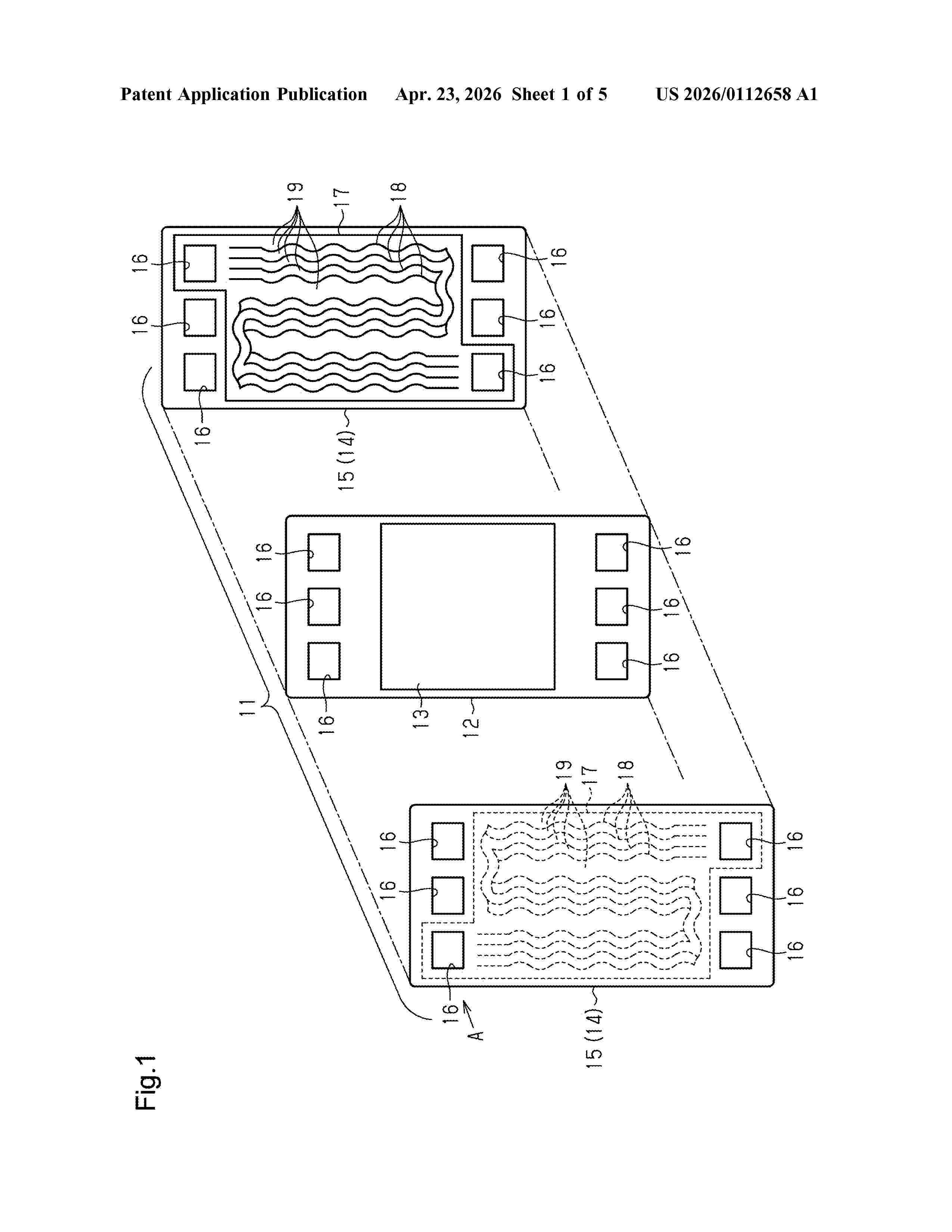
SEPARATOR FOR FUEL CELL AND SINGLE CELL FOR FUEL CELL

NºPublicación:  US20260112658A1 23/04/2026
Solicitante: 
TOYOTA BOSHOKU KK [JP]
US_20260112658_A1

Resumen de: US20260112658A1

A separator for a fuel cell includes a rectangular plate-shaped body. The body forms passages through which gas flows. The body includes central regions and a reversing region. The central regions extend along one side of the body, and are arranged in a direction in which another side of the body that intersects the one side extends. The passages include multiple central passage sections that extend in the longitudinal direction through each central region, and a reversing passage section that extends through the reversing region and connects the central passage sections of adjacent ones of the central regions. The ribs are formed such that two or more of the central passage sections are formed in each of the central regions, and the reversing passage section in the reversing region is connected to two or more of the central passage sections in the corresponding central region.

MANIFOLD AND METHODS FOR DISTRIBUTING SLURRY-BASED ELECTRODES IN FLOW BATTERY CELLS

NºPublicación:  WO2026084686A2 23/04/2026
Solicitante: 
CASE WESTERN RESERVE UNIV [US]
WO_2026084686_A2

Resumen de: WO2026084686A2

A flow battery relies on slurry-type electrode in which particles may be selectively and temporarily plated (relative to a solid/standard electrode). Owing to the comparatively viscous nature of the slurry, specific accommodations for the electrolyte flowpaths must be made, thereby eliminating problematic reaction areas across certain facings of the solid electrode that might otherwise impede slurry flow and/or degrade performance of the battery. Methods of operating such a battery, storing electrical energy, and other related processes are also contemplated.

Konditionierungsverfahren zur Konditionierung eines elektrochemischen Zellensystems

NºPublicación:  DE102024210095A1 23/04/2026
Solicitante: 
BOSCH GMBH ROBERT [DE]
DE_102024210095_PA

Resumen de: DE102024210095A1

Die vorgestellte Erfindung betrifft ein Konditionierungsverfahren (100) zur Konditionierung eines elektrochemischen Zellensystems (203). Das Konditionierungsverfahren (100) weist dabei folgende Verfahrensschritte auf:- Anordnen (103) des elektrochemischen Zellensystems (203) an einem Prüfstand (200),- Verbinden (105) eines Temperierungskreislaufs (209) des elektrochemischen Zellensystems (203) mit einem Temperierungskreislauf (205) des Prüfstands (200),- Hochfahren (107) des elektrochemischen Zellensystems (203),- Betreiben (109) des elektrochemischen Zellensystems (203) für eine vorgegebene Dauer an mindestens einem vorgegebenen Betriebspunkt auf dem Prüfstand (200),- Herunterfahren mit aktivem Abkühlen (111) des elektrochemischen Zellensystems (203),- Trennen (112) des Temperierungskreislaufs (209) des elektrochemischen Zellensystems (203) von dem Temperierungskreislauf (205) des Prüfstands (200),- Herunterfahren mit passivem Abkühlen (113) des elektrochemischen Zellensystems (203),- Demontieren (115) des elektrochemischen Zellensystems (203) von dem Prüfstand (200),wobei während des passiven Abkühlensdes elektrochemischen Zellensystems (203) das Temperierungsmedium des Temperierungskreislaufs (205) des Prüfstands (200) erwärmt wird.

FUEL CELL INCLUDING A MICROCHANNEL DESIGN METHOD BASED ON AN OPTIMAL DESIGN ALGORITHM FOR CHANNEL SPACING AND A SEPARATOR DESIGNED USING IT

NºPublicación:  US20260112659A1 23/04/2026
Solicitante: 
PUSAN NATIONAL UNIV INDUSTRY UNIV COOPERATION FOUNDATION [KR]
US_20260112659_A1

Resumen de: US20260112659A1

0000 A present disclosure provides a method for designing a microchannel using a channel gap optimal design algorithm and a fuel cell including a separator designed using the same. The fuel cell including the separator designed using the method for designing a microchannel using a channel gap optimal design algorithm can be designed by calculating an optimal channel gap through the algorithm, and through the designed optimal channel gap, temperature reduction of a fluid, temperature distribution, and flow distribution uniformity can be improved.

CELL FOR AN ELECTROCHEMICAL ENERGY CONVERTER

NºPublicación:  WO2026082264A1 23/04/2026
Solicitante: 
ROBERT BOSCH GMBH [DE]
WO_2026082264_A1

Resumen de: WO2026082264A1

The present invention relates to a cell (100) for an electrochemical energy converter (300), the cell (100) comprising: - a membrane electrode assembly (MEA) (101), - a frame (103) encompassing the MEA, - a terrace seal (105), wherein the frame (103) comprises a frame body (107) and a frame terrace (109), wherein a height of the frame terrace (109) is smaller than a height of the frame body (107), wherein the terrace seal (105) is arranged at the frame terrace (109), wherein the MEA (101) comprises: - a porous transport layer (PTL) (111), - a gas diffusion layer (GDL) (113), - a membrane (115) arranged between the PTL (111) and the GDL (113), and - at least one foil (117) forming a frame around an opening (129), wherein the at least one foil (117) is arranged, at least in part, between the terrace seal (105) and the PTL (111).

SYSTEMS AND METHODS FOR INTEGRATED MODULAR PRODUCTION OF HYDROGEN FRESHWATER, AND BIOELECTRICITY

NºPublicación:  US20260110100A1 23/04/2026
Solicitante: 
KHALVATI MOHAMMADALI [CA]
DINCER IBRAHIM [CA]
GOREN KARA AYSEGUL YAGMUR [CA]
KILICASLAN AHMET [CA]
US_20260110100_A1

Resumen de: US20260110100A1

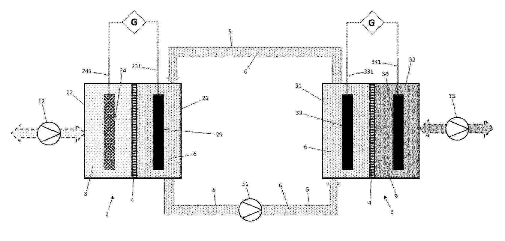
0000 Provided are systems and methods for multi-process generators employing fermentation, desalination, and electrolysis technologies. The generator system includes a fermentation compartment configured to receive a mixture of biomass waste and an anaerobic microorganism solution comprising bacteria for bioenergy production; an electrolysis compartment configured to receive an electrolyte solution comprising a saline mixture, the electrolysis compartment including first and second spaced apart electrodes at least partially submerged in the electrolyte solution; and a desalination compartment positioned between the fermentation compartment and the electrolysis compartment, the desalination compartment configured to receive a saline solution and comprising an anion exchange membrane separating the desalination compartment from the electrolysis compartment and a cation exchange membrane separating the desalination compartment from the fermentation compartment, wherein the desalination compartment is configured to perform ion exchange processes to produce freshwater.

METHOD TO CAPTURE, STORE, AND RETRIEVE SYSTEM CONFIGURATION INFORMATION FROM AN I/O MODULE CONNECTED TO A FIELDBUS

NºPublicación:  US20260112669A1 23/04/2026
Solicitante: 
BLOOM ENERGY CORP [US]
US_20260112669_A1

Resumen de: US20260112669A1

0000 A method for configuring an electrochemical cell system. Embodiments may include a balance of plant functional tester configured to retrieve a fuel cell module (FCM) configuration based on an identifier of a FCM and provide the FCM configuration to a module voltage input/output (MVIO) module of the FCM via a fieldbus message. Embodiments may also include storing the FCM configuration on a memory of the MVIO module and providing it to an electrochemical cell system controller.

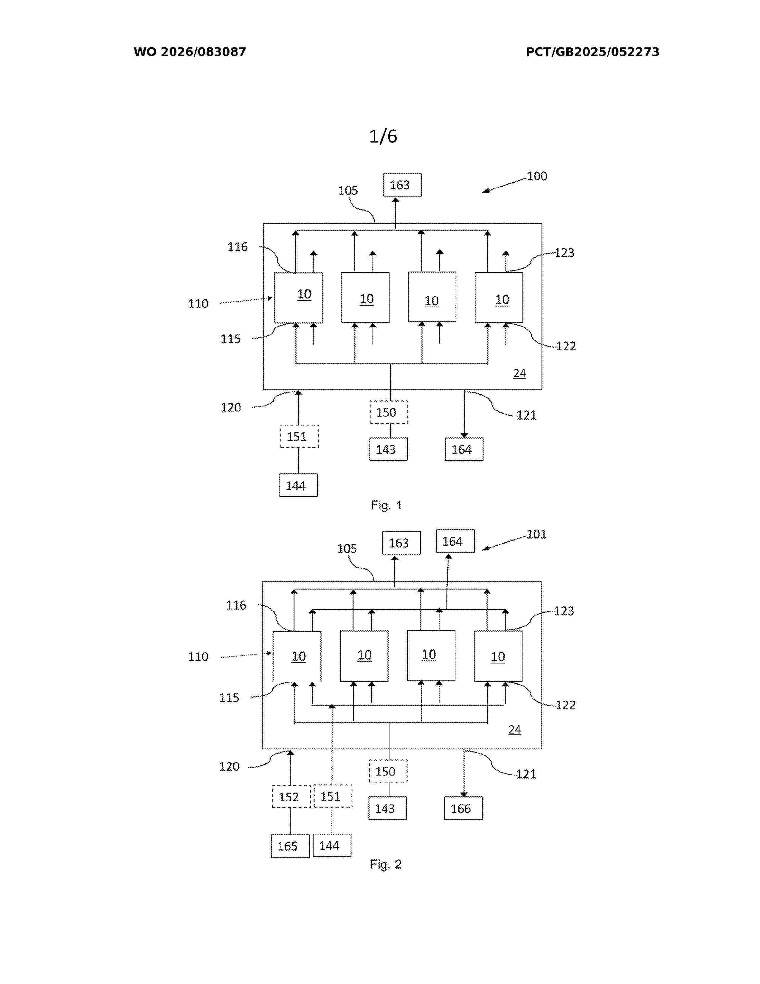
PRESSURISABLE SYSTEM

NºPublicación:  WO2026083087A1 23/04/2026
Solicitante: 
CERES POWER LTD [GB]
WO_2026083087_A1

Resumen de: WO2026083087A1

A system and method for the system. The system comprising at least two pressurisable fluid volumes which are not in fluidic communication with one another, at least two pressure regulators configured to regulate pressure in the respective at least two pressurisable fluid volumes, at least two pilot lines, each configured to provide a reference pressure to a respective one of the at least two pressure regulators, and a flow restriction device. The system is configured such that in a depressurisation condition the at least two pilot lines are in fluidic communication with one another and with the flow restriction device. Further, in the depressurisation condition, the pilot lines are configured to gradually depressurise by flow of fluid therein through the flow restriction device, thereby reducing the reference pressures for the at least two pressure regulators.

Verfahren und Vorrichtung zum Diagnostizieren einer Brennstoffsensorik, Brennstoffzellensystem, Fahrzeug, Computerprogrammprodukt und Speichermedium

NºPublicación:  DE102024130641A1 23/04/2026
Solicitante: 
BAYERISCHE MOTOREN WERKE AG [DE]
DE_102024130641_PA

Resumen de: DE102024130641A1

Die hier offenbarte Technologie betrifft erfindungsgemäß ein Verfahren zum Diagnostizieren einer Brennstoffsensorik (30) eines Brennstoffzellensystems (10), wobei das Brennstoffzellensystem (10) ferner eine Brennstoffzelle (11) mit einer Anode (12) und einer Kathode (13), ein Kathodensystem (38) mit der Kathode (13) und ein Anodensystem (38) mit der Anode (12), einem Anodeneingang (21), einem Anodenausgang (22), einem Anodeneinlasspfad (15) zum Leiten von Brennstoff in den Anodeneingang (21) und einem Anodenauslasspfad (16) zum Leiten von Anodenabgas aus dem Anodenausgang (22) umfasst, aufweisend die Schritte: Ermitteln einer sprungartigen Druckerhöhung im Anodensystem (38), Ermitteln eines Brennstoffverhaltens im Anodensystem (38) über die Druckerhöhung mittels der Brennstoffsensorik (30) und Diagnostizieren der Brennstoffsensorik (30) basierend auf dem ermittelten Brennstoffverhalten. Die Technologie betrifft ferner eine Vorrichtung (80), ein Brennstoffzellensystem (10), ein Fahrzeug (100) und ein Computerprogrammprodukt (40) zum Durchführen des Verfahrens sowie ein computerlesbares Speichermedium (50), auf welchem das Computerprogrammprodukt (40) gespeichert ist.

SOLID ION CONDUCTOR, ELECTRODE AND SOLID OXIDE CELL EACH INCLUDING THE SOLID ION CONDUCTOR

NºPublicación:  US20260112656A1 23/04/2026
Solicitante: 
SAMSUNG ELECTRONICS CO LTD [KR]
US_20260112656_A1

Resumen de: US20260112656A1

0000 A solid ion conductor, an electrode, and a solid oxide cell. The solid ion conductor including a metal oxide having a perovskite structure. The metal oxide includes a first, a second, and a third element, each arranged in a cuboctahedral site of the perovskite structure, and includes a fourth and a fifth element, each arranged in an octahedral site of the perovskite structure, or includes a fourth, a fifth, and a sixth element, each arranged in an octahedral site of the perovskite structure, wherein the first element belongs to Group 3 of the Periodic Table, the second element and the third element each belong to Group 2 and have an atomic weight of 30 or more, the fourth and fifth element each belong to one of Groups 8 to 11, and the sixth element belongs to one of Groups 3, 4, or 7 to 12 of the Periodic Table.

Bipolarplatte und eine Bipolarplatte umfassende elektrochemische Vorrichtung

NºPublicación:  DE102024130749A1 23/04/2026
Solicitante: 
EKPO FUEL CELL TECH GMBH [DE]
DE_102024130749_PA

Resumen de: DE102024130749A1

Um eine Bipolarplatte für eine elektrochemische Einheit einer elektrochemischen Vorrichtung, die mehrere elektrochemische Einheiten umfasst, welche längs einer Stapelrichtung aufeinander folgen, wobei die Bipolarplatte Folgendes umfasst:- eine Versteifungsstruktur an einem äußeren Randbereich der Bipolarplatte und- eine längs des äußeren Randbereichs der Bipolarplatte verlaufende Abdichtschweißnaht, welche mindestens zwei Teilnähte, die sich an mindestens einer Überlappungsstelle überlappen, umfasst,zu schaffen, welche trotz des Vorhandenseins von mindestens einer Überlappungsstelle an der Abdichtschweißnaht eine Verringerung der Außenabmessungen der Bipolarplatte ermöglicht, wird vorgeschlagen, dass die Versteifungsstruktur an mindestens einer Umfangsposition der Bipolarplatte, an welcher eine Überlappungsstelle der Abdichtschweißnaht angeordnet ist, jeweils eine Ausweichzone aufweist, in welcher die Versteifungsstruktur unterbrochen oder in ihrer Breite reduziert ist.

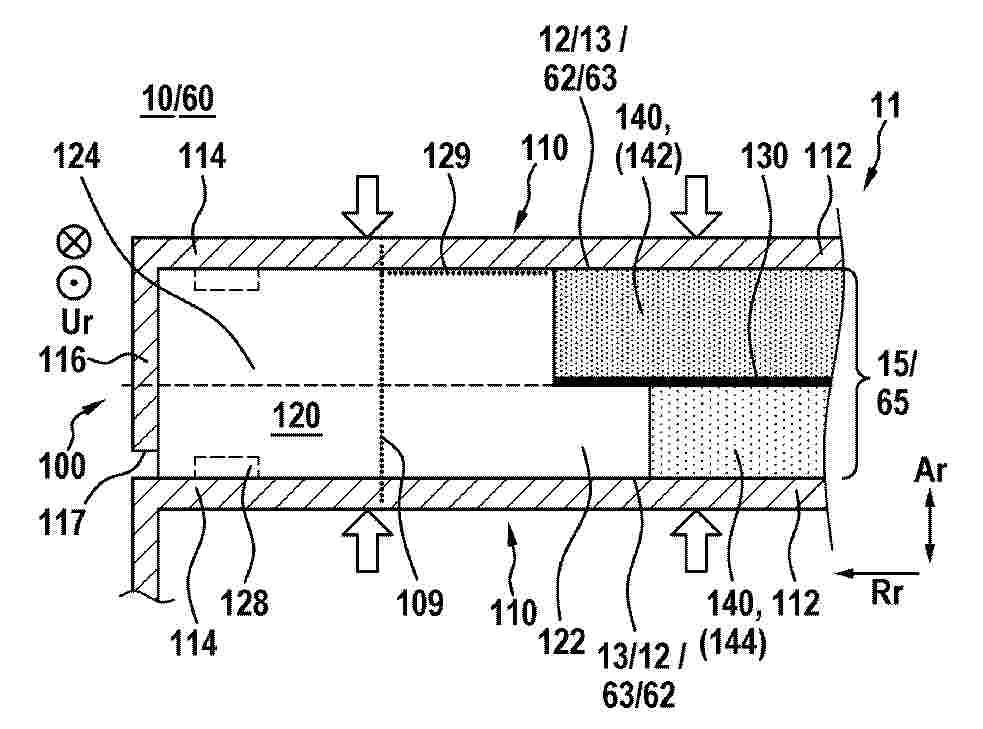
Verfahren zum Betreiben eines Brennstoffzellensystems

NºPublicación:  DE102024210201A1 23/04/2026
Solicitante: 
BOSCH GMBH ROBERT [DE]
DE_102024210201_PA

Resumen de: DE102024210201A1

Verfahren zum Betreiben eines Brennstoffzellensystems (1), wobei das Brennstoffzellensystems (1) einen Brennstoffzellenstack (101), eine Luftleitung (10), eine Abgasleitung (12), eine Brennstoffleitung (20) und eine Rezirkulationsleitung aufweist, wobei die Abgasleitung (12) mit der Luftleitung (10) über eine AGR-Leitung (30) mit einem AGR-Ventil (31) verbunden ist und eine Purgeleitung (40) mit Purgeventil (41) die Rezirkulationsleitung (50) mit der Abgasleitung (12) oder AGR-Leitung (30) verbindet. Es wird ein Öffnungsgrad des AGR-Ventils (31) ermittelt und dieser Öffnungsgrad wird bei der Ermittlung der H2-Konzentration in der Abgasleitung (12) berücksichtigt.

Rotor für ein Gebläse für eine Brennstoffzellenanordnung für ein Fahrzeug, insbesondere Nutzfahrzeug, Gebläse, Brennstoffzellenanordnung, Fahrzeug

NºPublicación:  DE102024130888A1 23/04/2026
Solicitante: 
ZF CV SYSTEMS GLOBAL GMBH [CH]
DE_102024130888_PA

Resumen de: DE102024130888A1

Rotor (9) für ein Gebläse (1) für eine Brennstoffzellenanordnung (205) für ein Fahrzeug (200a), insbesondere Nutzfahrzeug (200b); wobei der Rotor (9) eine Motorwelle (7) mit wenigstens einem Lagersitz (7a) für ein Luftlager (18, 19) zur drehbaren Lagerung der Motorwelle (7) aufweist; der Rotor (9) eine drehfest mit der Motorwelle (7) verbundene Haltevorrichtung (13) mit wenigstens einem innerhalb der Haltevorrichtung (13) gehalterten Dauermagnetelement (9a) aufweist; und der Rotor (9) einen an der Haltevorrichtung (13) angeordneten Wärmkörper (30) aufweist; wobei der Wärmkörper (30) aus einem ersten Material (M1) besteht und die Haltevorrichtung (13) aus einem von dem ersten Material (M2) verschiedenen zweiten Material (M2) besteht, wobei das erste Material (M1) elektrisch leitfähig ist; und das erste Material (M1) und das zweite Material (M2) jeweils nichtmagnetisch ist.

POLYACRYLONITRILE GEL MEMBRANES

NºPublicación:  WO2026082843A1 23/04/2026
Solicitante: 
SYENSQO SPECIALTY POLYMERS ITALY S P A [IT]
POLITECNICO DI TORINO [IT]
WO_2026082843_A1

Resumen de: WO2026082843A1

The present invention pertains to a process for the manufacture of a polymer electrolyte membrane comprising a polyacrylonitrile-based polymer and to uses of said electrolyte membrane in various applications, particularly in electrochemical applications.

Verfahren zum Austragen von Wasser aus einem Brennstoffzellensystem, Brennstoffzellensystem

NºPublicación:  DE102024210158A1 23/04/2026
Solicitante: 
BOSCH GMBH ROBERT [DE]
DE_102024210158_PA

Resumen de: DE102024210158A1

Verfahren zum Austragen von Wasser aus einem Brennstoffzellensystem (100), wobei das Brennstoffzellensystem (100) mindestens einen Brennstoffzellenstack (101), einen mit einer Kathodenseite (105) des Brennstoffzellenstacks (101) fluidkommunizierenden Luftpfad (10), eine Abgasleitung (12), eine mit einer Anodenseite (103) des Brennstoffzellenstacks (101) fluidkommunizierende Brennstoffleitung (20) aufweist, wobei in der Abgasleitung (12) mindestens ein ansteuerbares Ventil (46), insbesondere eine Drosselklappe, angeordnet ist, wobei in der Brennstoffleitung (20) ein pulsierender Anodengasstrom erzeugt wird, so dass pulsierende Druckschwingungen auf die Anodenseite (103) entstehen Das mindestens eine ansteuerbare Ventil (46) wird mittels einer Kontrolleinheit (60) angesteuert, um pulsierende Druckschwingungen auf der Kathodenseite (105) zu erzeugen.

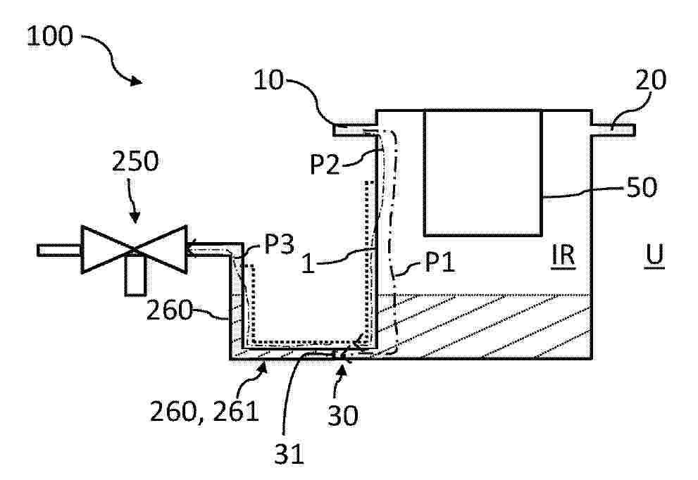
Fluidabscheider, Brennstoffzellensystem sowie Verfahren zum Ablassen eines Ablassfluids eines Fluidabscheiders

NºPublicación:  DE102024130791A1 23/04/2026
Solicitante: 
BAYERISCHE MOTOREN WERKE AG [DE]
DE_102024130791_PA

Resumen de: DE102024130791A1

Die vorliegende Erfindung betrifft einen Fluidabscheider (100) zum Abtrennen zumindest eines Abtrennfluids aus einem Gasgemisch. Der Fluidabscheider (100) umfasst einen Gasgemischeingang (10) zum Zuführen des Gasgemisches, einen Gasgemischausgang (20) zum Abführen eines zumindest teilweise bereinigten Gasgemisches, einen Ablassausgang (30) zum Ablassen eines Ablassfluids, zumindest eine Fluidabscheider-Wand (1) zum zumindest abschnittsweisen Begrenzen eines Innenraums (IR) des Fluidabscheiders (100), sowie zumindest einen Ablass-Strömungspfad (P1) des Ablassfluids, wobei sich der Ablass-Strömungspfad (P1) zumindest von dem Gasgemischeingang (10) entlang der Fluidabscheider-Wand (1) zu dem Ablassausgang (30) fluidtechnisch erstreckt, und wobei die Fluidabscheider-Wand (1) zumindest abschnittsweise entlang des Ablass-Strömungspfades (P1) elastisch verformbar ausgestaltet ist.

HYDROGEN FUEL CELL SHIP WITH HYDROGEN TUBE TRAILER APPLIED THERETO

NºPublicación:  WO2026084084A1 23/04/2026
Solicitante: 
VINSSEN CO LTD [KR]
\uC8FC\uC2DD\uD68C\uC0AC \uBE48\uC13C
WO_2026084084_A1

Resumen de: WO2026084084A1

The present disclosure relates to a hydrogen fuel cell ship comprising: a hydrogen fuel cell; a fuel chamber which is located on a deck of the hydrogen fuel cell ship and is partitioned by one or more fuel chamber partition walls; and a hydrogen supply unit which supplies hydrogen to the hydrogen fuel cell from a hydrogen fuel container located in the fuel chamber, wherein the fuel chamber comprises: a hydrogen fuel container fixing portion comprising a twist lock foundation installed on the deck of the hydrogen fuel cell ship; the hydrogen fuel container loaded on the hydrogen fuel container fixing portion; and a buffering space formed between the fuel chamber partition walls spaced apart from the side surface of the hydrogen fuel container.

HIGH PERFORMANCE HYBRID POLYACRYLONITRILE COMPOSITES MEMBRANES

NºPublicación:  WO2026082841A1 23/04/2026
Solicitante: 
SYENSQO SPECIALTY POLYMERS ITALY S P A [IT]
POLITECNICO DI TORINO [IT]
WO_2026082841_A1

Resumen de: WO2026082841A1

The present invention pertains to a process for the manufacture of a hybrid organic/inorganic composite, to a polymer electrolyte membrane based on said hybrid and to uses of said electrolyte membrane in various applications, particularly in electrochemical applications.

Sensor zur Erfassung zum Nachweis mindestens einer vorbestimmten Komponente in einem mehrere Komponenten enthaltenden gasförmigen Fluid

NºPublicación:  DE102024210134A1 23/04/2026
Solicitante: 
BOSCH GMBH ROBERT [DE]
DE_102024210134_PA

Resumen de: DE102024210134A1

Es wird ein Sensor (10) zum Nachweis mindestens einer vorbestimmten Komponente in einem mehrere Komponenten enthaltenden gasförmigen Fluid (12) vorgeschlagen. Der Sensor (10) umfasst ein Sensorelement (20) mit mindestens einer beheizbaren Messmembran (22) in einem Messraum (16), einer Referenzmembran (32) in einem Referenzraum (34) und mit mindestens einer elektrischen Messbrücke (48), wobei der Sensor (10) weiterhin zur Erfassung eines elektrischen Widerstands der Messbrücke (48) ausgebildet ist, wobei der Sensor (10) weiterhin zur Erfassung eines auf die Messbrücke (48) einwirkenden Drucks basierend auf dem erfassten elektrischen Widerstand der Messbrücke (48) ausgebildet ist, wobei die Messbrücke (48) auf der Messmembran (22) und/oder der Referenzmembran (32) und/oder einer Zusatzmembran (60) angeordnet ist. Weiterhin wird ein Brennstoffzellensystem (62) mit einem Sensor (10) vorgeschlagen.

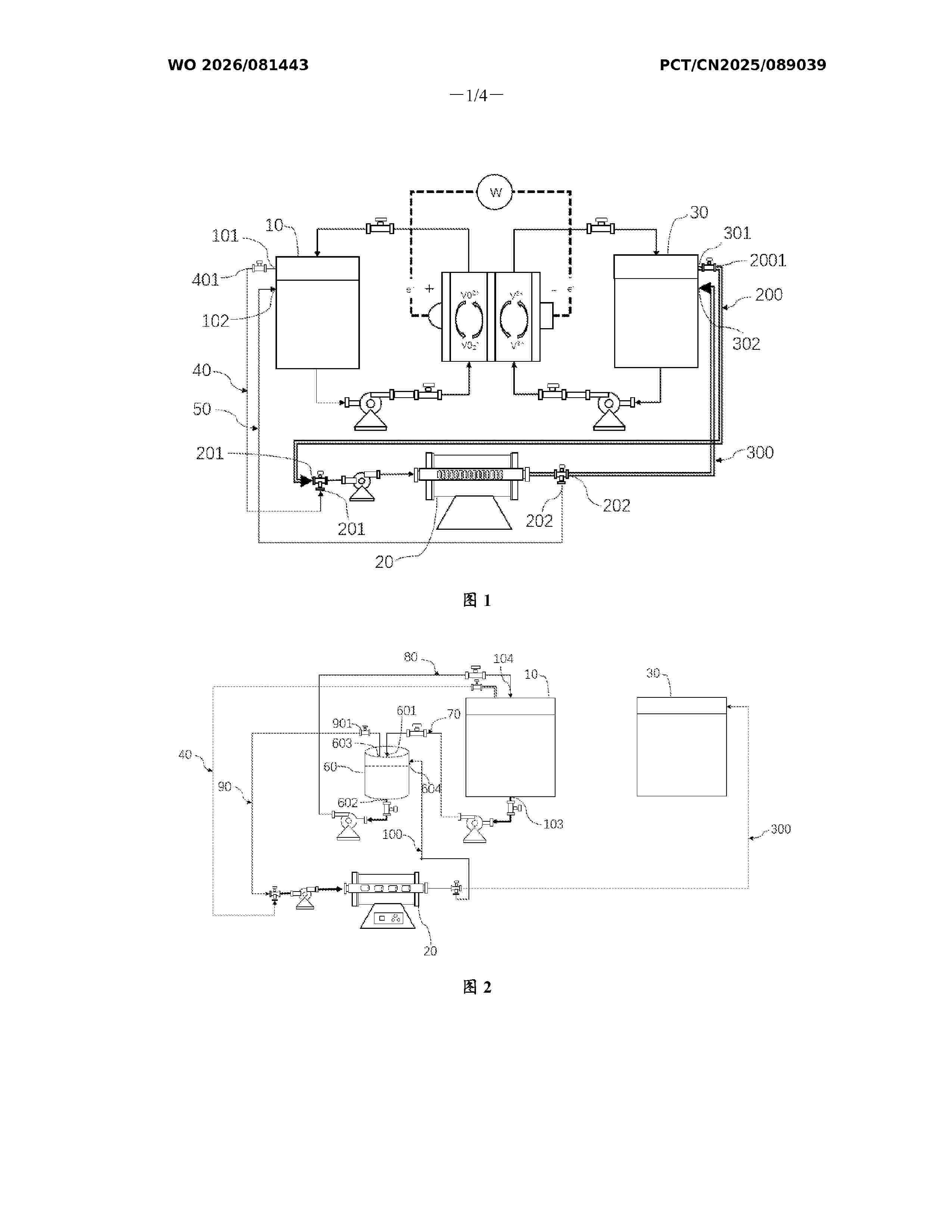
FLOW BATTERY CYCLE RECOVERY SYSTEM AND METHOD

NºPublicación:  WO2026081443A1 23/04/2026
Solicitante: 
DALIAN RONGKE POWER GROUP CO LTD [CN]
\u5927\u8FDE\u878D\u79D1\u50A8\u80FD\u96C6\u56E2\u80A1\u4EFD\u6709\u9650\u516C\u53F8
WO_2026081443_A1

Resumen de: WO2026081443A1

A flow battery cycle recovery system and method. The flow battery cycle recovery system comprises: a positive electrode liquid storage tank containing a positive electrode electrolyte, wherein the positive electrode electrolyte contains reducing ions and active ions, and the reducing ions can react with the active ions to reduce the valence state of the active ions and generate a first oxidizing gas; a catalytic reaction apparatus containing a catalyst, wherein the catalytic reaction apparatus can receive the first oxidizing gas to oxidize and immobilize the catalyst; and a negative electrode liquid storage tank containing a negative electrode electrolyte, wherein the negative electrode electrolyte undergoes a side reaction to generate a first reducing gas. The catalytic reaction apparatus can receive the first reducing gas, the first reducing gas is used for reducing the oxidized catalyst, and the resulting acid gas can be returned to the negative electrode liquid storage tank.

ASSEMBLY LINE AND METHOD FOR MANUFACTURING MODULES OR PRECURSORS OF MODULES

NºPublicación:  WO2026082330A1 23/04/2026
Solicitante: 
MB AUTOMATION GMBH & CO KG [DE]
WO_2026082330_A1

Resumen de: WO2026082330A1

An assembly line comprises a transport route for conveying first, second, and third workpiece carriers through process stations. Each first workpiece carrier is designed and equipped to receive at least one first electrode stack, a second electrode stack, and a supplied cover on a support of the workpiece carrier in a first process station and to fix them as a package. The electrode stacks and the cover with its associated positive and negative poles and respective contacts contact a first and a second connection tab of the two electrode stacks. The fixed package is fed to a measuring to measure the position and alignment of the package on the support and to signal this to a control system for the transport route. The package is fed to a trimming station to trim the first and second connection tabs of the electrode stacks and the contacts of the cover. The package is fed to a connecting station to connect the first and second connection tabs of the electrode stacks and the respective contacts of the cover to each other. The package is transferred to one of the second workpiece carriers in the second process station. Each of the second workpiece carriers feeds the package to an inspection station to inspect the package for properties and manufacturing details, feeds the inspected package to an insulation station to electrically insulate at least some areas of the package, and transfers the package to one of the third workpiece carriers in the third process station. Each of the

OPERATING MEDIA SUPPLY UNIT FOR A FUEL CELL STACK

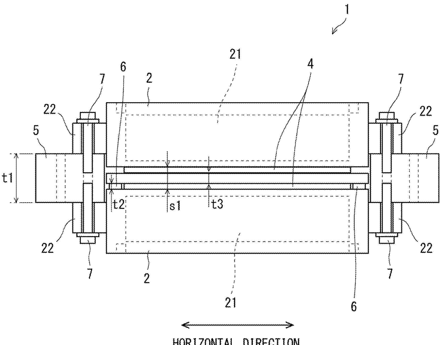
NºPublicación:  WO2026080959A1 23/04/2026
Solicitante: 
AVL LIST GMBH [AT]
WO_2026080959_A1

Resumen de: WO2026080959A1

The invention relates to an operating media supply unit (100) for a fuel cell stack (300). The operating media supply unit (100) has operating media discharge lines (121, 122, 123) for discharging fluid operating media from the fuel cells (360) of the fuel cell stack (300) and has operating media supply lines (111, 112, 113) for supplying fluid operating media to the fuel cells (360) of the fuel cell stack (300). The operating media supply lines (111, 112, 113) have a coolant supply line (113) and a cathode feed gas supply line (111) which are coupled to one another in a heat-transferring manner via a heat transfer portion (130) in order to change the temperature of a cathode feed gas (KZG) which is conducted, as one of the operating media, in the cathode feed gas supply line (111) to the fuel cell stack (300). The invention further relates to a fuel cell system (400) having a fuel cell stack (300) which is fluidically connected to the operating media supply unit (100) for the supply and discharge of the operating media. The invention further relates to a method for controlling the temperature of the cathode feed gas in the operating media supply unit (100), wherein the line portion of the coolant supply line (113) has a cross-sectional profile of which the cross-sectional area decreases, in relation to to the cross-sectional area at the external connection (140), with increasing proximity to the stack connection (150).

METHODS AND SYSTEMS FOR OPTIMIZING OPERATION OF AN ELECTROCHEMICAL SYSTEM

NºPublicación:  US20260112670A1 23/04/2026
Solicitante: 
ELECTRIC HYDROGEN CO [US]
US_20260112670_A1

Resumen de: US20260112670A1

0000 The following disclosure relates to systems and methods for optimizing an operation of an electrochemical system. An optimization system may include a processor configured to determine an adjustment to one or more setpoints for the operation of the electrochemical system based on an optimization model that takes into account a desired performance parameter, an operating load point of the electrochemical system, and/or operating conditions of the electrochemical system received by the processor. In other examples, the optimization system includes a controller configured to: receive desired operating set points for operation of an electrochemical system; receive operating conditions of the electrochemical system; and determine an adjustment to an off-taker control valve, an electrochemical stack pressure control valve, a power supply unit, or a combination thereof based on an optimization model.

METHOD, CONTROL DEVICE, AND COMPUTER PROGRAM FOR DETERMINING THE NITROGEN CONCENTRATION IN THE GAS MIXTURE IN AN ANODE LINE SYSTEM OF A FUEL CELL SYSTEM, AND NITROGEN CONCENTRATION DETERMINING DEVICE, FUEL CELL SYSTEM, VEHICLE, AND COMPUTER-READABLE MEDIUM

NºPublicación:  WO2026082386A1 23/04/2026
Solicitante: 
SCHAEFFLER TECH AG & CO KG [DE]
WO_2026082386_A1

Resumen de: WO2026082386A1

The invention relates to a method, a control device (160), and a computer program for determining the nitrogen concentration in the gas mixture in an anode conducting system (130) of a fuel cell system (100) and to a nitrogen concentration determining device (150), to a fuel cell system (100), to a vehicle, and to a compuer-readable medium. The method according to the invention has the steps of receiving a first pressure signal which is representative of the pressure of the fuel received by a jet pump (139); receiving a second pressure signal which is representative of the pressure of the gas mixture in the anode line system (130) downstream of the fuel cell (110); receiving a first temperature signal which is representative of the temperature of the gas mixture in the anode line system (130) downstream of the fuel cell (110); receiving a second temperature signal which is representative of the temperature of the gas mixture in the anode line system (130) upstream of the fuel cell (110); determining the nitrogen concentration in the anode line system (130) of the fuel cell system (100) on the basis of the received signals; and transmitting a nitrogen signal which is representative of the determined nitrogen concentration.

COMPRESSION SYSTEMS FOR ELECTROCHEMICAL STACKS

NºPublicación:  US20260112676A1 23/04/2026
Solicitante: 
ELECTRIC HYDROGEN CO [US]
US_20260112676_A1

Resumen de: US20260112676A1

A system and method of actively managing electrochemical stack compression using a hybrid compression system is provided. The method includes: receiving, by a data acquisition unit, stack data from an electrochemical stack in real time; providing, by the data acquisition unit, the stack data to a first compression controller and to a second compression controller; controlling, by the first compression controller, a first compression system configured to provide first adjustments to a compression force applied to the electrochemical stack; and controlling, by the second compression controller, a second compression system configured to provide second adjustments to the compression force on the electrochemical stack. The first compression system may be configured to provide the first adjustments to the compressive force during start-up and/or shutdown of the electrochemical stack. The second compression system may be configured to provide the second adjustments during the steady-state operation of the electrochemical stack.WO

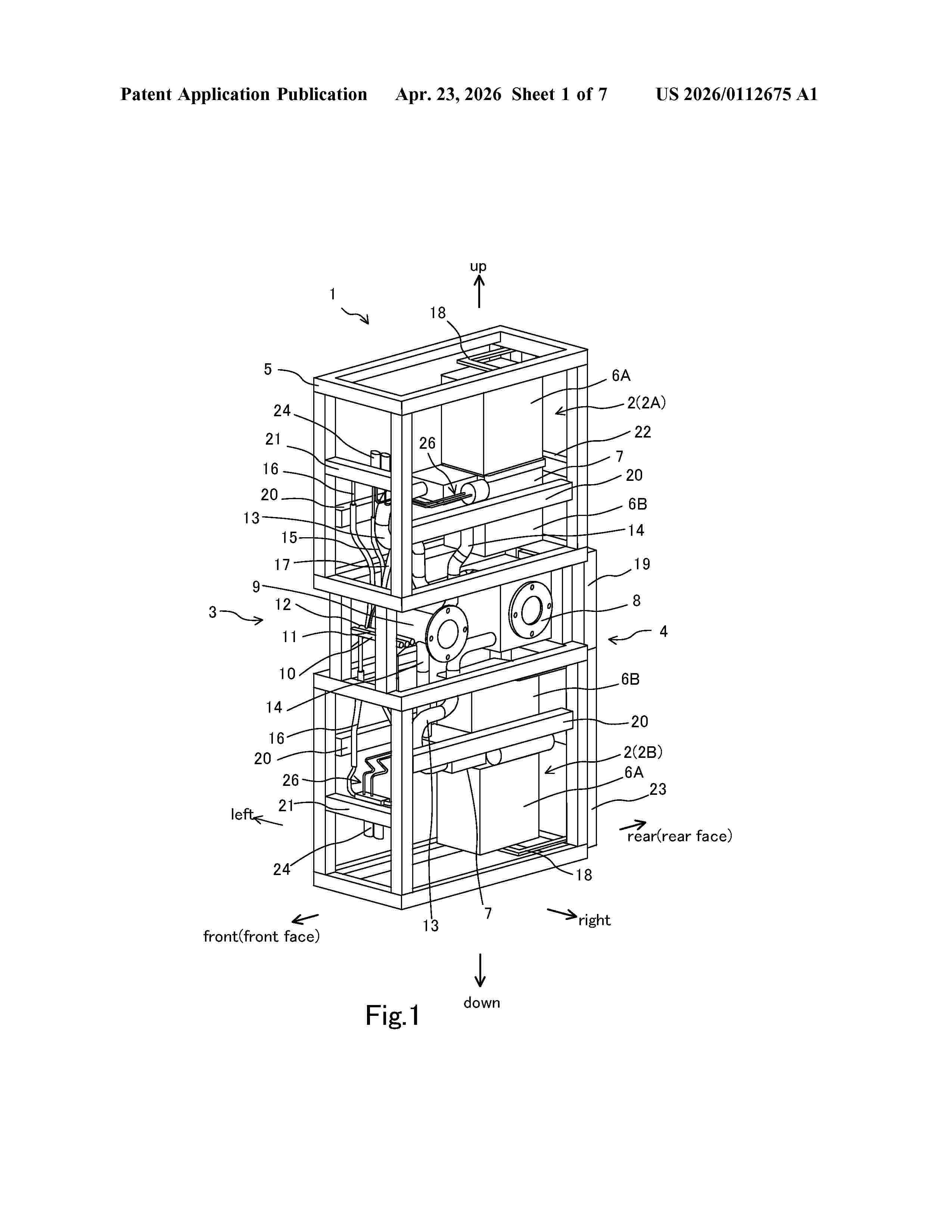
STATIONARY FUEL CELL SYSTEM

NºPublicación:  US20260112675A1 23/04/2026
Solicitante: 
NISSAN MOTOR CO LTD [JP]
US_20260112675_A1

Resumen de: US20260112675A1

0000 A stationary fuel cell system includes: two power generation modules each including an auxiliary machine structure including an auxiliary machine that receives and transmits gas to and from a fuel cell stack, and a fuel cell stack connected to at least one surface of the auxiliary machine structure in an up-down direction; a pipe module including an intake pipe through which air to be supplied to the power generation module flows and an exhaust pipe through which air discharged from the power generation module flows; and an electrical equipment module including a main power line that is connected to a branch power line drawn out from the fuel cell stack and sends power generated by the power generation module to an external power converter.

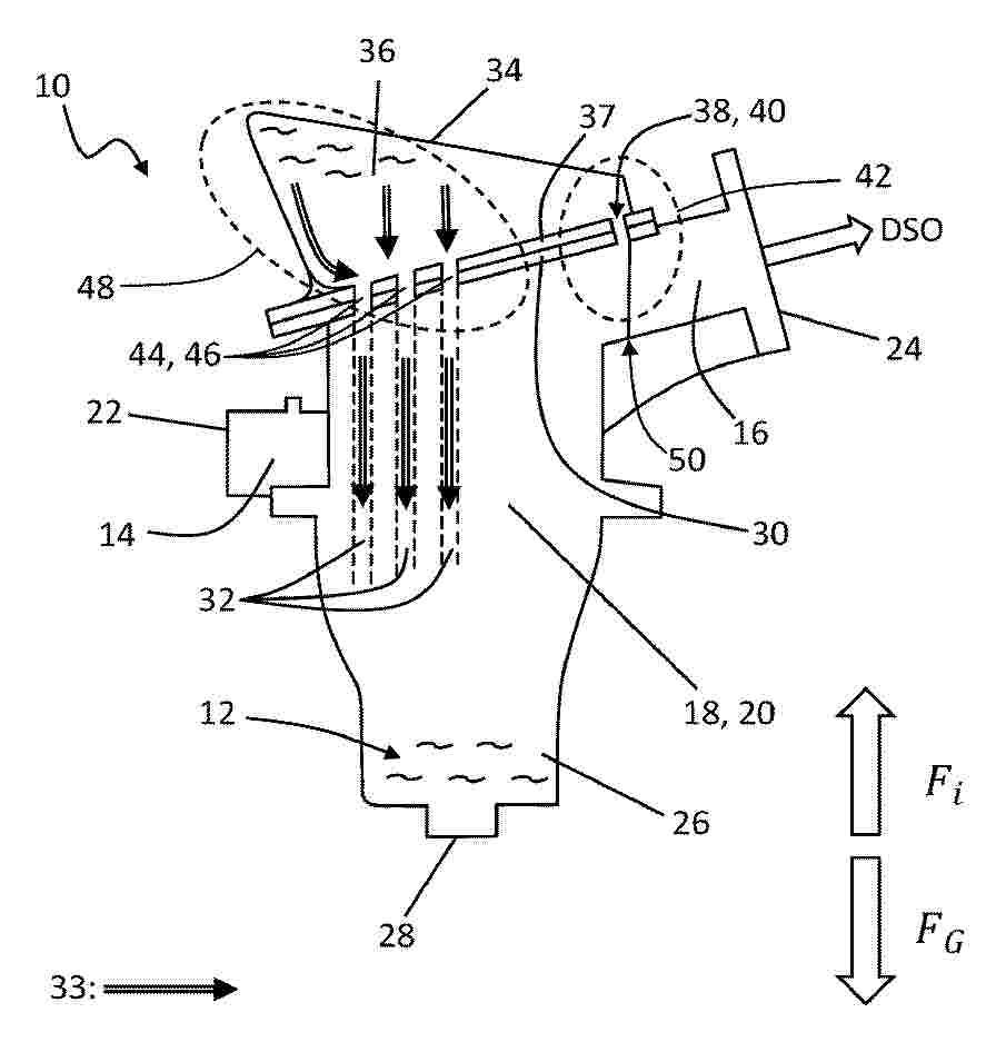
FUEL CELL AND METHOD OF FORMING A FUEL CELL

NºPublicación:  US20260112661A1 23/04/2026
Solicitante: 
RESPONSE TECH LLC [US]
US_20260112661_A1

Resumen de: US20260112661A1

0000 A fuel cell includes a flexible body and first and second fittings attached to the flexible body. The first and second fittings each include a first opening configured for ingress or egress of a fluid, and each include second openings extending through outer portions of the first and second fittings. The first and second fittings are more rigid than the flexible body. The fuel cell further includes a first elongated interconnect attached to the first fitting through one or more of the second openings extending through the outer portion of the first fitting and connected to the second fitting through one or more of the second openings extending through the outer portion of the second fitting such that the first elongated interconnect couples together the first and second fittings.

REDOX FLOW BATTERY AND METHOD FOR OPERATING SAME

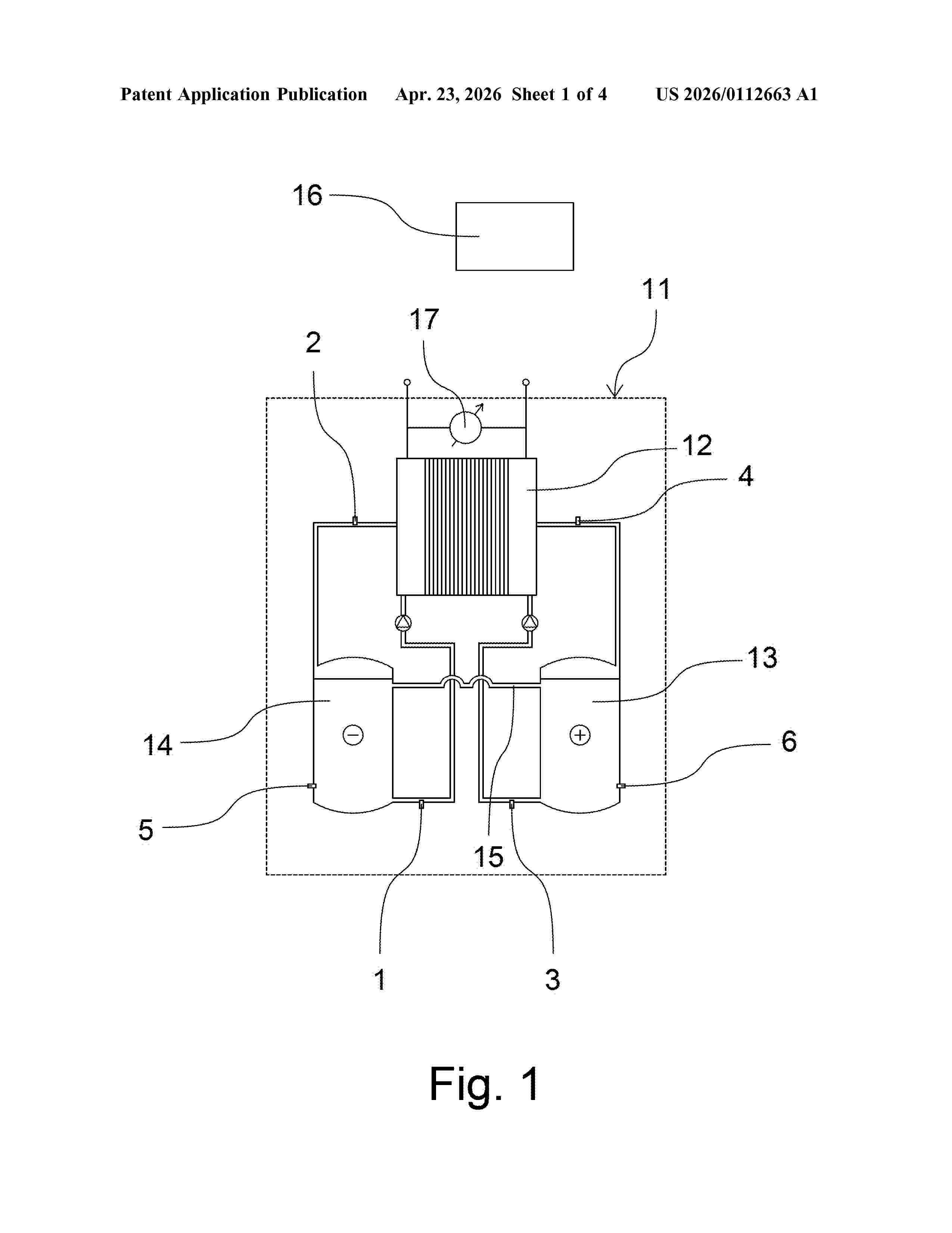
NºPublicación:  US20260112663A1 23/04/2026
Solicitante: 
LIVA POWER MAN SYSTEMS GMBH [DE]
US_20260112663_A1

Resumen de: US20260112663A1

A redox flow battery includes a cell arrangement and a measuring apparatus for determining the charging state. The measuring apparatus comprises includes a hydraulic connecting line which connects the first tank to the second tank so that there is a permanent electrical connection between the electrolyte liquids in the two tanks. The measuring apparatus includes at least two electrodes. A first electrode is arranged directly in the positive electrolyte circuit. A second electrode is arranged directly in the negative electrolyte circuit. The redox flow battery includes a control apparatus which is designed such that it can detect a voltage difference between two electrodes.

COOLING MULTIPLE PARALLEL HYDROGEN FUEL CELL MODULES

NºPublicación:  US20260112662A1 23/04/2026
Solicitante: 
CUMMINS INC [US]
US_20260112662_A1

Resumen de: US20260112662A1

0000 A fuel cell electrical power system includes a first fuel cell module, a second fuel cell module, a heat exchanger, a common coolant, a first coolant piping branch, and a second coolant piping branch. A first pump and two valves are disposed on the first coolant branch, and a second pump and two valves are disposed on the second coolant branch. The fuel cell electrical power system is capable of functioning in a condition in which the second fuel cell module and the second pump are not operating to cause substantially all of the flow of coolant fluid generated by the first pump to circulate through the common coolant piping and to circulate substantially none of the flow of the coolant fluid generated by the first pump through the second fuel cell module.

USE OF RENEWABLE ENERGY IN AMMONIA SYNTHESIS

NºPublicación:  US20260108861A1 23/04/2026
Solicitante: 
SABIC GLOBAL TECH B V [NL]
US_20260108861_A1

Resumen de: US20260108861A1

0000 An ammonia synthesis plant comprising: a feed pretreating section operable to pretreat a feed stream; a syngas generation section operable to reform the feed stream to produce a reformer product stream; a shift conversion section operable to subject the reformer product stream to the water gas shift reaction, to produce a shifted gas stream comprising more hydrogen than the reformer gas stream; a purification section operable to remove at least one component from the shifted gas stream, and provide an ammonia synthesis feed stream; and/or an ammonia synthesis section operable to produce ammonia from the ammonia synthesis feed stream, wherein the ammonia synthesis plant is configured such that, relative to a conventional ammonia synthesis plant, more of the energy required by the ammonia synthesis plant or one or more sections thereof is provided by a non-carbon based energy source, a renewable energy source, and/or electricity.

FUEL CELL SYSTEM

NºPublicación:  US20260112665A1 23/04/2026
Solicitante: 
HONDA MOTOR CO LTD [JP]
US_20260112665_A1

Resumen de: US20260112665A1

0000 A fuel cell system including a plurality of fuel cells, and an electronic control unit configured to control the plurality of fuel cells. The electronic control unit includes a microprocessor and a memory connected to the microprocessor, and each of the plurality of fuel cells includes a temperature detection part configured to detect a temperature of the each of the plurality of fuel cells. The microprocessor is configured to perform the controlling including controlling the plurality of fuel cells such that all of the plurality of fuel cells perform a predetermined warm-up operation when the temperature detected by the temperature detection part of at least one of the plurality of fuel cells is equal to or lower than a predetermined temperature, after a startup of the plurality of fuel cells.

SOLID OXIDE STACK WITH OPEN AIR FLOW CHANNELS

NºPublicación:  EP4730446A1 22/04/2026
Solicitante: 
KOREA INST ENERGY RES [KR]
EP_4730446_PA

Resumen de: EP4730446A1

Disclosed is a solid oxide stack. The solid oxide stack according to the present invention includes: a module formed by stacking a plurality of unit cells; an upper manifold and a lower manifold installed to support a top surface and a bottom surface of the module, respectively; wherein each unit cell includes a cell frame with a central opening, an air electrode current collector, a solid oxide cell, and a fuel electrode current collector sequentially stacked and seated within the central opening, an interconnect formed on the cell frame having a fuel flow channel on one surface and an air flow channel on the opposite surface, a cell sealant positioned at the interface between the cell frame and the solid oxide cell, and a fuel electrode sealant positioned at the interface between the cell frame and the interconnect; and wherein the air flow channel opens to at least one side of the module. According to the present invention, the stack provides a removable modular unit structure without requiring an air electrode sealant, allowing defective or aged cells to be easily replaced without affecting the stack's overall performance. This simplifies maintenance, extends the stack's lifespan, and reduces operational costs.

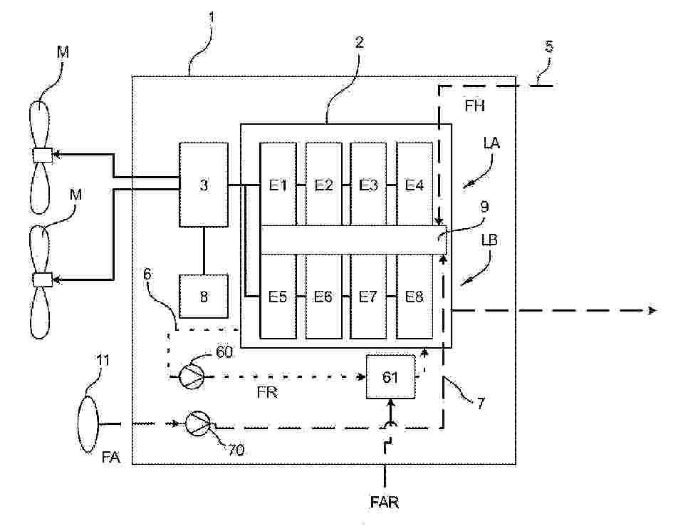
SYSTEM FOR SUPPLYING ELECTRICAL POWER TO AN AIRCRAFT-PROPELLING ELECTRIC MOTOR COMPRISING A FUEL CELL

NºPublicación:  EP4728577A1 22/04/2026
Solicitante: 
SAFRAN POWER UNITS [FR]
FR_3149867_PA

Resumen de: WO2024256299A1

The invention relates to a system (1) for supplying electrical power to at least one aircraft-propelling electric motor (M), the system (1) for supplying electrical power comprising a fuel cell (2), which is configured to be fed with a flow of air (FA) and with a flow of hydrogen (FH) and configured to supply electric power to an electrical distribution unit (3) that is configured to be connected to said propelling electric motor (M), the fuel cell (2) comprising at least a first electrochemical line (LA) and a second electrochemical line (LB) that are mounted electrically in parallel, each electrochemical line (LA, LB) comprising at least two independent stacks (E1-E8) mounted electrically in series, each stack (E1-E8) comprising a plurality of electrochemical cells.

MANAGING TRANSITION OF A FUEL CELL VEHICLE TO A HOT OPERATING MODE

NºPublicación:  EP4729339A1 22/04/2026
Solicitante: 
VOLVO TRUCK CORP [SE]
EP_4729339_PA

Resumen de: EP4729339A1

0001 A system and method for controlling transition of a fuel cell vehicle from a normal operating mode to a hot operating mode comprising a fuel saving operating mode. The method comprises determining a required value of a traction power from the fuel cell system for the fuel cell vehicle; determining a net electric power output value of the fuel cell system based on a fuel cell system power output and a cooling electrical power value; and controlling the fuel cell vehicle to transition from the normal operating mode to the hot operating mode via a first transition mode or via a second transition mode so that the net electric power output value is equal to the required value of the traction power and a coolant inlet temperature at a coolant inlet of a fuel cell stack of a fuel cell system of the fuel cell vehicle is equal to a hot coolant temperature.

MANAGING TRANSITION OF A FUEL CELL VEHICLE TO A HOT OPERATING MODE

NºPublicación:  EP4729340A1 22/04/2026
Solicitante: 
VOLVO TRUCK CORP [SE]
EP_4729340_PA

Resumen de: EP4729340A1

A system and method for controlling transition of a fuel cell vehicle from a normal operating mode to a hot operating mode when a power demand from a fuel cell system of the fuel cell vehicle increases. The method comprises determining a required value of a traction power from the fuel cell system for the fuel cell vehicle; determining a net electric power output value of the fuel cell system based on a fuel cell system power output and a cooling electrical power value; and controlling the fuel cell vehicle to transition from the normal operating mode to the hot operating mode by increasing the net electrical power output from a first fuel cell system output level threshold level to a second fuel cell system output level threshold level beyond which an increase in the fuel cell power output results in a decrease in the net electric power output value.

REDOX FLOW BATTERY

NºPublicación:  EP4730449A1 22/04/2026
Solicitante: 
CENTRE NAT RECH SCIENT [FR]
UNIV DE LORRAINE [FR]
EP_4730449_PA

Resumen de: EP4730449A1

The invention relates to Redox flow battery comprising at least one electrochemical cell (CEC), a further electrochemical cell (SEC), an electrode disposed or arranged within each electrochemical half-cell, an ion-exchange membrane separating the two electrochemical half-cells of each electrochemical cell and circulating means arranged to circulate a first electrolytic media intended to be received in the battery through an electrochemical half-cell (FCEHC) of each of the at least one electrochemical cell and through an electrochemical half-cell (FSEHC) of the further electrochemical cell. One electrochemical half-cell (SSEHC) of SEC comprises at least one redox couple My/Mx insoluble in a second electrolytic media intended to be received in the SSEHC, according to formula 1 My + pe- ↔ Mx, formula 1, wherein x and y are oxidation number. The FSEHC is arranged to reduce an oxidized state Cb to a reduced state Cc, and conversely, of at least one redox couple Cb/Cc comprised in the first electrolytic media according to formula 2 Cb + ne- ↔ Cc, formula 2, wherein b and c are oxidation number. An absolute potential difference |ΔE1| between a redox potential E(Cb/Cc) of the at least one couple Cb/Cc, in a given or predetermined first electrolytic media, and a redox potential E(My/M<

CONTROLLING A FUEL CELL SYSTEM POWER OUTPUT

NºPublicación:  EP4729337A1 22/04/2026
Solicitante: 
VOLVO TRUCK CORP [SE]
EP_4729337_PA

Resumen de: EP4729337A1

A method and control system for a fuel cell system for a fuel cell vehicle comprising the fuel cell system comprising at least one fuel cell stack, and a cooling system. Processing circuitry of the control system may be configured to, for each fuel cell system power output in a plurality of fuel cell system power outputs, determine a cooling electrical power value indicative of cooling electrical power required to be supplied by the fuel cell system to the cooling system for rejecting output heat generated at least by the fuel cell system, determine a net electric power output value indicative of net electric power output that can be supplied from the fuel cell system to one or more electric power consumers when operating to produce the fuel cell system power output, and using the net electric power output value for determining a fuel cell system output level threshold for the fuel cell system.

MANAGING DEGRADATION IN HOT MODE OPERATION OF A FUEL CELL VEHICLE

NºPublicación:  EP4729338A1 22/04/2026
Solicitante: 
VOLVO TRUCK CORP [SE]
EP_4729338_PA

Resumen de: EP4729338A1

0001 A system and method of controlling operation of a fuel cell vehicle comprising a fuel cell system comprising a fuel cell stack. The method comprises obtaining route data of a route for the vehicle that comprises at least one section of the route wherein switching from a hot operating mode to a normal operating mode can be performed; when a state of health (SoH) of the fuel cell stack is within a target SoH and the vehicle assumes the hot operating mode, controlling the vehicle to either assume the normal operating mode or remain operating in the hot operating mode during the section of the route, based on an expected degradation of the fuel cell stack due to switching between the hot and normal operating modes and an expected degradation of the fuel cell stack due to the vehicle remaining operating in the hot operating mode when passing the section of the route.

ELECTROCHEMICAL CELL

NºPublicación:  EP4728576A1 22/04/2026
Solicitante: 
FORTESCUE FUTURE IND PTY LTD [AU]
WO_2024254649_PA

Resumen de: WO2024254649A1

An electrochemical cell comprising a non electrically-conductive structural frame for supporting components of the electrochemical cell and a tensioning element, wherein the structural frame comprises engagement means adapted to engage the tensioning element, wherein the engagement means comprises at least two bosses on the structural frame, each boss adapted to engage with a corresponding aperture on the tensioning element.

SYSTEMS AND METHODS FOR MANUFACTURING A FUEL CELL INTERCONNECT

NºPublicación:  EP4728580A2 22/04/2026
Solicitante: 
GE VERNOVA INFRASTRUCTURE TECH LLC [US]
WO_2024258722_PA

Resumen de: WO2024258722A2

The present disclosure generally relates to systems and methods comprising a bipolar plate interconnect. The bipolar plate interconnect includes a porous membrane metallurgically attached to a first side of a first stainless steel structure, and a nickel-phosphorous layer of non-uniform thickness positioned between the porous membrane and the stainless steel structure.

ELECTROCHEMICAL CELL AND METHOD AND SYSTEM FOR MANUFACTURING AN ASSEMBLY FOR THE ELECTROCHEMICAL CELL

NºPublicación:  EP4728572A1 22/04/2026
Solicitante: 
CELLCENTRIC GMBH & CO KG [DE]
WO_2024256503_PA

Resumen de: WO2024256503A1

The invention relates to a method for manufacturing an assembly for an electrochemical cell, wherein the assembly comprises at least the following structural components: a first plate (10; 10') for supplying and/or discharging fluid, a proton exchange membrane (42), a first electrode (31) arranged between the first plate and the proton exchange membrane, and a first gas diffusion layer (21) arranged between the first plate and the first electrode, and wherein the method comprises the steps of A) providing a base comprising only a portion of the structural components, in particular the first plate and/or the first gas diffusion layer; and B) assembling the assembly, wherein the assembling involves adding the remaining structural components; or the steps of a) providing a base that is different from the structural components; and b) assembling the assembly, wherein the assembling involves adding the structural components; wherein a casing is formed by applying one or more layers of moulding material (70-72) to the provided base, a strength of this moulding material increases after said application, and at least one layer of the moulding material forming the casing or at least a circumferential section of the casing is applied before step B) or b). The invention also relates to an electrochemical cell, in particular a fuel cell or electrolysis cell, a cell stack with cells of this type, as well as a method and a system for manufacturing assemblies for cells or cell stacks of thi

MANIFOLD FOR A FUEL CELL

NºPublicación:  EP4728578A1 22/04/2026
Solicitante: 
SAFRAN POWER UNITS [FR]
FR_3150049_PA

Resumen de: WO2024256300A1

The invention relates to a manifold (9) for a fuel cell configured to be supplied with an air flow (FA) and with a hydrogen flow (FH), the fuel cell comprising at least two stacks (E1-E8), each stack (E1-E8) comprising a plurality of electrochemical cells, the manifold (9) extending longitudinally along a manifold axis (XC) and vertically along a vertical axis (Z), the manifold (9) defining a body (90) comprising a first lateral face (F1) configured to interface with at least one stack (E1-E4) and a second lateral face (F2) configured to interface with at least one stack (E5-E8), the manifold (9) comprising a connection face (F3) comprising a first hydrogen connector (91a) configured to supply the at least one stack (E1-E4) from the first lateral face (F1) and a first air connector (92a) configured to supply the at least one stack (E1-E4) from the first lateral face (F1).

METHOD FOR PRODUCING A PLATE ASSEMBLY, PLATE ASSEMBLY AND CORRESPONDING ELECTROCHEMICAL CELL

NºPublicación:  EP4727773A2 22/04/2026
Solicitante: 
SCHAEFFLER TECHNOLOGIES AG [DE]
WO_2024255952_PA

Resumen de: WO2024255952A2

The invention relates to production of a plate assembly (2) of a stack (1) of electrochemical cells (3), wherein plates arranged parallel to one another are additively manufactured in planes oriented perpendicularly to the plates. The invention also relates to an electrochemical cell (3), in particular an electrochemical system in the form of an electrolyzer, with a cell stack (1) comprising two end plates (28, 29), between which at least one such plate assembly (2) and at least two polymer electrolyte membranes (34, 34') are arranged.

ELECTROCHEMICAL SYSTEM

NºPublicación:  EP4728122A1 22/04/2026
Solicitante: 
BOSCH GMBH ROBERT [DE]
WO_2024261031_PA

Resumen de: WO2024261031A1

The invention relates to an electrochemical system (1), in particular an electrolysis system, comprising at least two modules (2), in particular electrolysis modules, each comprising at least one stack (19) which is connected to a main supply line (4) via a supply line (3) for supplying a medium, in particular water, wherein a respective at least one valve (5, 6, 7) is arranged in the supply lines (3) for switching a bypass (8) a) for bypassing the respective module (2) and/or the at least one stack (19) of the module (2) and/or b) for limiting, in particular throttling, the through-flow in the direction of the respective module (2) or the at least one stack (19).

METHOD FOR PRODUCING A HALF-PLATE OF A BIPOLAR PLATE, BIPOLAR PLATE AND ELECTROCHEMICAL CELL

NºPublicación:  EP4728574A1 22/04/2026
Solicitante: 
SCHAEFFLER TECHNOLOGIES AG [DE]
WO_2024255939_PA

Resumen de: WO2024255939A1

The invention relates to a method for producing a half-plate (1) of a bipolar plate (1'), comprising the steps of: - rolling (V1) a sheet-metal strip (B), - wherein the rolling is carried out in at least one first region (2) of the sheet-metal strip (B) to a uniform first sheet thickness (d1) and in at least one second region (3) of the sheet-metal strip (B) to a uniform second sheet thickness (d2), - wherein the first sheet thickness (d1) is greater than the second sheet thickness (d2) and the first region (2) and the second region (3) are each of a flat form, - introducing (V2) into the at least one first region (2) a surface structure (5) in the form of channels, - cutting the sheet-metal strip (B) to detach the half-plate (1) from the sheet-metal strip (B), wherein the half-plate (1) has at least one first region (2) and one second region (3). The invention also relates to a bipolar plate and to an electrochemical cell.

EMBOSSING ROLLER, METHOD FOR THE PRODUCTION THEREOF, PLATE FOR AN ELECTROCHEMICAL SYSTEM, AND METHOD FOR PRODUCING A PLATE OF THIS TYPE

NºPublicación:  EP4728575A1 22/04/2026
Solicitante: 
REINZ DICHTUNGS GMBH [DE]
MATTHEWS INTERNATIONAL GMBH [DE]
WO_2024260744_PA

Resumen de: WO2024260744A1

The present invention relates to an embossing roller (210a, 210b) for embossing a plate (200) for an electrochemical system and to a method for the production thereof. It also relates to a plate (200) for an electrochemical system and to a method for the production thereof.

AEM ROLL-TO-ROLL INK FORMULATIONS AND PROCESSES FOR CO2 ELECTROLYZERS

NºPublicación:  EP4727992A1 22/04/2026
Solicitante: 
TWELVE BENEFIT CORP [US]
WO_2024259024_PA

Resumen de: WO2024259024A1

Provided herein are systems and methods for roll-to-roll deposition of membrane electrode assemblies (MEAs) and layers thereof. Embodiments of the systems and methods may be used for producing layers, including polymer electrolyte membranes (PEMs) and catalyst layers, of an MEA. In particular embodiments, the methods and systems may be used for producing anion-exchange membranes (AEMS). In other instances, the methods and systems may be used for producing cation-exchange membranes or bipolar membranes. Also provided are MEAs and layers thereof produced by the methods described herein. In some embodiments, the MEAs are configured for electrolysis and, in particular, for carbon oxide (COx) reduction. The methods and systems may also be employed for water electrolysis.

WATER SEPARATOR FOR SEPARATING WATER FROM A FLUID FLOW

NºPublicación:  EP4727670A1 22/04/2026
Solicitante: 
MANN & HUMMEL GMBH [DE]
WO_2024256161_PA

Resumen de: WO2024256161A1

The invention concerns a water separator (100) for separating water from a fluid flow, in particular from a gas flow of a fuel cell system, comprising at least a first separation stage (10) with a first flow-conducting region (18), which is connected to a fluid conduit (17). In the fluid conduit (17), a coarse water separator (20) is arranged. A separation region (22) is connected to a water outlet (24). The water separator (100) comprises at least a second separation stage (30) with a second flow-conducting region (38), wherein the second separation stage (30) is arranged downstream of the first separation stage (10). In this context, the second flow-conducting region (38) comprises at least one separation element (50, 60) which is exposed to the oncoming fluid flow.

SYSTEMS AND METHODS FOR THE COMPRESSING OF GRAPHITE

NºPublicación:  EP4727706A1 22/04/2026
Solicitante: 
MATTHEWS INTERNATIONAL GMBH [DE]
US_2024416553_PA

Resumen de: US2024416553A1

Systems and methods are described for the compression of graphite flakes to form a continuous graphite web. An example of such a system includes at least one hopper to provide graphite flakes and a set of rollers configured to compress the graphite flakes into a graphite web.

ION-CONDUCTING MEMBRANE, METHOD FOR MANUFACTURING SUCH A MEMBRANE, ELECTROCHEMICAL CELL COMPRISING SUCH A MEMBRANE AND PLANT COMPRISING SUCH A CELL

NºPublicación:  EP4728123A1 22/04/2026
Solicitante: 
GEN HY CUBE [FR]
FR_3150048_PA

Resumen de: WO2024257054A1

The invention relates to an ion-conducting membrane (10) for an electrochemical device, said membrane comprising a layer of a material comprising: - 5% to 30% by weight of a polymer binder and - 70% to 95% by weight of a powdered ceramic, the powdered ceramic comprising ceramic doped with yttrium oxide and/or ceramic doped with cerium oxide. The invention can be used to produce a non-porous membrane for low-temperature electrolysis (0°C to 150°C).

SEALING MATERIAL PRODUCTION METHOD, AND SEALING MATERIAL

NºPublicación:  EP4729590A1 22/04/2026
Solicitante: 
TOAGOSEI CO LTD [JP]
EP_4729590_A1

Resumen de: EP4729590A1

0001 A method of producing a sealing material according to the present disclosure includes the step of irradiating a photocurable resin composition with light (a) including at least one wavelength (I) from 395 nm to 435 nm, and then irradiating the composition with light (b) including at least one wavelength (II) from 200 nm to 385 nm. In the light (a), the irradiation energy in the wavelength range of from 200 nm to 385 nm is equal to or less than 0.2 times the irradiation energy in the wavelength range of from 395 nm to 435 nm. The photocurable resin composition includes a specific component (A), a specific component (B), a specific component (C) and a specific component (D), in specific proportions.

ELECTROLYSIS SYSTEM FOR THE PRODUCTION OF A SYNTHESIS GAS

NºPublicación:  EP4728120A1 22/04/2026
Solicitante: 
AVL LIST GMBH [AT]
WO_2025039019_PA

Resumen de: WO2025039019A1

The present invention relates to an electrolysis system (10), comprising: - an electrolysis cell stack (100) with a cathode portion (110) which has a cathode supply portion (112) and a cathode discharge portion (114), and with an anode portion (120) which has an anode supply portion (122) and an anode discharge portion (124), - an anode gas port (202) fluidically coupled to the anode supply portion (112) by means of an anode supply connection (200) for supplying anode gas to the anode portion (120), - an anode discharge port (316) fluidically coupled to the anode discharge portion (124) by means of an anode discharge connection (300) for discharging anode exhaust gases produced by the electrolysis cell stack (100), - a cathode supply port (502) fluidically coupled to the cathode supply portion (112) by means of a cathode supply connection (500n) for supplying cathode gas to the cathode portion (110), and - a cathode discharge port (612) fluidically coupled to the cathode discharge portion (114) by means of a cathode discharge connection (600) for discharging synthesis gas produced by the electrolysis cell stack (100).

ELECTROLYSIS PLANT FOR THE PRODUCTION OF A SYNGAS

NºPublicación:  EP4728118A1 22/04/2026
Solicitante: 
AVL LIST GMBH [AT]
WO_2025039017_PA

Resumen de: WO2025039017A1

The invention relates to an electrolysis plant (30) comprising an electrolysis system (2) and a synthesis system (20).

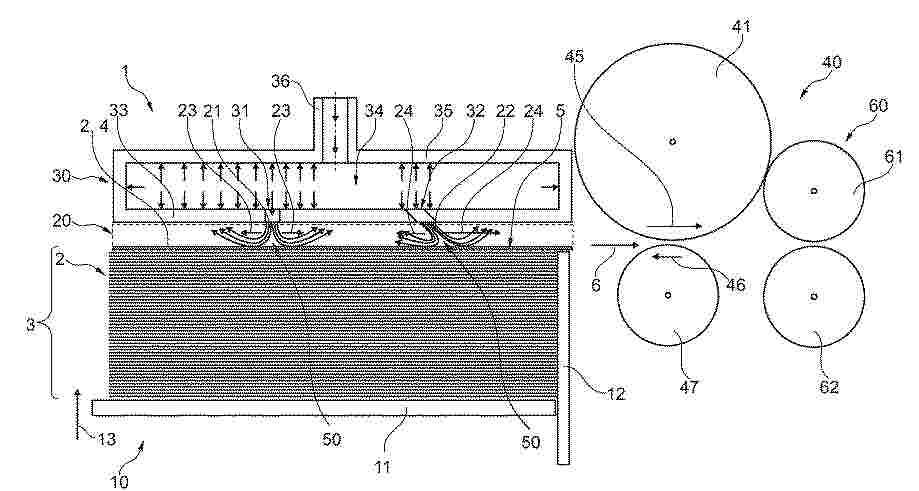
CARTRIDGE FOR MEMBRANE HUMIDIFIER AND MEMBRANE HUMIDIFIER COMPRISING SAME

NºPublicación:  EP4730448A1 22/04/2026
Solicitante: 
KOLON INC [KR]
EP_4730448_PA

Resumen de: EP4730448A1

The present disclosure relates to a cartridge for a membrane humidifier and a membrane humidifier including the same. The cartridge for a membrane humidifier includes a main body having a space in which a plurality of hollow fiber membranes are accommodated, a first window formed in one side of the main body and through which a wet gas is introduced, a second window formed in another side of the main body and through which the wet gas is discharged, and a recessed portion provided in a bottom surface of the main body and recessed upwards towards the center of the main body.

HOT-MELT ADHESIVE SHEET

NºPublicación:  EP4729589A1 22/04/2026
Solicitante: 
NITTO SHINKO CORP [JP]
EP_4729589_PA

Resumen de: EP4729589A1

0001 A hot melt adhesive sheet according to the present invention includes a base material and an adhesive layer laminated on at least one surface of the base material, in which the adhesive layer is made of a hot melt adhesive, the hot melt adhesive includes a crosslinked product of an adhesive composition including a crosslinking agent, and the adhesive composition includes a polyester resin, an epoxy resin, and an isocyanate-based crosslinking agent, the epoxy resin includes a bisphenol-type epoxy resin and a rubber-modified epoxy resin, and the bisphenol-type epoxy resin has an epoxy equivalent of 450 g/eq or more and 1000 g/eq or less.

ELECTROCHEMICAL ROD REACTOR

NºPublicación:  EP4730451A1 22/04/2026
Solicitante: 
VOLTSTORAGE GMBH [DE]
EP_4730451_PA

Resumen de: EP4730451A1

The invention provides an electrochemical rod reactor (100, 200), comprising a first porous electrode material (10) at an inside of the electrochemical rod reactor and a second porous electrode material (20) at an outside of the electrochemical rod reactor; and an ionic exchange membrane (30) separating the first and the second porous electrode materials; wherein the first porous electrode material is configured to allow a first fluid to contact the ionic exchange membrane at an inner surface of the ionic exchange membrane and the second porous electrode material is configured to allow a second fluid to contact the ionic exchange membrane at an outer surface of the ionic exchange membrane; and wherein the first and second porous electrode materials are electrically conductive.

一种电池漏液收集装置和电能储能系统

NºPublicación:  CN224153379U 21/04/2026
Solicitante: 
中国长江三峡集团有限公司
CN_224153379_U

Resumen de: DE202025103383U1

Sammelvorrichtung für Batterie-Leckagen, dadurch gekennzeichnet, dass die Sammelvorrichtung für Batterie-Leckagen auf einer Oberseite eines Grundkörpers mit einer Leckage-Auffangöffnung versehen ist, wobei der Grundkörper eine Leckage-Sammelfläche umfasst, wobei die Leckage-Auffangöffnung mit einem höher gelegenen Ende der Leckage-Sammelfläche verbunden ist; wobei die Leckage-Sammelfläche ist an einem tiefer gelegenen Ende mit einem Leckage-Führungsauslass versehen ist.

电池

NºPublicación:  CN121909537A 21/04/2026
Solicitante: 
株式会社爱信
CN_121909537_PA

Resumen de: WO2025069661A1

A battery according to the present invention, in which at least two cells are electrically connected in series to generate power through an oxidation-reduction reaction by causing an electrolytic solution to flow to at least negative electrodes, comprises: an inflow part that causes the electrolytic solution to flow into each negative electrode; an outflow part that causes the electrolytic solution to flow out; and a control unit that controls circulation of the electrolytic solution. The inflow part has inflow-side switching valves that switch respective cells between a communication state in which the electrolytic solution is circulated and a non-communication state in which the circulation of the electrolytic solution is blocked. The control unit performs opening/closing control of the inflow-side switching valves by interlocking the valves so that at least one cell is in the communication state and the other cells are in the non-communication state.

弹性湍流的组合物和系统

NºPublicación:  CN121909268A 21/04/2026
Solicitante: 
斯伦贝谢技术有限公司
CN_121909268_PA

Resumen de: GB2633598A

A fluid composition which is able to exhibit elastic turbulence while pumped through a flow path which compels changes of direction of flow streamlines, comprises (i) at least one dissolved first polymer, which is a linear polymer having a weight average molecular weight of at least 10 MegaDaltons; and (ii) at least one dissolved second polymer, which is a linear polymer having a weight average molecular weight from 0.25 to 5 MegaDaltons. The amount of first polymer is 0.05 to 5 wt% of the solution, and is sufficient that a solution containing the first polymer without the second polymer can display elastic tubulence, and where the amount of the second polymer is greater than the amount of th first polymer but is not more than 10 wt% of the solution. The second category polymer reduces elastic instabilities and consequent pressure drop, thereby reducing pumping energy requirement when the fluid is used in a flow circuit. The composition may be used in a solar energy heating system (figs 3 to 7), an electrochemical half-cell (figs 8 to 12), or in a fuel cell (fig 13).

双极板、连接系统和燃料电池系统

NºPublicación:  CN121909535A 21/04/2026
Solicitante: 
罗伯特·博世有限公司
CN_121909535_PA

Resumen de: WO2025016970A1

The invention relates to a bipolar plate (10) for a fuel cell stack (12) of a fuel cell system (14), having a first separator plate (16) and a second separator plate (18), and having at least one distributor region (20) for distributing the reaction gases into an active region (22), wherein the at least one distributor region (20) has at least one plug receptacle (24) for a plug contact (26) of a cell voltage monitoring unit (30). The at least one plug receptacle (24) has an insertion portion (32) for the insertion of a plug contact (26), in particular a plug loop (28), and a holding portion (34) for holding the plug contact (26), wherein the holding portion (34) is arranged downstream of the insertion portion (32) in a push-in direction (36) of the plug contact (26), and wherein a maximum insertion width (BE) of the insertion portion (32) corresponds to a maximum of 90%, preferably a maximum of 80%, more preferably a maximum of 70%, of a maximum holding width (BH) of the holding portion (34).

电力控制方法、电力控制装置以及电源系统

NºPublicación:  CN121909581A 21/04/2026
Solicitante: 
松下知识产权经营株式会社
CN_121909581_PA

Resumen de: CN121909581A

本公开的电力控制方法包括:在通过具备燃料电池装置和蓄电装置的分散型电源系统对电力需求者的电力负载供给电力时,将所述燃料电池装置的发电电力控制为所述燃料电池装置的发电电力的计划值的步骤;和在执行所述控制时,当基于所述计划值推定的预定时间后的所述蓄电装置的充电率大于比100%小的上限值时,执行使所述计划值减少的第一修正,或者当基于所述计划值推定的预定时间后的所述蓄电装置的充电率小于比0%大的下限值时,执行使所述计划值增加的第二修正的步骤。

基于前馈与PSO模糊PID的燃料电池无人机氢气供应系统

NºPublicación:  CN121905904A 21/04/2026
Solicitante: 
株洲国创轨道科技有限公司
CN_121905904_PA

Resumen de: CN121905904A

本发明提供基于前馈与PSO模糊PID的燃料电池无人机氢气供应系统,涉及燃料电池无人机技术领域,质子交换膜燃料电池无人机在变海拔工况下,由于氧气浓度变化波动导致燃料电池的输出不稳定,进而影响无人机的稳定性和续航性能等问题。针对上述问题本发明建立了燃料电池氢气供应系统模型并提出了一种基于前馈与PSO模糊PID的控制策略。并准确描述了氢气供应与电池输出之间的关系,同时结合控制器实时调整氢气流量,有效抑制了因环境变化引起的电压波动。在仿真验证下,本发明的控制策略能够显著提高燃料电池在不同海拔高度的输出稳定性,为PEMFC无人机在复杂环境下的应用提供了可靠的技术支持。

一种全钒液流电池的电解液管理系统

NºPublicación:  CN121905900A 21/04/2026
Solicitante: 
广东中科天钒储能科技有限公司
CN_121905900_PA

Resumen de: CN121905900A

本发明公开一种全钒液流电池的电解液管理系统,包括:相变温控触发判断模块,用于判断当前电解液温度状态是否进入相变温控触发区间;智能主动温控模块模块,用于对对应空间位置的相变材料温控单元进行物态切换管理;电解液析出风险评估模块,用于构建电解液析出风险等级评估模型,识别电解液析出风险等级;旁路电化学再生模块,用于通过智能电源控制器实施多轮脉冲电化学处理;电解液回注模块,用于对回注电解液与原有电解液进行混合处理,判断混合状态是否达到稳定条件。本发明构建了一种在线、闭环的全钒液流电池电解液管理方式,有利于降低高温工况下的析出风险,延长电解液使用寿命,提升系统长期运行的稳定性和工程适用性。

一种燃料电池增湿器装置

NºPublicación:  CN224153374U 21/04/2026
Solicitante: 
芜湖同优新能源股份有限公司
CN_224153374_U

Resumen de: CN224153374U

本实用新型涉及增湿器技术领域,具体涉及一种燃料电池增湿器装置,包括筒体,筒体上端面敞开设置,筒体上端装配有端盖,筒体内一侧竖直设置有挡板,挡板上方设置有与端盖顶壁连接有档条,挡板与档条之间存在间隙,筒体一端设置有与筒体连通的干出口,干出口靠近干出口设置,筒体另一端设置有与筒体连通的干进口,本装置筒体设置干出口的一侧的侧壁与挡板之间形成流道,通过挡板集成内部的流道,干出口可以在筒体的前后位置任意调整,便于使用者的布局,提高空间利用率。

一种碱性锌铁液流电池隔膜及其制备与应用

NºPublicación:  CN121905887A 21/04/2026
Solicitante: 
中国科学院大连化学物理研究所
CN_121905887_A

Resumen de: CN121905887A

本发明涉及碱性锌铁液流电池,具体为一种碱性锌铁液流电池隔膜,其为SPEEK与PBI的共混膜;其中PBI占比36%‑42%。本发明通过采用将磺化聚醚醚酮(SPEEK)隔膜与聚苯并咪唑(PBI)隔膜复合,利用PBI膜对络合剂的有效分离,提升电堆库伦效率,提升电堆整体性能。

一种双水腔内增湿燃料电池

NºPublicación:  CN121905888A 21/04/2026
Solicitante: 
王伟国
CN_121905888_PA

Resumen de: CN121905888A

本发明公开了一种双水腔内增湿燃料电池,根据燃料电池工作需要增湿、排水的要求,采用多孔石墨做双极板,每个燃料电池单元的双极板中循环水腔一分为二,中间增设一层阻水、阻气、导电、耐腐蚀的致密板,分别形成两个独立的循环水腔,并与外部辅助系统构成压力可控的循环水系统,分别对阳极的氢气与循环水之间的压力和阴极的空气(或氧气)与循环水之间的压力进行独立采样、运算及控制,水分通过多孔石墨双极板微孔的毛细作用和外部系统的压力调节,从阳极板的循环水腔侧渗透到膜电极阳极侧的扩散层,实现膜电极阳极侧的增湿,同时,在膜电极阴极侧的生成水通过毛细作用和压力调节,从膜电极阴极侧渗透到阴极板的循环水腔,随循环水排出,实现对膜电极含水量的双向动态调节,消除氢气、氧气在一个循环水腔内产生混气导致的安全隐患,提高电池的稳定性、安全性和使用寿命。

一种锌溴液流电池电极结构及锌溴液流电池

NºPublicación:  CN121905889A 21/04/2026
Solicitante: 
中国科学院大连化学物理研究所
CN_121905889_PA

Resumen de: CN121905889A

本发明属于液流电池储能技术领域,特别涉及一种锌溴液流电池电极结构及锌溴液流电池。所述电极为平板状碳毡电极,于碳毡电极内部沿平行于平板表面的方向设置有1个或2个以上的通孔,作为电解液流道;电解液流道沿电解液流动方向的、垂直于平板表面的横截面积逐渐减小。本发明提供的电极,在电极内部设置了电解液流道,可以有效减小电解液流动阻力,增强电极内部的传质。

一种大功率闭式阴极空冷型燃料电池金属双极板、电堆、系统与设计方法

NºPublicación:  CN121905886A 21/04/2026
Solicitante: 
太原科技大学新疆智能装备研究院
CN_121905886_PA

Resumen de: CN121905886A

本发明属于燃料电池技术领域,具体涉及一种大功率闭式阴极空冷型燃料电池金属双极板、电堆、系统与设计方法,其中,金属双极板具体包括呈上、中、下三层结构布置的阳极板、冷却板和阴极板;阳极板内设有若干条用于阳极燃料气体流动的阳极流道;阴极板内设有若干条用于阴极反应空气流动的阴极流道;冷却板内设有若干条用于冷却气体流动的冷却直流道;本发明以区域化的金属双极板构型,达到燃料电池功率密度高、阴极压降低的效果,有效解决现有技术中燃料电池在高功率工况下极易出现功率密度不高、阴极压降大导致空压机寄生功耗高等问题。

绿色能源氢能发电的制作方法

NºPublicación:  CN121897858A 21/04/2026
Solicitante: 
内蒙古润泰汇能新能源科技有限责任公司
CN_121897858_PA

Resumen de: CN121897858A

本发明公开了绿色能源氢能发电的制作方法,搭建包括氢气发生装置、主氢气存储装置、辅氢气存储装置、管组、氧气供应装置,发电装置、转换电路、终端用电检测装置和总控装置的氢能发电系统。本发明所述的绿色能源氢能发电的制作方法,通过设置主氢气存储装置、辅氢气存储装置和终端用电检测装置,主氢气存储装置和辅氢气存储装置均用于存储氢气,主氢气存储装置在耗电终端正常耗电时与氢气发生装置配合向发电装置(氢燃料电池)供氢气,辅氢气储存装置在耗电终端的耗电量突然增大时,临时、及时地向发电装置(氢燃料电池)补充氢气,使输入到发电装置(氢燃料电池)中的氢气的量可以快速增加,从而可以满足耗电终端突然增加的用电需求。

低温适应性氢燃料电池冷凝水防冻及快速冷启动系统

NºPublicación:  CN121905893A 21/04/2026
Solicitante: 
国网吉林省电力有限公司四平供电公司长春晟德科技有限公司
CN_121905893_PA

Resumen de: CN121905893A

本发明涉及氢电池冷启动技术领域,且公开了低温适应性氢燃料电池冷凝水防冻及快速冷启动系统,系统包括控制器与燃料电池组件,燃料电池组件由多个双极板和膜电极交替层叠构成,双极板由阴极板和阳极板扣合形成冷却液腔,阴极板的阴极槽道内设置有记忆合金温控支撑块和多层扰动叶片,低温时记忆合金收缩使叶片大幅摆动,形成宽通道与机械破冰双重防冻机制;高温时记忆合金膨胀撑起叶片,收窄流道并限制叶片微振,强化排水与传质,且通过结构、传感、控制一体化设计,便于防止阴极侧流道冰堵,使氢燃料电池即使在超低温工况下,依旧能够稳定有效地启动。

一种液流电池储能换热系统及控制方法

NºPublicación:  CN121905905A 21/04/2026
Solicitante: 
安徽巨盒智能科技有限公司
CN_121905905_PA

Resumen de: CN121905905A

本发明涉及涉及液流电池储能技术领域,本发明公开了一种液流电池储能换热系统,包括参数采集模块、数据预处理模块、热特性动态建模模块、智能控制决策模块及执行模块,所述参数采集模块用于采集液流电池储能系统的实时运行参数,本发明还公开了该储能换热系统的控制方法,包括如下步骤:S1、系统初始化与参数设定;S2、参数采集;S3、数据预处理;S4、热特性动态计算与产热预测;S5、智能控制决策生成;S6、指令驱动执行;S7、闭环反馈与迭代。本发明通过功率预判超前补偿算法,基于热特性动态模型预测产热变化,实现换热负荷的超前调节,将变功率充放电下的控制响应时间缩短,有效补偿了电解液与电池堆的热惯性。

固体氧化物电池参数切换方法及装置、电子设备

NºPublicación:  CN121905903A 21/04/2026
Solicitante: 
广东电网有限责任公司广州供电局
CN_121905903_PA

Resumen de: CN121905903A

本申请涉及电池领域,具体涉及一种固体氧化物电池参数切换方法及装置、电子设备及计算机可读存储介质。其中,方法包括:根据所述初始功率和所述目标功率确定辅助功率;将所述固体氧化物电池的输入参数从初始输入参数切换为辅助输入参数;在所述固体氧化物电池的实际功率达到所述目标功率时,将所述固体氧化物电池的输入参数从所述辅助输入参数切换为目标输入参数。本申请所提供的固体氧化物电池参数切换方法及装置、电子设备及计算机可读存储介质,可以实现降低固体氧化物电池参数切换时发生燃料亏空的可能性的技术效果。

一种糖基生物质能源转化系统及方法

NºPublicación:  CN121894606A 21/04/2026
Solicitante: 
清华大学深圳国际研究生院
CN_121894606_PA

Resumen de: CN121894606A

本发明提供了一种糖基生物质能源转化系统及方法,涉及新能源与糖基生物质资源化利用技术领域。本发明通过将催化氧化反应器、甲酸分解反应器、燃料电池以及热能管理与循环单元集成为一个紧密耦合的糖基生物质能源转化系统,实现了物质和能量在糖基生物质能源转化系统内部的高效循环利用,提高了糖基生物质转化为电能过程中的能量利用效率和运行经济性。

一种图案化有序二氧化硅质子交换膜、制备方法及应用

NºPublicación:  CN121905906A 21/04/2026
Solicitante: 
国网青海省电力公司经济技术研究院湖南大学
CN_121905906_PA

Resumen de: CN121905906A

本发明涉及质子交换膜技术领域,公开了一种图案化有序二氧化硅质子交换膜、制备方法及应用。该膜包括质子膜基体层和通过掩模喷涂形成的图案化中空介孔二氧化硅沉积区。所述有序图案如条纹或点阵,能在低湿度下利用二氧化硅空腔吸附水分以保水,在高湿度下通过空白区域定向排水,协同解决了高原等恶劣环境下膜的失水与积水难题。本发明还公开了其制备方法。该膜显著提高了燃料电池在低湿度、大温差环境下的性能与耐久性。

用于运载工具的热管理系统及其控制方法

NºPublicación:  CN121905894A 21/04/2026
Solicitante: 
博世氢动力系统(重庆)有限公司
CN_121905894_PA

Resumen de: CN121905894A

本申请提出了一种用于运载工具的热管理系统。冷却剂管路包括主路和连接在主路上的第一支路。主路将泵、散热器和电堆冷却通道串联连接。运载工具的制动电阻被热耦接在第一支路上。管路切换机构被配置成用于选择性地将第一支路接入主路或从主路断开。热管理系统被配置成能够选择性地以至少第一模式或第二模式运行。在第一模式中,管路切换机构接通至少经过电堆冷却通道、泵和散热器的第一环路,泵被启用以驱动冷却剂沿着第一环路流动,并且散热器被启用。在第二模式中,管路切换机构接通至少经过第一支路、泵和散热器的第二环路,泵被启用以驱动冷却剂沿着第二环路流动,并且散热器被启用。该热管理系统能够由调节燃料电池电堆和制动电阻共用。

用于调整两个电化学电池系统的调整方法

NºPublicación:  CN121896684A 21/04/2026
Solicitante: 
罗伯特·博世有限公司
CN_121896684_PA

Resumen de: DE102024210093A1

Die vorgestellte Erfindung betrifft ein Konditionierungsverfahren (100) zur Konditionierung mindestens eines ersten elektrochemischen Zellensystems (203a) und eines zweiten elektrochemischen Zellensystems (203b). Das Konditionierungsverfahren (100) für jedes elektrochemische Zellensystem (203a, 203b) umfasst dabei:- Anordnen (103) des elektrochemischen Zellensystems (203) an einem Prüfstand (200),- Verbinden (105) eines Temperierungskreislaufs (209) des elektrochemischen Zellensystems (203) mit einem Temperierungskreislauf (205) des Prüfstands (200),- Hochfahren des elektrochemischen Zellensystems (203),- Betreiben (107) des elektrochemischen Zellensystems (203) für eine vorgegebene Dauer an mindestens einem vorgegebenen Betriebspunkt auf dem Prüfstand (200),- Herunterfahren des elektrochemischen Zellensystems (203),- Demontieren des elektrochemischen Zellensystems (203) von dem Prüfstand (200),- Abkühlen des elektrochemischen Zellensystems (203), dadurch gekennzeichnet, dass das Anordnen (103) des zweiten elektrochemischen Zellensystems (203b) an dem Prüfstand (200) zeitlich parallel zum Abkühlen des ersten elektrochemischen Zellensystems (203a) erfolgt.

一种氢燃料客车氢气泄漏快速泄放系统及泄放方法

NºPublicación:  CN121893771A 21/04/2026
Solicitante: 
安徽安凯汽车股份有限公司
CN_121893771_PA

Resumen de: CN121893771A

本发明公开了一种氢燃料客车氢气泄漏快速泄放系统及泄放方法,涉及氢燃料客车技术领域,其中,该系统包括泄漏监测单元、定向泄放通道单元、动力辅助泄放单元以及主控制单元。通过泄漏监测单元实时监测车内多个区域氢气浓度并将数据传输至主控制单元,通过定向泄放通道单元的预埋式泄放管道网络化分布在车内储氢罐、氢气管路连接处及管路沿线易泄漏区域,当泄漏监测单元检测到任意易泄漏区域出现氢气泄漏时,主控制单元可快速处理监测信息并精准控制对应区域的可切换式通道电磁阀开启,同时协同控制动力辅助泄放单元为泄放提供动力,使泄漏氢气可通过就近的预埋式泄放管道快速经车外排气口排出车外,大幅缩短氢气泄放路径。

一种基于热电转化的液流电池的余热利用系统

NºPublicación:  CN121907042A 21/04/2026
Solicitante: 
国家能源投资集团有限责任公司北京低碳清洁能源研究院
CN_121907042_PA

Resumen de: CN121907042A

本公开涉及一种基于热电转化的液流电池的余热利用系统,该余热利用系统在液流电池中添加温差发电单元,能够利用处于正常运行时的液流电池产生的热量发电,回收液流电池产生的低品位热量,提高电池的效率。此外,将温差发电装置产生的电能通过反向电势外电路和导电装置,输送到漏电电流最大的相邻两个单电池的漏电电流公共管路中,并且,以上述两个单电池中电势差相反的方向施加电压,能够减少甚至消除相邻两个单电池间产生的漏电电流,提升电堆库伦效率,进而提升电堆及液流电池储能系统充放电能量效率。

一种复合阴离子交换膜及其制备方法和应用

NºPublicación:  CN121891952A 21/04/2026
Solicitante: 
西安西热水务环保有限公司华能嘉祥发电有限公司
CN_121891952_PA

Resumen de: CN121891952A

本发明属于阴离子交换膜材料技术领域,具体涉及一种复合阴离子交换膜及其制备方法和应用。本发明以含强极性基团的刚性单体为骨架支撑相、含叔胺基团的功能单体为离子位点储备相、季铵化功能无机相为协同增强相,添加自由基引发剂,经“制备季铵化功能无机相+刚性‑功能型单体自由基聚合成膜+季铵化激活”三步工艺制备复合阴离子交换膜。通过调控季铵化无机相用量、单体配比等参数,优化膜内“自由基共聚网络‑双重季铵离子位点‑规整传输通道”的协同结构。本发明制得的复合阴离子交换膜实现了高离子交换容量、低面电阻、低溶胀率、优异的机械强度与化学稳定性的平衡。

质子交换膜、其制备方法及应用

NºPublicación:  CN121905907A 21/04/2026
Solicitante: 
清华大学深圳国际研究生院
CN_121905907_PA

Resumen de: CN121905907A

本申请公开了一种质子交换膜、其制备方法及应用,所述质子交换膜的制备方法包括以下步骤:提供芳纶纤维、酸溶剂和基底;将所述芳纶纤维和所述酸溶剂进行混合、加热,得到纤维分散液;将所述纤维分散液分散于所述基底表面,形成纤维层;将所述纤维层浸泡于磷酸溶液中,得到磷酸掺杂的纤维层;干燥所述磷酸掺杂的纤维层。本申请制得的质子交换膜在高温环境下稳定且具有良好的质子传导性能,能够适用于高温燃料电池中。

一种含有聚阴离子型电解液添加剂的电解液及液流电池

NºPublicación:  CN121905910A 21/04/2026
Solicitante: 
中国华能集团清洁能源技术研究院有限公司
CN_121905910_PA

Resumen de: CN121905910A

本发明属于液流电池技术领域,涉及一种含有聚阴离子型电解液添加剂的电解液及液流电池。包括紫精化合物、支撑电解质、溶剂和聚阴离子型电解液添加剂;以质量百分数计,聚阴离子型电解液添加剂占电解液的0.1%~20%;所述聚阴离子型电解液添加剂的分子中富含多种带负电荷的官能团,用于干扰紫精分子的π‑π堆积行为;所述聚阴离子型电解液添加剂为含有重复单元的聚合物,为聚苯乙烯磺酸钠、聚丙烯酸钠、聚(2‑丙烯酰胺基‑2‑甲基丙磺酸钠)或海藻酸钠。通过引入结构中携带高密度负电荷的聚合物或聚集态无机阴离子,实现在水相环境中对紫精类分子的多重调控作用,显著抑制其还原态分子的聚集行为,提升电解液的化学和电化学稳定性。

一种适用于紫精基水系有机液流电池的两性离子电解液添加剂、电解液及电池

NºPublicación:  CN121905911A 21/04/2026
Solicitante: 
中国华能集团清洁能源技术研究院有限公司
CN_121905911_PA

Resumen de: CN121905911A

本发明提供了一种适用于紫精基水系有机液流电池的两性离子电解液添加剂、电解液及电池。本发明涉及液流电池技术领域,具体涉及一种适用于紫精基水系有机液流电池的两性离子电解液添加剂、电解液及电池。该添加剂为单分子两性结构,同时含有阳离子基团和阴离子基团;阴离子基团可与紫精阳离子发生静电作用,阳离子基团可与紫精还原态的自由基或孤对电子结构相互作用,协同抑制π‑π堆积。该添加剂加入电解液中可有效防止紫精聚集沉淀,提升循环稳定性,且不影响电化学可逆性。电解液包含紫精化合物、支撑电解质、溶剂及该添加剂,优选用于负极侧,显著降低容量衰减率,适用于高性能水系有机液流电池体系。

燃料电池单元、燃料电池

NºPublicación:  CN121905891A 21/04/2026
Solicitante: 
丰田自动车株式会社
CN_121905891_PA

Resumen de: CN121905891A

本发明的课题为提供一种能够抑制所生成的水逆流而流入边缘区域的燃料电池单元。燃料电池单元具备:隔板,在包围发电区域的流路及非发电区域的流路的边缘区域具有向流路侧凹陷的肋部;及气体扩散层,具备于发电区域,所述燃料电池单元在氢出口孔附近的所述肋部的至少一部分配置有密封材料。

一种兼具优异抗敏化性和奥氏体稳定性的304不锈钢及其应用

NºPublicación:  CN121896545A 21/04/2026
Solicitante: 
大连交通大学
CN_121896545_PA

Resumen de: CN121896545A

本发明涉及一种兼具抗敏化和奥氏体稳定性304不锈钢及其应用。通过精确控制化学成分,碳的质量百分比含量区间为0.05~0.08,铬当量为19~21,镍当量为13~15,余量为铁及不可避免的杂质。此成分范围不仅保证了在标准固溶工艺下单一奥氏体组织的形成,而且在650℃/1h敏化处理后仍能保持良好的耐晶间腐蚀性能。该不锈钢适用于中温腐蚀环境中的结构件,如质子交换膜燃料电池的双极板或端板,在含氟稀硫酸溶液的工作环境下表现出色,无需进行焊后固溶处理即可直接服役。与现有技术相比,本发明提供了更为精确的成分范围,解决了传统304不锈钢在成形性与焊接后耐蚀性之间的矛盾,具有重要的工业应用价值。

一种燃料电池汽车加氢口防护装置及方法

NºPublicación:  CN121893755A 21/04/2026
Solicitante: 
海珀特科技(北京)有限公司
CN_121893755_PA

Resumen de: CN121893755A

本发明涉及燃料电池汽车技术领域,且公开了一种燃料电池汽车加氢口防护装置及方法,包括制动储气筒,所述制动储气筒通过制动气管与多回路气阀相连通,所述多回路气阀的其他端均与加氢口模块相连通,所述加氢口模块包括加氢口舱,所述加氢口舱的一侧铰接有加氢口舱门,所述加氢口舱内壁上开设有孔,且孔内设置有加氢口。该燃料电池汽车加氢口防护装置及方法,通过在加氢口下方设置朝向加氢口的吹扫口,配合制动储气筒提供的压缩空气实现主动吹扫,解决了现有技术依赖氢气自然消散导致的残留聚集风险,能快速排出加氢后残留的氢气,从源头降低氢气泄漏引发的安全隐患,使得防护更主动、高效。

一种质子交换膜甲醇重整制氢燃料电池的建模方法及系统

NºPublicación:  CN121905901A 21/04/2026
Solicitante: 
中山大学
CN_121905901_PA

Resumen de: CN121905901A

本发明公开了一种质子交换膜甲醇重整制氢燃料电池的建模方法及系统,该方法包括:基于前端重整器,输入甲醇‑水溶液,计算甲醇转化率和反应器出口组分组成比,构建前置甲醇重整装置的动态子模型;将高纯重整气输入至PEM燃料电池中发电,构建后端质子交换膜燃料电池的静态极化模型与动态响应模型;通过粒子群优化算法获取热力参数,并结合前置甲醇重整装置的动态子模型与后端质子交换膜燃料电池的静态极化模型与动态响应模型,构建甲醇重整制氢燃料电池模型。本发明提高甲醇重整制氢燃料电池模型的建模精度。本发明作为一种质子交换膜甲醇重整制氢燃料电池的建模方法及系统,可广泛应用于燃料电池建模技术领域。

低铂长寿命燃料电池分布参数优化方法

NºPublicación:  CN121902423A 21/04/2026
Solicitante: 
武汉理工大学
CN_121902423_PA

Resumen de: CN121902423A

本发明提供一种低铂长寿命燃料电池分布参数优化方法,涉及燃料电池技术领域,所述方法步骤包括对催化剂层内铂的分布模式进行参数化数学描述,生成铂分布参数集;构建质子交换膜燃料电池的三维多物理场模型,将铂分布参数集输入至三维多物理场模型进行仿真,提取包括寿命特征、铂效率特征及传输与相态平衡特征的多维度性能指标,以构建训练样本集;构建物理信息神经网络代理模型,通过训练样本集对物理信息神经网络代理模型进行训练;基于训练后的物理信息神经网络代理模型,以场景化综合性能评分、峰值功率及总铂负载量为优化目标,对铂分布参数进行寻优,输出帕累托最优解集;基于帕累托最优解集,确定并输出低铂负载、高耐久性的最优铂分布参数方案。

一种质子膜与边框多工位贴合设备

NºPublicación:  CN121905890A 21/04/2026
Solicitante: 
广东达辉自动化科技有限公司
CN_121905890_PA

Resumen de: CN121905890A

本发明公开了一种质子膜与边框多工位贴合设备,包括机架、边框上料托盘、翻转真空贴合装置及工业机器人,翻转真空贴合装置数量大于边框上料托盘,其设支撑架、转轴、翻转驱动组件、边框放料翻板和质子膜放料台,各放料平面均为水平,机架上对应设第一、第二相机,两组相机各两个,中心对称设于质子膜/边框边缘且对准对角,分别拍摄质子膜放置状态、校准边框角度。第一相机悬于质子膜放料台正上方,第二相机位于工业机器人侧边,机器人取料后经第二相机上方校准角度再移送边框,行程紧凑,本设备相较现有UVM平台纠偏,校准操作更简单快速,对角取样实现精准校准,且不干涉物料放置,还能避免行程过长增加成本,大幅提升加工效率。

一种燃料电池的螺杆防松结构及燃料电池

NºPublicación:  CN121905912A 21/04/2026
Solicitante: 
陕西旭氢时代科技有限公司
CN_121905912_PA

Resumen de: CN121905912A

本发明公开了一种燃料电池的螺杆防松结构及燃料电池,包括转动限位单元和防松扭矩单元。方形键同时嵌入阳极端板键槽与螺杆键槽,直接锁定螺杆相对于阳极端板的轴向转动,从而抑制螺杆与阴极端板间螺纹副的反松。防松扭矩单元包括扭转弹簧、扭转环及花键,扭转弹簧一端固定于阳极端板,另一端通过扭转环与花键相连;通过预紧扭转弹簧产生持续弹性扭矩,该扭矩经由花键传递并最终转化为作用于拧紧螺母上、方向与拧紧方向相同的持续防松力矩,以对抗螺母与螺杆间螺纹副的反松趋势。实现了双向可靠防松的同时,全部构件均可拆卸复用,完整保留了螺杆封装便于维护的优点,显著提升了燃料电池螺杆堆在复杂工况下的长期可靠性、稳定性与使用寿命。

一种防过充的燃料电池能量管理系统及其控制方法

NºPublicación:  CN121906720A 21/04/2026
Solicitante: 
深圳市氢瑞燃料电池科技有限公司深圳市雄韬电源科技股份有限公司
CN_121906720_PA

Resumen de: CN121906720A

本申请涉及一种防过充的燃料电池能量管理系统及其控制方法,该系统包括燃料电池、DC/DC转换单元、锂电池和负载;所述DC/DC转换单元分别与所述燃料电池、所述锂电池、所述负载连接;所述锂电池分别与所述DC/DC转换单元、所述负载连接。所述控制方法包括如下步骤:S01、实时获取锂电池的状态参数;S02、根据步骤S01的状态参数确定锂电池的过充风险等级;S03、根据步骤S02的过充风险等级执行相应的控制策略。通过本申请系统,当锂电池的SOC较高时,能够控制锂电池小电流充电,可以在锂电池体积和充电倍率的限制条件下防止锂电池系统过充,从而有效防止锂电池和燃料电池损坏,可以有效提高锂电池的使用寿命。

一种可逆固体氧化物电池系统及设备

NºPublicación:  CN121905909A 21/04/2026
Solicitante: 
华北电力大学国网山东省电力公司电力科学研究院
CN_121905909_PA

Resumen de: CN121905909A

本发明涉及储能与氢能技术领域,具体涉及一种可逆固体氧化物电池系统及设备,在发电模式下,燃料电极尾气用于对燃料电极通入气体进行加热,随后进行分流,一部分与水和氢气混合构成燃料电极通入气体,另一部分与空气电极尾气混合燃烧,产生的热量首先对空气电极通入气体进行加热,随后对固态储氢模块进行加热;在电解模式下,燃料电极尾气用于对燃料电极通入气体进行终加热,并将氢气储存至所述固态储氢模块中,所述固态储氢模块释放的热量用于对燃料电极通入气体进行初步预热;空气电极尾气用于对空气电极通入气体进行加热。解决在SOFC模式下系统余热无法完全利用和SOEC模式下需要外部热源加热的问题,避免使用高耗能设备电加热器,实现不借助外部热源的前提下,自持运转。

一种用于燃料电池的高剥离强度气体扩散层及其制备方法

NºPublicación:  CN121905873A 21/04/2026
Solicitante: 
乌镇实验室
CN_121905873_A

Resumen de: CN121905873A

本发明涉及气体扩散层的技术领域,公开了一种用于燃料电池的高剥离强度气体扩散层及其制备方法,包括如下步骤:步骤一:将碳纸进行疏水改性处理,得到改性碳纸;步骤二:将溶剂和表面活性剂1进行搅拌,在低转速下加入碳黑并搅拌,然后提高转速,继续搅拌;随后加入疏水粘结剂乳液和表面活性剂2进行搅拌,得到微孔层浆料;步骤三:将微孔层浆料涂覆至改性碳纸表面,干燥后进行烧结,得到气体扩散层。本发明通过选择不同类型的表面活性剂以及调节不同阶段的搅拌参数,同时提升微孔层浆料中碳粉和疏水粘结剂的分散性,最终制备得到具有高剥离强度的气体扩散层。

次氯酸钠发生器与燃料电池耦合的运行系统及运行方法

NºPublicación:  CN121896655A 21/04/2026
Solicitante: 
自然资源部天津海水淡化与综合利用研究所
CN_121896655_PA

Resumen de: CN121896655A

本发明涉及能源化工、水处理及氢能综合利用技术领域,提供一种次氯酸钠发生器与燃料电池耦合的运行系统及运行方法,该系统包括:次氯酸钠发生系统;供气系统,包括空气供给模块和供氢模块;燃料电池堆,阳极与供氢模块以及次氯酸钠发生系统的副产氢排出口连接;冷却模块,用于通过冷却介质循环对燃料电池堆降温并为进入次氯酸钠发生系统的海水提供热量。如此设置,通过将燃料电池的高效电能与热能特性、次氯酸钠发生装置的低温加热需求与副产气态资源进行深度互补与耦合利用,解决了北方冬季沿海地区电化学制备次氯酸钠的难题,促进了沿海绿色氢能的就近消纳,提高了系统的整体能源利用效率,降低了运行成本,有利于推动沿海工业过程的节能减排。

一种具有液流电堆柔性定位推靠机构的电动压机

NºPublicación:  CN121893590A 21/04/2026
Solicitante: 
大连奥托股份有限公司
CN_121893590_PA

Resumen de: CN121893590A

本发明公开一种具有液流电堆柔性定位推靠机构的电动压机,包括底座和上工作台,所述底座和上工作台之间通过四个导柱连接,四个所述的导柱共同滑动连接有压板,所述压板通过设置在上工作台顶端面上的电机进行驱动,并能够沿着导柱的轴向往复运动,其特征在于:所述压板的底端面上连接有四个定位推靠机构,所述压板的横断面为正方形,所述的四个定位推靠机构分布在压板的四角处。

氢燃料电池储能的纳米微孔绝热板及其制备方法

NºPublicación:  CN121905892A 21/04/2026
Solicitante: 
南通福美新材料有限公司
CN_121905892_PA

Resumen de: CN121905892A

本发明公开了氢燃料电池储能的纳米微孔绝热板及其制备方法,所述绝热板具有开孔网状结构,其体积密度为0.25‑0.30g/cm3,室温导热系数≤0.020W/m·K,且在压缩变形20%时的压缩强度≥750kPa。制备方法包括:将预干燥后的纤维经气流作用达到流态化分散状态后,再通过高压静电场使其单根化并表面荷电,得到荷电纤维;将荷电纤维与其余原料在真空下按序干法混合;最后经梯度模压成型与低温热处理,本发明通过气流与静电协同分散技术,从根本上解决了干法工艺中纤维易团聚的难题,实现了纤维网络的均匀分布,从而同时赋予产品优异的隔热性能与力学强度。

一种燃料重整装置及其运行方法、电化学系统

NºPublicación:  CN121892029A 21/04/2026
Solicitante: 
深圳三环科技有限公司
CN_121892029_PA

Resumen de: CN121892029A

本发明涉及一种燃料重整装置及其运行方法、电化学系统,属于燃料电池技术领域。本发明通过在CPOx反应器的外部设置加热部件,代替现有电加热塞插入CPOx反应器的方案,不用破坏CPOx反应器侧壁的完整性;本发明还设置了与所述CPOx反应器的入口连接的第一管道,通过加热部件对CPOx反应器和第一管道进行加热,在预热过程中,通过第一管道向CPOx反应器输送惰性气体,可以提高反应器内的升温效率和温度分布均匀性;本发明还设置了与所述反应器的入口连接的第二管道,向第二管道输送包含氧化剂和燃料的混合气,使混合气经第二管道输送至反应器内,避免因混合气经第一管道预热后输送至反应器内而造成第一管道内发生积碳现象。

一种经Pr2NiO4浸渍表面修饰的SOFC阴极及其制备方法

NºPublicación:  CN121905876A 21/04/2026
Solicitante: 
佛山大学
CN_121905876_PA

Resumen de: CN121905876A

本发明属于燃料电池的技术领域,具体涉及一种经Pr2NiO4浸渍表面修饰的SOFC阴极及其制备方法。本发明通过配制Pr2NiO4前驱液,将其浸渍在固体氧化物燃料电池BaCo0.4Fe0.4Zr0.1Y0.1O3−δ阴极骨架中进行表面修饰,经多次浸渍‑烘干‑烧结循环,形成均匀分布的Pr2NiO4颗粒修饰层的SOFC阴极,达到提高阴极电化学性能和提升抗Cr毒化能力的目标;本发明具有操作简便和加工高效的优点,通过浸渍法在BCFZY表面包覆了一层致密且化学稳定的Pr2NiO4层,该包覆层在提供高化学性能的同时,确保了活性位点在含铬气氛下的长期稳定性,提高了抗铬毒化能力。

一种基于MBSE的质子交换膜燃料电池系统建模方法及体系

NºPublicación:  CN121902362A 21/04/2026
Solicitante: 
上海工程技术大学南京航空航天大学深圳研究院
CN_121902362_PA

Resumen de: CN121902362A

本发明公开了一种基于MBSE的质子交换膜燃料电池系统建模方法。该方法包括以下步骤:进行需求分析建模,收集利益相关方需要并转为系统需求,构建需求分析模型;进行应用场景建模,识别系统典型运行场景,定义参与者与交互流程,构建应用场景模型;进行功能定义建模,分解系统功能并明确功能间关系,构建功能定义模型;进行架构设计建模,将功能映射到系统构件,设计系统架构,构建架构设计模型;进行系统仿真建模,基于架构模型建立仿真环境,对关键功能及性能进行仿真验证;进行验证与确认,根据仿真结果对系统需求进行验证与确认,确保系统设计满足预期功能与性能目标。本发明能够提高质子交换膜燃料电池系统开发的一致性和可追溯性。

一种可编程燃料电池控制器电路架构及其控制方法

NºPublicación:  CN121901141A 21/04/2026
Solicitante: 
苏州溯驭技术有限公司
CN_121901141_PA

Resumen de: CN121901141A

本发明公开了一种可编程燃料电池控制器电路架构及其控制方法,属于燃料电池技术领域。所述架构包括底层控制芯片、应用控制芯片及芯片间通信接口,底层控制芯片固化BOP驱动与DC/DC控制程序,应用控制芯片开放用户编程,双芯片通过标准化接口通信实现物理隔离;所述方法包括底层固化、应用部署、指令发送、解析执行、独立运行内容,底层芯片集成多模式自适应控制、故障安全机制,应用层故障不影响核心功能。实现了开发门槛的降低,提升系统可靠性,增强用户粘性,适用于燃料电池控制系统。

锌溴液流电池电解液及其应用

NºPublicación:  CN121905908A 21/04/2026
Solicitante: 
深圳理工大学
CN_121905908_PA

Resumen de: CN121905908A

本发明公开了一种锌溴液流电池电解液及其应用,所述电解液包括锌盐、支撑电解质盐、溶剂基体、溴络合剂;其中,所述溶剂基体由水和不少于五种有机溶剂构成。该电解液在水‑锌盐体系中引入不少于五种有机溶剂构成“高熵溶剂化结构”,通过高构型熵破坏水的氢键网络,显著降低凝固点,并调控水活度与锌离子溶剂化结构,从而在低温下同时实现高离子电导与适宜粘度。本发明协同提升了电解液的低温抗冻性能与电极界面稳定性,为锌溴液流电池在宽温域下的长效运行提供了有效解决方案。

一种阿拉伯胶改性复合电极的制备方法

NºPublicación:  CN121905874A 21/04/2026
Solicitante: 
张家港德泰储能装备有限公司
CN_121905874_PA

Resumen de: CN121905874A

本发明公开了一种阿拉伯胶改性复合电极的制备方法,制备步骤包括:S1对碳类电极材料和阿拉伯胶进行预处理,得到预处理后的碳类电极材料和阿拉伯胶细粉浆料;S2对阿拉伯胶细粉浆料进行搅拌处理,并调节pH值,然后将预处理后的碳类电极材料放入浆料中浸泡;S3取出浸泡过后的碳类电极材料,逐步升温干燥,冷却至室温后,得到阿拉伯胶负载的碳类电极材料;S4将负载阿拉伯胶的碳类电极材料转移到管式炉中,通入惰性气体,在惰性气体气氛下进行碳化反应,冷却至室温后,得到阿拉伯胶改性电极材料。解决了现有电极材料石墨毡用于全钒液流电池时,电化学活性不佳的问题。

一种双金属颗粒负载的石墨毡电极材料及其制备方法和应用

NºPublicación:  CN121905879A 21/04/2026
Solicitante: 
湖北振华化学股份有限公司
CN_121905879_PA

Resumen de: CN121905879A

一种双金属颗粒负载的石墨毡电极材料的制备方法,包括如下步骤:(1)对液流电池系统进行原位状态恢复,保证液流电池系统处于初始状态;(2)称取一定量的金属改性剂,加入一定量的浓盐酸中,磁力搅拌至金属改性剂完全溶解,得到电镀液A;(3)往负极电解液中添加一定量电镀液A,启动液路循环系统,让电镀液充分润洗石墨毡;(4)通过脉冲式电镀法进行电化学沉积,待电压达到指定值时停止电镀即得;本发明通过原位在线改进,制备工艺简单,成本低廉,不改变电池结构,适用于各种型号尺寸的液流电池电堆,且可以通过调节脉冲工艺、电镀液浓度控制金属颗粒的负载量及均匀性,制备的复合电极材料可以有效提高电池的性能,显著提高系统效率。

通过碳链连接亲水基团的吡咯烷氮氧自由基及其制备方法与在液流电池中的应用

NºPublicación:  CN121895211A 21/04/2026
Solicitante: 
华南理工大学
CN_121895211_PA

Resumen de: CN121895211A

本发明公开了通过碳链连接亲水基团的吡咯烷氮氧自由基及其制备方法与在液流电池中的应用;水系有机液流电池的正极包括正极电活性材料和支持电解质的水溶液;正极电解液活性物质为通过碳链连接亲水基团的吡咯烷氮氧自由基;支持电解质为单组分或多组分的氯离子无机盐。通过碳链连接亲水基团和吡咯烷氮氧自由基可以同时解决现有吡咯烷氮氧自由基作为水系有机液流电池正极电活性材料低水溶性、低稳定性的问题。

氢燃料电池换热器内部肋片冲击复合换热结构及优化方法

NºPublicación:  CN121902683A 21/04/2026
Solicitante: 
陕西省特种设备检验检测研究院西安交通大学
CN_121902683_PA

Resumen de: CN121902683A

本发明属于氢燃料电池热管理技术领域,涉及一种氢燃料电池换热器内部肋片冲击复合换热结构及优化方法。本发明在换热通道受热面上布置周期性分布的多个肋片,增大了冷却流体的湍流度,提高了受热壁面的传热系数,从而达到传热强化的目的。其次在肋片上布置冲击孔,一方面能够有效降低肋片扰流带来的流动损失,另一方面利用从冲击孔流出的高速冷却流体对受热壁面的直接冲刷而形成的高局部换热系数来进一步提升换热通道的换热效果,有效解决了高热负荷下的局部过热问题。本发明整体结构不仅显著提高了换热器的换热效率,能够满足氢燃料电池系统在高功率密度下的快速散热需求,还降低了流动阻力,减少了能量损失,提高了系统的能量利用效率。

一种带制氢储能供能复合系统的移动能源车

NºPublicación:  CN121906817A 21/04/2026
Solicitante: 
广东中氢智能装备科技有限公司
CN_121906817_PA

Resumen de: CN121906817A

本发明公开了一种带制氢储能供能复合系统的移动能源车,涉及移动能源技术领域,包括车体、搭载于所述车体上的箱体、以及集成于所述箱体内的化学制氢系统、燃料电池供能系统和电化学储能系统;所述化学制氢系统用于制备氢气并输送至所述燃料电池供能系统;所述燃料电池供能系统用于将氢气的化学能转换为电能,并将电能输送至所述电化学储能系统;所述电化学储能系统用于存储电能,并控制电能在所述化学制氢系统、所述燃料电池供能系统、所述电化学储能系统和外部负载之间的流动与分配。本发明不仅避免了传统燃油发电机的高污染、高噪音与对化石燃料的依赖,而且克服了纯电储能车续航有限、充电时间长及环境适应性差的瓶颈。

一种燃料电池冷却液及其制备方法

NºPublicación:  CN121895925A 21/04/2026
Solicitante: 
佛山德联汽车用品有限公司
CN_121895925_A

Resumen de: CN121895925A

本发明涉及冷却液技术领域,尤其涉及一种燃料电池冷却液,包括以下按重量份计量的组分:超纯水480~510份、乙二醇350~450份、丙三醇60~180份、糖醇混合物4.3~5.1份、缓蚀剂6~7份;所述糖醇混合物的制备方法包括以下步骤:将150~250重量份的乳糖醇、100~175重量份的甘露醇、3~8体积份的吡啶混合,在0~5℃的温度下搅拌至完全溶解,得到混合备用溶液;在0~5℃的温度下,缓慢滴加95~110体积份的乙酸酐至混合备用溶液中,滴加完毕后在25~30℃的温度下静置12~14h,得到待纯化溶液;将待纯化溶液倒入由超纯水制成的冰水混合物中,静置30~60min,将沉淀析出物过滤,用0~‑10℃的乙醇洗涤,真空干燥得到糖醇混合物。本发明具备良好的防冻性能,且在低温环境下具有良好的流动性能。

一种锌铁液流电池复合电极及其制备方法与应用

NºPublicación:  CN121905870A 21/04/2026
Solicitante: 
盐城工学院
CN_121905870_PA

Resumen de: CN121905870A

本发明公开了一种锌铁液流电池复合电极及其制备方法与应用,属于锌铁液流电池储能技术领域,所述制备方法包括如下:制备ZIF‑67分散液;将碳毡电极浸入所述ZIF‑67前驱液中一段时间后,进行真空干燥、高温烧制,得到锌铁液流电池电极。本发明通过掺杂过渡金属原子Co,改变电极活性中心的电子自旋态,优化了电子转移过程,从而提高活性位点,抑制了锌枝晶的形成,提高了电池的能量效率和使用寿命。

多元共聚聚苯并咪唑和质子交换膜及其制备方法与应用

NºPublicación:  CN121895578A 21/04/2026
Solicitante: 
中国石油化工股份有限公司中石化(北京)化工研究院有限公司
CN_121895578_PA

Resumen de: CN121895578A

本发明涉及聚苯并咪唑制备技术领域,公开了一种多元共聚聚苯并咪唑和质子交换膜及其制备方法与应用。该多元共聚聚苯并咪唑包括式(1)所示的结构单元A、式(2)所示的结构单元B和式(3)所示的结构单元C,其中,R2和R3相同或不同,且二者各自独立地选自亚芳基、亚烯基、亚环烷基和亚稠环基中的任意一种;R4为二价含氮杂环基团;R为式(4)所示的基团,其中,X为连接键、‑O‑、‑S‑、‑CO‑、‑SO2‑、‑CH2‑、‑C(CH3)2‑或‑C(CF3)2‑。按照本发明的技术方案,本发明所述的多元共聚聚苯并咪唑和质子交换膜具有良好的力学性能和较高的质子传导性能。

一种复合电极结构及锌溴液流电池

NºPublicación:  CN121905883A 21/04/2026
Solicitante: 
中国科学院大连化学物理研究所
CN_121905883_PA

Resumen de: CN121905883A

本发明属于液流电池储能技术领域,特别涉及一种复合电极结构及锌溴液流电池。所述电极包括层叠设置的二片碳毡和位于二片碳毡间的1块锌片,或于二片碳毡间层叠设置的由碳毡间隔的2块以上锌片;于锌片上设置通孔。在负极碳毡中间放置锌片,可以诱导锌溴液流电池在充电过程中,锌在锌片优先沉积,将锌的沉积界面调控至碳毡内部,远离隔膜,可有效的抑制锌枝晶的影响。

一种抗堵塞氢燃料电池过滤装置

NºPublicación:  CN121891858A 21/04/2026
Solicitante: 
南通市江南过滤科技有限公司
CN_121891858_PA

Resumen de: CN121891858A

本发明涉及应用于分离领域的一种抗堵塞氢燃料电池过滤装置,包括有过滤机壳和搭载在过滤控制器内的智能防堵辅助系统,过滤机壳内安装有滤芯,通过弹性气胀条、均流环和吹鼓防堵单元的配合,可在过滤装置的工作间歇期,针对滤芯表面粘连的顽固积尘展开强力清除作业,显著增强了对滤芯的清灰力度与效果,达成高效且优质的清灰目标,有效避免持续应用后滤芯发生堵塞的问题,保障其进气量的持续稳定性,同时,在氢燃料电池运行过程中,还能维持弹性气胀条的收缩状态,避免其对滤芯产生遮挡效应,从而确保滤芯拥有充足的进气量,进而提升了过滤装置持续工作的可靠性,促进了氢燃料电池的整体运行效率。

燃料电池系统

NºPublicación:  CN121905896A 21/04/2026
Solicitante: 
本田技研工业株式会社
CN_121905896_PA

Resumen de: EP4730447A1

0001 A fuel cell system (100) includes a plurality of fuel cells (101), a fuel gas storage unit (2) storing a fuel gas, a valve device (25) disposed between a fuel gas supply flow path (PA1) of each of the plurality of fuel cells (101) and the fuel gas storage unit (2) and configured to permit or shut off a flow of the fuel gas through the fuel gas supply flow path (PA1), and a control unit (102) configured to open the valve device (25) in response to a valve-open command output from the each of the plurality of fuel cells (101). The control unit (102) is configured to open the valve device (25) when the valve-open command is output from at least one of the plurality of fuel cells (101), under a condition that all of the plurality of fuel cells (101) are normal.

燃料电池系统

NºPublicación:  CN121905897A 21/04/2026
Solicitante: 
爱三工业株式会社
CN_121905897_PA

Resumen de: US20260112666A1

0000 A fuel cell system in one aspect of the disclosure includes a first pressure sensor for measuring the pressure in a hydrogen gas supply passage between a hydrogen absorbing alloy canister and an injector, and a control unit configured to control an exhaust-drain valve. When a measured value of the first pressure sensor is equal to or less than a predetermined pressure, the control unit controls the exhaust-drain valve to increase the number of opening-closing operations per unit time more than when the measured value of the first pressure sensor is higher than the predetermined pressure.

燃料电池系统

NºPublicación:  CN121905899A 21/04/2026
Solicitante: 
爱三工业株式会社
CN_121905899_PA

Resumen de: US20260112667A1

0000 A fuel cell system includes an FC stack, a hydrogen gas supply passage, a hydrogen off-gas circulation passage, an ejector, an exhaust-drain valve, a pressure sensor for hydrogen gas, and a controller. The controller variably controls a time ratio between an opening time and a closing time of the exhaust-drain valve per one control cycle, and controls the number of opening-closing operations of the exhaust-drain valve per unit time by keeping the opening time constant and controlling the closing time variably. The controller controls the number of opening-closing operations of the exhaust-drain valve according to a pressure measured value of the pressure sensor in order to adjust the concentration of hydrogen gas in hydrogen off-gas caused to circulate to the hydrogen gas supply passage via the hydrogen off-gas circulation passage.

燃料电池系统

NºPublicación:  CN121905902A 21/04/2026
Solicitante: 
丰田自动车株式会社
CN_121905902_PA

Resumen de: US20260112674A1

0000 A fuel cell system includes a fuel cell, an air supply pipe that supplies an oxidizing gas to the fuel cell, an exhaust pipe that discharges an off-gas discharged from the fuel cell to the outside, a muffler provided in the exhaust pipe, and a control device that executes muffler protection control when an estimated value of a pressure in the muffler exceeds a predetermined threshold value.

一种基于固态储氢两轮车的帆布式换热装置

NºPublicación:  CN224153372U 21/04/2026
Solicitante: 
青岛阳氢集团有限公司
CN_224153372_U

Resumen de: CN224153372U

本实用新型提供一种基于固态储氢两轮车的帆布式换热装置,涉及换热装置技术领域,以解决水冷二轮车氢气需求量大,降温困难的问题,包括换热套筒;换热套筒底部左侧设有进水管;换热套筒底部右侧设有出水管;换热套筒内部安装有帆布水套;换热套筒设置在盖板之间;储氢瓶处于帆布水套内部;储氢瓶底部与燃料电池相连接。储氢瓶放出的氢气能使燃料电池启动,燃料电池运行时会产生大量热量,燃料电池产生的热水会在水泵的作用下,流至帆布水套处,帆布水套处的热会促使储氢瓶放出更多的氢气,储氢瓶放氢时吸收了帆布水套内的热,从而为帆布水套内的冷却液降温,降温后的冷却液在水泵的作用下又会流回燃料电池,将水冷氢能装置的温度降低。

燃料电池系统及车辆

NºPublicación:  CN224153375U 21/04/2026
Solicitante: 
北京卡文新能源汽车有限公司
CN_224153375_U

Resumen de: CN224153375U

本实用新型涉及电池技术领域,公开了一种燃料电池系统及车辆,其中,系统包括:燃料电池堆;湿度控制装置,湿度控制装置包括水路组件以及气路组件;水路组件包括水泵和喷水装置,水泵的进水口与水源连接,水泵的出水口与喷水装置的进水口连接,喷水装置的喷水口与燃料电池堆连接;气路组件包括空气循环回路、旁通阀以及增湿装置,空气循环回路包括三通阀,三通阀的进口通过空气循环回路与空气源连接,三通阀的第一出口与旁通阀的进气口连接,旁通阀的出气口与燃料电池堆连接,三通阀的第二出口与增湿装置的进气口连接,增湿装置的出气口与燃料电池堆连接。由此,能够降低平均单片电压,降低燃料电池堆的输出功率,延长电堆寿命。

燃料电池系统及车辆

NºPublicación:  CN224153376U 21/04/2026
Solicitante: 
北京卡文新能源汽车有限公司
CN_224153376_U

Resumen de: CN224153376U

本实用新型涉及车辆技术领域,公开了一种燃料电池系统及车辆,其中,系统包括:燃料电池电堆;直通比例阀,比例阀组件,第一压力传感器,第二压力传感器,氢气循环回路,氢气循环回路包括氢气循环泵,控制器,控制器与直通比例阀、比例阀组件、引射器、氢气循环泵、第一压力传感器以及第二压力传感器通信连接。本实用新型的系统,通过根据供氢压力以及进氢压力控制直通比例阀、比例阀组件、氢气循环泵以及引射器,以使燃料电池电堆的进气口的进氢压力满足目标压力需求,既能兼顾气氢供给系统,又能兼顾液氢供给系统等多种供应压力的情况,满足燃料电池系统大功率工况输出要求,满足燃料电池电堆的操作条件,保证燃料电池稳定高效工作。

一种燃料电池电堆测试系统及冷启动温度控制方法

NºPublicación:  CN121905895A 21/04/2026
Solicitante: 
中汽研汽车检验中心(武汉)有限公司
CN_121905895_PA

Resumen de: CN121905895A

本申请提供一种燃料电池电堆测试系统及冷启动温度控制方法,涉及燃料电池技术领域。系统包括燃料电池电堆气体供应模块、燃料电池电堆冷却模块,气体供应模块包括板式换热器,冷却模块包括第一液路、第二液路和分支管路。冷启动时,部分冷却液经分支管路流入板式换热器,与预冷后的气体换热,使进堆气体温度跟随冷却液温度同步变化。解决了现有测试台架气液温度不同步的问题,能真实复现商用燃料电池系统冷启动工况,且架构简单、控制逻辑清晰、成本较低,适用于燃料电池电堆冷启动测试。

管式液流电池电堆及全钒液流电池系统

NºPublicación:  CN224153378U 21/04/2026
Solicitante: 
泓曜绿色能源发展(江苏)有限公司
CN_224153378_U

Resumen de: CN224153378U

本实用新型公开了一种管式液流电池电堆及全钒液流电池系统,其中,管式液流电池电堆包括由内向外依次套装设置的石墨棒、第一碳毡电极、质子膜、第二碳毡电极、石墨管以及封装管壳,所述质子膜内侧形成供负极电解液流通的负极反应侧,所述封装管壳上对应所述负极反应侧设有负极进液口和负极出液口,所述质子膜外侧形成供正极电解液流通的正极反应侧,所述封装管壳上对应所述正极反应侧设有正极进液口和正极出液口;所述质子膜的直径与第二碳毡电极的内径相适配,且所述质子膜能够随电解液的流量和压力变化而形成形变调整。本申请采用管式结构,降低了电池结构的复杂性,特别是降低电堆内流体阻力及传质影响,并有效提高质子膜运行的可靠性。

燃料电池系统

NºPublicación:  CN121905898A 21/04/2026
Solicitante: 
丰田自动车株式会社
CN_121905898_PA

Resumen de: US20260112671A1

0000 A fuel cell system includes a fuel cell, an injector that injects fuel gas to the fuel cell, a linear solenoid valve that injects fuel gas to the fuel cell, an injection flow rate of fuel gas from the linear solenoid valve being greater than an injection flow rate of fuel gas from the injector, and a control device configured to control the injector and the linear solenoid valve. The control device is configured to include a switching unit, an operation control unit, an integration unit, and a reduction control unit.

制氢发电系统

NºPublicación:  CN224153377U 21/04/2026
Solicitante: 
广东康士柏科技股份有限公司
CN_224153377_U

Resumen de: CN224153377U

本实用新型公开了一种制氢发电系统,上述制氢发电系统包括:柜体、水处理模组、制氢模组及发电模组,所述水处理模组设在柜体内;所述制氢模组设在所述柜体内并与所述水处理模组相连通,用于将所述水处理模组输出的水进行电解以输出氢气;所述发电模组设在所述水处理模组上方并与所述制氢模组相连通,以通过所述制氢模组输出的氢气产生电能。本实用新型通过水处理模组将注入的自来水进行处理,并在处理后输送至制氢模组进行电解制氢,由此可以将输出的氢气进行储存或输送至发电模组,以使发电模组可以通过氢气作为燃料和空气中的氧气反应产生的化学能转化为电能,从而实现了将氢能发电集成化,减少了整体的占用空间且降低了成本。

一种用于氢燃料电池的氢回收装置

NºPublicación:  CN224153373U 21/04/2026
Solicitante: 
帷幄汽车咨询(南京)有限公司
CN_224153373_U

Resumen de: CN224153373U

本实用新型公开了一种用于氢燃料电池的氢回收装置,属于燃料电池技术领域,其包括电池本体,所述电池本体一侧底部固定连接有连接管,所述连接管外设置有第一单向阀,所述连接管远离电池本体一侧设置有进水箱,所述进水箱内壁开设有通槽。该用于氢燃料电池的氢回收装置,通过设置水泵、曲形管、第一单向阀与通槽,关闭第一单向阀,通过水泵将蓄水箱中的水通过曲形管导入通槽内部,使水带动氢气向通槽内顶部的上升管中流动的同时带动漂浮球向上移动,从而让漂浮球可以在水将氢气排出通槽后抵在上升管底部,避免水进入上升管内部,从而避免水进入电池本体内部影响氢气与氧气正常反应,提高了电池本体发电效率。

微藻介导的发电储能与污水净化耦合装置

NºPublicación:  CN224147858U 21/04/2026
Solicitante: 
东北大学
CN_224147858_U

Resumen de: CN224147858U

本实用新型涉及环保与新能源技术领域,具体公开了微藻介导的发电储能与污水净化耦合装置,包括:微藻污水处理机构和装配于所述微藻污水处理机构一侧的微藻生物燃料电池耦合机构;所述微藻污水处理机构包括支撑架和支撑座,所述支撑架的内壁固定安装有蛇形玻璃管,所述支撑架的前端与后端固定安装有与所述蛇形玻璃管对应的反光罩,所述支撑座的顶部固定安装有反应器;本实用新型能够通过微藻在蛇形玻璃管道内吸收污水中的污染物质,实现对污水的净化,同时使处理后的微藻生物质输送至微藻生物燃料电池耦合机构内,将化学能转化为电能,能够在对污水处理的过程中同时进行发电,有效实现了经济高效的污水净化与能源生产。

一种氢能发电设备的模块化外壳结构

NºPublicación:  CN224153380U 21/04/2026
Solicitante: 
能恒科技(河南)有限公司
CN_224153380_U

Resumen de: CN224153380U

本实用新型涉及氢能发电设备技术领域,且公开了一种氢能发电设备的模块化外壳结构,包括底座,所述底座顶部开设有凹槽一,所述底座顶部开设有凹槽二,所述底座中均匀开设有腔体,所述腔体中固定安装有电推杆,所述电推杆伸缩端固定安装有移动板,所述移动板远离电推杆的一侧固定安装有限位块,所述限位块分别与凹槽一和凹槽二活动套接,所述底座上部左右对称设置有侧板一,所述侧板一底部固定安装有楞条一,所述楞条一与凹槽一相契合,通过电推杆调节限位块与楞条槽口的卡接,从而固定侧板,利用螺栓将顶板固定在侧板上部,实现外壳的快速组装,提高对外壳的维护效率,当外壳某部分发生破损时,可单独对其进行更换,有利于提升经济效益。

用于制造膜电极接合体的离型膜

NºPublicación:  CN121909536A 21/04/2026
Solicitante: 
株式会社大赛璐
CN_121909536_PA

Resumen de: JP2025063600A

To provide a release film 2 which is excellent in peelability from an ion exchange resin layer.SOLUTION: A release film 2 has a base material layer 4, and a release layer 6 laminated on the base material layer 4. The main material of the release layer 6 is a polystyrene-based resin. A preferable polystyrene resin is an alkyl-substituted polystyrene resin. A preferable alkyl-substituted polystyrene resin is poly(4-methylstyrene) and poly(4-tert-butylstyrene). Surface free energy of the release layer 6 is 42.0 mJ/m2 or less. An ion exchange resin layer may be formed on the release film 2.SELECTED DRAWING: Figure 1

エネルギーセルの製造のための、多層状のエンドレスウェブのラミネートのためのラミネート装置

NºPublicación:  JP2026512640A 20/04/2026
Solicitante: 
ケルバー・テクノロジーズ・ゲゼルシャフト・ミト・ベシュレンクテル・ハフツング
JP_2026512640_A

Resumen de: WO2024088827A2

The invention relates to a laminating device for a multilayer endless web (3), which is made of at least one separator web (4, 6) and at least one electrode (5), for producing energy cells, comprising a press device which laminates the multilayer endless web (3) while exerting a compressive force. The press device has two press surfaces (24, 25), by means of which the press device comes into contact with different faces of the endless web (3), and the press surfaces (24, 25) are controlled to different temperatures.

操作量制限を考慮したフラットネスベースでの制御

NºPublicación:  JP2026512737A 20/04/2026
Solicitante: 
ロバートボッシュゲーエムベーハー
JP_2026512737_A

Resumen de: WO2024217881A1

The invention relates to a method for the model-based operation, in particular control, of a control section (∑p(·)), preferably in the form of a sub-system of a coolant system, preferably for the operation of an electrochemical energy converter, comprising the following steps: - determining a state (m actuator(k)) of an actuator of the control section (∑p(·)) taking into account control variable limits (u req,min(k)/u req,max(k)) of the actuator, - operating the control section (∑p(·)) depending on the determined state (m actuator(k)) of the actuator.

一种改性PAN和槲皮素掺杂磺化聚芳醚酮质子交换膜及其制备方法与应用

NºPublicación:  CN121885692A 17/04/2026
Solicitante: 
季华实验室
CN_121885692_PA

Resumen de: CN121885692A

本发明涉及质子交换膜制备技术领域,公开了一种改性PAN和槲皮素掺杂磺化聚芳醚酮质子交换膜及其制备方法与应用,其包括步骤:采用单体共聚法合成磺化聚芳醚酮,通过对聚丙烯腈进行羧基改性得到改性PAN,然后将SPAEK、改性PAN与槲皮素共混成膜。在本发明中,改性PAN的氰基与SPAEK磺酸基形成酸碱对交联网络抑制溶胀,其羧基参与质子传导;槲皮素的多酚羟基构建氢键网络增强结构致密性,并作为自由基清除剂提升抗氧化稳定性。本发明通过三组分协同作用,成功解决了SPAEK膜存在的质子传导率与尺寸稳定性难以平衡、抗氧化性能差的技术问题,所得复合膜兼具高质子传导率、低溶胀率和优异氧化稳定性,适用于全钒液流电池。

基于数据特征的船舶氢燃料电池功率预测方法及系统

NºPublicación:  CN121885680A 17/04/2026
Solicitante: 
江苏大学
CN_121885680_PA

Resumen de: CN121885680A

本发明公开了基于数据特征的船舶氢燃料电池功率预测方法及系统,属于船舶动力控制技术领域。该方法包括以下步骤:S1:构建多源信息融合的置信度评估体系,生成实时的综合预测置信度指数;S2:将所述综合预测置信度指数与预设的第一安全阈值进行比较,生成主动探索扰动指令;S3:封装为带有时间戳的探索实验数据包;S4:对影子学习模型的内部参数进行增量更新;S5:完成主预测模型的在线自适应校正。本发明通过构建实时置信度评估与安全边界内主动探索学习相结合的闭环机制,解决了现有技术中因预测模型固化无法适应动态工况变化,导致控制系统基于错误预测产生负向优化,进而引发性能隐性退化的恶性循环问题。

一种集成地面-地下三循环路径切换的盐穴液流电池系统

NºPublicación:  CN121885679A 17/04/2026
Solicitante: 
中海储能科技(北京)有限公司
CN_121885679_PA

Resumen de: CN121885679A

本发明属于大规模电化学储能领域,具体公开了一种集成地面‑地下三循环路径切换的盐穴液流电池系统,通过全地面、全地下、地面/地下循环三条路径的灵活切换,与“高活性、高适配性电解液体系”的协同设计,实现循环模式灵活适配、能量密度大幅提升、能耗降低及系统稳定性优化的多重目标。通过本发明在盐穴检修、电解液活化或地面模块维护时无需整体停机,系统连续运行率≥98%,远高于现有单一循环路径技术,可满足电网对储能系统持续供电的严苛要求。本发明针对性研发的高活性电解液体系,适配0.1‑12MPa压力、10‑70℃温度的宽范围波动,500次充放电循环后容量保持率≥94.5%,有效避免循环工况下活性物质析出、分解及管路腐蚀问题,电解液使用寿命延长10%以上。

一种半封闭式阴极空冷型燃料电池金属双极板、电堆、系统与设计方法

NºPublicación:  CN121885666A 17/04/2026
Solicitante: 
太原科技大学新疆智能装备研究院
CN_121885666_PA

Resumen de: CN121885666A

本发明属于燃料电池技术领域,具体涉及一种半封闭式阴极空冷型燃料电池金属双极板、电堆、系统与设计方法,其中,阴极板、冷却板和阳极板的活性区叠加形成金属双极板的活性区,金属双极板的活性区分为入口侧低电流密度中压降区、中部中电流密度低压降区以及出口侧高电流密度高压降区;本发明兼具开放式阴极燃料电池结构简单与闭式阴极空冷燃料电池功率密度大的优点,有效规避了开放式阴极结构因直接暴露于外部环境而导致的温度、湿度及污染物干扰等问题,显著提升了系统的环境适应性;同时,也克服了传统闭式阴极空冷燃料电池系统结构复杂、成本高以及控制策略复杂等不足。

一种氢燃料电池无人机氢气路系统

NºPublicación:  CN121885675A 17/04/2026
Solicitante: 
浙江比洛德新能源有限公司
CN_121885675_PA

Resumen de: CN121885675A

本发明公开了一种氢燃料电池无人机氢气路系统,包括设置于无人机机架上的氢瓶、减压阀、氢气进堆阀、氢气压力传感器、燃料电池堆、汽水分离器、双变量蠕动泵和排水阀。系统通过管路构建闭式氢气循环回路,连接上述部件,实现对未反应氢气的主动回收利用,并借助双变量蠕动泵,可独立调节其转速与挤压程度,从而动态控制氢气循环的流量与流体冲刷强度,该系统能够加快氢气流动、提升反应速率,并利用循环气体实现加湿加温,同时有效将电堆内生成的液态水携带排出,防止水汽凝结堵塞,由此,系统在显著提高氢气利用率与反应效率的基础上,从根本上解决了无人机燃料电池在动态飞行工况中的水热管理难题。

全钒液流电池充放电方法

NºPublicación:  CN121885699A 17/04/2026
Solicitante: 
河北钒昇科技有限公司河北建投钒晟储能科技有限公司
CN_121885699_PA

Resumen de: CN121885699A

本发明涉及全钒液流电池充放电方法,方法包括充电过程;充电过程如下:步骤S1:设定参数,监测当前电压和充电电流;步骤S2:当前电压与第一阈值电压比对,据此确定充电方式;若当前电压小于第一阈值电压,则以恒流的充电方式进行充电;若当前电压大于等于第一阈值电压,则以恒压的充电方式进行充电,并进入步骤S3;步骤S3:进入恒压的充电方式后,将充电电流与第一阈值电流进行比对;若充电电流大于第一阈值电流,则继续以恒压的充电方式进行充电;若充电电流小于等于第一阈值电流,则以脉冲涓流的充电方式进行充电;步骤S4:全钒液流电池系统以脉冲涓流的充电方式进行充电后,对当前电量进行精确校准直至达到预设的充电上限。

一种燃料电池电堆的氢气供给系统及控制方法

NºPublicación:  CN121885676A 17/04/2026
Solicitante: 
佛山仙湖氢电科技有限公司
CN_121885676_PA

Resumen de: CN121885676A

本发明公开了一种燃料电池电堆的氢气供给系统及控制方法,本发明通过供气支路与排气支路的配合,系统有效降低了供气主路中供气减压阀后的氢气压力。此时,主路氢气仅需承担电堆缓慢消耗的氢气补给,从而大幅缩短了燃料电池电堆在高压氢气下的运行时间。尽管高压氢气通入时间较短,系统仍能高效完成氢气供给与液态水排出任务。并且该工作模式显著降低了电堆持续承受的氢气入口工作压力,不仅提升了系统安全性与耐久性,还有效减少了氢气泄漏与向阴极渗透的风险。同时,系统大幅降低了将高压储氢瓶内气体持续减压至工作压力所需的总压缩能耗,从而提高了能量利用效率,增强了整车续航里程或固定式系统的运行经济性。

一种铁铬液流电池系统及电解液的再平衡方法

NºPublicación:  CN121885701A 17/04/2026
Solicitante: 
宿迁时代储能科技有限公司
CN_121885701_PA

Resumen de: CN121885701A

本发明提供一种铁铬液流电池系统及电解液的再平衡方法,所述铁铬液流电池系统包括:铁铬液流电池主体和再平衡装置;所述再平衡装置包括:再平衡剂储罐,用于容纳再平衡剂溶液;还原剂储罐,用于容纳还原剂,所述还原剂储罐与再平衡剂储罐连通;再平衡电堆,其通过管路分别与铁铬液流电池主体中发生荷电状态偏移的电解液储罐、以及再平衡剂储罐连通;以及分别用于输送还原剂、电解液、再平衡剂的泵。本发明铁铬液流电池系统能实现铁铬液流电池电解液的再平衡,具有低成本、无污染、可在线连续运行的优点,能有效提升液流电池的长期稳定性。

一种电解质片的制造方法、电解质片和固体氧化物电池

NºPublicación:  CN121885694A 17/04/2026
Solicitante: 
中国石油化工股份有限公司中石化(大连)石油化工研究院有限公司
CN_121885694_PA

Resumen de: CN121885694A

本发明涉及一种电解质片的制造方法、电解质片和固体氧化物电池。根据本发明的制造方法,包括以下步骤:1)提供原料组合物,其中所述原料组合物包含氧化物粉体和晶相稳定剂粉体,并且所述氧化物基本上以其纯态在室温下稳定的晶相存在,2)研磨所述原料组合物,获得研磨组合物,其中设所述原料组合物中所述氧化物粉体的粒径DV(50)为A1,设所述研磨组合物的粒径DV(50)为B,则B/A1=0.53‑0.67,3)将所述研磨组合物成型为片材,4)烧结所述片材,获得包含所述晶相稳定剂稳定化所述氧化物而成的晶粒的电解质片。本发明的制造方法缩短了生产流程,提高了生产效率,更适合商业化生产。

CIRCUIT D’ALIMENTATION EN HYDROGENE D’UNE PILE A COMBUSTIBLE POUR VEHICULE ELECTRIQUE A PILE A COMBUSTIBLE A HYDROGENE et VEHICULE ELECTRIQUE CORRESPONDANT.

NºPublicación:  FR3167483A1 17/04/2026
Solicitante: 
RENAULT S A S [FR]
FR_3167483_A1

Resumen de: FR3167483A1

Ce circuit d’alimentation en hydrogène d’une pile à combustible à hydrogène pour véhicule automobile électrique à pile à combustible à hydrogène, comprend un réservoir d’hydrogène (15) et un circuit d’hydrogène (16) comprenant un circuit de remplissage (17) du réservoir comprenant une tubulure de remplissage (18) comportant une extrémité de remplissage fixe par rapport à la carrosserie du véhicule et un circuit de distribution (19) qui communique avec la pile à combustible, le circuit de remplissage et le circuit étant reliés en communication en amont d’une vanne de commande de l’ouverture et de la fermeture (27) du réservoir prévue sur le réservoir (15). Le circuit de remplissage comporte une vanne anti-retour (26) configurée pour interdire un refoulement d’hydrogène du réservoir vers le circuit de remplissage Figure pour l’abrégé : Fig 3

一种利用相变材料的全钒液流电池热管理系统

NºPublicación:  CN121885672A 17/04/2026
Solicitante: 
河北钒昇科技有限公司河北建投钒晟储能科技有限公司
CN_121885672_PA

Resumen de: CN121885672A

本发明涉及全钒液流电池技术领域,尤其涉及一种利用相变材料的全钒液流电池热管理系统,包括电解液储罐,电解液储罐内设有电解液腔和相变腔,相变腔内填充有相变材料,相变腔包括相互连通的内腔和外腔。相变材料在相变过程中温度基本恒定,有效解决传统显热控温中温度波动较大的问题。

咪唑鎓接枝阴离子交换膜、制备方法以及在非水系液流电池中的用途

NºPublicación:  CN121873401A 17/04/2026
Solicitante: 
南京工业大学
CN_121873401_PA

Resumen de: CN121873401A

本发明涉及咪唑鎓接枝阴离子交换膜、制备方法以及在非水系液流电池中的用途,属于液流电池技术领域。本发明提出的具有三维多级拓扑结构的烷基咪唑鎓接枝交联聚苯并咪唑阴离子交换膜,交联工艺赋予隔膜优异的耐有机溶剂稳定性,后续的咪唑鎓阳离子接枝策略则显著提升了隔膜在有机溶液中的离子电导率。结合原位、非原位表征与分子动力学模拟发现,接枝的咪唑鎓阳离子可有效促进阴离子跳跃传导。此外,非水系液流电池的优异性能验证了交联结构使隔膜在有机中长期运行时仍能保持结构完整性。

一种用于工商业的全钒液流电池能量回收系统

NºPublicación:  CN121885698A 17/04/2026
Solicitante: 
河北钒昇科技有限公司河北建投钒晟储能科技有限公司
CN_121885698_PA

Resumen de: CN121885698A

本发明涉及储能技术领域,尤其涉及一种用于工商业的全钒液流电池能量回收系统,包括全钒液流电池的电堆,电堆通过直流母线组连接有PSC储能变流器,直流母线组电性连接有DC/DC转换器的输入一端,DC/DC转换器的输出一端电性连接有蓄电池组,DC/DC转换器用于对蓄电池组进行充电,在PSC储能变流器和全钒液流电池系统的泵循环系统处于停机状态时,将电堆中残余电能存储至蓄电池组中,实现残余能量的能量回收模式。可将电堆中残余电能存储至蓄电池组中,实现残余能量回收,解决了需额外投入成本搭建冗余供电系统的问题。

一种机车氢燃料电池和空气制动系统及其集中供气方法

NºPublicación:  CN121871556A 17/04/2026
Solicitante: 
中车戚墅堰机车有限公司
CN_121871556_PA

Resumen de: CN121871556A

本发明涉及氢燃料电池的技术领域,尤其涉及一种机车氢燃料电池和空气制动系统及其集中供气方法。包括缓冲风缸一、缓冲风缸二位于系统中心,缓冲风缸一的一端与缓冲风缸二的一端连接、并且连接管路上设有止回阀二,在该连接管路的延伸端端部设有压力传感器,所述缓冲风缸一的一端通过管路连接燃料电池,缓冲风缸一与燃料电池连接的管路上设有减压阀,所述缓冲风缸一的另一端通过管路连接空气压缩机,在缓冲风缸一与空气压缩机连接的管路上设有空气净化装置和止回阀一,所述缓冲风缸二的另一端连接空气制动系统。该系统配有多套空气压缩机组,即使单台空气压缩机故障也不会影响机车正常运行。

一种燃料电池的石墨双极板制备方法

NºPublicación:  CN121885665A 17/04/2026
Solicitante: 
江西杜科新材料有限公司
CN_121885665_A

Resumen de: CN121885665A

本申请公开了一种燃料电池的石墨双极板制备方法,包括以下步骤:取固定碳≥99%,60目~100目的天然鳞片石墨,向天然鳞片石墨加入体积比为3:1的硫酸与硝酸进行改性,得到改性石墨;将改性石墨与导电介质混合,喷雾造粒,得到颗粒料;将颗粒料加入到预热至60℃~200℃的模具,并采用多梯度模压工艺进行模压,冷却脱模,得到双极板胚体;将双极板胚体在惰性气体保护下分段热处理固化后,在半成品双极板均匀喷涂疏水涂层,烘干,得到成品石墨双极板。通过对石墨酸氧化改性,将改性石墨与导电介质喷雾造粒,采用多梯度模压工艺、分段固化和疏水处理,实现低成本制备高导电和高机械性能的石墨双极板。

一种锌溴液流电池用复合隔膜及其制备方法和应用、锌溴液流电池

NºPublicación:  CN121885668A 17/04/2026
Solicitante: 
深圳先进技术研究院
CN_121885668_PA

Resumen de: CN121885668A

本发明提供了一种锌溴液流电池用复合隔膜及其制备方法和应用、锌溴液流电池。本发明的锌溴液流电池用复合隔膜,包括隔膜以及隔膜表面的耐化学氧化涂层,耐化学氧化涂层的材料为四丁基三溴化铵,其中,四丁基三溴化铵涂层对隔膜进行保护,且四丁基三溴化铵能够有效的与锌金属反应,从而阻止锌枝晶穿透隔膜造成短路,显著提升电池的循环寿命;本发明的锌溴液流电池用复合隔膜的制备方法,无需使用任何高成本的制作设备,这一简化的制备工艺为实现商业化生产提供了更为便利的途径。

一种一体封装固体氧化物电堆

NºPublicación:  CN121885702A 17/04/2026
Solicitante: 
中国科学院上海应用物理研究所
CN_121885702_PA

Resumen de: CN121885702A

本发明涉及一种一体封装固体氧化物电堆,碟簧设置于顶板与加压板之间;封闭螺母嵌装于底板内;绝缘螺栓依次贯穿加压板、碟簧、顶板、各重复单元的压缩件与连接板及底板,并与封闭螺母配合紧固,形成独立封闭的电堆单元;绝缘螺栓提供的拉力作用于碟簧和压缩件,碟簧产生垂直方向紧固力,压缩件产生水平方向紧固力。本发明的电堆通过内置紧固组件实现紧凑设计,避免外部紧固件占用空间;双向紧固大幅提升各方向结构稳定性,增强水平抗剪切能力;弹性部件可动态匹配温变导致的尺寸变化,避免紧固失效;一体化封装使电堆无需额外紧固机构,内置紧固组件实现防拆效果,提升独立性,有效推动固体氧化物电堆的规模化应用与产业化进程。

燃料电池催化层中氧气传质系数的模拟计算方法、装置

NºPublicación:  CN121885690A 17/04/2026
Solicitante: 
华东理工大学
CN_121885690_PA

Resumen de: CN121885690A

本申请主要涉及氢能应用技术领域,具体地涉及一种燃料电池催化层中氧气传质系数的模拟计算方法、装置。本申请提供的燃料电池催化层中氧气传质系数的模拟计算方法,包括建立基于团聚体子模型的燃料电池数值模型;基于所述数值模型,构建基于燃料电池极化曲线的迭代算法;在预设的取值范围内设定催化层中的氧气传质系数作为初始值,基于迭代算法计算获得对应的模拟极化曲线,将所述模拟极化曲线与预先获得的实验极化曲线进行对比,以获得误差值;基于获得的误差值,作为收敛判据,通过所述迭代算法,更新所述氧气传质系数的取值,直至误差值满足预设阈值,输出对应的氧气传质系数。实现了对氧气在离聚物内传质系数的高效、准确计算。

一种燃料电池电堆的同步装配活化方法、装配活化后燃料电池电堆与燃料电池

NºPublicación:  CN121885678A 17/04/2026
Solicitante: 
一汽解放汽车有限公司
CN_121885678_PA

Resumen de: CN121885678A

本发明提供了一种燃料电池电堆的同步装配活化方法、装配活化后燃料电池电堆与燃料电池,同步装配活化方法包括:(1)将燃料电池电堆所需的零部件堆叠好后,以持续增大的压力进行初步压装,直至得到电堆堆芯高度小于设计高度的初步装配电堆;(2)对步骤(1)所得初步装配电堆进行活化,得到活化后初步装配电堆;(3)采用呈阶梯式递增的压力对步骤(2)所得活化后初步装配电堆进行压装,得到装配活化后燃料电池电堆。所述同步装配活化方法中,实现了低组装压力下进行活化,确保了双极板脊对应的膜电极区域可以获得更充分的活化;另外,活化后再通过呈阶梯式递增的压力进行压装,改善了活化效果,提升了燃料电池电堆的整体性能。

具有热电水三联供功能的分布式氢能电站

NºPublicación:  CN121885671A 17/04/2026
Solicitante: 
宝石电气设备有限责任公司宝鸡石油机械有限责任公司中国石油天然气集团有限公司
CN_121885671_PA

Resumen de: CN121885671A

本发明公开的具有热电水三联供功能的分布式氢能电站,属于氢能应用装置技术领域,包括氢燃料电池,氢燃料电池的阳极连接有氢气系统,氢燃料电池的阴极连接有空气系统,氢燃料电池还连接有副产水尾排回收系统、供热系统和供电系统。本发明能量转换效率高于传统燃油(气)发电机组,可与燃油发电机、工业电网等并网工作;单台设备额定功率大,可一对一替代传统的钻井现场用MW级燃油(气)发电机组;具有外部换热接口,可为生产生活提供热源;配套有支撑电源,可实现冷启动与功率动态支撑,避免频繁陡增负荷对燃料电池系统的影响,具有供水、供热、供电三位一体的特点。

燃料电池系统含水量估计方法及装置

NºPublicación:  CN121885689A 17/04/2026
Solicitante: 
中车工业研究院有限公司
CN_121885689_PA

Resumen de: CN121885689A

本申请提供一种燃料电池系统含水量估计方法及装置,涉及燃料电池技术领域,该方法包括:获取燃料电池系统第一参数和第二参数;基于第一参数,对状态转移模型当前时刻的粒子状态进行预测,得到每个粒子的预测状态;基于第二参数,利用观测模型计算每个粒子的预测状态所对应的理论观测值,并基于理论观测值与实际测量值的差异,更新每个粒子的权重;基于更新后的粒子权重,对每个粒子进行重采样,生成新的粒子集合,并基于新的粒子集合,计算状态转移模型各个状态变量的加权平均值,得到含水量指标当前时刻的估计值。本申请提供的燃料电池系统含水量估计方法及装置,用于在燃料电池系统的实际运行过程中,对质子交换膜的含水量进行精确在线估计。

一种铝水反应制氢单兵电源装置

NºPublicación:  CN121885664A 17/04/2026
Solicitante: 
武汉晨发科技有限公司
CN_121885664_PA

Resumen de: CN121885664A

本发明属于氢电技术领域,具体涉及一种铝水反应制氢单兵电源装置,包括壳体,安装于壳体内的供氢模块、供水模块、供氧模块以及电池模块;其中,供氢模块包括反应釜以及与反应釜可拆卸连接的密封上盖,反应釜内部放置有铝基合金材料,密封上盖上设置有用于水进入的进水端口;供水模块包括储水箱以及安装于储水箱底部的微型水泵,微型水泵出水端口通过管道与进水端口连通,以向反应釜内部水供给,并与铝基合金材料反应产生氢气;供氧模块包括增压泵以及与增压泵进气端相连的储气罐,储气罐进气端与壳体外相连通用于氧气的收集。本发明能够将制氢与氢转化电能模块进行集成,构建出一种模块化、智能化、体积小,从而可单人携带的高能效移动电源。

燃料电池系统、燃料电池系统的控制方法和车辆

NºPublicación:  CN121885674A 17/04/2026
Solicitante: 
北京卡文新能源汽车有限公司
CN_121885674_PA

Resumen de: CN121885674A

本发明公开了一种燃料电池系统、燃料电池系统的控制方法和车辆,燃料电池系统包括:电堆,电堆连接有尾气水排放流路,尾气水排放流路包括气液分离器、排气流路和排水流路,气液分离器与电堆、排气流路和排水流路连接;收集箱和储水箱,收集箱设有进口和出口,进口与排水流路连通,出口与排气流路连通,收集箱与储水箱选择性地连通以向储水箱出水;冷却流路,冷却流路对电堆冷却,储水箱内的水通过第一换热器与冷却流路选择性地换热。本发明的燃料电池系统,设置收集箱靠近气液分离器分布,使得取水能达到最高位置,便于取水利用,且利用电堆反应产生的水对冷却流路换热,可实现对冷却流路的升温和降温,以满足电堆的散热和升温需求。

一种四价钒电解液及其制备方法和电池

NºPublicación:  CN121885697A 17/04/2026
Solicitante: 
中国石油化工股份有限公司中石化石油化工科学研究院有限公司
CN_121885697_A

Resumen de: CN121885697A

本公开涉及一种四价钒电解液及其制备方法和电池,该方法包括:S1、将五氧化二钒与硫酸溶液混合,得到第一混合物;S2、在惰性气氛中,使所述第一混合物与还原糖接触进行还原反应。本公开的方法工艺简单,能够制备得到高稳定性四价钒电解液。

空压机及其轴向力调节方法、燃料电池系统和车辆

NºPublicación:  CN121875977A 17/04/2026
Solicitante: 
广州汽车集团股份有限公司
CN_121875977_PA

Resumen de: CN121875977A

本发明公开了一种空压机及其轴向力调节方法、燃料电池系统和车辆,所述空压机包括、机体、增压机构和密封机构,密封机构包括均安装在转轴上的第一密封组件和第二密封组件,第一密封组件连接第一叶轮靠近第二叶轮的一侧,且第一密封组件与第一叶轮之间设有连通第一蜗壳的第一密封通道;第二密封组件连接第二叶轮靠近第一叶轮的一侧,且第二密封组件与第一叶轮之间设有连通第二蜗壳的第二密封通道;第二密封组件上设有连通第二密封通道的旁路密封通道,以及用于调节旁路密封通道与第二密封通道之间的连通口开度的调节组件。本发明通过调节组件对该连通口进行开度调节,实现空压机在全转速范围内的轴向力平衡,提高止推轴承的安全性能和效率。

正极电解液、制备方法和液流电池

NºPublicación:  CN121885696A 17/04/2026
Solicitante: 
广州天赐高新材料股份有限公司
CN_121885696_PA

Resumen de: CN121885696A

本申请提出了一种正极电解液、该正极电解液的制备方法和液流电池,正极电解液包括:活性物质,所述活性物质适于提供正五价钒离子;分散剂;阳离子,所述阳离子包括钙离子、镁离子、钠离子、钡离子、锶离子和铵离子的至少之一;和氯离子。由此,该正极电解液具有较好的稳定性,能够提高正五价钒离子在正极电解液中的溶解度以及分散度,避免产生沉淀,进一步提升电池的容量与能量密度。

一种膜电极浆料分散方法

NºPublicación:  CN121885645A 17/04/2026
Solicitante: 
广东深科鹏沃新能源有限公司
CN_121885645_PA

Resumen de: CN121885645A

本发明公开了一种膜电极浆料分散方法,包括如下步骤:S1、将催化剂和水混合、进行搅拌;得到混合液I;S2、将质子交换树脂、有机溶剂与混合液I混合,得到混合液II;S3、将混合液II进行高压均质若干次即得,所述高压均质的工作压力按照如下公式进行计算;Fn=F1+(n‑1)d;其中,Fn为第n次的压力,Fn的最大值为10500‑11500 psi,F1为初始的压力,F1的最小值为9500‑10500 psi,n>1,100≤d≤1000。本发明的分散方法使得制备的浆料粒径小、粒径分布均匀并且稳定性好。组装成质子交换膜燃料电池后,电性能好。

基于沸石掺杂调控的高温质子交换膜燃料电池膜电极的制备方法

NºPublicación:  CN121885648A 17/04/2026
Solicitante: 
华东理工大学
CN_121885648_PA

Resumen de: CN121885648A

本发明公开了一种基于沸石掺杂调控的高温质子交换膜燃料电池膜电极的制备方法,本发明通过高温焙烧和磷酸处理激活沸石,将其与催化剂、粘结剂等混合制成催化剂浆液,并使用超声喷涂技术将浆液喷涂于气体扩散电极上;经热处理后,将电极与高温质子交换膜及聚酰亚胺薄膜按顺序组装并热压成型,最终获得优化后的高温质子交换膜燃料电池膜电极。本发明提供了一种兼具高活性和优良耐久性的膜电极组件,沸石的引入显著提升了活性,并且在长达500 h的耐久性测试中,经过8次启停循环,电池电压几乎无衰减,表现出了良好的稳定性。

一种阴离子交换膜及其制造方法

NºPublicación:  CN121885667A 17/04/2026
Solicitante: 
南京工业大学南京高谦功能材料科技有限公司南京信息工程大学
CN_121885667_PA

Resumen de: CN121885667A

本发明公开了一种阴离子交换膜及其制备方法,属于功能高分子膜材料领域。该膜主要解决现有聚芳基哌啶鎓阴离子交换膜因完全季铵化导致的溶胀度高、电极活性物质阻隔性能差的问题,通过精确控制哌啶环的季铵化反应程度(优选85%),使该聚合物网络同时包含季铵离子传导基团和叔胺氢键供给基团,从而维持了离子通道的高效形成。所制备膜在保持较高离子传导率的前提下,其溶胀度和电极活性物质的渗透率显著低于完全季铵化膜。该膜制备工艺简单可控,适用于碱性液流电池等电化学储能装置。

一种高效率的钒电池电极材料制造工艺

NºPublicación:  CN121885646A 17/04/2026
Solicitante: 
国华碳能(江苏)新材料有限公司
CN_121885646_A

Resumen de: CN121885646A

本发明公开了一种高效率的钒电池电极材料制造工艺,包括选用原丝细度为1.44Dtx,极限氧指数为42%‑44%,断裂强度大于1.96cn/dtex,卷曲度40‑48个/10cm规格的丝来进行纺纱,选用公支纱10/2股纱线进行浸渍、烘干、合稔,采用采用连续式碳化炉结构碳化,采用空气活化炉结构活化;本发明采用创新的编织布结构材料来做电极,通过特殊规格的预氧丝、纺纱规格、编织结构、碳化工艺、活化工艺,使得所制成的碳布在高电流密度下的能量效率明显高于碳毡与普通碳布,能够提高电解液利用效率,降低系统成本。

一种新型结构的燃料电池增湿器

NºPublicación:  CN121885677A 17/04/2026
Solicitante: 
萱柯氢能科技(北京)有限公司
CN_121885677_PA

Resumen de: CN121885677A

本发明涉及燃料电池技术领域,公开了一种新型结构的燃料电池增湿器,包括主体壳体和集束壳体,集束壳体装配于主体壳体的内部端板上,且集束壳体配置有内部滑块结构,内部滑块结构与主体壳体内部的端板滑动配合以调整集束壳体的尺寸,集束壳体内部设有中空纤维膜管,中空纤维膜管通过灌封胶面与主体壳体固定,主体壳体的两端可拆卸连接有端盖,端盖用于接入气体干气路,主体壳体上安装有压力调节阀,压力调节阀用于平衡干湿两路压差,主体壳体的接口处设有接口滑块,所述接口滑块与主体壳体接口滑动连接以调整湿气路接口的方位,用以解决现有增湿器抗压抗冲击强度不足、可塑性差、适配性有限及干湿两路压差波动影响使用稳定性的问题。

一种新能源电动车电池外壳生产线

NºPublicación:  CN121870136A 17/04/2026
Solicitante: 
南京快轮智能科技有限公司
CN_121870136_PA

Resumen de: CN121870136A

本发明涉及电池制造技术领域,公开了一种新能源电动车电池外壳生产线,包括工作平台,所述工作平台的上表面固定连接有挡板,所述挡板的上表面固定连接有电动滑台,所述顶块的外壁设置有支撑组件,所述挡板的外壁固定连接有电动推杆三,所述电动推杆三的输出端固定设置有固定柱,所述固定柱的内壁固定连接有微型电机,所述微型电机的输出端固定设置有转块,所述转块的外壁转动连接在固定柱的外壁。通过电动推杆二推动顶块滑动的同时带动支撑组件和滑座同步移动,设置的顶块配合支撑组件能够对外壳本体的内壁进行支撑,达到防止外壳本体出现变形的效果。

具有吩嗪基的负极电解质及其在水系有机液流电池中的应用

NºPublicación:  CN121885700A 17/04/2026
Solicitante: 
常州大学
CN_121885700_PA

Resumen de: CN121885700A

本发明属于新能源材料领域,具体涉及一类具有吩嗪基的负极电解质及其在水系有机液流电池中的应用。2,3‑二甲基对苯醌和3,4‑二氨基苯甲酸脱水缩合制备HDMPC。2‑氯‑3‑硝基苯甲酸与2‑氨基苯乙酸反应得到中间体,再通过硼氢化钠关环得到CPCA。该类吩嗪基物质具有良好的溶解性和电化学性能,HDMPC和CPCA分别在1 M LiOH和KOH中溶解度高达1.23 M和1.39 M,电化学研究显示HDMPC和CPCA的平衡电位分别为‑0.708 V和‑0.475 V,具有快速的氧化还原动力学。将其作为负极活性物质应用于水系有机液流电池时,展现出高库仑效率、高能量密度及长循环寿命等突出优点。

一种提高燃料电池模拟精度的方法

NºPublicación:  CN121881743A 17/04/2026
Solicitante: 
华东理工大学
CN_121881743_PA

Resumen de: CN121881743A

本发明聚焦于燃料电池仿真技术领域。在质子交换膜燃料电池的研究进程中,模拟仿真技术占据着不可替代的核心地位,其价值集中体现在对多物理场耦合机理的深度剖析以及对实验研究的精确指导等关键层面。然而,在基于软件开展相关模拟研究时,由于软件自身固有的局限性,以及实际工况条件所展现出的高度复杂性,目前尚难以达成模拟数据与实际实验数据的完全一致性。鉴于上述现状,本发明提出一种创新方法,即通过对模拟数值进行校正,获取更为贴近实测数据的校正结果,尤其致力于缩小浓差极化部分模拟数据与实测数据之间的差距。此方法旨在为质子交换膜燃料电池的性能优化、设计改进以及实际工程应用提供更为精准、可靠的数据支撑。

检测电动车辆燃料电池的氢气泄漏的方法和系统

NºPublicación:  CN121885684A 17/04/2026
Solicitante: 
博世氢动力系统(重庆)有限公司
CN_121885684_PA

Resumen de: CN121885684A

一种检测电动车辆燃料电池的氢气泄漏的方法,包括:检测电动车辆的动力电池包的当前SOC和电动车辆的当前运动状态,以判断电动车辆的燃料电池当前是否停止供电并估算在电动车辆的当前运动状态下燃料电池停止供电的持续时间,其中电动车辆的当前运动状态包括当前车速;以及如果估算的持续时间达到预定的持续时间阈值,则向燃料电池的阳极输入氢气使阳极内的气体压力维持在恒定值,同时检测燃料电池的阴极内的气体压力并计算阴极内的气体压力的升高速率,如果该升高速率大于等于预定的升高速率阈值,则判断燃料电池存在氢气从阳极到阴极的内部泄漏。还提出一种检测电动车辆燃料电池的氢气泄漏的系统,该系统被配置成执行根据本发明的方法。

一种锌溴液流电池用负极电解液及其制备方法和应用、锌溴液流电池

NºPublicación:  CN121885695A 17/04/2026
Solicitante: 
深圳先进技术研究院
CN_121885695_PA

Resumen de: CN121885695A

本发明提供了一种锌溴液流电池用负极电解液及其制备方法和应用、锌溴液流电池。本发明的负极电解液,包括铅盐,铅盐的浓度为0.0005~0.002mo1/L。本发明的锌溴液流电池,得益于痕量Pb金属优先还原到碳毡电极上形成的高性能复合电极,痕量铅原子提供的坚固成核位点和与锌原子之间的强键合,抑制了初始沉积阶段的表面扩散,促进了锌的均匀沉积,结合Pb的高析氢过电位,协同改善了锌电镀/剥离过程中的界面动力学和热力学稳定性,该复合电极能够有效提高锌金属的可逆性,同时抑制电极界面的析氢、腐蚀等问题,提高电池的循环寿命及电池性能。本发明在不需要额外工序的情况下,降低了成本,提高了效率,工艺简单。

多孔碳载体及其制备方法、催化剂、膜电极、燃料电池

NºPublicación:  CN121885655A 17/04/2026
Solicitante: 
深圳市贝特瑞新能源技术研究院有限公司
CN_121885655_PA

Resumen de: CN121885655A

本申请提供一种多孔碳载体及其制备方法、催化剂、膜电极、燃料电池、涉电设备,其中,该多孔碳载体包括:多孔碳载体的拉曼光谱图包括2650cm‑1至2700cm‑1拉曼位移波数的2D峰、1570cm‑1至1580cm‑1拉曼波数的G峰、1120cm‑1至1250cm‑1拉曼波数的D''峰;其中,G峰的半高宽的取值范围为30cm‑1至60cm‑1,2D峰与G峰的面积比的取值范围为1.50至2.20,D''峰与G峰的面积比的取值范围为0.02至0.10。在本申请多孔碳载体能够解决现有多孔碳载体难以同时兼顾高湿和低湿工况下的耐久性的问题。

一种燃料电池催化剂浆料的回收与利用方法

NºPublicación:  CN121885663A 17/04/2026
Solicitante: 
安徽元隽氢能科技股份有限公司
CN_121885663_A

Resumen de: CN121885663A

本发明涉及一种燃料电池催化剂浆料的回收与利用方法。本发明将待回收催化剂浆料剪切分散后进行第一次过滤得到一次滤饼、一次滤液;对一次滤液进行低温离心处理,进行第二次过滤后获得二次滤饼、二次滤液;所得二次滤液即为回收的催化剂浆料。本发明通过控制减少新的颗粒聚集的同时,分离出较大的聚集颗粒,从而确保无较大颗粒催化剂‑树脂聚集体分离后的浆料可以用于CCM生产。具体地,控制较低温度,减轻离心过程催化剂颗粒团聚(即固定微细浆料分散状态),同时利用高速离心加速凝聚大颗粒的聚集,实现均匀分散浆料与粗大颗粒有效分离,达到“失效”催化剂浆料的回收利用。

一种利用电沉积壳聚糖促进电化学活性菌产电的方法

NºPublicación:  CN121885647A 17/04/2026
Solicitante: 
北京理工大学
CN_121885647_PA

Resumen de: CN121885647A

纳米材料修饰电极是提高电化学活性菌附着和产电的有效手段,往往使用壳聚糖作为基础修饰,但是壳聚糖对于电化学活性菌的影响一直不清晰。本专利公开了一种利用电沉积壳聚糖促进电化学活性菌产电的方法。壳聚糖修饰对电化学活性菌产电的促进作用是不可忽视的,最多能够将电化学活性菌产电提高14.19倍。壳聚糖电沉积时间对于电化学活性菌产电的促进作用呈现倒U形,电沉积时间为10 min时促进作用最佳。壳聚糖沉积物提高电化学活性菌产电来源于轻微的电化学活性提高和明显的生物量增加。当电沉积时间较短时,壳聚糖沉积物氨基含量不足,不能有效地促进电化学活性菌附着。反而,当电沉积时间较长时,氨基向吡啶氮转换开始出现,削弱了氨基对于电化学活性菌附着的促进作用。

一种氢燃料电池催化剂及其制备方法以及氢燃料电池

NºPublicación:  CN121885660A 17/04/2026
Solicitante: 
郴州新能源电池材料研究中心郴江实验室
CN_121885660_PA

Resumen de: CN121885660A

本发明提供一种氢燃料电池催化剂及其制备方法以及氢燃料电池。该方法包括:制备载体原料的水性分散液、铂基前驱体的水溶液、掺杂元素前驱体的水性分散液以及助剂的分散液;将载体原料的水性分散液、铂基前驱体的水溶液和掺杂元素前驱体的水性分散液混合并反应,随后加入助剂的分散液,继续反应,得到催化剂浆料;将催化剂浆料喷雾干燥,得到粉末前驱体;将粉末前驱体在还原气氛下进行还原热处理;将经还原热处理的粉末前驱体在惰性气氛下进行高温致密化处理;将经高温致密化处理的产物洗涤、干燥,得到氢燃料电池催化剂。本发明的氢燃料电池催化剂催化活性良好、循环稳定性强。

一种纳米结构复合氧电极材料及制备方法

NºPublicación:  CN121885649A 17/04/2026
Solicitante: 
常州格睿克斯能源科技有限公司
CN_121885649_PA

Resumen de: CN121885649A

本发明涉及一种纳米结构复合氧电极材料及制备方法,属于固体氧化物电解池技术领域。所述材料为xSmBa0.5Sr0.5Co2O5.5‑(100‑x)Sm0.2Ce0.8O1.9,0

一种微生物产电储能的一体化地埋式污水处理装置

NºPublicación:  CN121872600A 17/04/2026
Solicitante: 
江苏斯柯郎新材料科技有限公司盐城工学院
CN_121872600_PA

Resumen de: CN121872600A

本发明涉及污水处理技术领域,公开了一种微生物产电储能的一体化地埋式污水处理装置,包括:依次设置的隔油池、化粪池、厌氧和好氧区、以及沉淀区;厌氧和好氧区包括多个依次连通的反应器,污水依次经过每个反应器的阳极室和阴极室,位于上游的反应器的阴极室与位于下游的反应器的阳极室连通,阳极室内设有附着微生物的阳极板,阴极室内设有附着微生物的阴极板,阳极板和阴极板与集电储能模块电连接。通过阳极板和阴极板的电势差形成的电流,一部分电子能够被直接导出至集电储能模块用于产电,使更多的底物被用于能量产生,减少剩余污泥量与产率,符合减量化的环保原则,提高了污水处理装置的环境友好性,适用于靠近居民区的使用。

一种用于DVP测试的丙烯酸树脂固化块的制备方法

NºPublicación:  CN121873380A 17/04/2026
Solicitante: 
博远(山东)新能源科技发展有限公司
CN_121873380_PA

Resumen de: CN121873380A

本发明公开了一种用于DVP测试的丙烯酸树脂固化块的制备方法,属于树脂固化技术领域。本发明提供的制备方法通过调控树脂固化反应速率,采用预处理、阶梯式固化及后处理等多阶段工艺,有效抑制固化过程中的热应力集中与体积收缩,成功制备出表面光洁、边缘整齐、内部无裂纹及气泡缺陷的优质树脂固化块,显著提升了材料的结构完整性与测试可靠性。

用于控制燃料电池堆的运行的设备和方法

NºPublicación:  CN121885688A 17/04/2026
Solicitante: 
现代自动车株式会社起亚株式会社
CN_121885688_PA

Resumen de: CN121885688A

一种用于控制燃料电池堆的运行的设备和方法,该设备可包括电池、燃料电池堆、处理器和存储至少指令的存储器。当由与存储器通信的处理器执行时,该指令可使设备检测燃料电池堆的冷却剂温度和可再充电电池的充电状态(SOC),确定所述冷却剂温度与目标冷却剂温度之间的温度差并且确定所述SOC与目标SOC之间的SOC差,基于所述温度差和SOC差来确定,所述燃料电池堆的控制电压,基于所述燃料电池堆的实际电流与参考电流的比率确定与所述燃料电池堆相关联的劣化指数,基于所述劣化指数调整所述控制电压,并且基于所述调整的控制电压执行所述燃料电池堆的运行。

一种全钒液流电池电解液的恒温控制装置

NºPublicación:  CN224138132U 17/04/2026
Solicitante: 
四川华泸光电集团有限公司四川中新储能科技有限公司
CN_224138132_U

Resumen de: CN224138132U

本实用新型属于电解液温度控制装置技术领域,尤其是涉及一种全钒液流电池电解液的恒温控制装置,设置于全钒液流电池的正电解液罐和负电解液罐,包括多个液体交换装置、多个温度检测装置、多个加热装置、正电解液调温存储容器和负电解液调温存储容器;设置有主控模块,加热装置、所述温度检测装置分别连接所述主控模块。本实用新型优点是实现加热更均匀、更容易维护的加热装置。

Interconnecteur électrique et fluidique pour réacteur électrochimique

NºPublicación:  FR3167400A1 17/04/2026
Solicitante: 
COMMISSARIAT A LENERGIE ATOMIQUE ET AUX ENERGIES ALTERNATIVES [FR]
FR_3167400_A1

Resumen de: FR3167400A1

La présente invention concerne un interconnecteur (7) électrique et fluidique pour un réacteur pour l'électrolyse de l'eau ou du dioxyde de carbone à haute température, pour la co-électrolyse de l'eau également à haute température avec le dioxyde de carbone ou pour une pile à combustible à oxyde solide, comprenant une plaque d’interconnexion (8), une première plaque d’extrémité (9) et une deuxième plaque d’extrémité (11), toutes monolithiques en tôle, la première plaque d’extrémité (9) et la deuxième plaque d’extrémité (11) comportant chacune notamment un trou traversant central (C1, C2), la deuxième plaque d’extrémité (11) différant géométriquement de la première plaque d’extrémité (9) uniquement en ce que le trou traversant central (C2) de la deuxième plaque d’extrémité (11) est tourné de 90 degrés par rapport au trou traversant central (C1) de la première plaque d’extrémité (9). L’invention concerne également une couche d’empilement, un empilement ainsi qu’un procédé de fabrication d’un tel empilement. Figure pour l’abrégé : Fig. 1

一种液流电池电压巡检端子

NºPublicación:  CN224137331U 17/04/2026
Solicitante: 
上海电气(安徽)储能科技有限公司上海电气灵储科技有限公司
CN_224137331_U

Resumen de: CN224137331U

本实用新型公开了一种液流电池电压巡检端子,包括金属铜片和包覆于所述金属铜片外的绝缘塑料壳,所述绝缘塑料壳下端两侧分别设置有修正齿和插齿,所述插齿外侧面开设有避让槽,所述避让槽内一表面固定有金属铜片,金属铜片的下端部倾斜折弯设计。本实用新型中的电压巡检端子通过金属铜片和绝缘塑料壳整体注塑而成,结构简单,牢固耐用;通过设置修正齿和插齿,即使单电池有装配误差也能通过齿状结构调整安装间隙,快速安装的同时还能确保金属铜片与双极板外伸部分接触良好;电压巡检端子上的齿状结构以及中空结构还能确保端子与电压采集位配合后的机械性能,确保误触或者外力撞击时不晃动,从而保证铜片与双极板接触良好及足够长的使用寿命。

PROCÉDÉ DE VÉRIFICATION DES RÉSULTATS D’UNE MÉTHODE DE DÉTECTION DE FUITES DANS UN CIRCUIT DE STOCKAGE ET D’ALIMENTATION EN DIHYDROGÈNE

NºPublicación:  FR3167448A1 17/04/2026
Solicitante: 
STELLANTIS AUTO SAS [FR]
FR_3167448_A1

Resumen de: FR3167448A1

Un aspect de l’invention concerne un procédé (100) de vérification des résultats d’une méthode de détection de fuites dans un circuit de stockage et d’alimentation en dihydrogène d’une pile à combustible d’un véhicule, ledit procédé 100 comportant les étapes de : Déterminer (101), au cours de chaque étape de ladite méthode, une évolution d’au moins un paramètre reflétant une fuite de dihydrogène ;Vérifier (102), auprès d’une machine à états, chaque passage de transition d’une étape n à une étape n+1 exécutées par ladite méthode ;Si ladite évolution dudit au moins paramètre est, selon le au moins un paramètre, inférieur ou supérieur à un seuil, identifier (103) une fuite ;Si un ordre de passage des transitions est incorrect ou si seulement une partie des transitions est exécutée, identifier (104) un défaut de ladite méthode. Figure 3

Membrane échangeuse d’anions et son procédé d’obtention.

NºPublicación:  FR3167484A1 17/04/2026
Solicitante: 
CIE GENERALE DES ETABLISSEMENTS MICHELIN [FR]
FR_3167484_A1

Resumen de: FR3167484A1

L’invention concerne une membrane échangeuse d’anions contenant un ionomère réticulé constitué de chaînes polymères portant des groupes ioniques qui sont rattachés aux chaînes polymères par l’intermédiaire d’un groupement issu de la réaction de cycloaddition entre un composé 1,3-dipolaire et un polymère insaturé, le composé 1,3-dipolaire étant un oxyde de nitrile aromatique substitué par une fonction imidazole, le polymère insaturé étant un polymère contenant des unités monomères d’un diène, une partie des groupes ioniques imidazoliums étant reliés chacun à un groupe ionique imidazolium distinct d’une autre chaîne polymère constitutive du ionomère par une chaîne alcanediyle. L’invention concerne également le procédé d’obtention de la membrane. La membrane est destinée à être utilisée dans une pile à combustible ou un électrolyseur.

一种SPBI和抗氧化剂掺杂SPEEK质子交换膜及其制备方法与应用

NºPublicación:  CN121885693A 17/04/2026
Solicitante: 
季华实验室
CN_121885693_PA

Resumen de: CN121885693A

本发明涉及质子交换膜制备技术领域,公开了一种SPBI和抗氧化剂掺杂SPEEK质子交换膜及其制备方法与应用,其包括步骤:通过单体聚合法将含磺酸基的酚类单体、双酚单体与二卤单体在催化剂和溶剂存在下混合并进行亲核取代聚合,生成磺化聚醚醚酮;同时对聚苯并咪唑进行磺化处理,得到磺化聚苯并咪唑;将磺化聚醚醚酮、磺化聚苯并咪唑与抗氧化剂1330溶解于有机溶剂中,经溶液浇铸法制备复合质子交换膜。本发明通过单体聚合法从源头解决了传统后磺化工艺磺化度难控、批次稳定性差的问题;通过SPBI的引入构建酸碱交联网络,有效抑制膜溶胀;通过抗氧化剂1330捕获自由基,显著提升膜抗氧化稳定性,所得复合膜在燃料电池领域具有广阔应用前景。

一种液流电池用的带有鱼骨形流道的极板

NºPublicación:  CN224138128U 17/04/2026
Solicitante: 
上海电气(安徽)储能科技有限公司上海电气灵储科技有限公司

Resumen de: CN224138128U

本实用新型公开了一种液流电池用的带有鱼骨形流道的极板,涉及液流电池技术领域。本实用新型包括极板A和极板B,极板A一表面雕刻有鱼骨形流道,极板B相对两表面均雕刻有结构对称的鱼骨形流道,鱼骨形流道一表面设置有石墨毡,鱼骨形流道分为进液流道和出液流道,进液流道和出液流道均分别分为一级流道、二级流道和三级流道,进液流道的三级流道与出液流道的三级流道呈平行且互相交错设置。在本实用新型中处于极板同一平面的进出液流道,相互配合形成一个多支路的并联管路系统;鱼骨形的流道既可以降低电解液在电极区域的流动阻力,又可以保证电解液在电极区域的均匀分布,缩减电解液在电极区域的流动死区。

一种燃料电池组的温度控制方法、装置、设备、介质及产品

NºPublicación:  CN121885686A 17/04/2026
Solicitante: 
北京理工大学
CN_121885686_PA

Resumen de: CN121885686A

本申请公开了一种燃料电池组的温度控制方法、装置、设备、介质及产品,涉及温度控制领域,该方法包括实时获取燃料电池组的实测温度;当实测温度小于或等于温度安全阈值时,利用当前负载工况序列和训练后的预测模型得到预测制冷量需求;根据预测制冷量需求确定液冷阀门的目标开度;当实测温度大于温度安全阈值时,发出报警信号并获取液冷阀门的实际开度反馈信号和冷却剂的流量反馈信号;基于实际开度反馈信号、开度阈值、冷却剂的流量反馈信号和流量安全范围确定液冷阀门的目标开度;基于目标开度对液冷阀门进行控制,实现对燃料电池组的温度控制。本申请扩大了平板型热管的制冷范围,以适应燃料电池在不同负载工况下的动态散热需求。

一种直接甲醇燃料电池的纯甲醇供给系统

NºPublicación:  CN224138130U 17/04/2026
Solicitante: 
上海众氢新能源科技有限公司

Resumen de: CN224138130U

本实用新型公开了一种直接甲醇燃料电池的纯甲醇供给系统,涉及直接甲醇燃料电池的技术领域,包括纯甲醇储罐、甲醇水溶液储罐、隔膜泵和甲醇水混液器;甲醇水混液器包括筒体和风机,风机安装在筒体内部,筒体的侧壁上设有甲醇进液口和进水口;隔膜泵设置在纯甲醇储罐的出液口和筒体的甲醇进液口之间的连接管道上,筒体的出口与甲醇水溶液储罐的进液口连接,甲醇水溶液储罐的出液口与直接甲醇燃料电池的甲醇水进液口连接,直接甲醇燃料电池的排水口与筒体的进水口连接。本实用新型利用换热器将甲醇汽化,隔膜泵可真空进液,更容易控制纯甲醇的输送流量,且成本低;利用直接甲醇燃料电池阴极输出的水循环作为水源,输入到甲醇水混液器内混合均匀。

一种具有类金字塔点阵气体分布区结构的燃料电池双极板结构

NºPublicación:  CN224138129U 17/04/2026
Solicitante: 
吉林大学

Resumen de: CN224138129U

本实用新型涉及燃料电池双极板结构领域,公开了一种具有类金字塔点阵气体分布区结构的燃料电池双极板结构,包括双极板主体,所述双极板主体包括流道和气体分布区,且气体分布区设置在流道两侧,所述气体分布区的流道内壁固定设置有若干个凸块,本实用新型的结构提高了气体的再分配能力与传质能力。

一种氢燃料电池活化测试夹持机构

NºPublicación:  CN224138131U 17/04/2026
Solicitante: 
浙江氢航科技有限公司

Resumen de: CN224138131U

本实用新型公开了一种氢燃料电池活化测试夹持机构,探针测试机构包括探针调节板和探针固定板以及探针;探针调节板与探针固定板之间通过弹簧调节螺丝连接,使得探针固定板与探针调节板之间留有活动间隙;探针调节板的长度方向上第一调节组和第二调节组间隔设置;且第二调节组在长度方向上延伸至第一调节组内,使得第一调节组和第二调节组在长度方向上呈交叉状态;第一调节组和第二调节组内均具有贯穿设置的通孔,弹簧调节螺丝穿设在通孔内;而安装在与第一调节组或第二调节组相邻的通孔处的探针固定板可以共用第一调节组和第二调节组。综上,本实用新型具有便于实现对不同范围测试点位的调节,实现非标准电堆检测等优点。

一种氢燃料电池堆的快速密封连接结构

NºPublicación:  CN224138133U 17/04/2026
Solicitante: 
能恒科技(河南)有限公司

Resumen de: CN224138133U

本实用新型公开了一种氢燃料电池堆的快速密封连接结构,涉及电池堆技术领域。该氢燃料电池堆的快速密封连接结构,包括外壳和壳盖,所述壳盖设置在外壳的上方,外壳的内部设置有电池堆;壳盖上转动连接有转动杆,外壳和壳盖上分别固定连接有第一连接耳和第二连接耳;第一连接耳和第二连接耳分别设置在外壳和壳盖的四周,且互相垂直分布;第一连接耳和第二连接耳上设置有固定机构。该氢燃料电池堆的快速密封连接结构,在密封机构的作用下,实现多重密封,因此提高密封组件的耐磨性能,进而确保对外壳和壳盖之间的密封效果,固定机构则可以实现对外壳和壳盖之间的快速拆装,因此方便后续对电池堆进行更换维修。

一种氢燃料电池及膜电极组件

NºPublicación:  CN121885670A 17/04/2026
Solicitante: 
上海氢晨新能源科技有限公司
CN_121885670_PA

Resumen de: CN121885670A

本申请涉及燃料电池技术领域,提供了一种氢燃料电池及膜电极组件,氢燃料电池包括膜电极组件与极板组件,膜电极组件由质子交换膜、阴极碳纸、阳极碳纸与边框一体化集成,边框的粘接区域用于与极板组件实现固定连接;极板组件包括阴极板和阳极板,阳极板粘接固定于边框的一侧,阴极板与边框的另一侧面之间通过粘接层粘接固定,阳极板上还集成有凸起结构。本申请通过提供一种单侧胶膜粘接的膜电极组件,大幅减少了零部件数量,显著降低了生产制造的工艺难度和材料成本;在保持边框原有厚度不变的前提下,有效减小了单节电池的整体厚度,提升了燃料电池电堆的体积功率密度。

基于固体氧化物燃料电池的船舶能源一体系统及控制方法

NºPublicación:  CN121885673A 17/04/2026
Solicitante: 
中国舰船研究设计中心武汉理工大学
CN_121885673_PA

Resumen de: CN121885673A

本申请公开了基于固体氧化物燃料电池的船舶能源一体系统及控制方法,涉及船舶系统技术领域,系统包括上位机、燃料罐、预热器、重整器、固体氧化物燃料电池、空压机、水罐、蒸发器、加燃室、有害气体处理单元、浓度检测预警单元、干粉灭火单元、发电机、蓄电池、若干个流量计以及多路阀;其中,该系统配备多种燃料,以供固体氧化物燃料电池使用。本申请能源一体箱内部件较少,实现了高效能量转化,该系统采用多级热电联用及燃料的冷能利用,多级能量回收管理最大限度地发挥固体氧化物燃料电池在船舶能源领域优势。本申请不局限于一种燃料放电方式,通过与不同燃料系统相匹配,弥补了固体氧化物燃料电池启动时间供电空缺,并减缓了启动时间。

对停机状态下燃料电池系统的排水进行控制的方法和设备

NºPublicación:  CN121885683A 17/04/2026
Solicitante: 
博世氢动力系统(重庆)有限公司
CN_121885683_PA

Resumen de: CN121885683A

本发明涉及对停机状态下燃料电池系统排水进行控制的方法,包括:确定系统在运行过程中停机;确定停机是否为由于系统的故障或潜在故障造成的紧急停机;当确定停机为紧急停机时,对系统中设置于气液分离器下游的排水阀进行控制,使其在紧急停机发生后的一延迟时间开启,并在开启排水阀一持续时间后将其再次关闭,基于从紧急停机发生至气液分离器内所分离的阳极介质达到最终稳态所经历的时间或者基于气液分离器的与排出液态水的效率相关的参数而确定排水阀延迟开启和关闭的时机。还涉及相关控制设备和计算机程序产品,在紧急停机情况下将气液分离器中的液态水尽可能多地排出,减少冷启动所需时间和能耗,提高燃料电池系统的冷启动性能及低温鲁棒性。

多模块柔性固态储氢燃料电池系统的协同控制方法及系统

NºPublicación:  CN121885682A 17/04/2026
Solicitante: 
河海大学中科南京未来能源系统研究院
CN_121885682_PA

Resumen de: CN121885682A

本发明涉及燃料电池领域,具体为多模块柔性固态储氢燃料电池系统的协同控制方法及系统。其方法包括以下步骤:S1、实时采集至少并联设置两个的储氢模块的压力信号与温度信号、燃料电池模块的负载信号以及环境温度信号;S2、判断系统是否进入低温启动模式:若是,则执行低温启动控制子流程:选定一目标储氢模块,控制热管理子系统将可用热源集中导向该目标模块;若否,则执行正常运行控制子流程:根据各储氢模块的压力信号执行主‑备供氢调度以确定当前主供氢模块,并根据主供氢模块的温度信号及燃料电池模块的负载信号,控制热管理子系统进行动态热分配。本发明能在低温下可靠、快速启动与运行,提升了系统能效,延长了系统整体效率和寿命。

一种液氢撬装加氢站用换热加氢充电系统

NºPublicación:  CN224135678U 17/04/2026
Solicitante: 
烟台东德氢能技术有限公司

Resumen de: CN224135678U

本实用新型涉及液氢储氢技术领域,尤其涉及一种液氢撬装加氢站用换热加氢充电系统。液氢储罐的底部通过自增压管路与自增压器的进液口相连接,自增压器的出气口通过气体管路与液氢储罐的顶部相连接,液氢储罐的顶部与汽化器相连接,汽化器通过管路与第一储氢瓶组相连接,第一储氢瓶组再连接氢燃料电池,氢燃料电池连接充电桩;液氢储罐的底部通过进液管路与柱塞泵的增压腔进液口相连接,柱塞泵的排液口通过管路与换热器相连接,换热器通过管路与第二储氢瓶组相连接,第二储氢瓶组连接氢气冷却器,氢气冷却器连接氢气加氢机;自增压器无需另外设置增压泵,节约电能,柱塞泵具有高压、流量大的优点,加氢速度快,在加氢高峰期也能够满足加氢需求。

一种基于串级PID控制的燃料电池热管理的仿真方法

NºPublicación:  CN121885681A 17/04/2026
Solicitante: 
西北工业大学宁波研究院
CN_121885681_PA

Resumen de: CN121885681A

本发明公开了一种基于串级PID控制的燃料电池热管理的仿真方法,具体涉及燃料电池控制的领域。包括:构建电堆热物理模型、冷却水热物理模型、散热器模型及水泵模型,并获取产热功率、两个模型的实时温度及环境温度;在电堆的温度高时,增大水泵开度;根据两个模型的温度差和电堆换热系数,确定冷却水散热量;根据产热功率、冷却水散热量和电堆热容参数,更新电堆的实时温度;在冷却水的温度高时,增大散热开度;并根据冷却水与环境的温度差和散热器换热系数,确定散热器散热量;根据冷却水散热量、散热器散热量和冷却水热容参数,更新冷却水的实时温度。基于上述方法,能防止电堆因长时间过热而缩短寿命。

一种质子交换膜燃料电池余热发电控制方法、系统、设备及介质

NºPublicación:  CN121887007A 17/04/2026
Solicitante: 
贵州电网有限责任公司
CN_121887007_PA

Resumen de: CN121887007A

本发明公开了一种质子交换膜燃料电池余热发电控制方法、系统、设备及介质,方法包括以下步骤:采集质子交换膜燃料电池堆温度、排气管温度、散热片温度、热电发电机输出电压以及热电发电机输出电流;根据所述热电发电机输出电压以及所述热电发电机输出电流计算热电发电机输出功率,并根据所述热电发电机输出功率的变化量与所述热电发电机输出电压的变化量的比值调节负载电阻;当所述温差大于或等于所述预设温差阈值时切换为自然对流散热。本发明通过采集燃料电池堆温度、排气管温度、散热片温度以及热电发电机输出电压和电流,建立了热源温度控制、热电转换功率优化以及冷端散热管理三者之间的闭环控制关系。

一种风光互补发电储氢系统及其燃料电池能量管理方法

NºPublicación:  CN121886522A 17/04/2026
Solicitante: 
中国电建集团华东勘测设计研究院有限公司
CN_121886522_PA

Resumen de: CN121886522A

本发明提供了一种风光互补发电储氢系统及其燃料电池能量管理方法,包括实时通过风光发电量与负载需求功率计算功率差值Pnet,通过数据采集模块,采集蓄电池荷电状态(SOC)、储氢瓶氢气含量(SHC);根据功率差值Pnet、蓄电池荷电状态(SOC)、储氢瓶氢气含量(SHC)判断燃料电池与蓄电池的工作时段;构建等效氢耗最小策略ECMS;采用抗干扰的PI控制,对燃料电池的输出功率Pfc进行调整,使燃料电池的实际输出功率接近分配功率。本发明根据不同工况以及等效氢耗最小策略ECMS分配功率,并采用抗干扰PI控制控制输出功率,满足高波动负载和经济性的双重需求,在减少氢气消耗的同时,保证输出功率稳定,并延长燃料电池与蓄电池的使用寿命。

用于制造膜电极接合体的离型膜

NºPublicación:  CN121889899A 17/04/2026
Solicitante: 
株式会社大赛璐
CN_121889899_PA

Resumen de: JP2025063601A

To provide a release film 2 which prevents unintended peeling of an ion exchange resin layer, is excellent in wettability, and can contribute to productivity of a membrane-electrode assembly.SOLUTION: A release film 2 is used for manufacturing a membrane-electrode assembly. The release film 2 has a base material layer 4, and a release layer 6 laminated on the base material layer 4. The main material of the base material layer 4 is polyester. The release layer 6 contains atactic polystyrene. Preferably, average roughness Sa on the back side face of the base material layer 4 is 20 nm or less. Preferably, thickness of the release layer 6 is 0.1 μm or more and 5 μm or less. Preferably, a water contact angle of the surface of the release layer 6 is 92° or less.SELECTED DRAWING: Figure 1

飛行体

NºPublicación:  JP2026066637A 17/04/2026
Solicitante: 
トヨタ自動車株式会社
JP_2026066637_A

Resumen de: JP2026066637A

【課題】本明細書は、テトラヒドロほう酸塩の一種である水素化ホウ酸ナトリウムで水素を発生させ、その水素で発電する燃料電池を備えた飛行体に関し、発電装置を軽量化する技術を提供する。【解決手段】本明細書が開示する飛行体は、水と混合すると水素を発生する水素化ホウ素ナトリウム(SBH)を貯蔵するSBH容器と、SBHに混ぜる水を貯蔵する水容器と、SBHが発生した水素で発電する燃料電池スタックを備える。当該飛行体の外壁がSBH容器の一部と水容器の一部を兼ねている。水容器はSBH容器の上方に配置されており、水容器の底板がSBH容器の天板を兼ねており、底板に弁が設けられている。本明細書が開示する技術では、飛行体の外壁がSBH容器の一部と水容器の一部を兼ねている。この構造によって発電装置の一部を軽量化できる。【選択図】図3

アニオン交換膜用カチオン化合物

NºPublicación:  JP2026512571A 17/04/2026
Solicitante: 
アグフア-ゲヴエルト,ナームローゼ・フエンノートシヤツプ
JP_2026512571_A

Resumen de: EP4424665A1

An amidinium-functionalized compound, characterized in that the compound has a structure according to General Formula I or General Formula IIwherein• R5 and R9 are any substituent different from hydrogen;• R1 to R4 are independently selected from the group consisting of an alkyl group, an alkenyl group, an alkynyl group, an aralkyl group, an alkaryl group, an aryl group and a heteroaryl group, or any of R1 and R3, R1 and R4, R1 and R2, R3 and R4, R2 and R3, or R2 and R4 represent the necessary atoms to form a five- to eight- membered non-aromatic ring;• R6 to R8 are independently selected from the group consisting of hydrogen, an alkyl group, an alkenyl group, an alkynyl group, an aralkyl group, an alkaryl group, an aryl or heteroaryl group, a halogen group, an ether group, a nitro group, an amine group, or any of R5 and R6, R6 and R7, R7 and R8, or R8 and R9 represent the necessary atoms to form a five-to eight-membered ring;• X- is an anion;and wherein• at least one of R1 to R9 comprises a polymerizable group or comprises the necessary atoms to link the amidinium group to a polymer.

具有优异的表面导电性和耐久性的用于燃料电池隔板的钛板及其制造方法

NºPublicación:  CN121889897A 17/04/2026
Solicitante: 
浦项股份有限公司
CN_121889897_PA

Resumen de: WO2025127831A1

The present specification discloses a titanium plate for a bipolar plate, having excellent surface conductivity and excellent durability. The titanium plate for a bipolar plate, according to the present invention, comprises, by wt%: a base material including 0.001-0.09% of Si, 0.065% or less of Al, and the remainder of Ti and inevitable impurities; and a surface film layer including 0.20% or less of Si, 0.20% or less of O, and the remainder of Ti and inevitable impurities, wherein the surface film layer having the maximum wt% of O can satisfy expression (1). Expression (1): 0.05 ≤ Si/(Ti+O) ≤ 0.4 (wherein Si, Ti, and O indicate wt% of the respective elements.)

氢氧根离子传导膜、氢氧根离子传导膜的制造方法、膜电极接合体、制氢方法及制氢系统

NºPublicación:  CN121889539A 17/04/2026
Solicitante: 
富士胶片株式会社
CN_121889539_PA

Resumen de: WO2025070387A1

Provided are: a hydroxy ion conductive membrane containing a porous base material and a hydroxy ion conductive polymer disposed at least in pores of the porous base material, wherein the hydroxy ion conductive film has a thickness of 5 μm or more and less than 50 μm, and the polymer contains a constituent component (I) derived from a polyfunctional polymerizable monomer having two or more atoms of at least one kind of atom among oxygen atom, sulfur atom and nitrogen atom in total in a structural moiety other than a polymerizable group by 50 mol% or more of the constituent components of the polymer; a method for producing the hydroxy ion conductive membrane; a membrane electrode assembly, and a hydrogen production method and a hydrogen production system comprising the membrane electrode assembly.

バッテリセルの熱管理のためのバッテリシステム

NºPublicación:  JP2026066975A 17/04/2026
Solicitante: 
スタンダードエナジーインコーポレイテッド
JP_2026066975_A

Resumen de: US2023318068A1

0000 The disclosed technology relates generally to battery management systems and more particularly to battery management systems configured for thermal management of battery cells. In one aspect, a battery system comprises a plurality of battery cells electrically connected to each other. The battery system comprises a plurality of switches each connected to one of the battery cells. The battery system additionally comprises one or more heaters electrically connected to the switches and configured to generate heat upon activation of one or more switches by dissipating power from the battery cells. The battery system further comprises one or more heat conduits configured to channel the heat generated by the one or more heaters towards at least one of the battery cells.

二次电池

NºPublicación:  CN121889900A 17/04/2026
Solicitante: 
标能有限公司
CN_121889900_PA

Resumen de: WO2025048610A1

The present invention relates to a secondary battery charged and discharged through the oxidation and reduction of metal ions dissolved in an electrolyte. The secondary battery according to an embodiment of the present invention comprises: a first liquid electrode in which a first half reaction occurs; a second liquid electrode in which a second half reaction occurs; a first frame that forms a first electrode receiving part which is a space for storing the first liquid electrode; a second frame that forms a second electrode receiving part which is a space for storing the second liquid electrode; a separator disposed between the first electrode receiving part and the second electrode receiving part; and an electrode connection part connecting the first electrode receiving part and the second electrode receiving part.

计划方法、计划装置以及电力系统

NºPublicación:  CN121889953A 17/04/2026
Solicitante: 
松下知识产权经营株式会社
CN_121889953_PA

Resumen de: CN121889953A

本公开的计划方法是具备燃料电池装置(40)的电力系统(200)中的计划方法,包括对第一方法和第二方法进行切换的步骤,所述第一方法是计划所述燃料电池装置的输出以弥补电力需求者的需求电力与太阳能发电装置(30)的输出之间的差量的方法,所述第二方法是基于在预定期间中能够使用的氢量,计划比通过所述第一方法计划的所述燃料电池装置的输出更受限制的所述燃料电池装置的输出的方法。

用于电化学地生成化学产品的制品、系统及方法

NºPublicación:  CN121889538A 17/04/2026
Solicitante: 
第二阶段化工有限公司
CN_121889538_PA

Resumen de: WO2025034570A2

Some aspects of the present disclosure are generally directed to systems for electrochemically generating compounds, for example, for generating hydrogen peroxide or other applications. In some cases, the systems may include electrodes containing a substrate comprising non-woven fibers comprising carbon, PTFE particles on the substrate, and/or an active material, for example, carbon particles, on the substrate and/or the PTFE. In some embodiments, the systems may generate and/or flow a two-phase solution over and/or through at least a portion of an electrode. Some systems using the electrode structures and/or two-phase solution may promote the formation of three-phase boundaries, and thus may facilitate the electrocatalytic generation of certain compounds at the three-phase boundaries. Still other aspects are directed to methods of making and/or using the systems, or the like.

发电计划方法、发电计划装置以及发电系统

NºPublicación:  CN121889952A 17/04/2026
Solicitante: 
松下知识产权经营株式会社
CN_121889952_PA

Resumen de: CN121889952A

本公开的发电计划方法是包括多个燃料电池单元的燃料电池装置的发电计划方法,具备:接收所述燃料电池装置的发电输出计划值的步骤;为了满足所述发电输出计划值而决定所述多个燃料电池单元中的发电的燃料电池单元的数量和不发电的燃料电池单元的数量的第1决定步骤;以及为了满足对所述发电输出计划值加上所述不发电的燃料电池单元的待机电力的总计而得到的值而决定所述发电的燃料电池单元的数量的第2决定步骤。

用于训练软传感器的方法、燃料电池系统、计算机程序产品、计算机可读介质以及数据载体信号

NºPublicación:  CN121889898A 17/04/2026
Solicitante: 
宝马股份公司
CN_121889898_PA

Resumen de: WO2025021254A1

The present invention relates to a method for training a soft sensor for determining a target measurement variable of a fuel cell system (100), wherein the fuel cell system (100) comprises a first sensor (10) for recording a first measurement variable, a second sensor (20) for recording a second measurement variable, and a control apparatus (50), wherein the control apparatus (50) is designed to determine the target measurement variable using a model stored on the control apparatus (50) at least on the basis of the first measurement variable and the second measurement variable. The fuel cell system also comprises a target variable sensor (40) for determining the target measurement variable. The method comprises, as a step, operating (320) at least one system unit (110) of the fuel cell system (100), which influences the target variable, at at least a first operating point. The method also comprises, as a step, adapting (340) at least one model parameter of the model stored on the control apparatus (50) in such a manner that a discrepancy between the target variable determined by the soft sensor and the target variable determined by the target variable sensor (40) is at least reduced at the first operating point of the system unit (110).

用于确定电化学系统、尤其是燃料电池系统的使用现场数据校正的退化量的方法和虚拟传感器

NºPublicación:  CN121889690A 17/04/2026
Solicitante: 
罗伯特·博世有限公司
CN_121889690_PA

Resumen de: WO2025021338A1

The invention relates to a method (600) for determining a field-data-corrected degradation value of an electrochemical system (13), in particular a fuel cell system or an electrolysis system (13) with a database correction model, and a method (500) for training such a correction model. The invention further relates to a device (100), in particular a virtual sensor, and a digital process twin for determining the corrected degradation value and for monitoring the quality of one or more electrochemical systems (13).

ZINC-IODINE HYBRID FLOW BATTERY

NºPublicación:  WO2026078637A1 16/04/2026
Solicitante: 
UNIV DEGLI STUDI DI PADOVA [IT]
WO_2026078637_A1

Resumen de: WO2026078637A1

The present invention refers to zinc-iodine hybrid flow batteries comprising specific additives capable of stabilizing the pH of the electrolytes at desired values and also acting as coordination agents for zinc species dissolved in the electrolytes. Such additives confer improved cyclability and performance to the above-mentioned batteries.

HYDROGEN GENERATION APPARATUS AND INFORMATION MANAGEMENT SYSTEM

NºPublicación:  US20260106196A1 16/04/2026
Solicitante: 
CANON KK [JP]
US_20260106196_A1

Resumen de: US20260106196A1

A hydrogen generation unit generates hydrogen by reacting a hydrogen carrier with a water-containing liquid. A main body includes the hydrogen generation unit. A collection container is attachable to and detachable from the main body, and collects a composition containing a byproduct generated together with hydrogen in the hydrogen generation unit. A detection unit detects a collected amount of the composition collected from the hydrogen generation unit by the collection container. A storage unit is provided on the collection container and stores information regarding the collected amount.

COPOLYMER, METHOD FOR PREPARING SAME, AND MATERIAL FOR ANION EXCHANGE USING SAME

NºPublicación:  WO2026079770A1 16/04/2026
Solicitante: 
HANWHA SOLUTIONS CORP [KR]
\uD55C\uD654\uC194\uB8E8\uC158 \uC8FC\uC2DD\uD68C\uC0AC
WO_2026079770_A1

Resumen de: WO2026079770A1

The present invention provides a copolymer. The copolymer can be used as a precursor of a material for anion exchange, and the material for anion exchange using same has excellent physical properties and can be used in an anion exchange membrane, an anion exchange ionomer, and the like.

燃料電池システム

NºPublicación:  JP2026065771A 16/04/2026
Solicitante: 
株式会社豊田自動織機
JP_2026065771_A

Resumen de: JP2026065771A

【課題】燃料電池により生成される生成水を貯める貯水タンク内が満水状態であるか否かを判断する満水判断部を備える燃料電池システムにおいて、貯水タンク内の生成水の水位が不安定であっても満水判断部の判断の精度が低下することを抑制する。【解決手段】満水判断部Cwは、フロートセンサSfから出力される信号がハイレベルであるとき第1カウント値C1をカウントアップし、フロートセンサSfから出力される信号がローレベルであるとき第1カウント値C1をカウントダウンし、第1カウント値C1が第1閾値C1th以上であるとき貯水タンクWT内が満水状態であると判断する。【選択図】図1

COPOLYMER, METHOD FOR PREPARING THEREOF AND MATERIAL FOR ANION EXCHANGE USING SAME

NºPublicación:  WO2026079766A1 16/04/2026
Solicitante: 
HANWHA SOLUTIONS CORP [KR]
\uD55C\uD654\uC194\uB8E8\uC158 \uC8FC\uC2DD\uD68C\uC0AC
WO_2026079766_A1

Resumen de: WO2026079766A1

The present invention provides a copolymer. The copolymer can be used as a precursor of a material for anion exchange, and the material for anion exchange using same has excellent physical properties and can be used for an anion exchange membrane, an anion exchange ionomer and the like.

Befeuchter

NºPublicación:  DE102024129834A1 16/04/2026
Solicitante: 
CELLCENTRIC GMBH & CO KG [DE]
MAHLE INT GMBH [DE]
DE_102024129834_PA

Resumen de: DE102024129834A1

Die Erfindung betrifft einen Befeuchter (1) zum Befeuchten eines trockenen ersten Gasstroms (4) mittels eines feuchten zweiten Gasstroms (5), insbesondere für ein Brennstoffzellensystem,- wobei in einem Gehäuse (2) eine Kondensatmulde (14) zum Sammeln von Kondensat ausgebildet ist,- wobei das Gehäuse (2) im Bereich der Kondensatmulde (14) einen Heizkanal (15) aufweist, der von einem Heizmittel (16) durchströmbar ist,- wobei das Gehäuse (2) innerhalb der Kondensatmulde (14) eine Kondensatablauföffnung (19) aufweist.Eine verbesserte Enteisung lässt sich erreichen, wenn- die Kondensatablauföffnung (19) ein Innengewinde (20) aufweist,- der Befeuchter (1) eine aus dem Gehäuse (2) herausgeführte Hohlschraube (21) aus Metall aufweist, die einen Schraubenkanal (22) enthält und die ein Außengewinde (23) aufweist, mit dem die Hohlschraube (21) in die Kondensatablauföffnung (19) eingeschraubt ist,- der Befeuchter (1) ein Verbindungselement (28) aufweist, das mit der Hohlschraube (21) am Deckel (12) befestigt ist, das einen Kondensatkanal (30) enthält, der den Schraubenkanal (22) mit einem Kondensatauslass (29) zum Abführen von Kondensat fluidisch verbindet.

Beschichtungsvorrichtung zum Beschichten einer transportierten Membran mit einer Katalysatorschicht-Tinte, Verfahren zur intermittierenden Beschichtung einer transportierten Membran mit einer Katalysatorschicht-Tinte

NºPublicación:  DE102024129743A1 16/04/2026
Solicitante: 
IONYSIS GMBH [DE]
DE_102024129743_PA

Resumen de: DE102024129743A1

Beschichtungsvorrichtung (1) zum Beschichten einer transportierten Membran (6) mit einer Katalysatorschicht-Tinte (5), umfassend: einen Beschichtungskopf (2), an den eine Zuführungsleitung (4) angeschlossen ist, über die die Katalysatorschicht-Tinte (5) in den Beschichtungskopf (2) geleitet wird, und mit einer relativ zu der transportierten Membran (6) angeordneten Düsenöffnung (2a), über die die eingeleitete Katalysatorschicht-Tinte (5) auf die Membran (6) ausgestoßen wird, wobei in der Zuführungsleitung (4) ein Ventil (3) angeordnet ist, das derart eingerichtet ist, dass es die Zuführungsleitung (4) öffnen kann, um die Katalysatorschicht-Tinte (5) aus der Düsenöffnung (2a) auszustoßen, und schließen kann, um den Ausstoß der Katalysatorschicht-Tinte (5) zu stoppen.

COOLANT DRAIN SYSTEM OF ION FILTER

NºPublicación:  US20260106187A1 16/04/2026
Solicitante: 
HYUNDAI MOTOR CO LTD [KR]
KIA CORP [KR]
US_20260106187_A1

Resumen de: US20260106187A1

A coolant drain system of an ion filter may prevent deterioration in filtration performance of an ion exchange resin and improve durability thereof. The coolant drain system is operated in such that, when electrical conductivity of coolant circulating through a fuel cell stack is equal to or higher than a predetermined level, the coolant circulates through the inside of the ion filter such that metal ions of the coolant are easily removed by the ion exchange resin. When electrical conductivity of the coolant is reduced to be lower than the predetermined level, the coolant remaining inside the ion filter is drained to a pressurized reservoir using the pressure of air supplied from the pressurized reservoir.

FUEL CELL SEPARATOR AND FUEL CELL SEPARATOR ASSEMBLY INCLUDING SAME

NºPublicación:  US20260106184A1 16/04/2026
Solicitante: 
HYUNDAI MOTOR CO LTD [KR]
KIA CORP [KR]
US_20260106184_A1

Resumen de: US20260106184A1

0000 A fuel cell separator including at least one separator provided with a plurality of manifolds and a reaction area, in which the at least one separator includes a forming portion protruding in a direction from a reaction surface of the at least one separator toward a cooling surface of the at least one separator, the forming portion extends along a first direction in which the manifolds disposed on one side of the at least one separator are provided, and the forming portion is provided at a position where a gasket disposed on the reaction surface is discontinuously disposed in the first direction.

FUEL CELL STACK

NºPublicación:  US20260106182A1 16/04/2026
Solicitante: 
TOYOTA MOTOR CO LTD [JP]
US_20260106182_A1

Resumen de: US20260106182A1

0000 In a fuel cell stack including multiple cells that are stacked, a first cell includes a membrane electrode assembly, a frame, a pair of separators that sandwiches the membrane electrode assembly held by the frame, and an elastic body including a base portion and multiple column portions protruding from the base portion. A first separator included in the first cell includes a groove portion on a first surface. The base portion of the elastic body is disposed in the groove portion. The base portion covers a bottom surface of the groove portion, and at least some of the column portions are disposed along a direction in which the groove portion extends. In a flow passage space for a coolant, tip ends of the column portions of the elastic body disposed in the groove portion of the first separator are in contact with a second separator included in a second cell.

Verfahren zur Herstellung einer elektrochemischen Zelle sowie elektrochemische Zelle

NºPublicación:  DE102024209881A1 16/04/2026
Solicitante: 
BOSCH GMBH ROBERT [DE]
DE_102024209881_PA

Resumen de: DE102024209881A1

Die Erfindung betrifft ein Verfahren zur Herstellung einer elektrochemische Zelle (1), insbesondere einer Brennstoff- oder Elektrolysezelle, aufweisend eine Membran (2), beidseits der Membran (2) angeordnete Katalysatorschichten (3) sowie einen ein- oder mehrteiligen Kunststoffrahmen (4) zur Abstützung und/oder Fixierung der Membran (2) in zumindest einem Randbereich (5). Erfindungsgemäß wird um den Kunststoffrahmen (4) ein ein- oder mehrteiliger Metallrahmen (6) gleicher oder geringerer Höhe angeordnet.Die Erfindung betrifft ferner eine elektrochemische Zelle (1), insbesondere eine Brennstoff- oder Elektrolysezelle, die nach einem erfindungsgemäßen Verfahren herstellbar ist.

SUPPORTED CATALYST FOR A FUEL CELL OR A WATER ELECTROLISER

NºPublicación:  WO2026078370A1 16/04/2026
Solicitante: 
JOHNSON MATTHEY HYDROGEN TECH LIMITED [GB]
WO_2026078370_A1

Resumen de: WO2026078370A1

Supported Catalyst According to the invention there is provided a supported catalyst for a fuel cell or a water electrolyser. The supported catalyst comprises a support material and catalytic nanoparticles. The catalytic nanoparticles comprise: a first material supported on the support material, wherein the first material comprises a first metal (M1) selected from a platinum group metal; and a second material comprising oxygen and a second metal (M2) selected from the group consisting of niobium, tantalum, and hafnium. The second material is supported on and partially coats the first material. Figure 1

MEMBRANE-ELECTRODE ASSEMBLY TO PREVENT REVERSE VOLTAGE OF FUELCELL

NºPublicación:  US20260106181A1 16/04/2026
Solicitante: 
HYUNDAI MOTOR COMPANY [KR]
KIA CORP [KR]
US_20260106181_A1

Resumen de: US20260106181A1

A membrane-electrode assembly for preventing reverse voltage of a fuel cell can include an electrolyte membrane positioned between a cathode and an anode, where the cathode and the anode each include a supported catalyst with a metal catalyst held on a support, and where a ratio MCL/R between metal catalyst loading MCL in the anode and a supported metal catalyst ratio R is 0.125 to 0.3. Such membrane-electrode assembly can prevent a flooding phenomenon that may occur in cold start driving or rapid acceleration driving by appropriately controlling physical property factors related to the anode of a fuel cell. Accordingly, such membrane-electrode assembly can suppress carbon corrosion at the anode and improve durability.

MULTILAYER SHEET BIPOLAR PLATE

NºPublicación:  WO2026080507A1 16/04/2026
Solicitante: 
ZEROAVIA LTD [GB]
ZEROAVIA INC [US]
WO_2026080507_A1

Resumen de: WO2026080507A1

Disclosed is a fuel cell having a Membrane Electrode Assembly (MEA) sandwiched between a pair of bipolar plates (BPPs). The BPPs are formed at least in part of a structural base layer and having one or more thermal performance layers (TPLs) in thermal contact with the structural base layer. The TPL is formed of a material having a thermal conductivity greater than that of the structural base layer.

Verfahren zur Herstellung einer Brennstoffzellenstruktur

NºPublicación:  DE102024130043A1 16/04/2026
Solicitante: 
AIRBUS SAS [FR]
DE_102024130043_PA

Resumen de: DE102024130043A1

Es wird ein Verfahren (200) zur Herstellung einer Brennstoffzellenstruktur (100) bereitgestellt. Das Verfahren (200) umfasst das Bereitstellen (210) einer durchgehenden Trägerschicht (110) mit einer ersten und zweiten Seite (111, 112), das Abscheiden (220) einer durchgehenden ersten Elektrodenschicht (120) aus einem ersten Elektrodenmaterial (121) auf der ersten Seite (111), das Entfernen (230) von Abschnitten (124) der ersten Elektrodenschicht (120), wobei einzelne Abschnitte (122, 123) nebeneinander verbleiben, das Abscheiden (240) einer durchgehenden Elektrolytschicht (140) über der ersten Elektrodenschicht (120), das Entfernen (250) von Abschnitten (144) der Elektrolytschicht (140), die mit den entfernten Abschnitten (122, 123) der ersten Elektrode zusammenfallen, das Abscheiden (260) einer durchgehenden zweiten Elektrodenschicht (130), das Entfernen (270) von Abschnitten (134) der zweiten Elektrodenschicht (130), die mit den entfernten Abschnitten der vorhergehenden Schichten (120, 140) zusammenfallen, und das Abscheiden (280) eines elektrisch leitfähigen Materials (150) innerhalb der erzeugten Hohlräume, wobei benachbarte Abschnitte der ersten und zweiten Elektrodenschicht (120, 130) über das leitfähige Material (150) in Reihe elektrisch miteinander verbunden werden.

Verfahren zur Herstellung einer elektrolytgestützten Brennstoffzellenstruktur

NºPublicación:  DE102024130042A1 16/04/2026
Solicitante: 
AIRBUS SAS [FR]
DE_102024130042_PA

Resumen de: DE102024130042A1

Ein Verfahren (200) zur Herstellung einer elektrolytgestützten Brennstoffzellenstruktur (100) wird bereitgestellt. Das Verfahren (200) beinhaltet das Bereitstellen (210) einer durchgehenden Elektrolytschicht (110) mit einer ersten Seite (111) und einer zweiten Seite (112), das Beschichten (221) der ersten Seite (111) mit einem Anodenmaterial (121), um eine durchgehende Anodenschicht (120) zu bilden, und das Beschichten (222) der zweiten Seite (112) mit einem Kathodenmaterial (131), um eine durchgehende Kathodenschicht (130) zu bilden. Teile der Anodenschicht (120) und der Kathodenschicht (130) werden mittels Laserablation entfernt (231, 232), wodurch getrennte Anoden- und Kathodenabschnitte erzeugt werden. Durchgangslöcher (113) werden in der Elektrolytschicht (110) erzeugt (240), die mit Bereichen zusammenfallen, in denen die Anoden- oder Kathodenschichten entfernt wurden. Leitfähiges Material (160) wird in den Durchgangslöchern angeordnet, um Anoden- und Kathodenabschnitte zu verbinden, wodurch eine Reihenschaltung zwischen entsprechenden Brennstoffzellensegmenten gebildet wird.

FUEL-ELECTRODE SUPPORTED SOLID OXIDE CELL AND MANUFACTURING METHOD THEREOF

NºPublicación:  US20260106179A1 16/04/2026
Solicitante: 
PUSAN NATIONAL UNIV INDUSTRY UNIV COOPERATION FOUNDATION [KR]
US_20260106179_A1

Resumen de: US20260106179A1

A method for manufacturing a fuel electrode supported solid oxide cell includes preparing at least one of a fuel electrode support, a fuel electrode functional layer, an electrolyte layer, and a reaction barrier layer, respectively; stacking the fuel electrode support, the fuel electrode functional layer, the electrolyte layer, and the reaction barrier layer to form a laminate; and co-firing the laminate at 1240° C. or higher and lower than 1280° C. for 2 to 6 hours.

POWER SUPPLY SYSTEM AND POWER SUPPLY METHOD

NºPublicación:  WO2026079098A1 16/04/2026
Solicitante: 
BROTHER KOGYO KK [JP]
\u30D6\u30E9\u30B6\u30FC\u5DE5\u696D\u682A\u5F0F\u4F1A\u793E
WO_2026079098_A1

Resumen de: WO2026079098A1

Provided are a power supply system and a power supply method capable of suppressing acceleration of deterioration of a fuel cell. In this fuel supply system, when an electric load varies, a fuel cell supplies power to an electric load at a rated output without varying the output. An electricity storage device varies the output following the variation in required power and supplies power to the electric load. Therefore, the power supply system can supply power corresponding to the variation in the required power of the electric load by the total output of the output of the fuel cell and the output of a storage battery.

AN ION EXCHANGE MEMBRANE WITH INCORPORATED SENSING MEANS, AND FUEL CELL USING THE SAME

NºPublicación:  WO2026078346A1 16/04/2026
Solicitante: 
COVENTRY UNIV [GB]
FEV EUROPE GMBH [DE]
WO_2026078346_A1

Resumen de: WO2026078346A1

A polymer electrolyte membrane (PEM) is provided for use in an ion exchange membrane fuel cell. The PEM comprising a sensing layer provided on one side of the PEM. The sensing layer comprises two or more sensing elements covered in an electrically insulating film and spaced across a plane of the PEM. Lateral gaps may be provided in the film between the sensing elements. The sensing elements may be provided in direct contact with the PEM. The sensing elements may comprise an ionomer. The PEM may comprise an array of six or more sensing elements. A catalyst-coated-membrane assembly (CCM) is provided comprising the PEM and a catalyst layer provided over the sensing layer. An ion exchange membrane fuel cell (IEMFC) is provided comprising an anode, a cathode and the CCM therebetween. The invention also concerns manufacture of the PEM, CCM and IEMFC.

Elektrochemisches Energieumwandlungssystem und Kraftfahrzeug.

NºPublicación:  DE102024209959A1 16/04/2026
Solicitante: 
BOSCH GMBH ROBERT [DE]
DE_102024209959_PA

Resumen de: DE102024209959A1

Die vorliegende Erfindung betrifft ein elektrochemisches Energieumwandlungssystem (10), umfassend zumindest eine Zelle (20) mit einer Rahmenvorrichtung (30), einer Gasdiffusionsvorrichtung (40), einer Membranvorrichtung (50) und einer porösen Transportlage (60), wobei die Gasdiffusionsvorrichtung (40), die Membranvorrichtung (50) und die poröse Transportlage (60) gestapelt zueinander angeordnet sind, wobei die Rahmenvorrichtung (30) die Gasdiffusionsvorrichtung (40), die Membranvorrichtung (50) und die poröse Transportlage (60) zumindest abschnittsweise umschließt, wobei die Rahmenvorrichtung (30) einen nach innen hervorstehenden Terrassenvorsprung (32) aufweist. Die poröse Transportlage (60) umfasst eine Dichtvorrichtung (62) zur fluiddichten Abdichtung gegenüber dem Terrassenvorsprung (32).

CYLINDRICAL REDOX FLOW BATTERY

NºPublicación:  US20260106197A1 16/04/2026
Solicitante: 
YI JUNG SEOK [KR]
US_20260106197_A1

Resumen de: US20260106197A1

In order to prevent the occurrence of shunt current and the reduction in the active area of the separation plate, but enable efficient spatial disposition of a plurality of redox flow batteries by providing a redox flow battery composed of unit cells, the present disclosure provides a cylindrical redox flow battery including: a cylindrical case; a lid which is fastened to an upper end of the case, but includes a first electrolyte outlet so that the first electrolyte can flow out from the first space of the case; and unit cells which are disposed in the case.

Elektrochemische Einheit für eine elektrochemische Vorrichtung

NºPublicación:  DE102024129355A1 16/04/2026
Solicitante: 
EKPO FUEL CELL TECH GMBH [DE]
DE_102024129355_PA

Resumen de: DE102024129355A1

Um eine elektrochemische Einheit, die Folgendes umfasst:eine Membran-Elektroden-Anordnung, welche eine Membran, einen Verstärkungsrahmen und zwei Gasdiffusionslagen umfasst,wobei die Membran-Elektroden-Anordnungeinen elektrochemisch aktiven Bereich,einen Überlappbereich, in welchem mindestens eine der Gasdiffusionslagen und der Verstärkungsrahmen einander überlappen,einen passiven Außenbereich undeinen Dichtsickenbereich, welcher an einer Dichtsicke einer Bipolarplatte anliegt, umfasst, undeine Bipolarplatte, welche ein Strömungsfeld mit Strömungskanälen,einen Verteilerbereich, durch welchen ein Medium auf die Strömungskanäle des Strömungsfelds verteilt wird, undeinen Sammelbereich, in welchem das Medium aus den Strömungskanälen des Strömungsfelds gesammelt wird, umfasst, zu schaffen, bei welcher es möglich ist, eine hinsichtlich der Höhen der Membran oder der Gasdiffusionslagen geänderte Membran-Elektroden-Anordnung zusammen mit einer Bipolarplatte zu verwenden, ohne dass die Gestaltung der Bipolarplatte überarbeitet werden muss, wird vorgeschlagen, dass an der Membran-Elektroden-Anordnung und/oder an der Bipolarplatte mindestens ein Anpassungselement angeordnet ist, welches im Dichtsickenbereich und/oder im passiven Außenbereich der Membran-Elektroden-Anordnung zusätzlich zu dem Verstärkungsrahmen vorgesehen ist und die lokale Höhe der Membran-Elektroden-Anordnung vergrößert.

燃料電池システム

NºPublicación:  JP2026065767A 16/04/2026
Solicitante: 
株式会社豊田自動織機
JP_2026065767_A

Resumen de: JP2026065767A

0001 【課題】複数の燃料電池モジュールを備える燃料電池システムにおいて、暖機処理または掃気処理または慣らし運転処理を行う際に燃料電池スタックが高電圧異常になることで燃料電池システムが起動不可となることを抑制する。 【解決手段】燃料電池モジュールFCMαの燃料電池スタックFCに対して暖機処理または掃気処理または慣らし運転処理を行う場合、暖機処理または掃気処理または慣らし運転処理を行うことで燃料電池モジュールFCMαから出力される電力を、燃料電池モジュールFCMβの補機で消費させる。 【選択図】図1

FUEL CELL SYSTEM

NºPublicación:  US20260106192A1 16/04/2026
Solicitante: 
TOYOTA JIDOSHA KK [JP]
US_20260106192_A1

Resumen de: US20260106192A1

The fuel cell system includes a fuel cell, an exhaust pipe for discharging off-gas discharged from the fuel cell to the outside, a muffler provided in the exhaust pipe, and a pressure relief valve provided in the exhaust pipe upstream of the muffler or the muffler. The pressure relief valve may open when the pressure in the muffler is greater than or equal to a predetermined threshold value to reduce the pressure in the muffler.

FUEL CELL SYSTEM

NºPublicación:  WO2026079099A1 16/04/2026
Solicitante: 
BROTHER KOGYO KK [JP]
\u30D6\u30E9\u30B6\u30FC\u5DE5\u696D\u682A\u5F0F\u4F1A\u793E
WO_2026079099_A1

Resumen de: WO2026079099A1

Provided is a fuel cell system capable of suppressing moisture intrusion into a fuel cell. A hydrogen supply path 34 supplies hydrogen gas to a stack 31. One end of the hydrogen supply path 34 is connected to a fuel part 2. The other end of the hydrogen supply path 34 is connected to a flow path inlet of a separator of an anode electrode 31A of the stack 31. A hydrogen circulation path 35 returns hydrogen off-gas discharged from the stack 31 to the hydrogen supply path 34. One end of the hydrogen circulation path 35 is connected to a flow path outlet of the separator of the anode electrode 31A of the stack 31. The other end of the hydrogen circulation path 35 is connected to the hydrogen supply path 34 at a connection position P1. The hydrogen supply path 34 includes a gas-liquid separator 37. The gas-liquid separator 37 is arranged between the connection position P1 and the stack 31. The gas-liquid separator 37 separates dew condensation water generated by the confluence of the hydrogen gas and the hydrogen off-gas.

Verfahren zum Betreiben eines Brennstoffzellensystems sowie Steuergerät

NºPublicación:  DE102024209894A1 16/04/2026
Solicitante: 
BOSCH GMBH ROBERT [DE]
DE_102024209894_PA

Resumen de: DE102024209894A1

Die Erfindung betrifft ein Verfahren zum Betreiben eines Brennstoffzellensystems (1), insbesondere eines mobilen Brennstoffzellensystems (1), bei dem eine angeforderte elektrische Leistung auf mehrere Stacks (2) aufgeteilt wird, so dass die Leistungsanteile der Stacks (2) in Summe die angeforderte elektrische Leistung ergeben. Erfindungsgemäß wird zur Verbesserung des NVH-Verhaltens des Brennstoffzellensystems (1) der jeweilige Leistungsanteil eines Stacks (2) unter Berücksichtigung der damit einhergehenden Geräuschemission festgelegt.Die Erfindung betrifft ferner ein Steuergerät zur Ausführung eines erfindungsgemäßen Verfahrens oder von Schritten eines erfindungsgemäßen Verfahrens.

PHOTOCURABLE COMPOSITION

NºPublicación:  WO2026079347A1 16/04/2026
Solicitante: 
THREEBOND CO LTD [JP]
\u682A\u5F0F\u4F1A\u793E\u30B9\u30EA\u30FC\u30DC\u30F3\u30C9
WO_2026079347_A1

Resumen de: WO2026079347A1

The present invention provides a photocurable composition capable of providing a cured product, the durability of which against compression set is unlikely to decrease. This photocurable composition comprises: a component (A), which is a photocurable polyisobutylene resin composition; and a component (B), which is surface-treated silica powder, wherein a specific group remains, and no methacrylsilyl group remains on particle surfaces.

Verfahren und Steuergerät zum Betreiben eines Wasserstoff-Teilsystems eines Brennstoffzellensystems und Brennstoffzellensystem

NºPublicación:  DE102024209896A1 16/04/2026
Solicitante: 
BOSCH GMBH ROBERT [DE]
DE_102024209896_PA

Resumen de: DE102024209896A1

Die Erfindung betrifft ein Verfahren zum Betreiben eines Wasserstoff-Teilsystems (110) eines Protonenaustauschmembran-Brennstoffzellensystems (100). Das Wasserstoff-Teilsystem (110) umfasst einen Wasserstoffvorrat (111), eine Heizeinrichtung (114), ein Wasserstoffdosierventil (115), eine Strahlpumpe (116) und einen Rezirkulationspfad (117). Die Heizeinrichtung (114) ist fluidmechanisch zwischen den Wasserstoffvorrat (111) und das Wasserstoffdosierventil (115) geschaltet. Das Wasserstoffdosierventil (115) ist fluidmechanisch zwischen die Heizeinrichtung (114) und die Strahlpumpe (116) geschaltet. In einem Schritt des Einlesens wird von mindestens einer Erfassungseinrichtung (S_T, S_p) ein Sensorsignal (S) eingelesen, das erfasste Messdaten mindestens eines Betriebsparameters (Tin, pin, pout) des Wasserstoff-Teilsystems (110) repräsentiert. In einem Schritt des Erzeugens wird unter Verwendung der Messdaten (S) und einer Erzeugungsvorschrift (123) mit Vorgabedaten für mindestens einen Betriebsparameter (Tin, pin, pout, P) des Wasserstoff-Teilsystems (110) ein Steuersignal (125) zum Ansteuern der Heizeinrichtung (114) erzeugt, das eine mittels der Heizeinrichtung (114) umzusetzende Heizleistung (P) zum Einstellen einer Massenstromtemperatur (Tin) stromaufwärts des Wasserstoffdosierventils (115) definiert. In einem Schritt des Bereitstellens wird das Steuersignal (125) zur Ausgabe an die Heizeinrichtung (114) bereitgestellt, um das Wasserstoff-Teilsystem (110) zu betreiben.

COOLANT FLOW MANIFOLDS AND METHODS OF USE THEREOF

NºPublicación:  US20260106185A1 16/04/2026
Solicitante: 
GM GLOBAL TECH OPERATIONS LLC [US]
US_20260106185_A1

Resumen de: US20260106185A1

Methods, apparatuses, and vehicles are provided for liquid cooling a high voltage apparatus. The apparatuses include a body, a channel that defines a coiled flow path through the body, wherein the flow path is configured to receive a flow of coolant therethrough, wherein walls of the channel are formed of a low conductivity material having a high electrical resistivity in directions perpendicular to directions of the flow of the coolant through the flow path, an inlet at a first end of the channel that provides access to the flow path, and an outlet at a second end of the channel that provides access to the flow path.

METHOD AND SYSTEM FOR DETERMINING PERFORMANCE CHARACTERISTICS OF ONE OR MORE CELLS OF A SOLID OXIDE CELL STACK

NºPublicación:  WO2026078144A1 16/04/2026
Solicitante: 
TOPSOE AS [DK]
WO_2026078144_A1

Resumen de: WO2026078144A1

The present disclosure relates to a methods and systems for determining performance characteristics of one or more cells of a solid oxide cell stack. A method comprises the steps of: operating the one or more cells in electrolysis mode or fuel cell mode with a first current density across the one or more cells; switching the first current density to a second current density to generate a voltage transient curve in response; and comparing a representation of the voltage transient curve with a reference parameter to determine the performance characteristics of the one or more cells of the solid oxide cell stack. The present disclosure further relates to electrolysis systems comprising: a solid oxide cell stack; and a control system.

Brennstoffzellensystem und Fahrzeug mit dem Brennstoffzellensystem

NºPublicación:  DE102024129391A1 16/04/2026
Solicitante: 
BAYERISCHE MOTOREN WERKE AG [DE]
DE_102024129391_PA

Resumen de: DE102024129391A1

Die hier offenbarte Technologie betrifft erfindungsgemäß ein Brennstoffzellensystem (10) für ein Fahrzeug (100), aufweisend: eine Brennstoffzelle (11) mit einer Anode (12) und einer Kathode (13), einen Anodeneinlasspfad (15) zum Leiten von Anodengas in die Anode (12), einen Anodenauslasspfad (16) zum Leiten von Anodenauslassfluid aus der Anode (12), einen ersten Wasserabscheider (18) zum Abscheiden von Wasser aus dem Anodenauslassfluid, einen Kathodeneinlasspfad (26) zum Leiten von Kathodengas in die Kathode (13), einen Kathodenauslasspfad (27) zum Leiten von Kathodenauslassfluid aus der Kathode (13), einen zweiten Wasserabscheider (20) zum Abscheiden von Wasser aus dem Kathodenauslassfluid, einen Abgaspfad (28) zum Leiten von Abgas aus dem Brennstoffzellensystem (10) heraus, einen ersten Fluidpfad (19) zum Leiten von Wasser aus dem zweiten Wasserabscheider (20) in den Abgaspfad (28) und einen zweiten Fluidpfad (31) zum Leiten von Wasser aus dem ersten Wasserabscheider (18) in den zweiten Wasserabscheider (20). Die Technologie betrifft ferner ein Fahrzeug (100) mit dem Brennstoffzellensystem.

REDOX-ACTIVE FERRITIN AND ENZYME-BASED ELECTRODE WITH IMPROVED ELECTRON TRANSFER ABILITY, MANUFACTURING METHOD THEREOR, AND APPLICATION THEREOF

NºPublicación:  US20260106180A1 16/04/2026
Solicitante: 
KNU IND COOPERATION FOUNDATION [KR]
US_20260106180_A1

Resumen de: US20260106180A1

The present invention relates to an electrode with improved electron transfer ability, including: a support; and a composite structure formed on the support and in which an enzyme layer assembly including cationized ferritin and an enzyme is repeated, a manufacturing method thereof, and an application thereof.

Polarplatte für ein elektrochemisches Aggregat

NºPublicación:  DE102024209882A1 16/04/2026
Solicitante: 
BOSCH GMBH ROBERT [DE]
DE_102024209882_PA

Resumen de: DE102024209882A1

Die Erfindung betrifft eine Polarplatte (110), insbesondere eine Monopolarplatte (110) oder eine Bipolarplatte (110), für einen elektrochemischen Zellenstapel (10, 60), bevorzugt einen Brennstoffzellenstapel (10) oder einen Elektrolysezellenstapel (60), wenigstens umfassend einen radialen (Rr) Innenbereich (112) für einen Fluidtransport wenigstens eines Mediums des Zellenstapels (10, 60) sowie einen sich daran nach radial (Rr) außen anschließenden radialen (Rr) Außenumfangsabschnitt (114) der Polarplatte (110), wobei der Außenumfangsabschnitt (114) einen von einer Plattenebene der Polarplatte (110) in eine Dickenrichtung (Ar) der Polarplatte (110) wegstehenden Axialbund (116) aufweist.

DIRECT CARBON DIOXIDE CAPTURE SYSTEM FOR ATMOSPHERE AND OCEAN

NºPublicación:  WO2026079821A1 16/04/2026
Solicitante: 
INST FOR ADVANCED ENGINEERING [KR]
\uACE0\uB4F1\uAE30\uC220\uC5F0\uAD6C\uC6D0\uC5F0\uAD6C\uC870\uD569
WO_2026079821_A1

Resumen de: WO2026079821A1

The present invention relates to a direct carbon dioxide capture system for the atmosphere and the ocean. The direct carbon dioxide capture system for the atmosphere and the ocean, according to one embodiment of the present invention, comprises: a fuel cell unit for generating electric power by using air in the atmosphere; a first capture unit connected to the fuel cell unit and directly capturing carbon dioxide from air discharged from the fuel cell unit; a second capture unit connected to the first capture unit and receiving seawater and directly capturing carbon dioxide from the seawater; and a fuel generation unit connected to the first capture unit and the second capture unit and generating carbon-neutral fuel by using carbon dioxide captured by at least one of the first capture unit and the second capture unit.

BRENNSTOFFZELLENSYSTEM UND DAMIT AUSGESTATTETES KRAFTFAHRZEUG

NºPublicación:  DE102024209950A1 16/04/2026
Solicitante: 
STELLANTIS AUTO SAS [FR]
DE_102024209950_PA

Resumen de: DE102024209950A1

Ein Brennstoffzellensystem umfasst wenigstens eine Brennstoffzelle (3), einen Kühlkreislauf mit einem ersten Wärmetauscher (15) in thermischem Kontakt mit der wenigstens einen Brennstoffzelle (3), einen zweiten Wärmetauscher (7) in thermischem Kontakt mit der Umgebung, und einer Pumpe (6) zum Umwälzen von Wärmeträgerfluid zwischen den Wärmetauschern (15, 7), Temperatursensoren (13, 14) zum Erfassen einer Temperaturdifferenz (dTist) zwischen Vor- und Rücklauf (11, 5) des ersten Wärmetauschers (15) und einen Regelkreis (16) zum Regeln des Durchsatzes (q) der Pumpe (6) anhand der Temperaturdifferenz (dTist). Der Regelkreis (16) ist eingerichtet, bei niedriger Leistung (Pmin) der Brennstoffzelle einen niedrigeren Sollwert (dTsoll) der Temperaturdifferenz festzulegen als bei hoher Leistung (Pmax).

Verfahren zum Bestimmen eines Ansteuersignals für einen Aktuator eines Kühlmittelkreislaufs und Kältemittelkreislaufs

NºPublicación:  DE102024209892A1 16/04/2026
Solicitante: 
BOSCH GMBH ROBERT [DE]
DE_102024209892_PA

Resumen de: DE102024209892A1

Die vorgestellte Erfindung betrifft ein computerimplementiertes Verfahren (100) zum Bestimmen eines Ansteuersignals für mindestens einen Ventilator (311) eines Radiators (309) in einem Kühlmittelkreislauf (307) für einen Energiewandler (300) und eines Kondensators (317) in einem Kältemittelkreislauf (319),wobei das Verfahren (100) umfasst:- Bestimmen (101) einer Kühlanforderung des Radiators (309) in dem Kühlmittelkreislauf (307) des Energiewandlers (300) und einer Kühlanforderung des Kondensators (317) in dem Kältemittelkreislauf (319),- Einstellen (103) eines Ansteuersignals für den mindestens einen Ventilator (311) des Radiators (309) in dem Kühlmittelkreislauf (307) des Energiewandlers (300) und des Kondensators (317) in dem Kältemittelkreislauf (319) in Abhängigkeit der bestimmten Kühlanforderungen,wobei zum Bestimmen der Kühlanforderung des Radiators (309) in dem Kühlmittelkreislauf (307) des Energiewandlers (300) ein Wärmestrom, der durch einen Kondensator (317) in einem Kältemittelkreislauf (319) auf einen aus einer Umgebung anströmenden Luftmassenstrom einwirkt, berücksichtigt wird.

Reactor System and Method of Operating

NºPublicación:  US20260102754A1 16/04/2026
Solicitante: 
AEROSPACE CARBON SOLUTIONS LLC [US]
US_20260102754_A1

Resumen de: US20260102754A1

A reactor system and methods of operating are described herein. In some approaches, the system comprises a reactor body defining an internal cavity and a three-dimensional structure disposed in the internal cavity. The three-dimensional structure comprises an ionic conductor. A power supply is coupled to the three-dimensional structure generate an ionic current in the three-dimensional structure to control a temperature of the reactor. In some embodiments, the three-dimensional structure comprises multi-layer structure with alternating layers of the ionic conductor and the electronic conductor. In some embodiments, the system comprises a controller in operative communication with the power supply. The controller may control the amount of heat energy input to the reactor by adjusting the parameters of the power supply. In some embodiments, a catalyst is disposed in the three-dimensional structure.

Verfahren und Vorrichtung zum Betreiben eines Brennstoffzellensystems, Brennstoffzellensystem, Fahrzeug, Computerprogrammprodukt und Speichermedium

NºPublicación:  DE102024129651A1 16/04/2026
Solicitante: 
BAYERISCHE MOTOREN WERKE AG [DE]
DE_102024129651_PA

Resumen de: DE102024129651A1

Die hier offenbarte Technologie betrifft erfindungsgemäß ein Verfahren zum Betreiben eines Brennstoffzellensystems (10), wobei das Brennstoffzellensystem (10) eine Brennstoffzelle (11) mit einer Anode (12) und einer Kathode (13), einen Anodeneinlasspfad (15) zum Leiten von Brennstoff hin zur Anode (12), einen Anodenabgaspfad (16) zum Leiten von Anodenabgas aus der Anode (12), eine Ermittlungseinheit (30) zum Ermitteln einer Brennstoffkonzentration in und/oder an der Anode (12) und einen Brennstoffsensor (14) zum Ermitteln einer Brennstoffkonzentration (33) in und/oder an der Anode (12) umfasst und das Verfahren aufweist: Ermitteln einer aktuellen und/oder einer bevorstehenden Brennstoffkonzentration (33) in und/oder an der Anode (12) durch die Ermittlungseinheit (30) und Aktivieren des Brennstoffsensors (14) basierend auf der ermittelten Brennstoffkonzentration (33). Die Technologie betrifft ferner eine Vorrichtung, ein Brennstoffzellensystem (10), ein Fahrzeug (100) und ein Computerprogrammprodukt (50) zum Durchführen des Verfahrens sowie ein computerlesbares Speichermedium (60), auf welchem das Computerprogrammprodukt (50) gespeichert ist.

SINGLE CHANNEL LIQUID MEMBRANE CELL ASSEMBLIES

NºPublicación:  WO2026080710A1 16/04/2026
Solicitante: 
SKIP TECH INC [US]
WO_2026080710_A1

Resumen de: WO2026080710A1

Single channel liquid membrane cell assemblies and cell bodies are disclosed. In some embodiments, the single channel liquid membrane cell assembly includes an elongate cell body having an elongate opening, a first bipolar plate adjacent the cell body, and a first gas diffusion electrode disposed between the cell body and the first bipolar plate. The first gas diffusion electrode spans across the entire length and width of the elongate opening of the cell body. The single channel liquid membrane cell assembly additionally includes a second bipolar plate adjacent the cell body such that the cell body is disposed between the first and second bipolar plates. The elongate opening horizontally defines an open area and the first gas diffusion electrode and the second bipolar plate vertically define the open area therebetween.

METHOD FOR MANUFACTURING REINFORCED COMPOSITE MEMBRANE AND REINFORCED COMPOSITE MEMBRANE MANUFACTURED THEREBY

NºPublicación:  WO2026079546A1 16/04/2026
Solicitante: 
KOREA INST ENERGY RES [KR]
\uD55C\uAD6D\uC5D0\uB108\uC9C0\uAE30\uC220\uC5F0\uAD6C\uC6D0
WO_2026079546_A1

Resumen de: WO2026079546A1

The present invention relates to a method for manufacturing a reinforced composite membrane and a reinforced composite membrane manufactured thereby. The method for manufacturing a reinforced composite membrane according to the present invention can minimize the difference in hydrophilic and hydrophobic properties between a porous support and a polymer electrolyte, and improve the impregnation properties of the polymer electrolyte.

METHOD FOR PRODUCING AN ELECTROCHEMICAL CELL ELEMENT, ELECTROCHEMICAL CELL ELEMENT, ELECTROCHEMICAL CELL DEVICE

NºPublicación:  WO2026077889A1 16/04/2026
Solicitante: 
BOSCH GMBH ROBERT [DE]
WO_2026077889_A1

Resumen de: WO2026077889A1

The invention relates to a method (100) for producing an electrochemical cell element (10) comprising an electrochemical cell (14), in particular an electrolysis cell (14), and an interconnector (24), the electrolysis cell (14) having at least three functional layers (26) and a metal cell substrate (22), the interconnector (24) having projections (16). According to the invention, the interconnector (24) is connected to the cell substrate (22) by means of a plurality of micro-welded connections (34), each micro-welded connection (34) being arranged on a projection (16).

燃料電池用加湿器

NºPublicación:  JP2026512469A 16/04/2026
Solicitante: 
コーロンインダストリーズインク
JP_2026512469_A

Resumen de: WO2024232621A1

The present invention relates to a fuel cell humidifier comprising: a humidification module which uses wet gas to humidify dry gas to be supplied to a fuel cell stack; a first cap which is coupled to one end of the humidification module; and a second cap which is coupled to the other end of the humidification module, wherein the humidification module comprises: a cartridge which includes a bundle of hollow fiber membranes; a mid-case in which the cartridge is accommodated; and a flow path change unit which is disposed between the inner surface of the mid-case and the outer surface of the cartridge.

Electrochemical fuel conversion system

NºPublicación:  AU2025237985A1 16/04/2026
Solicitante: 
CERES POWER LTD
AU_2025237985_A1

Resumen de: AU2025237985A1

Abstract An electrochemical fuel conversion system and a method of operating the same. The electrochemical fuel conversion system comprising a plurality of cells arranged in groups and a plurality of switches. The switches are for selectively engaging and disengaging respective 5 ones of the cells or groups with a circuit. The method comprises repetitively and sequentially increasing and then decreasing a number of cells or groups in engagement with the circuit in an oscillatory pattern. Fig. 4 10 Abstract An electrochemical fuel conversion system and a method of operating the same. The electrochemical fuel conversion system comprising a plurality of cells arranged in groups and 5 a plurality of switches. The switches are for selectively engaging and disengaging respective ones of the cells or groups with a circuit. The method comprises repetitively and sequentially increasing and then decreasing a number of cells or groups in engagement with the circuit in an oscillatory pattern. 10 Fig. 4 ep b s t r a c t e p 0 1 12s 123s 23s 3 0 0 2 12s 123s 23s 2 0 Vo lta ge Vo lta ge Time Time Voltage 1 12s 123s 23s 3 0 Time Voltage 0 2 12s 123s 23s 2 0 Time ep e p s s s i m e o l t a g e s s s

CONTROL SYSTEM FOR DISPLACING POOLED MOLECULAR HYDROGEN IN A FUEL CELL VEHICLE

NºPublicación:  US20260106190A1 16/04/2026
Solicitante: 
GM GLOBAL TECH OPERATIONS LLC [US]
US_20260106190_A1

Resumen de: US20260106190A1

A control system for a vehicle including a fuel cell system includes at least one of a cooling fan and an aerodynamic device configured to selectively increase airflow under a hood of the vehicle. A thermal management controller is configured to control the at least one of the cooling fan and the aerodynamic device in response to a sensed temperature of a coolant of a coolant system of the vehicle. A sensor is configured to sense a concentration of molecular hydrogen under the hood of the vehicle. A molecular hydrogen airflow controller is configured to selectively request additional airflow from the thermal management controller using the at least one of the cooling fan and the aerodynamic device in response to the sensed concentration of the molecular hydrogen under the hood of the vehicle being greater than a predetermined concentration.

電気化学セルと共に使用するための装置

NºPublicación:  JP2026512397A 16/04/2026
Solicitante: 
ガウシオンリミテッド
JP_2026512397_A

Resumen de: GB2628591A

An apparatus 100 and associated method of use is detailed, for homogenising one or more regions within a plurality of electrochemical cells 20 through the use of a plurality of magnetic flux generators 10. Each generator is configured to generate a respective magnetic field through at least one electrochemical cell 20. A number of magnetic flux generators 10 and electrochemical cells 20 are arranged in an alternating manner. A number of cells 20 may be contained within one or more cell stations 12 and where each cell station 12 has at least one of the magnetic flux generators 10. Each cell station 12 can be sandwiched between a respective pair of magnetic flux generators 10. The magnetic field from the generators may also change so that said field may comprise one or a combination of rotating, pulsed and or oscillating.

FUEL CELL DURABILITY OPTIMIZATION

NºPublicación:  US20260106194A1 16/04/2026
Solicitante: 
GM GLOBAL TECH OPERATIONS LLC [US]
US_20260106194_A1

Resumen de: US20260106194A1

A method of controlling a hydrogen fuel cell includes, with a controller of the fuel cell, measuring an anode leak rate for the fuel cell, modelling, using the measured anode leak rate, an effective electrolyte membrane orifice size, calculating, using the effective electrolyte membrane orifice size, an effective runtime anode leak rate during operation of the fuel cell, using the effective runtime anode leak rate as a low-side metric when calculating emissions and dilution requests, and initiating adaptations of a control strategy of the fuel cell based on the effective runtime anode leak rate and shutdown leak rate to extend the lifetime of the fuel cell.

電極および電気化学セル

NºPublicación:  JP2026512388A 16/04/2026
Solicitante: 
セレスインテレクチュアルプロパティーカンパニーリミテッド
JP_2026512388_A

Resumen de: CN120836092A

An electrode for an electrochemical cell. The electrode comprises at least a first layer comprising a first electrode composition comprising Pr (1-x) LnxO (2-0.5 x-delta) and a lithium source. Ln is selected from at least one rare earth metal selected from the group consisting of La, Nd, Sm, Eu, Gd, Tb, Dy, Ho, Er, Tm, Yb, Lu, Sc, Y and mixtures thereof. Delta is oxygen deficit degree, 0.01 < = x < = 0.4. An electrochemical cell comprising said electrode and a stack of electrochemical cells, a method for producing said electrode and said composition.

HOLLOW FIBER MEMBRANE MODULE

NºPublicación:  US20260102741A1 16/04/2026
Solicitante: 
NOK CORP [JP]
US_20260102741_A1

Resumen de: US20260102741A1

A hollow fiber membrane module includes a pair of plate-shaped portions for forming a passage for a fluid that flows through exteriors of a plurality of hollow fiber membranes between an inner circumferential surface of a case and the plurality of hollow fiber membranes, the pair of plate-shaped portions are provided with a plurality of through holes that serve as a passage for the fluid that flows through the exteriors, and in a region where the plurality of through holes are provided in the pair of plate-shaped portions, a proportion of a total area of the plurality of through holes relative to a total surface area of a side, where the plurality of hollow fiber membranes are disposed, is 30% or more, and a width of each through hole in a direction parallel to the plurality of hollow fiber membranes is 10 mm or less.

REGENERATION METHODS AND FUEL CELL SYSTEM

NºPublicación:  US20260106195A1 16/04/2026
Solicitante: 
ROBERT BOSCH GMBH [DE]
US_20260106195_A1

Resumen de: US20260106195A1

The invention presented relates to a regeneration method (100) for regenerating a contaminated fuel cell stack (201). The regeneration method (100) comprises: introducing (101) reconditioning reagent into the fuel cell stack (201),flushing (103) the reconditioning reagent from the fuel cell stack (201), wherein the reconditioning reagent contains mobile anions or a precursor of mobile anions.

TANK, AND REDOX FLOW BATTERY SYSTEM

NºPublicación:  US20260106189A1 16/04/2026
Solicitante: 
SUMITOMO ELECTRIC IND LTD [JP]
US_20260106189_A1

Resumen de: US20260106189A1

A tank includes a tank body and an inner layer disposed at an inner surface of the tank body, wherein peel strength of the inner layer with respect to the tank body is smaller than breaking strength of the inner layer.

GAS SUPPLY APPARATUS

NºPublicación:  US20260106188A1 16/04/2026
Solicitante: 
ROBERT BOSCH GMBH [DE]
US_20260106188_A1

Resumen de: US20260106188A1

The invention relates to a gas supply apparatus (1) with a shaft (7) rotatably mounted about an axis of rotation (13) in a housing (15) and with a temperature control device (11) comprising a medium temperature control means (12) that surrounds the shaft (7) and is combined with a gas temperature control means (20). In order to improve the gas supply apparatus (1) in terms of its functionality and/or it manufacturing method, the gas temperature control means (20) comprises at least two temperature control chambers (51, 52), which are connected to one another via a first temperature control path (61), which is connected in a temperature-controlling manner to at least one first component (71) to be temperature-controlled.

Membranes

NºPublicación:  US20260103553A1 16/04/2026
Solicitante: 
FUJIFILM MFG EUROPE BV [NL]
FUJIFILM CORP [JP]
US_20260103553_A1

Resumen de: US20260103553A1

An anion exchange membrane obtainable by curing a curable composition comprising: (a) a monomer (a) of Formula (I) AR1—(CH2)n—N+(RaRb)—(CH2)n-AR2, X− wherein: each n independently has a value of 1 or 2; (i) Ra and Rb are each independently an optionally substituted C1-3-alkyl group or an optionally substituted C2-3-alkenyl group; or (ii) Ra and Rb, together with the positively charged nitrogen atom to which they are attached, form an optionally substituted 5- or 6-membered ring; or (iii) one of Ra and Rb is an optionally substituted C1-3-alkyl group or an optionally substituted C2-3-alkenyl group and the other of Ra and Rb, together with the group of formula AR1—(CH2)n—N+, forms an optionally substituted 5- or 6-membered ring; or (iv) Ra, together with the group of formula AR1—(CH2)n—N+, forms an optionally substituted 5- or 6-membered ring, and Rb, together with the group of formula N+—(CH2)n-AR2, forms an optionally substituted 5- or 6-membered ring; X− is an anion; and AR1 and AR2 each independently comprise aromatic groups; wherein: (I) at least one of AR1 and AR2 comprises a curable ethylenically unsaturated group; (II) the monomer (a) of Formula (I) comprises at least two curable ethylenically unsaturated groups; and (III) the molar fraction of component (a) in relation to all curable components of the curable composition is at least 0.90.

Membranes

NºPublicación:  US20260103552A1 16/04/2026
Solicitante: 
FUJIFILM MFG EUROPE BV [NL]
FUJIFILM CORP [JP]
US_20260103552_A1

Resumen de: US20260103552A1

An anion exchange membrane obtainable by curing a curable composition comprising: (a) a monomer (a) of Formula (I) AR1—(CH2)n—N+(RaRb)-L-N+(RcRd)—(CH2)n-AR2, 2X− Formula (I) wherein: wherein n, L, Ra, Rb, Rc and Rd and X− are as defined in claim 1; and AR1 and AR2 each independently comprise an aromatic group; wherein: (I) at least one of AR1 and AR2 comprises a curable ethylenically unsaturated group; (II) the monomer (a) of Formula (I) comprises at least two curable ethylenically unsaturated groups; and (III) the molar fraction of component (a) in relation to all curable components of the curable composition is at least 0.90.

FUEL CELL SYSTEM AND METHOD FOR CONTROLLING A HEATING CURRENT FOR TEMPERATURE CONTROL OF A FUEL CELL STACK OF A FUEL CELL SYSTEM

NºPublicación:  US20260106193A1 16/04/2026
Solicitante: 
ROBERT BOSCH GMBH [DE]
US_20260106193_A1

Resumen de: US20260106193A1

The invention relates to a fuel cell system (100), wherein the fuel cell system (100) comprises a fuel cell stack (10) for generating an output voltage and a boost converter (30) for increasing the output voltage of the fuel cell stack (10), having at least one converter unit (31a, 31b, 31c, 31d), wherein the converter unit (31a, 31b, 31c, 31d) comprises a coil (33) and a controllable switch (34) for increasing the output voltage of the fuel cell stack (10), wherein the controllable switch (34) comprises a variable resistor. Furthermore, the fuel cell system (100) comprises a control apparatus (50), wherein the control apparatus is configured so as to control the controllable switch (34) of the at least one converter unit (31a, 31b, 31c, 31d) in such a way that the resistor of the controllable switch (34) of the at least one converter unit (31a, 31b, 31c, 31d) is adjusted for controlling a heating current for temperature control of the fuel cell stack (10).

AIRCRAFT FUEL CELL PROPULSION UNIT

NºPublicación:  US20260106186A1 16/04/2026
Solicitante: 
MTU AERO ENGINES AG [DE]
US_20260106186_A1

Resumen de: US20260106186A1

The invention relates to an aircraft fuel cell propulsion unit comprising a fuel cell system that includes at least one anode and at least one cathode as well as a process gas device for supplying the anode and the cathode with fuel and ambient air and for discharging used process gases, a ram air duct through which ram air flows and a heat exchanger arranged in the ram air duct which is designed to dissipate heat generated by the fuel cell system to the environment.

METHOD OF COUNTERACTING DEGRADATION OF A FUEL CELL SYSTEM OF A VEHICLE

NºPublicación:  US20260103116A1 16/04/2026
Solicitante: 
VOLVO TRUCK CORP [SE]
US_20260103116_A1

Resumen de: US20260103116A1

The present disclosure relates to a method of counteracting degradation of a fuel cell system of a vehicle. A processor device is used for performing the method. The processor device estimates standstill average power needs of the vehicle by estimating the average power that the vehicle will consume during a predetermined time period during which the vehicle will be at a standstill. An idling power extractable from the fuel cell system is determined. The idling power is compared with the estimated standstill average power needs. Based on the comparison, a duration for which the fuel cell system should be kept turned on to fulfil the estimated standstill average power needs is determined. The fuel cell system is controlled to be kept turned on for the determined duration.

FUEL CELL

NºPublicación:  US20260106183A1 16/04/2026
Solicitante: 
HONDA MOTOR CO LTD [JP]
US_20260106183_A1

Resumen de: US20260106183A1

A fuel cell includes sensors. Each sensor includes: a sensor portion provided on at least one of separators, a frame member, and an electrolyte membrane; and a wiring portion connected to the sensor portion and extending to an outer peripheral portion of one of the separators or an outer peripheral portion of a membrane electrode assembly. The sensor further includes a base insulating film covering a sensor arrangement region; wiring patterns laminated on the base insulating film; and a covering insulating film covering the wiring patterns and portions of the base insulating film not covered with the wiring patterns.

MOLECULAR DESIGN OF ELECTROACTIVE SPECIES AND MATERIALS PROCESSING METHODS IN ORGANIC REDOX FLOW BATTERIES

NºPublicación:  AU2024332005A1 16/04/2026
Solicitante: 
BIOZEN BATTERIES INC
AU_2024332005_PA

Resumen de: AU2024332005A1

A composition of matter useful as a posolyte or negolyte in a redox flow battery, including a compound comprising a first electroactive moiety and one or more solubilizing moieties each connected to the first electroactive moiety directly or via linker moieties, wherein the linker moieties, when present each comprise carbon and could contain at least one of hydrogen, oxygen, nitrogen, sulfur, or silicon.

FUEL CELL MODULE, ASSEMBLY POSITIONING ASSEMBLY AND VEHICLE

NºPublicación:  WO2026076800A1 16/04/2026
Solicitante: 
DONGFENG MOTOR GROUP CO LTD [CN]
\u4E1C\u98CE\u6C7D\u8F66\u96C6\u56E2\u80A1\u4EFD\u6709\u9650\u516C\u53F8
WO_2026076800_A1

Resumen de: WO2026076800A1

Disclosed in the present application are a fuel cell module, an assembly positioning assembly and a vehicle. The fuel cell module comprises a case, a cell stack, an insulating support assembly and two or more cross beams, wherein the insulating support assembly is arranged between the case and the cell stack, and the insulating support assembly is in contact with all side surfaces of a stack core of the cell stack and all inner side surfaces of a bearing frame, such that the side surfaces of the stack core can be supported and an interlayer slip of the cell stack can be resisted; and gaps are formed between the insulating support assembly and both an end plate and a current collection plate of the cell stack, and the gaps can serve as buffer spaces to prevent the insulating support assembly from being damaged by the impact of the end plate and the current collection plate. The two or more cross beams are arranged between a blind end of the cell stack and the case, with two ends of each cross beam both being connected to the bearing frame; and the bearing frame applies a fastening force towards an air intake end plate assembly by means of the cross beams, thereby achieving the packaging of the case. The cross beams abut against a second limiting groove provided on a blind end plate assembly, and the blind end plate assembly is limited by means of the bearing frame and the cross beams.

GAS DIFFUSION LAYER, PREPARATION METHOD THEREFOR, AND MEMBRANE ELECTRODE

NºPublicación:  WO2026077209A1 16/04/2026
Solicitante: 
DONGFENG MOTOR GROUP CO LTD [CN]
\u4E1C\u98CE\u6C7D\u8F66\u96C6\u56E2\u80A1\u4EFD\u6709\u9650\u516C\u53F8
WO_2026077209_A1

Resumen de: WO2026077209A1

Disclosed herein are a gas diffusion layer, a preparation method therefor, and a membrane electrode. The gas diffusion layer comprises a substrate, and a microporous layer attached to at least a portion of a surface of the substrate. Raw materials of the microporous layer comprise a phosphorus-containing compound solution; the mass concentration of the phosphorus-containing compound solution is 45% to 47%, and the mass of the phosphorus-containing compound solution is 2% to 5% of the total mass of the raw materials of the microporous layer. In the present application, the phosphorus-containing compound is placed in the gas diffusion layer. Due to the porous structure and good gas permeability of the gas diffusion layer, the phosphorus-containing compound can be fully diffused therein, increasing the opportunities for contact with free radicals, thereby effectively reducing the attack of free radicals on a proton exchange membrane, further protecting the chemical structure of the membrane, and alleviating the speed of decrease of proton conductivity to a certain extent. Therefore, with regard to a membrane electrode containing the described gas diffusion layer, both the durability and the electrical performance of the membrane electrode are considered.

Verfahren zur Herstellung einer elektrochemischen Zelle sowie elektrochemische Zelle

NºPublicación:  DE102024209903A1 16/04/2026
Solicitante: 
BOSCH GMBH ROBERT [DE]
DE_102024209903_PA

Resumen de: DE102024209903A1

Vorgeschlagen wird ein Verfahren zur Herstellung einer elektrochemischen Zelle, insbesondere einer Elektrolysezelle oder einer Brennstoffzelle, aufweisend mehrere übereinander angeordnete Schichten und/oder Lagen, umfassend eine Membrane (1),gekennzeichnet durch folgende Schrittea) zumindest bereichsweises Aufbringen mindestens eines Sensormaterials (3) auf eine Oberfläche (2) der Membrane (1) und/oder eines die Membrane (1) einfassenden Subgaskets,b) Stapeln der Schichten und/oder Lagen undc) Verbinden der einzelnen Schichten und/oder Lagen, vorzugsweise durch Verpressen oder Verschrauben.Darüber hinaus betrifft die Erfindung ein Steuergerät, das dazu eingerichtet ist, ein Verfahren oder einzelne Schritte eines Verfahrens durchzuführen.

Co-SOEC System mit verbessertem Synthesegasabfuhrabschnitt

NºPublicación:  AT528776A1 15/04/2026
Solicitante: 
AVL LIST GMBH [AT]
AT_528776_PA

Resumen de: AT528776A1

Die vorliegende Erfindung betrifft ein Co-SOEC System (100) zur Erzeugung eines Synthesegases durch Elektrolyse von Kohlenstoffdioxid und Wasser. Dabei weist zu- mindest ein Synthesegasabfuhrabschnitt (31) eine Rohrleitung (40) mit einem durch ein Metalldichtungselement (50) abgedichteten Rohrflansch (44) und ein Isolations- element (60) mit einer zu deren Außenfläche (46) komplementär ausgebildete Innenfläche (64) auf. An dem Isolationselement (60) ist ein zumindest teilweise gasdurchlässiger Entlüftungsabschnitt (66) bereitstellt, für ein Entfliehen einer Gasleckage aus dem Isolationselement (60).

SUBSEA HYDROGEN STORAGE SYSTEM

NºPublicación:  EP4726251A2 15/04/2026
Solicitante: 
SUBSEA 7 NORWAY AS [NO]
EP_4726251_PA

Resumen de: EP4726251A2

0001 A subsea unit suitable for storing hydrogen gas underwater comprises a weighting base and an array of interconnecting storage tanks on the base. The base may be cast from concrete on a deck of a vessel from which the unit is subsequently launched into water. A protective structure fixed to the base covers the array of tanks. 0002 A restraint system, comprising a series of strap restraints curving around the top of each tank, secures the tanks to the base against buoyant upthrust. The restraints are attached to elongate tensile members extending upwardly from the base, disposed on opposite sides of the underlying tank. The arrangement transfers loads efficiently from each tank to the base on load paths that bypass the other tanks.

AIRSHIP USING HYDROGEN FOR LIFT AND POWER GENERATION

NºPublicación:  FI132017B1 15/04/2026
Solicitante: 
KELLUU OY [FI]
FI_132017_B1

Resumen de: FI132017B1

The present disclosure provides an airship (100) comprising a hydrogen tank (102) to store hydrogen at a first pressure, a pressure regulator (104) to receive a first hydrogen stream (106) from the hydrogen tank (102) and regulate the pressure of the first hydrogen stream (106) to a second level to generate a second hydrogen stream (108), a flow splitter (110) to receive the second hydrogen stream (108) from the pressure regulator (104) and split the second hydrogen stream (108) into a first fraction (114) and a second fraction (118), a fuel cell (112, 302) to collect the first fraction (112) of the second hydrogen stream (108) and generate electrical energy from the collected first fraction (114), and an envelope storage (116, 200, 312) to receive the second fraction (118) of the second hydrogen stream (108) and accumulate the received second fraction (118) of hydrogen to generate a lifting force.

AIRCRAFT POWERPLANT WITH BOOSTED TURBINE ENGINE AND FUEL CELL SYSTEM

NºPublicación:  EP4726189A1 15/04/2026
Solicitante: 
RTX CORP [US]
EP_4726189_PA

Resumen de: EP4726189A1

A powerplant (20) for an aircraft includes a first turbine engine (22), a second turbine engine (24) and a fuel cell system (26). The second turbine engine (24) includes a second engine flowpath (100), a second engine compressor section (96), a second engine combustor section (97 and a second engine turbine section (98). The second engine flowpath (100) extends from a second engine flowpath inlet (114) to a second engine flowpath outlet (116). The second engine flowpath inlet (114) and the second engine flowpath outlet (116) are each fluidly coupled with a flowpath (80) of the first turbine engine (22). The fuel cell system (26) includes a fuel cell, a fuel circuit (142) and an air circuit (144). The fuel circuit (142) extends through the fuel cell and is fluidly coupled with and upstream of a first fuel injector in the second engine combustor section (97). The air circuit (144) extends through the fuel cell and is fluidly coupled with and downstream of a bleed (160) from the second engine flowpath (100).

OPTICAL SENSOR FOR IRON SALT BATTERY OPERATION

NºPublicación:  EP4726368A1 15/04/2026
Solicitante: 
VOLTSTORAGE GMBH [DE]
EP_4726368_PA

Resumen de: EP4726368A1

The invention provides a sensor for an iron salt battery, ISB, the sensor comprising: a light emitting device (10) configured to emit light at one or more wavelengths in the UV-Vis-IR range or one or more sub-ranges within the UV-Vis-IR range; a light detecting device (20) configured to detect light emitted by the light emitting device and having passed through ISB electrolyte (60); and an analyzing device (40) configured to determine at least one of a Fe(II) concentration, a Fe(III) concentration, or a ratio of Fe(III)/Fe(II) concentrations of the ISB electrolyte based on an intensity of the light emitted by the light emitting device and an intensity of the light detected by the light detecting device.

METHOD AND ARRANGEMENT FOR DETERMINING THE CHARGE IMBALANCE OF A REDOX FLOW BATTERY

NºPublicación:  EP4725062A1 15/04/2026
Solicitante: 
CELLCUBE ENERGY STORAGE GMBH [AT]
WO_2024256353_PA

Resumen de: WO2024256353A1

In order to allow simple and precise determination of a charge imbalance (L) between the electrolyte liquids (5a, 5b) of a redox flow battery (1) over a long period of time, a present correlation (25) between the determined cell voltage (VOCV) and the determined at least one concentration potential (Ea, Eb) is ascertained for the period of time and the correlation (25) is evaluated in order to determine the charge imbalance (L).

HYDROGEN FUEL CELL OBTAINED BY SOLAR-POWERED EQUIPMENT

NºPublicación:  EP4726077A1 15/04/2026
Solicitante: 
VILLARRUBIA RUIZ JONAS [ES]
EP_4726077_PA

Resumen de: EP4726077A1

0001 Hydrogen fuel cell obtained by an equipment with ionization by means of solar energy characterized for being constituted by a fuel cell (CD) and a hydrogen generation equipment, where the elements of the set are the following ones: Fuel cell (50), constituted by an outer perimeter profile in cylindrical shape containing two oxidation-resistant sheets, spirally wound on themselves, of variable extension: outer membrane anode (51), inner membrane cathode (52) and between them an electrolyte (53) in closed circuit (57), with an outer cooling device (58) and a catalytic membrane (59) further outside, being located at the end of the membranes (51) and (52) the outputs of electricity (+) (55) and (-) (56) produced and, where the hydrogen is constituted by a hydrogen generator equipment attached.

HOLLOW FIBER MEMBRANE MODULE

NºPublicación:  EP4725590A1 15/04/2026
Solicitante: 
NOK CORP [JP]
EP_4725590_PA

Resumen de: EP4725590A1

A hollow fiber membrane module 10 including an outer case 100, an inner case 200, a hollow fiber membrane bundle 300 having a plurality of hollow fiber membranes filled in an annular gap between the outer case 100 and the inner case 200, a first sealing part 410, and a second sealing part 420, the hollow fiber membrane module 10 further including a membrane exterior passage that is formed to pass from an opening of the inner case 200 through a first through hole 230 and reach a second through hole 130 through the exteriors of the plurality of hollow fiber membranes, and a membrane interior passage that is formed to pass through the interiors of the plurality of hollow fiber membranes, wherein, a cylindrical member 500 having a plurality of third through holes 510, each of which becomes a part of the membrane exterior passage, is provided between the hollow fiber membrane bundle 300 and the outer case 100.

CCM, PREPARATION METHOD THEREFOR AND USE THEREOF

NºPublicación:  EP4724634A1 15/04/2026
Solicitante: 
SHANGHAI H RAY S & T CO LTD [CN]
WO_2024250391_PA

Resumen de: WO2024250391A1

The invention provides the design and preparation of a catalyst coated membrane (CCM) and its application in proton exchange membrane water electrolysis (PEMWE). The CCM contains a proton exchange membrane (PEM) and a multiscale micro/nano structured catalytic layer with ordered arrays. The ordered multiscale micro/nano structured catalytic layer includes a super-thin metal layer, a conventional catalyst/ionomer layer, and metal nanowires grown on the outermost layer. This ordered multiscale micro/nano structured catalytic layer not only improves the interfacial contact between the gas-liquid diffusion layer and the catalytic layer, building a continuous electron transfer path to reduce the internal resistance, but also exhibits super-hydrophilicity, further improving the mass transfer efficiency of membrane electrode.

INCREASING ELECTRICAL POWER OUTPUT OF AN ENERGY SOURCE

NºPublicación:  EP4725075A1 15/04/2026
Solicitante: 
MICROSOFT TECHNOLOGY LICENSING LLC [US]
WO_2024253870_PA

Resumen de: WO2024253870A1

Techniques for increasing an atomic surface area of contact surfaces of an energy source to cause the energy source to increase its energy output are disclosed. An energy source includes first and second contact surfaces, where these contact surfaces are structured to facilitate energy transfer between the energy source and a receiving unit. The contact surfaces each have a first surface area state with a first amount of atomic surface area. A process is applied to the contact surfaces to change the first surface area state to a second surface area state. The second surface area state has a second amount of atomic surface area which is more than the first amount of atomic surface area. The applied process may include applying a current or applying a short to the contact surfaces.

ELECTRICAL POWER SOURCE

NºPublicación:  EP4725061A1 15/04/2026
Solicitante: 
PRIMETALS TECHNOLOGIES GERMANY GMBH [DE]
EP_4475235_PA

Resumen de: EP4475235A1

0001 Eine elektrische Energiequelle weist zwei Flussbatterien (1, 2) auf, die jeweils erste und zweite Pole (3 bis 6) aufweisen. Die ersten Pole (3, 4) sind elektrisch miteinander verbunden. An den zweiten Polen (5, 6) ist ein jeweiliges Nutzpotenzial (P1, P2) abgreifbar. Die Nutzpotenziale (P1, P2) weisen, bezogen auf die ersten Pole (3, 4), das gleiche Vorzeichen auf. Die beiden Flussbatterien (1, 2) weisen jeweils einen Reaktionsraum (7, 8) auf, wobei die Reaktionsräume (7, 8) jeweils eine Membran (9, 10) aufweisen, welche den jeweiligen Reaktionsraum (7, 8) in zwei Fluidräume (11 bis 14) trennt. Die Membranen (9, 10) sind für einen Übergang elektrischer Ladungsträger zwischen den Fluidräumen (11 bis 14) des jeweiligen Reaktionsraums (7, 8) permeabel. Die elektrische Energiequelle weist zwei voneinander getrennte Kreisläufe (17, 18) für eine jeweilige Elektrolytflüssigkeit (15, 16) auf. Die Kreisläufe (17, 18) sind geschlossene Kreisläufe, die je einen der Fluidräume (11, 14) der zwei Reaktionsräume (7, 8) miteinander verbinden, so dass die Elektrolytflüssigkeiten (15, 16) alternierend je einen der Fluidräume (11, 12) des einen Reaktionsraums (7) und je einen der Fluidräume (13, 14) des anderen Reaktionsraums (8) durchströmen. Die beiden Kreisläufe (17, 18) weisen eingangsseitig der Reaktionsräume (7, 8) Wärmetauscher (25 bis 28) auf, mittels derer die Elektrolytflüssigkeiten (15, 16) auf eine jeweilige Temperatur (T1, T2) gebracht werden, wobei ein

Fuel cell compressor with integrated heat exchanger

NºPublicación:  GB2701100A 15/04/2026
Solicitante: 
GARRETT TRANSP I INC [US]
WO_2026075752_A1

Resumen de: GB2701100A

A system comprising a fuel cell 200 and a rotating assembly comprising: a compressor 100 comprising a compressor wheel 102 and an expander wheel 104 linked by a rotable shaft, and a motor 150 providing torque to the rotating assembly; the compressor comprising a first channel (360, figure 3) channelling air from the compressor wheel to the cathode via a heat exchanger 250 and a second channel (670, figure 5) channelling air exiting the cathode to the expander wheel via the heat exchanger. The heat exchanger may be a section of the second channel enveloping a section of the first channel, and further the second channel may comprise an exterior surface provided with fins, which may be curved. A water separator to remove moisture may be integrated into the second channel, and further the outer walls of the water separator and second channel may be contiguous with one another. (Figure 2)

SEPARATOR, AND ELECTROCHEMICAL CELL

NºPublicación:  EP4726817A2 15/04/2026
Solicitante: 
TOSHIBA KK [JP]
EP_4726817_PA

Resumen de: EP4726817A2

0001 A separator according to an embodiment includes a flow channel comprising one or more flow-channel grooves provided between flow-channel walls. One or more protrusions are provided on the flow-channel walls.

A method of recycling a waste ionomer material

NºPublicación:  GB2701070A 15/04/2026
Solicitante: 
JOHNSON MATTHEY PLC [GB]
WO_2025262405_PA

Resumen de: GB2701070A

A method of recycling a waste ionomer material contaminated with one or more metal cation contaminants, whereby the ionomer material is treated with a chelation agent. Preferably the ionomer is perfluorosulfonic acid, which is preferably derived from a membrane used in a fuel cell or electolyser. The chelating agent may be chosen from ethylenediaminetetraacetic acid (EDTA), diethyenetriaminepentaacetic acid (DTPA), or hydroxyethylenediaminetriacetic acid (HEDTA). The chelating agentis used to remove metal contaminants, preferable actions of Fe, Cr, Ni Zn, Sn, Pb, Mo, Mn or Co. The chelating agent may be applied before or after the ionomer is dispersed in either aqueous solvent, alcohol solvent or a water/alcohol mix. Fig 1

연료 전지 설계, 장치 및 제조 방법

NºPublicación:  KR20260051034A 15/04/2026
Solicitante: 
윌리엄즈리차드케이
KR_20260051034_PA

Resumen de: WO2025136457A2

A advanced fuel cell (AFC) assembly comprises a variety of features improving its performance, reliability, durability, and manufacturability include an ion exchange membrane such as a proton exchange membrane comprising polymers of perfluorinated sulfonic acid or hydrocarbon compounds supported by an inert endoskeletal structure of greater mechanical strength preventing deformation damage from handling, temperature cycling, and ionomer swelling and contraction from humidity cycling. The endoskeleton may be attached to wider exoskeletal pillars used for singulating one membrane from another after fabrication and to a thicker handle used to transport the membrane during processing prior to separation. Other AFC features include a asymmetric catalyst coated membrane inhibiting fuel cross over, oxygen back streaming, and CO atmospheric poisoning; a graded heterogenous gas diffusion layer for enhanced charge and gas transport; and a self-aligned gasket-less assembly with integrated sealant preventing gas leakage.

CAPACITY RECOVERY METHOD FOR VANADIUM REDOX FLOW BATTERY

NºPublicación:  EP4726818A1 15/04/2026
Solicitante: 
VRB ENERGY INC [KY]
EP_4726818_PA

Resumen de: EP4726818A1

0001 Disclosed is a method for recovering the battery capacity of a vanadium redox flow battery, comprising: S100: determining the overall valence of vanadium ions in electrolyte reservoirs of the battery after the discharge capacity of the battery attenuates, and charging the battery; S200: adding a reducing agent to a positive electrolyte reservoir of the battery; S300: allowing self-circulation in the positive electrolyte reservoir of the battery, so as to complete a chemical reduction reaction; S400: determining the overall valence of the vanadium ions in the electrolyte reservoirs of the battery again, and determining the residue of the reducing agent; and/or S500: replenishing the reducing agent in the positive electrolyte reservoir of the battery, and repeating steps S300 to S400 until the mean value of the overall valence of the vanadium ions in the electrolyte reservoirs of the battery returns to 3.5. By means of using a liquid reducing agent, feeding is simplified, and the reaction rate of the reducing agent with a positive electrolyte having a high content of pentavalent vanadium is fast. The extent of the valence-decreasing reaction of the reducing agent and the residual amount of the reducing agent are strictly monitored, so that the risk of the performance of a stack being affected due to the residue of the reducing agent is reduced.

BIPOLAR PLATE FOR AN ELECTROCHEMICAL CELL

NºPublicación:  EP4726816A1 15/04/2026
Solicitante: 
AIR LIQUIDE [FR]
EP_4726816_PA

Resumen de: EP4726816A1

Bipolar plate (10) for an electrochemical cell, the bipolar plate comprising:- one main sheet (12) defining a plane, said horizontal plane (H), and- at least one spring sheet (14) shaped such that it defines:. upper peaks (20) and lower peaks (40) alternately distributed along the horizontal plane (H), the spring sheet (14) being deformable between a compressed state and an uncompressed state such that the distance in the vertical direction between the upper peaks (20) and the lower peaks (40) is variable,. connection sections (60) connecting one upper peak (20) to one lower peak (40),each connection section (60) includes one horizontal part (62) which is parallel to the horizontal plane (H) when the spring sheet (14) is in the uncompressed state, the horizontal parts (62) being positioned between the upper (20) and the lower (40) peaks with respect to the vertical direction.

用于电机的功率源组件

NºPublicación:  CN121863967A 14/04/2026
Solicitante: 
通用电气马尔马拉技术中心工程服务有限公司通用电气德国控股有限公司
CN_121863967_PA

Resumen de: EP4726945A1

A power source assembly (200) includes a plurality of strings (208) electrically connectable to a load (204). Each of the plurality of strings includes a fuel cell module (210) and a DC/DC converter (212) electrically connected to the fuel cell module. Each of the plurality of strings is arranged in parallel to each other of the plurality of strings.

加湿器用中空糸膜、その製造方法、及び前記中空糸膜を含む加湿器

NºPublicación:  JP2026511398A 14/04/2026
Solicitante: 
コーロンインダストリーズインク
JP_2026511398_A

Resumen de: WO2024232733A1

The present invention relates to a hollow fiber membrane comprising a polymer and an antioxidant, and 0.01 to 5 parts by weight of the antioxidant with respect to 100 parts by weight of the hollow fiber membrane.

バイポーラプレートに半シートを溶接するための装置及び方法

NºPublicación:  JP2026512102A 14/04/2026
Solicitante: 
シェフラーテクノロジーズアー・ゲーウントコー.カー・ゲー
JP_2026512102_A

Resumen de: WO2024230884A1

The invention relates to a device (5) and a method for welding half sheets (2, 3) to form a bipolar plate (1). The device comprises at least three tool parts, namely a lower tool part (6a) and a multi-part upper tool part (6b), wherein the half sheets (2, 3) to be welded together can be inserted between the lower tool part (6a) and the multi-part upper tool part (6b). The multi-part upper tool part (6a) comprises a plurality of individual parts (7; 8) which can be arranged one after the other and only alternately above the lower tool part (6a), wherein in each of the individual parts (7, 8) of the multi-part upper tool part (6a), both at least one first opening (9) for the introduction of pressurised gas, through which the half sheets (2, 3) can be pressed against one another, and at least one second opening (10) for the introduction of joining energy during a welding process for welding the half sheets (2, 3) are formed, wherein a shape of the second openings (10, 10') in the individual parts (7, 8) of the multi-part upper tool part (6b) is largely complementary to one another as viewed perpendicular to the plane of the half sheets (2, 3) and only overlaps in certain areas, such that only one part of an overall weld to be formed can be produced using an individual part (7, 8) of the multi-part upper tool part (6b).

燃料電池セルスタック

NºPublicación:  JP2026064527A 14/04/2026
Solicitante: 
トヨタ紡織株式会社
JP_2026064527_A

Resumen de: US20260094849A1

A fuel cell stack includes multiple stacked single cells. Each single cell includes a power generation portion, a first separator, and a second separator. Each single cell includes a cooling medium supplying hole at an end portion on one side in a first direction and a cooling medium discharging hole at an end portion on the other side in the first direction. The first separator includes grooves and ridges that form multiple meandering first passages. The second separator includes grooves and ridges that form multiple meandering second passages. Reversing sections of the first passages and reversing sections of the second passages extend to be inclined with respect to a second direction. The reversing sections of the first passages and the reversing sections of the second passages overlap with each other so as to intersect with each other between the cooling medium supplying hole and the cooling medium discharging hole.

二次電池モジュール、及びこれを含む二次電池

NºPublicación:  JP2026512054A 14/04/2026
Solicitante: 
スタンダードエナジーインコーポレイテッド
JP_2026512054_A

Resumen de: US2024356166A1

Disclosed are a secondary battery module in which metal ions dissolved in an electrolyte are oxidized and reduced to charge and discharge the module, and a secondary battery including the same. The secondary battery module includes a stack of a plurality of layers stacking in one direction, wherein a redox reaction occurs in each layer, and a pair of busbars respectively disposed on both opposing side surfaces of the stack of the plurality of layers so as to electrically connect the plurality of layers to each other in a parallel manner.

電解槽などのためのバイポーラプレート、ユニポーラプレート、またはセパレータプレートを製造するための方法及び対応する装置

NºPublicación:  JP2026511471A 14/04/2026
Solicitante: 
マシューズインターナショナルゲーエムベーハー
JP_2026511471_A

Resumen de: WO2024200295A1

The invention relates to a method and a device for producing a bipolar plate, a unipolar plate, a separator plate or the like, wherein the method comprises the following steps, which can be carried out in a different order: - providing a material web of metal or graphite, or a polymer-based material web; - roll-forming the material web; and - cutting the material web, wherein a plurality of cut-outs are produced in a region of the material web which is or was formed during the roll-forming, or adjacent to said region; characterised in that the cutting is carried out in a roll-to-roll, roll-to-sheet or roll-to-product method, preferably roll-punching and/or roll-cutting.

触媒コーティング膜の製造方法

NºPublicación:  JP2026511352A 14/04/2026
Solicitante: 
ジョンソンマッセイハイドロジェンテクノロジーズリミテッド
JP_2026511352_A

Resumen de: WO2024201049A1

The present invention provides a method of manufacturing catalyst-coated ion-conducting membrane for use in an electrochemical device such as a fuel cell or electrolyser. The method comprises providing an electrolyte membrane having a first face and a second face, the first face being disposed opposite to the second face. A first catalyst ink is deposited onto the first face of the electrolyte membrane to form a first wet catalyst layer and then dried to form a first catalyst layer on the first surface of the electrolyte membrane. The first catalyst ink comprises a first ion-conducting polymer; a first electrocatalyst; and a first dispersant. Subsequently, a second catalyst ink is deposited onto the second face of the electrolyte membrane to form a second wet catalyst layer and dried to form a second catalyst layer. The second catalyst ink comprises a second ion-conducting polymer; a second electrocatalyst; and a second dispersant. The first catalyst layer is subjected to a temperature A of 130°C or more before the second catalyst ink is deposited onto the second face of the electrolyte membrane and the second catalyst layer is subjected to a temperature B which is lower than the temperature A.

燃料電池

NºPublicación:  JP2026511754A 14/04/2026
Solicitante: 
ブランブルエナジーリミテッド
JP_2026511754_A

Resumen de: GB2628599A

A fuel cell comprises at least one fuel cell board 200 with at least one first insulating layer 101,102, and a segmented membrane electrode assembly (MEA) 103 with at least one ion permeable membrane and multiple anodes and cathodes 113 provided on respective opposite faces of the membrane(s). At least one material property of the anodes or cathodes, such as the main or additive material used, the coating and/or the catalyst composition, properties, location or size, changes or varies across the surface of the fuel cell board. Alternatively, the size of the anodes or cathodes varies or changes across the fuel cell board, e.g. the width decreases or increases along the length of the MEA. In another aspect, at least one material property of another component, such as the gas diffusion layer, of the fuel cell board varies or changes across the fuel cell board. Also claimed is an arrangement in which pairs of anodes and cathodes across the at least one ion permeable membrane are electrically connected in parallel with adjacent pairs of anodes and cathodes (Figure 3e).

低コストのレドックスフロー電池のためのシステム及び方法

NºPublicación:  JP2026511541A 14/04/2026
Solicitante: 
エックスエルバッテリーズインコーポレイテッド
JP_2026511541_A

Resumen de: WO2024186684A1

The disclosure provides batteries that have long-duration or long-lifetime for energy storage applications. In one aspect, the disclosure provides perylene diimide molecules that are water soluble and can be used as energy storage materials. In operation, the perylene diimide molecules are oxidized in an anode chamber and the electrons released in the oxidation process flow to the cathode chamber where they reduce a molecule in the cathode chamber. The perylene diimide molecules in accordance with many embodiments are highly compatible with polymeric materials that are inexpensive and easy to process, hence allowing for significantly reduced manufacturing costs.

가스 확산 부재

NºPublicación:  KR20260049647A 14/04/2026
Solicitante: 
가부시키가이샤수바루가부시키가이샤에노모토
WO_2025203428_A1

Resumen de: WO2025203428A1

Provided is a rollable gas diffusion member. This gas diffusion member is made of a flexible material and is disposed between a separator and a catalyst layer in a fuel cell. The gas diffusion member comprises: a gas diffusion part that comprises a plurality of first grooves which are formed in a first direction and which serve as gas flow paths in a surface on the separator side, and a first rib which is formed between adjacent first grooves; and an introduction part that connects the gas diffusion part and a manifold for supplying gas to be introduced into the gas diffusion part. The introduction part comprises: a plurality of second grooves having a second direction different from the first direction in the first grooves; a second rib formed between adjacent second grooves; and a third groove having the same direction as the first direction.

膜电极组件

NºPublicación:  CN121866654A 14/04/2026
Solicitante: 
三星电机株式会社
CN_121866654_PA

Resumen de: CN121866654A

一种膜电极组件包括:第一催化电极和第二催化电极;以及聚合物电解质膜,设置在所述第一催化电极和所述第二催化电极之间。所述第一催化电极包括第一层和设置为比所述第一层更远离所述聚合物电解质膜的第二层。所述第一层包括多孔的第一支撑体和设置在所述第一支撑体的表面上的第一催化剂,并且所述第二层包括多孔的第二支撑体和设置在所述第二支撑体的表面上的第二催化剂。所述第二支撑体的孔隙率高于所述第一支撑体的孔隙率。

含Cu-Co的电极和制造方法

NºPublicación:  CN121866363A 14/04/2026
Solicitante: 
环球公用事业公司
CN_121866363_PA

Resumen de: WO2025096154A1

Herein discussed is a method of making a Cu-Co-containing electrode precursor, comprising (a) Providing a mixed-conducting membrane; (b) Depositing a dispersion on the membrane, wherein the dispersion comprises CuO particles and CoCGO particles; and (c) Sintering the CuO and CoCGO particles at a temperature of from 800°C to 1350°C to form the Cu-Co-containing electrode precursor. In an embodiment, the mole ratio of Cu to Co is from 3 : 1 to 70: 1. In an embodiment, the mole ratio of Cu to Co is from 10: 1 to 50: 1. In an embodiment, sintering takes place at a temperature of from 1100°C to 1250°C.

用于对电化学电池制造用的片状元件进行分离的装置和方法

NºPublicación:  CN121866659A 14/04/2026
Solicitante: 
捷德货币技术有限责任公司
CN_121866659_PA

Resumen de: WO2025061848A1

The invention relates to a device (1) for separating flat elements (2) for the production of galvanic cells. The device (1) comprises a receiving unit (10) which is designed to receive a stack (3) of flat elements (2) having a plurality of flat elements (2) and to provide the flat elements (2), one after the other, to a separating region (20). The device (1) also comprises a gas supply unit (30) which is designed to supply a gas flow (21, 22) to the separating region (20), said gas flow generating a negative pressure in the separating region (20) in order to lift, by means of the generated negative pressure, a first flat element (4) from the stack (3) of flat elements (2). The device (1) is furthermore designed to exert a force (24) on the lifted first flat element (4), which causes the first flat element (4) to move out of the separating region (20) along a movement direction (6). The invention also relates to a method for separating flat elements (2) for the production of galvanic cells.

用于盒式燃料电池的膜加湿器

NºPublicación:  CN121866657A 14/04/2026
Solicitante: 
可隆工业株式会社
CN_121866657_PA

Resumen de: KR20250038450A

The present invention relates to a membrane humidifier for a cartridge-type fuel cell, comprising: a housing having an exhaust gas inlet through which exhaust gas discharged from a fuel cell stack is introduced and an exhaust gas outlet for discharging the exhaust gas; and a cartridge disposed inside the housing and having a plurality of humidification membranes, wherein the cartridge includes an inner case in which the plurality of humidification membranes are disposed and a potting part for fixing the plurality of humidification membranes, the inner case includes a first window part disposed adjacent to the exhaust gas inlet and including a plurality of windows and a second window part disposed adjacent to the exhaust gas outlet and including a plurality of windows, and the first window part is provided with a plurality of windows having different sizes.

复合膜、膜·电极接合体、固体高分子型燃料电池、固体高分子型电解装置及电化学式氢压缩装置

NºPublicación:  CN121866658A 14/04/2026
Solicitante: 
帝人株式会社
CN_121866658_A

Resumen de: JP2025050176A

To provide a composite membrane having excellent proton conductivity and dimensional stability.SOLUTION: A composite membrane includes a porous substrate including a polyolefin microporous membrane, a silica material having a substrate including silicon dioxide, and sulfonic acid groups on at least the surface of the substrate, and an ion exchange resin, and has a Gurley value of 1,000 seconds/100 mL or more.SELECTED DRAWING: None

촉매 코팅 막 성분의 재활용

NºPublicación:  KR20260049651A 14/04/2026
Solicitante: 
존슨맛쎄이퍼블릭리미티드컴파니
WO_2025062109_PA

Resumen de: WO2025062109A1

A method of recycling a waste catalyst coated membrane material comprising an ionomer, at least one catalyst comprising platinum, palladium and/or ruthenium, and at least one catalyst comprising an iridium binary oxide, the method comprising: (a) treating the waste catalyst coated membrane material with a heated solution comprising an acid and an oxidant, wherein platinum, palladium and/or ruthenium is leached from the waste catalyst coated membrane material into the solution which is separated from remaining solid components of the waste catalyst coated membrane material; (b) treating the waste catalyst coated membrane material with a solvent to disperse the ionomer and recover a dispersion of ionomer, wherein the dispersion of the ionomer is performed before or after the leaching of the platinum, palladium and/or ruthenium in step (a); and (c) after recovery of the platinum, palladium and/or ruthenium and ionomer in steps (a) and (b), treating the residual waste catalyst coated membrane material to extract iridium by one of three specified processes.

전기화학 시스템의 유체 전도 플레이트 장치

NºPublicación:  KR20260049866A 14/04/2026
Solicitante: 
섀플러테크놀로지스아게운트코카게
WO_2025051317_PA

Resumen de: WO2025051317A1

The invention relates to a fluid-conducting plate arrangement (3) of an electrochemical system (1), comprising a compression plate (4) which has an inner side (6), facing a stack of electrochemical cells, and an outer side (5) and is passed through by a plurality of through-openings to which a plurality of coolant passages (8, 9), namely a coolant inlet (8) and a coolant outlet (9), are to be assigned, wherein each coolant passage (8, 9) has a branch (12) which opens towards the inner side (6) and is formed by the compression plate (4) together with an insert plate (10) inserted into it on the outer side, such that the compression plate (4) has two separate passage portions (13, 14) and the insert plate (10) has a collecting portion (18) which adjoins the two passage portions (13, 14).

含哌啶鎓的聚合物

NºPublicación:  CN121866288A 14/04/2026
Solicitante: 
威尔索根股份有限公司
CN_121866288_PA

Resumen de: US2025041843A1

0000 Polymers with piperidinium-functionalized groups are provided. The hydroxide (anion) exchange membranes or hydroxide (anion) exchange ionomers formed from these polymers exhibit superior chemical stability, hydroxide conductivity, decreased water uptake, good solubility in selected solvents, and improved mechanical properties upon tuning the polymer structure the combination and ratios of various aromatic and ketone units.

用于向多个电池单体提供结构和支撑、冷却剂循环和电连接的电池包组件

NºPublicación:  CN121866656A 14/04/2026
Solicitante: 
塞拉尼斯聚合物控股有限公司
CN_121866656_PA

Resumen de: US2025046913A1

A battery pack structural and electrical assembly for circulating a coolant fluid is disclosed. The battery pack assembly includes a top cooling fluid distribution manifold attached to the top of a plurality of battery cells and a bottom cooling fluid distribution manifold that is attached to the bottom of the battery cells. A coolant fluid is circulated through the manifolds for cooling the battery cells directly. Electrical connections to the battery cells can be integrated into the manifolds for also efficiently providing electrical connections to the batteries. In addition, the battery assembly provides significant impact resistance for protecting the battery cells.

用于燃料电池的组件

NºPublicación:  CN121866655A 14/04/2026
Solicitante: 
赛峰集团国家科学研究中心波尔多大学波尔多综合理工学院
CN_121866655_PA

Resumen de: WO2025012549A1

The invention relates to a component for a fuel cell or an electrolyser, with an acid electrolyte, alkaline electrolyte, solid oxide electrolyte or molten salt electrolyte, provided with an anti-corrosion coating, and to such a fuel cell or electrolyser with an acid electrolyte, the component comprising an electrically non-conductive substrate (31) and an anti-corrosion coating (32) deposited on at least one surface of the substrate (31), the anti-corrosion coating (32) comprising at least one main layer based on tantalum nitride doped using one or more dopants selected from the family of transition metals and/or lanthanides.

一种IrCo基纳米颗粒催化剂及其制备方法与应用

NºPublicación:  CN121852973A 14/04/2026
Solicitante: 
苏州实验室
CN_121852973_PA

Resumen de: CN121852973A

本发明公开了一种IrCo基纳米颗粒催化剂及其制备方法与应用,包括如下步骤:将Ir盐、Co盐、M盐和表面活性剂溶于多元醇中,油浴锅中进行回流反应,烘干后研磨并进行二级退火处理:200‑300℃温度下保温进行预合金化形成Ir‑Co‑M合金纳米颗粒,然后200‑400℃保温进行氧化退火形成氧化层;置于酸溶液中搅拌处理,得到IrCo基纳米颗粒催化剂。本发明构建“Ir‑Co‑M”三元协同体系,采用“可控的溶剂热合成”,预合金化后空气退火,形成稳定的金属氧化物表面,同时保留合金核心,从而在活性和稳定性之间取得最佳平衡;工艺简单、重复性好,所制备的催化剂具有高催化活性和优良稳定性。

一种全钒液流电池正负极储液罐液位调节方法及系统

NºPublicación:  CN121862800A 14/04/2026
Solicitante: 
中国科学院大连化学物理研究所
CN_121862800_PA

Resumen de: CN121862800A

本发明属于电化学储能技术领域,具体说是一种全钒液流电池正负极储液罐液位调节方法及系统,包括以下步骤:1)在全钒液流电池正负极储液罐之间设置一电动调节阀门,并将该电动调节阀门与电池管理系统的中央控制器连接,以使中央控制器对电动调节阀门进行实时调节;2)电动调节阀门通过模拟量输入模块反馈电动调节阀门的开度信号至中央控制器;3)在全钒液流电池运行设定时间后,由于水迁移作用正负极储液罐液位有明显差异,电池管理系统的数据采集存储模块将采集到正负极储液罐液位发送至中央控制器;4)中央控制器比较正、负极储液罐液位差的绝对值是否大于液位调节上限值,执行相应调节动作。本发明有效调节全钒电池系统正负极储液罐液位差异,提高液流电池系统的可利用率、可靠性及系统效率,推动全钒液流电池的大规模应用。

一种PEM电解水催化剂载体及其制备方法与应用

NºPublicación:  CN121852986A 14/04/2026
Solicitante: 
苏州实验室
CN_121852986_PA

Resumen de: CN121852986A

本发明公开了一种PEM电解水催化剂载体及其制备方法与应用,PEM电解水催化剂载体具有纳米针状结构,纳米针状结构的长度为50‑200nm,直径为5‑20nm,长径比为(10‑20):1;分子式为AxTi1‑xO2,其中,x为0.01‑0.05,A为金属。本发明催化剂载体的工艺简单、成本低、易于规模化生产,并能精确控制载体的纳米结构和晶相组成;催化剂载体具有纳米针状,导电性高、比表面积大、稳定性优异;该载体应用于PEM电解水催化剂具有高催化活性、低贵金属用量和长使用寿命的优点。

一种质子交换膜燃料电池故障诊断方法及相关设备

NºPublicación:  CN121862793A 14/04/2026
Solicitante: 
武汉理工大学
CN_121862793_PA

Resumen de: CN121862793A

本申请涉及燃料电池故障诊断技术领域,尤其涉及一种质子交换膜燃料电池故障诊断方法及相关设备。方法通过采集源域燃料电池的时序运行数据,并经归一化与窗口化处理构建源域训练样本,利用卷积时序诊断模型提取特征并结合物理信息引导约束完成源域预训练。随后将预训练模型迁移至目标域运行数据并执行参数微调,以获得目标域特征表示。基于物理信息引导约束对目标域特征执行权重调节,加强特征与燃料电池物理机制的一致性,最终依据经调节的特征输出燃料电池的故障诊断结果。本发明提高了燃料电池在复杂工况下的跨域故障诊断的准确率、泛化能力与解释性。

燃料电池排气稀释控制

NºPublicación:  CN121862795A 14/04/2026
Solicitante: 
通用汽车环球科技运作有限责任公司
CN_121862795_PA

Resumen de: CN121862795A

本发明涉及燃料电池排气稀释控制。一种控制在氢燃料电池的阳极处的反应后的燃料气体的选择性吹扫的方法包括:启动反应后的燃料气体的选择性吹扫;启动稀释从燃料电池排放的反应后的燃料气体内存在的氢的浓度所必需的通过燃料电池的空气流;以及在通过燃料电池的空气流达到稀释从燃料电池排放的反应后的燃料气体内存在的氢的水平所必需的估计的所需空气流率之后,打开阳极阀,该阳极阀适于允许阳极内的反应后的燃料气体从燃料电池排出。

一种自密封结构液流电池高导电双极板

NºPublicación:  CN224123350U 14/04/2026
Solicitante: 
江苏深储新材料有限公司
CN_224123350_U

Resumen de: CN224123350U

本实用新型属于液流电池双极板技术领域,具体涉及一种自密封结构液流电池高导电双极板。旨在解决传统复合双极板的密封问题,以及机械强度与导电性之间的矛盾。自密封结构液流电池高导电双极板包括:高强度基板,由有效面积基体和密封基体组成;密封基体位于有效面积基体的四周,有效面积基体和密封基体一体成型;密封基体厚度小于有效面积基体厚度;高导电膜,粘附于有效面积基体的表面上;高导电膜的几何尺寸与有效面积基体的表面尺寸相同;弹性自密封组件,套设在密封基体外侧。本实用新型提出的双极板为液流电池的大规模应用提供更加可靠的解决方案。

一种可逆固体氧化物燃料电池的调压测试系统

NºPublicación:  CN224123353U 14/04/2026
Solicitante: 
浩燃科技(中山)有限公司
CN_224123353_U

Resumen de: CN224123353U

本实用新型涉及一种可逆固体氧化物燃料电池的调压测试系统,该系统在常规系统基础上增设舱段稳压系统,舱段稳压系统包含舱段、增压进气流路、燃气尾气流路和空气尾气流路,燃气尾气流路有直排和处理流路,空气尾气流路与燃气尾气处理流路通过旁通流路相连,尾气冷却系统的冷却器和电堆热盒系统均设置在舱段内。本实用新型的舱段稳压系统能有效调节舱内压力,确保燃气极与空气极压力联通,避免压差波动,保护电池;空气极尾气先排至舱内再排出,与舱段共用排气调压设施,降低系统成本;冷却器设于舱内,减小换热流路与舱段间压差,降低冷却器加工成本;系统集成于舱段,减少热量散失,提高能源利用效率,还避免了高温管路穿越舱壁的保温难题。

一种固态储氢系统及其控制方法、装置、设备

NºPublicación:  CN121862788A 14/04/2026
Solicitante: 
上海捷氢科技股份有限公司
CN_121862788_A

Resumen de: CN121862788A

本申请公开了一种固态储氢系统及其控制方法、装置、设备,以更优地实现固态储氢系统的低温启动。该系统包括多级并联的固态储氢单元及加热器;每级固态储氢单元包括至少一组并联的固态储氢瓶、该级对应的氢气管路及供氢阀门、冷却液管路及冷却控制循环阀。该方法包括:响应于低温启动指令,启动加热器,对第一级固态储氢单元进行加热,检测到其温度达到第一目标阈值,打开其氢气管路的供氢阀门,启动氢燃料电池系统;打开第i级固态储氢单元的冷却液管路的冷却控制循环阀,检测到其温度达到第二目标阈值,打开其氢气管路的供氢阀门;在i的取值未达到n时,将i的取值加一,返回打开第i级固态储氢单元的冷却液管路的冷却控制循环阀及后续步骤。

一种燃料电池双极板及燃料电池堆

NºPublicación:  CN224123349U 14/04/2026
Solicitante: 
上海晶擎能源科技有限公司
CN_224123349_U

Resumen de: CN224123349U

本实用新型涉及燃料电池技术领域,本实用新型揭示了一种燃料电池双极板及燃料电池堆,所述燃料电池双极板包括板体;板体的一侧面设有多个氢流道,另一侧面设有多个氧流道;板体上设有氢气主流孔,氢气主流孔与氢流道连通,氢气物质通过氢气主流孔分配给多个氢流道;氧气物质通过多个氧流道直接与空气连通;板体内部设有冷却腔体;板体上的两个对角处分别设有冷却液进口和冷却液出口,冷却液进口和冷却液出口分别位于冷却腔体两端,并与冷却腔体连通。本实用新型能够同时实现氢氧反应气体的传输和冷却液的循环散热;还能够通过热‑质分离拓扑设置,使热流路径与氢氧物质流路径在三维空间上完全解耦,从而能够实现更好的散热和温度均匀性。

一种具有双螺旋结构的液流电池双极板流道

NºPublicación:  CN224123351U 14/04/2026
Solicitante: 
瑞昇液流电池科技(青岛)有限公司
CN_224123351_U

Resumen de: CN224123351U

本实用新型属于液流电池双极板流道技术领域,具体为一种具有双螺旋结构的液流电池双极板流道,包括双极板,双极板的侧表面开设有连接槽,双极板的内部开设有第一连接孔,第一连接孔的内部活动连接有第一连接柱和第二连接柱,且第一连接柱与第二连接柱螺纹连接,连接槽的内部插接有导热块,导热块的内部开设有第二连接孔,且第一连接柱和第二连接柱均位于第二连接孔的内部,导热块远离双极板的一端固定连接有散热架,且散热架的外部固定连接有散热片。本实用新型通过设置第一连接柱、第二连接柱、导热块、散热架和散热片,提高了散热效率,避免高温对双极板产生影响;通过设置第一橡胶垫片和第二橡胶垫片,可避免双极板损坏。

一种钒液流电堆的组装系统

NºPublicación:  CN224123354U 14/04/2026
Solicitante: 
海南华泸能源研究中心(有限合伙)
CN_224123354_U

Resumen de: CN224123354U

本实用新型涉及钒液流电堆技术领域,具体涉及一种钒液流电堆的组装系统,包括底板、压合机构、组装框架及控制器;压合机构由第一直线驱动单元及支撑架构成,多个支撑架垂直设于底板上并形成组装框架的放置位,第一直线驱动单元设于支撑架的顶部;组装框架内设有电堆放置位,电堆放置位底部设有载板机构,载板机构由弹性支撑组件及第二直线驱动单元构成,第二直线驱动单元设于弹性支撑组件的下方且其输出端与弹性支撑组件连接;电堆放置位内设有压力传感器,压力传感器与控制器电连接,控制器与第一直线驱动单元和第二直线驱动单元电连接。本实用新型可保证电堆的稳定性,避免电堆发生偏移,提高了电堆的装配精度。

一种燃料电池系统的冷启动方法

NºPublicación:  CN121862785A 14/04/2026
Solicitante: 
中能建氢能源有限公司青启未来(北京)氢能源科技有限公司
CN_121862785_PA

Resumen de: CN121862785A

本申请提出了一种燃料电池系统的冷启动方法,包括:启动加热装置对冷却液回路中的冷却液进行加热以将燃料电池电堆的第一温度升到第一临界温度;启动阳极气体供应子系统的阳极反向供氢模式给电堆供应氢气,并将氢气加热至目标温度,并将加热后的氢气从该模式下的阳极气腔入口通入电堆并从该模式下的阳极气腔出口排出电堆并再次循环,直至阳极气腔出口处的温度达到第二临界温度;切换为阳极正向供氢模式并启动阴极气体供应子系统,直至电堆的第二温度达到第三临界温度;燃料电池系统切换至常规运行控制模式,按照预先确定的运行逻辑启动并控制冷却液回路。本申请能够在消除了因局部结冰导致的反应气体分布不均问题的基础上,提升系统整体能效。

燃料電池システム

NºPublicación:  JP2026064847A 14/04/2026
Solicitante: 
パナソニックIPマネジメント株式会社
JP_2026064847_A

Resumen de: JP2026064847A

0001 【課題】燃料電池システムにおいて発生した熱の利用の制約を少なくできる。 【解決手段】発電システム1aは、燃料電池システム1aは、少なくとも1つの燃料電池ユニット10と、制御器20とを備える。燃料電池ユニット10は、燃料電池スタック11と、冷却水経路12と、熱媒体経路13とを含む。冷却水経路12は、燃料電池スタック11に冷却水を導く経路である。熱媒体経路13は、冷却水によって燃料電池スタック11から回収された熱を熱媒体によって受け取り、燃料電池ユニット10の外部の熱利用機器2に向かってその熱媒体を燃料電池ユニット10の外部に導く経路である。制御器20は、熱利用機器2における熱需要に応じて、燃料電池スタック11に供給される冷却水の温度を調整する。 【選択図】図1

确定冷却目标的方法、装置、控制器、车辆和产品

NºPublicación:  CN121862790A 14/04/2026
Solicitante: 
罗伯特·博世有限公司
CN_121862790_PA

Resumen de: CN121862790A

本公开的实施例提供了一种确定冷却目标的方法、装置、控制器、车辆和计算机程序产品。方法包括获取用于冷却燃料电池系统的温度约束、功率约束和水可用性,燃料电池系统包括风扇、泵和水喷射器;以及基于温度约束、功率约束和水可用性确定与风扇和泵之间的多个功率分配相关联的多个性能。方法还包括基于多个性能,从多个功率分配中选择功率分配;以及基于所选择的功率分配确定水喷射器的冷却目标。这样,在冷却燃料电池电堆时可以考虑水资源,从而可以节省冷却能耗。

一种离网型生活舱冷热电三联供系统

NºPublicación:  CN224121424U 14/04/2026
Solicitante: 
上海氢洋科技有限公司
CN_224121424_U

Resumen de: CN224121424U

本专利涉及溴化锂吸收式制冷、太阳能集热、燃料电池余热利用的耦合供能系统,具体是一种离网型生活舱冷热电三联供系统。通过耦合质子交换膜燃料电池、中温太阳能集热器及单效溴化锂吸收式制冷单元,实现冷、热、电联供。系统包括:燃料电池热电联供单元、太阳能集热器(5)、溴化锂吸收式制冷单元。

燃料电极层和电化学电池

NºPublicación:  CN121862762A 14/04/2026
Solicitante: 
株式会社电装
CN_121862762_PA

Resumen de: CN121862762A

本公开的燃料电极层(1)用于固体氧化物型电化学电池(2)。该燃料电极层具有催化剂材料颗粒(11)、固体电解质颗粒(12)和至少一种金属M,该金属M选自由标准电极电势比Ni更负的金属构成的组中。上述催化剂材料颗粒以Ni为主要成分,并且还包含上述金属M。上述固体电解质颗粒以氧化铈基氧化物为主要成分,并且还包含上述金属M。本公开的固体氧化物型电化学电池(2)依次具有如上所述的燃料电极层(1)、固体电解质层(22)和作为燃料电极层的对电极的空气电极层(23)。上述固体电解质层具有与燃料电极层接触的电解质主体层(221)。上述电解质主体层以氧化铈基氧化物为主要成分,并且还包含选自由标准电极电势比Ni更负的金属构成的组中的至少一种金属M。

确定功率分配的方法、装置、控制器、车辆和产品

NºPublicación:  CN121862791A 14/04/2026
Solicitante: 
罗伯特·博世有限公司
CN_121862791_PA

Resumen de: CN121862791A

本公开的实施例提供了一种确定功率分配的方法、装置、控制器、车辆和计算机程序产品。方法包括获取用于冷却燃料电池系统的温度约束和功率约束,其中燃料电池系统包括风扇和泵。方法还包括基于温度约束和功率约束,确定针对风扇和泵的多个功率分配。方法还包括确定与多个功率分配相对应的多个性能。方法还包括基于多个性能,从多个功率分配中选择功率分配。以这种方式,可以优化对各种热系统负载的使用,并且考虑到电堆入口和出口温度的设定点来提高系统效率和性能。

一种汽车氢水电热循环方法及系统

NºPublicación:  CN121862797A 14/04/2026
Solicitante: 
安徽域驰智能科技有限公司
CN_121862797_PA

Resumen de: CN121862797A

本发明提供了一种汽车氢水电热循环方法及系统,方法包括获取车辆的行驶路线、动力负载与电机功率变化趋势,基于多源预测信息生成不同行驶区段的氧气使用需求基准;构建氧气消耗模型,结合氢气瓶与氧气瓶的实时状态及电机实际功率需求计算目标富氧比例,并通过分段式富氧调度控制氢燃料电池在不同功率区段的氧气注入流量。系统根据调度结果进一步调节电解水制氢装置的运行功率、氢气与氧气的罐装增压比例,并动态调节热水存储罐的热量回收路径,同时,基于氧气余量预测执行安全性自适应调控,在氧气过剩时降低富氧比例,在氧气不足时提高富氧比例,使氧气瓶剩余量与车辆行驶需求保持同步消耗。

一种氢燃料电池气水分离装置

NºPublicación:  CN224123352U 14/04/2026
Solicitante: 
河南氢璞创能科技有限公司
CN_224123352_U

Resumen de: CN224123352U

本实用新型提供一种氢燃料电池气水分离装置,涉及燃料电池技术领域,包括罐体;分离组件,分离组件包括固定连接在罐体内部的输入管管,输入管管一端固定连接有分流管,分流管的底端固定连接有气液分离管,气液分离管的外侧顶端开设有透气孔,气液分离管的底端固定连接有底部支撑盘,分离组件的内部固定连接有吸水组件;这样设计实现了高效的气水分离和水分的自动排出,提高了氢气的纯度和循环效率,同时避免了液态水滞留导致的电极活性面积减少,有效解决了传统气液分离装置在高湿度、高流速条件下液滴夹带和氢气纯度下降的问题。

一种具有翻转功能的电池制造平台

NºPublicación:  CN224123358U 14/04/2026
Solicitante: 
深圳市优特佳科技有限公司
CN_224123358_U

Resumen de: CN224123358U

本实用新型公开了一种具有翻转功能的电池制造平台,属于电池制造平台技术领域。一种具有翻转功能的电池制造平台,包括对称安装在基台上的安装框,所述安装框上转动连接有第一双向丝杆,其特征在于,还包括:对称安装在第一双向丝杆上的夹持板,夹持板上开设有安装槽,所述安装槽内转动安装有第二双向丝杆,第二双向丝杆的两端对称安装有夹持爪,当第二双向丝杆转动时,两组夹持爪相互靠近或远离;固定连接在夹持板上的连接板,连接板的中部设置有防护部;本实用新型第一双向丝杆配合第二双向丝杆,分别通过夹持板和夹持爪对电池的边角处进行夹持,实现电池翻转时的稳定效果,防止出现电池因翻转出现惯性力或重心变化导致电池脱落的问题。

基于尾排氢浓度确定燃料电池系统运行异常的方法和设备

NºPublicación:  CN121862792A 14/04/2026
Solicitante: 
博世氢动力系统(重庆)有限公司
CN_121862792_PA

Resumen de: CN121862792A

本发明涉及基于尾排氢浓度确定燃料电池系统运行异常的方法,包括以下步骤:利用对燃料电池系统进行控制的控制单元周期性地控制系统中排气阀和排水阀的开启和关闭;利用于尾排管线与外界环境交界处设置的氢浓度传感器测量在排气阀和排水阀的周期性开启后于尾排管线中产生的尾排氢浓度,并将测得的尾排氢浓度通信至控制单元;利用控制单元确定一标定时间段内测得的尾排氢浓度的最大值;将所述最大值与最低尾排氢浓度阈值和符合安全标准的最高尾排氢浓度阈值比较,并基于比较结果确定燃料电池系统的运行是否异常。本发明还涉及执行所述方法的设备和计算机程序产品。本发明能够快速识别燃料电池系统的运行异常,及时提醒用户执行停机操作和必要维护。

一种枝状流道场结构、双极板和电池单元

NºPublicación:  CN121862781A 14/04/2026
Solicitante: 
国网湖南省电力有限公司株洲供电分公司国网湖南省电力有限公司国家电网有限公司
CN_121862781_PA

Resumen de: CN121862781A

本发明公开了一种枝状流道场结构、双极板和电池单元,枝状流道场结构的第一通道和第二通道上下旋转对称设置,相对于只有第一通道或者只有第二通道的技术方案,本发明的技术方案能够使得进液和回液流道的位置更均匀,有利于疏通回流的通道,降低压降,第一主通道、第二主通道、位于第一主通道两侧的分支通道、位于第一主通道两侧的第二分支通道均为曲线形通道,遵循Murray定律,优化了流阻分布,相对于直线形通道,曲线形通道缓解电解液的冲击力,从而减少对电池单元中膜和石墨毡的冲刷,使得电解液能均匀渗透至电极的每一个角落,极大消除死区。

一种基于氨储能的高速公路自洽能源系统及其运行方法

NºPublicación:  CN121863418A 14/04/2026
Solicitante: 
西安交通大学中交第一公路勘察设计研究院有限公司
CN_121863418_PA

Resumen de: CN121863418A

本发明公开了一种基于氨储能的高速公路自洽能源系统及其运行方法,属于综合能源系统技术领域。所述系统包括:供能部分、电‑氢转化单元、氨储能单元、多能流负荷部分以及梯级能量利用单元;梯级能量利用单元包括固体氧化物燃料电池模块、微型燃气轮机、余热锅炉和储热罐;固体氧化物燃料电池模块使用储氨罐中的氨进行第一级发电;其高温废气被导入微型燃气轮机进行第二级发电;微型燃气轮机排出的中低温废热再由余热锅炉捕获并储存于储热罐中;储热罐中的热能被一条启动预热回路用于氨储能单元中的合成氨模块的冷态启动预热。本发明实现了“一级发电‑二级发电‑三级供热”的能量梯级利用,能同时满足电、热、氢多能流负荷需求,极大提升了系统的总能效、自洽率和绿色低碳水平。

一种夹心膜及其制备方法与应用

NºPublicación:  CN121862776A 14/04/2026
Solicitante: 
中国科学院大连化学物理研究所
CN_121862776_PA

Resumen de: CN121862776A

本发明旨在提供在两层聚烯烃膜之间填充含有支持电解质凝胶的夹心膜的制备方法和应用。聚烯烃膜起到良好的支撑作用。固态的凝胶层可很好的阻隔Zn2+,降低Zn2+的离子迁移数,缓解锌枝晶的生成,同时兼具抑制Br2扩散作用。凝胶中的支持电解质,可供离子传输用。相较于传统的单层隔膜,该夹心膜可实现液流电池的高库伦效率、高面容量循环,进一步提高电池的能量密度。

用于气液分离器装置的顶盖、气液分离器系统及其生产方法

NºPublicación:  CN121846778A 14/04/2026
Solicitante: 
空中客车运作有限责任公司
CN_121846778_PA

Resumen de: CN121846778A

用于气液分离器装置的顶盖、气液分离器系统及其生产方法。本发明涉及一种用于气液分离器装置(18)的顶盖(34),该分离器装置(18)包括:分离区(20),其用于从自分离器装置(18)的分离器进口(22)流向分离器装置(18)的分离器出口(24)的、包括气体(16)的流体(14)中分离出液体(12);和储存器部件(26),其用于收集来自分离区(20)的液体(12),所述顶盖(34)被构造用于安装在气液分离器装置(18)上,并包括与储存器部件(26)相对的空腔区(36),以用于收集来自所述分离区(20)的液体(12)。

一种全钒液流电池及其网状叶脉流场结构

NºPublicación:  CN121862786A 14/04/2026
Solicitante: 
合肥工业大学
CN_121862786_PA

Resumen de: CN121862786A

本发明公开了一种全钒液流电池及其网状叶脉流场结构,包括集流道、主流道和支流道,其中,集流道环设于流场的周缘处,主流道的一端设有流道入口,另一端设有流道出口,支流道同向对称设于主流道的两侧,支流道的一端与主流道连通,另一端与集流道连通,支流道与主流道之间设有细流道。由此,本发明通过在离基三出网状叶脉分形结构中同时实现降低泵功的“流道优化”与提升均匀性的“分布优化”目标,通过分形结构提供了大量并联的短路径,将流体迅速分配到整个活性区域,整体流阻大大降低,从而减少了的泵送功耗,提升了系统净效率,进而有利于开发高功率密度、长寿命的全钒液流电池系统。

一种双工况自适应换热装置及热管理系统

NºPublicación:  CN121862783A 14/04/2026
Solicitante: 
上海空间电源研究所
CN_121862783_PA

Resumen de: CN121862783A

本发明公开了一种双工况自适应换热装置及热管理系统,该装置包括:空气预热模块;渐扩导流结构,其入口与空气预热模块通过连接管路连接;其出口与冷却风道对接;可调导流叶片组,沿气流方向布置于渐扩导流结构内部;伺服电机,与可调导流叶片组连接;若干温度探测件,设于所述冷却风道内;控制单元,与温度探测件、伺服电机通信连接,根据温度探测件输送的温度分布信号,驱动伺服电机调节可调导流叶片组的叶片的偏转角度,实现:在启动工况下,引导气流流向所述燃料电池电堆的两侧区域;在运行工况下,引导气流流向所述燃料电池电堆的中心区域。本发明实现了大幅提升燃料电池电堆内的温度分布均匀性。

一种基于磁场强化甲醇重整制氢的可移动发电装置

NºPublicación:  CN121862798A 14/04/2026
Solicitante: 
中南大学
CN_121862798_PA

Resumen de: CN121862798A

一种基于磁场强化甲醇重整制氢的可移动发电装置,属于新能源与氢能利用技术领域。所述甲醇重整制氢系统包括原料储罐、反应器、磁场发生器及冷凝器,反应器内装填有磁性甲醇重整催化剂,磁场发生器设置于反应器外部,用于施加交变磁场以实现对催化剂的感应加热,使甲醇重整反应能够在低温条件下稳定进行,所述低温条件优选约为200℃。重整产物经冷却后进入变压吸附氢气纯化系统,实现高纯度氢气的连续输出。所述发电系统包括燃料电池堆、蓄电池、氢气供给系统、空气供给系统、水热管理系统及电控系统,其中燃料电池堆的双极板上设置有刻槽形成的仿生叶脉形拓扑优化流道结构,以改善反应气体分配均匀性并降低流动阻力。

一种双侧梯度堵块阴极流场板及质子交换膜燃料电池

NºPublicación:  CN121862780A 14/04/2026
Solicitante: 
西安交通大学
CN_121862780_PA

Resumen de: CN121862780A

本发明提供一种双侧梯度堵块阴极流场板及质子交换膜燃料电池,属于燃料电池技术领域,双侧梯度堵块阴极流场板包括:设置在阴极流场板本体上的双侧梯度堵块阴极流场;双侧梯度堵块阴极流场包括沿着气流方向设置的双侧梯度堵块直流道;双侧梯度堵块直流道内两侧设有堵块;堵块的高度沿着气体流向呈等差数列递增;堵块的高度低于流道的高度;通过梯度式增加堵块高度,优化反应物分布和传质效率,在高电流密度工况下有效缓解下游氧气耗尽和水淹问题,双侧堵块干扰气体流动并诱导垂直于流道底面的速度变化,促进氧气向催化层的输送,同时加速液态水排出,有效避免多孔介质中水淹对氧气扩散的负面影响,提升燃料电池的峰值功率密度和净功率输出。

一种阴极闭式空冷燃料电池及其热管理方法

NºPublicación:  CN121862784A 14/04/2026
Solicitante: 
上海空间电源研究所
CN_121862784_PA

Resumen de: CN121862784A

本发明公开了一种阴极闭式空冷燃料电池及及其热管理方法,所述燃料电池包括堆芯、风罩、风扇和加热器;堆芯设有热管理流道热管理流道的开口方向与堆芯的堆叠方向相互垂直;风罩包括开放式风罩和封闭式风罩,分别设置于热管理流道的开口的侧面及其相对侧面;开放式风罩上开设有若干开口,至少包含位开放式风罩两端的开口及位于开放式风罩中部的开口;风扇开放式风罩两端的开口处;风扇的送风方向与热管理流道的开口方向平行,且风扇的扇叶的旋转方向可调,以切换吹风模式与吸风模式;加热器设于风扇与开放式风罩的对应开口之间。本发明解决了传统空冷燃料电池在预热和稳定运行工况温度分布不均匀的问题,提升了燃料电池的发电性能和运行可靠性。

一种全碳骨架聚芳酮类交联型聚合物基固态电解质膜及其制备方法

NºPublicación:  CN121851333A 14/04/2026
Solicitante: 
中科深蓝汇泽新能源(青岛)有限责任公司
CN_121851333_PA

Resumen de: CN121851333A

本申请提供了一种全碳骨架聚芳酮类交联型聚合物基固态电解质膜及其制备方法,涉及聚合物基固态电解质技术领域。本申请的全碳骨架聚芳酮类交联型聚合物基固态电解质的结构式如下式(I)所示:(I);该聚合物电解质膜材料与锂电池正负极亲和性好,界面稳定性高,且结晶度低、孔隙率低且孔径小,能同时实现高离子电导率和机械强度,还能实现良好的阻燃性,极大地增强了电池的安全性能。

一种质子交换膜燃料电池系统参数辨识方法

NºPublicación:  CN121862796A 14/04/2026
Solicitante: 
南通大学
CN_121862796_PA

Resumen de: CN121862796A

本发明提供了一种质子交换膜燃料电池系统参数辨识方法,属于燃料电池辨识技术领域,解决了质子交换膜燃料电池系统因传统建模方法无法准确描述其内部电化学反应而导致的参数辨识精度不高的技术问题。其技术方案为:包括以下步骤:步骤1)建立质子交换膜燃料电池系统分数阶多输入单输出状态空间模型;步骤2)构建递阶多新息递推最小误差熵算法的辨识流程。本发明提出的递阶多新息递推最小误差熵算法具有较快的收敛速度和较高的收敛精度,能较好的适用于对质子交换膜燃料电池系统的参数辨识。

一种多孔复合膜及其制备方法和应用

NºPublicación:  CN121862778A 14/04/2026
Solicitante: 
中国科学院大连化学物理研究所
CN_121862778_PA

Resumen de: CN121862778A

本申请公开了一种多孔复合膜及其制备方法和应用。多孔复合膜包括离子传导层和高强度层;离子传导层的厚度为30~70μm;高强度层的厚度为4~15μm;多孔复合膜的厚度为34~85μm。高强度层可以进一步实现质子和金属离子的筛分,进一步提高电池的库伦效率。具有优异的化学稳定性,为液流电池的高性能膜的设计提供了新的方向。一步成型,其制备方法简单易行,容易实现大批量生产。高强度层不容易脱落,具有优异的力学性能。

一种低温陶瓷燃料电池及其复合电极的制备方法

NºPublicación:  CN121862765A 14/04/2026
Solicitante: 
东北大学
CN_121862765_PA

Resumen de: CN121862765A

本发明属于陶瓷燃料电池领域,涉及一种低温陶瓷燃料电池及其复合电极的制备方法,该方法包括:将NCAL粉体与NNFM粉体按照比例混合,加入粘结剂,搅拌形成均匀浆料;通过调控NCAL与NNFM的混合比例,构建Li‑Na复合熔盐体系;将所述浆料涂覆于泡沫镍基板上;对涂覆后的泡沫镍基板进行干燥处理,得到所述复合电极片。其有益效果是,该复合电极片在电池性能测试过程中,阳极侧的复合电极在氢气还原性气氛下能够同时产生LiOH和NaOH两种熔盐物质,构建Li‑Na复合熔盐体系。该体系扩散到陶瓷氧化物电解质层中形成的复合电解质,较以单一锂化合物或钠化合物为电极的电池中形成的复合电解质,具有更优异的稳定性,能够显著提升电池的长期稳定性。

一种不锈钢双极板与涂层的复合结构及制备方法

NºPublicación:  CN121862775A 14/04/2026
Solicitante: 
南京邮电大学
CN_121862775_PA

Resumen de: CN121862775A

本发明公开一种不锈钢双极板与涂层的复合结构及制备方法,属于燃料电池技术领域;复合结构包括不锈钢双极板、位于不锈钢双极板表面的钽过渡层、位于钽过渡层表面的梯度碳化钽过渡层、以及位于第三过渡层表面的类石墨非晶碳层;其中梯度碳化钽过渡层包括依次堆叠且呈碳含量逐步递增的梯度分布的:第一过渡层、第二过渡层和第三过渡层,第一过渡层位于所述钽过渡层的表面;通过采用与不锈钢和碳层具有良好热膨胀系数匹配性的钽/梯度碳化钽涂层作为过渡层,在其表面采用旋转磁场辅助电弧离子镀工艺制备类石墨非晶碳层,获得既能与不锈钢基体牢固结合作用、又能高效阻隔腐蚀介质对不锈钢基体侵蚀的高质量复合涂层。

一种功能层固相前驱体与燃料极及其制备方法、固体氧化物燃料电池或电解池

NºPublicación:  CN121862770A 14/04/2026
Solicitante: 
上海交通大学
CN_121862770_PA

Resumen de: CN121862770A

本发明提供了一种功能层固相前驱体与燃料极及其制备方法、固体氧化物燃料电池或电解池,属于功能材料技术领域。本发明提供的功能层固相前驱体,由包括NiO固相前驱体与第一钆掺杂氧化铈的原料经固相合成得到,所述NiO固相前驱体与第一钆掺杂氧化铈的质量比为7~12:1;所述NiO固相前驱体由包括Ni盐、造孔剂与螯合剂的混合水溶液经溶胶凝胶化与第一煅烧得到。采用本发明提供的功能层固相前驱体能够制备得到具备高导通性的燃料极,该燃料极适用于固体氧化物燃料电池或电解池,具有优异电化学性能。

一种氢燃料电池列车热管理方法及系统

NºPublicación:  CN121848998A 14/04/2026
Solicitante: 
中铁工程设计咨询集团有限公司
CN_121848998_PA

Resumen de: CN121848998A

本发明提供了一种氢燃料电池列车热管理方法及系统,涉及氢燃料电池列车热管理技术领域,包括:获取氢燃料电池列车的基础数据,根据基础数据进行系统框架构建,得到热管理系统的硬件布局方案;根据硬件布局方案和基础数据进行低温自启动模拟,得到第一调节策略;根据硬件布局方案和基础数据进行多热源协同优化,得到第二调节策略;根据硬件布局方案和基础数据进行余热利用分级模拟,得到第三调节策略。整合热管理调节策略,通过构建“吸热‑储热‑释热”的链式热能调控路径,构建高效换热网络,形成智能控制体系,解决现有技术中氢氧燃料电池和热管理系统换热效率存在的问题,全面提升热管理系统的集成度与可靠性。

用于燃料电池的诊断方法、控制器和计算机程序产品

NºPublicación:  CN121862789A 14/04/2026
Solicitante: 
罗伯特·博世有限公司
CN_121862789_PA

Resumen de: CN121862789A

本公开涉及一种用于燃料电池的诊断方法、控制器和计算机程序产品,其中,燃料电池包括多个单电池,每个单电池包括膜电极,诊断方法包括:在燃料电池停机后,获取多个电压测量通道的电压值,其中,多个电压测量通道中的每个电压测量通道对应于多个单电池中的至少一个单电池;基于所获取的电压值,确定多个单电池的电压离散程度;根据电压离散程度,生成诊断结果,诊断结果指示燃料电池中是否存在膜电极失效的单电池。

一种基于深海氢电冷输与辅助汽化的船载联供系统及方法

NºPublicación:  CN121854731A 14/04/2026
Solicitante: 
山东科技大学
CN_121854731_PA

Resumen de: CN121854731A

本发明属于氢电冷输技术领域,提出一种基于深海氢电冷输与辅助汽化的船载联供系统及方法;系统包括:液氢存储舱,设置在船体内部,用于储存作为主燃料的液氢;氢电冷输管道,贯穿船体主要舱室,通过输送分配装置与液氢存储舱相连,内部包括电力超导层;氢燃料电池发电模块,作为能量接入点,与电力超导层连接;太阳能辅助汽化模块,通过传热管路与液氢汽化系统进行热交换,将收集的太阳能热能用于辅助液氢汽化;能量管理系统,用于协同控制液氢存储舱、氢电冷输管道、氢燃料电池发电模块及太阳能辅助汽化模块的动态最优运行。本发明解决了现有技术能源利用单一、输电效率低下、系统布局臃肿等固有缺陷。

一种用于液流电池的复合膜及其制备方法和应用

NºPublicación:  CN121862779A 14/04/2026
Solicitante: 
中国科学院大连化学物理研究所
CN_121862779_PA

Resumen de: CN121862779A

本申请公开了一种用于液流电池的复合膜及其制备方法和应用。包括多孔选择层和多孔支撑层;多孔选择层由共价有机骨架材料构成;多孔支撑层由有机高分子树脂构成;复合膜的厚度为34~75μm。双层多孔膜制备而成的多孔复合膜可以更精确的实现质子和离子的筛分,进而提高了液流电池(以全钒液流电池为代表)的电池效率。此外,该膜不含离子交换基团,具有优异的化学稳定性,为液流电池的超高离子选择性膜的设计提供了新的方向。制备方法简单易行,容易实现大批量生产。COF选择层不容易脱落,柔韧性好,具有优异的力学性能。应用在液流电池当中,使其在各自体系中具有优异的离子选择性,进而具有较高的库伦效率。

一种机载燃料电池冷却控制方法及系统

NºPublicación:  CN121862782A 14/04/2026
Solicitante: 
中国航空工业集团公司金城南京机电液压工程研究中心
CN_121862782_PA

Resumen de: CN121862782A

本发明涉及燃料电池技术领域,具体而言,涉及一种机载燃料电池冷却控制方法及系统。方法包括响应于飞行器的起飞指令,实时获取飞行器的起飞状态;当飞行器处于起飞准备阶段,分别开启电池散热回路和辅助冷却回路;当飞行器处于起飞中阶段,实时获取氢燃料电池在电池散热回路中的温度参数;根据第一温度调节节温器的第一开度和第二开度;根据第一温度调节辅助液冷泵的第一转速;根据第一温度和第二温度的温差调节电池液冷泵的第二转速。本发明能够解决机载燃料电池起飞过程中的散热问题。

一种移动式固态储氢装置

NºPublicación:  CN121854746A 14/04/2026
Solicitante: 
上海发电设备成套设计研究院有限责任公司
CN_121854746_PA

Resumen de: CN121854746A

本发明涉及一种移动式固态储氢装置,所述移动式固态储氢装置包括车辆;所述移动式固态储氢装置还包括相互连接的燃料电池发电单元、风冷热泵单元和固态储氢单元;燃料电池发电单元、风冷热泵单元和固态储氢单元均设置于车辆内部。本发明提供的移动式固态储氢装置中,燃料电池发电单元为风冷热泵单元提供电源,风冷热泵单元为固态储氢单元提供吸氢过程和放氢过程中所需的冷源和热源,本发明提供的装置可自行完成固态储氢单元的吸氢过程和放氢过程,无需在加氢站设置冷源和额外电源来完成吸氢反应,也无需在用户端设置热源和额外电源用于放氢反应,可应用于应急场景,不受外部电网、气象条件的限制。

高温燃料电池测试台气体温度控制方法

NºPublicación:  CN121862794A 14/04/2026
Solicitante: 
格睿尔能源科技(常州)有限公司
CN_121862794_PA

Resumen de: CN121862794A

本发明高温燃料电池测试台气体温度控制方法,按照气体的流通方向包括气体流量控制单元、气体干路单元和气体湿路单元、气体过热单元、以及高温燃料电池单元,通过管路形成完整的气体处理与输送回路,实现对通入高温燃料电池的气体温度、湿度的控制;通过增湿罐通过加热器和温度传感器的协同作用,可调节气体含湿量以控制露点温度;过热罐进一步加热气体,精准控制较高的气体温度,为高温燃料电池提供稳定的高温高湿或高温低湿气体环境,保证其电解质质子传导效率和电化学反应动力学性能。

電気セルの製造方法

NºPublicación:  JP2026064558A 14/04/2026
Solicitante: 
日産自動車株式会社
JP_2026064558_A

Resumen de: JP2026064558A

【課題】逐次成形により電気セルを緻密化する際に、寄りしわの発生や成形後の変形を抑制することができる電気セルの製造方法を提供する。【解決手段】SOFCまたはSOECである電気セルであって、矩形状または正方形状の反応面を有する電気セルを製造する電気セルの製造方法が提供される。この電気セルの製造方法は、電気セルの周辺部を緻密化するように、逐次成形によりプレスする工程を備え、逐次成形において、電気セルの一対の対向する辺である上辺及び下辺を、上辺及び下辺の中央部から左右方向に成形した後、電気セルの一対の対向する辺である左辺及び右辺を、左辺及び右辺の中央部から上下方向に成形する。【選択図】図5

一种聚合物薄膜及其制备方法和应用

NºPublicación:  CN121851444A 14/04/2026
Solicitante: 
中国科学院大连化学物理研究所
CN_121851444_PA

Resumen de: CN121851444A

本申请公开了一种聚合物薄膜及其制备方法和应用。聚合物薄膜具有海绵状多孔结构;聚合物薄膜的孔径尺寸为0.05~150nm;聚合物薄膜的孔隙率为1~200%;聚合物薄膜的厚度为10~500μm。本申请制得的膜通过使用韧性良好,取代基可调控的环己烷结构与蒸汽诱导相分离法调控得海绵状孔结构结合,获得机械性能良好、离子选择性、离子传导性良好的离子传导膜。应用在液流电池中,通过环己烷结构、有机溶剂、易挥发性溶剂以及不良溶剂蒸汽氛围的多重调控,获得良好的液流电池性能。

一种基于周期性负荷运行的SOFC供能系统优化配置方法

NºPublicación:  CN121862787A 14/04/2026
Solicitante: 
华中科技大学
CN_121862787_PA

Resumen de: CN121862787A

本申请属于SOFC供能技术领域,具体公开了一种基于周期性负荷运行的SOFC供能系统优化配置方法。本申请首先基于SOFC供能系统的等效电效率构建效率目标函数;基于SOFC供能系统的平均净现值构建收益目标函数;基于SOFC供能系统中蓄冷罐和蓄热罐的储量变化构建独立性目标函数;再以效率目标函数、收益目标函数、独立性目标函数和SOFC供能系统的热力学模型作为拟合目标,采用多层感知机外迭代结合进化算法内迭代的双迭代优化框架求解拟合目标下的帕累托前沿;最后基于优劣解距离法从所述帕累托前沿中选出一组均衡解作为所述SOFC供能系统的优化配置。本申请技术方案有效的解决了动态工况下SOFC供能系统关键配置参数的优化问题。

一种用于中低温下高电导率电解质材料的制备方法

NºPublicación:  CN121862799A 14/04/2026
Solicitante: 
苏州实验室
CN_121862799_PA

Resumen de: CN121862799A

本发明公开了一种用于中低温下高电导率电解质材料的制备方法,包括如下具体步骤:S1、将原料粉体和液体介质进行球磨混合,烘干,得到电解质原料粉体;S2、将电解质原料粉体压制成自支撑电解质,煅烧,得到电解质材料。本发明制备的电解质在中低温下具有高电导率的特点,基于双元素掺杂解决了ScSZ电解质中低温相变和YSZ电解质在中低温电导率低的问题,稳定氧化锆基电解质高电导率特性,达到了强化其中低温高电导率性能的目的,且提供了电解质材料电导率的预测模型,预测准确性高。

金属支撑体及金属支撑SOC单元制备方法

NºPublicación:  CN121852961A 14/04/2026
Solicitante: 
成都云海星河科技服务有限公司
CN_121852961_A

Resumen de: CN121852961A

本发明提供一种金属支撑体、金属支撑SOC单元及制备方法。金属支撑体由金属薄板加工而成,其活性区域孔大小、孔型可调,开孔率高,机械性能好。金属支撑SOC单元,包括金属支撑体、氢电极层、电解质层和氧电极层,其中电解质层为1~3层复合电解质(包含1层和3层),工艺可调节性大,可应对不同应用条件。电解质采用干法成膜,提高了电解质烧结前生坯密度,有效促进了电解质致密烧结;氢电极层和电解质层干法复合膜工艺缩短了工艺流程,降低了过程材料成本,具有工艺简单、重复性好、可靠性强、成本低等优势。应用于金属支撑SOC单元、金属支撑SOC堆栈模块、燃料电池发电和电解水制氢领域。

一种高能量全钒液流电池性能监测评估方法

NºPublicación:  CN121856820A 14/04/2026
Solicitante: 
四川化工集团有限责任公司成都工程分公司
CN_121856820_PA

Resumen de: CN121856820A

本发明公开了一种高能量全钒液流电池性能监测评估方法,涉及电池技术领域,该方法包括:步骤S1:收集目标电池的电解液物化数据和全钒液光谱数据;步骤S2:计算电解液表征指数,分离钒离子吸收峰与钒氧化物吸收峰;步骤S3:构建稳定评估模型,生成电解稳定指数;步骤S4:设定稳定性阈值,当电解稳定指数低于稳定性阈值时,判断目标电池系统存在性能衰减缺陷。本发明通过对光谱信号进行解耦,能够清晰地识别钒离子和钒氧化物的光谱特征,将钒离子吸收峰与钒氧化物吸收峰进行分离,从而避免了电解液中钒氧化物的影响,具有使系统能准确地提取出有效信号并去除干扰的优点和显著提高电池性能评估精度的有益效果。

聚苯并咪唑-磺化聚醚醚酮复合膜、其制备方法及其用途

NºPublicación:  CN121862777A 14/04/2026
Solicitante: 
中国石油化工股份有限公司中国石化扬子石油化工有限公司
CN_121862777_PA

Resumen de: CN121862777A

本发明涉及聚苯并咪唑‑磺化聚醚醚酮质子交换复合膜、其制备方法和用途。本发明通过将聚(2,5‑苯并咪唑)与磺化聚醚醚酮共混来制备聚苯并咪唑‑磺化聚醚醚酮质子交换复合膜。本发明的聚苯并咪唑‑磺化聚醚醚酮质子交换复合膜可用于燃料电池中,特别是在高温下使用。

一种钛锰液流电池的电解液及钛锰液流电池

NºPublicación:  CN121862801A 14/04/2026
Solicitante: 
双登集团股份有限公司华中科技大学
CN_121862801_PA

Resumen de: CN121862801A

本发明涉及电化学储能电池技术领域,尤其涉及一种钛锰液流电池的电解液及钛锰液流电池;本发明通过引入添加剂硼笼酸盐,添加剂上的电子云可以与Mn3+的空轨道发生相互作用进而配位,形成一个刚性的、近似球形的三维笼状结构,Mn3+‑硼笼化合物外围的硼笼结构产生了巨大的空间位阻,阻碍两个硼笼化合物之间的电子转移,降低Mn3+中心的电子密度,从而提高歧化反应的能垒,抑制歧化反应,尤其是氟代硼笼酸盐中的氟原子具有极强的吸电子效应,可以通过硼笼骨架传递至金属中心,进一步拉低Mn3+的电子云密度,显著增强电子稳定化效果;同时,氟原子的引入也增强了添加剂的疏水性,减少了水分子对Mn3+的配位,极大提升了电池的循环寿命。

一种结构不对称非平面π-共轭萘醌衍生物及其制备方法与在水系液流电池中的应用

NºPublicación:  CN121850859A 14/04/2026
Solicitante: 
南京大学天长新材料与能源技术研发中心南京大学天长索锂德新能源科技有限公司苏州铁睿新能源科技有限公司
CN_121850859_PA

Resumen de: CN121850859A

本申请公开了一种结构不对称非平面π‑共轭萘醌衍生物及其制备方法与在水系液流电池中的应用,涉及电化学储能技术领域,将4‑氨基苯甲酸甲酯加入至盐酸中,然后与亚硝酸钠溶于水中混合得重氮盐溶液,将2‑羟基‑1,4‑萘醌溶解于KOH溶液中与重氮盐溶液混合,盐酸酸化后,乙酸重结晶纯化获得BANQ;修饰后的萘醌衍生物BANQ的容量衰减率低至0.00018%每圈,展现出卓越的循环稳定性和氧化还原可逆性,具有不对称非平面π共轭特征的BANQ分子,其氧化还原核心对亲核/亲电攻击的敏感性大幅降低,从而提升了其循环稳定性,为通过人工修饰天然产物、构筑绿色可持续大型储能用有机氧化还原活性分子提供了新的方向与可能性。

高溶解性HATN材料及其在液流电池中的应用

NºPublicación:  CN121851019A 14/04/2026
Solicitante: 
常州大学
CN_121851019_PA

Resumen de: CN121851019A

本发明属于有机液流电池材料合成领域,具体公开了一种高溶解性HATN材料及其在液流电池中的应用。将4‑甲氧基邻苯二胺和环己六酮水合物加入有机溶剂中,氮气保护下回流后,冷却、水洗、甲醇洗涤,真空干燥;再将制备的产物与吡啶盐酸盐氮气保护下回流反应后,冷却、水洗,真空干燥,获得中间产物。最后,将中间产物与2‑溴丙酸乙酯和碳酸钾加入有机溶剂中反应,使用HCl沉淀产物,水洗,真空干燥,得到最终产物。本发明衍生物具有大的π‑π共轭平面结构,氧化还原反应涉及六电子转移,同时通过接枝水溶性的官能团扩大了化合物的溶解度,解决了溶解度带来的电池稳定性问题。由其组装的液流电池具有优异的容量和良好的稳定性。

一种谐波电流注入方法、装置、燃料电池系统

NºPublicación:  CN121857886A 14/04/2026
Solicitante: 
深圳欣锐科技股份有限公司
CN_121857886_PA

Resumen de: CN121857886A

本申请公开了一种谐波电流注入方法、装置、燃料电池系统,谐波电流注入方法可应用于燃料电池系统,包括:获取燃料电池系统的谐波频率;判断谐波频率是否大于切换频率;当谐波频率小于切换频率时,通过闭环反馈控制实现谐波电流注入;当谐波频率大于切换频率时,通过扰动注入控制实现谐波电流注入,切换频率为燃料电池系统中控制模块执行动作的频率,采用闭环反馈控制和扰动注入控制的混合谐波电流注入策略,能够满足不同采集需求对燃料电池实现更宽范围的谐波注入。

具有多电子转移能力的紫精电解质、制备方法及其在水系有机液流电池中的应用

NºPublicación:  CN121850933A 14/04/2026
Solicitante: 
常州大学
CN_121850933_PA

Resumen de: CN121850933A

本发明属于新能源材料领域,具体涉及一种具有多电子转移能力的紫精电解质、制备方法及其在水系有机液流电池中的应用。其制备方法包括:三乙醇胺与三溴化磷反应生成三(2‑溴乙基)胺中间体,再与4,4'‑联吡啶缩合生成三核紫精前驱体,最后经季铵化及阴离子交换得到目标产物。本发明制备的紫精电解质在水系溶液中溶解度高达1.82 M,理论电荷容量为103 Ah L‑1,且能进行高度可逆的多电子氧化还原反应,表现出优异的电化学性能。将其作为负极活性物质应用于水系有机液流电池时,电池展现出高库仑效率、高能量密度及长循环寿命等突出优点。

一种质子陶瓷可逆电池空气极材料及其制备方法

NºPublicación:  CN121862769A 14/04/2026
Solicitante: 
北京科技大学
CN_121862769_PA

Resumen de: CN121862769A

本发明涉及一种质子陶瓷可逆电池空气极材料及其制备方法,所述空气极材料的化学式为Ba0.2Sr0.2MxLayGdzCo0.8Fe0.2O3‑δ,其中,M为K或Cs,x+y+z=0.45‑0.55,0.01≤x≤0.1,0.1≤y≤0.25,0.1≤z≤0.25,δ为氧的非化学计量,利用A、B位离子物理化学特性的不同,使B位离子偏析,获得CoO纳米颗粒修饰的高碱性元素掺杂高熵钙钛矿复合材料,综合提高材料的催化活性和结构稳定性,并利用高熵对晶格结构的扰动,降低材料的热膨胀系数。

電極材料及びその製造方法、並びに電極、膜電極接合体及び固体高分子形燃料電池

NºPublicación:  JP2026064963A 14/04/2026
Solicitante: 
国立大学法人九州大学
JP_2026064963_A

Resumen de: JP2026064963A

0001 【課題】高活性と電位サイクル耐久性を両立させることができる燃料電池用電極を与える電極材料を提供する。 【解決手段】多孔質炭素担体と、前記多孔質炭素担体に担持された触媒複合体とを含み、前記触媒複合体が、Ptリッチ相とTa酸化物からなるTaリッチ相を含む電極材料。Taリッチ相はPtリッチ相の間隙に介在する構造を有し、これによりPtリッチ相の凝集が抑制されるため、当該電極材料を使用した電極は、高活性と電位サイクル耐久性を有する。 【選択図】図16

一种燃料电池膜电极浆料分散方法

NºPublicación:  CN121862763A 14/04/2026
Solicitante: 
广东深科鹏沃新能源有限公司
CN_121862763_PA

Resumen de: CN121862763A

本发明公开了一种燃料电池膜电极浆料分散方法,包括如下步骤:S1、将催化剂和水混合搅拌;得到混合液I;S2、将质子交换树脂、有机溶剂与混合液I混合,得到混合液II;S3、将混合液II通过高速剪切进行分散即得,所述高速剪切的条件按照如下进行公式进行:Rn=R1+(n‑1)d;转速从R1增加至Rn时,为一个周期,共循环m个周期。本发明的分散方法使得制备的浆料粒径小、粒径分布均匀并且稳定性好。组装成质子交换膜燃料电池后,电性能好。

兼顾钛基储氢材料储氢容量与吸放氢平台压的调控方法

NºPublicación:  CN121849844A 14/04/2026
Solicitante: 
中山大学
CN_121849844_PA

Resumen de: CN121849844A

本发明公开了一种兼顾钛基储氢材料储氢容量与吸放氢平台压的调控方法,用原子半径更小、电负性更强的金属部分或全部替代所述钛基储氢材料中的目标金属。本发明可解决目前单一储氢间隙尺寸调控对储氢容量和吸放氢平台压难以实现协同改善的问题,有助于实现钛基储氢材料储氢容量与吸放氢平台压的同步提升,具有调控灵活、易于规模化应用的优势。

铂铋合金催化剂及其制备方法和直接甲醇燃料电池

NºPublicación:  CN121862772A 14/04/2026
Solicitante: 
中铝科学技术研究院有限公司
CN_121862772_PA

Resumen de: CN121862772A

本发明提供了一种铂铋合金催化剂及其制备方法和直接甲醇燃料电池,属于电化学催化剂技术领域。该方法包括:将炭黑与酸性水溶液混合后依次进行酸化处理和焙烧处理,得到预处理后炭黑;将预处理后炭黑、Bi2O2CO3、铂源、沉淀剂、pH调节剂、第一分散剂和第一水混合后进行复分解反应,得到悬浮液;将还原剂、第二分散剂和第二水混合,得到混合溶液;将悬浮液滴加至混合溶液中进行还原反应,得到催化剂前驱体;将催化剂前驱体在第一保护气体下进行煅烧处理,得到铂铋合金催化剂。制备得到的铂铋合金催化剂具有优异的电催化性能,表现出较高的催化活性和循环稳定性,可应用于直接甲醇燃料电池阴极氧还原反应中。

一种合成微生物群落及其在降解海藻糖和生物燃料电池中的应用

NºPublicación:  CN121852300A 14/04/2026
Solicitante: 
江苏大学
CN_121852300_PA

Resumen de: CN121852300A

本发明提供了一种合成微生物群落及其在降解海藻糖和生物燃料电池中的应用,属于合成微生物学与生物能源技术领域;本发明通过合成生物学手段构建了一种合成微生物群落,所述合成微生物群落包括基因工程大肠杆菌和希瓦氏菌,该合成微生物群落能够实现海藻糖到乙酸的完整代谢路径和高效的电子传递链,能够用于处理富含海藻糖的废水或废弃物等;所述合成微生物群落能够用于微生物燃料电池,该合成微生物群落在微生物燃料电池中能够稳定产生高于单一菌株或自然混合菌群的电流密度和功率密度,具有很好的实用性。

一种畜禽粪污全量资源化处理设备及处理方法

NºPublicación:  CN121850297A 14/04/2026
Solicitante: 
重庆市畜牧科学院生猪技术创新中心(重庆)
CN_121850297_PA

Resumen de: CN121850297A

本发明公开了一种畜禽粪污全量资源化处理设备,包括位于厌氧产酸段阶段的第一反应器和位于厌氧产甲烷阶段的第二反应器;第一反应器与第二反应器连通;其中:第一反应器和第二反应器中均布置有并联电路的阳极部件,还包括第二反应器产出物的处理装置,处理装置中布置有供氧装置和并联电路的阴极部件。本发明利用第一反应器与第二反应器实现分段反应、功能互补,能有效提成处理系统运行的稳定性和有机物去除效率;同时分段运行机制能够显著缓解酸抑制效应。本发明还公开了一种畜禽粪污全量资源化处理方法。

一种螺旋碳纳米管骨架的高熵纳米碳微生物燃料电池阳极材料制备方法

NºPublicación:  CN121849921A 14/04/2026
Solicitante: 
东北林业大学
CN_121849921_A

Resumen de: CN121849921A

本发明属于微生物燃料电池技术领域,具体涉及一种基于螺旋碳纳米管骨架的高熵纳米碳阳极材料的制备方法及其在MFC中的应用。该材料以竹粉为碳源,通过简易的管式炉碳化法制备螺旋碳纳米管骨架,并进一步在其上原位引入5种非金属元素(P、S、N、B、F),通过高温碳化形成热力学稳定的单相结构,利用高熵构型稳定材料结构,从而实现鸡尾酒效应,支持了材料的创新性。本发明将螺旋碳纳米管独特的三维结构与多元素高熵掺杂的协同效应相结合,显著优化了阳极的电子结构、表面性质及生物相容性。该材料用作MFC阳极时,能有效促进电活性微生物的黏附与富集和提升产电菌的胞外电子传递效率,从而大幅提升电池的启动速度、输出电压及长期运行稳定性。本发明具有原料成本低、工艺绿色简便的优点,为高性能MFC阳极的制备提供了新方案。

一类笼状碱基TEMPO正极电解液的原位水合制备及其在中性水系液流电池中的应用

NºPublicación:  CN121851018A 14/04/2026
Solicitante: 
西安交通大学
CN_121851018_PA

Resumen de: CN121851018A

本发明公开了一类笼状碱基TEMPO正极电解液的原位水合制备及其在中性水系液流电池中的应用,属于水系有机液流电池储能技术领域。该方法使用笼状碱基分子和TEMPO前驱体赋予体系高反应活性,常温常压下迅速反应,采用水作为反应溶剂时,水相合成时产率高达93%,可直接制得即用型电解液,无需后处理用于电池组装;以有机溶剂为介质时,常温数分钟内完成反应,此方法简化工艺,降低成本,提升环境友好性。所制备的电解质高纯度、结构明确、性能一致,以此构建的全电池在高浓度下展现卓越比容量与超长循环寿命,适用于构筑高容量、大功率、长寿命的下一代储能器件,推动水系有机液流电池规模化应用。

- MEMBRANE-ELECTRODE ASSEMBLY FOR ANION-EXCHANGE MEMBRANE UNITIZED REGENERATIVE FUEL CELL WITH EXCELLENT EFFICIENCY AND DURABILITY AND ANION-EXCHANGE MEMBRANE UNITIZED REGENERATIVE FUEL CELL INCLUDING THE SAME

NºPublicación:  KR20260049094A 13/04/2026
Solicitante: 
서울대학교산학협력단한국공학대학교산학협력단기초과학연구원
KR_20260049094_PA

Resumen de: KR20260049094A

0001a 본 발명은, 음이온 교환막, 상기 음이온 교환막을 사이에 두고 양쪽에 각각 구비되는 수소 전극 촉매층 및 산소 전극 촉매층, 및 상기 수소 전극 촉매층 및 산소 전극 촉매층 상에 각각 구비되는 다공성 수송층(porous transport layer, PTL)을 포함하는 음이온 교환막 일체형 재생 연료전지용 막-전극 접합체로서, 상기 수소 전극 촉매층은 PtRu/C를 포함하고, 상기 산소 전극 촉매층은 백금(Pt) 및 산화 이리듐(IrO, Subattributes={}; value=2, )을 포함하며, 상기 다공성 수송층(PTL)은 탄소로 이루어진 것을 특징으로 하는 음이온 교환막 일체형 재생 연료전지용 막-전극 접합체 및 이를 포함하는 음이온 교환막 일체형 재생 연료전지에 대한 것이다.

-- MIXED ZINC-LEAD-CARBON COATED BIPOLAR PLATE AND MANUFACTURING METHOD USING THE SAME

NºPublicación:  KR20260048792A 13/04/2026
Solicitante: 
국방과학연구소
KR_20260048792_PA

Resumen de: KR20260048792A

본 발명은 수소를 기반으로 한 수전해 장치와 연료전지 및 상기 두 시스템이 통합된 일체형 재생 연료전지(URFC)의 금속 분리판에 대하여 전기전도성 및 내부식성의 개선을 위한 아연-납-탄소 혼합 코팅된 분리판 및 이의 제조방법을 제공한다.

Floating offshore structures and ships with regasification system

NºPublicación:  KR20260048868A 13/04/2026
Solicitante: 
한화오션주식회사
KR_20260048868_PA

Resumen de: KR20260048868A

재기화 시스템을 갖는 부유식 해상 구조물 및 선박이 개시된다. 본 발명의 재기화 시스템을 갖는 부유식 해상 구조물은, 액화가스 및 이로부터 발생되는 증발가스를 저장하는 저장탱크; 상기 저장탱크에 저장된 증발가스를 공급받아 개질반응을 통해 수소를 생성하는 크래커; 상기 저장탱크에 저장된 증발가스를 공급받아 연료로 사용하며, 상기 크래커에 개질반응을 위한 열 에너지를 제공하는 연소 버너; 상기 크래커에서 생성된 수소를 공급받아 전기 에너지를 발생시키는 연료전지; 상기 연소 버너로부터 배출된 배가스의 폐열을 열원으로 이용하며, 상기 저장탱크에 저장된 액화가스를 공급받아 재기화시키는 재기화기; 상기 크래커에서 생성된 수소를 이송하는 수소 이송라인; 및 상기 재기화기에서 재기화된 가스를 이송하는 재기화 가스 이송라인;을 포함한다.

Boil-off gas processing and inert gas supply system and liquefied gas carrier

NºPublicación:  KR20260048867A 13/04/2026
Solicitante: 
한화오션주식회사
KR_20260048867_PA

Resumen de: KR20260048867A

암모니아 엔진을 적용하며, 증발가스 재액화 시스템을 적용하지 않는 증발가스 처리 및 불활성 가스 공급 시스템 및 액화연료 운반선이 개시된다. 본 발명의 시스템 및 운반선은, 암모니아를 연료로 사용하는 암모니아 엔진; 상기 암모니아 엔진의 연료로 사용하는 액체 상태의 암모니아 및 이로부터 발생되는 제1 증발가스를 저장하는 연료탱크; 액화가스 및 이로부터 발생되는 제2 증발가스를 저장하는 카고탱크; 상기 연료탱크에 저장된 제1 증발가스를 공급받아 분해하여 수소를 생성하는 크래커; 상기 카고탱크에 저장된 제2 증발가스를 공급받아 연료로 사용하며, 상기 크래커에 암모니아 분해를 위한 열 에너지를 제공하는 연소 버너; 및 상기 크래커에서 생성된 수소를 공급받아 전기 에너지를 발생시키는 연료전지;를 포함한다.

Ammonia ship

NºPublicación:  KR20260048869A 13/04/2026
Solicitante: 
한화오션주식회사
KR_20260048869_PA

Resumen de: KR20260048869A

0001a 증발가스 재액화 시스템을 적용하지 않는 암모니아 선박이 개시된다. 본 발명의 암모니아 선박은, 액체 상태의 암모니아 및 이로부터 발생되는 암모니아 증발가스를 저장하는 암모니아 저장탱크; 상기 암모니아 저장탱크로부터 암모니아 증발가스를 공급받아 압축하는 압축기; 상기 압축기로부터 공급된 암모니아 증발가스를 분해하여 수소를 포함하는 분해가스를 생성하는 크래커; 상기 크래커에서 생성된 수소를 포함하는 분해가스를 공급받아 미분해 암모니아를 물에 녹여 포집하고, 상기 암모니아 저장탱크로부터 공급된 액체 상태의 암모니아의 냉열을 회수하여 워터팟 내의 물을 냉각시키는 워터팟(water pot); 및 상기 워터팟을 거친 수소를 포함하는 분해가스를 공급받아 전기 에너지를 발생시키는 연료전지;를 포함한다.

燃料電池

NºPublicación:  JP2026063592A 13/04/2026
Solicitante: 
日産自動車株式会社
JP_2026063592_A

Resumen de: JP2026063592A

【課題】発電モジュールを押圧する押圧機構の温度上昇を抑制する。【解決手段】燃料電池1は、内部のガスを外部に漏れないように封止することが可能な筐体2と、多数のセルを積層してなり、筐体2に収容される発電モジュール3と、筐体2に収容され、発電モジュール3を上記セルの積層方向に沿って押圧する押圧機構4と、発電モジュール3と接触するように筐体2内に配置され、筐体2内を発電モジュール3が収容される第1領域A1と押圧機構4が収容される第2領域A2とに分割するとともに、積層方向に沿ってスライド可能で、かつ押圧機構4からの力を受けて発電モジュール3を押圧する仕切り部材5と、を有する。【選択図】図1

Method and apparatus for executing controlling power limiting mode in fuel cell

NºPublicación:  KR20260048769A 13/04/2026
Solicitante: 
한화오션주식회사
KR_20260048769_PA

Resumen de: KR20260048769A

0001a 연료전지의 전압 값을 측정하고, 측정된 연료전지의 전압 값이 연료전지의 한계 전압에 기초하여 한계 전압보다 높게 설정된 안전 전압에 도달한 경우, 미리 설정된 전력 제한 값에 따라 연료전지에 전력 제한 모드를 실행하는 연료전지 전력 제한 모드 실행 방법 및 그 장치가 개시되어 있다.

改質ユニット、燃料電池モジュール、及び燃料電池装置

NºPublicación:  JP2026064148A 13/04/2026
Solicitante: 
京セラ株式会社
JP_2026064148_A

Resumen de: JP2026064148A

【課題】熱を有効に利用する。【解決手段】改質ユニット10は燃焼部12と改質部13と燃焼排ガス流路14と空気流路15と蒸発部16とを有する。燃焼部12は少なくとも第1の底壁と第1の側壁とにより画定される空間内で燃料オフガスを燃焼させる。改質部13は第1の底壁と第1の側壁と第2の底壁と第2の側壁とにより少なくとも画定される空間内で原燃料を改質する。燃焼排ガス流路14は第2の側壁と第3の底壁と第3の側壁とにより少なくとも画定される。燃料排ガス流路14では燃焼部12から排出される燃焼排ガスが流動する。空気流路15が少なくとも第3の側壁と第4の側壁により画定される。空気流路15は燃料電池に供給する空気を燃焼排ガス流路14を流動する燃焼排ガスと熱交換させる。蒸発部16は燃焼排ガス流路に接して位置する。蒸発部16は水を気化させて改質部13に供給する。【選択図】図2

Ammonia ship

Nº publicación: KR20260048866A 13/04/2026

Solicitante:

한화오션주식회사

KR_20260048866_PA

Resumen de: KR20260048866A

증발가스 재액화 시스템을 적용하지 않는 암모니아 선박이 개시된다. 본 발명의 암모니아 선박은, 액체 상태의 암모니아 및 이로부터 발생되는 암모니아 증발가스를 저장하는 암모니아 저장탱크; 상기 암모니아 저장탱크로부터 암모니아 증발가스를 공급받아 압축하는 압축기; 상기 압축기로부터 공급된 암모니아 증발가스를 분해하여 수소를 포함하는 분해가스를 생성하는 크래커; 상기 크래커에서 생성된 수소를 포함하는 분해가스를 공급받아 미분해 암모니아를 물에 녹여 포집하고, 상기 암모니아 저장탱크로부터 공급된 액체 상태의 암모니아의 냉열을 회수하여 워터팟 내의 물을 냉각시키는 워터팟(water pot); 상기 워터팟을 거친 수소를 포함하는 분해가스를 공급받아 전기 에너지를 발생시키는 연료전지; 및 상기 연료전지에서 발생된 물을 상기 워터팟에 공급하는 보충수 공급 라인;을 포함한다.

traducir