Ministerio de Industria, Turismo y Comercio LogoMinisterior
 

Alerta

Resultados 1111 resultados
LastUpdate Última actualización 26/01/2026 [07:08:00]
pdfxls
Publicaciones de los últimos 15 días/Last 15 days publications (excluidas pubs. CN y JP /CN and JP pubs. excluded)
previousPage Resultados 700 a 725 de 1111 nextPage  

RESTRAINT TRAY AND FORMATION DEVICE

NºPublicación:  WO2026011914A1 15/01/2026
Solicitante: 
CONTEMPORARY AMPEREX TECH CO LIMITED [CN]
CONTEMPORARY AMPEREX RUNZHI SOFTWARE TECH LIMITED [CN]
\u5B81\u5FB7\u65F6\u4EE3\u65B0\u80FD\u6E90\u79D1\u6280\u80A1\u4EFD\u6709\u9650\u516C\u53F8,
\u5B81\u5FB7\u65F6\u4EE3\u6DA6\u667A\u8F6F\u4EF6\u79D1\u6280\u6709\u9650\u516C\u53F8
WO_2026011914_PA

Resumen de: WO2026011914A1

A restraint tray, a partition plate assembly (20) being provided between a first end plate (12) and a second end plate (13), a plurality of partition plates (21) being sequentially provided in a first direction, and accommodating spaces for accommodating battery cells (200) being defined between adjacent partition plates (21); first clamping jaws (212) and second clamping jaws (213) are in slidable fit in the first direction, such that the partition plate assembly (20) is adapted to switch between a pressing position and a release position, wherein, at the release position, the first clamping jaws (212) abut against the second clamping jaws (213).

BATTERY PACK, ENERGY STORAGE DEVICE AND ELECTRICAL APPARATUS

NºPublicación:  WO2026011658A1 15/01/2026
Solicitante: 
CONTEMPORARY AMPEREX TECH CO LIMITED [CN]
CONTEMPORARY AMPEREX FUTURE ENERGY TECH SHENZHEN LIMITED [CN]
\u5B81\u5FB7\u65F6\u4EE3\u65B0\u80FD\u6E90\u79D1\u6280\u80A1\u4EFD\u6709\u9650\u516C\u53F8,
\u6DF1\u5733\u65F6\u4EE3\u672A\u6765\u80FD\u6E90\u79D1\u6280\u6709\u9650\u516C\u53F8
WO_2026011658_PA

Resumen de: WO2026011658A1

The present disclosure belongs to the technical field of batteries. Provided in the embodiments of the present disclosure are a battery pack, an energy storage device and an electrical apparatus. The battery pack comprises a box body, a thermal management component, and a battery unit. The thermal management component is mounted in the box body. The thermal management component separates the battery unit from the bottom wall of the box body. The battery unit comprises battery cells and a frame for mounting the battery cells. The thermal management component is used for adjusting the temperature of the battery cells, and the battery cells and the frame are both provided on the thermal management component.

ENERGY STORAGE CABINET

NºPublicación:  WO2026011653A1 15/01/2026
Solicitante: 
CONTEMPORARY AMPEREX TECH CO LIMITED [CN]
CONTEMPORARY AMPEREX FUTURE ENERGY TECH SHENZHEN LIMITED [CN]
\u5B81\u5FB7\u65F6\u4EE3\u65B0\u80FD\u6E90\u79D1\u6280\u80A1\u4EFD\u6709\u9650\u516C\u53F8,
\u6DF1\u5733\u65F6\u4EE3\u672A\u6765\u80FD\u6E90\u79D1\u6280\u6709\u9650\u516C\u53F8
WO_2026011653_PA

Resumen de: WO2026011653A1

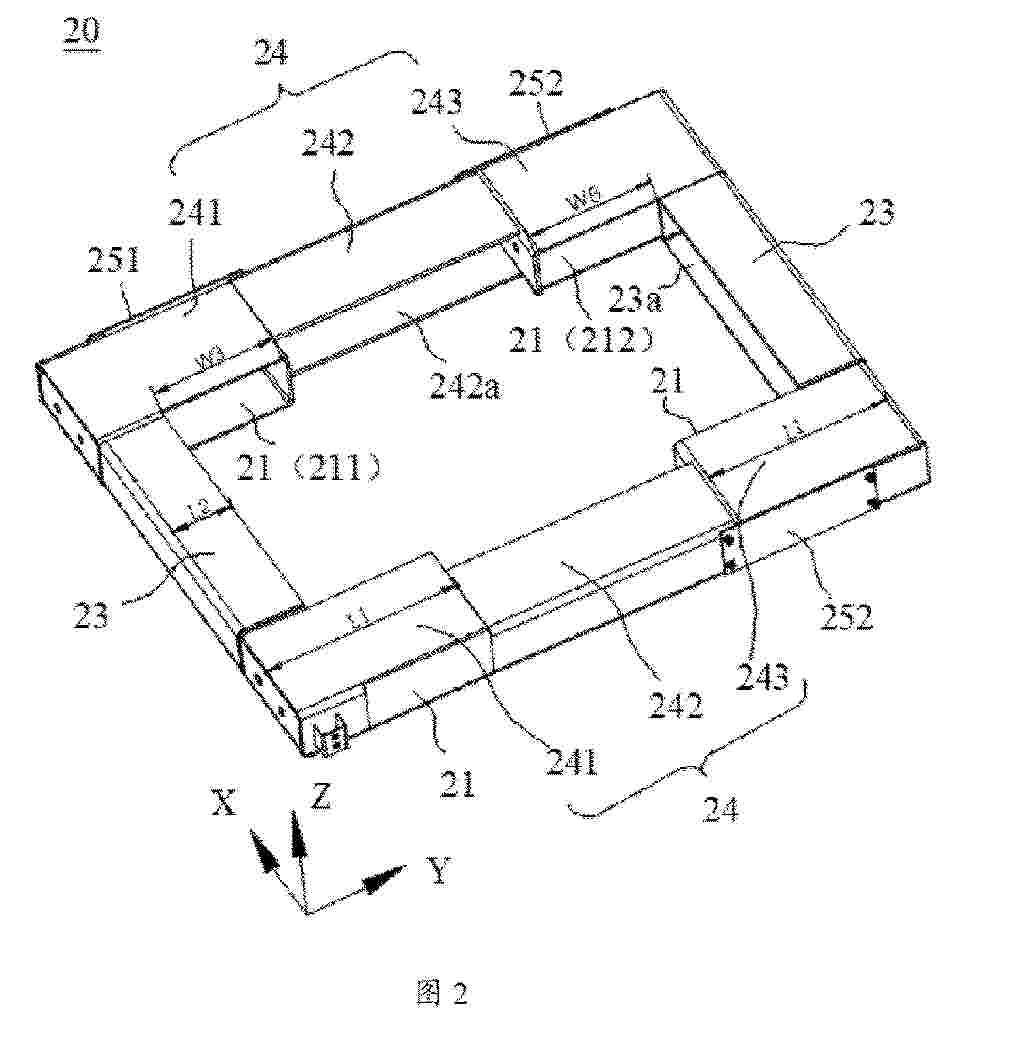
An energy storage cabinet (100), comprising: a cabinet body (10) and a base (20) that supports the cabinet body (10), wherein the cabinet body (10) has an accommodating space, and a battery (30) is accommodated in the accommodating space; the base (20) comprises two first beams (24) opposite each other in a first direction (X) and two second beams (23) opposite each other in a second direction (Y); each first beam (24) comprises a first support portion (241), an intermediate connection portion (242) and a second support portion (243) which are connected in sequence in the second direction (Y); one second beam (23) is connected between the two first support portions (241) opposite each other in the first direction (X), and another second beam (23) is connected between the two second support portions (243) opposite each other in the first direction (X); and fork-arm through holes (21) are respectively provided in the first support portions (241) and the second support portions (243), the fork-arm through holes (21) provided in the first support portions (241) define a first fork-arm channel (211), and the fork-arm through holes (21) provided in the second support portions (243) define a second fork-arm channel (212), the first fork-arm channel (211) and the second fork-arm channel (212) extending in the same direction.

METHOD FOR DETERMINING A STATE OF HEALTH, SOH, OF AN ENERGY STORAGE MODULE, A CONTROL UNIT AND AN ARRANGEMENT

NºPublicación:  WO2026012818A1 15/01/2026
Solicitante: 
HITACHI ENERGY LTD [CH]
HITACHI ENERGY LTD
WO_2026012818_PA

Resumen de: WO2026012818A1

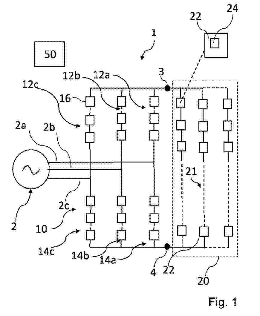
There is disclosed herein a method for determining SoH of an energy storage module (22) of an energy storage system (20) of an arrangement (1). The energy storage system is connected to an alternating current, AC, power grid (2) through a multilevel modular converter, MMC (10) of the arrangement. The method comprises controlling the MMC to generate a circulating current with a pulse pattern having different levels and that circulates through the energy storage modules, measuring a module voltage over and a module current through each energy storage module, determining an individual module resistance for each energy storage module based on the respective module voltage and the respective module current at the different levels in the pulse pattern, and determining a SoH for each energy storage module based on the individual module resistance. There is further disclosed herein a control unit (50) and an arrangement.

BATTERY PACK AND ELECTRIC DEVICE

NºPublicación:  WO2026011651A1 15/01/2026
Solicitante: 
CONTEMPORARY AMPEREX TECH CO LIMITED [CN]
CONTEMPORARY AMPEREX FUTURE ENERGY TECH SHENZHEN LIMITED [CN]
\u5B81\u5FB7\u65F6\u4EE3\u65B0\u80FD\u6E90\u79D1\u6280\u80A1\u4EFD\u6709\u9650\u516C\u53F8,
\u6DF1\u5733\u65F6\u4EE3\u672A\u6765\u80FD\u6E90\u79D1\u6280\u6709\u9650\u516C\u53F8
WO_2026011651_PA

Resumen de: WO2026011651A1

A battery pack and an electric device. The battery pack comprises a case (1), a battery unit (2), a busbar component (3), and a plurality of temperature measuring components (4). At least one battery unit (2) is located inside the case (1). Each battery unit (2) comprises at least two battery cells (21). A busbar component (3) is disposed between every two adjacent battery cells (21) of a corresponding battery unit (2), and each busbar component (3) is electrically connected to terminal posts (212) of corresponding two adjacent battery cells (21). The plurality of temperature measuring components (4) are located inside the case (1); the number of temperature measuring components (4) is not less than one-half of the number of battery cells (21), but not more than two-thirds of the number of battery cells (21).

LITHIUM-ION POSITIVE ELECTRODE MATERIAL, PREPARATION METHOD THEREFOR AND APPLICATION THEREOF

NºPublicación:  WO2026011635A1 15/01/2026
Solicitante: 
GUANGDONG BRUNP RECYCLING TECH CO LTD [CN]
HUNAN BRUNP RECYCLING TECH CO LTD [CN]
\u5E7F\u4E1C\u90A6\u666E\u5FAA\u73AF\u79D1\u6280\u6709\u9650\u516C\u53F8,
\u6E56\u5357\u90A6\u666E\u5FAA\u73AF\u79D1\u6280\u6709\u9650\u516C\u53F8
WO_2026011635_PA

Resumen de: WO2026011635A1

Disclosed are a lithium-ion positive electrode material, a preparation method therefor and an application thereof. The lithium-ion positive electrode material has a crack resistance strength of 4-15 MPa, and has high-strength crystals and grain boundaries, which improve the structural stability of the material, and effectively inhibit internal cracks from propagating to an interface, thereby improving the cycle stability and service life of the material.

LEAD PASTE FOR NEGATIVE ELECTRODE OF ULTRA-LOW-TEMPERATURE LEAD STORAGE BATTERY, AND PREPARATION METHOD THEREFOR

NºPublicación:  WO2026011620A1 15/01/2026
Solicitante: 
TIANNENG BATTERY GROUP CO LTD [CN]
\u5929\u80FD\u7535\u6C60\u96C6\u56E2\u80A1\u4EFD\u6709\u9650\u516C\u53F8
WO_2026011620_A1

Resumen de: WO2026011620A1

Disclosed are a lead paste for a negative electrode of an ultra-low-temperature lead storage battery, and a preparation method therefor. The lead paste for a negative electrode of an ultra-low-temperature lead storage battery comprises lead powder, dilute sulfuric acid, water, and an additive. On the basis of 1000 parts by mass of the lead powder, the additive comprises the following component: 8-10 parts of barium sulfate, 2.5-4 parts of sodium lignosulfonate, 3-5 parts of a hydrolyzed tannin, 1-2 parts of nanographene, 1.5-3 parts of nanographyne, 1-2 parts of nanometer lead stannate, and 0.8-1.2 parts of polyester staple fibers. Before use, the nanometer lead stannate and the nanographyne are pre-treated by means of physical intercalation and uniform mixing; therefore, the problem of the agglomeration of lead stannate can be solved, and lead stannate is uniformly mixed to better perform its function.

NEGATIVE ELECTRODE MATERIAL, NEGATIVE ELECTRODE SHEET, AND SECONDARY BATTERY

NºPublicación:  WO2026011870A1 15/01/2026
Solicitante: 
BTR NEW MAT GROUP CO LTD [CN]
\u8D1D\u7279\u745E\u65B0\u6750\u6599\u96C6\u56E2\u80A1\u4EFD\u6709\u9650\u516C\u53F8
WO_2026011870_PA

Resumen de: WO2026011870A1

The present application relates to the field of electrochemical energy storage. Disclosed are a negative electrode material, a negative electrode sheet, and a secondary battery. The negative electrode material comprises an inner core and a coating layer provided on at least part of the surface of the inner core. The coating layer comprises a polymer. In the infrared spectrum of the negative electrode material, there are a first characteristic peak, a second characteristic peak and a third characteristic peak within a wave number range of 1320±10 cm-1 to 1880±10 cm-1, wherein the first characteristic peak is a bending vibration peak of the -CH2 bond; the second characteristic peak is a stretching vibration peak of the C-N bond; and the third characteristic peak is a stretching vibration peak of the C=C bond. The ratio of the peak area of the first characteristic peak to the third characteristic peak is Z, and Z is 0.35 to 0.8. The negative electrode sheet and the secondary battery comprise the negative electrode material, and the secondary battery has a relatively high initial coulombic efficiency.

BATTERY THERMAL CHARGING CONTROL

NºPublicación:  WO2026015406A1 15/01/2026
Solicitante: 
JOBY AERO INC [US]
GOSHTASBI ALIREZA [US]
HAN SANGWOO [US]
ZHAO RUXIU [US]
NEUBAUER JEREMY [US]
JOBY AERO, INC,
GOSHTASBI, Alireza,
HAN, Sangwoo,
ZHAO, Ruxiu,
NEUBAUER, Jeremy
WO_2026015406_PA

Resumen de: WO2026015406A1

A method for managing a charging process of a battery pack for an electric vehicle is provided herein. The method includes initiating a charging cycle for the battery pack, actively managing temperature of the battery pack during the charging cycle by flowing a temperature-controlled coolant through a thermal management system integrated with the battery pack, monitoring state-of-charge (SOC) and temperature of the battery pack, adjusting a charging current and a coolant temperature of the temperature-controlled coolant based on a coupled electro-thermal model to achieve a target SOC and a target temperature range for electric vehicle operation, and terminating the charging cycle based on the target SOC and the target temperature range being achieved within predefined constraints.

BATTERY STRUCTURE AND BATTERY PACK

NºPublicación:  WO2026011588A1 15/01/2026
Solicitante: 
EVE ENERGY CO LTD [CN]
\u60E0\u5DDE\u4EBF\u7EAC\u9502\u80FD\u80A1\u4EFD\u6709\u9650\u516C\u53F8
WO_2026011588_PA

Resumen de: WO2026011588A1

A battery structure and a battery pack. The battery structure comprises: a first housing (1) and a battery (11) assembled in the first housing (1), wherein a first positive output member (12) is disposed at a positive terminal of the battery (11), and a cover plate (111) of the battery (11) serves as a negative terminal of the battery (11); and a second housing (2) and a capacitor (21) assembled in the second housing (2), wherein a second positive output member (22) is disposed at a positive terminal of the capacitor (21), and a negative output member (23) is disposed at a negative terminal of the capacitor (21).

ENERGY STORAGE SYSTEM, DISASSEMBLY METHOD FOR ENERGY STORAGE SYSTEM, AND MOUNTING METHOD FOR ENERGY STORAGE SYSTEM

NºPublicación:  WO2026011917A1 15/01/2026
Solicitante: 
CONTEMPORARY AMPEREX TECH CO LIMITED [CN]
\u5B81\u5FB7\u65F6\u4EE3\u65B0\u80FD\u6E90\u79D1\u6280\u80A1\u4EFD\u6709\u9650\u516C\u53F8
WO_2026011917_PA

Resumen de: WO2026011917A1

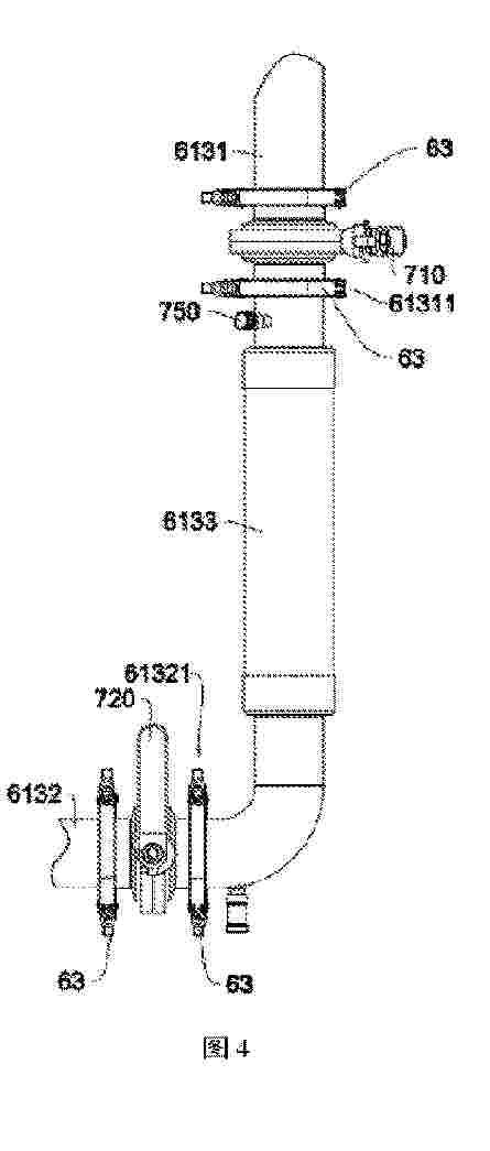
The present application provides an energy storage system, a disassembly method for an energy storage system, and a mounting method for an energy storage system. The energy storage system comprises a first compartment, a first battery apparatus, a second compartment, a second battery apparatus, a thermal management module, and a line system. The first compartment accommodates the first battery apparatus, and the first battery apparatus comprises a first thermal management component. The second compartment accommodates the second battery apparatus, the first compartment and the second compartment are arranged in a first direction, and the second battery apparatus comprises a second thermal management component. The line system connects the thermal management module, the first thermal management component, and the second thermal management component. The line system comprises a first pipe body and a second pipe body; the first pipe body is at least partially accommodated in the first compartment, the second pipe body is connected to the second thermal management component and is at least partially accommodated in the second compartment, and the first pipe body and the second pipe body are detachably connected. During transportation, the first pipe body and the second pipe body can be separated to separately transport the first compartment and the second compartment, thereby reducing transportation difficulty and transportation costs.

RESTRAINT TRAY, AND FORMATION APPARATUS AND CONTROL METHOD THEREFOR

NºPublicación:  WO2026011913A1 15/01/2026
Solicitante: 
CONTEMPORARY AMPEREX TECH CO LIMITED [CN]
CONTEMPORARY AMPEREX RUNZHI SOFTWARE TECH LIMITED [CN]
\u5B81\u5FB7\u65F6\u4EE3\u65B0\u80FD\u6E90\u79D1\u6280\u80A1\u4EFD\u6709\u9650\u516C\u53F8,
\u5B81\u5FB7\u65F6\u4EE3\u6DA6\u667A\u8F6F\u4EF6\u79D1\u6280\u6709\u9650\u516C\u53F8
WO_2026011913_PA

Resumen de: WO2026011913A1

A restraint tray, wherein a carrier frame (10) comprises a bottom plate (11), and a first end plate (12) and a second end plate (13) which are located at two ends of the bottom plate (11) in a first direction; the bottom plate (11) is configured to be an injection-molded part; a partition plate assembly (20) is provided between the first end plate (11) and the second end plate (12), the partition plate assembly (20) comprising a plurality of partition plates (21); and a push plate assembly (30) is movably provided on the carrier frame (10) and is adapted to push against the partition plate assembly (20) at the side of the first end plate (12) and/or the side of the second end plate (13).

METHOD AND APPARATUS FOR CORRECTING TEMPERATURE OF BATTERY PACK, AND DEVICE, MEDIUM AND BATTERY PACK

NºPublicación:  WO2026011638A1 15/01/2026
Solicitante: 
CONTEMPORARY AMPEREX TECH CO LIMITED [CN]
CONTEMPORARY AMPEREX FUTURE ENERGY TECH SHENZHEN LIMITED [CN]
\u5B81\u5FB7\u65F6\u4EE3\u65B0\u80FD\u6E90\u79D1\u6280\u80A1\u4EFD\u6709\u9650\u516C\u53F8,
\u6DF1\u5733\u65F6\u4EE3\u672A\u6765\u80FD\u6E90\u79D1\u6280\u6709\u9650\u516C\u53F8
WO_2026011638_PA

Resumen de: WO2026011638A1

Provided in the embodiments of the present disclosure are a method and apparatus for correcting the temperature of a battery pack, and a device, a medium and a battery pack. The method comprises: acquiring the temperature at a first temperature measurement point of a battery pack, wherein the first temperature measurement point is located on a casing of a corresponding battery cell in the battery pack; acquiring the temperature at a second temperature measurement point adjacent to the first temperature measurement point, wherein the second temperature measurement point is located on a terminal post of the corresponding battery cell and/or a bus device in the battery pack; and determining whether the current value in the battery pack is greater than or equal to 150 A, if the current value in the battery pack is greater than or equal to 150 A, correcting the temperature at the first temperature measurement point on the basis of the temperature at the second temperature measurement point, so as to obtain a corrected temperature at the first temperature measurement point, and if the current value in the battery pack is not greater than or equal to 150 A, using the temperature at the second temperature measurement point as a corrected temperature at the first temperature measurement point.

SODIUM-ION COMPOSITE SOLID ELECTROLYTE, PREPARATION METHOD, AND SODIUM-ION BATTERY

NºPublicación:  WO2026011871A1 15/01/2026
Solicitante: 
SHANGHAI XUANYI NEW ENERGY DEV CO LTD [CN]
\u4E0A\u6D77\u8F69\u9091\u65B0\u80FD\u6E90\u53D1\u5C55\u6709\u9650\u516C\u53F8
WO_2026011871_PA

Resumen de: WO2026011871A1

A preparation method for a sodium-ion composite solid electrolyte and a sodium-ion battery. The sodium-ion composite solid electrolyte comprises a polymer matrix, a sodium salt, and an inorganic active filler. The chemical general formula of the inorganic active filler is: Na5MSi4O12, wherein M is one or more of La, Al, Sm, Eu, Gd, Sc, and Y; and the particle size of the inorganic active filler is 80-600 nm, the mass ratio of the polymer matrix to the sodium salt is (0.25-50):1, and the inorganic active filler accounts for 0.1-80 wt.% of the total mass of the polymer matrix, the sodium salt, and the inorganic active filler. The sodium-ion composite solid electrolyte has good ionic conductivity and mechanical properties, greatly simplifies the production process, and also facilitates implementation of stable cycling of the sodium-ion battery.

PRE-LITHIATED POSITIVE ELECTRODE, PREPARATION METHOD, AND LITHIUM-ION BATTERY

NºPublicación:  WO2026011641A1 15/01/2026
Solicitante: 
WANXIANG A123 SYSTEMS CORP [CN]
\u4E07\u5411\u4E00\u4E8C\u4E09\u80A1\u4EFD\u516C\u53F8
WO_2026011641_A1

Resumen de: WO2026011641A1

A pre-lithiated positive electrode, a preparation method, and a lithium-ion battery, relating to the technical field of lithium-ion batteries. The pre-lithiated positive electrode comprises a positive electrode current collector and a positive electrode active layer. The positive electrode active layer comprises coated lithium oxide and a conductive agent; and raw materials of the coated lithium oxide include, in parts by weight, 2-8 parts of lithium oxide and 0.1-0.8 parts of an acid. The coated lithium oxide is used as a positive electrode lithium replenishment additive, and a coating layer has a protective effect on the lithium oxide to isolate moisture and carbon dioxide in the air, preventing the lithium oxide from reacting to generate LiOH and Li2CO3, and effectively improving the stability of the pre-lithiated positive electrode in the air, thereby improving the electrical properties of assembled lithium-ion batteries.

LAMINATED BATTERY CELL, SECONDARY BATTERY, AND ELECTRIC DEVICE

NºPublicación:  US20260018653A1 15/01/2026
Solicitante: 
CONTEMPORARY AMPEREX TECH CO LIMITED [CN]
CONTEMPORARY AMPEREX TECHNOLOGY CO., LIMITED
US_20260018653_PA

Resumen de: US20260018653A1

The present application belongs to the technical field of batteries, and in particular, relates to a laminated battery cell, a secondary battery, and an electric device. The laminated battery cell provided by the present application includes a positive electrode sheet, a negative electrode sheet, and a separator. The separator includes a separator body. The separator body includes a side surface facing the negative electrode sheet. The side surface has a side edge, and an adhesive film layer is disposed on at least part of the side edge. The adhesive film layer is disposed along a first direction and/or a second direction of a plane where the separator body is located to form an accommodating region. The negative electrode sheet is located in the accommodating region.

LITHIUM SECONDARY BATTERY COMPRISING ELECTROLYTE

NºPublicación:  US20260018655A1 15/01/2026
Solicitante: 
LG ENERGY SOLUTION LTD [KR]
LG ENERGY SOLUTION, LTD
US_20260018655_PA

Resumen de: US20260018655A1

The present application relates to a lithium secondary battery including a positive electrode, a silicon-based negative electrode, a separator provided between the positive electrode and the negative electrode, and an electrolyte. The lithium secondary battery according to the present application includes a specific additive in the electrolyte which may serve to capture a Lewis acid produced by a solvent included in the electrolyte and to form a negative electrode film when the lithium secondary battery is driven.

RIBBON PRESSING DEVICE

NºPublicación:  US20260018654A1 15/01/2026
Solicitante: 
SUZHOU MAXWELL TECH CO LTD [CN]
Suzhou Maxwell Technologies Co., Ltd
US_20260018654_PA

Resumen de: US20260018654A1

A ribbon pressing device includes a jig body, multiple first pressing pin groups, and multiple second pressing pin groups, where the multiple first pressing pin groups are arranged at intervals on the jig body along a first direction, each of the multiple first pressing pin groups includes multiple first pressing pin units arranged at intervals along a second direction, and each of the multiple first pressing pin units is movable relative to the jig body; and the multiple second pressing pin groups are arranged at intervals on the jig body along the first direction, each of the multiple second pressing pin groups includes multiple second pressing pin units arranged at intervals along the second direction, and each of the multiple second pressing pin units is movable relative to the jig body.

INORGANIC COMPOUNDS HAVING AN ARGYRODITE-TYPE STRUCTURE, THEIR PREPARATION PROCESSES AND THEIR USES IN ELECTROCHEMICAL APPLICATIONS

NºPublicación:  US20260018666A1 15/01/2026
Solicitante: 
HYDRO QUEBEC [CA]
HYDRO-QU\u00C9BEC
US_20260018666_PA

Resumen de: US20260018666A1

The present technology relates to inorganic compounds having an argyrodite-type structure based on an alkali metal obtained by a preparation process comprising a step of grinding the sulfide of the alkali metal, the sulfate of the alkali metal, phosphorus pentasulfide and a halide of the alkali metal. Also described are electrode materials, electrodes, electrolytes comprising said inorganic compound having an argyrodite-type structure and their uses in electrochemical cells, for example, in electrochemical accumulators, particularly in all-solid-state batteries.

METHOD FOR RECOVERING METALS

NºPublicación:  US20260015246A1 15/01/2026
Solicitante: 
JX METALS CIRCULAR SOLUTIONS CO LTD [JP]
JX METALS CIRCULAR SOLUTIONS CO., LTD
US_20260015246_PA

Resumen de: US20260015246A1

Provided is a method for recovering metals, which can produce a lithium hydroxide solution from a metal-containing solution and appropriately process the impurities separated at that time. The method for recovering metals from battery powder of lithium ion battery waste includes: an acid leaching step of leaching the metals in the battery powder into an acidic leaching solution to obtain a metal-containing solution containing lithium ions and other metal ions; a metal separation step of separating the other metal ions from the metal-containing solution; and, after the metal separation step, an electrodialysis step of subjecting the metal-containing solution containing lithium ions and fluoride ions as impurities to electrodialysis using a bipolar membrane to obtain a lithium hydroxide solution and an acidic solution comprising fluoride ions, wherein the acidic solution obtained in the electrodialysis step is mixed with the acidic leaching solution so that the acidic leaching solution contains calcium in the acidic leaching step, and the fluoride ions are precipitated by the calcium.

SODIUM SUPPLEMENT MATERIAL, PREPARATION METHOD THEREOF, POSITIVE ELECTRODE PLATE AND SODIUM ION BATTERY

NºPublicación:  US20260015245A1 15/01/2026
Solicitante: 
XIAMEN HITHIUM ENERGY STORAGE TECH CO LTD [CN]
Xiamen Hithium Energy Storage Technology Co., Ltd
US_20260015245_PA

Resumen de: US20260015245A1

A sodium supplement material, a preparation method thereof, positive electrode plate, and sodium-ion battery. The sodium supplement material includes a sodium supplement agent body and first particles exposed on the surface of the sodium supplement agent body. In any 300 nm×200 nm region on the surface of the sodium supplement material, the number of first particles ranges from 2 to 20. The first particles include one or more conductive agent particles and one or more catalyst particles.

POSITIVE ELECTRODE ACTIVE MATERIAL, PREPARATION METHOD THEREOF, AND POSITIVE ELECTRODE PLATE, BATTERY CELL, BATTERY, AND ELECTRIC DEVICE CONTAINING SAME

NºPublicación:  US20260015255A1 15/01/2026
Solicitante: 
CONTEMPORARY AMPEREX TECH CO LIMITED [CN]
CONTEMPORARY AMPEREX TECHNOLOGY CO., LIMITED
US_20260015255_PA

Resumen de: US20260015255A1

The present application provides a positive electrode active material, a preparation method thereof, and a positive electrode plate, a battery cell, a battery, and an electric device containing the same, where the positive electrode active material includes a matrix and a sodium-rich layer formed in situ on the surface of the matrix, the matrix includes a sodium-containing layered transition metal oxide, and the sodium-rich layer includes one or more of sodium salts represented by Formula (I) and Formula (II), where m represents an integer from 1 to 8, and n represents an integer from 2 to 20.

METHODS FOR PRODUCING GRAPHENE FROM COAL

NºPublicación:  US20260015241A1 15/01/2026
Solicitante: 
CARBON HOLDINGS INTELLECTUAL PROPERTIES LLC [US]
CARBON HOLDINGS INTELLECTUAL PROPERTIES, LLC
US_20260015241_PA

Resumen de: US20260015241A1

A method of preparing graphene from coal can include thermally processing raw coal and, after the coal has been at least partially cooled from thermal processing, forming reduced graphene oxide from the coal.

PROCESS TO PRODUCE BATTERY ANODE GRADE GRAPHITIC CARBON FROM BY-PRODUCTS GENERATED FROM RECYCLED TIRES; AND GRAPHITIC CARBON OBTAINED FROM THE PROCESS

NºPublicación:  US20260015238A1 15/01/2026
Solicitante: 
SUSTREND LABORATORIOS S P A [CL]
SUSTREND LABORATORIOS S.P.A
US_20260015238_A1

Resumen de: US20260015238A1

Recovered carbon black from recycled tires may be processed through several stages of: cleaning of the recovered carbon black; activation of the recovered carbon black; hydrothermal impregnation of catalyst in activated carbon of the recovered carbon black; graphitization of activated carbon of the recovered carbon black impregnated with catalyst; and finally, cleaning of graphite and recovery of catalyst.

BATTERY CELL, BATTERY AND ELECTRIC DEVICE

Nº publicación: US20260018757A1 15/01/2026

Solicitante:

CONTEMPORARY AMPEREX TECH CO LIMITED [CN]
CONTEMPORARY AMPEREX TECHNOLOGY CO., LIMITED

US_20260018757_PA

Resumen de: US20260018757A1

A battery cell, a battery and an electric device, relating to the technical field of batteries. The battery cell comprises: a housing, an electrode column body and an electrode column cover plate, wherein the housing defines an accommodating cavity; the electrode column body is arranged on the housing; a communication channel in communication with the accommodating cavity is formed on the electrode column body; the electrode column cover plate is arranged on the electrode column body; and a liquid injection hole in communication with the communication channel is formed in the electrode column cover plate.

traducir