Ministerio de Industria, Turismo y Comercio LogoMinisterior
 

Alerta

Resultados 1317 resultados
LastUpdate Última actualización 26/04/2026 [07:23:00]
pdfxls
Publicaciones de los últimos 15 días/Last 15 days publications (excluidas pubs. CN y JP /CN and JP pubs. excluded)
previousPage Resultados 675 a 700 de 1317 nextPage  

Electrode Comprising Active Material Layer Having Double-Layered Structure, and Secondary Battery Comprising Same

NºPublicación:  US20260106208A1 16/04/2026
Solicitante: 
LG ENERGY SOLUTION LTD [KR]
US_20260106208_A1

Resumen de: US20260106208A1

An electrode for a secondary battery comprises: a current collector; a lower active material layer formed on at least one side of the current collector; and an upper active material layer formed on the lower active material layer. The lower active material layer comprises a first lithium iron phosphate active material, a lithium nickel oxide active material, and a needle-type conductive material. The upper active material layer comprises a second lithium iron phosphate active material and sphere-type conductive material. A ratio of a content of a sum of the first lithium iron phosphate material and the second lithium iron phosphate active material to a content of the lithium nickel oxide active material is in a weight ratio range of from 55 to 70:30 to 45. A total average loading amount of the upper and lower active material layers is in a range of from 300 mg/25 cm2 to 900 mg/25 cm2.

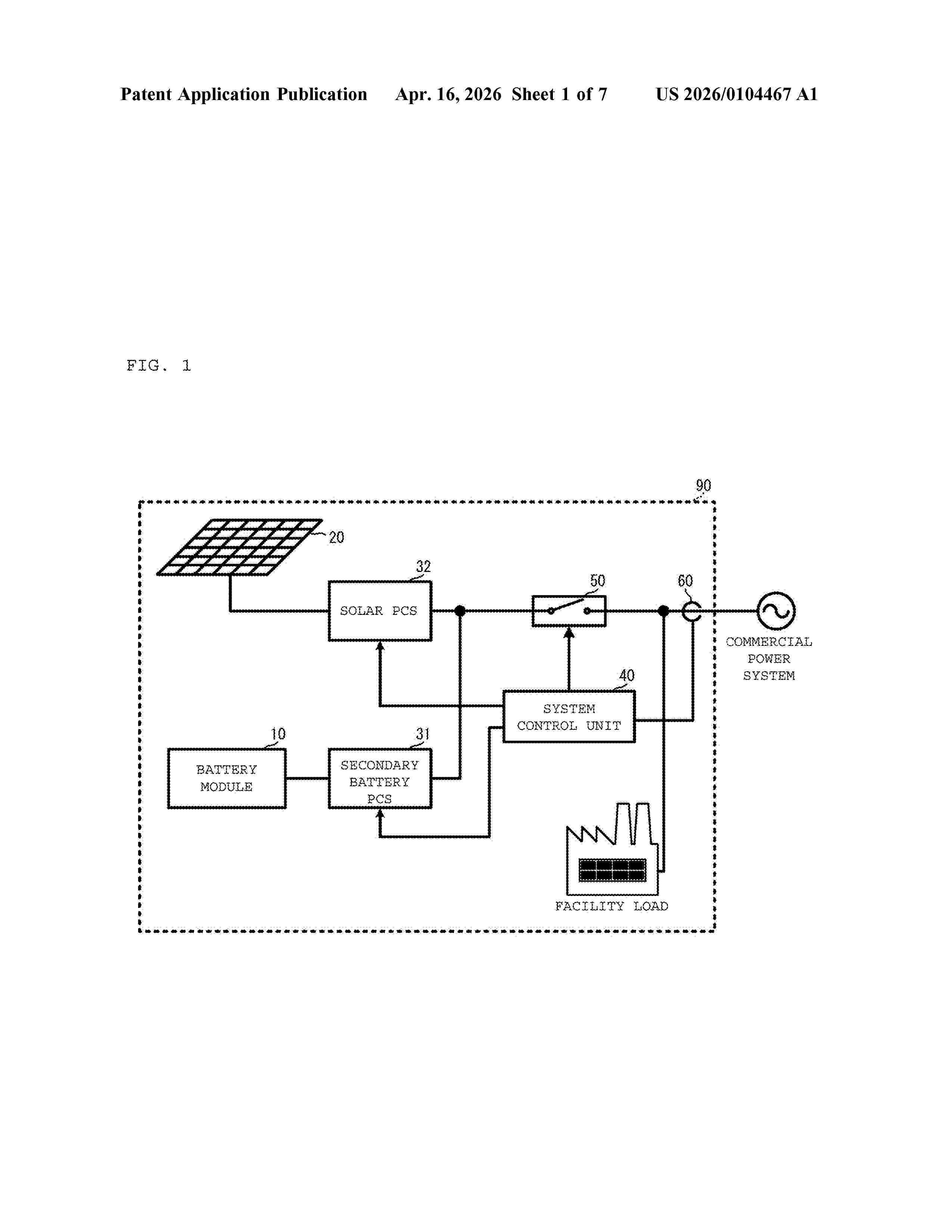
SECONDARY BATTERY EVALUATION SYSTEM

NºPublicación:  US20260104467A1 16/04/2026
Solicitante: 
MURATA MANUFACTURING CO [JP]
US_20260104467_A1

Resumen de: US20260104467A1

A secondary battery evaluation system includes a battery pack including a plurality of secondary battery cells, a voltage detection circuit that detects a terminal-to-terminal voltage value of the battery pack, a current detection circuit that detects a current value of the battery pack, a test secondary battery including at least one battery cell manufactured from the same material as the secondary battery cell, and a test power supply circuit that controls charge and discharge of the test secondary battery. The test power supply circuit sets a test charge voltage value and a test charge current value for the test secondary battery based on a terminal-to-terminal voltage value and a current value during charging of the battery pack, charges the test secondary battery with the test charge voltage value and the test charge current value, sets a test discharge voltage value and a test discharge current value for the test secondary battery based on a terminal-to-terminal voltage value and a current value during discharging of the battery pack, and discharges the test secondary battery with the test discharge voltage value and the test discharge current value to perform a simulation of charge and discharge of the battery pack. The test power supply circuit acquires SOC-OCV data of the test secondary battery by performing charge and discharge of the test secondary battery independently of driving of the battery pack at the time of measurement of SOC-OCV data.

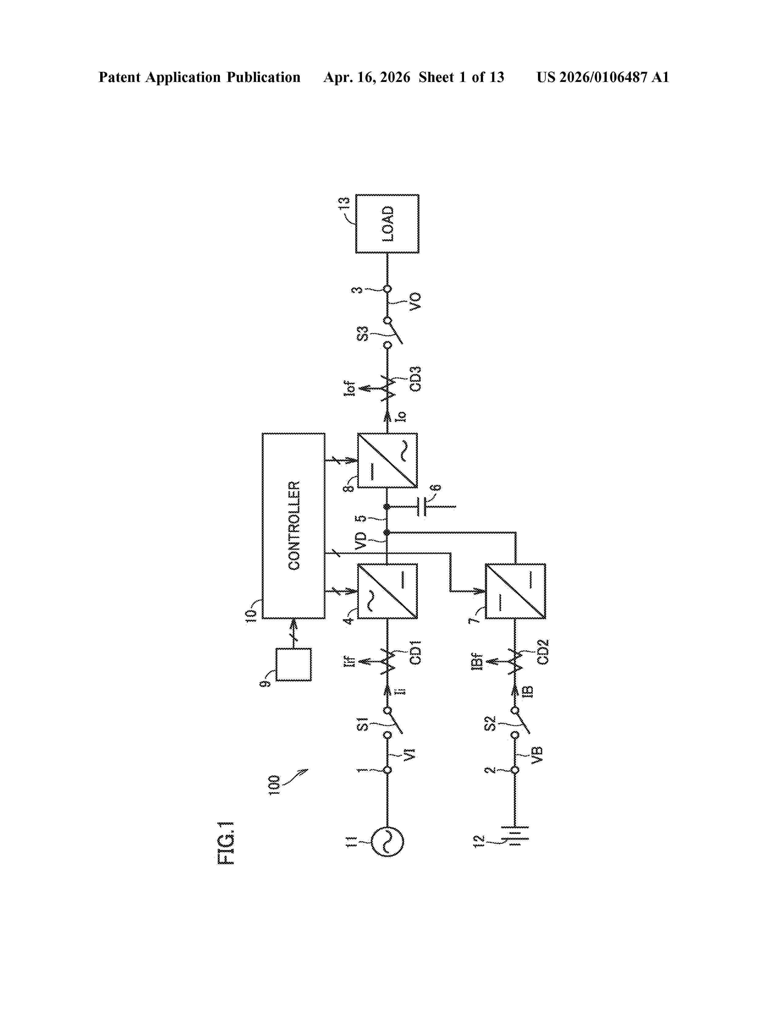
UNINTERRUPTIBLE POWER SUPPLY DEVICE

NºPublicación:  US20260106487A1 16/04/2026
Solicitante: 
TMEIC CORP [JP]
MITSUBISHI ELECTRIC CORP [JP]
US_20260106487_A1

Resumen de: US20260106487A1

An uninterruptible power supply device has a normal mode of supplying a load with electric power supplied from an AC power supply, a backup mode of supplying the load with electric power stored in a storage battery during a power failure, and a deterioration diagnosis mode of diagnosing a deteriorated state of the storage battery. A controller periodically shifts to the deterioration diagnosis mode during execution of the normal mode. During execution of the deterioration diagnosis mode, the controller stops charging of the storage battery by stopping an operation of the power converter. The controller measures a voltage of the storage battery at a first timing after a lapse of a first time period from stopping charging of the storage battery, and diagnoses the deteriorated state of the storage battery based on a measured value of the voltage of the storage battery at the first timing.

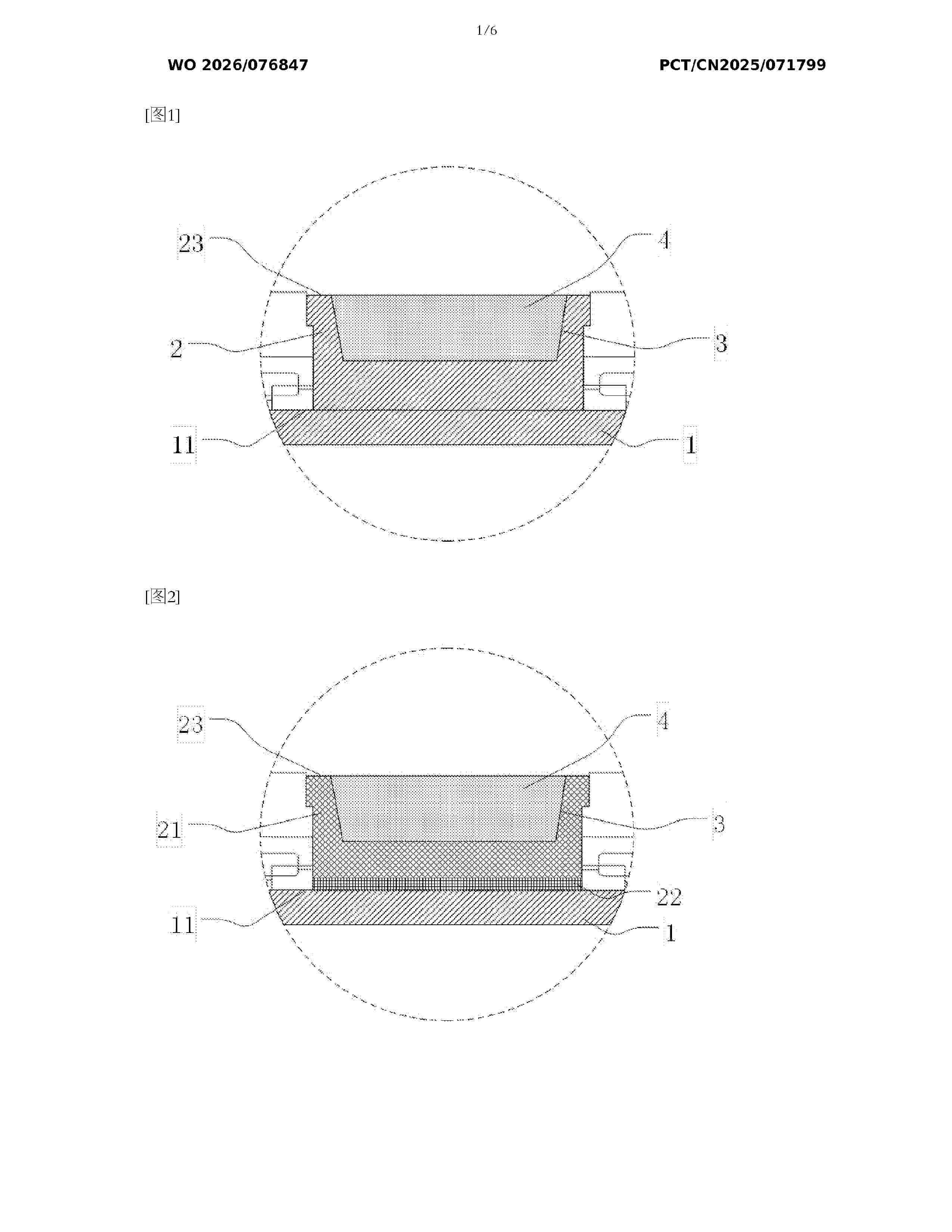
TERMINAL POST, TERMINAL ASSEMBLY AND BATTERY

NºPublicación:  WO2026076847A1 16/04/2026
Solicitante: 
HUIZHOU EVE POWER CO LTD [CN]
EVE POWER CO LTD [CN]
\u60E0\u5DDE\u4EBF\u7EAC\u52A8\u529B\u7535\u6C60\u6709\u9650\u516C\u53F8
\u6E56\u5317\u4EBF\u7EAC\u52A8\u529B\u6709\u9650\u516C\u53F8
WO_2026076847_A1

Resumen de: WO2026076847A1

Provided in the present application are a terminal post, a terminal assembly and a battery. The terminal post comprises: a base having a first surface; and a post body arranged on the first surface, wherein the post body has a second surface facing away from the base, the second surface being provided with a thermally conductive groove filled with a thermally conductive material.

GRAPHITE ANODE MATERIAL FOR LITHIUM BATTERY AND PREPARATION METHOD THEREFOR

NºPublicación:  WO2026077069A1 16/04/2026
Solicitante: 
HUANG XIANGPING [CN]
\u9EC4\u6E58\u5E73
WO_2026077069_A1

Resumen de: WO2026077069A1

Provided in the present invention are a graphite anode material for a lithium battery and a preparation method therefor. The preparation method comprises the following steps: (1) preparing a modified phenolic resin; (2) adding natural graphite and the modified phenolic resin to a reaction kettle, continuing to add modified graphene, and performing stirring and heating coating in a nitrogen atmosphere, specifically: first increasing the temperature to 150-200 °C at 1-2 °C/min, maintaining the temperature for 100-120 min, then increasing the temperature to 550-600 °C at 4-6 °C/min, maintaining the temperature for 180-200 min, and cooling to obtain coated graphite; and (3) placing the coated graphite in an atmosphere furnace for carbonization and sieving to obtain the graphite anode material for the lithium battery. When the anode material of the present invention is used for preparing the lithium battery, the capacity retention rate is high, the rate performance is good, the impedance is low, and the lithium precipitation point for fast charging is high.

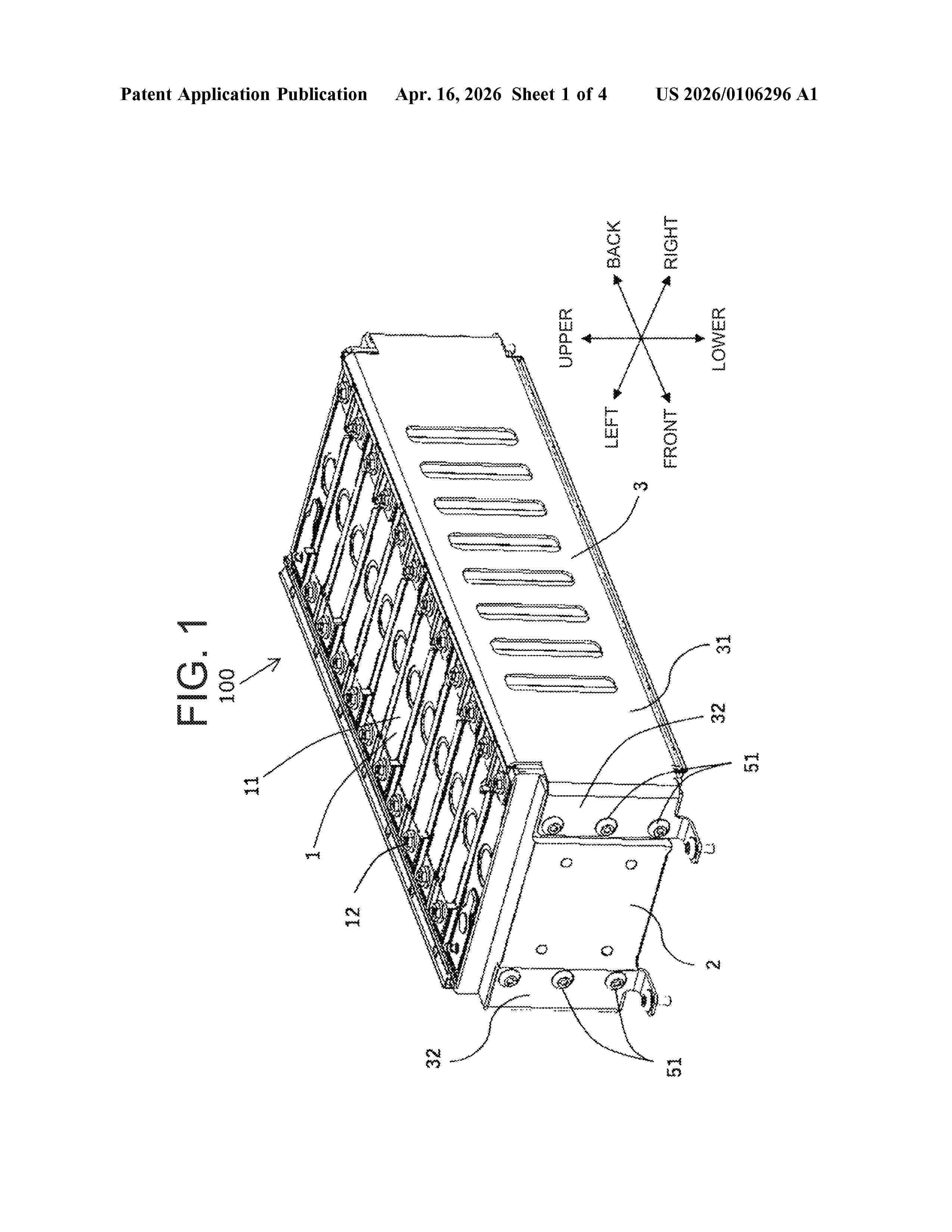
ENERGY STORAGE APPARATUS

NºPublicación:  US20260106296A1 16/04/2026
Solicitante: 
GS YUASA INT LTD [JP]
US_20260106296_A1

Resumen de: US20260106296A1

0000 An energy storage apparatus includes a plurality of energy storage devices aligned in a first direction, an end plate located at an end portion of the plurality of energy storage devices in the first direction, and a side plate located at an end portion of the plurality of energy storage devices in a second direction intersecting the first direction. The end plate includes an end plate connecting portion connected to the side plate. The side plate includes a first portion extending in the first direction, a second portion extending from the first portion in the second direction and is connected to the end plate connecting portion, and a third portion extending from the second portion in the first direction along an installation surface of the energy storage apparatus and fixed to the installation surface.

Current Collector Apparatus

NºPublicación:  US20260106172A1 16/04/2026
Solicitante: 
UNIV MICHIGAN STATE [US]
US_20260106172_A1

Resumen de: US20260106172A1

A current collector apparatus is provided. In one aspect, a current collector includes a first metallic layer, a second metallic layer, and a porous polymeric layer positioned between the first metallic layer and the second metallic layer. In another aspect, a current collector employs a porous polymeric layer including pores and metallic particles disposed therein. The metallic particles electrically connect the first and second metallic layers. Each of a first metallic layer and a second metallic layer has a first average thickness that is about 1 nanometer to about 5 micrometers, a porous polymeric layer has a second average thickness that is about 10 nanometers to about 200 micrometers, and/or the current collector has a third average thickness that is about 12 nanometers to about 210 micrometers.

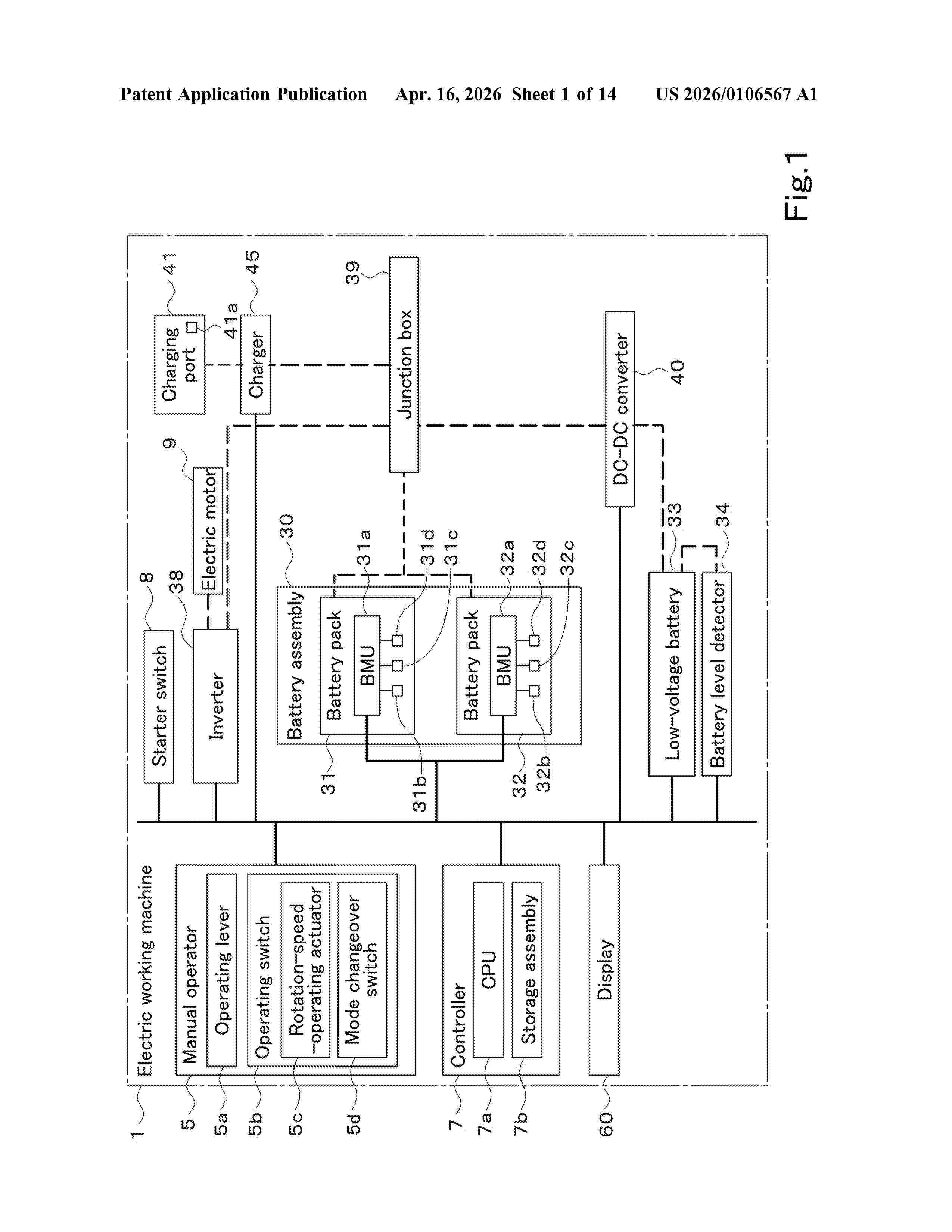
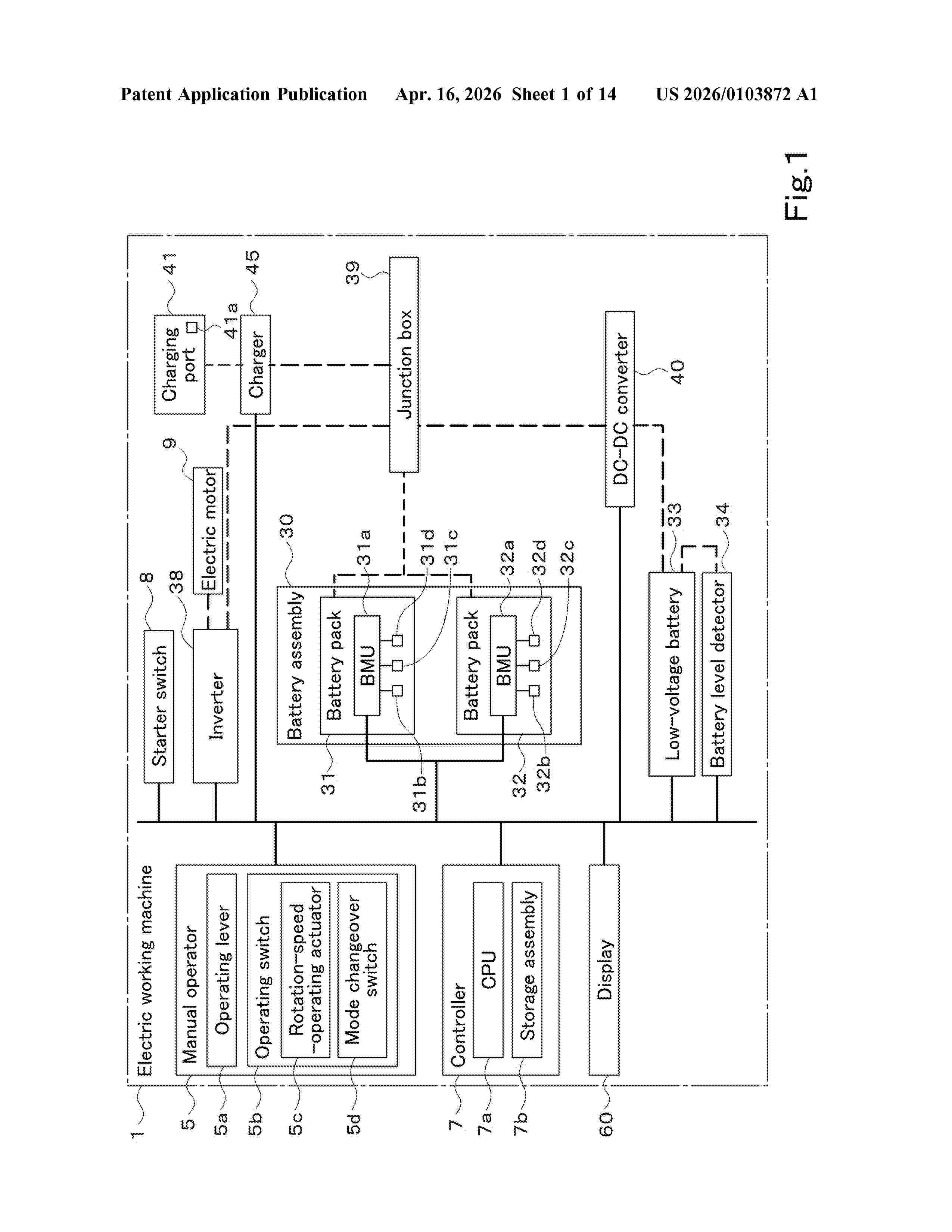
ELECTRIC WORKING MACHINE AND METHOD OF CONTROLLING ELECTRIC WORKING MACHINE

NºPublicación:  US20260106567A1 16/04/2026
Solicitante: 
KUBOTA KK [JP]
US_20260106567_A1

Resumen de: US20260106567A1

An electric working machine includes a battery assembly, an electric actuator to be actuated by electricity supplied by the battery assembly, a working device to be actuated by the electric actuator being driven, a plurality of temperature detectors to each detect a temperature of the battery assembly, a controller configured or programmed to calculate a first temperature of the battery assembly based on temperatures detected by the plurality of temperature detectors, and a display to display the first temperature calculated by the controller. The controller is configured or programmed to calculate the first temperature based on a lowest temperature of the temperatures detected by the plurality of temperature detectors, a highest temperature of the temperatures detected by the plurality of temperature detectors, and a weighting value to assign weights such that a weight assigned to the lowest temperature increases as the lowest temperature decreases.

ELECTRIC WORKING MACHINE AND METHOD OF CONTROLLING ELECTRIC WORKING MACHINE

NºPublicación:  US20260103872A1 16/04/2026
Solicitante: 
KUBOTA KK [JP]
US_20260103872_A1

Resumen de: US20260103872A1

An electric working machine includes a battery assembly, an electric actuator to be actuated by electricity supplied by the battery assembly, a working device to be actuated by the electric actuator, a temperature detector to detect a temperature of the battery assembly, and a controller configured or programmed to control, according to the temperature of the battery assembly, a first upper limit of a charging current supplied to the battery assembly. The controller is configured or programmed to switch between a first mode in which the controller controls the charging current based on a first correspondence relationship in which temperatures of the battery assembly and first upper limits are associated with each other, and a second mode in which the controller controls the charging current based on a second correspondence relationship in which the first upper limits are lower than in the first correspondence relationship at one or more temperatures.

SECONDARY BATTERY, ELECTRICAL DEVICE, AND PREPARATION METHOD FOR SECONDARY BATTERY

NºPublicación:  WO2026077130A1 16/04/2026
Solicitante: 
NINGDE AMPEREX TECHNOLOGY LTD [CN]
\u5B81\u5FB7\u65B0\u80FD\u6E90\u79D1\u6280\u6709\u9650\u516C\u53F8
WO_2026077130_A1

Resumen de: WO2026077130A1

Embodiments of the present application provide a secondary battery, an electrical device, and a preparation method for the secondary battery. The secondary battery comprises an electrode assembly. The electrode assembly comprises a first electrode plate located at an outermost layer thereof. The first electrode plate comprises a first current collector, a first active material layer, and a first insulating layer. The first current collector has a first surface and a second surface which are oppositely disposed, the first active material layer being disposed on the first surface, and the first insulating layer being disposed on the second surface. The secondary battery further comprises a first bonding member. The first bonding member comprises a first part and a second part. The first part being bonded to a portion of a surface of the second surface that is not covered by the first insulating layer, or the first part being bonded to a region of the first insulating layer that is thinned after removing a some material. The second part is bonded to a surface of the electrode assembly located on a side in the second direction. In the secondary battery, the energy density of the secondary battery can be improved while reducing the degree and likelihood of curling of the outermost electrode plate of the electrode assembly.

LITHIUM BATTERY

NºPublicación:  WO2026076865A1 16/04/2026
Solicitante: 
EVE POWER CO LTD [CN]
\u6E56\u5317\u4EBF\u7EAC\u52A8\u529B\u6709\u9650\u516C\u53F8
WO_2026076865_A1

Resumen de: WO2026076865A1

A lithium battery, which comprises a positive electrode sheet and a negative electrode sheet. The positive electrode sheet comprises a positive electrode active material layer, and the positive electrode active material layer comprises a lithium iron phosphate positive electrode material and a lithium supplementing agent, wherein the lithium iron phosphate positive electrode material contains a doping element A, with the doping element A comprising at least one of Ti, V, Mg, Nb, Zr, Zn and Al; and the lithium supplementing agent comprises a lithium-rich lithium nickel oxide material, and the chemical formula of the lithium-rich lithium nickel oxide material is Li2+xNiByO2+z, where x>0, y>0, and z>0 or z<0, and the element B comprises at least one of Ti, Al, Mg, Mn and Fe. The negative electrode sheet comprises a negative electrode active material layer, and the negative electrode active material layer comprises a carbon-based negative electrode material and a silicon-based negative electrode material, wherein the silicon-based negative electrode material comprises at least one of a porous silicon material, a silicon-carbon material having a core-shell structure, a silicon-carbon material having a yolk-shell structure, and a silicon-carbon material having an SiOx/C-type graphite structure. The D50 of the silicon-based negative electrode material is 5-15 μm, wherein the porosity of the porous silicon material is 5-40%; and in the silicon-carbon material having a core-shell str

FLAME-RETARDANT POLYURETHANE REACTION SYSTEM AND USE THEREOF

NºPublicación:  WO2026076770A1 16/04/2026
Solicitante: 
BASF SE [DE]
BASF CHINA CO LTD [CN]
\u5DF4\u65AF\u592B\u6B27\u6D32\u516C\u53F8
\u5DF4\u65AF\u592B(\u4E2D\u56FD)\u6709\u9650\u516C\u53F8
WO_2026076770_A1

Resumen de: WO2026076770A1

Disclosed in the present disclosure are a polyurethane reaction system, a use thereof in encapsulation of an automobile battery product, and an automobile battery product comprising a cured product of the polyurethane reaction system. In the polyurethane reaction system of the present disclosure, a polyol component and/or an isocyanate component comprise at least one phosphate flame retardant F1 that is a solid at 25℃, and the phosphate flame retardant F1 is dissolved at 25℃ in the polyol component and/or the isocyanate component, and forms a storage-stable polyol flame retardant liquid mixture and/or a storage-stable isocyanate flame retardant liquid mixture.

HIGH-PRECISION ADJUSTABLE AUTOMATIC FIRE-RETARDANT MODULE

NºPublicación:  WO2026076961A1 16/04/2026
Solicitante: 
WAROM TECHNOLOGY INC CO [CN]
\u534E\u8363\u79D1\u6280\u80A1\u4EFD\u6709\u9650\u516C\u53F8
WO_2026076961_A1

Resumen de: WO2026076961A1

A high-precision adjustable automatic fire-retardant module, comprising: a fire-retardant module (2), a fire-retardant sintered block (3), and a pressure regulating device (4), wherein the fire-retardant module extends into the interior of a cabinet (1) and is fixedly mounted on the cabinet; the fire-retardant sintered block is mounted inside the fire-retardant module; and the pressure regulating device sequentially runs through the top end of the fire-retardant module, the fire-retardant sintered block, and the bottom end of the fire-retardant module and then extends into the interior of the cabinet. When the pressure in the cabinet exceeds a set value, high-pressure release can be automatically performed by means of the module, such that the module has a fire retardant function and can prevent combustible particulate matter from being discharged to hazardous areas.

METHOD AND APPARATUS FOR DETECTING AND EVALUATING GRADUAL FAULT IN LITHIUM BATTERY, DEVICE AND STORAGE MEDIUM

NºPublicación:  WO2026076832A1 16/04/2026
Solicitante: 
GUANGDONG POWER GRID CO LTD [CN]
ELECTRIC POWER RES INSTITUTE OF GUANGDONG POWER GRID CO LTD [CN]
\u5E7F\u4E1C\u7535\u7F51\u6709\u9650\u8D23\u4EFB\u516C\u53F8
\u5E7F\u4E1C\u7535\u7F51\u6709\u9650\u8D23\u4EFB\u516C\u53F8\u7535\u529B\u79D1\u5B66\u7814\u7A76\u9662
WO_2026076832_A1

Resumen de: WO2026076832A1

Disclosed in the present invention are a method and apparatus for detecting and evaluating a gradual fault in a lithium battery, a device and a storage medium. The method comprises: according to terminal voltages of each battery cell in a lithium-ion battery pack and median terminal voltages, generating a corresponding differential voltage curve and a corresponding median differential voltage curve; for each battery cell, calculating a Mahalanobis distance between the corresponding differential voltage curve and the median differential voltage curve, and when the Mahalanobis distance is greater than a preset threshold, determining that a micro-short circuit fault has occurred in the battery cell; acquiring a first charging voltage curve of a first discharging-charging cycle and a second charging voltage curve of a second discharging-charging cycle during two adjacent discharging-charging cycles of the battery cell; and calculating a micro-short circuit current and a micro-short circuit resistance of the battery cell, and evaluating the fault severity of the lithium-ion battery pack. The present invention can improve the accuracy of gradual fault detection and the efficiency of fault severity evaluation for lithium batteries.

METHOD AND APPARATUS FOR CONTROLLING CHARGING AND DISCHARGING OF ENERGY STORAGE SYSTEM, AND DEVICE

NºPublicación:  WO2026076913A1 16/04/2026
Solicitante: 
HUANENG ANHUI MENGCHENG WIND POWER GENERATION CO LTD [CN]
\u534E\u80FD\u5B89\u5FBD\u8499\u57CE\u98CE\u529B\u53D1\u7535\u6709\u9650\u8D23\u4EFB\u516C\u53F8
WO_2026076913_A1

Resumen de: WO2026076913A1

The present invention provides a method and apparatus for controlling charging and discharging of an energy storage system, and a device. The energy storage system comprises a plurality of energy storage battery assemblies. The method comprises: acquiring characteristic parameters of the plurality of energy storage battery assemblies, the characteristic parameters comprising a real-time battery capacity value, a rated battery capacity value, a calibration battery internal resistance value, and a real-time battery internal resistance value; determining a health state index of each energy storage battery assembly by using a health state index relationship and the characteristic parameters; comparing the health state index of each energy storage battery assembly with a preset battery health level threshold; and, on the basis of the comparison result, controlling charging and discharging states of the energy storage battery assemblies. The health state index of each energy storage battery assembly is determined by means of the real-time characteristic parameters, and then, on the basis of the comparison result with the preset battery health level threshold, the charging and discharging states of the energy storage battery assemblies are controlled in different control manners, thus improving the rationality of charging and discharging control, ensuring charging and discharging safety, and prolonging the service life of the energy storage battery assemblies.

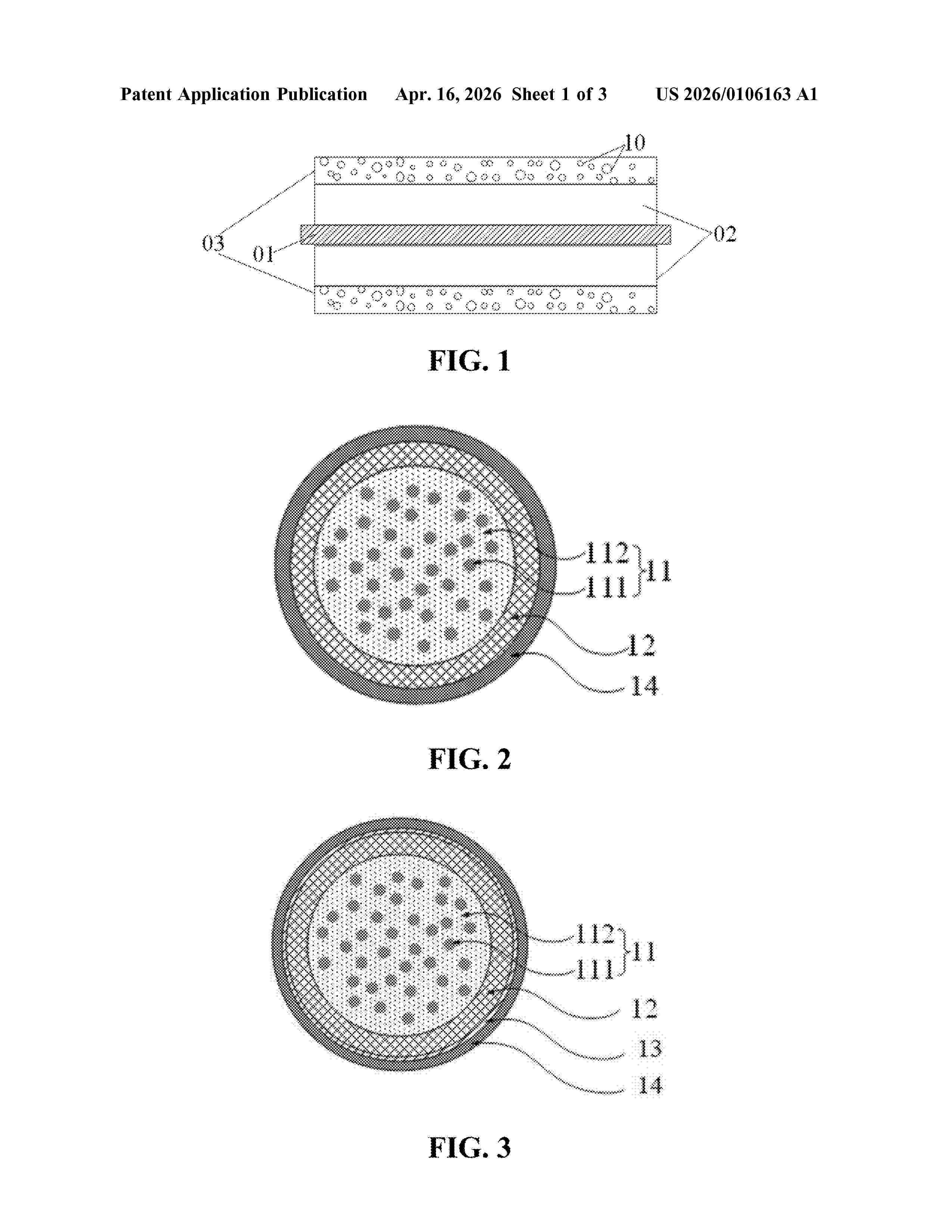
NEGATIVE ELECTRODE PLATE, SECONDARY BATTERY, AND ELECTRICAL APPARATUS

NºPublicación:  US20260106163A1 16/04/2026
Solicitante: 
CONTEMPORARY AMPEREX TECHNOLOGY CO LTD [CN]
US_20260106163_A1

Resumen de: US20260106163A1

0000 A negative electrode plate, a secondary battery, and an electrical apparatus are described. The negative electrode plate includes a current collector and a negative electrode film layer, where the negative electrode film layer includes a first film layer, provided on one side or both sides of the current collector; and a second film layer, provided on one side of the first film layer away from the current collector; a negative electrode active material of the first film layer and a negative electrode active material in the second film layer each independently include a silicon-based negative electrode material, the silicon-based negative electrode material in the second film layer includes a porous silicon negative electrode material, and a content of the silicon-based negative electrode material in the first film layer is less than a content of the silicon-based negative electrode material in the second film layer.

ELECTRODE FORMING DEVICE AND COATING METHOD

NºPublicación:  WO2026076949A1 16/04/2026
Solicitante: 
KATOP AUTOMATION CO LTD [CN]
\u6DF1\u5733\u5E02\u65B0\u5609\u62D3\u81EA\u52A8\u5316\u6280\u672F\u6709\u9650\u516C\u53F8
WO_2026076949_A1

Resumen de: WO2026076949A1

The present invention discloses an electrode forming device and a coating method. The electrode forming device comprises a double-cone extrusion mechanism, a double-steel-belt calendering mechanism, an edge trimming mechanism, a four-roller mechanism, and a winding and unwinding mechanism; the double-cone extrusion mechanism is used for mixing and extruding materials; the double-steel-belt calendering mechanism is used for calendering the extruded materials into a film sheet; the edge trimming mechanism is used for trimming the edge of the film sheet; the four-roller mechanism is used for performing a secondary thinning operation on the film sheet and compounding the film sheet with a current collector; and the winding and unwinding mechanism is used for performing winding and unwinding operations on the compounded electrode sheet. The coating method comprises the following steps: S1, material treatment; S2, preliminary film formation; S3, film sheet trimming; S4, secondary thinning; S5, A-side compounding; S6, semi-finished product winding; S7, semi-finished product unwinding; S8, B-side compounding; and S9, finished product winding. The film formation quality of the film sheet can be improved, the consistency and uniformity of film formation can be ensured, the requirements for press rollers can be reduced, and the service life of the press rollers can be prolonged.

BATTERY CASE AND MANUFACTURING METHOD THEREFOR, AND BATTERY PACK

NºPublicación:  WO2026076892A1 16/04/2026
Solicitante: 
EVE ENERGY CO LTD [CN]
\u60E0\u5DDE\u4EBF\u7EAC\u9502\u80FD\u80A1\u4EFD\u6709\u9650\u516C\u53F8
WO_2026076892_A1

Resumen de: WO2026076892A1

Provided in the present application are a battery case and a manufacturing method therefor, and a battery pack. The battery case comprises a case body, wherein the case body comprises a middle plate and a first end plate, with the first end plate being arranged at one end of the middle plate in the direction of the length of the case body; the middle plate and the first end plate are enclosed to form at least a part of a battery mounting cavity; and a first welding line is provided at the joint of the middle plate and the first end plate, and the middle plate and the first end plate are located on two opposite sides of the first welding line in the direction of the length of the case body.

METHOD FOR PREDICTING CYCLE PERFORMANCE OF BATTERY, AND DEVICE AND STORAGE MEDIUM

NºPublicación:  WO2026076808A1 16/04/2026
Solicitante: 
EVE ENERGY CO LTD [CN]
\u60E0\u5DDE\u4EBF\u7EAC\u9502\u80FD\u80A1\u4EFD\u6709\u9650\u516C\u53F8
WO_2026076808_A1

Resumen de: WO2026076808A1

The present application discloses a method for predicting the cycle performance of a battery, and a device and a storage medium. The method for predicting the cycle performance of a battery comprises: acquiring performance characteristics of a battery under prediction from early-stage usage data of said battery; and performing prediction processing on the performance characteristics on the basis of a pre-trained cycle performance prediction model to obtain a cycle performance index of said battery.

WIRELESS COMMUNICATION METHOD AND BATTERY MANAGEMENT SYSTEM BASED ON WIRELESS COMMUNICATION

NºPublicación:  WO2026077403A1 16/04/2026
Solicitante: 
SUNGIANT AUTOMOTIVE ELECTRONICS CO LTD [CN]
\u6B23\u6377\u5B89\u6C7D\u8F66\u7535\u5B50\u6709\u9650\u516C\u53F8
WO_2026077403_A1

Resumen de: WO2026077403A1

Provided in the present invention are a wireless communication method and a battery management system based on wireless communication. The method comprises: generating several communication paths on the basis of the communication quality between a plurality of cell management units and a battery management unit, wherein each cell management unit is used for collecting operating data of a battery pack and sending the operating data to the battery management unit; controlling the battery management unit to generate a control instruction on the basis of the received operating data, and forwarding the control instruction to the cell management unit by means of a communication path, wherein the battery management unit is in wireless communication with each cell management unit; and controlling the cell management unit to perform, on the basis of the received control instruction, cell management on a battery pack connected to the cell management unit, wherein the cell management unit is connected to at least one battery pack, and each battery pack comprises several cells. The present invention can improve the reliability of communication between a battery management unit and a battery management unit.

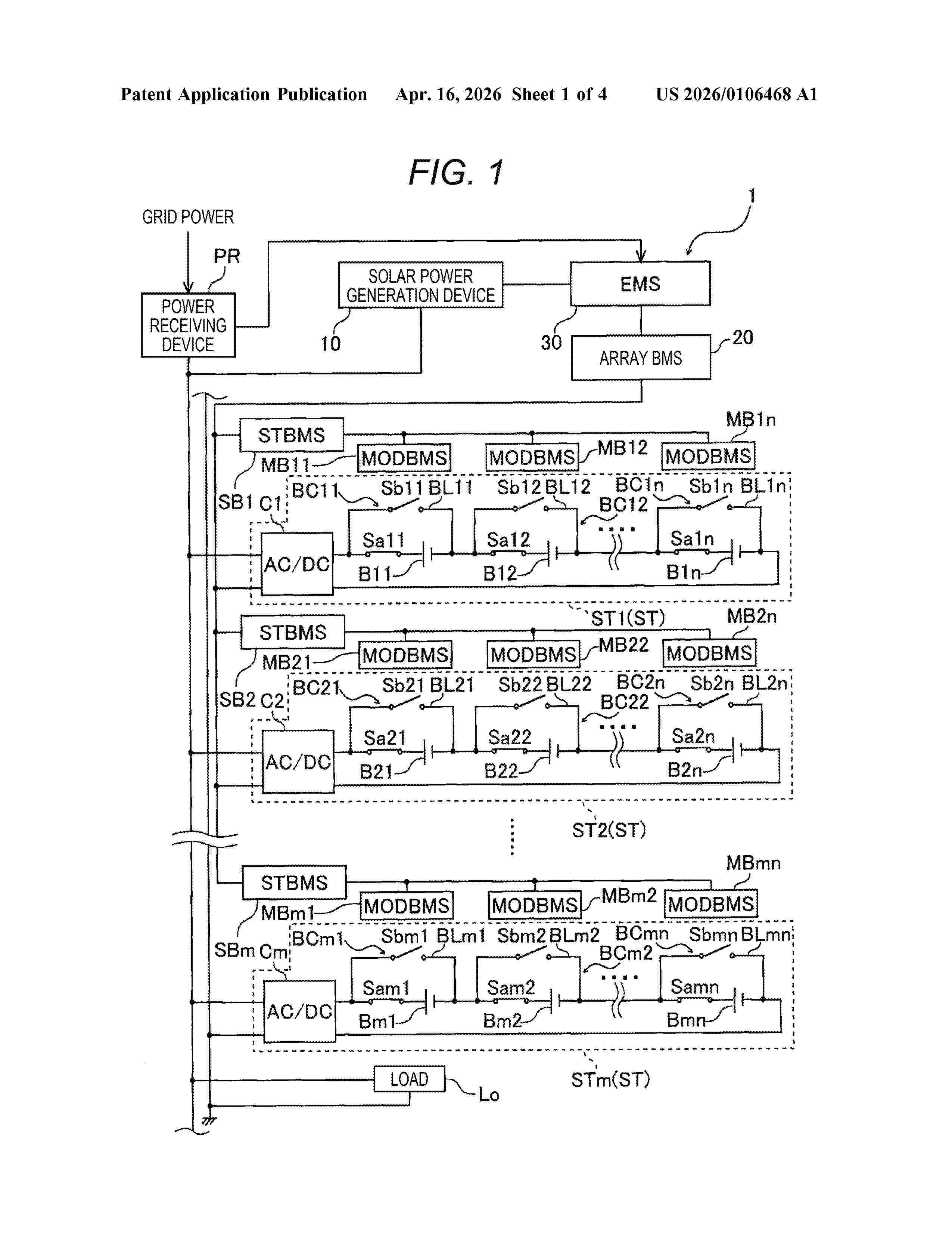
ELECTRICITY STORAGE SYSTEM

NºPublicación:  US20260106468A1 16/04/2026
Solicitante: 
YAZAKI CORP [JP]
US_20260106468_A1

Resumen de: US20260106468A1

0000 An electricity storage system includes a plurality of strings, a solar power generation device, and an array system that executes control of matching voltage, phase, and frequency of a slave string with those of a master string. The array system acquires information on a remaining discharge power capacity and a remaining charge power capacity of each of the plurality of strings, determines a string having the remaining discharge power capacity equal to or less than a first threshold and a string having the remaining charge power capacity equal to or less than a second threshold as a low-capacity string, and selects the master string based on a total value of the remaining discharge power capacity and the remaining charge power capacity of each master candidate string excluding the determined low-capacity string.

CURRENT SAMPLING METHOD AND APPARATUS, DEVICE, AND MEDIUM

NºPublicación:  WO2026076829A1 16/04/2026
Solicitante: 
ALTENERGY POWER SYSTEM INC [CN]
\u6631\u80FD\u79D1\u6280\u80A1\u4EFD\u6709\u9650\u516C\u53F8
WO_2026076829_A1

Resumen de: WO2026076829A1

A current sampling method and apparatus, a device, and a medium. The method comprises: outputting an interrupt control signal and a MOS transistor drive signal (S11), the interrupt control signal and the MOS transistor drive signal having a harmonic relationship; when a first counter corresponding to the interrupt control signal reaches a first preset count value, sampling an induction current (S12), the induction current being an induction current formed by an on-off state of a MOS transistor driven by the MOS transistor drive signal, and the induction current being at the midpoint of a rising edge or a falling edge when the first counter reaches the first preset count value. In this way, the stability of current sampling can be improved, so as to achieve more stable control.

Thermal management integrated module and new energy vehicle

NºPublicación:  AU2024287230A1 16/04/2026
Solicitante: 
ZHEJIANG LEAPMOTOR TECHNOLOGY CO LTD
AU_2024287230_A1

Resumen de: AU2024287230A1

A thermal management integrated module and a new energy vehicle provided with the thermal management integrated module are provided. The thermal management integrated module includes a refrigerant-side flow channel plate, a coolant-side flow channel plate, a refrigerant-side assembly, a coolant-side assembly, and a chiller. The coolant-side assembly is connected to the coolant-side flow channel plate. The coolant-side flow channel plate is arranged with a plurality of first flow channels. The refrigerant-side assembly and the chiller are respectively connected to the refrigerant-side flow channel plate. The refrigerant-side flow channel plate is arranged with a plurality of second flow channels. A thermal management integrated module and a new energy vehicle provided with the thermal management integrated module are provided. The thermal management integrated module includes a refrigerant-side flow channel plate, a coolant-side flow channel plate, a refrigerant-side assembly, a coolant-side assembly, and a chiller. The coolant-side assembly is connected to the coolant-side flow channel plate. The coolant-side flow channel plate is arranged with a plurality of first flow channels. The refrigerant-side assembly and the chiller are respectively connected to the refrigerant-side flow channel plate. The refrigerant-side flow channel plate is arranged with a plurality of second flow channels. ec e c ec e c

FLAME-RETARDANT FLEXIBLE SOLID ELECTROLYTE MATERIAL, AND PREPARATION METHOD THEREFOR AND USE THEREOF

NºPublicación:  WO2026077274A1 16/04/2026
Solicitante: 
DONGFENG MOTOR GROUP CO LTD [CN]
\u4E1C\u98CE\u6C7D\u8F66\u96C6\u56E2\u80A1\u4EFD\u6709\u9650\u516C\u53F8
WO_2026077274_A1

Resumen de: WO2026077274A1

A flame-retardant flexible solid electrolyte material, and a preparation method therefor and the use thereof. The preparation method comprises: dispersing a lithium salt in perfluoropolyether alcohol, so as to obtain a mixture; and using the mixture to modify a fluorine-containing polymer, so as to obtain a flame-retardant flexible solid electrolyte material.

SECONDARY BATTERY AND ELECTRONIC DEVICE

Nº publicación: WO2026077132A1 16/04/2026

Solicitante:

NINGDE AMPEREX TECHNOLOGY LTD [CN]
\u5B81\u5FB7\u65B0\u80FD\u6E90\u79D1\u6280\u6709\u9650\u516C\u53F8

WO_2026077132_A1

Resumen de: WO2026077132A1

A secondary battery and an electronic device, comprising an electrode assembly. The electrode assembly comprises a negative electrode sheet and a positive electrode sheet. The negative electrode sheet comprises a negative electrode current collector, a first negative electrode active layer, and a first negative electrode tab. Along a thickness direction of the negative electrode current collector, the negative electrode current collector comprises a first surface and a second surface opposite to each other, the first surface being provided with the first negative electrode active layer. The first negative electrode active layer is provided with a first groove, and the first negative electrode tab is disposed in the first groove and electrically connected to the negative electrode current collector. The positive electrode sheet comprises a positive electrode current collector and a first positive electrode active layer. The surface of the positive electrode current collector facing the first negative electrode active layer is provided with the first positive electrode active layer. A first insulating layer is provided between the positive electrode current collector and the first positive electrode active layer. Along a thickness direction of the positive electrode current collector, a projection of the first insulating layer onto the surface of the first negative electrode active layer at least partially overlaps with the first groove. The secondary battery and the electronic

traducir