Ministerio de Industria, Turismo y Comercio LogoMinisterior
 

Alerta

Resultados 1317 resultados
LastUpdate Última actualización 26/04/2026 [07:23:00]
pdfxls
Publicaciones de los últimos 15 días/Last 15 days publications (excluidas pubs. CN y JP /CN and JP pubs. excluded)
previousPage Resultados 650 a 675 de 1317 nextPage  

BATTERY MODULE AND BATTERY PACK, AND ELECTRIC DEVICE

NºPublicación:  US20260106334A1 16/04/2026
Solicitante: 
XIAMEN AMPACK TECHNOLOGY LTD [CN]
US_20260106334_A1

Resumen de: US20260106334A1

A battery module includes a cell assembly, a first component, a first insulation member, and a second component. The cell assembly includes a plurality of cells, and each cell includes a cell housing and an electrode terminal, the electrode terminal extends out from the cell housing. The cell assembly and the first component are arranged along a first direction, the first component has a first recess, and a portion of each electrode terminal is disposed in the first recess. At least a portion of the first insulation member is disposed in a gap between the electrode terminal and the first component. The second component is provided with a first through hole. The first recess includes a first opening facing the second component, and along the first direction, a projection of the first through hole overlaps with a projection of the first opening.

BATTERY ASSEMBLY AND BATTERY PACK

NºPublicación:  WO2026077189A1 16/04/2026
Solicitante: 
CALB GROUP CO LTD [CN]
\u4E2D\u521B\u65B0\u822A\u79D1\u6280\u96C6\u56E2\u80A1\u4EFD\u6709\u9650\u516C\u53F8
WO_2026077189_A1

Resumen de: WO2026077189A1

The present application relates to the technical field of new energy batteries, and provides a battery assembly and a battery pack. The battery assembly comprises: a plurality of cylindrical batteries, each cylindrical battery comprising a circumferential surface and end faces; a first cold plate and second cold plates, wherein the second cold plates are arranged perpendicular to the first cold plate, the second cold plates are arranged on both sides of the first cold plate, a plurality of arc-shaped recesses are arranged at intervals on two surfaces of each second cold plate, the cylindrical batteries are arranged on the second cold plates, the circumferential surfaces fit with the arc-shaped recesses, the end faces fit with the first cold plate, a first medium flow channel is provided in the first cold plate, and a second medium flow channel is provided in each second cold plate; a liquid collecting pipe used for communicating the second medium flow channels of the two second cold plates; and a liquid inlet and a liquid outlet respectively provided on the two second cold plates. The first cold plate cools the end faces of the cylindrical batteries, and the second cold plates cool the circumferential surfaces of the cylindrical batteries, thereby ensuring heat dissipation of the cylindrical batteries in an axial direction and a radial direction.

BATTERY PACK

NºPublicación:  WO2026077228A1 16/04/2026
Solicitante: 
CALB GROUP CO LTD [CN]
\u4E2D\u521B\u65B0\u822A\u79D1\u6280\u96C6\u56E2\u80A1\u4EFD\u6709\u9650\u516C\u53F8
WO_2026077228_A1

Resumen de: WO2026077228A1

The present application relates to the technical field of battery heat exchange. Specifically provided is a battery pack, comprising a battery module, a battery case, and a heat exchange plate arranged at the bottom of the battery case. A plurality of heat exchange channels are provided inside the heat exchange plate, and partition walls are provided between adjacent heat exchange channels; the partition walls include first partition walls having a relatively large thickness and second partition walls having a relatively small thickness. A fixing beam is connected to the top surface of the heat exchange plate; the extension direction of the fixing beam intersects the extension direction of the partition walls. In the present application, the heat exchange plate eliminates the longitudinal beam structure, and have at least some partition walls between a plurality of heat exchange channels thickened; this not only ensures structural strength to resist external forces, but also reduces space occupation compared with additional welding of longitudinal beams, thereby increasing the energy density in the battery case. In addition, the heat exchange plate in the present application can be formed by means of extrusion, making the manufacturing easier, improving production efficiency.

LITHIUM SECONDARY BATTERY, SPACER FOR LITHIUM SECONDARY BATTERY, SPACER MATERIAL, AND INTEGRATED PRODUCT OF SEPARATOR AND SPACER FOR LITHIUM SECONDARY BATTERY

NºPublicación:  US20260106323A1 16/04/2026
Solicitante: 
PANASONIC IP MAN CO LTD [JP]
US_20260106323_A1

Resumen de: US20260106323A1

0000 Disclosed is a lithium secondary battery including: a positive electrode; a negative electrode; a porous separator disposed between the positive electrode and the negative electrode; a spacer disposed between the separator and at least one of the positive electrode and the negative electrode; and a non-aqueous electrolyte having lithium ion conductivity, wherein, on the negative electrode, lithium metal is deposited during charging, and the lithium metal is dissolved during discharging, the spacer includes insulating particles, a binder resin, and a thickener, the insulating particles have a median diameter in a volume-based particle size distribution, of 1.0 μm to 10 μm, the binder resin includes a polymer compound having a phthalic acid skeleton, and the thickener includes at least one selected from the group consisting of carboxymethyl cellulose and a carboxymethyl cellulose salt. Accordingly, it is possible to obtain a lithium secondary battery including a spacer with excellent physical properties.

BATTERY MODULE LOCKING STRUCTURE AND METHOD

NºPublicación:  US20260103064A1 16/04/2026
Solicitante: 
GM GLOBAL TECH OPERATIONS LLC [US]
US_20260103064_A1

Resumen de: US20260103064A1

0000 Methods and systems for securing battery modules in vehicles are provided. A method includes providing a bay in the vehicle adjacent to a vehicle component; inserting the battery module into the bay, wherein the battery module has a wall and wherein the wall is spaced from the vehicle component by a gap; and actuating a locking implement to move from a passive configuration to an active configuration in which the locking implement extends between the battery module and vehicle component to prevent movement of the battery module relative to the vehicle component.

SEALING MATERIAL SUPPLY DEVICE

NºPublicación:  US20260103356A1 16/04/2026
Solicitante: 
TOYOTA MOTOR CO LTD [JP]
US_20260103356_A1

Resumen de: US20260103356A1

There is provided a sealing material supply device that continuously supplies a sealing material to an uncoated portion on an edge portion of a current collector on which an electrode is coated, the sealing material supply device including a pair of main body portions disposed so as to sandwich an old sealing material and a new sealing material, a welding portion provided in each of the main body portions, the welding portion being configured to weld the old sealing material and the new sealing material to each other, and a half-cut portion provided in each of the main body portions, the half-cut portion being configured to cut off a surplus portion of the old sealing material and the new sealing material.

BATTERY CASING, BATTERY PACK, AND METHOD OF MANUFACTURING BATTERY PACKS

NºPublicación:  US20260106293A1 16/04/2026
Solicitante: 
SAMSUNG SDI CO LTD [KR]
US_20260106293_A1

Resumen de: US20260106293A1

Disclosed herein are a battery casing, a battery pack, and a method of manufacturing battery packs. The battery casing is configured to house a plurality of battery cells, and includes a first casing, and a second casing coupled to the first casing at a bonding area by laser bonding. The first casing has a convex semicircular cross-sectional shape in the bonding area.

BATTERY PACK AND VEHICLE INCLUDING THE SAME

NºPublicación:  US20260106315A1 16/04/2026
Solicitante: 
HYUNDAI MOTOR CO LTD [KR]
KIA CORP [KR]
US_20260106315_A1

Resumen de: US20260106315A1

0000 A battery pack for a vehicle includes a cell assembly including stacked battery cells, where each battery cell has a vent defined at a side surface thereof facing in a width direction of the vehicle, and a side member that accommodates the cell assembly and covers a side surface portion of the cell assembly, where the side member has a venting path configured to outwardly discharge a material vented from the cell assembly.

BATTERY CAP ASSEMBLY

NºPublicación:  US20260106342A1 16/04/2026
Solicitante: 
GM GLOBAL TECH OPERATIONS LLC [US]
US_20260106342_A1

Resumen de: US20260106342A1

Vehicles, battery assemblies, and methods for fabricating batteries are provided. A method for fabricating a battery includes arranging a plurality of foils associated with a plurality of electrodes of a battery cell in a stack, wherein the stack has an outer side surface; locating a cap assembly over the stack, wherein the cap assembly has an outer side surface, and wherein the cap assembly includes a conductive terminal in electrical connection with a battery cell tab, wherein an insulative plate is located between the battery cell tab and the conductive terminal; joining the battery cell tab to the plurality of foils; and adhering an insulative tape to the outer side surfaces of the stack and the cap assembly.

BATTERY ASSEMBLY INCLUDING PRISMATIC CELL CAN HAVING A MULTI-LAYER MICA VENT COVER

NºPublicación:  US20260106313A1 16/04/2026
Solicitante: 
GM GLOBAL TECH OPERATIONS LLC [US]
US_20260106313_A1

Resumen de: US20260106313A1

0000 A battery cell including a prismatic cell can housing includes a plurality of walls forming a cell stack receiving zone, one of the plurality of walls including an opening having a first dimension. A vent is positioned across the opening. The vent is configured to open when pressure within the cell stack receiving zone exceeds a predetermined pressure value. An intercell connect board (ICB) is arranged on the one of the plurality of walls. The ICB includes a port that aligns with the opening. A multi-layer vent cover is supported on the ICB. The multi-layer vent cover includes an inner layer supported on the ICB and an outer layer supported on the inner layer. The inner layer includes a first frangible cover and the outer layer including a second frangible cover that is larger than the first frangible cover.

WIRE-THREADING STRUCTURE, BATTERY PACK, AND ENERGY STORAGE SYSTEM

NºPublicación:  WO2026076929A1 16/04/2026
Solicitante: 
SUNGROW POWER SUPPLY CO LTD [CN]
\u9633\u5149\u7535\u6E90\u80A1\u4EFD\u6709\u9650\u516C\u53F8
WO_2026076929_A1

Resumen de: WO2026076929A1

A wire-threading structure, a battery pack, and an energy storage system, relating to the technical field of battery modules. The wire-threading structure is arranged on a module side plate between two adjacent battery modules; the wire-threading structure comprises a body, a sealed box, and an encapsulant; the body is provided with an accommodating cavity and a first opening communicated with the accommodating cavity; the accommodating cavity is used for accommodating connection joints of wire harnesses of the two adjacent battery modules; the sealed box is connected to the body and covers the accommodating cavity; and the encapsulant covers the sealed box and seals the first opening. In the present application, the wires of the two adjacent battery modules are sealed, thereby improving the sealing performance at the connection of flexible circuit boards on two adjacent battery modules when flexible circuit boards on multiple battery modules need to be interconnected.

SECONDARY BATTERY, NEGATIVE ELECTRODE SHEET AND PREPARATION METHOD THEREFOR, AND ELECTRIC APPARATUS

NºPublicación:  WO2026077036A1 16/04/2026
Solicitante: 
CONTEMPORARY AMPEREX TECH CO LIMITED [CN]
\u5B81\u5FB7\u65F6\u4EE3\u65B0\u80FD\u6E90\u79D1\u6280\u80A1\u4EFD\u6709\u9650\u516C\u53F8
WO_2026077036_A1

Resumen de: WO2026077036A1

A secondary battery, a negative electrode sheet and a preparation method therefor, and an electric apparatus. The secondary battery comprises: a positive electrode, a negative electrode, and a separator located between the positive electrode and the negative electrode. The negative electrode comprises a negative electrode active material and a lithium-containing conductive agent. The negative electrode active material comprises graphite, and the lithium-containing conductive agent comprises C atoms and Li atoms. In the lithium-containing conductive agent, the atomic ratio of the C atoms to the Li atoms is less than or equal to 6.

SYSTEM TO QUANTIFY DEGRADATION OF A BATTERY CELL TO PREDICT CELL PERFORMANCE METRICS

NºPublicación:  US20260104469A1 16/04/2026
Solicitante: 
GM GLOBAL TECH OPERATIONS LLC [US]
US_20260104469_A1

Resumen de: US20260104469A1

A method for determining degradation of a battery cell with a lithium-manganese-rich (LMR) cathode is provided. The method includes measuring open circuit voltage (OCV) of a battery cell during cycling; predicting OCV shifting; determining OCV hysteresis changes of the battery cell; determining cell voltage decay with an accurate state of charge (SOC); measuring carbon dioxide (CO2) within the battery cell; measuring gas compositions within the battery cell; estimating a loss of cyclable active material (LAM); fitting the set of reaction rate constants to a rate limited kinetic model and a diffusion limited model; determining solid electrolyte interphase (SEI) and metallic Li thicknesses on the anode and cathode electrolyte interphase (CEI) thickness on the cathode; determining cell resistance and voltage drop; and predicting performance metrics using an electrochemical model to obtain a remaining useful battery cell life, battery cell state of health (SOH), cell voltage evolution, and cell resistance and impedance.

CYLINDRICAL BATTERY CELL CAPABLE OF TOP VENTING AND BOTTOM COOLING

NºPublicación:  WO2026079573A1 16/04/2026
Solicitante: 
LG ENERGY SOLUTION LTD [KR]
\uC8FC\uC2DD\uD68C\uC0AC \uC5D8\uC9C0\uC5D0\uB108\uC9C0\uC194\uB8E8\uC158
WO_2026079573_A1

Resumen de: WO2026079573A1

Provided is a battery cell capable of venting through an upper portion. The battery cell comprises: a housing provided with a side wall extending in an axial direction and an end wall which is connected to the end portion of the side wall in the axial direction and extends in a radial direction; and an electrode assembly accommodated in the housing. An electrode terminal electrically connected to the electrode assembly is installed on the end wall to be electrically insulated from the end wall. An insulator is disposed between the end wall and the electrode assembly. A vent notch portion extending along the circumferential direction is provided in the end wall. The insulator comprises: an inner loop portion and an outer loop portion which extend along the circumferential direction respectively inward and outward of the vent notch portion in the radial direction; and a radial direction extension portion extending between the inner loop portion and the outer loop portion in the radial direction so as to connect same, wherein the inner loop portion is restricted in the axial direction with respect to the end wall.

METHOD FOR PREDICTING PERFORMANCE OF SECONDARY BATTERY FROM CATHODE ACTIVE MATERIAL, CATHODE ACTIVE MATERIAL, CATHODE, AND SECONDARY BATTERY

NºPublicación:  WO2026079719A1 16/04/2026
Solicitante: 
LG ENERGY SOLUTION LTD [KR]
\uC8FC\uC2DD\uD68C\uC0AC \uC5D8\uC9C0\uC5D0\uB108\uC9C0\uC194\uB8E8\uC158
WO_2026079719_A1

Resumen de: WO2026079719A1

The present invention relates to a method for predicting performance of a secondary battery, the method comprising the steps of: manufacturing a cathode comprising a cathode active material comprising an overlithiated manganese-rich oxide containing 50 mol% or more but less than 100 mol% of manganese on the basis of the total metal content excluding lithium; preparing a cathode sample by milling the cathode; obtaining a cross-sectional image by photographing the cathode sample and a cross-section with a scanning electron microscope; selecting a cathode active material particle region from the cross-sectional image, followed by measuring an average pore area ratio according to an ECD value range of the cross-section of the selected cathode active material particle; and predicting performance of a secondary battery comprising the cathode from the average pore area ratio according to the ECD value range of the cross-section of the cathode active material particle, wherein the ECD represents the diameter of a circle having the same area as the cross-sectional area of the particle, and the pore area ratio represents an area ratio of pores to the cross-sectional area of the cathode active material particle.

METHOD FOR TRACING MIGRATION PATH OF MIGRATING IONS IN SOLID-STATE BATTERY

NºPublicación:  WO2026077415A1 16/04/2026
Solicitante: 
INST PHYSICS CAS [CN]
\u4E2D\u56FD\u79D1\u5B66\u9662\u7269\u7406\u7814\u7A76\u6240
WO_2026077415_A1

Resumen de: WO2026077415A1

A method for tracing the migration path of migrating ions in a solid-state battery. The method comprises the following steps: (1) adding an ion donor material to a solid-state battery, and then subjecting the solid-state battery to a charge and discharge cycle, wherein the solid-state battery comprises migrating ions, the ion donor material is used for providing exogenous ions, the exogenous ions and the migrating ions have the same valence state and similar ion radii, and the atomic number of the exogenous ions is higher than that of the migrating ions; and (2) subjecting the solid-state battery which has completed a charge and discharge cycle to characterization analysis, so as to determine the migration path of the exogenous ions, and using the migration path as the migration path of the migrating ions in the solid-state battery. By means of using the tracing method, the migration path of migrating ions in a solid-state battery, especially in a positive electrode and a solid electrolyte of the solid-state battery, can be graphically characterized.

POSITIVE ELECTRODE ACTIVE MATERIAL AND BATTERY

NºPublicación:  WO2026079124A1 16/04/2026
Solicitante: 
TOYOTA JIDOSHA KK [JP]
\u30C8\u30E8\u30BF\u81EA\u52D5\u8ECA\u682A\u5F0F\u4F1A\u793E
WO_2026079124_A1

Resumen de: WO2026079124A1

A positive electrode active material according to the present invention includes lithium manganese phosphate. The lithium manganese phosphate has a crystal structure that belongs to the Pnma space group. In the crystal structure, manganese sites are doped with a first dopant and a second dopant. The first dopant and the second dopant have different valences from one another. The first dopant has an ionic radius of less than 0.830 Å (83 pm). The second dopant has an ionic radius exceeding 0.645 Å (64.5 pm).

COATING DEVICE, METHOD FOR MANUFACTURING A SEPARATOR USING THE SAME, AND SEPARATOR FOR LITHIUM SECONDARY BATTERY MANUFACTURED THEREBY

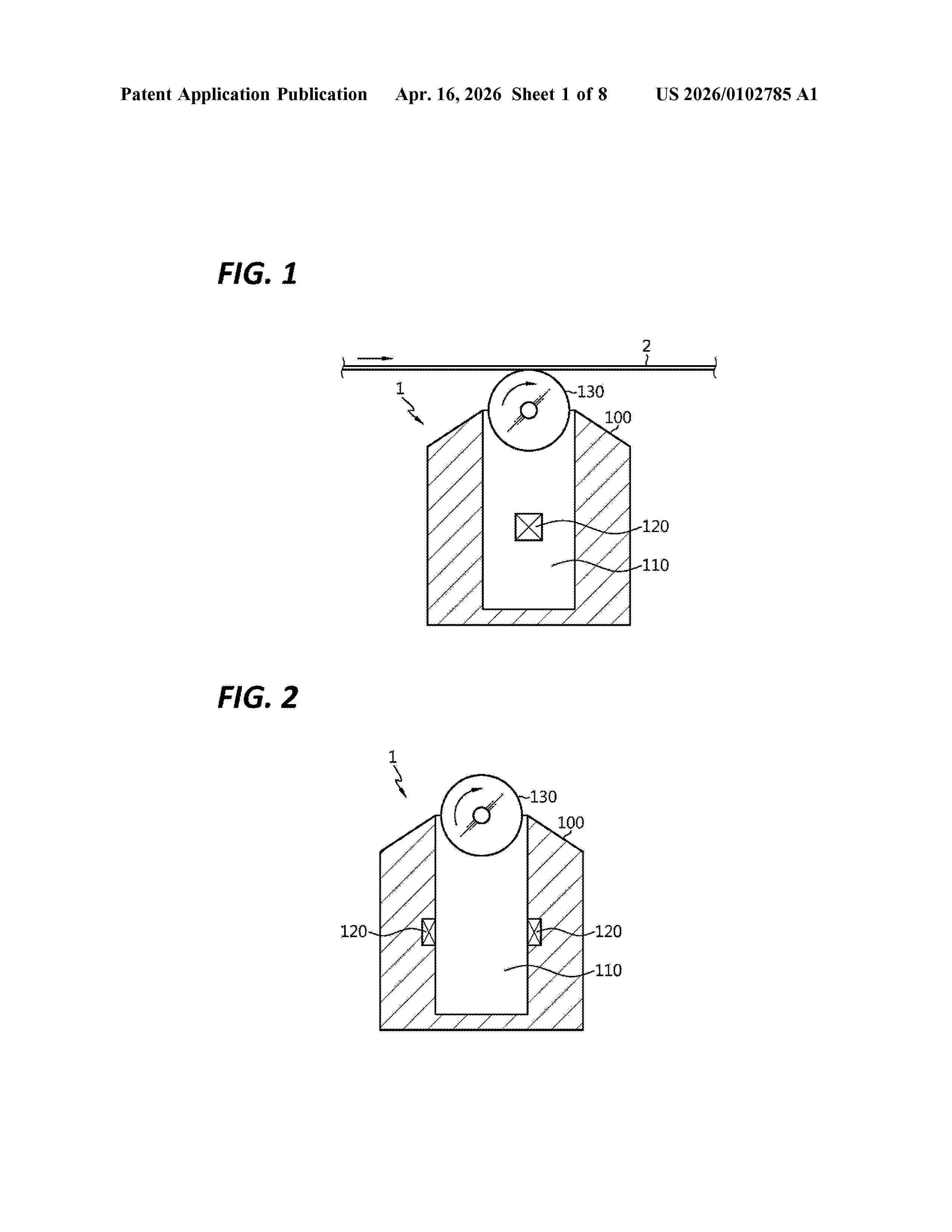
NºPublicación:  US20260102785A1 16/04/2026
Solicitante: 
LG ENERGY SOLUTION LTD [KR]
US_20260102785_A1

Resumen de: US20260102785A1

0000 The present invention provides a coating device including: a coater head; an accommodation chamber that is located inside the coater head and accommodates a coating solution; an ultrasonic generator that is located inside the coater head and applies ultrasonic waves to the coating solution accommodated in the accommodation chamber; and a coating bar that transfers the coating solution from the accommodation chamber onto at least one surface of a substrate being transported in one direction.

COMMUNICATION NETWORK-BASED FIRE DETECTION SYSTEM FOR DETECTING FIRE OF ELECTRIC VEHICLE AND OPERATING METHOD THEREOF

NºPublicación:  WO2026079801A1 16/04/2026
Solicitante: 
KINSTEC INC [KR]
\uC8FC\uC2DD\uD68C\uC0AC \uD0A8\uC2A4\uD14D
WO_2026079801_A1

Resumen de: WO2026079801A1

Disclosed are a communication network-based fire detection system for detecting a fire of an electric vehicle and an operating method thereof. The system according to the present invention comprises: a beacon which generates communication states with a plurality of neighboring access points on the basis of a beacon signal, collects state information related to the state of an electric vehicle measured by a measurement module pre-installed in the electric vehicle, and transmits the state information to the plurality of access points via a communication module; and the plurality of access points which establish the communication states with the beacon, receive the state information transmitted from the beacon, and transmit the received state information to a server of the fire detection system, wherein the state information about the electric vehicle is acquired from the plurality of access points.

PRINTER

NºPublicación:  US20260106483A1 16/04/2026
Solicitante: 
BROTHER IND LTD [JP]
US_20260106483_A1

Resumen de: US20260106483A1

A printer is configured to perform printing on a medium. The printer includes a printing unit, a power supply, processor, and a memory. The printing unit is disposed inside a printer. The power supply circuit is disposed inside the printer, and includes a power supply line and a power storage device. The power supply line is configured to supply power from a power supply to the printing unit. The power storage device is configured to charge and discharge a predetermined power. The memory stores computer-readable instructions that, when executed by the processor, instruct the processor to perform a process. The process includes performing connecting processing to connect the power storage device in series with the power supply in the power supply line, by controlling the power supply circuit.

INTER-CELL MEMBER UNIT, INTER-CELL MEMBER, AND BATTERY UNIT

NºPublicación:  WO2026079418A1 16/04/2026
Solicitante: 
NATURE ARCH INC [JP]
\uFF2E\uFF41\uFF54\uFF55\uFF52\uFF45\uFF21\uFF52\uFF43\uFF48\uFF49\uFF54\uFF45\uFF43\uFF54\uFF53\u682A\u5F0F\u4F1A\u793E
WO_2026079418_A1

Resumen de: WO2026079418A1

This inter-cell member unit comprises a plurality of inter-cell members each disposed between two adjacent battery cells in a first direction on a prescribed plane in a cell stack comprising a plurality of battery cells arranged in one row or a plurality of rows along the first direction. The inter-cell members each extend along a second direction orthogonal to the first direction on the prescribed plane, and protrude from the cell stack. Each of the end portions of the inter-cell members in the second direction: abuts or is connected to a frame part that is disposed outside the cell stack in the second direction and that extends along the first direction; or has a gap between the end portion and the frame part. The inter-cell members each include an elastic beam part having elasticity that allows deformation in the first direction with expansion and contraction of the battery cells, and also having strength in the second direction that is higher than that of the frame part.

METHOD FOR PURIFYING BIS(FLUOROSULFONYL)IMIDE, PURIFIED BIS(FLUOROSULFONYL)IMIDE, AND BIS(FLUOROSULFONYL)IMIDE SALT

NºPublicación:  WO2026077233A1 16/04/2026
Solicitante: 
JIUJIANG TINCI MATERIALS TECH CO LTD [CN]
\u4E5D\u6C5F\u5929\u8D50\u9AD8\u65B0\u6750\u6599\u6709\u9650\u516C\u53F8
WO_2026077233_A1

Resumen de: WO2026077233A1

Provided in the present application are a method for purifying bis(fluorosulfonyl)imide, purified bis(fluorosulfonyl)imide, and lithium bis(fluorosulfonyl)imide. The purification method comprises an operation of removing impurities using an impurity removal agent, the impurity removal agent comprising a bis(fluorosulfonyl)imide salt; mixing the impurity removal agent with bis(fluorosulfonyl)imide to be purified, so that fluorosulfonic acid in the bis(fluorosulfonyl)imide to be purified and the bis(fluorosulfonyl)imide salt undergo an ion exchange reaction to obtain a liquid phase mixture; separating the liquid phase mixture to obtain purified bis(fluorosulfonyl)imide, a molar ratio of bis(fluorosulfonyl)imide anion to fluorosulfonate anion is 1: 1 or more; and controlling a reaction temperature to be 20 °C or more in the step of the bis(fluorosulfonyl)imide salt and the fluorosulfonic acid undergoing the ion exchange reaction.

Batterie

NºPublicación:  DE102025134585A1 16/04/2026
Solicitante: 
FEV GROUP GMBH [DE]
DE_102025134585_PA

Resumen de: DE102025134585A1

Die erfindungsgemäße Batterie umfasst eine Montageplatte (3), mehrere auf der Montageplatte angeordnete Batteriezellen (2), und ein mit der Montageplatte thermisch verbundenes Kühlsystem (4) zum Kühlen der Batteriezellen, wobei die Montageplatte eine Struktur aus einem thermisch leitenden ersten Material (5) und einem thermisch isolierenden zweiten Material (6) umfasst, wobei die Struktur so ausgebildet ist, dass die Batteriezellen (2) über das erste Material (5) mit dem Kühlsystem thermisch verbunden sind, und benachbarte Batteriezellen (2) einer Batteriezelle durch das zweite Material von dem diese Batteriezelle thermisch verbindenden ersten Material (5) thermisch getrennt sind.

POSITIVE ELECTRODE FOR ALL-SOLID-STATE BATTERY AND ALL-SOLID-STATE BATTERY COMPRISING SAME

NºPublicación:  US20260106152A1 16/04/2026
Solicitante: 
LG ENERGY SOLUTION LTD [KR]
US_20260106152_A1

Resumen de: US20260106152A1

Disclosed is a positive electrode for all-solid-state battery and an all-solid-state battery comprising same. More specifically, the positive electrode active material layer of the positive electrode comprises a positive electrode active material, a sulfide-based solid electrolyte, and a conductive material, wherein the particle diameter of the conductive material is between the particle diameter of the positive electrode active material and the particle diameter of the sulfide-based solid electrolyte, which may thereby increasing the contact interface between the positive electrode active material and the sulfide-based solid electrolyte while decreasing the porosity of the positive electrode as a whole, so that the conductivity of the positive electrode can be maintained and the effect of increasing the energy density of the cell without a decrease in cell performance can be achieved.

BATTERY CELL AND TERMINAL DEVICE

Nº publicación: WO2026077125A1 16/04/2026

Solicitante:

NINGDE AMPEREX TECHNOLOGY LTD [CN]
\u5B81\u5FB7\u65B0\u80FD\u6E90\u79D1\u6280\u6709\u9650\u516C\u53F8

WO_2026077125_A1

Resumen de: WO2026077125A1

A battery cell and a terminal device. The battery cell comprises an electrode assembly, wherein the electrode assembly comprises a first electrode sheet, a separator, and a second electrode sheet that are wound. The electrode assembly comprises a first straight section, a first bent section, a second straight section, and a second bent section that are connected in sequence, wherein the first straight section and the second straight section are arranged opposite to each other along a first direction, and the first bent section and the second bent section are arranged opposite to each other along a second direction. The first electrode sheet comprises a first current collector and a first active material layer, and along the thickness direction of the first current collector, the first active material layer is arranged on one side of the first current collector. Multiple first grooves are formed on the surface of the first active material layer facing away from the first current collector. When viewed along the second direction, a first reference line passes through the first bent section along a third direction, and multiple first grooves on at least one layer of the first bent section intersect with the first reference line at first intersection points, wherein the number of first intersection points is N1, and 60≤N1/W1≤1000. The battery facilitates reduction of the risk of lithium plating.

traducir