Ministerio de Industria, Turismo y Comercio LogoMinisterior
 

Alerta

Resultados 1111 resultados
LastUpdate Última actualización 26/01/2026 [07:08:00]
pdfxls
Publicaciones de los últimos 15 días/Last 15 days publications (excluidas pubs. CN y JP /CN and JP pubs. excluded)
previousPage Resultados 625 a 650 de 1111 nextPage  

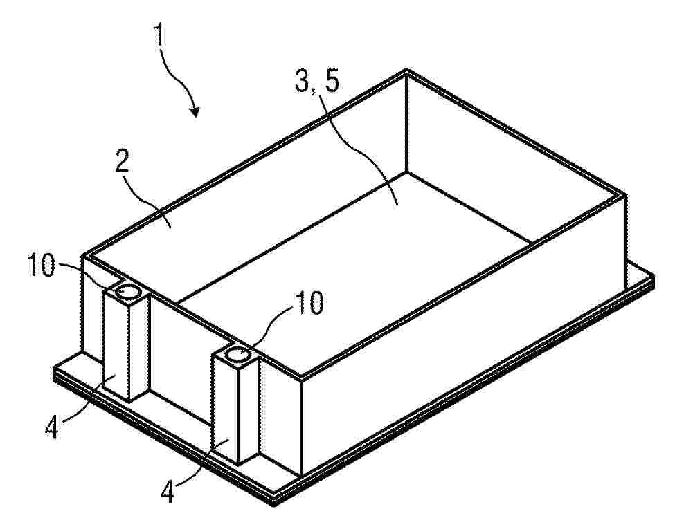
Batteriegehäuse

NºPublicación:  DE102024119627A1 15/01/2026
Solicitante: 
DAIMLER TRUCK AG [DE]
Daimler Truck AG
DE_102024119627_PA

Resumen de: DE102024119627A1

Die Erfindung betrifft ein Batteriegehäuse (1), umfassend einen Rahmen (2) und eine Bodenplatte (3) mit einer integrierten Kühlplatte (5), die aus Strangpressprofilen gebildet ist, wobei im Rahmen (2) mindestens zwei Kühlmittelleitungen (4) integriert sind, wobei der Rahmen (2) und die Kühlmittelleitungen (4) einstückig durch Druckguss gebildet sind, wobei im Rahmen (2) ein Verteiler für ein Kühlmedium integriert ist, der einen Einlass (6) und einen Auslass (7) aufweist, wobei zwischen dem Einlass (6) und dem Auslass (7) in der Kühlplatte (5) mehrere zueinander parallel geschaltete Kühlmittelkanäle (9) angeordnet sind, wobei die Kühlplatte (5) mit dem Rahmen (2) verschweißt ist.

Zelltrennelement mit Brandschutzschicht sowie Batteriemodul

NºPublicación:  DE102024119611A1 15/01/2026
Solicitante: 
AUDI AG [DE]
AUDI Aktiengesellschaft
DE_102024119611_PA

Resumen de: DE102024119611A1

Die Erfindung betrifft ein Zelltrennelement (10) zur Anordnung zwischen zwei Batteriezellen (34) eines Zellstapels (33), wobei das Zelltrennelement (10) zumindest in einer ersten Richtung (y) elastisch komprimierbar ist und mindestens eine Brandschutzschicht (22) umfasst. Dabei umfasst das Zelltrennelement (10) eine flexible Außenhülle (12), die einen Innenraum (14) einschließt, in dem sich ein Fluid (26) befindet, wobei die mindestens eine Brandschutzschicht (22) im Innenraum (14) angeordnet ist und ein intumeszierendes Material (24) umfasst.

BATTERY SAFETY SYSTEM

NºPublicación:  WO2026013388A1 15/01/2026
Solicitante: 
ARTEMIS TECH LTD [GB]
ARTEMIS TECHNOLOGIES LTD
WO_2026013388_PA

Resumen de: WO2026013388A1

There is provided a system for improving the safety of a battery. The system is directed towards a first passive cooling system that comprises a support structure and a cooling circuit that comprises a plurality of cooling plates arranged in parallel. The support structure comprises a chassis member that houses a plurality of battery modules and a thermal bridge member that is in thermal communication with the chassis member and cooling plates. Accordingly, thermal energy emitted by a battery module is removed by the first passive cooling system without propagating to neighbouring battery modules.

BATTERY PACK AND ELECTRICAL DEVICE

NºPublicación:  WO2026012078A1 15/01/2026
Solicitante: 
SUNWODA MOBILITY ENERGY TECH CO LTD [CN]
\u6B23\u65FA\u8FBE\u52A8\u529B\u79D1\u6280\u80A1\u4EFD\u6709\u9650\u516C\u53F8
WO_2026012078_PA

Resumen de: WO2026012078A1

Provided in the embodiments of the present application are a battery pack and an electrical device. The battery pack comprises a housing, a flexible cold plate and a plurality of battery cells; the housing is provided with a cavity; the flexible cold plate is arranged in the cavity; the housing fits with the battery cells, and the flexible cold plate abuts against the inner wall of the cavity; the flexible cold plate is provided with a liquid cooling channel for conveying a cooling medium. When a battery cell undergoes thermal expansion, a cooling medium is introduced into the liquid cooling channel of the flexible cold plate to allow same to expand. The present application can improve the cooling and heat dissipation effect on the battery cells, and the housing provides protection for the flexible cold plate, thereby preventing the flexible cold plate from being prone to deformation caused by compression due to direct contact with the battery cells.

BATTERY, ENERGY STORAGE APPARATUS, AND ENERGY STORAGE SYSTEM

NºPublicación:  WO2026012054A1 15/01/2026
Solicitante: 
SHENZHEN HITHIUM ENERGY STORAGE TECH CO LTD [CN]
XIAMEN HITHIUM ENERGY STORAGE TECH CO LTD [CN]
\u6DF1\u5733\u6D77\u8FB0\u50A8\u80FD\u79D1\u6280\u6709\u9650\u516C\u53F8,
\u53A6\u95E8\u6D77\u8FB0\u50A8\u80FD\u79D1\u6280\u80A1\u4EFD\u6709\u9650\u516C\u53F8
WO_2026012054_PA

Resumen de: WO2026012054A1

Provided are a battery, an energy storage apparatus, and an energy storage system. The battery comprises: an electrode assembly, the electrode assembly comprising a positive electrode sheet, a separator, and a negative electrode sheet; an electrolyte, the electrolyte comprising an electrolyte salt and an organic solvent, the organic solvent comprising a cyclic carbonate and a chain carbonate, and a mass ratio of the cyclic carbonate to the chain carbonate being A; and a casing assembly, the casing assembly comprising a first end cover assembly, a casing body, and a second end cover assembly, the first end cover assembly comprising a first top cover and a first explosion-proof valve connected to each other, and the first top cover being electrically connected to the positive electrode sheet; the second end cover assembly comprises a second top cover, a negative terminal, and a second explosion-proof valve, the negative terminal being electrically connected to the negative electrode sheet; an area ratio of the first explosion-proof valve to the second explosion-proof valve is B; and the battery satisfies the relational expression: 2.23≤B/A≤17.65.

NEGATIVE ELECTRODE MATERIAL AND LITHIUM-ION BATTERY

NºPublicación:  WO2026012510A1 15/01/2026
Solicitante: 
BTR NEW MAT GROUP CO LTD [CN]
\u8D1D\u7279\u745E\u65B0\u6750\u6599\u96C6\u56E2\u80A1\u4EFD\u6709\u9650\u516C\u53F8
WO_2026012510_PA

Resumen de: WO2026012510A1

The present invention belongs to the technical field of battery negative electrode materials. Disclosed are a negative electrode material and a lithium-ion battery. The negative electrode material comprises a matrix and an active substance, wherein the matrix has pores, and the active substance is at least partially distributed in the pores of the matrix. In addition, the negative electrode material satisfies the following inequation, wherein A is the pore volume of the negative electrode material, with the unit thereof being cm3/g; and B is the average pore size of the negative electrode material, with the unit thereof being nm. By means of the negative electrode material provided in the embodiments of the present invention, an excellent first-day gas production quantity can be achieved, and the particle strength of the negative electrode material can be improved, thereby reducing the erosion of water molecules on an active substance, such as silicon particles, in the negative electrode material, reducing the first-day gas production quantity of the negative electrode material, and improving the cycling stability of the negative electrode material.

WELDING POSITIONING TOOL AND BATTERY PRODUCTION LINE

NºPublicación:  WO2026011540A1 15/01/2026
Solicitante: 
CONTEMPORARY AMPEREX TECH CO LIMITED [CN]
\u5B81\u5FB7\u65F6\u4EE3\u65B0\u80FD\u6E90\u79D1\u6280\u80A1\u4EFD\u6709\u9650\u516C\u53F8
WO_2026011540_PA

Resumen de: WO2026011540A1

Provided are a welding positioning tool and a battery production line. The welding positioning tool comprises: at least one welding carrier (10), comprising a pressing recess (11), a positioning recess (12) and a hollow area (13), the hollow area (13) being positioned between the positioning recess (12) and the pressing recess (11), the positioning recess (12) being used for placing a main body portion of an electrode assembly (124), the pressing recess (11) being used for placing one part of a connection piece (127), and the hollow area (13) being used for placing the other part of the connection piece and a tab of the electrode assembly (124); and a frame (20), comprising a working panel (23) and two trays (21), the two trays (21) being distributed on two sides of the working panel (23), and the two trays (21) and the working panel (23) being all used for placing the welding carrier (10), wherein in the vertical direction, the vertical distance from the trays (21) to the working panel (23) is adjustable. The welding positioning tool and the battery production line have the advantage of being applicable to limited spaces.

CYLINDRICAL BATTERY CELL, BATTERY AND ELECTRIC DEVICE

NºPublicación:  WO2026011529A1 15/01/2026
Solicitante: 
CONTEMPORARY AMPEREX TECH CO LIMITED [CN]
\u5B81\u5FB7\u65F6\u4EE3\u65B0\u80FD\u6E90\u79D1\u6280\u80A1\u4EFD\u6709\u9650\u516C\u53F8
WO_2026011529_PA

Resumen de: WO2026011529A1

A cylindrical battery cell (20), a battery (100) and an electric device. The cylindrical battery cell (20) comprises: an electrode assembly (21) of a wound structure, wherein the electrode assembly (21) comprises a first tab (212a); a housing (22), which defines an accommodating space inside for accommodating the electrode assembly (21); and a current collector component (23), which comprises a first connection portion (231) and a second connection portion (232) that are connected to each other, wherein the second connection portion (232) is connected to the outer edge of the first connection portion (231) and protrudes in the direction away from the electrode assembly (21), the first connection portion (231) is electrically connected to the first tab (212a), and the second connection portion (232) is directly connected to the housing (22); the first connection portion (231) has at least one first notch (231a) recessed from the outer edge toward the center of the first connection portion (231), the first notch (231a) being used for communicating spaces on both sides of the first connection portion (231) in the direction of thickness. By means of the provision of the first notch (231a) on the current collector component (23), the gas venting efficiency of the cylindrical battery cell (20) is improved.

BATTERY RACK

NºPublicación:  WO2026011503A1 15/01/2026
Solicitante: 
EVE ENERGY STORAGE CO LTD [CN]
\u6B66\u6C49\u4EBF\u7EAC\u50A8\u80FD\u6709\u9650\u516C\u53F8
WO_2026011503_PA

Resumen de: WO2026011503A1

A battery rack, comprising a rack and a wire fastening member (3), wherein the rack is configured to support battery packs, and the wire fastening member (3) is detachably connected to the rack; the wire fastening member comprises a base (31) and at least two wire fastening rods (32); the base (31) is connected to the rack; all the wire fastening rods (32) are arranged on the base at intervals in a first direction; the wire fastening rods (32) extend in a second direction; the wire fastening rods (32) are configured for connection of connection wires of the battery packs thereto; the first direction is at an angle to the second direction.

Verfahren zum Verhindern einer unautorisierten Nutzung von Batteriezellen einer Batterie

NºPublicación:  DE102024206587A1 15/01/2026
Solicitante: 
VOLKSWAGEN AG [DE]
VOLKSWAGEN AKTIENGESELLSCHAFT
DE_102024206587_PA

Resumen de: DE102024206587A1

Die vorgestellte Erfindung betrifft ein Verfahren (100) zum Verhindern einer unautorisierten Nutzung von Batteriezellen eine Batterie.Das Verfahren (100) umfasst:- Ermitteln (101), ob eine autorisierte Nutzung der Batterie vorliegt und- Einstellen (103) eines Entladungszustands an einer mit jeweiligen Batteriezellen (201) der Batterie gekoppelten Schaltung (203), für den Fall einer unautorisierten Nutzung der Batterie,wobei in dem Entladungszustand die Schaltung (203) einen elektrischen Widerstand bereitstellt, der zumindest einen Teil der Batteriezellen (201) in einen tiefenentladenen Zustand bringt, um diese unbrauchbar zu machen.

VERFAHREN ZUM HERSTELLEN EINER BATTERIEZELLE

NºPublicación:  DE102024120055A1 15/01/2026
Solicitante: 
BAYERISCHE MOTOREN WERKE AG [DE]
Bayerische Motoren Werke Aktiengesellschaft
DE_102024120055_PA

Resumen de: DE102024120055A1

Es wird ein Verfahren zum Herstellen einer Batteriezelle (1), insbesondere für eine Batterie für ein Elektrofahrzeug beschrieben. Zur Herstellung der Batteriezelle (1) wird ein Elektrodenwickel (2) mit einer Anode und einer Kathode bereitgestellt, wobei die Anode eine Trägerfolie mit einer Anodenbeschichtung (8) und die Kathode eine Trägerfolie mit einer Kathodenbeschichtung (7) aufweist. Außerdem wird ein zylindrisches Zellgehäuse (5) bereitgestellt, wobei das Zellgehäuse (5) eine stirnseitige Öffnung aufweist und in einem Randbereich der Öffnung eine umlaufende Sicke (6) aufweist, welche sich radial nach innen erstreckt. Der Elektrodenwickel (2) wird in dem Zellgehäuse (5) angeordnet, und das Zellgehäuse (5) verschlossen. Es wird nach dem Verschließen eine Höhe des Zellgehäuses (5) eingestellt, wobei das Zellgehäuse (5) dazu in axialer Richtung bis zu einer vorgegebenen Höhe zusammengedrückt wird, wobei sich dabei die Sicke (6) derart verformt, dass sie auf den Elektrodenwickel (2) in dem Zellgehäuse (5) drückt, wobei dabei die Anodenbeschichtung (8) zumindest bereichsweise zusammengedrückt wird.

Batterieeinheit für ein elektrisch angetriebenes Fahrzeug, Elektrofahrzeug und Ladestation, die eine Batterieeinheit aufweisen, und Verfahren zum Betrieb einer Batterieeinheit

NºPublicación:  DE102024206544A1 15/01/2026
Solicitante: 
SCHAEFFLER TECHNOLOGIES AG [DE]
Schaeffler Technologies AG & Co. KG
DE_102024206544_PA

Resumen de: DE102024206544A1

Batterieeinheit (1) für ein elektrisch angetriebenes Fahrzeugaufweisend- eine Anzahl von Batteriemodulen (2), die einen Gleichstrom bereitstellen,- einen Wechselrichter (11), der dazu ausgebildet ist, einen Gleichstrom aus den Batteriemodulen (2) in einen Wechselstrom für einen Elektromotor (3) umzuwandeln,- eine Anzahl von ersten Anschlüssen (7), die dazu ausgebildet sind, die Batterieeinheit (1) mit dem Elektromotor (3) zu verbinden,- eine Anzahl von zweiten Anschlüssen (8), die dazu ausgebildet sind, die Batterieeinheit (1) mit einer Ladeeinheit (6) zu verbinden,- eine Anzahl von dritten Anschlüssen (9), die dazu ausgebildet sind, die Batterieeinheit (1) mit externen Induktivitäten zu verbinden, wobei die Batteriemodule (2), der Wechselrichter (11) und die Anschlüsse in einem gemeinsamen Gehäuse (20) angeordnet sind.

Batteriesystem mit beheizbarer Batterie und Kühlelement

NºPublicación:  DE102024206559A1 15/01/2026
Solicitante: 
VOLKSWAGEN AG [DE]
VOLKSWAGEN AKTIENGESELLSCHAFT
DE_102024206559_PA

Resumen de: DE102024206559A1

Ein Batteriesystem umfasst eine Batterie, die mindestens ein Batterieelement und eine das mindestens eine Batterieelement umgebende Umhüllung aufweist. Das Batteriesystem umfasst weiterhin mindestens eine die Batterie umgebende, elektrische Spule sowie mindestens ein Kühlelement, das die Spule in mindestens einem Abschnitt kontaktiert.

SINTERED MEMBRANE, SOLID-STATE ELECTROLYTE, BATTERY, AND METHODS OF MAKING THE SAME

NºPublicación:  WO2026015439A1 15/01/2026
Solicitante: 
CORNING INCORPORATED [US]
CORNING INCORPORATED
WO_2026015439_PA

Resumen de: WO2026015439A1

A sintered membrane is a ceramic article having a primary crystal phase including lithium-aluminum-titanium-phosphate crystals and a secondary crystal phase including anatase or lithium-titanium-oxyphosphate crystals. In aspects, the sintered membrane can have a closed porosity of less than or equal to 5%. In aspects, the primary crystal phase can be from 95% to 100% of a volume of the ceramic article, and the secondary crystal phase can be from greater than 0% to 5% of the volume of the ceramic article. In aspects, the sintered membrane can exhibit a total leaching of less than or equal to 5 parts-per-million in a Leaching Test. Methods of making a sintered membrane includes forming a green tape having lithium-aluminum-titanium-phosphate crystals and an additive including a titanium-containing powder or an aluminum-containing powder, where the green tape is heated to a first temperature from 600°C to 1200°C to form the sintered membrane.

A CIRCUIT BOARD OF A BATTERY PACK FOR INTERCONNECTING BATTERY CELLS, A BATTERY PACK AND A METHOD THEREFOR

NºPublicación:  WO2026015069A1 15/01/2026
Solicitante: 
ZPARQ AB [SE]
ZPARQ AB
WO_2026015069_PA

Resumen de: WO2026015069A1

The present invention relates to a circuit board for interconnecting battery cells of a battery pack, comprising a substrate comprising: a contact area of the substrate configured to be connected to a pole of a battery cell for interconnecting battery cells; a contact temperature sensor operable to measure a temperature of the contact area; a substrate temperature sensor operable to measure a temperature of the substrate; wherein the circuit board further comprises a controller comprising: a measurement module operable to measure signals representing measured temperatures from the contact and substrate temperature sensors; and a communication module configured to send information about the measured temperatures to a battery management system.

ELECTROCHEMICAL APPARATUS FOR THE RECOVERY OF LITHIUM FROM ELECTRODE POWDER OF LITHIUM-ION BATTERIES

NºPublicación:  WO2026013552A1 15/01/2026
Solicitante: 
UNIV DEGLI STUDI DI ROMA LA SAPIENZA [IT]
UNIVERSITA' DEGLI STUDI DI ROMA \"LA SAPIENZA\"
WO_2026013552_PA

Resumen de: WO2026013552A1

The invention relates to an electrochemical apparatus for the recovery of lithium from electrode powder of lithium-ion batteries, comprising a supply tank for an aqueous suspension of electrode powder, a pair of primary ducts, a pump, a receiving tank, a pair of secondary ducts and an electrolytic unit, which includes an anode, a cation exchange membrane and a cathode compartment.

ELECTROCHEMICAL DEVICE AND ELECTRONIC DEVICE

NºPublicación:  WO2026012016A1 15/01/2026
Solicitante: 
NINGDE AMPEREX TECH LIMITED [CN]
\u5B81\u5FB7\u65B0\u80FD\u6E90\u79D1\u6280\u6709\u9650\u516C\u53F8
WO_2026012016_PA

Resumen de: WO2026012016A1

An electrochemical device and an electronic device. The electrochemical device comprises a positive electrode sheet and a negative electrode sheet, wherein the positive electrode sheet comprises a first active material, and a delithiation product of the first active material comprises at least one of Li5-xFeO4-y, Li5-xCoO4-y, Li2-zMnO2, Li1.2-rNi0.13Fe0.13Mn0.54O2 or Li1-tFePO4; and the negative electrode sheet comprises a negative electrode material layer, the negative electrode material layer comprises silicon, and based on the mass of the negative electrode material layer, the mass percentage content of silicon is 1%-50%. The mass of the delithiation product of the first active material in the positive electrode sheet is A mg/1540 mm2, the mass of silicon in the negative electrode sheet is B mg/1540 mm2, and 29%≤A/B≤230%. The electrochemical device has the above features, and thus can have high energy density and good safety performance and cycle performance.

BATTERY CELL, BATTERY, AND ELECTRIC DEVICE

NºPublicación:  WO2026012019A1 15/01/2026
Solicitante: 
CONTEMPORARY AMPEREX TECH CO LIMITED [CN]
\u5B81\u5FB7\u65F6\u4EE3\u65B0\u80FD\u6E90\u79D1\u6280\u80A1\u4EFD\u6709\u9650\u516C\u53F8
WO_2026012019_PA

Resumen de: WO2026012019A1

The present application relates to the field of batteries, and provides a battery cell, a battery, and an electric device. The battery cell comprises a casing, an end cover, and a pressure relief mechanism. The casing is provided with an opening, and the end cover closes the opening and is welded and connected to the casing to form a first weld portion. The pressure relief mechanism is arranged on the end cover, the pressure relief mechanism comprises a weakened portion, and the weakened portion is configured to at least partially rupture when the battery cell undergoes pressure relief. In a direction perpendicular to the thickness direction of the end cover, the minimum distance between the weakened portion and the first weld portion is A, and the following condition is satisfied: A≥2.5 mm. By configuring the minimum distance between the weakened portion and the first weld portion in the direction perpendicular to the thickness direction of the end cover to be greater than or equal to 2.5 mm, the impact of high heat generated when welding the casing and the end cover on the weakened portion can be reduced, thereby reducing the risk of premature rupture of the weakened portion, and prolonging the service life of the battery cell.

NEGATIVE ELECTRODE MATERIAL, NEGATIVE ELECTRODE SHEET, AND BATTERY

NºPublicación:  WO2026012010A1 15/01/2026
Solicitante: 
BTR NEW MAT GROUP CO LTD [CN]
\u8D1D\u7279\u745E\u65B0\u6750\u6599\u96C6\u56E2\u80A1\u4EFD\u6709\u9650\u516C\u53F8
WO_2026012010_PA

Resumen de: WO2026012010A1

The present application provides a negative electrode material, a negative electrode sheet, and a battery. The negative electrode material comprises an active substance, and the active substance comprises silicon, a silicon oxide, and a compound of a metal element M, wherein the compound of a metal element M comprises a silicate of the metal element M and/or an oxide of the metal element M. The negative electrode material is determined by means of electron paramagnetic resonance; and the measured g-factor value of the electron spin resonance signal of an oxygen atom is X, where 2.00601≤X≤2.00699, and the oxygen vacancy intensity is Y, where 10G≤Y≤400G. The negative electrode material provided in the present application has a suitable oxygen vacancy; there is a stable lithium-ion channel during the cycle process of a battery; and the negative electrode material can relieve the expansion effect of the negative electrode material, thereby improving the cycle stability.

BATTERY CELL, BATTERY APPARATUS, AND ELECTRIC DEVICE

NºPublicación:  WO2026011520A1 15/01/2026
Solicitante: 
CONTEMPORARY AMPEREX TECH CO LIMITED [CN]
\u5B81\u5FB7\u65F6\u4EE3\u65B0\u80FD\u6E90\u79D1\u6280\u80A1\u4EFD\u6709\u9650\u516C\u53F8
WO_2026011520_PA

Resumen de: WO2026011520A1

A battery cell (20), a battery apparatus (100), and an electric device. The battery cell (20) comprises a casing (2) and an electrode assembly (24). The casing (2) comprises a side wall (211) and a first wall (23), the side wall (211) being disposed around the first wall (23). The first wall (23) comprises a body portion (231) and a connection portion (232) connected to each other, wherein the body portion (231) is connected to the side wall (211), and the body portion (231) and the connection portion (232) are made of different materials. The electrode assembly (24) is accommodated in the casing (2), and the electrode assembly (24) is provided with a first tab (242). The connection portion (232) and the first tab (242) are made of the same material, and the connection portion (232) is connected to the first tab (242) by means of welding. The first wall (23) is configured to comprise the body portion (231) and the connection portion (232) connected to each other, and the connection portion (232) is connected to the first tab (242) by means of welding, such that the input or output of electric energy to/from the battery cell (20) can be realized by means of the first wall (23), the number of electrode terminals and the number of current collecting members can be reduced, the space occupied inside the battery cell (20) can be reduced, and energy density can be improved. The connection portion (232) and the first tab (242) are welded using the same material, such that the occurr

TEST APPARATUS AND CHARGING SYSTEM

NºPublicación:  WO2026011515A1 15/01/2026
Solicitante: 
CONTEMPORARY AMPEREX TECH CO LIMITED [CN]
CONTEMPORARY AMPEREX TECH HONG KONG LIMITED [CN]
\u5B81\u5FB7\u65F6\u4EE3\u65B0\u80FD\u6E90\u79D1\u6280\u80A1\u4EFD\u6709\u9650\u516C\u53F8,
\u9999\u6E2F\u65F6\u4EE3\u65B0\u80FD\u6E90\u79D1\u6280\u6709\u9650\u516C\u53F8
WO_2026011515_PA

Resumen de: WO2026011515A1

The present disclosure relates to the technical field of charging and discharging tests, and in particular to a test apparatus and a charging system. The test apparatus is used for performing charging and discharging tests on a first storage and charging device and a second storage and charging device, wherein the first storage and charging device is provided with a first charging interface, and the second storage and charging device is provided with a second charging interface. The test apparatus comprises: a connection unit, adapted to be connected to power interfaces in the first charging interface and the second charging interface, so that the first storage and charging device and the second storage and charging device are electrically connected; and a test control unit, adapted to be connected to signal interfaces in the first charging interface and the second charging interface, to communicate with the first storage and charging device and the second storage and charging device separately, so as to control the first storage and charging device and the second storage and charging device to undergo charging and discharging tests. In this way, two storage and charging devices are electrically connected by means of the test apparatus, and the test apparatus communicates with the two storage and charging devices to control the two storage and charging devices to perform charging and discharging, so that bidirectional charging and discharging tests for the two storage and cha

Messanordnung zum Bestimmen eines Zustands einer Festkörperbatteriezelle, Verfahren zum Bestimmen eines Zustands einer Festkörperbatteriezelle und Verfahren zum Herstellen einer Messanordnung

NºPublicación:  DE102024119603A1 15/01/2026
Solicitante: 
AUDI AG [DE]
AUDI Aktiengesellschaft
DE_102024119603_PA

Resumen de: DE102024119603A1

Die Erfindung betrifft eine Messanordnung (10) zum Bestimmen eines Zustands (Z1, Z2) einer Festkörperbatteriezelle (12), wobei die Messanordnung (10) die Festkörperbatteriezelle (12) umfasst, die eine Anode (14), eine Kathode (16) und einen zwischen der Anode (14) und der Kathode (16) angeordneten Separator (18) aufweist, wobei der Separator (18) zwei sich gegenüberliegende Seiten (18a, 18b) umfasst, von denen jeweils eine der Anode (14) und eine der Kathode (16) zugewandt ist, und wobei die Festkörperbatteriezelle (12) einen optischen Sensor (20) mit mindestens einer optischen Faser (22) umfasst. Dabei ist die optische Faser (22) an einer Oberfläche (24) zumindest einer der zwei Seiten (18a, 18b) des Separators (18) angrenzend angeordnet, wobei die Messanordnung (10) dazu ausgelegt ist, als den Zustand eine Dichte (D1, D2) und/oder eine Dichtenänderung der Anode (14) und/oder Kathode (16) mittels eines vom Sensor (20) erfassten Lichtsignals (32') zu bestimmen.

Verfahren zum Überwachen eines Formierungsprozesses einer Batteriezelle mittels einer Formierungsvorrichtung, Computerprogrammprodukt, computerlesbares Speichermedium sowie Formierungsvorrichtung

NºPublicación:  DE102024206605A1 15/01/2026
Solicitante: 
SIEMENS AG [DE]
Siemens Aktiengesellschaft
DE_102024206605_PA

Resumen de: DE102024206605A1

Die Erfindung betrifft ein Verfahren zum Überwachen eines Formierungsprozesses einer Batteriezelle (12) mittels einer Formierungsvorrichtung (10), mit den Schritten: Bereitstellen der Batteriezelle (12) für die Formierungsvorrichtung (10); Anlegen eines ersten Formierungsstroms (I1) an die Batteriezelle (12) mittels einer Ladeeinrichtung (14) der Formierungsvorrichtung (10); - Beaufschlagen der Batteriezelle (12) mit zumindest einem Ultraschallsignal (20) einer Ultraschalleinrichtung (16) der Formierungsvorrichtung (12) und Empfangen von zumindest einem von der Batteriezelle (12) reflektierten und/oder transmittierten Ultraschallsignal (22) mittels der Ultraschalleinrichtung (16); Erzeugen eines Ultraschallspektrums (24) in Abhängigkeit von den empfangenen Ultraschallsignalen (22) mittels einer elektronischen Recheneinrichtung (18) der Formierungsvorrichtung (10); und Überwachen des Formierungsprozesses durch Auswerten des Ultraschallspektrums (24) in Abhängigkeit von zumindest dem ersten Formierungsstrom (I1) mittels der elektronischen Recheneinrichtung (18). Ferner betrifft die Erfindung ein Computerprogrammprodukt, ein computerlesbares Speichermedium sowie eine Formierungsvorrichtung (10).

Kühlsystem zum Kühlen von Fahrzeugkomponenten eines batterieelektrisch betriebenen Fahrzeugs sowie Fahrzeug mit zumindest einem solchen Kühlsystem

NºPublicación:  DE102024119941A1 15/01/2026
Solicitante: 
VOSS AUTOMOTIVE GMBH [DE]
VOSS Automotive GmbH
DE_102024119941_PA

Resumen de: DE102024119941A1

Bei einem Kühlsystem (1) zum Kühlen von Fahrzeugkomponenten, insbesondere eines Energiespeichers (30), eines batterieelektrisch betriebenen Fahrzeugs, wobei das Kühlsystem (1) zumindest einen ersten Kühlkreislauf (10) mit zumindest einem ersten Kühlmittel und zumindest einem zweiten Kühlkreislauf (20) mit zumindest einem zweiten Kühlmittel umfasst, und wobei das zumindest eine zweite Kühlmittel zum Temperieren von Hochvolt-Fahrzeugkomponenten ausgebildet ist, dient der zumindest eine zweite Kühlkreislauf (20) zum Temperieren zumindest zweier Fahrzeugkomponenten (30, 31, 32, 33, 34, 38), von denen eine der Energiespeicher (30) des batterieelektrisch betriebenen Fahrzeugs ist und/oder sind der zumindest eine erste Kühlkreislauf (10), der zumindest eine zweite Kühlkreislauf (20) und ein Kältemittelkreislauf (50) zum Wärmeaustausch miteinander gekoppelt oder verbunden.

Zellseparator für Batteriemodule

Nº publicación: DE102025144820A1 15/01/2026

Solicitante:

FEV GROUP GMBH [DE]
FEV Group GmbH

DE_102025144820_PA

Resumen de: DE102025144820A1

Zellseparator für Batteriemodule mit nebeneinander angeordneten elektrochemischen Zellen, wobei der Zellseparator zwei gegenüberliegende Decklagen aus einem Material mit einer Wärmeleitfähigkeit von weniger als 50 W/(m·K) umfasst, wobei zwischen den Decklagen ein Kern angeordnet ist und einen teilweisen Füllgrad besitzt, so dass Expansionshohlräume zwischen dem Kern und den Decklagen verbleiben.

traducir