Ministerio de Industria, Turismo y Comercio LogoMinisterior
 

Alerta

Resultados 1317 resultados
LastUpdate Última actualización 26/04/2026 [07:23:00]
pdfxls
Publicaciones de los últimos 15 días/Last 15 days publications (excluidas pubs. CN y JP /CN and JP pubs. excluded)
previousPage Resultados 600 a 625 de 1317 nextPage  

PREDICTION DEVICE, ENERGY STORAGE APPARATUS, PREDICTION METHOD, AND PREDICTION PROGRAM

NºPublicación:  US20260104464A1 16/04/2026
Solicitante: 
GS YUASA INT LTD [JP]
US_20260104464_A1

Resumen de: US20260104464A1

A prediction device includes a controller configured or programmed to include a first predictor configured or programmed to predict voltage behavior of an energy storage device when a current is carried with a current carrying pattern including sections, using an energy storage device model, and a second predictor configured or programmed to predict charge-discharge performance of the energy storage device based on the voltage behavior predicted by the first predictor. The first predictor is configured or programmed to predict the voltage behavior for each of the sections obtained by dividing the current carrying pattern by a time width, and the first predictor stops predicting the voltage behavior in one of the sections in which a current change amount in the current carrying pattern is less than a threshold.

COVER PLATE ASSEMBLY AND BATTERY

NºPublicación:  US20260106348A1 16/04/2026
Solicitante: 
EVE POWER CO LTD [CN]
US_20260106348_A1

Resumen de: US20260106348A1

The present disclosure provides a cover plate assembly and a battery. The cover plate assembly is mounted on a shell with an accommodation cavity, and includes: a cover plate, provided with a first mounting hole in communication with the accommodation cavity; a collection component, located in the accommodation cavity and configured to acquire parameter information inside the shell; a lower connection part, of which a first end is located in the first mounting hole and a second end is communicatively connected with the collection component; and, an upper connection part, of which a first end is detachably communicatively connected with the first end of the lower connection part and a second end passes through the first mounting hole.

CURRENT-CARRYING COMPONENT FOR SECONDARY BATTERY

NºPublicación:  US20260106333A1 16/04/2026
Solicitante: 
NACHI FUJIKOSHI CORP [JP]
US_20260106333_A1

Resumen de: US20260106333A1

A current-carrying component for use in a secondary battery includes a plurality of metal foil members stacked one on top of another in the thickness direction of the metal foil members. Two or more through-holes are formed to extend through the metal foil members in the thickness direction of the plurality of metal foil members. The plurality of metal foil members are welded together by solid-phase welding to form a welded portion, which form a rim surrounding the through-hole. The inner peripheral surface of the welded portion constitutes the inner peripheral surface of the through-hole. A circular ring-shaped protrusion is provided at one end of the welded portion.

METHOD AND SYSTEM FOR EXTRACTING BLACK MASS FROM SPENT LITHIUM ION BATTERIES

NºPublicación:  US20260106256A1 16/04/2026
Solicitante: 
AGR LITHIUM INC [US]
US_20260106256_A1

Resumen de: US20260106256A1

A method for obtaining a metal salt from a spent lithium-ion (Li-ion) battery may include contacting a leaching solvent to a portion of the spent lithium-ion battery to form a first dispersion. The first dispersion is heated to a temperature in a range from 50° C. to 90° C. by applying microwave radiation. The temperature of the first dispersion is maintained to be in the range from 50° C. to 90° C. for a period in a range from 10 seconds to 5 minutes by further applying microwave radiation to the heated first dispersion. The first dispersion is filtered to obtain a first filtrate. The first dispersion is then filtered to separate undissolved material from a first filtrate. The undissolved precipitate is dehydrated to obtain the black mass.

BATTERY EVENT MONITORING SYSTEM FOR THERMAL MANAGED BATTERY

NºPublicación:  US20260106248A1 16/04/2026
Solicitante: 
ATC HOLLAND LLC [US]
US_20260106248_A1

Resumen de: US20260106248A1

The present invention provides a system and method for determining when a battery, or one or more batteries within a battery pack, undergoes an undesired thermal event such as thermal runaway. A sensor pack is mounted in close proximity to, or in contact with, an external surface of the battery or batteries to be monitored and communicates battery information, including battery compartment information, to a battery package monitor outside the battery compartment. Cloud connectivity can be provided via a mobile application to a battery thermal management package.

RESIN COMPOSITION INCLUDING POLYCARBONATE RESIN, AND ELECTROLYTIC SOLUTION, FILM, AND SOLID ELECTROLYTE INCLUDING THE SAME

NºPublicación:  US20260103563A1 16/04/2026
Solicitante: 
MITSUBISHI GAS CHEMICAL CO [JP]
US_20260103563_A1

Resumen de: US20260103563A1

0000 The present invention provides a resin composition that includes a polycarbonate resin and a lithium salt, wherein: the polycarbonate resin includes a structural unit (A) derived from at least one selected from the group consisting of bisphenol A, bisphenol C, bisphenol MIBK, bisphenol BPAF, bisphenol Z, and bisphenol AP, which are represented by the structural formulas shown here; and the terminal structure of the polycarbonate resin includes a terminal structure derived from the polyalkylene glycol monoalkyl ether represented by general formula (1). (In general formula (1), R<1 >represents a C2-20 alkylene group, R<2 >represents a C1-20 alkyl group, and n represents an integer from 3 to 120.) 0000

BATTERY PACK AND VEHICLE

NºPublicación:  AU2024353746A1 16/04/2026
Solicitante: 
BYD COMPANY LTD
AU_2024353746_PA

Resumen de: AU2024353746A1

Disclosed in the present invention is a vehicle, comprising a battery pack. The battery pack comprises: at least two layers of cell groups, each layer of cell group comprising at least one sub-cell group, the sub-cell group comprising a plurality of battery cells, each of the plurality of battery cells of the sub-cell group extending in a first direction, the plurality of cells of the sub-cell group being arranged in a second direction, and the at least two layers of cell groups being stacked in a third direction. The first direction, the second direction and the third direction are perpendicular to one another.

LITHIUM SECONDARY BATTERY AND SEPARATOR

NºPublicación:  US20260106327A1 16/04/2026
Solicitante: 
PANASONIC IP MAN CO LTD [JP]
US_20260106327_A1

Resumen de: US20260106327A1

A lithium secondary battery includes a positive electrode, a negative electrode, a separator disposed between the positive electrode and the negative electrode, and a nonaqueous electrolyte. At the negative electrode, lithium metal deposits during charging, and the lithium metal dissolves during discharging. The separator has an elongated shape having a length D1 in a first direction and a length D2 in a second direction perpendicular to the first direction, where D1

METHOD OF COUNTERACTING DEGRADATION OF A FUEL CELL SYSTEM OF A VEHICLE

NºPublicación:  US20260103116A1 16/04/2026
Solicitante: 
VOLVO TRUCK CORP [SE]
US_20260103116_A1

Resumen de: US20260103116A1

The present disclosure relates to a method of counteracting degradation of a fuel cell system of a vehicle. A processor device is used for performing the method. The processor device estimates standstill average power needs of the vehicle by estimating the average power that the vehicle will consume during a predetermined time period during which the vehicle will be at a standstill. An idling power extractable from the fuel cell system is determined. The idling power is compared with the estimated standstill average power needs. Based on the comparison, a duration for which the fuel cell system should be kept turned on to fulfil the estimated standstill average power needs is determined. The fuel cell system is controlled to be kept turned on for the determined duration.

BATTERY APPARATUS

NºPublicación:  WO2026077336A1 16/04/2026
Solicitante: 
CALB GROUP CO LTD [CN]
\u4E2D\u521B\u65B0\u822A\u79D1\u6280\u96C6\u56E2\u80A1\u4EFD\u6709\u9650\u516C\u53F8
WO_2026077336_A1

Resumen de: WO2026077336A1

The present application relates to the technical field of battery apparatuses, and discloses a battery apparatus. The battery apparatus comprises a box body comprising a bottom plate and a surrounding frame surrounding the periphery of the bottom plate, the surrounding frame of the bottom plate enclosing to form a cavity. Both ends of at least one cross beam structure in a first direction are fixedly connected to a frame of the box body, dividing the box body into at least two accommodating cavities, and the accommodating cavities being used for accommodating battery packs. The cross beam structure comprises at least two cross beams stacked and fixed in sequence along a second direction. A lifting hole is provided on the surface, away from the bottom plate, of the cross beam away from the bottom plate in the second direction, and the lifting hole is used for lifting the box body. The first direction is a direction parallel to the bottom plate, and the second direction is a direction perpendicular to the bottom plate. According to the battery apparatus provided in the present application, a lifting hole is provided on only one cross beam located on one side, the lifting hole being used for mounting a lifting point. The number of perforations can be reduced on the remaining cross beams, thereby ensuring the integrity of the remaining cross beams, and ensuring the overall strength of the cross beam structure, thus improving the structural strength of the battery apparatus.

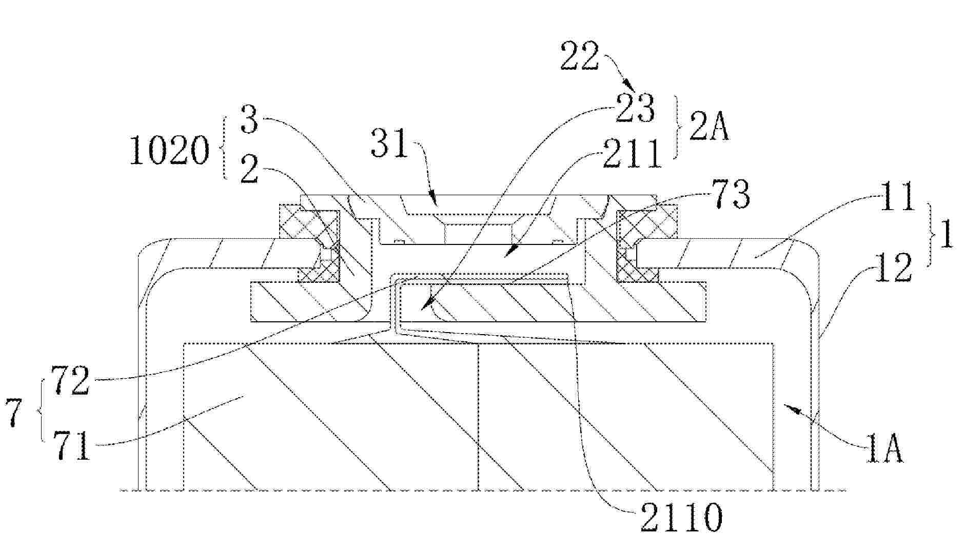
Battery Cell, and Battery Module, Battery Pack and Vehicle Including the Same

NºPublicación:  US20260106310A1 16/04/2026
Solicitante: 
LG ENERGY SOLUTION LTD [KR]
US_20260106310_A1

Resumen de: US20260106310A1

Disclosed is a battery cell capable of reinforcing safety of an electrode tab and controlling an internal pressure of the battery cell, and a battery module, a battery pack and a vehicle including the same. The battery cell includes an electrode assembly including a cell body and an electrode tab coupled to at least one side of the cell body, a cell case configured to accommodate the electrode assembly therein, an electrode lead coupled to the electrode tab and extending from the cell case, a tab protection module accommodated in the cell case and configured to cover at least a portion of the electrode tab, and a venting module coupled to the tab protection module and configured discharge a venting gas out of the cell case.

BATTERY LIQUID LEAKAGE DETECTION METHOD AND APPARATUS, AND BATTERY AND ENERGY STORAGE SYSTEM

NºPublicación:  WO2026076882A1 16/04/2026
Solicitante: 
CONTEMPORARY AMPEREX TECHNOLOGY CO LTD [CN]
\u5B81\u5FB7\u65F6\u4EE3\u65B0\u80FD\u6E90\u79D1\u6280\u80A1\u4EFD\u6709\u9650\u516C\u53F8
WO_2026076882_A1

Resumen de: WO2026076882A1

A battery liquid leakage detection method, comprising: acquiring concentration information of a target gas in a box body (120) and time information for collecting the concentration information (310), wherein the target gas is a volatile gas of an electrolyte; and when the concentration of the target gas at a target moment is greater than or equal to a target concentration, determining that leakage has occurred in the electrolyte (320), wherein the target concentration is the sum of the concentration of the target gas before a target duration at the target moment and a preset concentration, and the target moment is any moment within a first preset duration. The detection method can accurately and effectively detect the leakage of an electrolyte in a battery. Further provided are a battery liquid leakage detection (4000), a battery and an energy storage system.

BATTERY CELL COMPRISING CURRENT BREAKER AND BATTERY APPARATUS COMPRISING SAME

NºPublicación:  US20260106352A1 16/04/2026
Solicitante: 
SK ON CO LTD [KR]
US_20260106352_A1

Resumen de: US20260106352A1

A battery cell according to an embodiment of the present invention comprises: an electrode assembly on which at least one positive electrode plate and at least one negative electrode plate are stacked on each other; a case for accommodating the electrode assembly therein; a plurality of electrode tabs extending from the positive electrode plate and the negative electrode plate; an electrode lead one end of which is joined with the electrode tabs and the other end of which is exposed to the outside of the case; and a current breaker which is arranged inside the electrode lead and breaks the flow of an overcurrent, wherein the length of the current breaker according to the extension direction of the electrode lead can be formed to be at most 1/10 of the length of the electrode lead.

COMPOSITION FOR ELECTROCHEMICAL DEVICE FUNCTIONAL LAYER, COMPOSITION PRECURSOR FOR ELECTROCHEMICAL DEVICE FUNCTIONAL LAYER, FUNCTIONAL LAYER FOR ELECTROCHEMICAL DEVICE, LAMINATE FOR ELECTROCHEMICAL DEVICE, AND ELECTROCHEMICAL DEVICE

NºPublicación:  US20260106328A1 16/04/2026
Solicitante: 
ZEON CORP [JP]
US_20260106328_A1

Resumen de: US20260106328A1

Provided is a composition for an electrochemical device functional layer with which it is possible to form a functional layer that has excellent wet adhesiveness and that is capable of good inhibition of metal deposition on an electrode during charging and discharging and swelling of an electrochemical device. The composition for an electrochemical device functional layer contains a particulate polymer including a structural unit that includes a group having an aromatic ring where at least one hydrogen atom is substituted with a hydroxy group.

COATED ACTIVE MATERIAL, POSITIVE ELECTRODE MATERIAL, AND BATTERY

NºPublicación:  US20260106215A1 16/04/2026
Solicitante: 
PANASONIC HOLDINGS CORP [JP]
TOYOTA JIDOSHA KK [JP]
US_20260106215_A1

Resumen de: US20260106215A1

A coated active material of the present disclosure includes a positive electrode active material, and a coating material including a first solid electrolyte and coating at least a portion of a surface of the positive electrode active material. The first solid electrolyte includes Li, M, and X. The M is at least one element selected from the group consisting of a metal element other than Li and a metalloid element, and the X is a halogen element. A value obtained by dividing the integrated value of the amount of moisture released from the coated active material at the time of the heating of the coated active material from 25° C. to 120° C. by the total mass of the coated active material is defined as MC120. In this case, the moisture content MC120 satisfies 0 ppm

HEATING STRUCTURE, HEATING BANK, AND BATTERY PRODUCTION DEVICE

NºPublicación:  US20260106202A1 16/04/2026
Solicitante: 
CONTEMPORARY AMPEREX TECH CO LIMITED [CN]
US_20260106202_A1

Resumen de: US20260106202A1

0000 This application discloses a heating structure for heating a side plate of a battery. The heating structure includes a heating element and a heat-conducting element, where the heat-conducting element is fitted to the heating element and configured to conduct heat to the side plate of the battery. The heat-conducting element is provided with a first clearance hole capable of avoiding a protruding structure on the side plate. This application further discloses a heating bank and a battery production device.

BATTERY PACK

NºPublicación:  WO2026077171A1 16/04/2026
Solicitante: 
CALB GROUP CO LTD [CN]
\u4E2D\u521B\u65B0\u822A\u79D1\u6280\u96C6\u56E2\u80A1\u4EFD\u6709\u9650\u516C\u53F8
WO_2026077171_A1

Resumen de: WO2026077171A1

The present invention relates to the technical field of new energy batteries. Disclosed is a battery pack, comprising: a box body, a heat exchange tube, a battery unit, and an adhesive layer. The box body comprises a bottom plate, and an upper surface of the bottom plate is provided with an accommodating recess. The heat exchange tube is provided in the accommodating recess, the depth of the accommodating recess being H1mm, and the height of the heat exchange tube being H2mm, where H1≥H2. The battery unit is arranged on the bottom plate and is located above the heat exchange tube. The adhesive layer is arranged between the heat exchange tube and the battery unit, at least part of the adhesive layer being arranged within the accommodating recess, and the battery unit, the heat exchange tube, and the bottom plate being connected by means of the adhesive layer. The present invention provides a battery pack, which is provided with a heat exchange tube to exchange heat for a battery unit, thereby ensuring the flatness of a joint between a box body and a bottom surface of a battery, and at the same time ensuring the heat exchange effect.

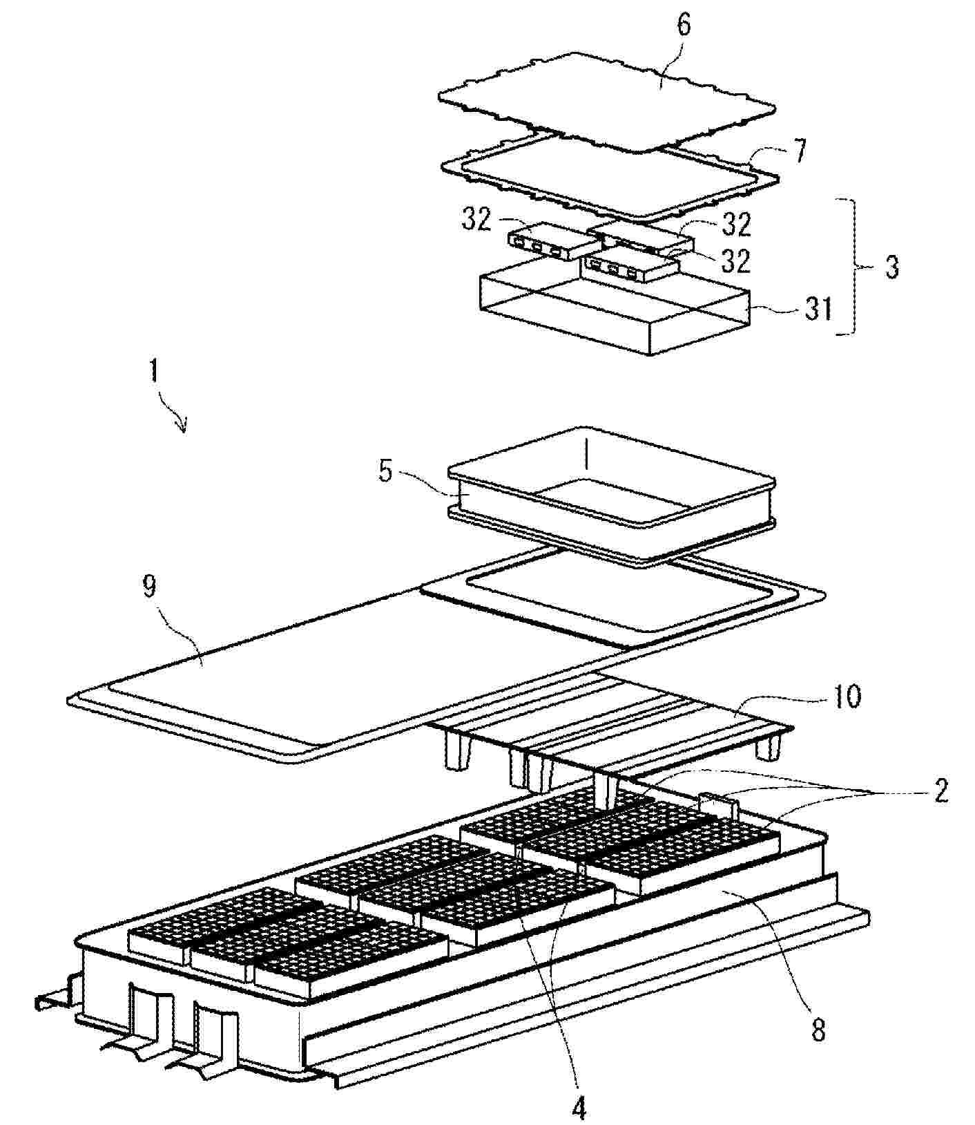
BATTERY PACK AND ELECTRIC DEVICE

NºPublicación:  AU2024388708A1 16/04/2026
Solicitante: 
XIAMEN HITHIUM ENERGY STORAGE TECHNOLOGY CO LTD
AU_2024388708_PA

Resumen de: AU2024388708A1

A battery pack (1000) and an electric device (2000). The battery pack (1000) comprises: a battery management system (10); a plurality of battery modules (20); a circuit board (30); and a connector assembly (40), wherein the plurality of circuit boards (30) are sequentially connected in series to form a circuit board string, and the circuit board string is connected to the battery management system (10) so as to transmit working condition data of battery cells (22) in the battery modules (20) to the battery management system (10).

BATTERY MODULE AND BATTERY PACK COMPRISING SAME

NºPublicación:  US20260106306A1 16/04/2026
Solicitante: 
SK ON CO LTD [KR]
US_20260106306_A1

Resumen de: US20260106306A1

0000 Provided is a battery module comprising: a plurality of sub-modules arranged along a first direction; one or more connecting members disposed between the plurality of sub-modules, wherein at least one of the plurality of sub-modules is disposed along the first direction; and a housing having an internal space in which the plurality of cell stacks are accommodated, wherein the plurality of cell stacks each include a plurality of battery cells stacked in a second direction perpendicular to the first direction.

CERAMIC COMPOSITE SEPARATOR AND METHOD FOR MANUFACTURING THE SAME

NºPublicación:  US20260106320A1 16/04/2026
Solicitante: 
ELECTROVAYA INC [CA]
US_20260106320_A1

Resumen de: US20260106320A1

0000 A ceramic composite separator and a method of preparing the ceramic composite separator are provided. The ceramic composite separator includes a polymeric scaffold and a coating including a plurality of ceramic particles, wherein a portion of the plurality of ceramic particles is disposed in the polymeric scaffold. The method of preparing the ceramic composite separator includes providing a polymeric scaffold, forming a coating comprising a plurality of ceramic particles on the polymeric scaffold, and consolidating the coating on the polymeric scaffold to form the ceramic composite separator that includes the consolidated coating on the polymeric scaffold.

BATTERY SUPPORT MECHANISM AND BATTERY HEATING DEVICE

NºPublicación:  US20260106201A1 16/04/2026
Solicitante: 
CONTEMPORARY AMPEREX TECHNOLOGY CO LTD [CN]
US_20260106201_A1

Resumen de: US20260106201A1

A battery support mechanism includes a base, a drive structure, and two end plate support structures. The two end plate support structures are spaced apart along a first direction on the base, and at least one of the two end plate support structures is in transmission connection to the drive structure to move along the first direction under the drive of the drive structure. The battery support mechanism provided by the present application is configured to support a battery. A distance between the two end plate support structures can be adjusted through the drive structure according to the size of the battery, so as to support batteries of different sizes with higher compatibility.

METHOD FOR CONTROLLING TEMPERATURE OF BATTERY PACK OF ELECTRIC VEHICLE AND CONTROL SYSTEM THEREOF

NºPublicación:  WO2026077196A1 16/04/2026
Solicitante: 
FUJIAN SUPER PANTHER POWER TECH CO LTD [CN]
\u798F\u5EFA\u901F\u8C79\u52A8\u529B\u79D1\u6280\u6709\u9650\u516C\u53F8
WO_2026077196_A1

Resumen de: WO2026077196A1

The present application relates to a method for controlling the temperature of a battery pack of an electric vehicle and a control system thereof. The control method comprises the following steps: an external temperature control device acquires the state of a battery pack from a charging device, the state of the battery pack comprising a charging state; if the battery pack is in the charging state, controlling an inlet temperature of a coolant entering the battery pack from the external temperature control device to be a first target inlet temperature and controlling the flow rate of the coolant to be a first preset flow rate; after the coolant has been inputted into the battery pack for a first preset duration, acquiring a first outlet temperature of the coolant; and on the basis of the first outlet temperature of the coolant and a target outlet temperature threshold of the coolant, controlling the flow rate of the coolant and/or the inlet temperature of the coolant. According to the method for controlling the temperature of a battery pack of an electric vehicle provided in the present application, an external temperature control device is used to perform temperature control on a battery pack of an electric vehicle, and no additional battery pack cooling system needs to be added to the electric vehicle, thereby preventing the weight and costs of the electric vehicle from increasing.

SEPARATOR, ELECTROCHEMICAL APPARATUS WITH SEPARATOR AND ELECTRICAL APPARATUS

NºPublicación:  US20260106325A1 16/04/2026
Solicitante: 
NINGDE AMPEREX TECHNOLOGY LTD [CN]
US_20260106325_A1

Resumen de: US20260106325A1

0000 A separator includes a base film and an organic coating disposed on at least one surface of the base film. In a 10 μm×5 μm region of the organic coating, based on a mass of the organic coating, a mass percentage of a carbon element in the organic coating is W1, a mass percentage of a fluorine element in the organic coating is W2, and 0.45≤W1/W2≤6. The separator further includes an inorganic coating, the inorganic coating is disposed between the base film and the organic coating, the inorganic coating has a thickness of d3, the base film has a maximum pore size of r1, and 0.01≤r1/d3≤0.21.

LITHIUM-ION BATTERY

NºPublicación:  WO2026077090A1 16/04/2026
Solicitante: 
SHENZHEN CAPCHEM TECHNOLOGY CO LTD [CN]
\u6DF1\u5733\u65B0\u5B99\u90A6\u79D1\u6280\u80A1\u4EFD\u6709\u9650\u516C\u53F8
WO_2026077090_A1

Resumen de: WO2026077090A1

To overcome the problem that existing lithium-ion batteries have difficulty considering both high-temperature performance and low-temperature performance, a lithium-ion battery is provided. The lithium-ion battery comprises a positive electrode, a negative electrode, and a non-aqueous electrolyte. The negative electrode comprises a negative electrode material layer containing a negative electrode material. The non-aqueous electrolyte comprises a non-aqueous organic solvent, a lithium salt, and an additive, the additive comprising vinylene carbonate, lithium difluorophosphate, and ethylene sulfate. The lithium-ion battery satisfies the following conditions: 0.08≤D×A/X≤8, 0.25≤D≤0.9, 0.1≤X≤2.5, and 0.3≤A≤2. D is the D50/D90 ratio of the negative electrode material. X is the mass content ratio of vinylene carbonate to lithium difluorophosphate in the non-aqueous electrolyte. A is the sum of the mass fractions of vinylene carbonate, ethylene sulfate, and lithium difluorophosphate in the non-aqueous electrolyte, the unit being wt%. The lithium-ion battery exhibits better performance under both high-temperature conditions and low-temperature conditions.

ADDITIVE FOR RECHARGEABLE LITHIUM BATTERY, ELECTROLYTE INCLUDING SAME, AND RECHARGEABLE LITHIUM BATTERY

Nº publicación: US20260106220A1 16/04/2026

Solicitante:

SAMSUNG SDI CO LTD [KR]

US_20260106220_A1

Resumen de: US20260106220A1

0000 Provided are an additive for a rechargeable lithium battery, an electrolyte a rechargeable lithium battery including the same, and a rechargeable lithium battery, the additive including a core including polyethylene wax, and a shell surrounding the core, wherein the shell includes a polymer having a melting point of 90° C. to 120° C.

traducir