Ministerio de Industria, Turismo y Comercio LogoMinisterior
 

Alerta

Resultados 1111 resultados
LastUpdate Última actualización 25/01/2026 [07:40:00]
pdfxls
Publicaciones de los últimos 15 días/Last 15 days publications (excluidas pubs. CN y JP /CN and JP pubs. excluded)
previousPage Resultados 575 a 600 de 1111 nextPage  

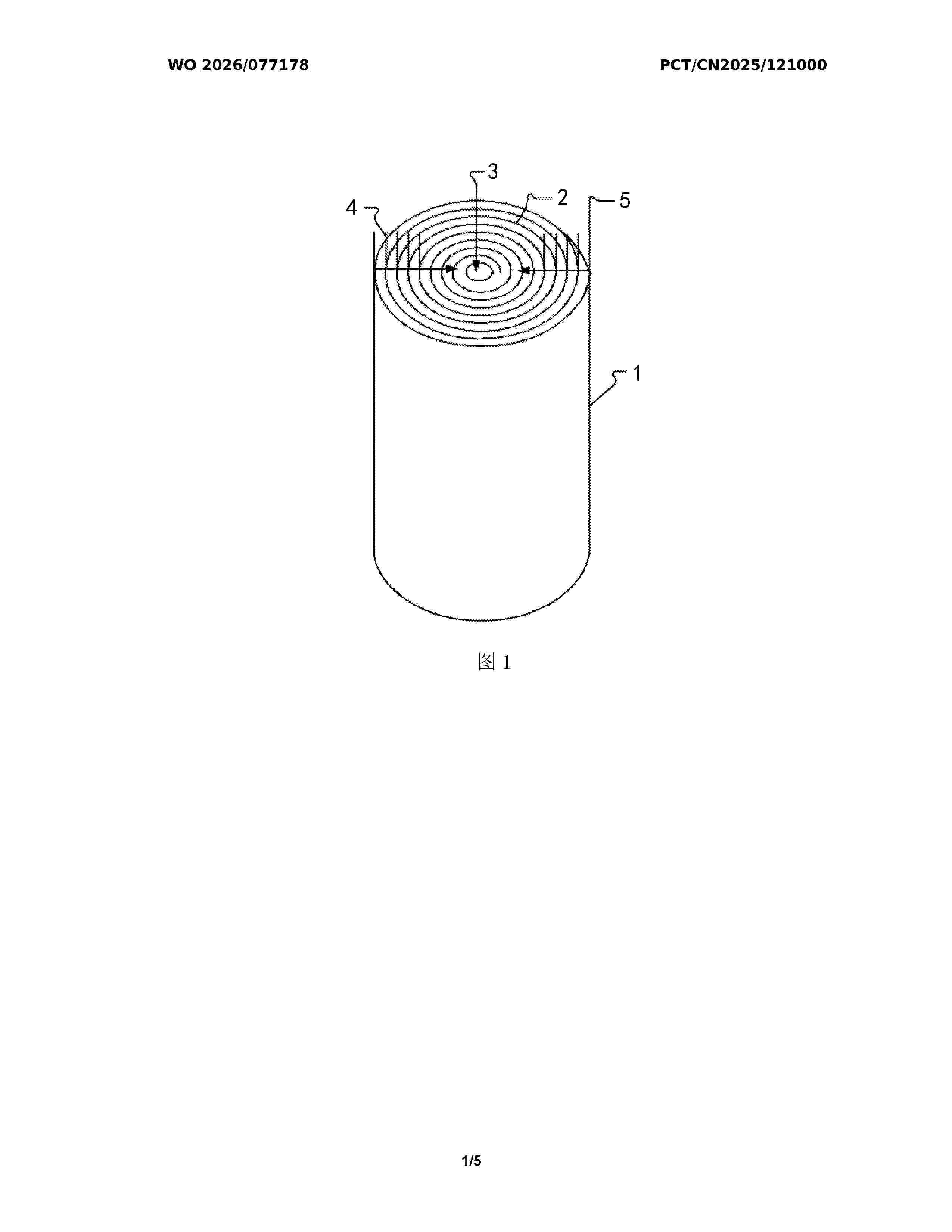
COMPOSITE SOLID ELECTROLYTE AND PREPARATION METHOD THEREOF, SOLID-STATE BATTERY, AND ELECTRIC APPARATUS

NºPublicación:  US20260018665A1 15/01/2026
Solicitante: 
JIANGSU CONTEMPORARY AMPEREX TECH LIMITED [CN]
JIANGSU CONTEMPORARY AMPEREX TECHNOLOGY LIMITED
US_20260018665_PA

Resumen de: US20260018665A1

This application relates to a composite solid electrolyte and a preparation method thereof, a solid-state battery, and an electric apparatus, where components of the composite solid electrolyte include a solid electrolyte substrate and a phase-transformation toughening agent dispersed in the solid electrolyte substrate, where the phase-transformation toughening agent is capable of phase transformation under the action of an external force.

ELECTRODE SLURRY

NºPublicación:  US20260015511A1 15/01/2026
Solicitante: 
ALLEGRO ENERGY PTY LTD [AU]
ALLEGRO ENERGY PTY LTD
US_20260015511_A1

Resumen de: US20260015511A1

The present disclosure generally relates to electrode slurry compositions, including those comprising an electrode active material; a binder; and a microemulsion comprising an aqueous phase, a water-immiscible phase, and an amphiphile, wherein the electrode active material and binder are incorporated within the microemulsion, which can be used to prepare electrodes, including for the production of electrochemical cells.

CONDUCTIVE SLURRY FOR SECONDARY BATTERY ELECTRODE, SECONDARY BATTERY ELECTRODE, AND SECONDARY BATTERY COMPRISING SAME

NºPublicación:  US20260015512A1 15/01/2026
Solicitante: 
DONGJIN SEMICHEM CO LTD [KR]
DONGJIN SEMICHEM CO., LTD
US_20260015512_A1

Resumen de: US20260015512A1

A conductive slurry for a secondary battery electrode, which reduces the viscosity of a conductive slurry while simultaneously reducing the surface resistance of a film made from the conductive slurry, includes a conductive material and a dispersant. The dispersant includes a cellulose-based compound and an organic acid salt.

METHOD OF COOLING AN ELECTRICAL EQUIPMENT SYSTEM BY USING A DIELECTRIC FLUID COMPOSITION HAVING GOOD HEAT DISSIPATION OVER A WIDE TEMPERATURE RANGE

NºPublicación:  US20260015536A1 15/01/2026
Solicitante: 
EVONIK OPERATIONS GMBH [DE]
Evonik Operations GmbH
US_20260015536_PA

Resumen de: US20260015536A1

A method of cooling an electrical equipment system by using a dielectric fluid composition containing a base fluid containing hydrogenated oligomers obtained from the oligomerization of butene. The method provides good and consistent heat dissipation of the electrical equipment system over a wide temperature range.

INSULATIVE COMPOSITES AND ARTICLES MADE THEREFROM

NºPublicación:  US20260015488A1 15/01/2026
Solicitante: 
W L GORE & ASS INC [US]
W. L. Gore & Associates, Inc
US_20260015488_PA

Resumen de: US20260015488A1

Insulative composites as well as articles formed therefrom are described herein. The insulative composites include a fibrillated polymer matrix, insulative particles, and additional particulate components such as at least one of reinforcement fibers, expandable microspheres, and opacifiers. The insulative particles and additional particulate components are durably enmeshed within the fibrillated polymer matrix. The insulative composites act as a heat propagation barrier when exposed to temperatures sufficient to partially or completely volatilize the fibrillated polymeric matrix within the insulative composite. The insulative composite is suitable for use in applications and/or in articles that have at least one thermally sensitive component that is capable (generally upon failure of that component) of releasing energy that is sufficient to result in a temperature that partially or completely volatilizes the fibrillated polymer matrix within the insulative composite yet still provides a sufficient insulative effect to protect one or more adjacent thermally sensitive components from damage.

DEVICE, TRANSPORT UNIT AND METHOD FOR TRANSPORTING NON-RIGID ELEMENTS

NºPublicación:  US20260015193A1 15/01/2026
Solicitante: 
GROB WERKE GMBH & CO KG [DE]
GROB-WERKE GmbH & Co. KG
US_20260015193_PA

Resumen de: US20260015193A1

A device, a transport unit and a method for transporting non-rigid elements for the manufacture of a battery and/or fuel cell. The device has a transport mechanism for transporting the elements from a first region to a second region, a guide plate for guiding the transport mechanism, a drive unit for moving the transport mechanism, a lifting device for coupling the drive unit and the transport mechanism, and an assembly frame. The guide plate has a plate-like main body, a closed guide contour and a through-opening; the transport mechanism is guided by the guide contour; the drive unit has a drive shaft which extends in the first direction and is axially fixedly received in the through-opening; and the lifting device couples the transport mechanism and the drive unit to each other in a torque-transmitting manner and can adjust a distance between the two in a second direction.

METHOD FOR PROLONGING TOTAL CUMULATIVE SERVICE LIFE OF BATTERY BY MEANS OF REDUCING AMBIENT TEMPERATURE

NºPublicación:  WO2026012508A1 15/01/2026
Solicitante: 
LYU DONGZHEN [CN]
\u5415\u4E1C\u796F
WO_2026012508_PA

Resumen de: WO2026012508A1

A method for prolonging the total cumulative service life of a battery by means of reducing an ambient temperature, the method comprising the following steps: setting ambient temperatures, and performing degradation tests on a battery, so as to acquire a degradation curve of an SOH index of the battery along with a cumulative usage amount at different ambient temperatures; on the basis of the real-time impact of the ambient temperature on the SOH index, acquiring temperature drop SOH loss amounts caused by different temperature drop amplitudes; on the basis of the long-term impact of the ambient temperature on the degradation curve, acquiring temperature drop service life gain amounts caused by different temperature drop amplitudes; weighing the negative impacts of the temperature drop amplitudes on the SOH index and the positive impacts of the temperature drop amplitudes on the total cumulative service life, so as to calculate an optimal ambient temperature; and dynamically adjusting the ambient temperature where the battery is located, such that the body temperature of the battery is within ±2°C of the optimal ambient temperature. By means of selecting the optimal ambient temperature for the battery, the single-cycle endurance performance is not seriously affected, and the total cumulative service life of the battery can be doubled, thereby significantly reducing the swapping and maintenance costs of the battery.

COLD PLATE, SERVER, AND SERVER SYSTEM

NºPublicación:  WO2026012079A1 15/01/2026
Solicitante: 
SUZHOU METABRAIN INTELLIGENT TECH CO LTD [CN]
\u82CF\u5DDE\u5143\u8111\u667A\u80FD\u79D1\u6280\u6709\u9650\u516C\u53F8
WO_2026012079_PA

Resumen de: WO2026012079A1

The present application relates to the technical field of computers, and discloses a cold plate, a server, and a server system. The cold plate of the present application comprises: a cold plate body, a cooling liquid cavity being formed in the cold plate body, and a heat exchange plate configured to be connected to a heat source being formed on one side of the cold plate body; a jet structure arranged in the cooling liquid cavity and partitioning the interior of the cooling liquid cavity into a first cavity and a second cavity, the second cavity being formed between the jet structure and the heat exchange plate, and jet holes for spraying cooling liquid toward the heat exchange plate being formed in the jet structure; a cooling liquid inlet communicated with the first cavity; and cooling liquid outlets communicated with the second cavity, the cooling liquid outlets being arranged in pairs and respectively formed in two sides of the cold plate body. In the cold plate of embodiments of the present application, after being sprayed onto the heat exchange plate, the cooling liquid can diffuse to the two sides of the cold plate, and flow out through the cooling liquid outlets in the two sides of the cold plate, such that the heat distribution on the two sides of the cold plate is more uniform, thereby providing a more uniform temperature distribution on the surface of the heat source.

NEGATIVE ELECTRODE CURRENT COLLECTOR, NEGATIVE ELECTRODE SHEET, BATTERY, BATTERY PACK AND ELECTRONIC DEVICE

NºPublicación:  WO2026012493A1 15/01/2026
Solicitante: 
BYD COMPANY LTD [CN]
\u6BD4\u4E9A\u8FEA\u80A1\u4EFD\u6709\u9650\u516C\u53F8
WO_2026012493_PA

Resumen de: WO2026012493A1

Provided in the present disclosure are a negative electrode current collector, a negative electrode sheet, a battery, a battery pack and an electronic device. The negative electrode current collector comprises a metal bottom layer and a priming coat arranged on at least one functional surface of the metal bottom layer, wherein the priming coat comprises an active material, a binder and a conductive agent, with the active material including graphite; and in the priming coat, the content of the binder is 1.2-2 g/100 ggraphite, and the content of the conductive agent is 0.5-3 g/100 ggraphite. The OI value of the negative electrode current collector is not greater than 5.

COMPOSITE COATING SEPARATOR, METHOD FOR PREPARING THE SAME, AND APPLICATION OF THE SAME

NºPublicación:  US20260018740A1 15/01/2026
Solicitante: 
EVE POWER CO LTD [CN]
EVE POWER CO., LTD
US_20260018740_A1

Resumen de: US20260018740A1

A method for preparing a composite coating separator is disclosed. The method includes: mixing raw materials including an inorganic powder, a hollow latex microsphere emulsion, a binder, and a solvent to obtain a mixed slurry; applying the mixed slurry to a surface of a base film, and drying the mixed slurry on the surface of the base film to obtain the composite coating separator. A mass ratio of the inorganic powder in the mixed slurry is 20%-35%, and a mass ratio of the hollow latex microsphere emulsion in the mixed slurry is 5%-10%. A viscosity of the mixed slurry is 100 mPa·s-120 mPa·s. The hollow latex microsphere emulsion includes hollow microspheres, and a density of the hollow microspheres is 0.8 g/cm3-0.9 g/cm3.

BATTERY MODULE

NºPublicación:  US20260018738A1 15/01/2026
Solicitante: 
JTEKT CORP [JP]
JTEKT CORPORATION
US_20260018738_PA

Resumen de: US20260018738A1

A battery module includes: a pouch battery cell including a battery portion and an exterior member that covers the battery portion; and an explosion-proof member. The explosion-proof member includes: a plate portion facing the pouch battery cell; and a protruding portion that is provided to protrude from the plate portion to break through the exterior member when the pouch battery cell is expanded. In the explosion-proof member, a first air passage through which a gas discharged from an opening formed in the exterior member by the protruding portion flows is provided in a part of the protruding portion excluding a distal end.

Pressure equalization device

NºPublicación:  US20260018736A1 15/01/2026
Solicitante: 
BODO KONZELMANN KG [DE]
Bodo Konzelmann KG
US_20260018736_PA

Resumen de: US20260018736A1

The invention relates to a pressure equalization device (20) for equalizing an internal pressure in a receiving housing of an electrochemical or electrotechnical device, in particular a battery housing, having a housing (20.3) that has at least one gas passage opening (20.4), which forms a gas-permeable connection between an interior (20.1) and an exterior (20.2) of the housing (20.3), wherein the gas passage opening (20.4) is blocked by means of a gas-permeable or gas-tight diaphragm (40), wherein the diaphragm (40) is assigned a burst element (30), which is designed and positioned such that, when the diaphragm (40) is deformed in the direction of the exterior (20.2), the diaphragm is destroyed at least at one point under the action of the burst element (30) to establish a flow connection from the interior (20.1) to the exterior (20.2) through the gas passage opening (20.4). In order to be able to achieve a reproducible bursting behavior in such a pressure equalization device by simple means, according to the invention provision is made for the diaphragm (40), its inner face (42) facing the interior (20.1) of the housing (20.3), to be connected, in particular by a material bond, to the burst element (30).

ELECTRODE ASSEMBLY, SECONDARY BATTERY INCLUDING SAME AND ELECTRODE ASSEMBLY INSPECTION METHOD

NºPublicación:  US20260018766A1 15/01/2026
Solicitante: 
SAMSUNG SDI CO LTD [KR]
SAMSUNG SDI CO., LTD
US_20260018766_PA

Resumen de: US20260018766A1

An electrode assembly includes: a first electrode plate including: a first electrode non-coated portion spaced from opposite ends of the first electrode plate in a longitudinal direction; and a substrate tab connected to one surface of the first electrode non-coated portion; a second electrode plate including: a second electrode non-coated portion spaced from opposite ends of the second electrode plate in the longitudinal direction; and a substrate tab connected to one surface of the second electrode non-coated portion; a separator between the first electrode plate and the second electrode plate; and a first insulating tape and a second insulating tape covering a part of the substrate tab of at least one of the first electrode plate or the second electrode plate. The first insulating tape and the second insulating tape have different colors from each other.

SECONDARY BATTERY, BATTERY ASSEMBLY AND ELECTRONIC DEVICE

NºPublicación:  US20260018675A1 15/01/2026
Solicitante: 
AESC JAPAN LTD [JP]
AESC Japan Ltd
US_20260018675_PA

Resumen de: US20260018675A1

A secondary battery, a battery assembly, and an electronic device are provided. The secondary battery includes a negative electrode sheet, a positive electrode sheet, and a separator located between the positive electrode sheet and the negative electrode sheet. The negative electrode sheet includes the negative active material layer includes a negative straight region and a negative thinned region located at one end of the negative straight region in a first direction. The positive electrode sheet includes the positive active material layer includes a positive straight region and a positive thinned region located at one end of the positive straight region away from the first direction. In the first direction, the positive active material layer includes a protruding portion that extends beyond the negative straight region. The protruding portion overlaps with an orthogonal projection of the negative thinned region in a second direction perpendicular to the first direction.

SOLID ELECTROLYTE COMPOSITION, SOLID ELECTROLYTE LAYER OR ELECTRODE MIXTURE, AND LITHIUM ION BATTERY

NºPublicación:  US20260018661A1 15/01/2026
Solicitante: 
IDEMITSU KOSAN CO LTD [JP]
IDEMITSU KOSAN CO.,LTD
US_20260018661_PA

Resumen de: US20260018661A1

A solid electrolyte composition including (A) a sulfide solid electrolyte including lithium, phosphorus and sulfur, and (B) one or more compounds selected from the compounds represented by the following formulas (1) to (3).

SOLID ELECTROLYTE COMPRISING HALIDE, PREPARATION METHOD THEREOF AND SECONDARY BATTERY COMPRISING THE SAME

NºPublicación:  US20260018659A1 15/01/2026
Solicitante: 
LOTTE ENERGY MAT CORPORATION [KR]
SEOUL NATIONAL UNIV R&DB FOUNDATION [KR]
Lotte Energy Materials Corporation,
SEOUL NATIONAL UNIVERSITY R&DB FOUNDATION
US_20260018659_PA

Resumen de: US20260018659A1

Disclosed is a novel halide-based solid electrolyte composition exhibiting enhanced ionic conductivity, wherein the solid electrolyte composition comprises a lithium yttrium halide with a hexagonal close-packed structure, and when the occupancy of metal ions is defined as the number of metal ions relative to the number of metal ion sites within two consecutive layers constituting a unit cell with a hexagonal close-packed structure in the halide, the sum of the occupancies of metal ions within the two layers is 0.888 or less.

SECONDARY BATTERY AND ELECTRONIC DEVICE

NºPublicación:  US20260018670A1 15/01/2026
Solicitante: 
NINGDE AMPEREX TECH LIMITED [CN]
Ningde Amperex Technology Limited
US_20260018670_PA

Resumen de: US20260018670A1

An electrode assembly includes a positive electrode, a negative electrode, and a separator, and the separator is disposed between the positive electrode and the negative electrode; the electrode assembly satisfies 20≤n*x/y≤2000, where n represents a quantity of layers of the positive electrode along a thickness direction of the electrode assembly, x represents a dimension of the longest edge of a projection of the electrode assembly along the thickness direction, and y represents a maximum dimension of the electrode assembly along the thickness direction; the electrolyte includes a first additive with a reduction potential of 0.8 V to 1.8 V; and a mass percentage of the first additive in the electrolyte is denoted as a, where a is 0.1% to 15%.

NEGATIVE ELECTRODE FOR RECHARGEABLE LITHIUM BATTERY AND RECHARGEABLE LITHIUM BATTERY INCLUDING SAME

NºPublicación:  US20260018657A1 15/01/2026
Solicitante: 
SAMSUNG SDI CO LTD [KR]
SAMSUNG SDI CO., LTD
US_20260018657_PA

Resumen de: US20260018657A1

A negative electrode for a rechargeable lithium battery and a rechargeable lithium battery including the same are provided. The negative electrode includes: a current collector; a first negative active material layer on the current collector and including a first negative active material; and a second negative active material layer on the first negative active material layer and including a second negative active material, wherein the first negative active material layer and the second negative active material layer have a peak intensity ratio (I(002)/I(110)) of a peak intensity at a (002) plane relative to a peak intensity at a (110) plane of 150 or less when measured by X-ray powder diffraction (XRD) using a CuKα ray.

Pouch Film Supply Device for Secondary Batteries

NºPublicación:  US20260015198A1 15/01/2026
Solicitante: 
LG ENERGY SOLUTION LTD [KR]
LG Energy Solution, Ltd
US_20260015198_PA

Resumen de: US20260015198A1

A pouch film supply device for a secondary battery of the present technology includes: a plurality of first guide rollers installed between a pouch film inlet and a pouch film outlet to be spaced apart from each other, and configured to guide a pouch film, wherein one side of each of the plurality of first guide rollers is fixedly supported; a plurality of second guide rollers installed below the plurality of first guide rollers between the pouch film inlet and the pouch film outlet to be spaced apart from each other, and configured to guide the pouch film; and an inclination measurement member provided on another side of each of the first guide rollers to measure at least one of a vertical inclination and a horizontal inclination of each of the first guide rollers.

WINDER

NºPublicación:  US20260015196A1 15/01/2026
Solicitante: 
LG ELECTRONICS INC [KR]
LG ELECTRONICS INC
US_20260015196_PA

Resumen de: US20260015196A1

A winder applied can include a turret part configured to hold a running film roll and a standby film roll, and a leading part including a head part configured to sense a finishing tape attached to an end side of a thin film wound on the standby film roll, grip the finishing tape, and remove the finishing tape from the standby film roll. The head part can include a head body part, a sensing unit disposed on the head body part, and a tape adsorption part disposed on the head body part. The tape adsorption part may be configured to move to a position of the finishing tape sensed by the sensing unit, temporarily couple to the finishing tape, and remove the finishing tape from the end side of the thin film wound on the standby film roll. The sensing unit may be configured to sense the finishing tape.

CATALYSED SYNTHESIS OF FLUORINATED ALKENES AND FLUORINATED ALKENE COMPOSITIONS

NºPublicación:  US20260015306A1 15/01/2026
Solicitante: 
THE CHEMOURS COMPANY FC LLC [US]
THE CHEMOURS COMPANY FC, LLC
US_20260015306_PA

Resumen de: US20260015306A1

A method of producing a fluoroolefin includes contacting a compound of formula (1), RfCX1═CHCF3, with a fluorinated ethylene compound of formula (2), CX2X3═CX4X5 in the presence of a catalyst. In the compound of formula (1), Rf is a linear or branched C1-C10perfluorinated alkyl group and X1 is H, Br, Cl, or F. In the compound of formula (2), X2, X3, X4, and X5 are each independently H, Br, Cl, or F and at least three of X2, X3, X4, and X5 are 10 F. The resulting composition comprises a compound of formula (3), Rf(CF2)nCX6═CH(CF2)mCX7X8CFX9X10. In the compound of formula (3), X6, X7, X8, X9, and X10 are each independently H, Br, Cl, or F, and the total number of each of H, Br, Cl, and F corresponds to the total number of each of H, Br, Cl, and F provided by the compounds of formulae (1) and (2).

Battery assembly, wing of an aircraft, aircraft, and method for installing a battery assembly

NºPublicación:  US20260015091A1 15/01/2026
Solicitante: 
VAERIDION GMBH [DE]
Vaeridion GmbH
US_20260015091_PA

Resumen de: US20260015091A1

The present disclosure relates to a battery assembly configured to be mounted within at least one wing of at least one aircraft. The battery assembly includes at least one battery module which includes at least one battery cell. The battery assembly further includes at least one mounting structure configured to mount the battery module, along a mounting side of the battery module, to at least one support structure within the wing. The battery assembly is free of a mounting structure for mounting the battery module along a second side of the battery module, the second side being substantially opposite from the mounting side. The present disclosure further relates to wing of an aircraft, an aircraft, and method for installing a battery assembly.

BATTERY PACK AND ELECTRICAL DEVICE

NºPublicación:  WO2026012078A1 15/01/2026
Solicitante: 
SUNWODA MOBILITY ENERGY TECH CO LTD [CN]
\u6B23\u65FA\u8FBE\u52A8\u529B\u79D1\u6280\u80A1\u4EFD\u6709\u9650\u516C\u53F8
WO_2026012078_PA

Resumen de: WO2026012078A1

Provided in the embodiments of the present application are a battery pack and an electrical device. The battery pack comprises a housing, a flexible cold plate and a plurality of battery cells; the housing is provided with a cavity; the flexible cold plate is arranged in the cavity; the housing fits with the battery cells, and the flexible cold plate abuts against the inner wall of the cavity; the flexible cold plate is provided with a liquid cooling channel for conveying a cooling medium. When a battery cell undergoes thermal expansion, a cooling medium is introduced into the liquid cooling channel of the flexible cold plate to allow same to expand. The present application can improve the cooling and heat dissipation effect on the battery cells, and the housing provides protection for the flexible cold plate, thereby preventing the flexible cold plate from being prone to deformation caused by compression due to direct contact with the battery cells.

BATTERY, ENERGY STORAGE APPARATUS, AND ENERGY STORAGE SYSTEM

NºPublicación:  WO2026012054A1 15/01/2026
Solicitante: 
SHENZHEN HITHIUM ENERGY STORAGE TECH CO LTD [CN]
XIAMEN HITHIUM ENERGY STORAGE TECH CO LTD [CN]
\u6DF1\u5733\u6D77\u8FB0\u50A8\u80FD\u79D1\u6280\u6709\u9650\u516C\u53F8,
\u53A6\u95E8\u6D77\u8FB0\u50A8\u80FD\u79D1\u6280\u80A1\u4EFD\u6709\u9650\u516C\u53F8
WO_2026012054_PA

Resumen de: WO2026012054A1

Provided are a battery, an energy storage apparatus, and an energy storage system. The battery comprises: an electrode assembly, the electrode assembly comprising a positive electrode sheet, a separator, and a negative electrode sheet; an electrolyte, the electrolyte comprising an electrolyte salt and an organic solvent, the organic solvent comprising a cyclic carbonate and a chain carbonate, and a mass ratio of the cyclic carbonate to the chain carbonate being A; and a casing assembly, the casing assembly comprising a first end cover assembly, a casing body, and a second end cover assembly, the first end cover assembly comprising a first top cover and a first explosion-proof valve connected to each other, and the first top cover being electrically connected to the positive electrode sheet; the second end cover assembly comprises a second top cover, a negative terminal, and a second explosion-proof valve, the negative terminal being electrically connected to the negative electrode sheet; an area ratio of the first explosion-proof valve to the second explosion-proof valve is B; and the battery satisfies the relational expression: 2.23≤B/A≤17.65.

NEGATIVE ELECTRODE MATERIAL AND LITHIUM-ION BATTERY

Nº publicación: WO2026012510A1 15/01/2026

Solicitante:

BTR NEW MAT GROUP CO LTD [CN]
\u8D1D\u7279\u745E\u65B0\u6750\u6599\u96C6\u56E2\u80A1\u4EFD\u6709\u9650\u516C\u53F8

WO_2026012510_PA

Resumen de: WO2026012510A1

The present invention belongs to the technical field of battery negative electrode materials. Disclosed are a negative electrode material and a lithium-ion battery. The negative electrode material comprises a matrix and an active substance, wherein the matrix has pores, and the active substance is at least partially distributed in the pores of the matrix. In addition, the negative electrode material satisfies the following inequation, wherein A is the pore volume of the negative electrode material, with the unit thereof being cm3/g; and B is the average pore size of the negative electrode material, with the unit thereof being nm. By means of the negative electrode material provided in the embodiments of the present invention, an excellent first-day gas production quantity can be achieved, and the particle strength of the negative electrode material can be improved, thereby reducing the erosion of water molecules on an active substance, such as silicon particles, in the negative electrode material, reducing the first-day gas production quantity of the negative electrode material, and improving the cycling stability of the negative electrode material.

traducir