Ministerio de Industria, Turismo y Comercio LogoMinisterior
 

Alerta

Resultados 1111 resultados
LastUpdate Última actualización 25/01/2026 [07:40:00]
pdfxls
Publicaciones de los últimos 15 días/Last 15 days publications (excluidas pubs. CN y JP /CN and JP pubs. excluded)
previousPage Resultados 500 a 525 de 1111 nextPage  

VEHICLE DEVICE INCLUDING BATTERY PACK

NºPublicación:  EP4683034A1 21/01/2026
Solicitante: 
LG ENERGY SOLUTION LTD [KR]
LG Energy Solution, Ltd
EP_4683034_PA

Resumen de: EP4683034A1

A vehicle device according to certain aspects of the present disclosure comprises: a battery pack; and a tank. The battery pack comprises a plurality of battery cells; a pack frame in which the battery cells are directly mounted or in which the battery cells are mounted while being housed in a module frame; and a pack cover that covers the pack frame. The tank comprises a cooling water or fire extinguishing water; a tank discharge port through which cooling water or fire extinguishing water is discharged; and a sealing layer provided on one side surface where the tank discharge port is disposed.

METHOD OF PRODUCING RECYCLED MATERIAL, AND BIPOLAR BATTERY

NºPublicación:  EP4683040A1 21/01/2026
Solicitante: 
TOYOTA MOTOR CO LTD [JP]
TOYOTA JIDOSHA KABUSHIKI KAISHA
EP_4683040_A1

Resumen de: EP4683040A1

A method of producing a recycled material includes the following (a) to (d). (a) Preparing a bipolar battery that includes an electrolytic solution and that is sealed. (b) Forming a gas outlet hole on the bipolar battery. (c) Vaporizing at least some of the electrolytic solution by heating the bipolar battery by induction heating. (d) Retrieving the vaporized electrolytic solution from the gas outlet hole.

METHOD AND SYSTEM FOR PREDICTING BATTERY THERMAL RUNAWAY, AND STORAGE MEDIUM

NºPublicación:  EP4683031A2 21/01/2026
Solicitante: 
EVE ENERGY CO LTD [CN]
Eve Energy Co., Ltd
EP_4683031_PA

Resumen de: EP4683031A2

A method and a system for predicting battery thermal runaway, and a storage medium are provided. The method includes: obtaining voltage data of a battery to be tested under a preset condition; obtaining internal resistance data of the battery to be tested according to the preset condition and voltage data; processing the internal resistance data based on a preset activation energy model to obtain activation energy data of the battery to be tested; and determining a thermal runaway probability of the battery to be tested according to the activation energy data, thereby achieving accurate prediction of thermal runaway of the battery to be tested.

ELECTRODE ARRANGEMENT AND BATTERY COMPRISING THE ELECTRODE ARRANGEMENT

NºPublicación:  EP4681269A1 21/01/2026
Solicitante: 
KARLSRUHER INSTITUT FUER TECH KOERPERSCHAFT DES OEFFENTLICHEN RECHTS [DE]
Karlsruher Institut f\u00FCr Technologie, K\u00F6rperschaft des \u00F6ffentlichen Rechts
KR_20250159647_PA

Resumen de: CN120917590A

The invention relates to an electrode assembly for arrangement in a battery and to a battery having such an electrode assembly, the electrode assembly (1) having at least two layers (10, 20), each of which is formed by a pair of electrodes, each of which has an elongated anode planar element (11, 21) and an associated elongated cathode planar element (12, 22), the anode surface element and the cathode surface element are spaced apart from each other by a separating layer (13, 23), and at least one of the anode surface element (11, 21) or the cathode surface element (12, 22) has a surface profile with a cutout (14, 24), the surface shape of the at least one anode planar element (11, 21) or the cathode planar element (12, 22) differs from the surface shape of the elongated associated second anode planar element (11, 21) or the cathode planar element (12, 22), wherein the electrode pair forms an asymmetric electrode pair.

BATTERY STANDING METHOD AND DEVICE

NºPublicación:  EP4683022A1 21/01/2026
Solicitante: 
GREENSUN INC [CN]
Greensun Inc
EP_4683022_PA

Resumen de: EP4683022A1

Disclosed are a battery standing method and device, and the battery standing method comprises the following steps: S1: putting a battery subjected to electrolyte injection into an electrolyte injection capsule, and then transferring the electrolyte injection capsule and the battery in the electrolyte injection capsule to a first transfer conveying line; S2: conveying the electrolyte injection capsule and the battery in the electrolyte injection capsule to a standing unit through the first transfer conveying line; S3: transporting the electrolyte injection capsule on the first transfer conveying line and the battery in the electrolyte injection capsule into a standing cavity of the standing unit, and electrically connecting an auxiliary energizing mechanism on the standing cavity with a positive electrode probe and a negative electrode probe of the electrolyte injection capsule; and S4: connecting the auxiliary energizing mechanism on the standing cavity with a power supply to supply power to a heating plate of the electrolyte injection capsule, and energizing the heating plate to heat the battery in the electrolyte injection capsule. According to the invention, an electrolyte injected into the battery can rapidly and fully infiltrate an interior of a cell of the battery, so that the production efficiency is improved.

ELECTRODE ASSEMBLY AND SECONDARY BATTERY INCLUDING THE SAME

NºPublicación:  EP4683021A1 21/01/2026
Solicitante: 
SAMSUNG SDI CO LTD [KR]
SAMSUNG SDI CO., LTD
EP_4683021_PA

Resumen de: EP4683021A1

A secondary battery includes: an electrode assembly including a through-hole in a thickness direction thereof, a case having an opening and accommodating the electrode assembly, a cap plate coupled to an end of the case having the opening of the case, and an electrode terminal electrically connected to an electrode tab of the electrode assembly and penetrating through the cap plate. The secondary battery further includes a fixing member in the through-hole to secure the electrode assembly in the thickness direction.

SECONDARY BATTERY AND SECONDARY BATTERY MANUFACTURING METHOD

NºPublicación:  EP4683019A1 21/01/2026
Solicitante: 
LG ENERGY SOLUTION LTD [KR]
LG Energy Solution, Ltd
EP_4683019_PA

Resumen de: EP4683019A1

A method for manufacturing a secondary battery according to an embodiment of the present disclosure may include a first sealing step of sealing an edge of a pouch-type outer packaging by forming an edge sealing portion at the edge of the pouch-type outer packaging having an accommodation portion for accommodating an electrode assembly and a collection portion for collecting gases produced during charging and discharging of the electrode assembly, a degassing step of venting the gases collected in the collection portion during the charging and discharging of the electrode assembly to outside of the pouch-type outer packaging, and a second sealing step of forming a division sealing portion between the accommodation portion and the collection portion in the pouch-type outer packaging to divide the accommodation portion from the collection portion after the degassing step, wherein the first sealing step may further include forming an additional sealing portion extended from the edge sealing portion in a direction that runs between the accommodation portion and the collection portion, wherein the additional sealing portion may be disposed in the collection portion, spaced apart from the division sealing portion.

ENERGY STORAGE APPARATUS AND ENERGY STORAGE SYSTEM

NºPublicación:  EP4683161A1 21/01/2026
Solicitante: 
CONTEMPORARY AMPEREX TECHNOLOGY CO LTD [CN]
Contemporary Amperex Technology Co., Limited
EP_4683161_PA

Resumen de: EP4683161A1

The present application provides an energy storage apparatus and an energy storage system, where the energy storage apparatus includes a box, at least two mutually insulated input-output terminals, and at least two mutually independent high-voltage circuits; and each high-voltage circuit includes at least one battery, a plurality of batteries are accommodated in the box, and the high-voltage circuits are electrically connected to the input-output terminals in a one-to-one correspondence. The energy storage apparatus provided by the present application helps to reduce the power demand of the energy storage apparatus on related charging mechanisms, thereby lowering the cost of the related charging mechanisms, and can also meet more diverse and higher power demands, allowing the energy storage apparatus to more flexibly adapt to various power requirements, thus helping to reduce the usage costs of the energy storage apparatus.

CONNECTOR, ENERGY STORAGE MODULE AND ENERGY STORAGE DEVICE

NºPublicación:  EP4683127A1 21/01/2026
Solicitante: 
HUAWEI DIGITAL POWER TECH CO LTD [CN]
Huawei Digital Power Technologies Co., Ltd
EP_4683127_A1

Resumen de: EP4683127A1

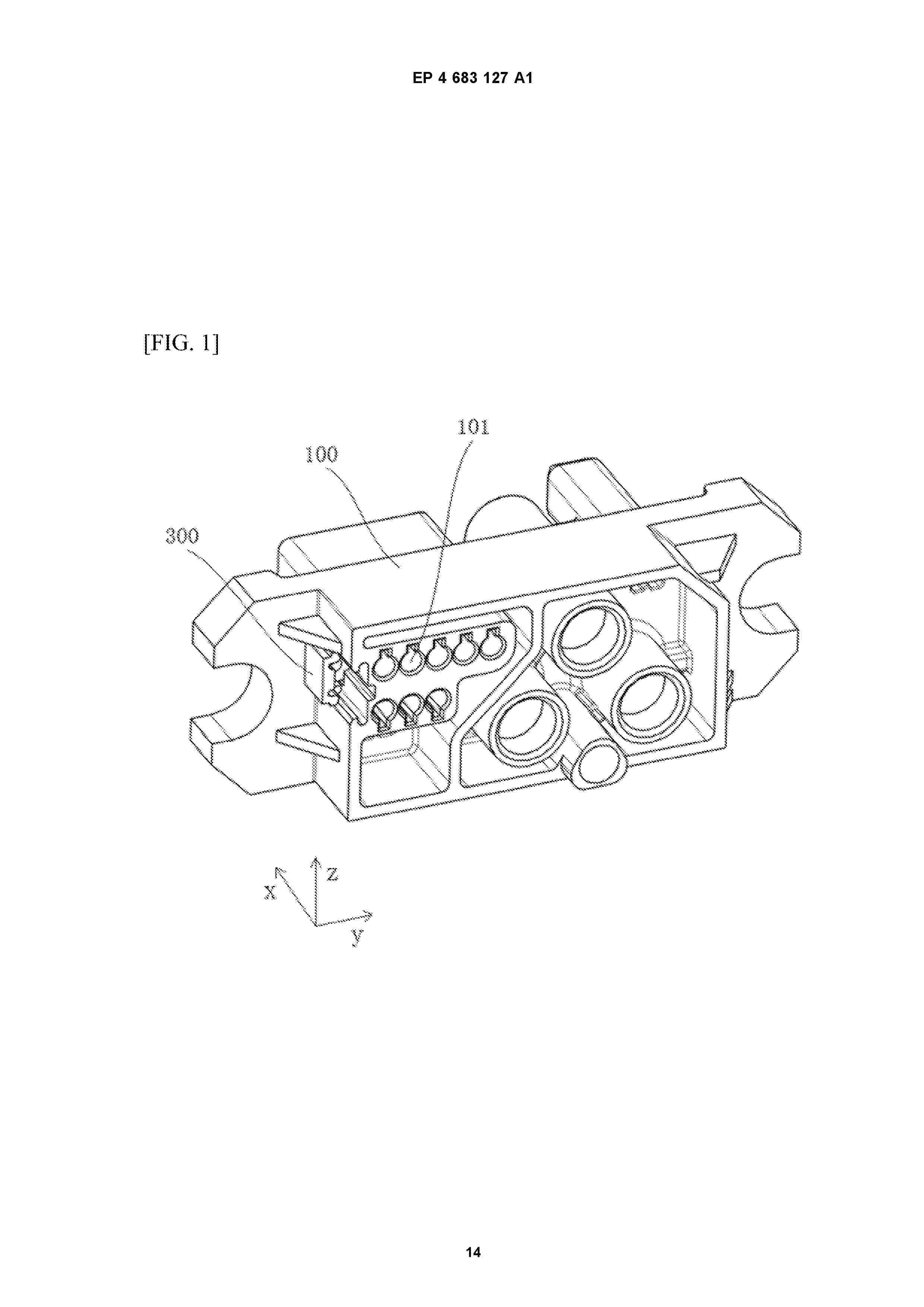
A connector, an energy storage module, and an energy storage apparatus are disclosed, and relate to the field of energy technologies, to resolve a problem that a connector terminal is prone to pin dislodgement. The connector includes a housing, a first connection terminal, and a locking structure. A first mounting hole extending in a first direction and a mounting groove extending in a second direction are provided on the housing, and the second direction is perpendicular to the first direction. The first connection terminal is inserted into the first mounting hole, and a limiting groove is provided on the first connection terminal. The locking structure is slidably connected to the mounting groove, a limiting protrusion is disposed on the locking structure, and when the locking structure slides to a first position, the limiting protrusion is in the limiting groove, to limit the first connection terminal from moving in the first direction. When the foregoing structure is used, pluggable mounting between energy storage modules can be implemented. In a stacking process of the energy storage modules, even if the connectors are subjected to heavy impact, pin dislodgement does not occur, and connection reliability can be ensured regardless of oblique insertion or vertical drop.

END COVER ASSEMBLY, END COVER, BATTERY CELL, BATTERY, AND ELECTRIC DEVICE

NºPublicación:  EP4683062A1 21/01/2026
Solicitante: 
CONTEMPORARY AMPEREX TECHNOLOGY CO LTD [CN]
Contemporary Amperex Technology Co., Limited
EP_4683062_PA

Resumen de: EP4683062A1

The present application discloses an end cover assembly, an end cover, a battery cell, a battery, and an electric device. The end cover assembly comprises an end cover, electrode terminals and insulating members. Mounting holes are formed in the end cover. The electrode terminals are mounted in the mounting holes. The insulating members are at least partially arranged between the electrode terminals and the end cover, so as to insulate and isolate the electrode terminals from the end cover. The end cover and/or the electrode terminals are provided with first limiting parts; the insulating members are provided with second limiting parts; and the first limiting parts are snap-fitted to the second limiting parts to limit rotation of the insulating members relative to the end cover and/or the electrode terminals. In this way, the risk of rotation of the insulating members relative to the end cover can be reduced, the sealing performance between the insulating members and the end cover is improved, the sealing performance between the insulating members and the electrode terminals is improved, the risk of leakage of an electrolyte is reduced, and the reliability of the battery cell is improved.

SECONDARY BATTERY INCLUDING ELECTRODE ASSEMBLY LATERALLY INSERTED IN CASE AND METHOD OF MANUFACTURING SAME

NºPublicación:  EP4683051A1 21/01/2026
Solicitante: 
SAMSUNG SDI CO LTD [KR]
SAMSUNG SDI CO., LTD
EP_4683051_PA

Resumen de: EP4683051A1

A secondary battery includes: a case having an open lateral surface; an electrode assembly inserted into the case through the open lateral side, the electrode assembly comprising a bent electrode tab; a terminal electrically connected to the bent electrode tab of the electrode assembly, the terminal being exposed to the outside of the case; a cover sealing the open lateral side of the case; and an electrode plate insulating member electrically insulating the electrode assembly from the terminal.

BATTERY MANAGEMENT DEVICE AND BATTERY MANAGEMENT METHOD

NºPublicación:  EP4682564A1 21/01/2026
Solicitante: 
LG ENERGY SOLUTION LTD [KR]
LG Energy Solution, Ltd
EP_4682564_PA

Resumen de: EP4682564A1

A battery management device disclosed in the present document comprises: a sensor unit for measuring the voltage and current of a plurality of battery cells; and a control unit for generating accumulated voltage deviation data in which deviations between the voltages of the plurality of battery cells are accumulated, determining the SOC of the plurality of battery cells on the basis of the currents, generating accumulated SOC deviation data in which deviations between the SOC of the plurality of battery cells are accumulated, and determining the cause of failure of the plurality of battery cells on the basis of the accumulated voltage deviation data and the accumulated SOC deviation data.

BATTERY DIAGNOSIS APPARATUS AND OPERATION METHOD THEREOF

NºPublicación:  EP4682562A2 21/01/2026
Solicitante: 
LG ENERGY SOLUTION LTD [KR]
LG Energy Solution, Ltd
EP_4682562_PA

Resumen de: EP4682562A2

A battery diagnosis apparatus according to an embodiment herein includes an interface configured to obtain a frequency-specific impedance of a voltage applied between each of a plurality of measurement points of a first electrode lead of an inspection target battery cell and a second electrode lead of the battery cell and one or more processors configured to diagnose a state of the battery cell, based on a first impedance that is an impedance between a first point among the plurality of measurement points and the second electrode lead, a second impedance that is an impedance between a second point among the plurality of measurement points and the second electrode lead, and a first impedance variance that is a difference between the first impedance and the second impedance.

POLYAMIDE MOLDING COMPOSITION WITH ENHANCED FIRE RESISTANCE

NºPublicación:  EP4680669A1 21/01/2026
Solicitante: 
SYENSQO SPECIALTY POLYMERS USA LLC [US]
SYENSQO SPECIALTY POLYMERS USA, LLC
CN_121311537_A

Resumen de: WO2024194225A1

The present invention relates to a polyamide molding composition comprising at least one polyamide (PA), glass fibers (GFs), and at least one flame retardant (FR), wherein a time of failure (tF) of the composition is at least 5.0 min, preferably at least 6.0 min, more preferably at least 10.0 min, and to a polyamide molding composition comprising at least one PA, GFs, and at least one FR, wherein the distribution of the lengths of the GFs is characterized by an arithmetic average length (Lav) of 220 μm or more; and the proportion of the GFs having a length higher than 400 µm is at least 20% (in numbers). The present invention also relates to an article comprising said composition, and to use of the glass fibers and a flame retardant in improving thermal resistance of a polyamide molding composition.

A FLEXIBLE SHEET-LIKE SENSOR DEVICE FOR TEMPERATURE DISTRIBUTION MEASUREMENTS

NºPublicación:  EP4680924A1 21/01/2026
Solicitante: 
DAETWYLER SCHWEIZ AG [CH]
D\u00E4twyler Schweiz AG
CN_120898117_PA

Resumen de: CN120898117A

A flexible sheet-like sensor device (1) for measuring the temperature distribution of battery cells of a battery pack, comprising: a flexible insulating film (2) having a first surface (21) and a second surface (22) opposite the first surface (21); a conductive line (3) printed on a first surface (21) of the insulating film (2); the plurality of surface-mounted thermistors (4) are arranged on the first surface (21) of the insulating film (2), the plurality of surface-mounted thermistors (4) are electrically connected through the conductive circuit (3), and the plurality of surface-mounted thermistors (4) are distributed on the first surface (21) of the insulating film (2) so as to be capable of measuring the surface temperature distribution of a single battery monomer of the battery pack.

APPARATUS AND METHOD FOR ESTIMATING SOH

NºPublicación:  EP4682563A1 21/01/2026
Solicitante: 
LG ENERGY SOLUTION LTD [KR]
LG Energy Solution, Ltd
EP_4682563_PA

Resumen de: EP4682563A1

An apparatus for estimating a SOH according to one aspect of the present disclosure may include a profile obtaining unit configured to obtain an OCV profile for a plurality of OCVs of a battery measured at different time points; a profile correcting unit configured to generate an adjusted positive electrode profile and an adjusted negative electrode profile by adjusting a preset criterion positive electrode profile and a preset criterion negative electrode profile to correspond to the OCV profile; and a control unit configured to extract a diagnosis factor about a negative electrode change rate for the battery from the criterion negative electrode profile and the adjusted negative electrode profile, and estimate a negative electrode SOH of the battery based on the extracted diagnosis factor.

ELECTRODE LEAD, MANUFACTURING METHOD THEREFOR, AND LITHIUM SECONDARY BATTERY COMPRISING SAME

NºPublicación:  EP4683096A1 21/01/2026
Solicitante: 
LG ENERGY SOLUTION LTD [KR]
LG Energy Solution, Ltd
EP_4683096_PA

Resumen de: EP4683096A1

The present invention relates to an electrode lead electrically connected to an electrode assembly, the electrode lead including a metal terminal; and a film layer which is disposed on the metal terminal and has two or more patterns engraved on a surface of the film layer, wherein the two or more patterns are arranged apart from each other at equal intervals in a direction parallel to the film layer, and each of the patterns includes a side surface and a bottom surface.

BOX PROTECTION STRUCTURE AND BATTERY PACK

NºPublicación:  EP4683070A1 21/01/2026
Solicitante: 
EVE ENERGY CO LTD [CN]
Eve Energy Co., Ltd
EP_4683070_PA

Resumen de: EP4683070A1

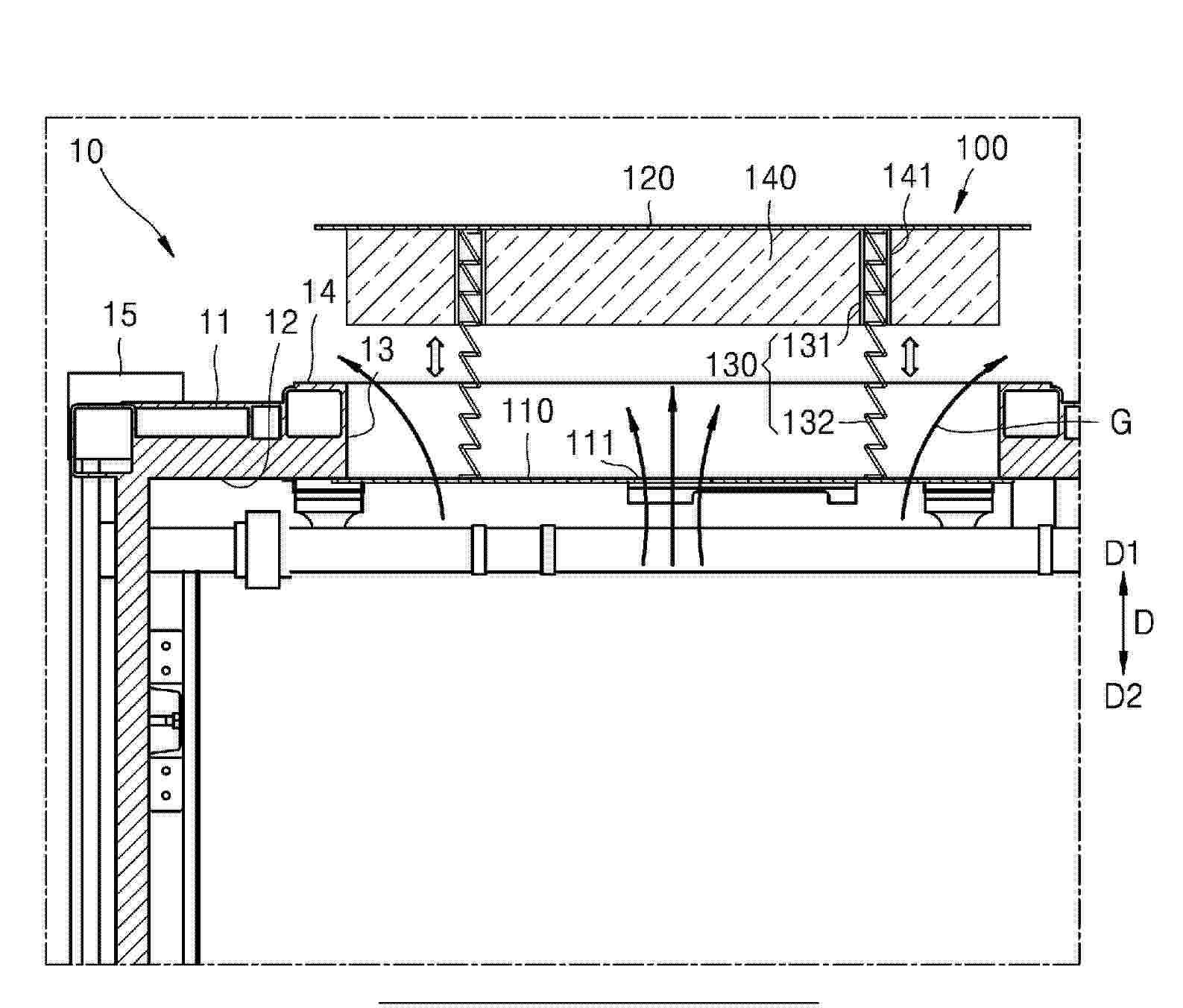
A box protection structure includes a bottom protection plate (120), a battery module (500) placed on the bottom protection plate (120), a reinforcing plate (200) disposed on a side of the bottom protection plate (120) facing away from the battery module (500), and buffer blocks (300) disposed on a side of the bottom protection plate (120) facing the battery module (300). The buffer blocks (300) are disposed between the battery module (500) and the bottom protection plate (120). The reinforcing plate (200) includes multiple support portions (210) and multiple connection portions (220) which are alternately distributed and connected to each other. The multiple support portions (210) and the bottom protection plate (120) are disposed at intervals, the connection portions (220) abut against the bottom protection plate (120), and the buffer blocks (300) are disposed corresponding to positions of the connection portions (220).

HIERARCHICAL NETWORK CATHODE MATERIALS FOR LITHIUM-SULFUR BATTERIES AND METHODS FOR MAKING THE SAME

NºPublicación:  EP4681263A1 21/01/2026
Solicitante: 
UNIV MICHIGAN REGENTS [US]
The Regents of the University of Michigan
CN_121241452_PA

Resumen de: WO2024196868A1

A lithium-sulfur positive electrode material that can be incorporated into a lithium-sulfur battery includes a sulfur host material configured to receive a sulfur electroactive material that cycles lithium ions. The sulfur host material includes a fibrous carbonaceous network, an electroactive metal associated with the fibrous carbonaceous network, and a plurality of carbon nanotubes formed on the fibrous carbonaceous network. Methods of making a lithium-positive electrode material may include forming a porous membrane from aramid nanofibers, contacting a salt including the electroactive metal with it, contacting a plurality of zeolitic imidazolate framework-67 particles with it, pyrolyzing to form a fibrous carbonaceous network having the electroactive metal, and then forming a plurality of carbon nanoparticles on a plurality of sites in the fibrous carbonaceous network.

Method for producing a composite of sodium vanadium fluorophosphate with amorphous carbon, a positive electrode material for sodium-ion cells produced by this method, and a sodium-ion cell using this electrode material

NºPublicación:  PL449249A1 19/01/2026
Solicitante: 
UNIV WARSZAWSKI [PL]
UNIWERSYTET WARSZAWSKI
PL_449249_A1

Resumen de: PL449249A1

Przedmiotem zgłoszenia jest sposób wytwarzania kompozytu fluorofosforanu sodowo-wanadowego z węglem amorficznym, krystalizującego w strukturze NASICON-u, polegający na przygotowaniu stałej, homogenicznej i stechiometrycznej mieszaniny prekursorów zawierających jony Na+, VO3-, PO43- i F- oraz przeciwjony ulegające rozpadowi do produktów gazowych w wysokiej temperaturze, którą to mieszaninę poddaje się obróbce termicznej i następczej homogenizacji z materiałem węglowym charakteryzujący się tym, że stała homogeniczna mieszanina prekursorów, zawierająca dodatkowo utleniacz i paliwo, poddawana jest samospaleniu, a otrzymany materiał poddawany jest mieleniu z węglem bezpostaciowym z następczą obróbką termiczną, gdzie: przygotowuje się roztwór utleniacza, zawierający NH4F, (NH4)2HPO4 i NaNO3 w stosunku molowym 3:2:3 w wodzie dejonizowanej w zlewce z PTFE, przy czym utleniaczem są aniony azotanowe, przygotowuje się roztwór paliwa zawierający NH4VO3 i kwas cytrynowy w stosunku molowym 3:2 w wodzie dejonizowanej w zlewce szklanej, przy czym paliwem jest kwas cytrynowy, roztwór utleniacza i roztwór paliwa poddaje się jednoczesnemu mieszaniu i ogrzewaniu w temperaturze 80°C, do momentu, gdy roztwór paliwa zmieni kolor na niebieski, dodaje się kropla po kropli roztwór paliwa do roztworu utleniacza przy ciągłym mieszaniu przy zachowaniu stosunku molowego NH4VO3 do (NH4)2HPO4 wynoszącego 1:1, a następnie ogrzewa się w temperaturze 80°C do c

Electrolyte solide et préparation de celui-ci

NºPublicación:  FR3164464A1 16/01/2026
Solicitante: 
ARKEMA FRANCE [FR]
INST POLYTECHNIQUE DE GRENOBLE [FR]
UNIV GRENOBLE ALPES [FR]
CENTRE NATIONAL DE LA RECHERCHE SCIENT [FR]
UNIV SAVOIE MONT BLANC [FR]
ARKEMA FRANCE,
INSTITUT POLYTECHNIQUE DE GRENOBLE,
UNIVERSITE GRENOBLE ALPES,
CENTRE NATIONAL DE LA RECHERCHE SCIENTIFIQUE,
UNIVERSITE SAVOIE MONT BLANC
FR_3164464_A1

Resumen de: FR3164464A1

La présente invention concerne des compositions comprenant des particules d’un polymère fluoré et des particules inorganiques solides caractérisée en ce que lesdites particules inorganiques solides ont un module de Young compris entre 1 et 100 GPa et en ce que ledit polymère fluoré a viscosité à l’état fondu inférieure à 45 kPoise mesurée à 230°C à une vitesse de cisaillement de 100 s-1 selon la norme ASTM D3835.

PROCEDE DE PROTECTION D’UN CIRCUIT DE BATTERIE DE VEHICULE ELECTRIQUE OU HYBRIDE COMPRENANT UNE LIAISON ELECTRIQUE VISSEE

NºPublicación:  FR3164572A1 16/01/2026
Solicitante: 
STELLANTIS AUTO SAS [FR]
STELLANTIS AUTO SAS
FR_3164572_PA

Resumen de: FR3164572A1

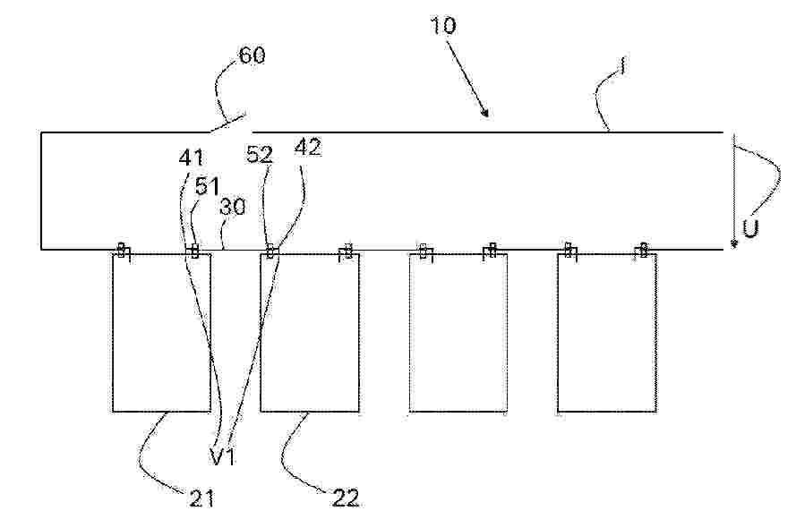
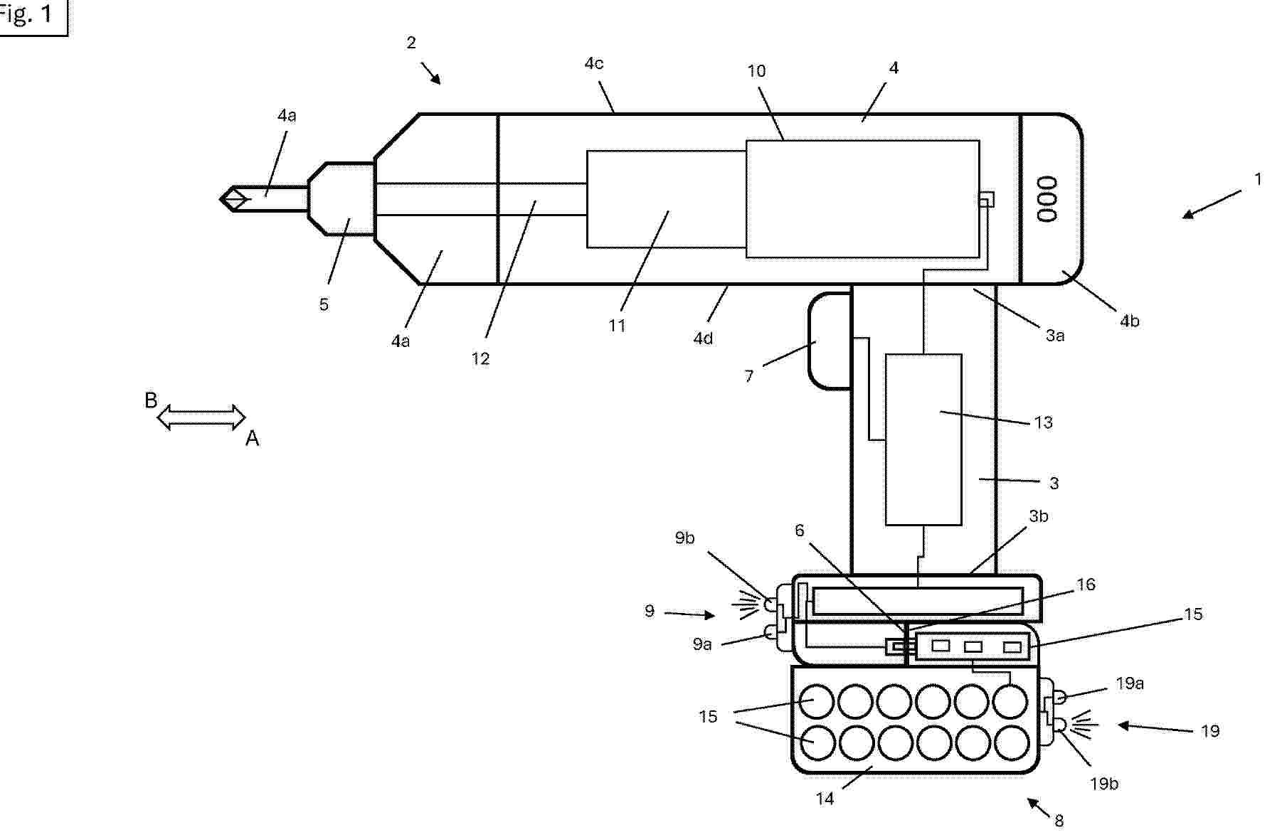
L'invention vise à améliorer la sécurité du conducteur et assurer l'intégrité d’un véhicule électrique ou hybride en proposant un procédé de protection pour un circuit électrique (10) comprenant un interrupteur (60) et une batterie. La batterie comprend un premier module (21) et un deuxième module (22) reliés par une barre de connexion (30) fixée aux bornes du premier module et du deuxième module par respectivement une première liaison électrique vissée (51) et une deuxième liaison électrique vissée (52). Le procédé inclut des étapes de mesure de la tension, d’intensité de courant et de calcul de la résistance des liaisons électriques vissées, permettant d'identifier les liaisons électriques vissées (50) défaillantes. Le procédé inclut ouvrir l’interrupteur (60) en cas de défaillance critique. Des sondes de température peuvent être ajoutées sur les liaisons électriques vissées du circuit pour offrir un moyen de détection supplémentaire. Figure 1

VEHICULE AUTOMOBILE A BATTERIE ET PILE A COMBUSTIBLE, COMPRENANT UN MOYEN DE CHAUFFAGE DE LA PILE AU DEMARRAGE EN FAIBLE CHARGE DE LA BATTERIE, PROCEDE ET PROGRAMME SUR LA BASE D’UN TEL VEHICULE

NºPublicación:  FR3164423A1 16/01/2026
Solicitante: 
STELLANTIS AUTO SAS [FR]
STELLANTIS AUTO SAS
FR_3164423_PA

Resumen de: FR3164423A1

L’invention concerne un véhicule automobile comprenant :- un moteur électrique ;- une pile à combustible et une batterie de traction ;- des moyens d’évaluation d’une puissance (PFC) et d’une température de la pile (TFC) ; d’une puissance de la batterie (PB) ;- un moyen de chauffage de la pile ; et- un moyen de démarrage moteur électrique sur la pile à combustible ou de la batterie électrique,caractérisé en ce que si les puissances et températures (PFC, TFC) sont inférieures des seuils de puissance (S2, S3), alors le moyen de démarrage actionne le démarrage du moteur électrique sur la pile à combustible, et le chauffage de la pile à combustible. L’invention concerne également un procédé et un programme sur la base d’un tel véhicule. Figure 2

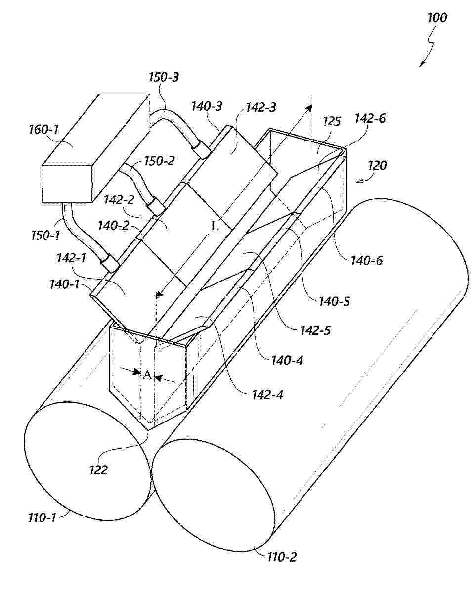
Batterie pour véhicule électrique ou hybride, comprenant des traverses ayant des extrémités formant des protubérances contre un système de refroidissement

NºPublicación:  FR3164569A1 16/01/2026
Solicitante: 
AUTOMOTIVE CELLS COMPANY SE [FR]
AUTOMOTIVE CELLS COMPANY SE
FR_3164569_PA

Resumen de: FR3164569A1

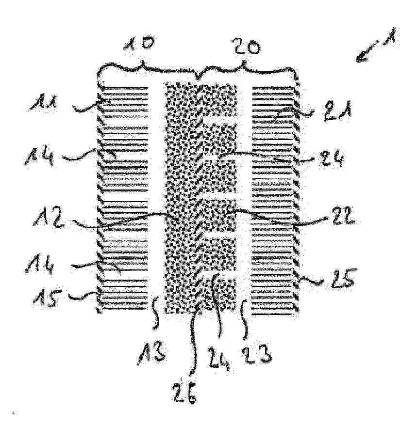
Batterie pour véhicule électrique ou hybride, comprenant des traverses ayant des extrémités formant des protubérances contre un système de refroidissement Batterie pour véhicule électrique ou hybride, comprenant : - un boîtier définissant un logement s’étendant dans une direction longitudinale (X) et dans une direction transversale (Y), - des ensembles (16) de cellules électrochimiques (18) susceptibles en fonctionnement de dégager de la chaleur, - des traverses (20) transversales, chacun des ensembles s’étendant longitudinalement entre deux traverses, - un système de refroidissement (22) en contact thermique avec les ensembles et les traverses. Deux traverses extrêmes (20A, 20B) comprennent : - une partie principale (26) formant une poutre, - deux extrémités (28, 30) transversales comportant un pied (32) s’étendant contre le système de refroidissement et formant une protubérance dans la direction longitudinale à partir de la partie principale du côté opposé aux ensembles, chacune des deux extrémités étant en contact thermique avec un des ensembles. Figure pour l'abrégé : figure 2

Pack batterie sous forme généralement cylindrique et système à pile à combustible utilisant un tel pack

Nº publicación: FR3164574A1 16/01/2026

Solicitante:

AMPERE S A S [FR]
AMPERE s.a.s

FR_3164574_PA

Resumen de: FR3164574A1

L’invention concerne un pack batterie (1) comprenant une pluralité de cellules électrochimiques (4), le pack batterie ayant une enveloppe extérieure (10) de forme prédéterminée, avec un corps principal (14) généralement cylindrique de révolution autour d’un axe de corps. L’invention concerne un système de fourniture d'énergie électrique à base de pile à combustible, le système comprenant une pile à combustible, un agencement de batterie électrique en aval de la pile à combustible, un agencement de fourniture de gaz dihydrogène, une pluralité d'emplacements, chaque emplacement étant configuré pour recevoir un réservoir d’hydrogène sous forme de bouteille généralement cylindrique, au moins un des emplacements étant configuré pour recevoir, en lieu et place d’un réservoir d’hydrogène, un pack batterie ayant une forme sensiblement voisine d’un réservoir d’hydrogène. Figure de l’abrégé : Fig. 2

traducir