Ministerio de Industria, Turismo y Comercio LogoMinisterior
 

Alerta

Resultados 1111 resultados
LastUpdate Última actualización 25/01/2026 [07:40:00]
pdfxls
Publicaciones de los últimos 15 días/Last 15 days publications (excluidas pubs. CN y JP /CN and JP pubs. excluded)
previousPage Resultados 475 a 500 de 1111 nextPage  

BUSBARS FOR A POWER DISTRIBUTION UNIT

NºPublicación:  EP4683044A2 21/01/2026
Solicitante: 
EATON INTELLIGENT POWER LTD [IE]
Eaton Intelligent Power Limited
EP_4683044_PA

Resumen de: EP4683044A2

In some aspects, the techniques described herein relate to a busbar for electrically connecting components in a power distribution unit (PDU), the busbar including: a first metallic bar configured at one end to be coupled to a terminal of the PDU; and a heat distribution block at the one end of the first metallic bar. In some aspects, the techniques described herein relate to a busbar, wherein the heat distribution block includes a vapor chamber. In some aspects, the techniques described herein relate to a busbar, wherein a shape of the vapor chamber conforms to a shape of the one end. In some aspects, the techniques described herein relate to a busbar, wherein the heat distribution block includes a metal block, wherein the metal block includes a phase change material.

GRADIENT-DOPED HIGH-NICKEL LAYERED OXIDE POSITIVE-ELECTRODE MATERIAL WITH HIGH-ENTROPY SURFACE AND MEDIUM-ENTROPY INTERIOR AND PREPARATION METHOD THEREOF

NºPublicación:  EP4682113A1 21/01/2026
Solicitante: 
TIANLI LITHIUM ENERGY GROUP CO LTD [CN]
Tianli Lithium Energy Group Co., Ltd
EP_4682113_PA

Resumen de: EP4682113A1

The present invention belongs to the technical field of lithium-ion battery electrode materials, specifically relating to a gradient-doped high-nickel layered oxide positive-electrode material with high-entropy surface and medium-entropy interior and a preparation method thereof. According to the present invention, the preparation method of the gradient-doped high-nickel layered oxide positive-electrode material with high-entropy surface and medium-entropy interior, involves doping the surface of the material with five or more elements to form a surface high-entropy reconstruction layer, while the interior of the material is doped with four elements to form a medium-entropy doping structure. The high-entropy reconstruction layer on the surface utilizes the synergistic effects of multiple elements to form a superlattice structure on the surface, so as to reduce the valence state of surface nickel, thereby stabilizing the interfacial structure and minimizing side reactions with the electrolyte. Through this method, the cycling stability of nickel-rich layered oxide positive-electrode materials can be significantly improved. It is a simple in process, low-cost, easy-to-operate, and high-performance method with promising prospects for industrial production and application.

LITHIUM SECONDARY BATTERY

NºPublicación:  EP4682982A1 21/01/2026
Solicitante: 
SK ON CO LTD [KR]
SK On Co., Ltd
EP_4682982_PA

Resumen de: EP4682982A1

A lithium secondary battery according to the embodiments of the present disclosure includes a cathode which includes lithium-metal oxide particles having a compressive fracture strength of 1,500 MPa or more and having a single particle form; an anode disposed opposite to the cathode and including a lithium metal layer; and a solid electrolyte layer interposed between the cathode and the anode and including a sulfide-based solid electrolyte.

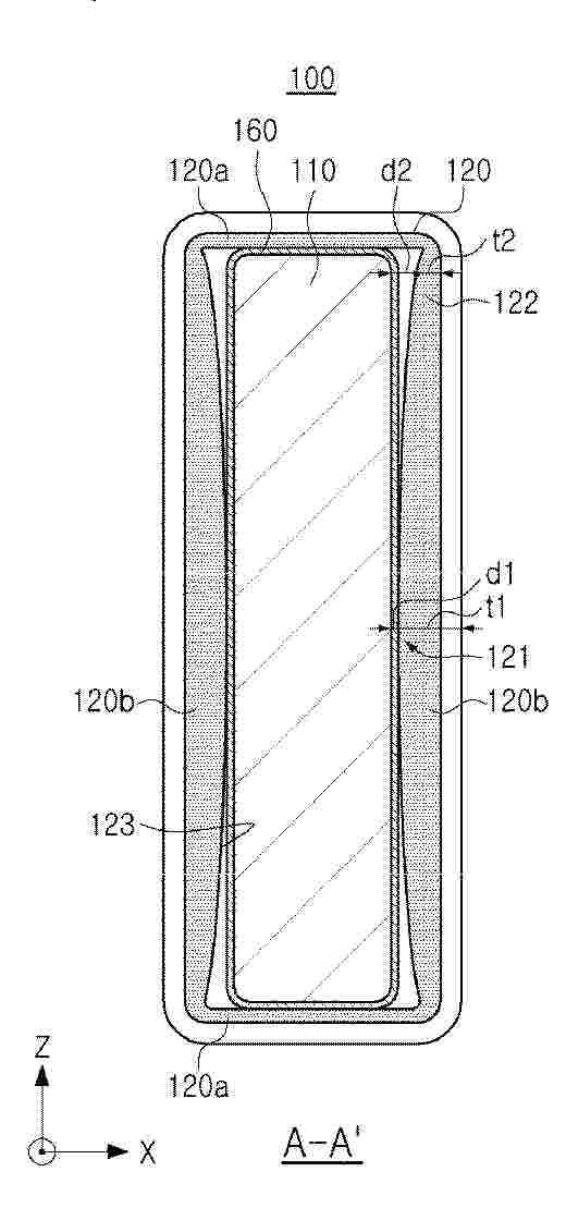
BATTERY PACK

NºPublicación:  EP4683083A1 21/01/2026
Solicitante: 
AESC JAPAN LTD [JP]
AESC Japan Ltd
EP_4683083_PA

Resumen de: EP4683083A1

Disclosed is a battery pack, including: a casing (100), the casing (100) having an exhaust channel (400); multiple cells (210), the multiple cells (210) being all disposed in the casing (100), and the gas discharged from the cell being adaptable to be discharged out of the casing (100) through the exhaust channel (400); an intercepting structure (300), disposed in the exhaust channel (400), the intercepting structure (300) having an intercepting surface (310), the intercepting surface (310) being configured to intercept particles mixed in the gas discharged from the cell.

PIPING SYSTEM WITH NUMEROUS EXITS

NºPublicación:  EP4682420A1 21/01/2026
Solicitante: 
TI AUTOMOTIVE TECH CT GMBH [DE]
TI Automotive Technology Center GmbH
EP_4682420_PA

Resumen de: EP4682420A1

Eine Hauptleitung (1) zum Verteilen oder Sammeln eines Mediums und insbesondere eines Temperiermediums weist ein Hauptrohr (2) und wenigstens drei Abgängen (3, 4) auf. Die Abgänge (3, 4) sind mit dem Hauptrohr (2) verbunden, wobei das Hauptrohr (2) eine Achse (A) umfasst und eine axiale Richtung definiert. Wenigstens einer der Abgängen (3, 4) weist einen Leitungsverbinder (5) und ein Rohrstück (6) auf. Ein erstes Ende des Rohrstücks (6) ist mit dem Hauptrohr (2) verbunden. Ein zweites. Ende des Rohrstücks (6) ist mit dem Leitungsverbinder (5) verbunden. Das erste Ende und vorzugsweise das zweite Ende des Rohrstücks (6) ist integral mit dem Hauptrohr (2) verbunden.

BATTERY PACK

NºPublicación:  EP4683067A2 21/01/2026
Solicitante: 
SK ON CO LTD [KR]
SK On Co., Ltd
EP_4683067_PA

Resumen de: EP4683067A2

A battery pack includes a plurality of battery modules each including a plurality of battery cells; and a pack housing having a plurality of accommodation spaces in which the plurality of battery modules are accommodated and at least one flow passage,wherein at least one of the plurality of battery modules includes an upper cover covering an upper portion of the plurality of battery cells; andat least one discharge port configured to allow gas generated from the plurality of battery cells to be discharged; andwherein the upper cover is configured to cover a gap between the at least one discharge port and the at least one flow passage of the pack housing.

DEPOSITION SYSTEM

NºPublicación:  EP4682967A2 21/01/2026
Solicitante: 
LG ENERGY SOLUTION LTD [KR]
LG Energy Solution, Ltd
EP_4682967_PA

Resumen de: EP4682967A2

Provided is a system for depositing a material. The system comprises a die and a flow guide. The die comprises an opening and a cavity communicating with the opening. The die is configured to extrude the material in a principal deposition direction through the opening. The flow guide is disposed in the cavity and is configured to shape a flow of the material extruded by the die. The flow guide comprises a flow narrowing portion and a flow shaping portion. The flow narrowing portion extends in a width direction perpendicular to the principal deposition direction so as to block the material from flowing through in the principal deposition direction.The flow shaping portion extends downstream from the flow narrowing portion in the principal deposition direction. A width of the flow shaping portion is smaller than, or decreases from, a width of the flow narrowing portion.

CATHODE, ELECTROCHEMICAL DEVICE AND ELECTRONIC DEVICE COMPRISING SAME

NºPublicación:  EP4683032A2 21/01/2026
Solicitante: 
NINGDE AMPEREX TECHNOLOGY LTD [CN]
Ningde Amperex Technology Limited
EP_4683032_A2

Resumen de: EP4683032A2

The present application relates to a cathode, an electrochemical device and an electronic device including the same. The cathode includes: a cathode current collector, a first cathode active material layer, a second cathode active material layer and an insulating layer; where the first cathode active material layer covers a first portion of a first surface of the cathode current collector, and the insulating layer covers a second portion of the first surface of the cathode current collector that is different from the first portion, where a first distance exists between the insulating layer and the first cathode active material layer in a longitudinal direction of the cathode current collector. By providing a gap between the active material layer in a two-layer structure and the insulating layer in the cathode, the potential problem of the overlapping of the active material layer in a two-layer structure and the insulating layer on the cathode is alleviated, thereby ensuring that the electrochemical device cannot catch fire and lead to failure in the event of being punctured, and further ensuring the mechanical safety performance of the electrochemical device.

SYSTEMS AND METHODS FOR ENGINE START

NºPublicación:  EP4681951A2 21/01/2026
Solicitante: 
POLARIS INC [US]
Polaris Industries Inc
EP_4681951_A2

Resumen de: EP4681951A2

Systems and methods for starting and restarting an engine of a vehicle are disclosed. Power systems for an engine are disclosed.

NEGATIVE ELECTRODE FOR LITHIUM SECONDARY BATTERY, LITHIUM SECONDARY BATTERY CONTAINING THE SAME AND METHOD FOR MANUFACTURING THE LITHIUM SECONDARY BATTERY

NºPublicación:  EP4682969A1 21/01/2026
Solicitante: 
SAMSUNG SDI CO LTD [KR]
SAMSUNG SDI CO., LTD
EP_4682969_PA

Resumen de: EP4682969A1

Disclosed are a negative electrode for a lithium secondary battery, a lithium secondary battery including the same, and a method for manufacturing the lithium secondary battery. A negative electrode active includes a negative electrode current collector and a negative electrode active material layer on the negative electrode current collector, the negative electrode active material layer has a long axis in a first direction, the negative electrode active material layer includes first negative electrode active material layers spaced apart from each other in a second direction that crosses the first direction and a second negative electrode active material layer between respective ones of the first negative electrode active material layers, and a ratio of a specific capacity of the first negative electrode active material layer to a specific capacity of the second negative electrode active material layer is 0.75 to 0.95.

BATTERY RACK, ENERGY STORAGE SYSTEM, AND POWER GENERATION SYSTEM

NºPublicación:  EP4683064A2 21/01/2026
Solicitante: 
LG ENERGY SOLUTION LTD [KR]
LG Energy Solution, Ltd
EP_4683064_PA

Resumen de: EP4683064A2

Provided is a battery rack that is easy to install, an energy storage system, and a power generation system. The battery rack includes a plurality of battery modules; and a rack case configured to accommodate the plurality of battery modules and mount another rack case above, wherein the rack case includes a fixing unit provided on a lower end portion of the rack case, wherein the fixing unit includes a main body part of a plate shape, wherein the main body part includes a fixing groove formed to be recessed from an edge of the main body part, and wherein the rack case includes at least one bolt provided on an upper end portion of the rack case and configured to be inserted into the fixing groove included in a lower end of the other rack case.

STERILIZING APPARATUS

NºPublicación:  EP4682463A2 21/01/2026
Solicitante: 
SEOUL VIOSYS CO LTD [KR]
Seoul Viosys Co., Ltd
EP_4682463_PA

Resumen de: EP4682463A2

A sterilizing apparatus is disclosed. A sterilizing apparatus according to one embodiment comprises: a cover main body unit having an accommodation space formed therein so as to accommodate a device to be sterilized, wherein the accommodation space is open toward a bottom surface on which the device to be sterilized is disposed; an ultraviolet light emitting diode provided on a surface facing the bottom surface of the cover main body unit, and turned on so as to emit ultraviolet rays toward the accommodation space; a power supply unit for supplying power to the ultraviolet light emitting diode so as to turn on the ultraviolet light emitting diode; and a control unit for controlling an operation of the power supply unit.

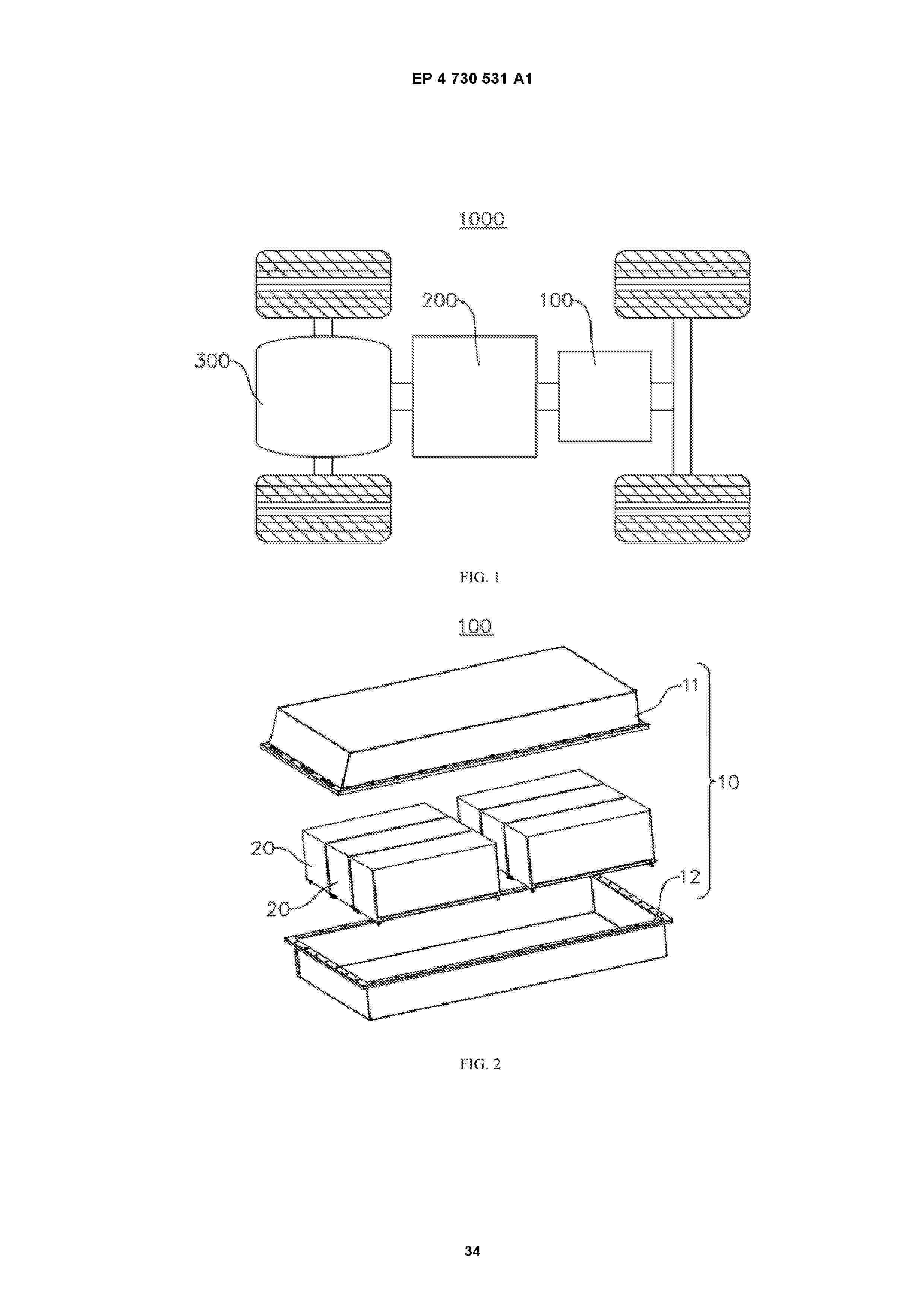
BATTERY, AND BATTERY PACK AND VEHICLE INCLUDING SAME

NºPublicación:  EP4683063A1 21/01/2026
Solicitante: 
LG ENERGY SOLUTION LTD [KR]
LG Energy Solution, Ltd
EP_4683063_PA

Resumen de: EP4683063A1

The present disclosure relates to a battery including: an electrode assembly; and a housing configured to store the electrode assembly and having a crimping portion configured such that an end around an opening formed on one side thereof is bent inward, wherein a recessed portion may be formed on a bent end of the crimping portion so as to be at least partially recessed inward.

BATTERY PACK AND DEVICE INCLUDING SAME

NºPublicación:  EP4683082A1 21/01/2026
Solicitante: 
LG ENERGY SOLUTION LTD [KR]
LG Energy Solution, Ltd
EP_4683082_PA

Resumen de: EP4683082A1

A battery pack according to certain embodiments of the present disclosure comprises: at least one battery module including a plurality of battery cells; a pack frame that is opened at its upper part and houses at least one of the battery modules; and a pack cover that covers the opened upper part of the pack frame; wherein a venting part for discharging a venting gas is formed on an upper surface of the battery module, and wherein the battery module includes a protrusion part that protrudes upward from the upper surface of the battery module.

POSITIVE ELECTRODE ACTIVE MATERIAL, PREPARATION METHOD THEREFOR, AND BATTERY

NºPublicación:  EP4682981A1 21/01/2026
Solicitante: 
BEIJING EASPRING MAT TECH CO LTD [CN]
Beijing Easpring Material Technology Co., Ltd
EP_4682981_PA

Resumen de: EP4682981A1

Provided are a cathode active material and a preparation method therefor, and a battery. The cathode active material includes: a core including lithium metal phosphate; a first coating layer covering at least part of a surface of the core; and a second coating layer covering at least part of a surface of the first coating layer. An XRD intensity at a 2θ diffraction angle in a range of 35.5° to 35.7° of the cathode active material is S1, an XRD peak intensity at a 2θ diffraction angle in a range of 24.1° to 25.4° of the cathode active material is S2, and S2/S1 is (0.005 to 0.05): 1. An XRD peak intensity at a 2θ diffraction angle in a range of 28.8° to 29.2° of the cathode active material is S3, and S3/S1 is (0.005 to 0.05): 1.

BATTERY MODULE, AND BATTERY PACK AND VEHICLE INCLUDING SAME

NºPublicación:  EP4683087A1 21/01/2026
Solicitante: 
LG ENERGY SOLUTION LTD [KR]
LG Energy Solution, Ltd
EP_4683087_PA

Resumen de: EP4683087A1

Disclosed is a battery module, and a battery pack and a vehicle including the same. The battery module includes a battery cell stack in which a plurality of battery cells are stacked; a module case in which the battery cell stack is accommodated; and a flame suppression pad disposed between the plurality of battery cells within the module case, wherein a cut portion is formed at one end of the flame suppression pad.

SAFETY COATING AND PREPARATION METHOD THEREFOR, AND COMPOSITE CURRENT COLLECTOR

NºPublicación:  EP4683001A1 21/01/2026
Solicitante: 
EVE ENERGY CO LTD [CN]
Eve Energy Co., Ltd
EP_4683001_A1

Resumen de: EP4683001A1

A safety coating, a preparation method thereof and a composite current collector are provided. The safety coating includes, by weight parts, 30 to 50 parts of a phosphate material, 1 to 5 parts of a conductive agent, 10 to 30 parts of a binder, and 10 to 20 parts of a solvent. The phosphate material has a chemical formula of LiFe1-x-yMnxMyPO4, in which 0

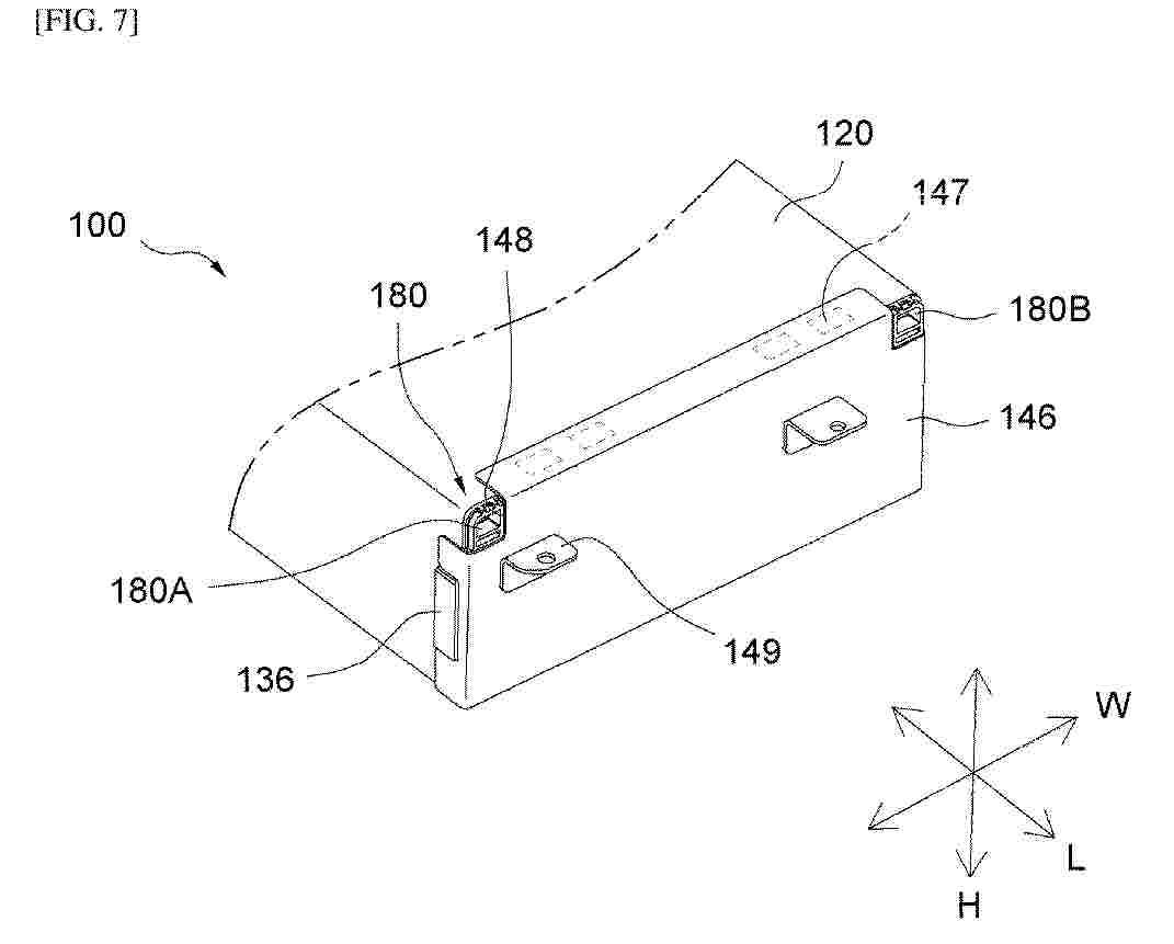
INTER-BUS BAR, PACK HOUSING COMPRISING SAME, BATTERY PACK COMPRISING SAME, AND MANUFACTURING METHOD THEREFOR

NºPublicación:  EP4683105A1 21/01/2026
Solicitante: 
LG ENERGY SOLUTION LTD [KR]
LG Energy Solution, Ltd
EP_4683105_PA

Resumen de: EP4683105A1

Disclosed are an inter-busbar including a conductive member configured to be electrically connected to a module terminal provided at a battery module, an insulating portion enclosing a remaining area of the conductive member excluding an area configured to be in contact with the module terminal, and a case allowing the insulating portion inserted thereinto, a pack housing including the same, a battery pack including the same, and a method of manufacturing the same.

BATTERY PACK AND VEHICLE INCLUDING THE SAME

NºPublicación:  EP4681950A2 21/01/2026
Solicitante: 
LG ENERGY SOLUTION LTD [KR]
LG ENERGY SOLUTION, LTD
EP_4681950_PA

Resumen de: EP4681950A2

A battery pack according to an embodiment of the present disclosure includes a pack tray; and at least one battery module provided on the pack tray, and the at least one battery module includes a battery cell assembly mounted on the pack tray and including at least one battery cell; a pair of side plates provided on both side surfaces of the battery cell assembly to support the battery cell assembly and fixed to the pack tray; and a band unit connected to the pair of side plates and configured to at least partially cover an upper side and a lower side of the battery cell assembly.

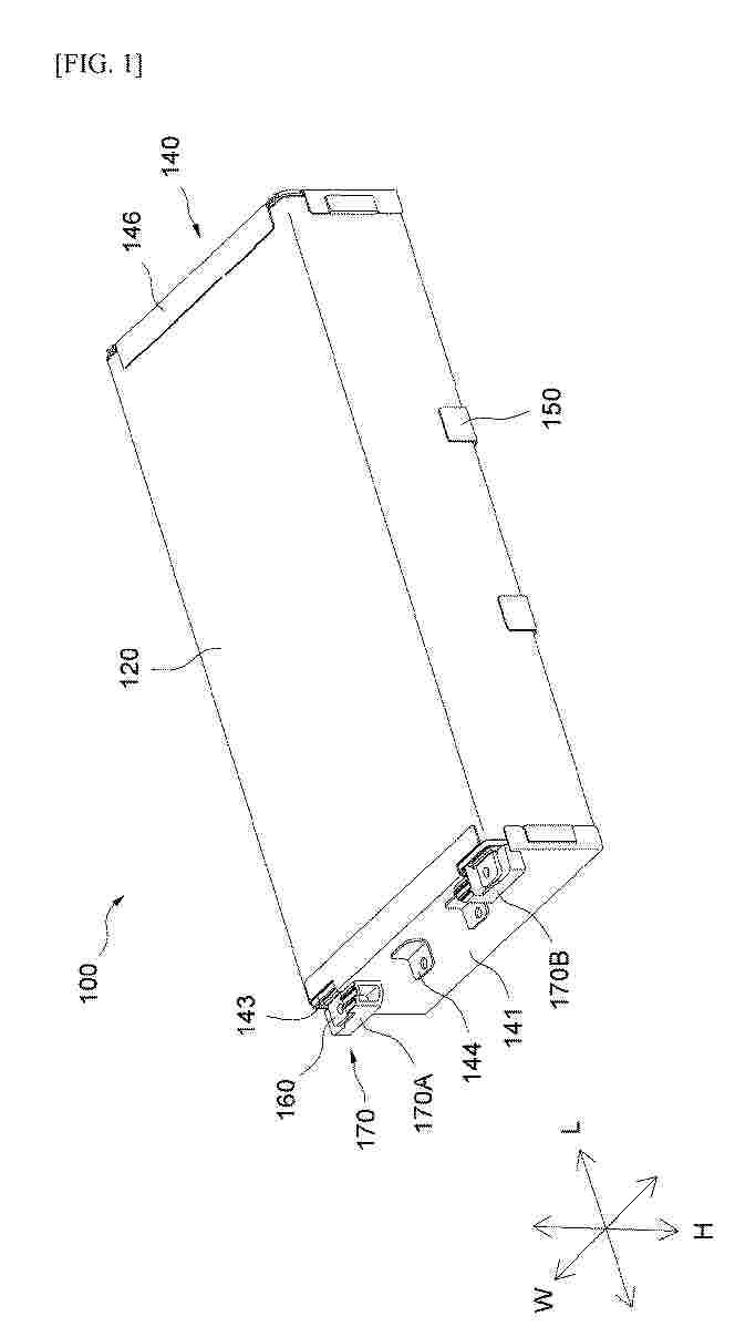
BATTERY PACK AND VEHICLE COMPRISING SAME

NºPublicación:  EP4683047A1 21/01/2026
Solicitante: 
LG ENERGY SOLUTION LTD [KR]
LG Energy Solution Ltd
EP_4683047_A1

Resumen de: EP4683047A1

A battery pack includes a plurality of battery cells, a pack housing, and a filling portion. The pack housing accommodates the battery cells, and the filling portion is a space between the battery cells within the pack housing. In addition, the filling portion includes a resin layer and a foam layer.The battery pack according to an embodiment includes the filling portion including the resin layer and the foam layer in an empty space within the pack, thereby preventing heat transfer and securing rigidity.

SECONDARY BATTERY, BATTERY PACK AND ELECTRONIC DEVICE

NºPublicación:  EP4683100A1 21/01/2026
Solicitante: 
AESC JAPAN LTD [JP]
AESC Japan Ltd
EP_4683100_PA

Resumen de: EP4683100A1

A secondary battery (100), a battery pack (1002), and an electronic device (1000) is provided. The secondary battery (100) includes a top cover (172), a terminal post (50) disposed on the top cover (172), an electrode assembly (120), and a rivet (10). The electrode assembly (120) includes a cell body (124) and a tab (122) protruding from the cell body (124). A riveting hole (1220) is provided on the tab (122). The rivet (10) is connected to the terminal post (50) and penetrates through the riveting hole (1220) to rivet the terminal post (50) and the tab (122).

BATTERY CELL, LITHIUM ION BATTERY MANUFACTURING METHOD, AND LITHIUM ION BATTERY

NºPublicación:  EP4683098A1 21/01/2026
Solicitante: 
HUIZHOU LIWINON NEW ENERGY TECH CO LTD [CN]
Huizhou Liwinon New Energy Technology Co., Ltd
EP_4683098_PA

Resumen de: EP4683098A1

The present application discloses a battery cell, a lithium ion battery manufacturing method, and a lithium ion battery. The battery cell comprises a body and tab assemblies; each tab assembly comprises a dummy tab group, an outer tab, and a tab adhesive; the dummy tab group comprises at least one dummy tab connected to the body; the outer tab is conductively connected to the dummy tab group; in a projection in the thickness direction of the body, the outer tab and the dummy tab group partially overlap to form an overlapping portion, and the tab adhesive is wrapped around at least part of the overlapping portion; two tab assemblies are provided, and the two tab assemblies are staggered in the width direction of the body. The distance between the tab adhesives and the body is closer, the dummy tabs do not need to be folded, and a top sealing process step is directly performed at the positions of the tab adhesives after the battery cell is placed into a packaging housing, so that the space occupied by the tab assemblies between the body and the top sealing positions can be reduced, improving the energy density of the lithium ion battery, and the production steps of the lithium ion battery can be simplified, improving the production efficiency of the lithium ion battery.

METHOD FOR REGENERATING CATHODE ACTIVE MATERIAL, AND REGENERATED CATHODE ACTIVE MATERIAL PREPARED THEREBY

NºPublicación:  EP4683041A1 21/01/2026
Solicitante: 
LG ENERGY SOLUTION LTD [KR]
LG Energy Solution, Ltd
EP_4683041_A1

Resumen de: EP4683041A1

The present invention relates to a method of recycling a cathode active material and a recycled cathode active material prepared using the same. More particularly, the present invention relates to a method of recycling a cathode active material, the method including step (a) of thermally decomposing a binder and a conductive material in a cathode active material layer by heat-treating, at 300 to 650 °C, a waste cathode having the cathode active material layer formed on a current collector to separate the current collector from the cathode active material layer and recover a cathode active material in the cathode active material layer; step (b) of reheating the recovered cathode active material at 350 to 700 °C for 1 to 10 hours; step (c) of adding a lithium precursor to the reheat-treated cathode active material and performing annealing at 500 to 1000 °C; step (d) of washing the annealed cathode active material with a washing solution; and step (e) of surfacecoating the washed cathode active material with a coating agent, and a cathode active material prepared using the same.

ELECTRODE SLURRY COATING APPARATUS AND METHOD

NºPublicación:  EP4681824A1 21/01/2026
Solicitante: 
LG ENERGY SOLUTION LTD [KR]
LG Energy Solution, Ltd
EP_4681824_A1

Resumen de: EP4681824A1

The present invention relates to an electrode slurry coating apparatus comprising a lower die applying electrode slurry on a collector, an intermediate die, and an upper die, the electrode slurry coating apparatus comprising: a first discharge part primarily applying the electrode slurry on the collector to form a first coating layer; an intermediate pressing part pressing the first coating layer to expand a width of the first coating layer so as to adjust a thickness of the first coating layer; a second discharge part secondarily applying the electrode slurry on a surface of the first coating layer that is adjusted in thickness to form a second coating layer; and an upper pressing part pressing the first coating layer and the second coating layer, which are stacked, at the same time to expand a width of each of the first coating layer and the second coating layer so as to adjust a thickness of each of the first coating layer and the second coating layer, wherein the first discharge part has a width less than that of the second discharge part.

ELECTRODE ASSEMBLY AND METHOD FOR MANUFACTURING THE SAME

Nº publicación: EP4683003A1 21/01/2026

Solicitante:

SAMSUNG SDI CO LTD [KR]
SAMSUNG SDI CO., LTD

EP_4683003_PA

Resumen de: EP4683003A1

An electrode assembly includes positive and negative electrode plates, each electrode plate including a respective positive or negative electrode mixture portion on which a respective positive or negative electrode active material is applied to an electrode substrate and a first uncoated portion on which an electrode active material is not applied to the respective positive or negative electrode substrate, and a separator between each of the positive electrode plates and each of the negative electrode plates, the positive and negative electrode mixtures each have two portions, separated by uncoated sections, the lengths of the bent uncoated portions match the lengths of their respective electrode substrates, and bent uncoated portions match the lengths of their respective electrode substrates.

traducir