Ministerio de Industria, Turismo y Comercio LogoMinisterior
 

Alerta

Resultados 1580 resultados
LastUpdate Última actualización 25/10/2025 [07:22:00]
pdfxls
Publicaciones de los últimos 15 días/Last 15 days publications (excluidas pubs. CN y JP /CN and JP pubs. excluded)
previousPage Resultados 25 a 50 de 1580 nextPage  

ELECTROCHEMICAL CELL FOR THE STORAGE OF ELECTRIC ENERGY

NºPublicación:  WO2025219858A1 23/10/2025
Solicitante: 
G D S P A [IT]
G.D S.P.A
WO_2025219858_PA

Resumen de: WO2025219858A1

An electrochemical cell (1) for the storage of electrical energy comprises an operating portion (10) in which there is an anodic body (21) with a section having a decreasing area along a development direction in a first direction (V1) of separation from the anodic connector (20) and the cathodic body (31) has a section having a decreasing area along the development direction in a second direction (V2) of separation from the cathodic connector (30). The anodic body (21) has an anodic conductive part (211) connected to the anodic connector (20) and the cathodic body (31) has a cathodic conductive part (311) and connected to the cathodic connector (30); wherein along the development direction, in the first direction (V1), the anodic conductive part (211) has a section with a decreasing area and the cathodic conductive part (311) has a section with an increasing area and the cross-sectional areas of the cathodic conductive part (311) and of the anodic conductive part (211) along the development direction vary respectively as a function of a foreseen or expected electric current, in use, in the cathodic conductive part (311), or of a design electric current of the cathodic conductive part (311), and of a foreseen or expected electric current, in use, in the anodic conductive part (211), or of a design electric current of the anodic conductive part (211).

CATHODE FRAMES FOR USE IN SOLID-STATE BATTERIES

NºPublicación:  WO2025222174A1 23/10/2025
Solicitante: 
QUANTUMSCAPE BATTERY INC [US]
LAZAR ALEXANDRA [US]
QUANTUMSCAPE BATTERY, INC,
LAZAR, Alexandra
WO_2025222174_PA

Resumen de: WO2025222174A1

The present disclosure concerns electrochemical stacks with frames for solid-state cathodes and processes of assembling electrochemical stacks with frames for solid-state batteries.

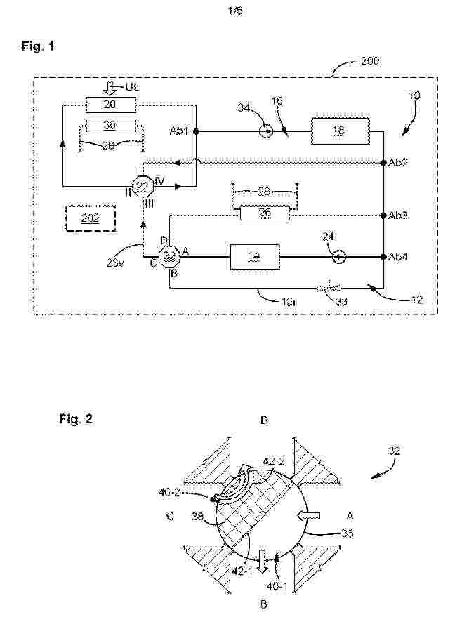
VALVE DEVICE FOR PROPORTIONAL COOLANT VOLUME DISTRIBUTION IN A COOLANT CIRCUIT, COOLANT CIRCUIT HAVING A VALVE DEVICE OF THIS TYPE, AND MOTOR VEHICLE HAVING A COOLANT CIRCUIT OF THIS TYPE

NºPublicación:  WO2025219308A1 23/10/2025
Solicitante: 
AUDI AG [DE]
AUDI AG
WO_2025219308_PA

Resumen de: WO2025219308A1

Described is a valve device (32) for a coolant circuit, wherein the valve device is designed with a valve insert (38) having two flow sections (40-1, 40-2) which are fluidically separated from one another, wherein a first flow section (40-1) is designed in such a way that, depending on a valve setting, it is fluidically connected to at least two and at most three valve connections (A, B, C, D) of the valve device (32). According to the invention, a second flow section (40-2) is designed in such a way that, depending on the valve position, it is fluidically connected to only one valve connection (A, B, C, D) and at most two valve connections (A, B, C, D) of the valve device (32). The invention also relates to a coolant circuit (10) of a motor vehicle (200), comprising a valve device (32) of this type, and to a motor vehicle (200) comprising a coolant circuit (10) of this type.

BINDER COMPOSITION FOR AN ELECTROCHEMICAL ENERGY STORAGE DEVICE AND METHOD OF PREPARING THE SAME

NºPublicación:  WO2025219242A1 23/10/2025
Solicitante: 
ARLANXEO HIGH PERFORMANCE ELASTOMERS CHANGZHOU CO LTD [CN]
ARLANXEO DEUTSCHLAND GMBH [DE]
ARLANXEO HIGH PERFORMANCE ELASTOMERS (CHANGZHOU) CO., LTD,
ARLANXEO DEUTSCHLAND GMBH
WO_2025219242_PA

Resumen de: WO2025219242A1

The present invention relates to a binder composition for forming a binder of an electrode of an electrochemical energy storage device, the binder composition comprising a) hydrogenated carboxylated nitrile rubber, wherein the hydrogenated carboxylated nitrile rubber has a content of carboxylic acid groups in a range of > 0,4 mol% to < 6 mol%; and b1) at least one amino-functional silane, wherein the amino-functional silane comprises a silane group with at least two alkoxy substituents; and b2) optionally at least one tetraalkoxy silane.

Stromspeichervorrichtung

NºPublicación:  DE102025111038A1 23/10/2025
Solicitante: 
TOYOTA MOTOR CO LTD [JP]
TOYOTA JIDOSHA KABUSHIKI KAISHA
DE_102025111038_PA

Resumen de: DE102025111038A1

Eine Stromspeichervorrichtung umfasst: einen gestapelten Körper, der an einem Fahrzeug angebracht ist und durch Stapeln eines Stromspeichermoduls in der Aufwärts-Abwärts-Richtung gebildet wird; und ein Aufnahmegehäuse, das den gestapelten Körper aufnimmt. Das Aufnahmegehäuse umfasst: eine obere Platte, die in einer oberen Gehäusefläche des Aufnahmegehäuses positioniert ist; eine untere Platte, die in einer unteren Gehäusefläche des Aufnahmegehäuses positioniert ist; eine Umfangswand, die die obere Platte und die untere Platte miteinander verbindet; und ein Halteelement. Der gestapelte Körper umfasst: eine obere Fläche; eine untere Fläche; und eine Umfangsfläche, die die obere Fläche und die untere Fläche miteinander verbindet. Das Halteelement weist auf: eine ansteigende Haltewand; und einen Halteflansch. Die ansteigende Haltewand ist so geformt, dass sie die Umfangsfläche bedeckt. Der Halteflansch ist an der ansteigenden Haltewand angeordnet und an der Umfangswand befestigt.

Temperiersystem für ein Elektrofahrzeug

NºPublicación:  DE102024111123A1 23/10/2025
Solicitante: 
FORD GLOBAL TECH LLC [US]
FORD Global Technologies LLC

Resumen de: DE102024111123A1

Die Erfindung betrifft ein Temperiersystem (1) für ein Elektrofahrzeug, mit einem Kompressor (6) zur Erzeugung eines Fluidstroms, einer Temperiervorrichtung (2) zum Wärmeaustausch zwischen dem Fluidstrom und wenigstens einem Fahrzeugbereich (51, 52), sowie einem Primärwärmetauscher (10), der in einem Heizmodus stromaufwärts bezüglich des Fluidstroms über ein erstes Expansionsventil (16) mit der Temperiervorrichtung (2) fluidverbunden und stromabwärts, unter Umgehung des ersten Expansionsventils (16), über den Kompressor (6) mit der Temperiervorrichtung (2) fluidverbunden ist. Um eine effiziente Beheizung des Innenraums eines Elektrofahrzeugs zu ermöglichen, ist erfindungsgemäß vorgesehen, dass der Primärwärmetauscher (10) bezüglich eines fahrtbedingten Luftstroms (L) hinter einem Radiator (14) angeordnet ist, welcher dazu eingerichtet ist, Wärme an den Luftstrom (L) abzugeben.

Verbinderhalter-Verbinder-Einheit

NºPublicación:  DE102024110747A1 23/10/2025
Solicitante: 
VOSS AUTOMOTIVE GMBH [DE]
VOSS Automotive GmbH
EP_4636291_PA

Resumen de: DE102024110747A1

Bei einer Verbinderhalter-Verbinder-Einheit (1), umfassend zumindest einen Verbinderhalter (2), zumindest zwei Fluidverbinder (3, 4) und jeweils zumindest eine Toleranzausgleichseinrichtung, wobei der zumindest eine Verbinderhalter (2) zumindest zwei Aufnahmen (20, 21) zur Aufnahme der zumindest zwei Fluidverbinder (3, 4) aufweist, sind der Verbinderhalter (2), die zumindest zwei Fluidverbinder (3, 4) und die zumindest eine Toleranzausgleichseinrichtung zum Toleranzausgleich bezüglich der Anordnung des jeweiligen Fluidverbinders (3, 4) in einer jeweiligen der Aufnahmen (20, 21) des zumindest einen Verbinderhalters (2) jeweils als separate Teile ausgebildet und hergestellt und ineinanderfügbar oder ineinandergefügt, ist die zumindest eine Toleranzausgleichseinrichtung als Ausgleichselement (5, 6) ausgebildet und in eine jeweilige der Aufnahmen (20, 21) des zumindest einen Verbinderhalters (2) einfügbar oder eingefügt und dient einerseits zum Fixieren der Position der zumindest zwei Fluidverbinder (3, 4) in den Aufnahmen (20, 21), andererseits zum Ermöglichen eines Toleranzausgleichs.

AKKUPACK MIT KÜHLPLATTE

NºPublicación:  DE102024135797A1 23/10/2025
Solicitante: 
MERCEDES BENZ GROUP AG [DE]
Mercedes-Benz Group AG

Resumen de: DE102024135797A1

Ein Batteriepack (200) umfasst eine Vielzahl von Zellen (202) und eine Kühlplatte (204), die vorgesehen ist, um die in der Vielzahl von Zellen (202) erzeugte Wärme zu absorbieren. Die Kühlplatte (204) umfasst eine flache erste Platte (206) und eine zweite Platte (208) mit einem gewellten Querschnitt (210), so dass, wenn die zweite Platte (208) über der ersten Platte (206) befestigt ist, der gewellte Querschnitt (210) eine Vielzahl von miteinander verbundenen Strömungskanälen (212) für den Fluss einer Kühlflüssigkeit entlang einer Länge der Strömungskanäle (212) definiert. Ein Teil (210A) des gewellten Querschnitts (210) umfasst ein Wellenmuster (214) entlang der Länge der Strömungskanäle, um Turbulenzen in der Strömung der Kühlflüssigkeit zu erzeugen, wenn sich die Kühlflüssigkeit entlang der Länge der Strömungskanäle (212) bewegt.

Betriebsverfahren einer Wärmepumpe eines batterieelektrischen Fahrzeugs und Fahrzeug mit einer solchen Wärmepumpe

NºPublicación:  DE102024111385A1 23/10/2025
Solicitante: 
SCHAEFFLER TECHNOLOGIES AG [DE]
Schaeffler Technologies AG & Co. KG

Resumen de: DE102024111385A1

Vorgeschlagen ist ein Verfahren zum Betrieb einer Wärmepumpe, die die Fahrgastzelle eines batterieelektrischen Fahrzeugs beheizt und einen Kältekreislauf (1) umfasst, der über einen Kältemittelverdichter (6), einen Heizungswärmetauscher (7), ein Expansionsventil (8), ein Wegeventil (9) und dessen Schaltstellung entsprechend entweder in einem ersten Betriebszustand der Wärmepumpe über einen Luft/Kältemittelverdampfer (10) oder in einem zweiten Betriebszustand der Wärmepumpe über einen Kühlwasser/Kältemittelverdampfer (2) verläuft, der in einen Kühlwasserkreislauf (3) des Fahrzeugs abgegebene Betriebswärme der Fahrzeugbatterie (13) auf das Kältemittel überträgt, wobei der erste Betriebszustand und der zweite Betriebszustand alternierend eingestellt werden derart, dass die Temperatur (T) der Fahrzeugbatterie zwischen einer minimalen Betriebstemperatur (Tmin) und einer maximalen Betriebstemperatur (Tmax) oszilliert.Vorgeschlagen ist auch ein Fahrzeug mit einer solchen Wärmepumpe.

Verfahren zur Gewinnung eines Lithiumsalzes

NºPublicación:  DE102024111366A1 23/10/2025
Solicitante: 
DORFNER ANZAPLAN GMBH [DE]
Dorfner Anzaplan GmbH

Resumen de: DE102024111366A1

Die Erfindung betrifft ein Verfahren zur Gewinnung eines Lithiumsalzes mit folgenden Schritten: Bereitstellen einer Lithiumionen enthaltenden wässrigen Ausgangslösung, Einstellen des pH-Werts der Ausgangslösung auf zumindest 11 durch Zugabe einer Base, Herstellung eines ersten Filtrats aus der Ausgangslösung durch eine erste Filtration und Abtrennung eines ersten Rückstands, Entfernung von Calciumionen aus dem ersten Filtrat durch Fällung und/oder Ionentausch, Herstellung eines zweiten Filtrats durch eine zweite Filtration und Abtrennen eines zweiten Rückstands und/oder durch Ionentausch, Zugabe eines phosphathaltigen Reagenz zum zweiten Filtrat, dritte Filtration und Abtrennen von Lithiumphosphat als dritten Rückstand, Herstellung einer Lösung durch Lösen des dritten Rückstands in einer Mineralsäure, Isolierung des Lithiumsalzes aus der Lösung, und zumindest teilweises Rückführen einer verbleibenden Restlösung zur wässrigen Ausgangslösung.

Verfahren zum Einbringen eines viskosen thermischen Interfacematerials in einen Zwischenraum ohne Entlüftungsöffnung, Batterie und Injektionsanordnung

NºPublicación:  DE102024110806A1 23/10/2025
Solicitante: 
AUDI AG [DE]
AUDI Aktiengesellschaft

Resumen de: DE102024110806A1

Die Erfindung betrifft ein Verfahren zum Einbringen eines viskosen thermischen Interfacematerials (64) in einen abgedichteten Zwischenraum (40) zwischen einem Batteriemodul (30) und einem Trägerbauteil (32) durch eine in den Zwischenraum (40) mündende Injektionsöffnung (44), durch welche das viskose thermische Interfacematerial (64) mittels einer Injektionsvorrichtung (46) eingefüllt wird. Dabei wird vor dem Einfüllen des thermischen Interfacematerials (64) durch die Injektionsöffnung (44) mittels einer mit der Injektionsöffnung (44) gekoppelten Unterdruckerzeugungseinheit (52) über die Injektionsöffnung (44) im Zwischenraum (40) ein Unterdruck gegenüber dem Umgebungsdruck erzeugt.

Wärmeübertrager zum Übertragen von Wärme zwischen einem Kühl- und einem Kältemittel in einem Fahrzeug

NºPublicación:  DE102025115212A1 23/10/2025
Solicitante: 
WEBASTO SE [DE]
Webasto SE

Resumen de: DE102025115212A1

Ein Wärmeübertrager (1) zum Übertragen von Wärme zwischen einem Kühlmittel und einem Kältemittel, vorzugsweise zur Verwendung in einem Fahrzeug, wobei der Wärmeübertrager (1) eine Heizvorrichtung (51) zum Erwärmen des Kältemittels und des Kühlmittels umfasst, umfasst eine Bodenwand (30), die ein stirnseitiges Ende eines Stapels aus wenigstens zwei von dem Kälte- oder dem Kühlmittel durchströmten Strömungsvolumina (21, 22) ausbildet, ein an die Bodenwand (30) angrenzendes erstes Strömungsvolumen (21) zur Durchströmung mit dem Kältemittel, das mit einem ersten Fluideinlass (61) und mit einem ersten Fluidauslass (62) verbunden ist, die eingerichtet sind, eine Verbindung mit einem Kältemittelkreislauf herzustellen, wobei das erste Strömungsvolumen (21) zusätzlich durch eine der Bodenwand (30) gegenüberliegende erste Trennwand (81) festgelegt ist, sowie ein an die erste Trennwand (81) angrenzendes, dem ersten Strömungsvolumen (21) gegenüberliegendes zweites Strömungsvolumen (22) zur Durchströmung mit dem Kühlmittel, das mit einem zweiten Fluideinlass (71) und mit einem zweiten Fluidauslass (72) verbunden ist, die eingerichtet sind, eine Verbindung mit einem Kühlmittelkreislauf herzustellen. Die Heizvorrichtung (51) ist an der Bodenwand (30) auf einer dem ersten Strömungsvolumen (21) gegenüberliegenden Seite angeordnet.

Leitfähiges Modul

NºPublicación:  DE102025111920A1 23/10/2025
Solicitante: 
YAZAKI CORP [JP]
Yazaki Corporation
DE_102025111920_PA

Resumen de: DE102025111920A1

Es sind eine Vielzahl von Sammelschienen (10); ein Schaltungsleiter-Bauteil (20), das einen Schaltungsleiter enthält; ein Gehäuseelement (40), das die Sammelschiene (10) und das Schaltungsleiter-Bauteil (20) aufnimmt; und ein Abdeckelement (50), das mit dem Gehäuseelement (40) montiert ist, vorgesehen, und das Schaltungsleiter-Bauteil (20) umfasst einen Hauptleitungs-Abschnitt (21), in dem der Schaltungsleiter verdrahtet ist und an einer vorgegebenen Position im Gehäuseelement (40) aufgenommen ist, und einen Abzweig-Abschnitt (22), der den Schaltungsleiter vom Hauptleitungs-Abschnitt (21) abzweigt und innerhalb eines elastischen Bereichs zwischen dem Hauptleitungs-Abschnitt (21) an der vorgegebenen Position und der Sammelschiene (10) in einer vorgegebenen Form gebogen und verlegt ist, und das Gehäuseelement (40) ist mit einem Hauptleitungs-Verriegelungsabschnitt (42) versehen, der den Hauptleitungs-Abschnitt (21) an der vorgegebenen Position verriegelt.

Batterieanordnung mit rippenartige Tragabschnitte aufweisendem Deckelelement aus Kunststoff und Kraftfahrzeug mit einer solchen Batterieanordnung

NºPublicación:  DE102024111266A1 23/10/2025
Solicitante: 
AUDI AG [DE]
AUDI Aktiengesellschaft

Resumen de: DE102024111266A1

Beschrieben wird eine Batterieanordnung (10) für ein zumindest teilweise elektrisch angetriebenes Kraftfahrzeug (200) mit einem Batteriekasten (12); mehreren Batteriemodulen (14), die nebeneinander in dem Batteriekasten (12) angeordnet sind; einer auf einem jeweiligen Batteriemodul (14) angeordneten Kühlplatte (16) mit wenigstens einem Kühlmittelkanal (18); einem aus einem Kunststoff hergestellten Deckelelement (20), das auf dem Batteriekasten (12) angeordnet ist, so dass die Batteriemodule (14) und die Kühlplatten (16) abgedeckt sind. Dabei ist vorgesehen, dass das Deckelelement (20) den Batteriemodulen (14) zugewandte rippenartige Tragabschnitte (22) aufweist, die das Deckelelement (20) auf den Kühlplatten (16) abstützen. Ferner wird ein Kraftfahrzeug mit einer solchen Batterieanordnung (10) beschrieben.

Kühlmittelkreislauf mit Ventileinrichtung für eine anteilige Kühlmittelvolumenverteilung und Kraftfahrzeug mit einem solchen Kühlmittelkreislauf

NºPublicación:  DE102024110690A1 23/10/2025
Solicitante: 
AUDI AG [DE]
AUDI Aktiengesellschaft

Resumen de: DE102024110690A1

Beschrieben wird ein Kühlmittelkreislauf (10) für ein zumindest teilweise elektrisch angetriebenes Kraftfahrzeug (200) mit einem Batteriekreislauf (12), der dazu eingerichtet ist, wenigstens einen Energiespeicher (14) des Kraftfahrzeugs (200) zu kühlen; einem Komponentenkreislauf (16), der dazu eingerichtet ist, wenigstens einen elektrischen Antrieb (18) des Kraftfahrzeugs (200) zu kühlen; einem von Umgebungsluft (UL) umströmten ersten Wärmeübertrager (20), insbesondere Niedertemperaturkühler; einer ersten Ventileinrichtung (22), die dazu eingerichtet ist, Kühlmittel von dem ersten Wärmeübertrager (20) zu dem Batteriekreislauf (12) oder/und dem Komponentenkreislauf (16) zu leiten; wenigstens einer dem Batteriekreislauf (12) zugeordneten Kühlmittelpumpe (24); einem mit dem Batteriekreislauf (12) in thermischer Wirkverbindung stehenden, von einem Kältemittel durchströmbaren zweiten Wärmeübertrager (26), insbesondere Chiller, wobei der zweite Wärmeübertrager (26) im Batteriekreislauf (12) stromabwärts von dem Energiespeicher (14) angeordnet ist. Dabei ist vorgesehen, dass im Batteriekreislauf (12) zwischen dem Energiespeicher (14) und dem zweiten Wärmeübertrager (26) eine zweite Ventileinrichtung (32) angeordnet ist, die dazu eingerichtet ist, einen Kühlmittevolumenstrom stromabwärts von dem Energiespeicher (14) anteilig zu dem zweiten Wärmeübertrager (26) und zu der Kühlmittelpumpe (24) zu leiten. Ferner wird ein Kraftfahrzeug (200) mit einem solchen K

Mehrgliedriges Kühlsystem

NºPublicación:  DE102024117301A1 23/10/2025
Solicitante: 
GM GLOBAL TECH OPERATIONS LLC [US]
GM GLOBAL TECHNOLOGY OPERATIONS LLC

Resumen de: DE102024117301A1

Ein Kühlsystem für ein mehrzelliges wiederaufladbares Energiespeichersystem (RESS) mit einer Vielzahl von Batteriezellen, die in individuellen Batteriemodulen angeordnet sind, umfasst einen Hauptkühlmittelkreislauf, der konfiguriert ist, ein Kühlmittel zu zirkulieren. Das Kühlsystem umfasst zusätzlich eine Vielzahl von parallel angeordneten Kühlmittelzweigen. Jeder Kühlmittelzweig ist konfiguriert, einen Teil des Kühlmittels aus dem Hauptkühlmittelkreislauf zu empfangen, um Wärmeenergie aus einem der jeweiligen Batteriemodule zu entfernen. Das Kühlsystem umfasst ferner mindestens ein Durchflussventil, das konfiguriert ist, das durch den Hauptkühlmittelkreislauf zirkulierende Kühlmittel zu regulieren und auf die Vielzahl von Kühlmittelzweigen zu verteilen. Einwegventile können verwendet werden, um den Kühlmittelfluss aus den jeweiligen Kühlmittelzweigen zu steuern. Ein Kraftfahrzeug, das ein solches RESS und das Kühlsystem verwendet, ist ebenfalls beinhaltet.

Isolationslaminat sowie Verfahren und Vorrichtung zum Herstellen eines Isolationslaminats

NºPublicación:  DE102024111267A1 23/10/2025
Solicitante: 
AUDI AG [DE]
AUDI Aktiengesellschaft

Resumen de: DE102024111267A1

Die Erfindung betrifft ein Isolationslaminat (10) mit zwei Schichten (12) eines thermoplastischen Materials (12A), welche jeweils eine Polymermatrix ausbilden, und einer zwischen den beiden Schichten (12) angeordneten Innenschicht (14) aus Glimmerpapier (14A), sowie ein Verfahren und eine Vorrichtung zum Herstellen eines solchen Isolationslaminats (10) und die Verwendung eines solchen Isolationslaminat (10).

Kühlanordnung für ein Kraftfahrzeug zum Ausgleich eines alterungsbedingten Swellings einer Speicherzelle und Verfahren zum Betreiben einer Kühlanordnung

NºPublicación:  DE102024110748A1 23/10/2025
Solicitante: 
AUDI AG [DE]
PORSCHE AG [DE]
AUDI Aktiengesellschaft,
Dr. Ing. h.c. F. Porsche Aktiengesellschaft

Resumen de: DE102024110748A1

Die Erfindung betrifft eine Kühlanordnung (10), die einen Energiespeicher (12) mit einer Speicherzelle (14) umfasst, einen Kühlkreislauf (18) mit einem von einem Kühlmittel (16) durchströmbaren Kühlraum (20), in welchem zumindest ein Teil der Speicherzelle (14) angeordnet ist, und einen Ausgleichsbehälter (70), um ein beim Ausdehnen der Speicherzelle (14) aus dem Kühlraum (20) verdrängtes Kühlmittelvolumen aufzunehmen. Dabei ist die Speicherzelle (14) so eingerichtet, dass ihr Volumen innerhalb einer bestimmten ersten Zeitspanne um eine Zell-Volumendifferenz irreversibel zunimmt, so dass ein aus dem Kühlraum (20) irreversibel verdrängbares Kühlmittelvolumen bezogen auf die bestimmte erste Zeitspanne zu einer ersten Volumendifferenz (ΔV1) korrespondiert, und bezogen auf ein definiertes Wartungszeitintervall, das kleiner ist als die bestimmte erste Zeitspanne, zu einer zweiten Mindest-Volumendifferenz (ΔV2) korrespondiert, die kleiner ist als die erste Volumendifferenz (ΔV1), wobei der Ausgleichsbehälter (70) ein maximales Aufnahmevolumen (VA) umfasst, das kleiner ist als die erste Volumendifferenz (ΔV1) und mindestens so groß ist wie die zweite Mindest-Volumendifferenz (ΔV2).

Leitfähiges Modul

NºPublicación:  DE102025115069A1 23/10/2025
Solicitante: 
YAZAKI CORP [JP]
Yazaki Corporation
DE_102025115069_PA

Resumen de: DE102025115069A1

Schaltungssammelabschnitt (24), der einen Verbinderverbindungsabschnitt (24a), einen Durchgangsloch-Installationsabschnitt (24b) und einen Positionsabweichungs-Absorptionsabschnitt (24c) enthält, der eine Positionsabweichung in einer Anordnungsrichtung des Verbinders (32) zwischen dem Verbinderverbindungsabschnitt (24a) und dem Durchgangsloch-Installationsabschnitt (24b) absorbiert, wobei das Schaltungsabdeckelement (60) einen Abdeckkörper (61) enthält, der den Hauptleitungsabschnitt (21) von einer vorderen Oberfläche an einer Montageabschlussposition abdeckt, und einen Durchgangsloch-Abdeckungsabschnitt (63), der eine vordere Oberfläche des Durchgangsloch-Installationsabschnitts (24b) an der Montageabschlussposition drückt und den Durchgangsloch-Installationsabschnitt (24b) so schneidet, dass ein Winkel auf einer inneren Seite der Biegung in Bezug auf die beiden Hauptleitungsabschnitte (21) ein stumpfer Winkel ist und der Durchgangsloch-Abdeckungsabschnitt (63) in dem Winkel in Bezug auf den Abdeckkörper (61) geneigt ist.

Kühlanordnung für ein Kraftfahrzeug zum Ausgleich eines ladungsbedingten Swellings von Speicherzellen und Verfahren zum Betreiben einer Kühlanordnung

NºPublicación:  DE102024110741A1 23/10/2025
Solicitante: 
AUDI AG [DE]
PORSCHE AG [DE]
AUDI Aktiengesellschaft,
Dr. Ing. h.c. F. Porsche Aktiengesellschaft

Resumen de: DE102024110741A1

Die Erfindung betrifft eine Kühlanordnung (10) für ein Kraftfahrzeug, wobei die Kühlanordnung (10) einen Energiespeicher (12) mit mindestens einer Speicherzelle (14), einen von einem Kühlmittel (16) durchströmbaren Kühlkreislauf (18) mit einem vom Kühlmittel (16) durchströmbaren Kühlraum (20), in welchem zumindest ein Teil der Speicherzelle (14) angeordnet ist, und eine Druckregeleinrichtung (24) zur Einstellung eines bestimmten Kühlmitteldrucks (p) im Kühlraum (20) aufweist, wenn dieser vom Kühlmittel (16) durchströmt wird. Dabei umfasst die Kühlanordnung (10) ein zumindest zum Teil mit einem Hohlraum (46) ausgebildetes Strukturbauteil (48), und eine Volumen-Ausgleichsbehälteranordnung (40), die zumindest zum Teil durch das Strukturbauteil (48) und dessen Hohlraum (46) bereitgestellt ist, der fluidisch mit dem Kühlraum (20) gekoppelt oder koppelbar ist.

Entgasungskanalanordnung für ein Kraftfahrzeug sowie Kraftfahrzeug

NºPublicación:  DE102024110809A1 23/10/2025
Solicitante: 
AUDI AG [DE]
AUDI Aktiengesellschaft

Resumen de: DE102024110809A1

Die Erfindung betrifft eine Entgasungskanalanordnung (10) mit einem Batteriemodul (24) mit mindestens einer Batteriezelle (26), die eine an einer ersten Zellseite (26a) angeordnete freigebbare Zellentgasungsöffnung (28) aufweist, einer ersten Entgasungskanalwand (18), die der ersten Zellseite (26a) gegenüberliegt und die einen Durchtrittsbereich (20b) umfasst, der der freigebbaren Zellentgasungsöffnung (28) gegenüberliegt, und einer zweiten Entgasungskanalwand (12), die der ersten Entgasungskanalwand (18) auf einer dem Batteriemodul (24) abgewandten Seite gegenüberliegt, wobei sich zwischen der ersten Entgasungskanalwand (18) und der zweiten Entgasungskanalwand (12) ein Zwischenraum (30) befindet. Dabei ist im Zwischenraum (30) eine Abstützstruktur (14) zur Abstützung der ersten Entgasungskanalwand (18) gegen die zweite Entgasungskanalwand (12) im Falle eines Gasaustritts aus der freigebbaren Zellentgasungsöffnung (28) angeordnet, wobei die Abstützstruktur (14) in einem nicht deformierten Ausgangszustand der ersten und zweiten Entgasungskanalwand (18, 12) an einer der beiden Entgasungskanalwände (18, 12) kontaktierend angeordnet ist und die andere der beiden Entgasungskanalwände (18, 12) nicht kontaktiert.

Batteriezellengehäuse mit Versteifungsmittel und Batteriezelle

NºPublicación:  DE102024111316A1 23/10/2025
Solicitante: 
SCHAEFFLER TECHNOLOGIES AG [DE]
Schaeffler Technologies AG & Co. KG

Resumen de: DE102024111316A1

Die Erfindung betrifft ein Batteriezellengehäuse (10) für eine Batteriezelle, umfassend wenigstens eine ein Innenvolumen (14) zumindest abschnittsweise abgrenzende erste Gehäusewand (16), in der ersten Gehäusewand (16) Überdruckabbaumittel (18) zum Abbau eines Überdrucks in dem Innenvolumen (14), wobei die Überdruckabbaumittel (18) einschließlich sämtlicher möglicher räumlich unmittelbar damit zusammenhängender und durch deren Herstellung an der ersten Gehäusewand (16) entstandener Verformungen der ersten Gehäusewand (16) einen Gesamtflächenbereich (24) einnehmen, wobei die erste Gehäusewand (16) außerhalb von dem Gesamtflächenbereich (24) Versteifungsmittel (26) zur strukturellen Versteifung der ersten Gehäusewand (16) bezüglich einer durch den Überdruck entstehenden Belastung auf die erste Gehäusewand (16) aufweist. Weiterhin betrifft die Erfindung eine Batteriezelle mit einem derartigen Batteriezellengehäuse (10).

Temperiereinrichtung für eine Fahrzeugbatterie eines Kraftfahrzeugs sowie Kraftfahrzeug

NºPublicación:  DE102024111392A1 23/10/2025
Solicitante: 
BAYERISCHE MOTOREN WERKE AG [DE]
Bayerische Motoren Werke Aktiengesellschaft

Resumen de: DE102024111392A1

Die Erfindung betrifft eine Temperiereinrichtung (10) für eine Fahrzeugbatterie eines Kraftfahrzeugs, mit wenigstens zwei von einem Temperierfluid durchströmbaren Temperierelementen (12), welche dazu eingerichtet sind, seitlich an jeweilige Batteriezellen der Batterie angelegt zu werden, wobei die beiden Temperierelemente (12) mittels einer Verbindungseinrichtung (14) fluidisch miteinander verbunden sind, welche ein Rohrelement (16), eine erste Anschlusseinrichtung (18), mittels welcher das Rohrelement (16) an einem ersten der Temperierelemente (12) befestigt ist, und eine zweite Anschlusseinrichtung (18), mittels welcher das Rohrelement (16) an dem zweiten Temperierelement (12) befestigt ist, umfasst, wobei zumindest eine der Anschlusseinrichtungen (18) mit dem zugeordneten Temperierelement (12) über eine mechanische Verbindung verbunden ist, welche durch entgegengesetztes Drehen der Anschlusseinrichtung (18) und des Temperierelements (12) relativ zueinander um die Längsachse des Rohrelements (16) hergestellt worden ist.

Batteriegehäuse für eine Batterieanordnung

NºPublicación:  DE102024203688A1 23/10/2025
Solicitante: 
BOSCH GMBH ROBERT [DE]
Robert Bosch Gesellschaft mit beschr\u00E4nkter Haftung

Resumen de: DE102024203688A1

Die vorliegende Erfindung betrifft ein Batteriegehäuse für eine Batterieanordnung eines Elektrofahrrads, umfassend einen ersten Gehäuseteil, einen zweiten Gehäuseteil, wobei der erste Gehäuseteil und der zweite Gehäuseteil derart ausgebildet sind, um in einem miteinander verbundenen Zustand einen vollständig geschlossenen Gehäuseraum zu bilden, und einen Gehäuseverschluss, welcher den ersten Gehäuseteil und den zweiten Gehäuseteil im miteinander verbundenen Zustand permanent mit mindestens einer vorbestimmten Haltekraft aneinander hält, wobei der Gehäuseverschluss vollständig reversibel lösbar und wiederherstellbar ist, und/oder wobei zumindest eines der Gehäuseteile ein Filterelement aufweist.

Kühlplatteneinheit für eine Batterie sowie Verfahren zum Herstellen einer Kühlplatteneinheit

Nº publicación: DE102024110808A1 23/10/2025

Solicitante:

AUDI AG [DE]
AUDI Aktiengesellschaft

Resumen de: DE102024110808A1

Die Erfindung betrifft eine Kühlplatteneinheit (10) für eine Batterie (42), wobei die Kühlplatteneinheit (10) eine Kühlplatte (12) aufweist, die zwei miteinander in einem Randbereich (12c) gefügte Plattenelemente (16a, 16b), einen zwischen den Plattenelementen (16a, 16b) gebildeten, durchströmbaren Hohlraum (22) und einen Schnittstellenbereich (14a, 14b) mit mindestens einer in den Hohlraum (22) mündenden ersten Öffnung (20, 18) umfasst. Weiterhin umfasst die Kühlplatteneinheit (10) ein Kunststoffbauteil (14), mit dem zumindest der Schnittstellenbereich (14a, 14b) umspritzt ist, wobei das Kunststoffbauteil (14) im Bereich der ersten Öffnung (20, 18) eine den Zugang zur Öffnung (20, 18) freigebende erste Bauteilöffnung (32, 34) aufweist.

traducir