Ministerio de Industria, Turismo y Comercio LogoMinisterior
 

Alerta

Resultados 1315 resultados
LastUpdate Última actualización 03/11/2025 [07:10:00]
pdfxls
Publicaciones de los últimos 15 días/Last 15 days publications (excluidas pubs. CN y JP /CN and JP pubs. excluded)
previousPage Resultados 425 a 450 de 1315 nextPage  

MULTI-BAY BATTERY CHARGER

NºPublicación:  WO2025227107A1 30/10/2025
Solicitante: 
BRIGGS & STRATTON LLC [US]
BRIGGS & STRATTON, LLC
WO_2025227107_PA

Resumen de: WO2025227107A1

A battery charger includes a first charging bay including a first charging dock configured to be physically and electrically coupled to a first battery, a second charging bay including a second charging dock configured to be physically and electrically coupled to a second battery, and a first junction box electrically coupled to and separating the first charging dock and the second charging dock. A first front side of the first charging dock is configured to couple to the first battery, a second front side of the second charging dock is configured to couple to the second battery, and the first junction box is directly coupled to a first back side of the first charging dock and a second back side of the second charging dock.

ULTRA-CONDUCTIVE POLYMER ELECTROLYTES AND METHODS OF SYNTHESIZING SAME

NºPublicación:  WO2025226660A1 30/10/2025
Solicitante: 
UNIV OF MIAMI [US]
UNIVERSITY OF MIAMI
WO_2025226660_PA

Resumen de: WO2025226660A1

Ultra-conductive solid-state polymer electrolytes are disclosed. A method of synthesizing the electrolytes involves doping graphene oxide sheets with ion transfer mediators, mixing the doped graphene oxide sheets into a base polymer electrolyte, and reorienting the doped graphene oxide sheets by applying an electrical field and/or a magnetic field while the polymer mixture is fluidal.

POSITIVE ELECTRODES FOR RECHARGEABLE BATTERIES

NºPublicación:  WO2025226699A1 30/10/2025
Solicitante: 
BOARD OF REGENTS THE UNIV OF TEXAS SYSTEM [US]
BOARD OF REGENTS, THE UNIVERSITY OF TEXAS SYSTEM
WO_2025226699_PA

Resumen de: WO2025226699A1

Disclosed herein is a cathode material comprising: a structure comprising LiaMnxFeyDz(PO4)c, wherein the cathode material comprises at least two phases, wherein a first phase is an olivine phase, and a second phase, and wherein the olivine phase is present in an amount greater than 90 wt% based on the total weight of the at least two phases, wherein 1 ≤ a ≤ 1.2 wherein 0.4 ≤ x ≤ 0.8, wherein 0.2 ≤ y ≤ 0.6, wherein 1 ≤ c ≤ 1.1, wherein D comprises one or more cations different from Li+, Mn2+, and Fe2+, wherein D comprises at least Al3+ and Si4+, and wherein at least an amount of Al3+ and Si4+ is present in the second phase; wherein z is a total amount of moles of D present and is 0.01 ≤ z ≤ 0.1 wherein x + y + z = 1; and wherein the cathode material exhibits an electrode press density of greater than 2.2 g cm-3; and an electrode volumetric density equal to or greater than 1200 Wh L-1.

SYSTEMS AND METHODS OF LITHIUM ELECTRODEPOSITION

NºPublicación:  WO2025226438A1 30/10/2025
Solicitante: 
ALBEMARLE CORP [US]
ALBEMARLE CORPORATION
WO_2025226438_PA

Resumen de: WO2025226438A1

The present disclosure is directed to lithium electrodeposition systems and methods of using such electrodeposition systems. Specifically, the electrodeposition systems disclosed herein can include a catholyte chamber and at least one anolyte chamber, wherein the catholyte chamber is configured to receive an electrode substrate such that a width direction of the electrode substrate is substantially parallel to the direction of gravity as it moves through the catholyte chamber. In addition, the system can be configured to flow lithium ions from the anolyte chamber to the catholyte chamber through an ion-permeable membrane and deposit lithium metal on a side of the electrode substrate as it moves through the catholyte chamber.

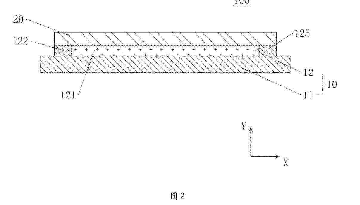
BATTERY PACK

NºPublicación:  WO2025223520A1 30/10/2025
Solicitante: 
SVOLT ENERGY TECH CO LTD [CN]
\u8702\u5DE2\u80FD\u6E90\u79D1\u6280\u80A1\u4EFD\u6709\u9650\u516C\u53F8
WO_2025223520_PA

Resumen de: WO2025223520A1

Provided is a battery pack (100), comprising: a case (10), wherein a mounting cavity is formed in the case (10), an opening in communication with the mounting cavity is formed at the top of the case (10), and a first protrusion (11) is formed on at least part of a peripheral edge of the opening; a bracket (20), wherein the bracket (20) is arranged around the peripheral edge of the opening, and is provided with a plurality of second protrusions (21), the second protrusions (21) being connected to the first protrusion (11); and a first cold plate (30), wherein the first cold plate (30) is arranged on the bracket (20). The battery pack (100) is provided with the first protrusion (11) and the second protrusions (21), such that connection between the support (20) and the case (10) can be facilitated, an improvement in the mounting efficiency of the bracket (20) and the case (10) is facilitated, the connection strength of the bracket (20) and the case (10) can be increased, and the connection strength between the first cold plate (30) and the case (10) can thus be ensured.

SEALING NAIL, BATTERY COVER PLATE AND BATTERY

NºPublicación:  WO2025223522A1 30/10/2025
Solicitante: 
SVOLT ENERGY TECH CO LTD [CN]
\u8702\u5DE2\u80FD\u6E90\u79D1\u6280\u80A1\u4EFD\u6709\u9650\u516C\u53F8
WO_2025223522_PA

Resumen de: WO2025223522A1

The present application relates to the technical field of batteries. Specifically, disclosed are a sealing nail, a battery cover plate and a battery. The sealing nail comprises a sealing portion for sealing a liquid injection hole, and a gas injection portion. In a pre-installation state, a gas injection channel is formed between a first matching face of the gas injection portion and an inner wall of the liquid injection hole, the gas injection channel can be used for evacuation or gas injection, the end of a second matching face of the gas injection portion that is away from the sealing portion is inclined towards the central axis of the gas injection portion, and at least part of the second matching face can be in interference fit with the inner wall of the liquid injection hole, thereby having the function of temporarily fixing the sealing nail; in addition, the sealing nail does not easily fall out of the liquid injection hole, thereby facilitating evacuation or gas injection work; moreover, the second matching face has a guiding function when the sealing nail is inserted into the liquid injection hole, thereby facilitating the insertion of the sealing nail. When the sealing portion of the sealing nail is completely inserted into the liquid injection hole, the liquid injection hole can be sealed by means of the sealing portion, thereby achieving a good sealing effect. The battery cover plate and the battery each comprise the sealing nail.

BATTERY DEVICE AND ELECTRIC DEVICE

NºPublicación:  WO2025223521A1 30/10/2025
Solicitante: 
CONTEMPORARY AMPEREX TECH CO LIMITED [CN]
\u5B81\u5FB7\u65F6\u4EE3\u65B0\u80FD\u6E90\u79D1\u6280\u80A1\u4EFD\u6709\u9650\u516C\u53F8
WO_2025223521_PA

Resumen de: WO2025223521A1

The present application is suitable for the technical field of batteries, and provides a battery device and an electric device. The battery device comprises a case; a battery cell assembly, arranged in the case; and a thermal management component, arranged in the case and used for heat exchange with the battery cell assembly, wherein the thermal management component comprises a heat exchange pipe and a current collecting component; a plurality of heat exchange flow channels are arranged in the heat exchange pipe; a first relief structure is arranged at the end of the heat exchange pipe; the current collecting component comprises a current collector, an adapter sleeve ring and a blocking piece; the adapter sleeve ring is sealingly sleeved on the end of the heat exchange pipe; the adapter sleeve ring is connected to the first relief structure; the blocking piece is arranged at the port of at least one heat exchange flow channel close to the adapter sleeve ring and supports the heat exchange pipe; and the current collector is sealingly connected to the adapter sleeve ring, so that a heat exchange medium circulates between the heat exchange flow channels and the current collector. The battery device provided by embodiments of the present application can reduce the risk of lithium precipitation of battery cells caused by the blocking piece in the thermal management component.

SODIUM-ION BATTERY

NºPublicación:  WO2025222603A1 30/10/2025
Solicitante: 
HUIZHOU LIWINON NEW ENERGY TECH CO LTD [CN]
\u60E0\u5DDE\u9502\u5A01\u65B0\u80FD\u6E90\u79D1\u6280\u6709\u9650\u516C\u53F8
WO_2025222603_A1

Resumen de: WO2025222603A1

Provided is a sodium-ion battery, comprising an electrolyte solution, a positive electrode sheet, a negative electrode sheet and a separator. The components of the electrolyte solution include an electrolyte salt, an organic solvent and a combined additive, wherein the combined additive comprises an additive A and an additive B, the additive A being a compound represented by formula I, and the additive B being a compound represented by formula II. Further provided are a preparation method for the electrolyte solution and a sodium-ion battery containing the electrolyte solution.

CELL GROUP, BATTERY, AND ELECTRIC DEVICE

NºPublicación:  WO2025222605A1 30/10/2025
Solicitante: 
CONTEMPORARY AMPEREX TECH CO LIMITED [CN]
\u5B81\u5FB7\u65F6\u4EE3\u65B0\u80FD\u6E90\u79D1\u6280\u80A1\u4EFD\u6709\u9650\u516C\u53F8
WO_2025222605_PA

Resumen de: WO2025222605A1

A cell group (1), a battery (100), and an electric device. The cell group (1) comprises a housing (11) and pouch cells. The housing (11) is provided with an accommodating cavity and pressure relief holes (1a) communicated with the accommodating cavity. The housing (11) comprises an end cover (112). The end cover (112) comprises a pressure relief area (1121) and a cell connection area (1122). The pressure relief holes (1a) are formed in the pressure relief area (1121). The cell connection area (1122) is configured to be electrically connected to the pouch cells. At least two pouch cells are accommodated in the accommodating cavity. The battery (100) comprises a case (101), balancing valves (102) and the cell group (1). The case (101) is provided with a placement cavity (100a). The balancing valves (102) are arranged on the case (101). The cell group (1) is located in the placement cavity (100a) of the case (101). The electric device comprises the battery (100) for providing electrical energy. Heat and gas generated during thermal runaway of the pouch cells of the cell group (1) can be directionally ejected out from the pressure relief holes (1a) to avoid uncontrolled ejections, thereby improving the safety of the pouch cells during thermal runaway.

THIRD ELECTRODE FOR REMOVING DENDRITES OF BATTERY, AND REMOVING METHOD

NºPublicación:  WO2025222850A1 30/10/2025
Solicitante: 
XIANNING HONGYANG TECH CO LTD [CN]
\u54B8\u5B81\u5E02\u7EA2\u9633\u79D1\u6280\u6709\u9650\u516C\u53F8
WO_2025222850_PA

Resumen de: WO2025222850A1

The present application discloses a third electrode for removing dendrites of a battery, and a removing method. A third electrode for removing dendrites of a battery. The battery comprises a battery positive electrode, a battery electrolyte, a battery separator, and a battery negative electrode. The third electrode comprises a cavity and an electrode plate. The cavity consists of an upper cavity and a lower cavity which are communicated and can be disassembled. The upper cavity is at least provided with an opening. The battery electrolyte can flow through the cavity through the opening. The opening is made of an electrode separator. The electrode plate is mounted in the lower cavity. The lower cavity is made of an electrode insulating film. In the method provided by the present application, dendrites of a battery can be thoroughly eliminated, the service life of a battery is prolonged many times, the cost is greatly reduced, the application range is wide, and the method has good popularization and application values.

BATTERY CASE, BATTERY HAVING SAME AND ELECTRICAL DEVICE

NºPublicación:  WO2025222798A1 30/10/2025
Solicitante: 
BYD COMPANY LTD [CN]
\u6BD4\u4E9A\u8FEA\u80A1\u4EFD\u6709\u9650\u516C\u53F8
WO_2025222798_PA

Resumen de: WO2025222798A1

A battery case, a battery having same and an electrical device. The battery case (10) comprises a case (1), a deformable sealing member (2) and a controller; the case (1) comprises a case body (11) and a case cover (12), the case cover (12) being used for sealing an opening of the case body (11); the sealing member (2) is arranged between the case body (11) and the case cover (12), and is used for sealing an assembly gap between the case body (11) and the case cover (12), the sealing member (2) being internally provided with an accommodation channel (21) extending in the length direction thereof, and the accommodation channel (21) being used for accommodating a medium, such as gas or liquid; the controller is used for controlling the filling amount of the medium in the accommodation channel (21). The sealing member (2) of the battery case (10) has adjustable volume expansibility, thus achieving good sealing effect and high flexibility.

POSITIVE ELECTRODE FOR RECHARGEABLE LITHIUM BATTERIES AND RECHARGEABLE LITHIUM BATTERIES

NºPublicación:  WO2025226137A1 30/10/2025
Solicitante: 
SAMSUNG SDI CO LTD [KR]
\uC0BC\uC131\uC5D0\uC2A4\uB514\uC544\uC774 \uC8FC\uC2DD\uD68C\uC0AC
WO_2025226137_A1

Resumen de: WO2025226137A1

The present invention relates to a positive electrode for a rechargeable lithium batteries and rechargeable lithium batteries, the positive electrode comprising: a positive electrode current collector; and a positive electrode active material layer positioned on the positive electrode current collector and containing a positive electrode active material and pseudo boehmite. The purpose of the present invention is to improve the stability of the rechargeable lithium batteries by reducing the amount of heat generation and blocking or delaying thermal runaway, during an abnormal reaction of the batteries.

LITHIUM SECONDARY BATTERY CATHODE AND LITHIUM SECONDARY BATTERY COMPRISING SAME

NºPublicación:  WO2025225949A1 30/10/2025
Solicitante: 
SAMSUNG SDI CO LTD [KR]
\uC0BC\uC131\uC5D0\uC2A4\uB514\uC544\uC774 \uC8FC\uC2DD\uD68C\uC0AC
WO_2025225949_PA

Resumen de: WO2025225949A1

Provided is a lithium secondary battery cathode comprising: a cathode current collector; a functional layer, which is positioned on the cathode current collector and contains a lithium transition metal phosphorus oxide; a cathode active material layer, which is positioned on the functional layer and contains a cathode active material; and a ceramic insulating layer positioned on a functional-layer-uncoated area of the cathode current collector, wherein the ceramic insulating layer includes inorganic particles and a flame retardant. The lithium secondary battery cathode and the lithium secondary battery comprising same can ensure safety and reliability while minimizing a decrease in energy density during operation.

VANADIUM ELECTROLYTE AND SECONDARY BATTERY COMPRISING SAME

NºPublicación:  WO2025225942A1 30/10/2025
Solicitante: 
STANDARD ENERGY INC [KR]
\uC2A4\uD0E0\uB2E4\uB4DC\uC5D0\uB108\uC9C0(\uC8FC)
WO_2025225942_PA

Resumen de: WO2025225942A1

The present invention relates to a vanadium electrolyte and to a secondary battery comprising same and, more particularly, to a vanadium electrolyte having a controlled concentration of an element causing a hydrogen evolution reaction (HER) occurring during charging and discharging of a secondary battery, and to a secondary battery comprising the vanadium electrolyte.

BATTERY MODULE COMPRISING INSULATION PLATE

NºPublicación:  WO2025225957A1 30/10/2025
Solicitante: 
VALEO KAPEC CO LTD [KR]
\uC8FC\uC2DD\uD68C\uC0AC \uCE74\uD399\uBC1C\uB808\uC624
WO_2025225957_PA

Resumen de: WO2025225957A1

Provided is a structure of a battery module comprising: a cell laminate in which a plurality of battery cells is stacked in the front-rear direction; a first end plate for supporting the cell laminate from the front side; a second end plate for supporting the cell laminate from the rear side; and a connection member for connecting opposite ends in the widthwise direction of the first end plate and the second end plate in the front-rear direction, wherein an insulating plate is interposed between the cell laminate and the first end plate, and a hook part snap-fitted coupled to the first end plate and a rigidity reinforcing part for reinforcing bending rigidity are provided on the upper end of the insulating plate.

METHOD OF ALKALINE LEACHING OF METALS FROM LITHIUM-ION BATTERIES

NºPublicación:  WO2025226432A1 30/10/2025
Solicitante: 
ALBEMARLE CORP [US]
ALBEMARLE CORPORATION
WO_2025226432_PA

Resumen de: WO2025226432A1

This disclosure provides processes for recovering one or more metals or metal compounds from black mass from lithium-ion batteries by alkaline leaching to form an alkaline leachate, and preparing a cathode active material precursor from the alkaline leachate.

DEGASSING PROCESS APPARATUS AND OPERATION METHOD THEREOF

NºPublicación:  WO2025225827A1 30/10/2025
Solicitante: 
LG ENERGY SOLUTION LTD [KR]
\uC8FC\uC2DD\uD68C\uC0AC \uC5D8\uC9C0\uC5D0\uB108\uC9C0\uC194\uB8E8\uC158
WO_2025225827_A1

Resumen de: WO2025225827A1

A degassing process apparatus according to one embodiment disclosed in the present document comprises: an information acquisition unit for acquiring an atmospheric pressure; and a controller for correcting a vacuum pressure during the process of degassing a battery on the basis of the atmospheric pressure, wherein the vacuum pressure may be the pressure required to reach a vacuum state during the degassing process.

CELL TOP COVER AND BATTERY

NºPublicación:  WO2025223261A1 30/10/2025
Solicitante: 
BATTEROTECH CO LTD [CN]
\u5170\u94A7\u65B0\u80FD\u6E90\u79D1\u6280\u6709\u9650\u516C\u53F8
WO_2025223261_PA

Resumen de: WO2025223261A1

The present application relates to the technical field of lithium batteries, and provides a cell top cover and a battery. Specifically, the cell top cover comprises a cover plate, upper terminal posts and lower terminal posts. Terminal post holes for accommodating the upper terminal posts and the lower terminal posts are formed on the cover plate; a portion of each upper terminal post protrudes downwards to form a first recess, a portion of each lower terminal post protrudes upwards to form a second recess, and the bottom wall of the first recess is connected to the bottom wall of the corresponding second recess. On the basis of the described configuration of the first and second recesses, the weight of each upper terminal post and the weight of each lower terminal post are reduced respectively, resulting in material savings for the upper and lower terminal posts; thus, lightweight design of the cell top cover is achieved, and the manufacturing cost of the cell top cover is also reduced.

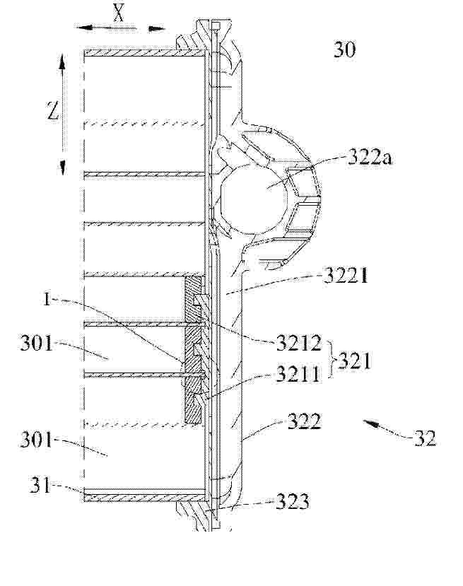
BATTERY APPARATUS AND ELECTRICAL APPARATUS

NºPublicación:  WO2025223480A1 30/10/2025
Solicitante: 
CONTEMPORARY AMPEREX TECH CO LIMITED [CN]
\u5B81\u5FB7\u65F6\u4EE3\u65B0\u80FD\u6E90\u79D1\u6280\u80A1\u4EFD\u6709\u9650\u516C\u53F8
WO_2025223480_PA

Resumen de: WO2025223480A1

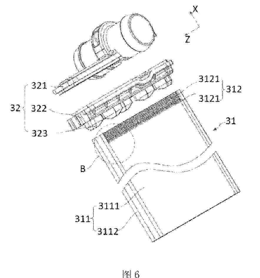
A battery apparatus (100) and an electrical apparatus (1000). The battery apparatus comprises: a box body (10); a battery cell assembly (20) accommodated within the box body; and a heat exchange assembly (30) accommodated within the box body and in heat exchange with the battery cell assembly. The heat exchange assembly comprises: a heat exchange main body (31), comprising a plurality of heat exchange flow channels (301); and a flow collecting structure disposed at both ends of the heat exchange main body in a first direction, each flow collecting structure comprising a blocking member (321), an adapter (323), and a flow collecting member (322). The blocking member comprises a connecting portion (3211) and at least two blocking portions (3212). The at least two blocking portions are connected by means of the connecting portion, and the at least two blocking portions are configured to be able to block at least two of the heat exchange flow channels. The adapter is formed on the heat exchange main body. A flow collecting chamber (3221) is formed in the interior of the flow collecting member. The flow collecting member is sealingly fitted and connected to the heat exchange main body by means of the adapter, and the flow collecting member is provided with a communication port (322a) in communication with the flow collecting chamber.

AUTOMOTIVE AIR CONDITIONING SYSTEM

NºPublicación:  WO2025223481A1 30/10/2025
Solicitante: 
BYD COMPANY LTD [CN]
\u6BD4\u4E9A\u8FEA\u80A1\u4EFD\u6709\u9650\u516C\u53F8
WO_2025223481_PA

Resumen de: WO2025223481A1

A vehicle, comprising an automotive air conditioning system. The automotive air conditioning system comprises a heating loop and a cooling loop that are independent of each other. Both the heating loop and the cooling loop pass through a passenger compartment and a power battery system of the vehicle. The heating loop is used for heating the passenger compartment and/or the power battery system. The cooling loop is used for cooling the passenger compartment and/or the power battery system.

ELECTRODE SHEET, CORE, BATTERY AND ELECTRIC DEVICE

NºPublicación:  WO2025223264A1 30/10/2025
Solicitante: 
BYD COMPANY LTD [CN]
\u6BD4\u4E9A\u8FEA\u80A1\u4EFD\u6709\u9650\u516C\u53F8
WO_2025223264_PA

Resumen de: WO2025223264A1

An electrode sheet, a core, a battery and an electric device. The battery comprises the core, wherein the core is provided with the electrode sheet, a first coating portion and a second coating portion being spaced apart on the same surface of the electrode sheet, and the area of the electrode sheet located between the first coating portion and the second coating portion forming a first non-coating portion.

ELECTRODE SHEET, BATTERY, AND ELECTRICAL DEVICE

NºPublicación:  WO2025223498A1 30/10/2025
Solicitante: 
BYD COMPANY LTD [CN]
\u6BD4\u4E9A\u8FEA\u80A1\u4EFD\u6709\u9650\u516C\u53F8
WO_2025223498_PA

Resumen de: WO2025223498A1

A battery, comprising a battery cell, wherein the battery cell is provided with electrode sheets; a current collector of each electrode sheet comprises a foil and a conductive layer; the conductive layer and the foil are stacked; the conductive layer comprises a first area and a second area, the first area is closer to the edge of the foil than the second area, the conductivity of the first area in a first direction is A, the conductivity of the second area in the first direction is B, and the following relational expression is satisfied: A<B.

Proceso sin disolventes para la preparación de baterías de iones de litio

NºPublicación:  ES3040234A2 29/10/2025
Solicitante: 
CABOT CORP [US]
CABOT CORPORATION
TW_202447994_A

Resumen de: TW202447994A

A solvent-free process employs carbon nanotubes to prepare compositions and electrodes for lithium-ion batteries. The carbon nanotubes can be multifunctional, providing two or more desirable characteristics, acting, for example, as a conductive carbon additive, as a fibrillizing agent and/or as a mechanical reinforcement. In one example, the carbon nanotubes are provided in combination with a carbon black. In another example, an electroactive material, a fibrillizable binder, e.g., PTFE, and carbon nanotubes are combined in one or more steps. High shear mixing is used to fibrillize the binder. The resulting composition can be formed into a film which can be applied onto a suitable substrate to form an electrode.

BATTERY DEFECT DETECTION APPARATUS, METHOD AND DEVICE

NºPublicación:  EP4641181A1 29/10/2025
Solicitante: 
CONTEMPORARY AMPEREX TECHNOLOGY CO LTD [CN]
Contemporary Amperex Technology Co., Limited
EP_4641181_PA

Resumen de: EP4641181A1

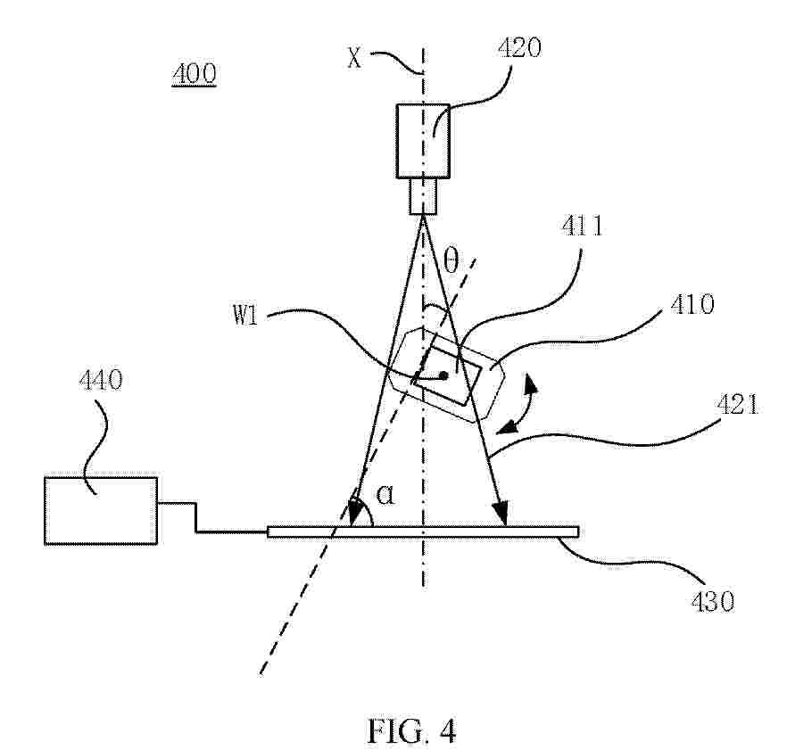
A battery defect inspection device (400), method, and apparatus (500), belonging to the technical field of batteries. The battery defect inspection device (400) includes a ray source (420), a detector (430), and a supporting component (410) disposed between the ray source (420) and the detector (430). A battery under inspection (411) is configured to be located on a supporting surface of the supporting component (410). The battery defect inspection device (400) further includes a rotation mechanism. The rotation mechanism is configured to rotate the supporting component (410) along a preset rotation axis, or is configured to rotate the ray source (420) and the detector (430) about a preset rotation axis, such that the optical axis (X) of the rays emitted from the ray source (420) is projected obliquely onto a surface of the battery under inspection (411). At least an included angle (θ) between an end surface of the battery under inspection (411) and a plane on which the detector (430) is located can be flexibly adjusted according to the needs of different inspection scenarios, to some extent enabling all of the individual internal structures of the battery to be clearly captured during imaging.

LITHIUM ION BATTERY AND ELECTRIC APPARATUS

Nº publicación: EP4641729A1 29/10/2025

Solicitante:

CONTEMPORARY AMPEREX TECHNOLOGY CO LTD [CN]
Contemporary Amperex Technology Co., Limited

EP_4641729_PA

Resumen de: EP4641729A1

Embodiments of the present application disclose a lithium-ion battery and an electric device. The lithium-ion battery includes an electrolyte including a metal ion, where a reduction potential of the metal ion is higher than a reduction potential of a lithium ion; and a low CB value region, where a CB value of the lithium ion in the low CB value region satisfies: 0 < CB < 1, and the CB value is a ratio of a capacity of a negative electrode active material per unit area to a capacity of a positive electrode active material per unit area. The lithium-ion battery provided in the present application can effectively solve the problem of lithium deposition in the low CB value region.

traducir