Ministerio de Industria, Turismo y Comercio LogoMinisterior
 

Alerta

Resultados 1333 resultados
LastUpdate Última actualización 25/04/2026 [08:39:00]
pdfxls
Publicaciones de los últimos 15 días/Last 15 days publications (excluidas pubs. CN y JP /CN and JP pubs. excluded)
previousPage Resultados 400 a 425 de 1333 nextPage  

ENERGY STORAGE DEVICE

NºPublicación:  EP4728579A1 22/04/2026
Solicitante: 
TVS MOTOR CO LTD [IN]
CN_121241459_PA

Resumen de: CN121241459A

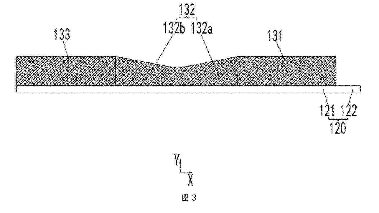
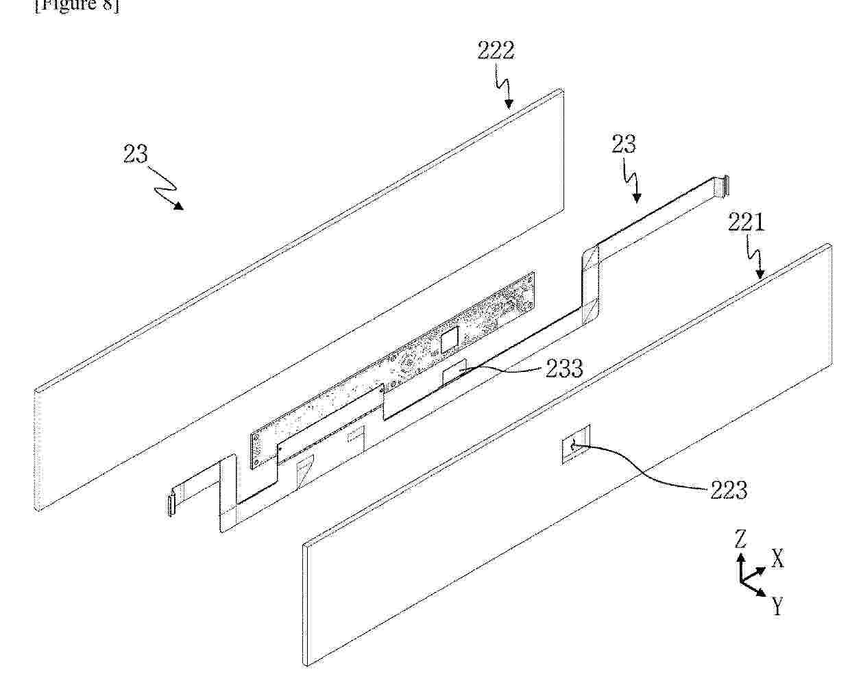
The invention relates to an energy storage device 100 for a vehicle. An energy storage device 100 includes a battery cartridge 110 having a base member 102, a plurality of walls 104 extending from the base member 102, and an open end 106. The open end 106 is configured to receive one or more battery modules 112. The energy storage device (100) further includes a top cover (120) disposed over the open end (106) of the battery case (110). The top cover 120 comprises an extension 122 in the longitudinal direction 'D1' of the energy storage device 100. The energy storage device 100 further includes a first connector 130 disposed at the extended portion 122 of the top cover 120. The first connector 130 is configured to be removably connected with one or more battery modules 112.

BATTERY ASSEMBLY

NºPublicación:  EP4728594A1 22/04/2026
Solicitante: 
BOSCH GMBH ROBERT [DE]
WO_2024256258_PA

Resumen de: WO2024256258A1

The invention relates to a battery assembly (10) comprising at least one battery cell (1), a main printed circuit board (2) which is electrically connected to the battery cell (1), and a fuse board (3) which is electrically connected to the main printed circuit board (2), wherein the fuse board (3) has an electric fuse (4), preferably at least two electric fuses (4), and the fuse board (3) is designed as a component which is separate from the main printed circuit board (2) and is arranged at a distance (5) to the main printed circuit board (2).

PITCH-BASED COMPOSITE POWDERS CONTAINING A GRAPHITIZATION CATALYST AND METHODS FOR PRODUCTION AND USE THEREOF

NºPublicación:  EP4727893A1 22/04/2026
Solicitante: 
EXXONMOBIL TECHNOLOGY & ENGINEERING COMPANY [US]
CN_121511212_PA

Resumen de: CN121511212A

A composite powder for electrode production may be formed by blending a graphitization catalyst or a precursor thereof with petroleum asphalt under milling conditions. The composite powder may include from about 0.1 wt% to about 30 wt% of a graphitization catalyst or a precursor thereof, based on the total mass of the composite powder, and from about 20 wt% to about 99.9 wt% of petroleum asphalt, based on the total mass of the composite powder. The graphitization catalyst or a precursor thereof is dispersed in a matrix comprising the petroleum asphalt, and the petroleum asphalt comprises a plurality of asphalt particles. The composite powder may then be carbonized and then graphitized under conditions that may not be harsh than uncatalyzed graphitization. Milling conditions to form the composite powder may include melt blending to form a continuous asphalt matrix, wherein at least a portion of the graphitization catalyst or precursor thereof may be dispersed within the interior of the asphalt particles.

PROPYLENE CARBONATE BASED HEAT TRANSFER FLUID

NºPublicación:  EP4728016A1 22/04/2026
Solicitante: 
CCI NORTH AMERICA CORP [US]
WO_2024259144_A1

Resumen de: WO2024259144A1

A water-free cooling fluid based on alkene carbonates has low toxicity, low electrical conductivity and high heat capacity. The fluid provides corrosion protection for cooled systems and is liquid to -30°C or lower. Moreover, the fluid shows low viscosity at low temperatures. Some formulations contain dehydrating orthoesters.

MONITORING DEVICE, MONITORING METHOD, AND PROGRAM

NºPublicación:  EP4730480A1 22/04/2026
Solicitante: 
DENSO CORP [JP]
EP_4730480_PA

Resumen de: EP4730480A1

0001 A monitoring device (50) monitors a battery (14) mounted on an eVTOL. A monitoring device (50) includes an acquisition unit (51) and an output unit (53). An acquisition unit (51) acquires voltage information of the battery (14) during flight and information related to the travel mode of the eVTOL. An output unit (53) outputs monitoring result when a predetermined condition related to an abnormality of the battery (14) is satisfied with reference to the voltage information and a threshold value set for each travel mode. By using the threshold value set for each travel mode, an abnormality of the battery (14) can be detected early, and flight safety can be improved.

MOTOR VEHICLE BATTERY PACK AND GAS DISCHARGE DEVICE

NºPublicación:  EP4728591A1 22/04/2026
Solicitante: 
VALEO ELECTRIFICATION [FR]
FR_3150045_PA

Resumen de: WO2024256167A1

Title of the invention: Gas discharge device for a motor vehicle battery pack The invention relates to a motor vehicle battery pack (2) comprising a casing (4), which is configured to house electrical energy storage modules, and at least one cover (8) able to cover said casing (4), the at least one cover (8) comprising an inner face (10) positioned facing the casing (4), the battery pack (2) comprising at least one seal (14) arranged between the inner face (10) of the cover (8) and the casing (4), the at least one seal (14) and/or the casing (4) and/or the cover (8) being configured to form at least one weakened area (18) of the seal that is dimensioned to allow discharge of gases under a predetermined pressure or temperature of these gases.

BATTERY CELL, AND BATTERY PACK AND ELECTRIC TWO-WHEELED VEHICLE INCLUDING BATTERY CELL

NºPublicación:  EP4730500A1 22/04/2026
Solicitante: 
LG ENERGY SOLUTION LTD [KR]
EP_4730500_PA

Resumen de: EP4730500A1

The present disclosure relates to a battery cell that includes: an electrode assembly; a battery housing having an opening on one side and configured to accommodate the electrode assembly through the opening; a washer disposed in the opening of the battery housing; an exterior member configured to cover the battery housing and at least a portion of the washer; and an adhesive member provided on at least one side of the exterior member and configured to strengthen adhesive strength of the exterior member.

THERMALLY CONDUCTIVE TWO COMPONENT ADHESIVES

NºPublicación:  EP4727988A1 22/04/2026
Solicitante: 
BASF SE [DE]
WO_2024256403_A1

Resumen de: WO2024256403A1

The present invention relates to a process for the production of a thermal conductive polyure- thane adhesive wherein an isocyanate reactive component (A) and an isocyanate component (B) are mixed at an isocyanate index in the range of 80 to 130 to form a reaction mixture and the reaction mixture is allowed to cure, wherein the polyisocyanate reactive component (A) comprises at least one polyol (a1), at least one catalyst (a2), optionally at least one surface modified aluminum tri-hydroxide (Al(OH)3) (a3), and the isocyanate component (B) comprises at least one aliphatic polyisocyanate (b1) and at least one surface modified aluminum tri-hydroxide (Al(OH)3) (b2), wherein the content of the at least one surface modified aluminum tri-hydroxide (a3) is from 70 to 95 % by weight, based on the total weight of the isocyanate reactive compo- nent (A) and the content of the at least one surface modified aluminum tri-hydroxide (b2) is from 70 to 95 % by weight, based on the total weight of the isocyanate component (B) and wherein the at least one polyol (a1) comprises at least one polymeric compound with at least two hydro- gen atoms reactive towards isocyanate (a1a) and the at least one polymeric compound with at least two hydrogen atoms reactive towards isocyanate (a1a) comprises at least one polyeth- erpolyol (a1a1), obtainable from alkoxylation of a starter molecule selected from aliphatic alco- hols having 2 to 6, preferably 2 to 4 alcohol groups, aliphatic amines, water and mixtu

BATTERY CLIP

NºPublicación:  EP4728592A1 22/04/2026
Solicitante: 
HOFFMANN LA ROCHE [CH]
ROCHE DIABETES CARE GMBH [DE]
WO_2024258426_PA

Resumen de: WO2024258426A1

A battery clip for retaining at least one battery to a circuit carrier is disclosed along with an assembly including a circuit carrier having a plurality of flexible tabs and a battery clip configured to be secured to the circuit carrier to securely retain a battery thereto for providing power to the circuit carrier. The battery clip includes a plurality of slots configured to mate with and receive the flexible tabs of the circuit carrier such that the battery clip and the circuit carrier are secured together such that a first terminal of a retained battery physically contacts and is in electrical communication with the circuit carrier's first pad, the battery clip further comprising one or more flexible conductive fingers configured to contact a second terminal of a retained battery to establish an electrical communication between the fingers and the second terminal, and wherein the battery clip comprises an electrically conductive material and establishes electrical communication between the fingers and the circuit carrier's second pad.

BATTERY CASING, PRODUCED AS A LARGE CAST PART, FOR A MOTOR VEHICLE, AND MOTOR VEHICLE HAVING A BATTERY CASING OF THIS KIND

NºPublicación:  EP4727782A1 22/04/2026
Solicitante: 
VOLKSWAGEN AG [DE]
WO_2024260614_PA

Resumen de: WO2024260614A1

The invention relates to a battery casing, produced as a large cast part, for a motor vehicle, having a bottom portion (20) which has a width extending in the vehicle transverse direction and a length extending in the vehicle longitudinal direction, and having at least one side wall (22) extending, outside of the bottom portion (20), upwards in the vehicle vertical direction in order to laterally delimit, at least on one side, an interior for arranging battery cells and/or battery modules on the bottom portion (20), wherein at least one additional wall (26) extending upwards from the bottom portion (20) or extending outwards, in relation to the area of the interior, from the bottom portion (20) is formed as a protective element.

METHOD FOR MANUFACTURING BATTERY MODULE, BATTERY MODULE, BATTERY PACK, AND UNMANNED AERIAL VEHICLE

NºPublicación:  EP4730527A2 22/04/2026
Solicitante: 
NINGDE AMPEREX TECHNOLOGY LTD [CN]
EP_4730527_A2

Resumen de: EP4730527A2

0001 This application discloses a method for manufacturing a battery module, including: disposing an adapting plate on a battery cell assembly, and connecting the adapting plate to tabs of the battery cell assembly; providing a fastening frame, where the fastening frame is provided with an accommodating cavity, and the accommodating cavity accommodates the adapting plate and at least part of the battery cell assembly; and providing a filler in a gap between the inner side of the accommodating cavity and the battery cell assembly and a gap between the inner side of the accommodating cavity and the adapting plate. This application further discloses a battery module, and a battery pack and an unmanned aerial vehicle that include the battery module.

BEAM STRUCTURE OF BATTERY, BATTERY AND ELECTRIC DEVICE

NºPublicación:  EP4730526A1 22/04/2026
Solicitante: 
CONTEMPORARY AMPEREX TECHNOLOGY CO LTD [CN]
EP_4730526_PA

Resumen de: EP4730526A1

The present application relates to the technical field of batteries. Disclosed are a beam structure of a battery, a battery and an electric device. The beam structure comprises: a mounting member, which is provided with a first mounting position where a high-voltage control element is mounted; and an expansion beam, which is provided with a second mounting position where the high-voltage control element and a connecting terminal of a battery cell group are mounted, at least part of the expansion beam being connected to the mounting member into one piece.

WINDING MECHANISM AND WINDING DEVICE

NºPublicación:  EP4730473A1 22/04/2026
Solicitante: 
WUXI LEAD INTELLIGENT EQUIPMENT CO LTD [CN]
EP_4730473_PA

Resumen de: EP4730473A1

0001 The present disclosure relates to the technical field of a winding device, and particularly to a winding mechanism and a winding device. The winding mechanism includes: a winding needle including a first half-needle and a second half-needle, the first half-needle and the second half-needle being oppositely provided spaced apart to form a gap; a cutting assembly including a cutting drive member, a pushing member, and a cutting blade, the pushing member and the cutting blade both being provided on the cutting drive member, the cutting drive member being configured to drive the pushing member and the cutting blade to move in a direction toward the winding needle, so as to cut a material strip by the cutting blade, and the pushing member being configured to push a free end of the cut material strip into the gap; and a fixing member configured to fix the free end pushed into the gap within the gap. The winding mechanism provided by the present disclosure can enable the winding device to process wound cells with relatively high efficiency. (FIG. 1)

CARBON MATERIAL, NEGATIVE ELECTRODE MATERIAL AND BATTERY

NºPublicación:  EP4729478A1 22/04/2026
Solicitante: 
BTR NEW MAT GROUP CO LTD [CN]
EP_4729478_PA

Resumen de: EP4729478A1

Provided is carbon material, anode material, and battery. The carbon material has pores, and a length-diameter ratio of particles of the carbon material is 3-15. The particles of the carbon material of the present disclosure have a rod-shaped structure, and the rod-shaped particles of the carbon material may be arranged and stacked together to reduce gaps among the particles of the carbon material and improve the compaction density of the carbon material, thereby improving the surface capacity density of a carbon material electrode sheet.

LITHIUM BATTERY OPERATING DATA FEATURE MAP EXTRACTION METHOD, AND APPARATUS, MEDIUM AND PRODUCT

NºPublicación:  EP4730163A1 22/04/2026
Solicitante: 
IBATTERYCLOUD CO LTD [CN]
EP_4730163_A1

Resumen de: EP4730163A1

Disclosed are a method, device, medium, and product for extracting feature maps from operational data of lithium batteries in the technical field of energy storage in renewable energy power systems. The method includes: acquiring operational data of a lithium battery in an energy storage system; selecting target operational data from the operational data using a sliding window to obtain a plurality of target data groups; sorting a plurality of operational data in each of the target data groups according to a chronological order of preset indicator time points, to obtain an initial matrix; performing mean-variance normalization processing on each column of the initial matrix, to obtain a normalized matrix; calculating a covariance matrix of the normalized matrix; performing singular value decomposition on the covariance matrix to obtain an eigenvector matrix; calculating a dimensionality reduction matrix corresponding to each of the target data groups according to the eigenvector matrix; scaling the dimensionality reduction matrix to construct a three-dimensional feature map matrix; and converting the three-dimensional feature map matrix into an image, to obtain a feature image of the lithium battery. This disclosure can improve the comprehensiveness, versatility, and robustness of feature extraction.

COATING DIE HEAD AND ELECTRODE SHEET COATING DEVICE

NºPublicación:  EP4729185A1 22/04/2026
Solicitante: 
CONTEMPORARY AMPEREX TECHNOLOGY CO LTD [CN]
EP_4729185_PA

Resumen de: EP4729185A1

The present application provides a coating die and an electrode plate coating device, where the coating die is provided with an inlet, a first distribution cavity, a plurality of distribution channels, and a plurality of coating outlets. The plurality of coating outlets are spaced apart along a first direction. Each distribution channel is provided with an inlet port and an outlet port at two respective ends thereof. The inlet port is in communication with the inlet, each outlet port is oriented toward a corresponding coating outlet, and cross-sectional areas of the inlet ports of all of the plurality of distribution channels are equal. Since the cross-sectional areas of all the inlet ports of the distribution channels are equal and the outlet port of each distribution channel corresponds to a respective coating outlet, the slurry can be evenly distributed and guided to the plurality of coating outlets under the action of the distribution channels, reducing the problem of uneven slurry amounts obtained by the coating outlets during free flow, which facilitates improving the consistency of discharge from the plurality of coating outlets and enhances the uniformity of slurry coating in the coating process.

SINGLE-CRYSTAL TERNARY POSITIVE ELECTRODE MATERIAL, PREPARATION METHOD THEREFOR, POSITIVE ELECTRODE SHEET, AND BATTERY

NºPublicación:  EP4730432A1 22/04/2026
Solicitante: 
GUANGDONG BRUNP RECYCLING TECHNOLOGY CO LTD [CN]
HUNAN BRUNP RECYCLING TECH CO LTD [CN]
EP_4730432_PA

Resumen de: EP4730432A1

0001 The present application discloses a single-crystal ternary cathode material, a preparation method therefor, a cathode electrode plate, and a battery, and belongs to the technical field of battery materials. The single-crystal ternary cathode material has an apparent factor Z = 1 S D 90 x × H 1.2 − 19.4 × 0.18 x , with 1.1≤Z≤3; x=D<90>/D<10>, 2≤x≤5; wherein S(D<90>) is a number-average circularity equal to a sum of circularities of all target particles divided by n, n is a total number of the target particles; an area and a perimeter corresponding to a two-dimensional projected image of an individual target particle are Si and l<1> respectively, a circle with the area S<1> has a perimeter of l<2> and a circularity=l<2>/l<1>; H = D 10 ′ D 10 × 100 % , D<10>' is a particle size of a material obtained by pressing the single-crystal ternary cathode material under a pressure of 200 MPa, D<10> does not exceed 2.4 µm, and D<10>' does not exceed 2.3 µm. The single-crystal ternary cathode material has a smooth surface and rounded corners, and is conducive to the preparation of a battery with excellent electrochemical performance.

TERNARY POSITIVE ELECTRODE MATERIAL PRECURSOR, PREPARATION METHOD AND USE

NºPublicación:  EP4729484A1 22/04/2026
Solicitante: 
GUANGDONG BRUNP RECYCLING TECHNOLOGY CO LTD [CN]
HUNAN BRUNP RECYCLING TECH CO LTD [CN]
EP_4729484_A1

Resumen de: EP4729484A1

0001 Disclosed are a ternary cathode material precursor, a preparation method, and use thereof, which relates to the technical field of cathode materials for lithium-ion batteries. The ternary cathode material precursor has a general formula of NiCoM<1-a-b>(OH)<2>, where 0.3≤a<0.98, 0

INSPECTION DEVICE AND INSPECTION METHOD FOR BATTERY CELL INSPECTION

NºPublicación:  EP4729933A1 22/04/2026
Solicitante: 
NUCTECH CO LTD [CN]
UNIV TSINGHUA [CN]
EP_4729933_A1

Resumen de: EP4729933A1

0001 A detection device (100) and a detection method for detecting a battery cell (200) are provided. The detection device (100) includes a supporting mechanism (10), a rotary mechanism (20), a conveying mechanism (30), a turning mechanism (40), and a detection mechanism (23). The rotary mechanism (20) is provided on the supporting mechanism (10), and the rotary mechanism (20) includes a rotary bracket (21) provided on the supporting mechanism (10) and a rotary disk (22) rotatable circumferentially relative to the rotary bracket (21); the conveying mechanism (30) passes through the rotary disk (22), and the conveying mechanism (30) is configured to convey a battery cell (200); the turning mechanism (40) is provided between the supporting mechanism (10) and the rotary mechanism (20), and the rotary mechanism (20) is turnable relative to the supporting mechanism (10) under the support of the turning mechanism (40); the detection mechanism (23) is provided on the rotary disk (22), and the detection mechanism (23) includes a radiation source (231) and a detector (232), the radiation source (231) and the detector (232) are configured to detect the battery cell (200) on the conveying mechanism (30), and the radiation source (231) and the detector (232) are rotatable circumferentially on the rotary disk (22). The detection device (100) may improve the detection quality and the detection efficiency while reducing the placement requirements for the battery cell (200).

SILICON-CARBON NEGATIVE ELECTRODE MATERIAL AND PREPARATION METHOD THEREFOR, NEGATIVE ELECTRODE SHEET AND LITHIUM-ION BATTERY

NºPublicación:  EP4730426A1 22/04/2026
Solicitante: 
SINOSTEEL ADVANCED MAT ZHEJIANG CO LTD [CN]
EP_4730426_PA

Resumen de: EP4730426A1

0001 A silicon-carbon negative electrode material and a preparation method therefor, a negative electrode sheet and a lithium-ion battery. The silicon-carbon negative electrode material comprises a graphite framework and silicon particles, wherein the graphite framework is formed into a card house structure having a cavity, and the silicon particles are contained in the cavity of the graphite framework. The silicon-carbon negative electrode material overcomes agglomeration of silicon particles under a high load, and improves the gram capacity and cycling stability of a negative electrode.

HIGH-TEMPERATURE ULTRAHIGH-STRENGTH HIGH-ELONGATION COPPER FOIL FOR LITHIUM-ION BATTERY, AND PRODUCTION PROCESS THEREFOR

NºPublicación:  EP4729661A1 22/04/2026
Solicitante: 
JIUJIANG DEFU TECH CO LTD [CN]
EP_4729661_A1

Resumen de: EP4729661A1

Disclosed in the present invention are a high-temperature ultrahigh-strength high-elongation copper foil for a lithium-ion battery, and a production process therefor. The production process comprises the following steps: step S1, preparing an electrolyte by dissolving raw copper in a sulfuric acid solution to form a dissolved solution, filtering same to remove impurities and then mixing same with a composite additive to obtain the electrolyte, wherein the composite additive comprises an organic sulfide, gelatin, polyethylene glycol, a nitrogen-containing compound, a polyether compound and Cl-; step S2, preparing a primary copper foil by introducing the electrolyte into an electrolytic cell of a crude foil machine via a pipeline and carrying out electroplating to obtain the primary copper foil; and step S3, subjecting the primary copper foil to a surface passivation treatment, drying and winding to obtain an ultrahigh-strength copper foil for a lithium-ion battery. A high-performance additive is introduced to control the grain refinement and uniform distribution of the copper foil, thereby improving the strength and ductility thereof; the thermal stability and strength of the improved copper foil in a high-temperature environment are maintained, thereby ensuring long-term stable operation of the improved copper foil after high-temperature cyclic charging and discharging of a silicon negative-electrode battery.

METHOD FOR CHROMIUM-FREE PASSIVATION OF LITHIUM BATTERY COPPER FOIL

NºPublicación:  EP4729666A1 22/04/2026
Solicitante: 
JIUJIANG DEFU TECH CO LTD [CN]
EP_4729666_PA

Resumen de: EP4729666A1

0001 A method for chromium-free passivation of lithium-ion battery copper foil, including: peeling a lithium-ion battery copper foil from a cathode roller, and transferring the copper foil through a transition roller into a passivation tank; adding a chromium-free passivator to the passivation tank; immersing the copper foil in the passivator within the passivation tank while applying a cathodic passivation current; conveying the copper foil through a liquid-squeezing roller and drying the copper foil by passing it through an air-drying device; and drying the copper foil in an oven, then winding it onto a take-up roller to form a finished lithium-ion battery copper foil; inspecting and testing the finished foil and storing qualified products. This method improves the density and rigidity of the passivation film, thereby realizing the durability and stability of the copper foil during long-term storage.

FILM COATING DEVICE AND FILM COATING METHOD

NºPublicación:  EP4729426A1 22/04/2026
Solicitante: 
EVE POWER CO LTD [CN]
EP_4729426_PA

Resumen de: EP4729426A1

0001 The present application provides a film coating device and a film coating method. The film coating device comprises a conveying mechanism, a film coating mechanism and a guide mechanism. The conveying mechanism is configured to convey a battery in a first direction; the film coating mechanism comprises a driving assembly, two supports arranged at an interval and two pressing members arranged in parallel, and the supports are connected to the driving assembly; and the film coating mechanism is mounted on the guide mechanism.

BATTERY, BATTERY SYSTEM AND ELECTRICAL DEVICE

NºPublicación:  EP4729366A1 22/04/2026
Solicitante: 
CONTEMPORARY AMPEREX TECHNOLOGY CO LTD [CN]
EP_4729366_PA

Resumen de: EP4729366A1

0001 This application provides a battery, a battery system, and an electric apparatus. The battery includes: a battery module connected to a first power supply bus; a first housing, where the battery module is disposed within the first housing, the first housing includes a first wall portion, the first wall portion is provided with a first connecting member configured to be connected to a load, and an output terminal of the first power supply bus is connected to the first connecting member; and a first switch member, disposed at the output terminal of the first power supply bus and configured to control connection and disconnection of an electrical path between the first power supply bus and the first connecting member. In this way, at least high-voltage risks posed by the battery to the outside can be reduced, and the safety of the battery can be enhanced.

BATTERY CELL, BATTERY, AND ELECTRIC DEVICE

Nº publicación: EP4730533A1 22/04/2026

Solicitante:

CONTEMPORARY AMPEREX TECHNOLOGY CO LTD [CN]

EP_4730533_PA

Resumen de: EP4730533A1

0001 This application provides a battery cell, a battery, and an electric device, relating to the field of batteries. The battery cell includes a housing, a pressure relief mechanism, and a reinforcement member. The housing has a wall portion, where the wall portion has an inner surface facing an interior of the housing, and the inner surface is provided with a groove. The pressure relief mechanism is disposed on the wall portion. The reinforcement member is at least partially accommodated in the groove, and the reinforcement member is disposed around the pressure relief mechanism. Since the reinforcement member is accommodated in the groove, a height by which the reinforcement member protrudes from the wall portion can be reduced. The provision of the groove can reduce a weight of the wall portion. Accommodating at least a portion of the reinforcement member in the groove can enhance rigidity and strength at a position where the groove is provided, improving strength and rigidity of the wall portion without significantly increasing the weight of the wall portion. When the wall portion is subjected to external impact, the reinforcement member can absorb energy of the external impact, reducing a risk of damage to the pressure relief mechanism due to the external impact, enabling the pressure relief mechanism to achieve normal pressure relief function.

traducir