Ministerio de Industria, Turismo y Comercio LogoMinisterior
 

Alerta

Resultados 1315 resultados
LastUpdate Última actualización 03/11/2025 [07:10:00]
pdfxls
Publicaciones de los últimos 15 días/Last 15 days publications (excluidas pubs. CN y JP /CN and JP pubs. excluded)
previousPage Resultados 375 a 400 de 1315 nextPage  

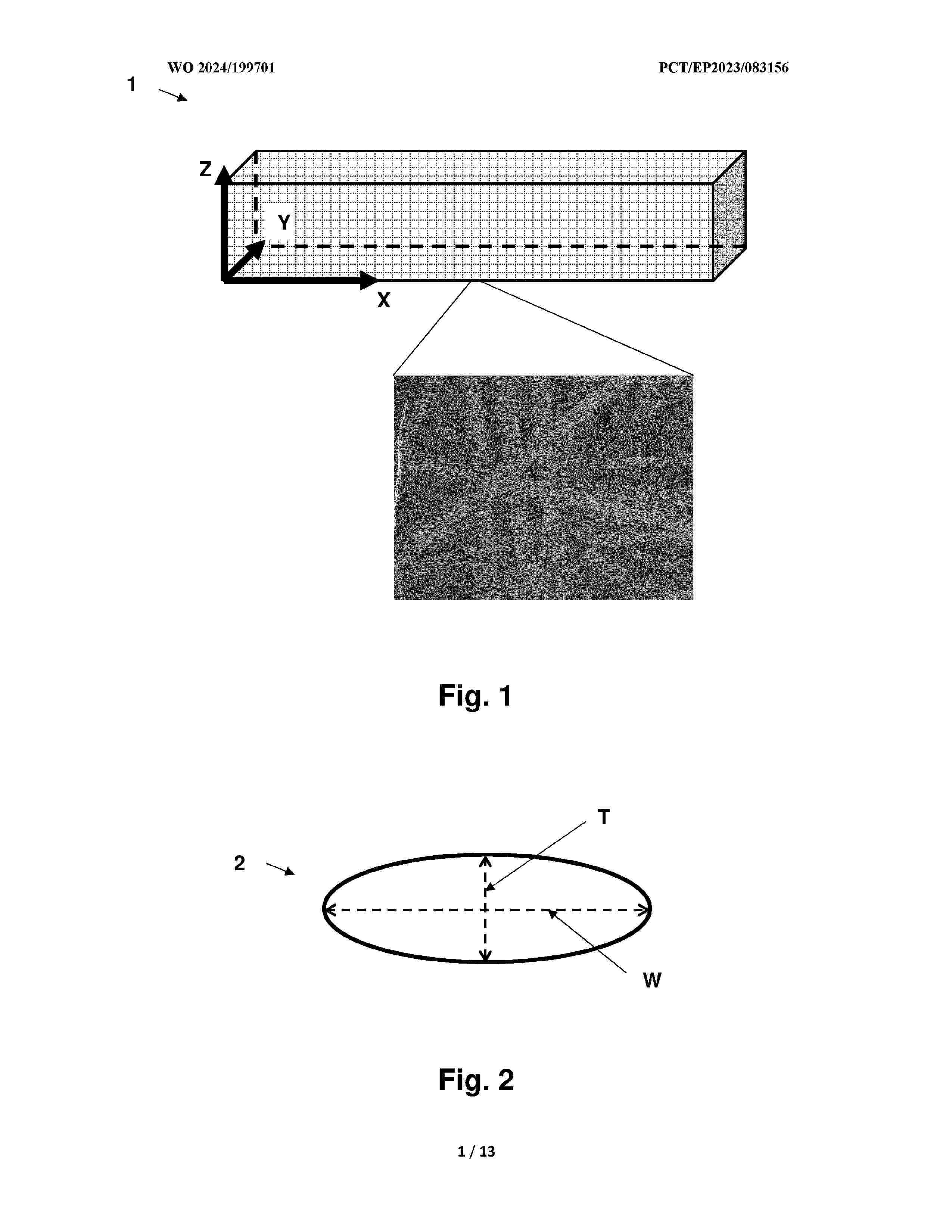
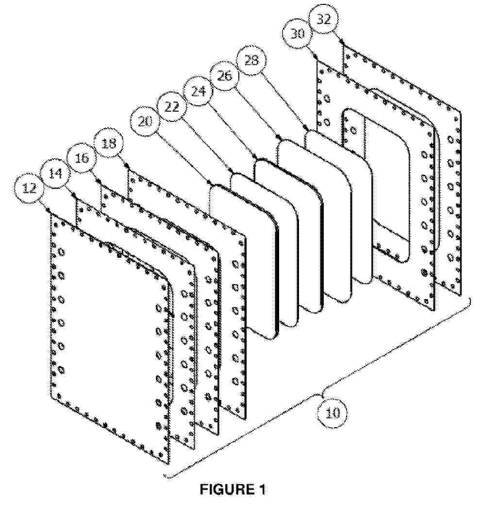
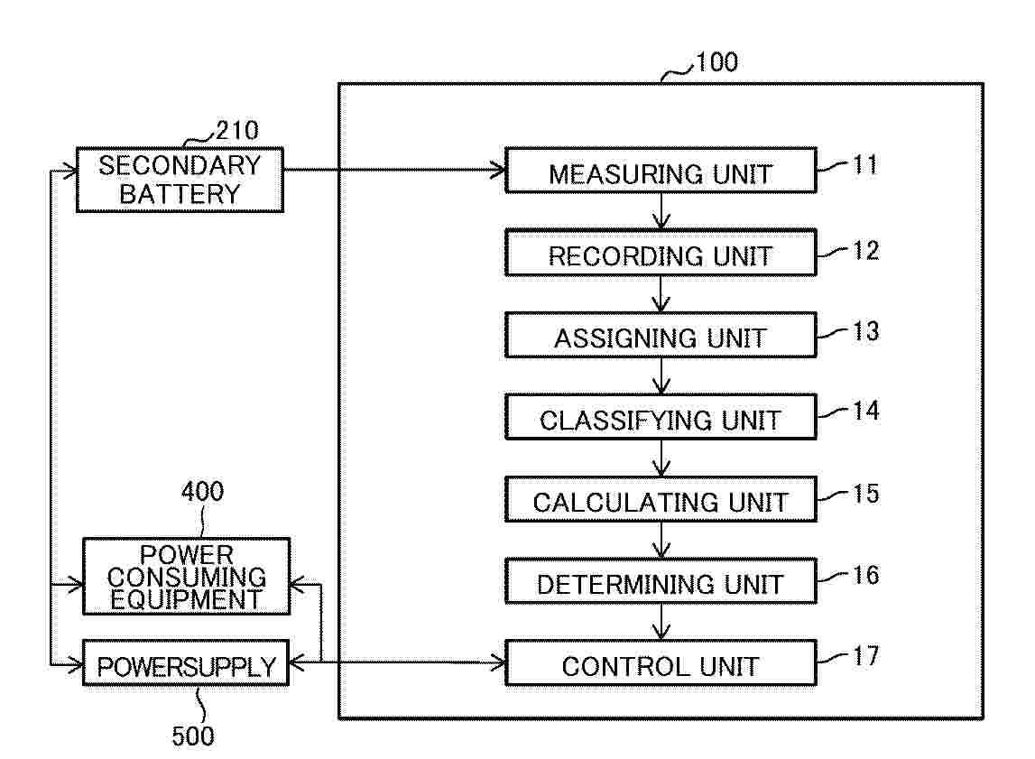
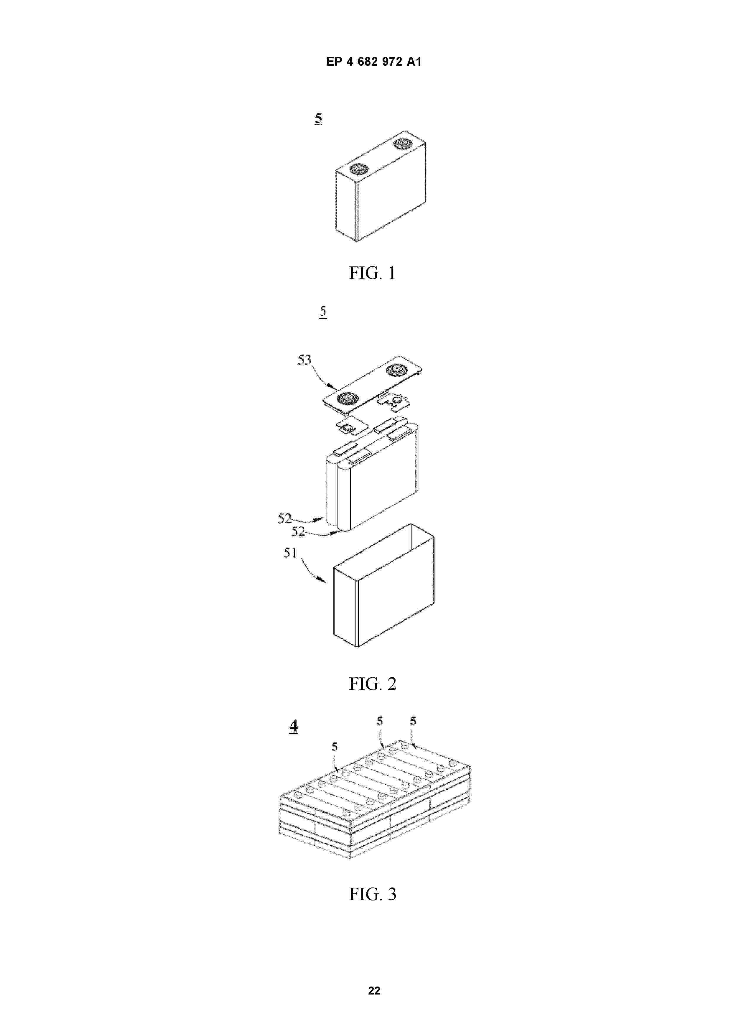
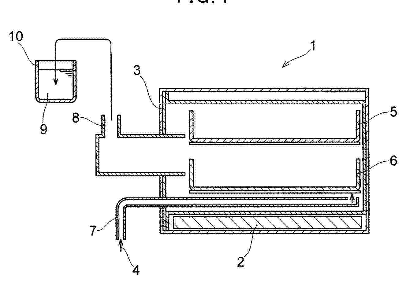
SECONDARY BATTERY

NºPublicación:  US2025337142A1 30/10/2025
Solicitante: 
SAMSUNG SDI CO LTD [KR]
Samsung SDI Co., Ltd
US_2025337142_PA

Resumen de: US2025337142A1

An embodiment of the present invention relates to a secondary battery, and a technical object of the present invention for solving the above problem is to provide a secondary battery capable of improving liquid injectability.For this, the present invention discloses a secondary battery including: an electrode assembly comprising a first electrode plate, a second electrode plate, and a separator interposed between the first electrode plate and the second electrode plate; a can having ends that are opened to left and right sides and provided with a space therein to accommodate the electrode assembly; a first cap plate configured to seal the left end of the can; a second cap plate configured to seal the right end of the can; a first terminal installed on the first cap plate so as to be electrically connected to the first electrode plate; a second terminal installed on the second cap plate so as to be electrically connected to the second electrode plate; a first liquid injection hole defined in the first cap plate; and a second liquid injection hole defined in the second cap plate.

ELECTRODE TERMINAL AND BATTERY

NºPublicación:  US2025337133A1 30/10/2025
Solicitante: 
VEHICLE ENERGY JAPAN INC [JP]
VEHICLE ENERGY JAPAN INC
US_2025337133_PA

Resumen de: US2025337133A1

An electrode terminal (negative electrode terminal) includes a first member that is electrically connected with a charge/discharge body of a battery and that includes a first metal (copper or a copper alloy). The electrode terminal also features a second member that includes a first insertion section into which the first member is inserted. The second member is bonded with the first member and includes the first metal. The electrode terminal also features a third member that includes a second insertion section into which the first member is inserted. The third member is bonded with the second member and includes a second metal (aluminum or an aluminum alloy) which is a material different from the first metal. The third member is bonded with a conductive member (busbar) including the second metal, on a facing surface P facing the conductive member (busbar) that electrically connects a first battery and a second battery.

NONAQUEOUS ELECTROLYTE SECONDARY BATTERY

NºPublicación:  US2025337141A1 30/10/2025
Solicitante: 
PRIME PLANET ENERGY & SOLUTIONS INC [JP]
Prime Planet Energy & Solutions, Inc
US_2025337141_PA

Resumen de: US2025337141A1

A nonaqueous electrolyte secondary battery in which a problem in a conventional art is solved is provided. The nonaqueous electrolyte secondary battery disclosed herein includes an electrode body, a nonaqueous electrolyte solution, an electrode terminal, and a battery case that accommodates the electrode body and the nonaqueous electrolyte solution. The battery case is made of aluminum or an aluminum alloy. The battery case includes an exterior can that includes an opening part, and a sealing plate that seals the opening part. The electrode terminal is insulated from the sealing plate by an insulating resin member. The insulating resin member contains polyphenylene sulfide and a glass filler. The insulating resin member exists at least partially inside the battery case and at a position that can be in contact with the nonaqueous electrolyte solution. The nonaqueous electrolyte solution contains a dehydrating agent as an additive.

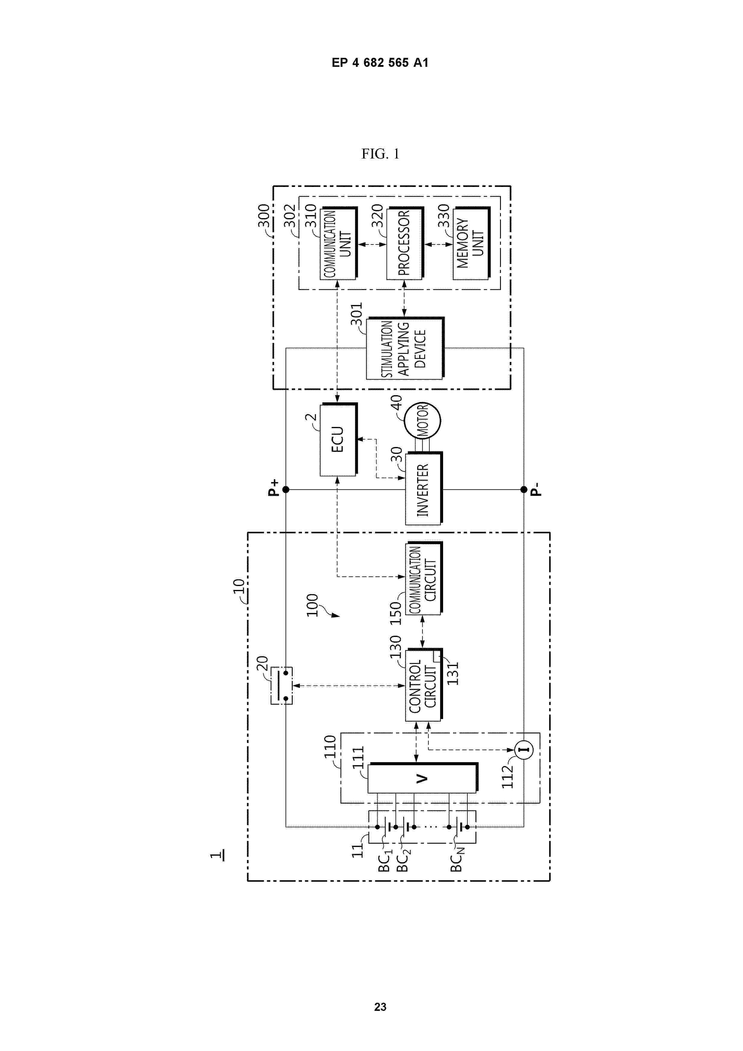
BATTERY MODULE, AND BATTERY PACK AND VEHICLE INCLUDING SAME

NºPublicación:  US2025337139A1 30/10/2025
Solicitante: 
LG ENERGY SOLUTION LTD [KR]
LG ENERGY SOLUTION, LTD
US_2025337139_PA

Resumen de: US2025337139A1

A battery module includes a module frame having an inner space in which a plurality of battery cells is accommodated and an opening leading to the inner space; an insulating cover including a support on which a terminal electrically connected to the plurality of battery cells is disposed and supported, and configured to primarily cover the opening; an end plate having a window through which the support is exposed to the outside and configured to secondarily cover the opening covered by the insulating cover; and a blocking structure configured to cover the support exposed through the window and block an electrical short circuit between the terminal disposed on the support and the end plate.

BONDING GLASS, GLASS BONDED BODY, METHOD FOR MANUFACTURING GLASS BONDED BODY, AND METHOD FOR INSPECTING GLASS BONDED BODY

NºPublicación:  WO2025225582A1 30/10/2025
Solicitante: 
NGK INSULATORS LTD [JP]
\u65E5\u672C\u788D\u5B50\u682A\u5F0F\u4F1A\u793E
WO_2025225582_PA

Resumen de: WO2025225582A1

Provided is a bonding glass for bonding a β-alumina solid electrolyte to an α-alumina insulator. The bonding glass contains: 29.0-38.0 mass% of SiO2, 14.0-22.0 mass% of Al2O3, 29.0-42.5 mass% of B2O3, 5.0-8.5 mass% of MgO, 2.5-6.5 mass% of Na2O, less than 0.20 mass% of Fe2O3, less than 0.25 mass% of CaO, less than 0.20 mass% of K2O, and less than 0.50 mass% of As2O3.

ELECTROLYTE COMPOSITION WITH IMPROVED HIGH-TEMPERATURE SAFETY AND LITHIUM SECONDARY BATTERY COMPRISING SAME

NºPublicación:  WO2025225985A1 30/10/2025
Solicitante: 
LG ENERGY SOLUTION LTD [KR]
\uC8FC\uC2DD\uD68C\uC0AC \uC5D8\uC9C0\uC5D0\uB108\uC9C0\uC194\uB8E8\uC158
WO_2025225985_PA

Resumen de: WO2025225985A1

The present invention relates to an electrolyte composition for a lithium secondary battery. The electrolyte composition for a lithium secondary battery comprises a fluorine-substituted linear ester-based solvent and a fluorine-substituted acrylic additive as a non-aqueous organic solvent and an electrolyte additive, respectively, and thus can uniformly form a solid electrolyte membrane layer (SEI layer), having high lithium-ion conductivity and excellent heat resistance, on the surface of a negative electrode when the lithium secondary battery is activated. Consequently, the reactivity between a negative electrode active material and the electrolyte composition is remarkably lowered, such that the temperature (that is, the exothermic onset temperature) at which heat generation between the negative electrode active material and the electrolyte composition begins increases, and thus heat generation caused by negative electrode deterioration or the like can be suppressed. Furthermore, a lithium secondary battery comprising the electrolyte composition can minimize side reactions of the electrolyte composition, which occur on the surface of the negative electrode when exposed to high temperatures, and thus has the advantage of exhibiting excellent high-temperature safety.

BATTERY

NºPublicación:  WO2025225536A1 30/10/2025
Solicitante: 
PANASONIC INTELLECTUAL PROPERTY MAN CO LTD [JP]
\u30D1\u30CA\u30BD\u30CB\u30C3\u30AF\uFF29\uFF30\u30DE\u30CD\u30B8\u30E1\u30F3\u30C8\u682A\u5F0F\u4F1A\u793E
WO_2025225536_PA

Resumen de: WO2025225536A1

A battery according to the present disclosure comprises: an electrode group that includes a first electrode, a second electrode, and a separator, and that is wound in a cylindrical shape; and a tab that is connected to the first electrode. The tab has: a thin section that is formed at the winding-direction end of the electrode group; and a main section that is thicker than the thin section.

LITHIUM SECONDARY BATTERY, SEPARATOR FOR LITHIUM SECONDARY BATTERY, AND METHOD FOR SUPPRESSING POROSITY OF NEGATIVE ELECTRODE

NºPublicación:  WO2025225539A1 30/10/2025
Solicitante: 
TEIJIN LTD [JP]
\u5E1D\u4EBA\u682A\u5F0F\u4F1A\u793E
WO_2025225539_PA

Resumen de: WO2025225539A1

Provided are a lithium secondary battery, a separator for a lithium secondary battery, and a method for suppressing the porosity of a negative electrode, the lithium secondary battery comprising: a positive electrode; a negative electrode operated by dissolution and precipitation of metallic lithium; an electrolyte containing a non-aqueous solvent and a lithium salt and having a lithium salt concentration of at least 2.0 mol/L; and a separator having a polyolefin microporous membrane and a porous layer provided on one surface or both surfaces of the polyolefin microporous membrane, wherein the porous layer contains a wholly aromatic polyamide, and the film thickness of the porous layer is 5-20 μm for each surface of the separator.

COMPOSITE SEPARATOR, PREPARATION METHOD AND APPLICATION THEREOF

NºPublicación:  US2025337114A1 30/10/2025
Solicitante: 
EVE POWER CO LTD [CN]
EVE POWER CO., LTD
US_2025337114_A1

Resumen de: US2025337114A1

Disclosed in the present disclosure is a composite separator and a preparation method and application thereof. A composite separator includes a porous base film and a coating. The coating is provided on a surface of the porous base film, the coating includes a base layer and a non-adhesive polymer C provided on the base layer, and the base layer includes inorganic particles A and an adhesive polymer B. A maximum particle size of the non-adhesive polymer C is greater than a thickness of the base layer and a particle size of the non-adhesive polymer C is in a range of 0.3 μm to 30 μm. The adhesive polymer B includes a first component and a second component. The first component includes at least one of a vinyl polymer, a propylene-based polymer, an amide-based polymer, and an epoxy-based polymer. The second component includes a cellulose-based polymer.

HEAT INSULATION SHEET FOR RECHARGEABLE LITHIUM BATTERY AND RECHARGEABLE LITHIUM BATTERY MODULE INCLUDING THE SAME

NºPublicación:  US2025337053A1 30/10/2025
Solicitante: 
SAMSUNG SDI CO LTD [KR]
SAMSUNG SDI CO., LTD
US_2025337053_PA

Resumen de: US2025337053A1

The present disclosure relates to a heat insulation sheet for a rechargeable lithium battery, and a rechargeable lithium battery module. A heat insulation sheet for a rechargeable lithium battery includes a base sheet including a first base layer and an aerogel-containing layer that are stacked together, and a member completely surrounding an exterior of the base sheet. The aerogel-containing layer includes a binder including a polyvinyl alcohol-based binder, a fibrous support, and an aerogel, and the member includes one or more of potassium nitrate, potassium carbonate, and potassium perchlorate, and a support.

BATTERY PACK, POWER TOOL, AND CONNECTION APPARATUS

NºPublicación:  US2025337089A1 30/10/2025
Solicitante: 
NANJING CHERVON IND CO LTD [CN]
Nanjing Chervon Industry Co., Ltd
US_2025337089_PA

Resumen de: US2025337089A1

A battery pack includes a battery pack body and a battery connection apparatus. The battery connection apparatus includes a device body and multiple battery connection terminals disposed on the device body and capable of at least transmitting electrical energy. Each of the multiple battery connection terminals is configured to have a cylindrical structure and is configured to withstand a maximum current of less than or equal to 400 A.

HEAT INSULATION SHEET FOR RECHARGEABLE LITHIUM BATTERY AND RECHARGEABLE LITHIUM BATTERY MODULE INCLUDING THE SAME

NºPublicación:  US2025337052A1 30/10/2025
Solicitante: 
SAMSUNG SDI CO LTD [KR]
SAMSUNG SDI CO., LTD
US_2025337052_PA

Resumen de: US2025337052A1

The present disclosure relates to a heat insulation sheet for a rechargeable lithium battery, and a rechargeable lithium battery module including the heat insulation sheet. The heat insulation sheet includes a first base layer and an aerogel-containing layer stacked on the first base layer. The first base layer is a fiber mat, the aerogel-containing layer includes a fibrous support, an aerogel, and a binder. In the aerogel-containing layer, the fibrous support is included in an amount ranging from about 5 wt % to about 70 wt %, the aerogel is included in an amount ranging from about 10 wt % to about 90 wt %, and the binder is included in an amount ranging from about 0.5 wt % to about 20 wt %.

BATTERY CASE, BATTERY PACK, AND METHOD FOR MANUFACTURING THE BATTERY CASE

NºPublicación:  US2025337050A1 30/10/2025
Solicitante: 
EVE ENERGY CO LTD [CN]
EVE ENERGY CO., LTD
US_2025337050_PA

Resumen de: US2025337050A1

The present disclosure discloses a battery case, which includes a case body and a liquid-cooling assembly. The case body is provided with an inner support beam. The inner support beam is provided with an inner guide passage and an output pipe connector in communication with the inner guide passage. The liquid-cooling assembly is mounted in the case body, and includes a first shunt element and a second shunt element arranged opposite to each other. The inner guide passage is arranged between the first shunt element and the second shunt element, and the first shunt element and the second shunt element are both in communication with the output pipe connector. The first shunt element guides the heat exchange medium to be transmitted along a diagonal direction thereof, while the second shunt element guides the heat exchange medium to transmit along a diagonal direction thereof.

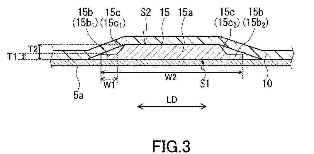
A DEVICE FOR HEATING A VEHICLE BATTERY

NºPublicación:  WO2025224383A1 30/10/2025
Solicitante: 
POLAR HEATER OY [FI]
POLAR HEATER OY
WO_2025224383_PA

Resumen de: WO2025224383A1

The invention is a device (100) for heating a battery of vehicle. The battery is rectangular. The device comprises an elongated flexible body (107), a temperature sensor (112), and a heating arrangement inside the body. The body further comprises a first end part (117), a second end part (118), a first long side part (119), a second long side part (120) and a short side part (121). The heating arrangement comprises four heating elements (115a, 115b, 115c, 115d), and two heating elements are positioned in the first long side part and two heating elements are positioned in the second long side part, and the temperature sensor is positioned in the short side part. The device is configured to be set around the battery in such a way that the side parts are positioned on corresponding sides of the battery.

LITHIUM COMPOSITE METAL OXIDE AND PREPARATION METHOD THEREFOR, AND LITHIUM-ION BATTERY

NºPublicación:  WO2025223412A1 30/10/2025
Solicitante: 
NINGBO RONBAY NEW ENERGY TECH CO LTD [CN]
\u5B81\u6CE2\u5BB9\u767E\u65B0\u80FD\u6E90\u79D1\u6280\u80A1\u4EFD\u6709\u9650\u516C\u53F8
WO_2025223412_A1

Resumen de: WO2025223412A1

The present application relates to the field of lithium battery positive electrode materials, and provides a lithium composite metal oxide and a preparation method therefor, and a lithium-ion battery. The lithium composite metal oxide comprises an inner core and a strontium-doped lithium cobalt oxide coating layer covering the surface of the inner core; the inner core is secondary particles formed by stacking single-crystal primary particles; strontium-doped lithium cobalt oxide in the strontium-doped lithium cobalt oxide coating layer is uniformly distributed on the surface of the inner core in an island shape. The strontium-doped lithium cobalt oxide coating layer reduces the formation of nickel oxide on the surface of a positive electrode material in the charging and discharging process of a battery, avoids the generation of micro-cracks, improves the structural stability, not only can protect the surface structure during subsequent water washing and avoid the generation of excessive rock salt phases, but also can avoid the dissolution of cobalt at high temperature. In addition, the present application also improves the initial efficiency and the cycle performance, and reduces the initial DCR and circulating DCR increase.

HIGH-CRYSTALLINITY, HIGH-STRUCTURE AND HIGH-SPECIFIC-SURFACE-AREA CONDUCTIVE CARBON BLACK, PREPARATION METHOD THEREFOR, DEVICE, ELECTRODE SLURRY AND SECONDARY BATTERY

NºPublicación:  WO2025223421A1 30/10/2025
Solicitante: 
JIAOZUO CITY HEXING CHEMICAL IND CO LTD [CN]
\u7126\u4F5C\u5E02\u548C\u5174\u5316\u5B66\u5DE5\u4E1A\u6709\u9650\u516C\u53F8
WO_2025223421_A1

Resumen de: WO2025223421A1

The present disclosure relates to the technical field of carbon black materials, and in particular to high-crystallinity, high-structure and high-specific-surface-area conductive carbon black, a preparation method therefor, a device, an electrode slurry, and a secondary battery. The high-crystallinity, high-structure and high-specific-surface-area conductive carbon black has a crystallinity of 42-51%, a BET specific surface area of 58-200 m2/g, and a cOAN of 108-180 mL/100 g. The conductive carbon black of the present disclosure simultaneously achieves high crystallinity, high structure, and high specific surface area. When the conductive carbon black is used as a conductive agent, on the one hand, the high crystallinity endows the conductive agent with excellent conductivity and stability and improved compatibility with an electrolyte solution; on the other hand, the structure has sufficient length, perfect network structure, and liquid absorption and retention capacity, so that the conductive carbon black has good conductivity, ion conduction capability, and dispersity and can significantly improve the performance of batteries.

FORMATION DEVICE AND BATTERY CELL FORMATION METHOD

NºPublicación:  WO2025222703A1 30/10/2025
Solicitante: 
CONTEMPORARY AMPEREX TECH CO LIMITED [CN]
CONTEMPORARY AMPEREX RUNZHI SOFTWARE TECH LIMITED [CN]
\u5B81\u5FB7\u65F6\u4EE3\u65B0\u80FD\u6E90\u79D1\u6280\u80A1\u4EFD\u6709\u9650\u516C\u53F8,
\u5B81\u5FB7\u65F6\u4EE3\u6DA6\u667A\u8F6F\u4EF6\u79D1\u6280\u6709\u9650\u516C\u53F8
WO_2025222703_PA

Resumen de: WO2025222703A1

Embodiments of the present disclosure relate to the technical field of battery production. Disclosed are a formation device and a battery cell formation method. The formation device comprises a formation unit, an air exhaust assembly, and an air supply assembly. The formation unit comprises a cabinet. At least one formation area is provided in the cabinet. The formation areas are communicated with each other. The formation areas are configured to accommodate battery cells to be subjected to formation. The air exhaust assembly is communicated with the at least one formation area. The air exhaust assembly is configured to exhaust air for the formation area. The air supply assembly is communicated with at least one formation area. The air supply assembly is configured to supply air to the formation area.

LIQUID-COOLING PLATE ASSEMBLY, THERMAL MANAGEMENT COMPONENT, BATTERY, AND ELECTRIC DEVICE

NºPublicación:  WO2025222692A1 30/10/2025
Solicitante: 
CONTEMPORARY AMPEREX TECH CO LIMITED [CN]
\u5B81\u5FB7\u65F6\u4EE3\u65B0\u80FD\u6E90\u79D1\u6280\u80A1\u4EFD\u6709\u9650\u516C\u53F8
WO_2025222692_PA

Resumen de: WO2025222692A1

A liquid-cooling plate assembly, a thermal management component, a battery, and an electric device, which belong to the technical field of batteries. The liquid-cooling plate assembly comprises a heat exchange plate and a current collector, wherein a plurality of cooling channels are formed inside the heat exchange plate; the current collector is connected to an end of the heat exchange plate and is in communication with the plurality of cooling channels; and a first section of one of the current collector and the heat exchange plate is sleeved outside a second section of the other one of the current collector and the heat exchange plate, the first section is made of a transparent material, the second section is made of a light-absorbing material, and the surface of at least one of the first section and the second section facing the other one of the first section and the second section is provided with a connection compensation structure that is not flush with the surface.

VEHICLE BODY AND VEHICLE

NºPublicación:  WO2025222677A1 30/10/2025
Solicitante: 
CONTEMPORARY AMPEREX TECH CO LIMITED [CN]
\u5B81\u5FB7\u65F6\u4EE3\u65B0\u80FD\u6E90\u79D1\u6280\u80A1\u4EFD\u6709\u9650\u516C\u53F8
WO_2025222677_PA

Resumen de: WO2025222677A1

A vehicle body (400) and a vehicle (1000). The vehicle body (400) comprises: a battery accommodating portion (41), an accommodating space (41a) being provided in the battery accommodating portion (41), and a first opening being provided in the accommodating space (41a); a battery cell (20), the battery cell (20) being provided in the accommodating space (41a); a vehicle body floor (42), the vehicle body floor (42) covering the battery accommodating portion (41) and closing the first opening, and the vehicle body floor (42) being provided with a recess (421); and a heat exchange member (43), the heat exchange member (43) being provided in the recess (421) and used for exchanging heat with the battery cell (20).

SEPARATOR FOR RECHARGEABLE LITHIUM BATTERY AND RECHARGEABLE LITHIUM BATTERY INCLUDING THE SAME

NºPublicación:  US2025337102A1 30/10/2025
Solicitante: 
SAMSUNG SDI CO LTD [KR]
SAMSUNG SDI CO., LTD
US_2025337102_PA

Resumen de: US2025337102A1

The present disclosure relates to a separator for a rechargeable lithium battery and a rechargeable lithium battery including the separator. The separator includes a porous substrate and a coating layer on a surface of the porous substrate. The coating layer includes a heat-resistant layer including a binder and a filler, and an adhesive layer including an adhesive binder on the heat-resistant layer. The binder includes a (meth)acryl-based binder including a first structural unit derived from (meth)acrylic acid, (meth)acrylate, or a salt thereof, a second structural unit derived from hydroxyalkyl (meth)acrylate, and a third structural unit derived from (meth)acrylamido sulfonic acid or a salt thereof. The filler has a particle diameter D50 ranging from 250 nm to 350 nm. The adhesive binder includes a fluorine-based adhesive binder having a hydroxyl group or a carboxylic acid group and a fluorine-based adhesive binder not having a hydroxyl group and a carboxylic acid group.

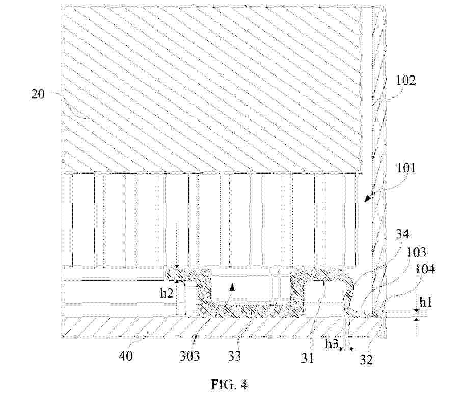
NONAQUEOUS ELECTROLYTIC SOLUTION SECONDARY BATTERY

NºPublicación:  US2025337061A1 30/10/2025
Solicitante: 
PRIME PLANET ENERGY & SOLUTIONS INC [JP]
Prime Planet Energy & Solutions, Inc
US_2025337061_PA

Resumen de: US2025337061A1

A herein disclosed secondary battery includes a case main body, a second sealing plate, and an electrode body. Then, a second spacer supporting the electrode body from a downward position at an injection time of an electrolytic solution is arranged between the second sealing plate and the electrode body. The second spacer includes a pair of first wall parts and a pair of second wall parts. Then, the second spacer is configured to make a load bearing capacity of the second wall part be lower than a load bearing capacity of the first wall part. Then, this second spacer includes a rib configured to bridge the pair of second wall parts. By doing this, it is possible to suppress the deformation of the second spacer.

CYLINDRICAL BATTERY CELL INCLUDING SIDE VENT

NºPublicación:  US2025337097A1 30/10/2025
Solicitante: 
GM GLOBAL TECH OPERATIONS LLC [US]
GM Global Technology Operations LLC
US_2025337097_PA

Resumen de: US2025337097A1

A battery system including a battery cell. The battery cell including: an enclosure including a first end, a second end opposite to the first end, and a sidewall extending from the first end to the second end; a first terminal at a first end of the enclosure and a second terminal at a second end of the enclosure; an assembly of an anode electrode and a cathode electrode within the enclosure, the cathode electrode is connected to the first terminal and the anode electrode is connected to the second terminal; and a vent in the sidewall of the enclosure, the vent configured to open to release at least one of gas and ejecta out from within the enclosure when pressure within the enclosure exceeds a threshold.

HEAT INSULATING SHEET FOR RECHARGEABLE LITHIUM BATTERY AND RECHARGEABLE LITHIUM BATTERY MODULE INCLUDING THE SAME

NºPublicación:  US2025337054A1 30/10/2025
Solicitante: 
SAMSUNG SDI CO LTD [KR]
SAMSUNG SDI CO., LTD
US_2025337054_PA

Resumen de: US2025337054A1

The present disclosure relates to a heat insulation sheet for a rechargeable lithium battery, and a rechargeable lithium battery module including the heat insulation sheet. The heat insulation sheet for a rechargeable lithium battery includes a base sheet including a first base layer and an aerogel-containing layer that are stacked sequentially, and an inorganic layer formed on substantially the entire surface of the base sheet. The aerogel-containing layer includes a fibrous support, an aerogel, and a binder, and the aerogel-containing layer includes the fibrous support in an amount ranging from about 5 wt % to about 70 wt %, the aerogel in an amount ranging from about 10 wt % to about 90 wt %, and the binder in an amount ranging from about 0.5 wt % to about 20 wt %.

COLD PLATE ASSEMBLY, BATTERY PACK SUPPORTING STRUCTURE, BATTERY PACK, AND ELECTRIC DEVICE

NºPublicación:  WO2025223378A1 30/10/2025
Solicitante: 
BYD COMPANY LTD [CN]
\u6BD4\u4E9A\u8FEA\u80A1\u4EFD\u6709\u9650\u516C\u53F8
WO_2025223378_PA

Resumen de: WO2025223378A1

The present application provides a cold plate assembly, a battery pack supporting structure, a battery pack, and an electric device. The battery pack comprises a cross beam and a tray, the cross beam is arranged in the tray and used for dividing an accommodating cavity, an adhesive dispensing groove extending in the length direction of the cross beam is formed on the cross beam. The cold plate assembly comprises a cold plate and a partition plate. The cold plate comprises a connecting surface facing the cross beam. The partition plate is connected to the connecting surface, is configured to extend into the adhesive dispensing groove, and is adapted to extend in the length direction of the cross beam. The partition plate extends into the adhesive dispensing groove of the cross beam, so that on the one hand, the bonding area of an bonding adhesive can be increased, thereby enhancing the bonding strength of the bonding adhesive between the cold plate assembly and the cross beam; and on the other hand, in the event of thermal runaway in a single chamber of the battery pack, even if the bonding adhesive fails and causes the cold plate to bulge upward, the displacement of the partition plate can still ensure the independence of two isolated chambers in the battery pack, thereby preventing electrolyte flow between the two chambers, and avoiding more serious safety accidents.

BATTERY APPARATUS AND ELECTRICAL DEVICE

Nº publicación: WO2025223476A1 30/10/2025

Solicitante:

CONTEMPORARY AMPEREX TECH CO LIMITED [CN]
\u5B81\u5FB7\u65F6\u4EE3\u65B0\u80FD\u6E90\u79D1\u6280\u80A1\u4EFD\u6709\u9650\u516C\u53F8

WO_2025223476_PA

Resumen de: WO2025223476A1

The present application relates to the technical field of battery heat exchange, and specifically discloses a battery apparatus (100) and an electrical device (1000). The battery apparatus (100) comprises a case (110), a battery cell module (120), and a heat exchanger (400). The battery cell module (120) and the heat exchanger (400) are provided in the case (110) and undergo heat exchange. The heat exchanger (400) comprises a heat exchange tube (410), an adapter portion (420), and a current collector (430). The heat exchange tube (410) comprises a plurality of heat exchange channels (411). The adapter portion (420) is sleeved outside one end of the heat exchange tube (410) and is provided with a plurality of adapter channels (421). The current collector (430) is fixed to the adapter portion (420) and is provided with a current collecting port (431) and at least one flow guiding channel (435). The current collecting port (431) is in communication with at least one heat exchange channel (411). At least two heat exchange channels (411) are communicated by means of the flow guiding channel (435) and the adapter channels (421) to define a heat exchange loop (450) having at least one turning portion (451).

traducir