Ministerio de Industria, Turismo y Comercio LogoMinisterior
 

Normativa y práctica

Resultados 1316 resultados
LastUpdate Última actualización 02/11/2025 [07:11:00]
pdfxls
Publicaciones de los últimos 15 días/Last 15 days publications (excluidas pubs. CN y JP /CN and JP pubs. excluded)
previousPage Resultados 350 a 375 de 1316 nextPage  

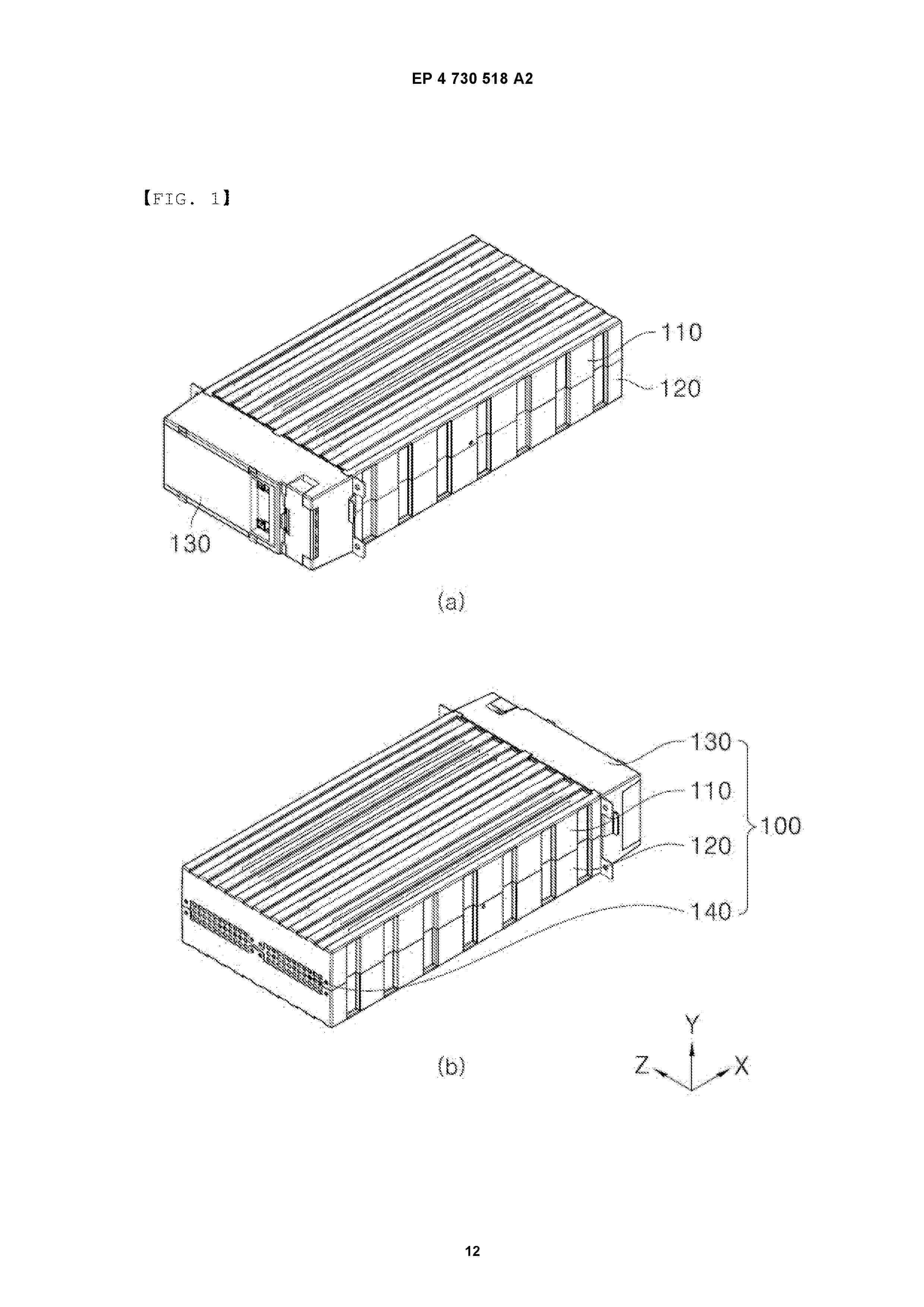
BATTERY AND ELECTRIC DEVICE

NºPublicación:  WO2025222710A1 30/10/2025
Solicitante: 
CONTEMPORARY AMPEREX TECH CO LIMITED [CN]
\u5B81\u5FB7\u65F6\u4EE3\u65B0\u80FD\u6E90\u79D1\u6280\u80A1\u4EFD\u6709\u9650\u516C\u53F8
WO_2025222710_PA

Resumen de: WO2025222710A1

A battery (1000) and an electric device. The battery (1000) comprises: at least one battery row (10), which comprises a plurality of battery cells (11) arranged in a first direction (F1); and a signal collection assembly (20), which comprises a collector (21) and a plurality of connectors (22), wherein the collector (21) comprises a plurality of signal lines (211) and a plurality of collection terminals (212), the collection terminals (212) are connected to the battery cells (11) and are used for collecting signals of the battery cells (11), the signal lines (211) are connected to the collection terminals (212) and the connectors (22), and each connector (22) is connected to at least one signal line (211) and is used for receiving the signals collected by the collection terminals (212).

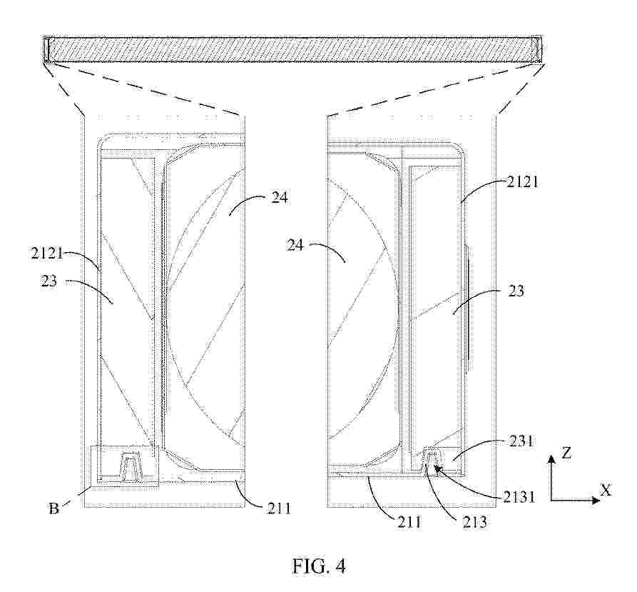
BATTERY CELL, BATTERY AND ELECTRIC APPARATUS

NºPublicación:  WO2025222733A1 30/10/2025
Solicitante: 
CONTEMPORARY AMPEREX TECH CO LIMITED [CN]
\u5B81\u5FB7\u65F6\u4EE3\u65B0\u80FD\u6E90\u79D1\u6280\u80A1\u4EFD\u6709\u9650\u516C\u53F8
WO_2025222733_PA

Resumen de: WO2025222733A1

A battery cell (2), a battery (100) and an electric apparatus. The battery cell (2) comprises a casing (21), electrode terminals (22) and an electrode assembly (23), wherein the electrode terminals (22) are disposed on the casing (21); the electrode assembly (23) is accommodated in the casing (21), a thinned portion (232) of the electrode assembly (23) is connected to an end portion of a main body portion (231) in a first direction (Y), and tabs (233) are led out from the thinned portion (232) and are connected to the electrode terminals (22); and the casing (21) comprises a wall body (213) surrounding the electrode assembly (23), the wall body (213) comprising a first portion (2113) and a second portion (2114) that are connected to each other, the first portion (2113) being located on the outer side of the thinned portion (232) in the radial direction of the electrode assembly (23), and the thickness of the first portion (2113) being greater than that of the second portion (2114). The thickness of the first portion (2113) of the wall body (213) surrounding the electrode assembly (12) is greater than the thickness of the second portion (2114), and the first portion (2113) is located on the outer side of the thinned portion (232) in the radial direction of the electrode assembly (23), such that during the expansion of the electrode assembly (23), the first portion (2113) can provide a relatively large binding force to restrict the expansion of the electrode assembly (23), and

THERMAL INSULATION MATERIAL AND METHOD FOR PRODUCING THERMAL INSULATION MATERIAL

NºPublicación:  WO2025225031A1 30/10/2025
Solicitante: 
NGK INSULATORS LTD [JP]
\u65E5\u672C\u788D\u5B50\u682A\u5F0F\u4F1A\u793E
WO_2025225031_PA

Resumen de: WO2025225031A1

A thermal insulation material 3 is for use in a battery pack including a battery group in which single batteries and the thermal insulation material are stacked in an alternating manner. The thermal insulation material 3 comprises: a plate-like member 31 having through holes 31h formed by partitioning with a partition wall 31w comprising an inorganic non-metal material; and a reinforcement member for reinforcing the plate-like member 31. As a result, it is possible to provide a thermal insulation material and a method for producing the thermal insulation material that can suppress the spread of heat to an adjacent single battery when a single battery generates abnormal heat.

POLYMER ELECTROLYTE COMPOSITION FOR TAILORING CATHODE/ ELECTROLYTE INTERFACE IN QUASI-SOLID STATE METAL BATTERIES

NºPublicación:  WO2025224744A1 30/10/2025
Solicitante: 
COUNCIL OF SCIENT AND INDUSTRIAL RESEARCH [IN]
COUNCIL OF SCIENTIFIC AND INDUSTRIAL RESEARCH
WO_2025224744_A1

Resumen de: WO2025224744A1

The present disclosure relates to a hydrogel polymer electrolyte composition. Further, the present disclosure also relates to a method of preparation of a hydrogel polymer electrolyte composition. Furthermore, the present disclosure also provides hydrogel polymer electrolyte integrated cathode. The present disclosure provides a Quasi-solid state metal battery, where the battery e.g. QSS-Zn | PHPZ-30 | i-Zn-MnO cell delivers a specific capacity of 229 mAhg-1 at the current density of 0.10 A g-1 and a capacity retention of 85 % over 1000 stability cycles at 1.0 A g-1, which is better than its bare Zn-MnO cell, i.e., QSS-Zn|PHPZ-30|Zn-MnO, which delivers a specific capacity of 164.6 mAh g-1 at the current density of 0.10 A g-1 and 75% capacity retention over 100 stability cycles at 1.0 A g-1.

JOINED GLASS, GLASS JOINED BODY, METHOD FOR PRODUCING GLASS JOINED BODY, AND METHOD FOR INSPECTING GLASS JOINED BODY

NºPublicación:  WO2025224949A1 30/10/2025
Solicitante: 
NGK INSULATORS LTD [JP]
\u65E5\u672C\u788D\u5B50\u682A\u5F0F\u4F1A\u793E
WO_2025224949_PA

Resumen de: WO2025224949A1

Provided is a joined glass for joining a beta-alumina solid electrolyte and an alpha-alumina insulator, the joined glass containing 29.0-38.0 mass% of SiO2, 14.0-22.0 mass% of Al2O3, 29.0-42.5 mass% of B2O3, 5.0-8.5 mass% of MgO, 2.5-6.5 mass% of Na2O, less than 0.20 mass% of Fe2O3, less than 0.25 mass% of CaO, less than 0.20 mass% of K2O, and less than 0.50 mass% of As2O3.

BIOMASS-DERIVED CARBON AS ELECTRODE FOR SODIUM ION BATTERY, AND PROCESS OF PREPARATION THEREOF

NºPublicación:  WO2025224745A1 30/10/2025
Solicitante: 
COUNCIL OF SCIENT AND INDUSTRIAL RESEARCH [IN]
COUNCIL OF SCIENTIFIC AND INDUSTRIAL RESEARCH
WO_2025224745_A1

Resumen de: WO2025224745A1

The present disclosure relates to a biowaste-derived carbon and their use in energy storage applications. Specifically, the present disclosure relates to a hard carbon prepared from legumes of trees in the family of royal poinciana (Gulmohar) for use as electrode in energy storage devices. The present disclosure also relates to a method of preparing the hard carbon from Gulmohar by a single-step process.

ELECTRONIC POWER UNITS AND RELATED METHODS

NºPublicación:  WO2025224716A1 30/10/2025
Solicitante: 
AVIATION BATTERY SYSTEMS LLC [US]
AVIATION BATTERY SYSTEMS LLC
WO_2025224716_PA

Resumen de: WO2025224716A1

Implementations of an electronic power unit may include a heater disposed in a battery pack, the heater electrically coupled with a heater controller and with a battery controller; and an exterior case, the exterior case enclosing the heater and the battery pack, the exterior case including an end that accommodates the power input of a military vehicle, the end including a coaxial connector.

FORMATION APPARATUS

NºPublicación:  WO2025222727A1 30/10/2025
Solicitante: 
CONTEMPORARY AMPEREX TECH CO LIMITED [CN]
CONTEMPORARY AMPEREX RUNZHI SOFTWARE TECH LIMITED [CN]
\u5B81\u5FB7\u65F6\u4EE3\u65B0\u80FD\u6E90\u79D1\u6280\u80A1\u4EFD\u6709\u9650\u516C\u53F8,
\u5B81\u5FB7\u65F6\u4EE3\u6DA6\u667A\u8F6F\u4EF6\u79D1\u6280\u6709\u9650\u516C\u53F8
WO_2025222727_PA

Resumen de: WO2025222727A1

Provided in the embodiment of the present application is a formation apparatus. The formation apparatus comprises a tray and a negative-pressure device, wherein the tray comprises a tray body and at least one row of capsule assemblies, the capsule assemblies being arranged on the tray body, each row of capsule assemblies comprising a plurality of capsule assemblies arranged at intervals in a first direction, and a battery cell being placed between every two adjacent capsule assemblies; and the negative-pressure device comprises a support and negative-pressure cups, the support being connected to the tray body, the negative-pressure cups being arranged on the support, and the negative-pressure cups being configured to connect to battery cells. The capsule assemblies can deform and expand by means of being filled with a fluid, so as to abut against the battery cells and fix the battery cells, and the pressure exerted by the capsule assemblies on the battery cells is uniform, so that the possibility of damage to the battery cells can be reduced, thereby facilitating an improvement in the final product quality of the battery cells. By means of connecting the negative-pressure cups of the negative-pressure device to the battery cells, a negative pressure can be provided for the battery cells, so as to assist in the formation of the battery cells.

BATTERY AND ELECTRIC DEVICE

NºPublicación:  WO2025222699A1 30/10/2025
Solicitante: 
CONTEMPORARY AMPEREX TECH CO LIMITED [CN]
\u5B81\u5FB7\u65F6\u4EE3\u65B0\u80FD\u6E90\u79D1\u6280\u80A1\u4EFD\u6709\u9650\u516C\u53F8
WO_2025222699_PA

Resumen de: WO2025222699A1

Provided are a battery (1001) and an electric device, which relate to the technical field of batteries. The battery (1001) comprises a box body (1), battery cells (2) and elastic pads (3), wherein accommodating cavities (1a) are formed in the box body (1); the battery cells (2) are disposed in the accommodating cavities (1a); each of the battery cells (2) comprises a shell (21) and a terminal post (22), and the terminal post (22) is disposed on the side of the shell (21) that is in a first direction; and an elastic pad (3) is disposed on at least one side of the terminal post (22) of at least one battery cell (2) that is in a second direction, wherein the first direction is perpendicular to the second direction. Further provided is an electric device, which comprises a battery (1001) used for supplying electric energy.

THERMAL MANAGEMENT COMPONENT AND MANUFACTURING PROCESS THEREFOR, BATTERY, AND ELECTRIC DEVICE

NºPublicación:  WO2025222694A1 30/10/2025
Solicitante: 
CONTEMPORARY AMPEREX TECH CO LIMITED [CN]
\u5B81\u5FB7\u65F6\u4EE3\u65B0\u80FD\u6E90\u79D1\u6280\u80A1\u4EFD\u6709\u9650\u516C\u53F8
WO_2025222694_PA

Resumen de: WO2025222694A1

The present application relates to a thermal management component and a manufacturing process therefor, a battery, and an electric device. The thermal management component (30) comprises: a heat exchange tube (31) having a heat exchange flow channel (311), wherein the ends of the heat exchange tube (31) are ports of the heat exchange flow channel (311); current collectors (32) connected to the ends of the heat exchange tube (31) in a matched mode and communicated with the ports; and adapters (33) connected between the heat exchange tube (31) and the current collectors (32), wherein the adapters (33) are used for being sealedly connected to the current collectors (32) and the heat exchange tube (31). In the present application, the adapters (33) are arranged between the heat exchange tube (31) and the current collectors (32), the heat exchange tube (31) and the current collectors (32) can be connected and fixed by means of the adapters (33), and the adapters (33) are sealedly connected between the current collectors (32) and the heat exchange tube (31), so that the current collectors (32) and the heat exchange tube (31) can fit more closely against each other, and then the heat exchange tube (31) and the adapters (33) can be stably connected, thereby improving the connection stability between the heat exchange tube (31) and the current collectors (32).

A DEVICE FOR HEATING A VEHICLE BATTERY

NºPublicación:  WO2025224383A1 30/10/2025
Solicitante: 
POLAR HEATER OY [FI]
POLAR HEATER OY
WO_2025224383_PA

Resumen de: WO2025224383A1

The invention is a device (100) for heating a battery of vehicle. The battery is rectangular. The device comprises an elongated flexible body (107), a temperature sensor (112), and a heating arrangement inside the body. The body further comprises a first end part (117), a second end part (118), a first long side part (119), a second long side part (120) and a short side part (121). The heating arrangement comprises four heating elements (115a, 115b, 115c, 115d), and two heating elements are positioned in the first long side part and two heating elements are positioned in the second long side part, and the temperature sensor is positioned in the short side part. The device is configured to be set around the battery in such a way that the side parts are positioned on corresponding sides of the battery.

LITHIUM COMPOSITE METAL OXIDE AND PREPARATION METHOD THEREFOR, AND LITHIUM-ION BATTERY

NºPublicación:  WO2025223412A1 30/10/2025
Solicitante: 
NINGBO RONBAY NEW ENERGY TECH CO LTD [CN]
\u5B81\u6CE2\u5BB9\u767E\u65B0\u80FD\u6E90\u79D1\u6280\u80A1\u4EFD\u6709\u9650\u516C\u53F8
WO_2025223412_A1

Resumen de: WO2025223412A1

The present application relates to the field of lithium battery positive electrode materials, and provides a lithium composite metal oxide and a preparation method therefor, and a lithium-ion battery. The lithium composite metal oxide comprises an inner core and a strontium-doped lithium cobalt oxide coating layer covering the surface of the inner core; the inner core is secondary particles formed by stacking single-crystal primary particles; strontium-doped lithium cobalt oxide in the strontium-doped lithium cobalt oxide coating layer is uniformly distributed on the surface of the inner core in an island shape. The strontium-doped lithium cobalt oxide coating layer reduces the formation of nickel oxide on the surface of a positive electrode material in the charging and discharging process of a battery, avoids the generation of micro-cracks, improves the structural stability, not only can protect the surface structure during subsequent water washing and avoid the generation of excessive rock salt phases, but also can avoid the dissolution of cobalt at high temperature. In addition, the present application also improves the initial efficiency and the cycle performance, and reduces the initial DCR and circulating DCR increase.

HIGH-CRYSTALLINITY, HIGH-STRUCTURE AND HIGH-SPECIFIC-SURFACE-AREA CONDUCTIVE CARBON BLACK, PREPARATION METHOD THEREFOR, DEVICE, ELECTRODE SLURRY AND SECONDARY BATTERY

NºPublicación:  WO2025223421A1 30/10/2025
Solicitante: 
JIAOZUO CITY HEXING CHEMICAL IND CO LTD [CN]
\u7126\u4F5C\u5E02\u548C\u5174\u5316\u5B66\u5DE5\u4E1A\u6709\u9650\u516C\u53F8
WO_2025223421_A1

Resumen de: WO2025223421A1

The present disclosure relates to the technical field of carbon black materials, and in particular to high-crystallinity, high-structure and high-specific-surface-area conductive carbon black, a preparation method therefor, a device, an electrode slurry, and a secondary battery. The high-crystallinity, high-structure and high-specific-surface-area conductive carbon black has a crystallinity of 42-51%, a BET specific surface area of 58-200 m2/g, and a cOAN of 108-180 mL/100 g. The conductive carbon black of the present disclosure simultaneously achieves high crystallinity, high structure, and high specific surface area. When the conductive carbon black is used as a conductive agent, on the one hand, the high crystallinity endows the conductive agent with excellent conductivity and stability and improved compatibility with an electrolyte solution; on the other hand, the structure has sufficient length, perfect network structure, and liquid absorption and retention capacity, so that the conductive carbon black has good conductivity, ion conduction capability, and dispersity and can significantly improve the performance of batteries.

BATTERY BAKING DEVICE AND CONTROL METHOD THEREFOR

NºPublicación:  WO2025222704A1 30/10/2025
Solicitante: 
CONTEMPORARY AMPEREX TECH CO LIMITED [CN]
\u5B81\u5FB7\u65F6\u4EE3\u65B0\u80FD\u6E90\u79D1\u6280\u80A1\u4EFD\u6709\u9650\u516C\u53F8
WO_2025222704_PA

Resumen de: WO2025222704A1

The present disclosure relates to a battery baking device and a control method therefor. The battery baking device comprises a controller, probes, and probe bases corresponding to the probes. The probes include auxiliary probes and additional probes. The auxiliary probes are configured to be in contact with the corresponding probe bases to form an auxiliary probe working circuit. The additional probes are configured to be in contact with the corresponding probe bases to form an additional probe working circuit. The controller is configured to, on the basis of a heating instruction, control to supply power to the auxiliary probes in the battery baking device, and when the auxiliary probes are powered on, control to supply power to the additional probes in the battery baking device. The conductor contact length between the auxiliary probes and the corresponding probe bases is shorter than that between the additional probes and the corresponding probe bases. In the device, the relatively short auxiliary probes are powered on such that the auxiliary probes are in effective contact with the corresponding probe bases, and the relatively long additional probes are also in effective contact with the corresponding probe bases under the action of pressure, thereby reducing failures caused by poor contact between probes and bases, and reducing the device failure rate.

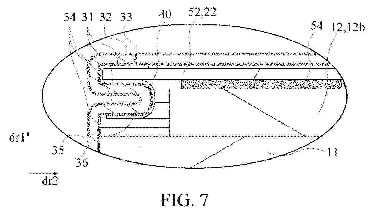
BATTERY CELL, BATTERY AND ELECTRIC DEVICE

NºPublicación:  WO2025222696A1 30/10/2025
Solicitante: 
CONTEMPORARY AMPEREX TECH CO LIMITED [CN]
\u5B81\u5FB7\u65F6\u4EE3\u65B0\u80FD\u6E90\u79D1\u6280\u80A1\u4EFD\u6709\u9650\u516C\u53F8
WO_2025222696_PA

Resumen de: WO2025222696A1

A battery cell (10), a battery (100) and an electric device. The battery cell (10) comprises: a housing (2), which has a plurality of housing walls (21) enclosing an accommodating space, wherein among the plurality of housing walls (21), a first weld seam (211) extending in a first direction is formed at least on a first housing wall (212); and a spacer (1), which is disposed on an outer surface of the first housing wall (212), wherein the spacer (1) has outer edges (11) located on inner sides of an outer surface (22) of the first housing wall (212), among the outer edges (11), the outer edge (11) that extends in the first direction and is closest to the first weld seam (211) in a second direction is a first outer edge (111), the distance between the first outer edge (111) and the first weld seam (211) in the second direction is greater than 0 and not more than 5 mm, and the first direction, the second direction and a wall thickness direction of the housing walls (21) are perpendicular to each other in pairs. In this way, the impact of an expansion force generated by the battery cell (10) on the strength of the first weld seam (211) can be reduced on the basis of minimizing the reduction in the area of the spacer (1), thereby lowering the probability of abnormal weld separation of the first weld seam (211) due to strength attenuation, and facilitating directional pressure relief of the battery cell (10) during thermal runaway.

FORMATION DEVICE AND BATTERY CELL FORMATION METHOD

NºPublicación:  WO2025222703A1 30/10/2025
Solicitante: 
CONTEMPORARY AMPEREX TECH CO LIMITED [CN]
CONTEMPORARY AMPEREX RUNZHI SOFTWARE TECH LIMITED [CN]
\u5B81\u5FB7\u65F6\u4EE3\u65B0\u80FD\u6E90\u79D1\u6280\u80A1\u4EFD\u6709\u9650\u516C\u53F8,
\u5B81\u5FB7\u65F6\u4EE3\u6DA6\u667A\u8F6F\u4EF6\u79D1\u6280\u6709\u9650\u516C\u53F8
WO_2025222703_PA

Resumen de: WO2025222703A1

Embodiments of the present disclosure relate to the technical field of battery production. Disclosed are a formation device and a battery cell formation method. The formation device comprises a formation unit, an air exhaust assembly, and an air supply assembly. The formation unit comprises a cabinet. At least one formation area is provided in the cabinet. The formation areas are communicated with each other. The formation areas are configured to accommodate battery cells to be subjected to formation. The air exhaust assembly is communicated with the at least one formation area. The air exhaust assembly is configured to exhaust air for the formation area. The air supply assembly is communicated with at least one formation area. The air supply assembly is configured to supply air to the formation area.

COLD PLATE ASSEMBLY, BATTERY PACK SUPPORTING STRUCTURE, BATTERY PACK, AND ELECTRIC DEVICE

NºPublicación:  WO2025223378A1 30/10/2025
Solicitante: 
BYD COMPANY LTD [CN]
\u6BD4\u4E9A\u8FEA\u80A1\u4EFD\u6709\u9650\u516C\u53F8
WO_2025223378_PA

Resumen de: WO2025223378A1

The present application provides a cold plate assembly, a battery pack supporting structure, a battery pack, and an electric device. The battery pack comprises a cross beam and a tray, the cross beam is arranged in the tray and used for dividing an accommodating cavity, an adhesive dispensing groove extending in the length direction of the cross beam is formed on the cross beam. The cold plate assembly comprises a cold plate and a partition plate. The cold plate comprises a connecting surface facing the cross beam. The partition plate is connected to the connecting surface, is configured to extend into the adhesive dispensing groove, and is adapted to extend in the length direction of the cross beam. The partition plate extends into the adhesive dispensing groove of the cross beam, so that on the one hand, the bonding area of an bonding adhesive can be increased, thereby enhancing the bonding strength of the bonding adhesive between the cold plate assembly and the cross beam; and on the other hand, in the event of thermal runaway in a single chamber of the battery pack, even if the bonding adhesive fails and causes the cold plate to bulge upward, the displacement of the partition plate can still ensure the independence of two isolated chambers in the battery pack, thereby preventing electrolyte flow between the two chambers, and avoiding more serious safety accidents.

BATTERY APPARATUS AND ELECTRICAL DEVICE

NºPublicación:  WO2025223476A1 30/10/2025
Solicitante: 
CONTEMPORARY AMPEREX TECH CO LIMITED [CN]
\u5B81\u5FB7\u65F6\u4EE3\u65B0\u80FD\u6E90\u79D1\u6280\u80A1\u4EFD\u6709\u9650\u516C\u53F8
WO_2025223476_PA

Resumen de: WO2025223476A1

The present application relates to the technical field of battery heat exchange, and specifically discloses a battery apparatus (100) and an electrical device (1000). The battery apparatus (100) comprises a case (110), a battery cell module (120), and a heat exchanger (400). The battery cell module (120) and the heat exchanger (400) are provided in the case (110) and undergo heat exchange. The heat exchanger (400) comprises a heat exchange tube (410), an adapter portion (420), and a current collector (430). The heat exchange tube (410) comprises a plurality of heat exchange channels (411). The adapter portion (420) is sleeved outside one end of the heat exchange tube (410) and is provided with a plurality of adapter channels (421). The current collector (430) is fixed to the adapter portion (420) and is provided with a current collecting port (431) and at least one flow guiding channel (435). The current collecting port (431) is in communication with at least one heat exchange channel (411). At least two heat exchange channels (411) are communicated by means of the flow guiding channel (435) and the adapter channels (421) to define a heat exchange loop (450) having at least one turning portion (451).

NEGATIVE ELECTRODE SHEET AND BATTERY

NºPublicación:  WO2025223431A1 30/10/2025
Solicitante: 
ZHUHAI COSMX BATTERY CO LTD [CN]
\u73E0\u6D77\u51A0\u5B87\u7535\u6C60\u80A1\u4EFD\u6709\u9650\u516C\u53F8
WO_2025223431_PA

Resumen de: WO2025223431A1

The present disclosure provides a negative electrode sheet and a battery. The negative electrode sheet comprises a negative electrode current collector and a negative electrode coating, which is located on the surface of the negative electrode current collector, wherein the negative electrode coating comprises a negative electrode active material, with the negative electrode active material comprising graphite and a silicon-based material. A concave part is provided on the surface of the negative electrode coating, the ratio of the width of the concave part to the particle diameter Dv50 of the silicon-based material is greater than or equal to 2, and the depth of the concave part is greater than or equal to the particle diameter Dv50 of the silicon-based material. The present disclosure can improve both the thermal safety and the low-temperature cycle performance of a battery.

LIQUID-COOLING PLATE ASSEMBLY, THERMAL MANAGEMENT COMPONENT, BATTERY, AND ELECTRIC DEVICE

NºPublicación:  WO2025222692A1 30/10/2025
Solicitante: 
CONTEMPORARY AMPEREX TECH CO LIMITED [CN]
\u5B81\u5FB7\u65F6\u4EE3\u65B0\u80FD\u6E90\u79D1\u6280\u80A1\u4EFD\u6709\u9650\u516C\u53F8
WO_2025222692_PA

Resumen de: WO2025222692A1

A liquid-cooling plate assembly, a thermal management component, a battery, and an electric device, which belong to the technical field of batteries. The liquid-cooling plate assembly comprises a heat exchange plate and a current collector, wherein a plurality of cooling channels are formed inside the heat exchange plate; the current collector is connected to an end of the heat exchange plate and is in communication with the plurality of cooling channels; and a first section of one of the current collector and the heat exchange plate is sleeved outside a second section of the other one of the current collector and the heat exchange plate, the first section is made of a transparent material, the second section is made of a light-absorbing material, and the surface of at least one of the first section and the second section facing the other one of the first section and the second section is provided with a connection compensation structure that is not flush with the surface.

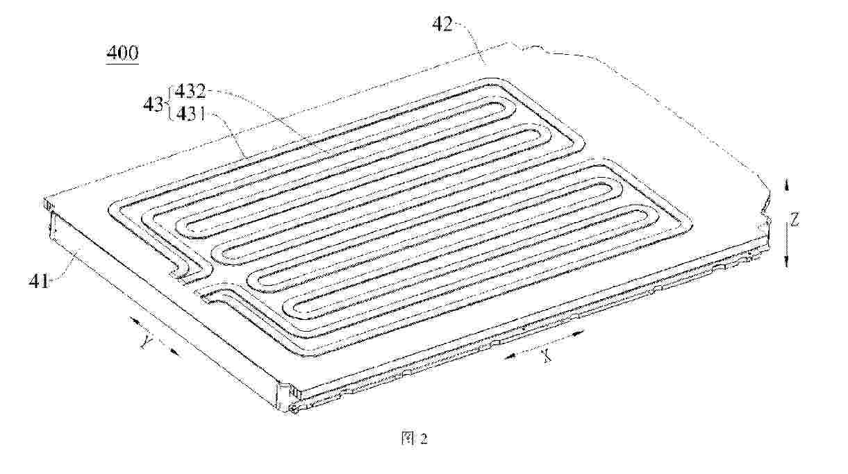
VEHICLE BODY AND VEHICLE

NºPublicación:  WO2025222677A1 30/10/2025
Solicitante: 
CONTEMPORARY AMPEREX TECH CO LIMITED [CN]
\u5B81\u5FB7\u65F6\u4EE3\u65B0\u80FD\u6E90\u79D1\u6280\u80A1\u4EFD\u6709\u9650\u516C\u53F8
WO_2025222677_PA

Resumen de: WO2025222677A1

A vehicle body (400) and a vehicle (1000). The vehicle body (400) comprises: a battery accommodating portion (41), an accommodating space (41a) being provided in the battery accommodating portion (41), and a first opening being provided in the accommodating space (41a); a battery cell (20), the battery cell (20) being provided in the accommodating space (41a); a vehicle body floor (42), the vehicle body floor (42) covering the battery accommodating portion (41) and closing the first opening, and the vehicle body floor (42) being provided with a recess (421); and a heat exchange member (43), the heat exchange member (43) being provided in the recess (421) and used for exchanging heat with the battery cell (20).

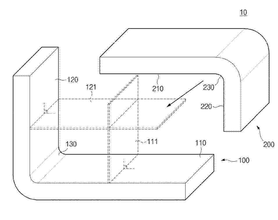
BATTERY DEVICE AND ELECTRIC DEVICE

NºPublicación:  WO2025222859A1 30/10/2025
Solicitante: 
CONTEMPORARY AMPEREX TECH CO LIMITED [CN]
\u5B81\u5FB7\u65F6\u4EE3\u65B0\u80FD\u6E90\u79D1\u6280\u80A1\u4EFD\u6709\u9650\u516C\u53F8
WO_2025222859_PA

Resumen de: WO2025222859A1

The present application is suitable for the technical field of batteries, and provides a battery device and an electric device. The battery device comprises a case, and a battery cell assembly and a thermal management component which are provided in the case; the thermal management component is used for exchanging heat with the battery cell assembly, and comprises a heat exchange tube, a fluid collection component, and a conductive member; the heat exchange tube is a metal member and a heat exchange flow channel is provided in the heat exchange tube; the fluid collection component has a fluid collection cavity, and is connected to an end portion of the heat exchange tube; the fluid collection cavity is communicated with the heat exchange flow channel; the conductive member is fixed to the fluid collection component, abuts against and is electrically connected to the heat exchange tube, and is further electrically connected to the case. In the battery device provided in embodiments of the present application, the conductive member can reduce a potential difference between the heat exchange tube and the case, and good reliability of the battery device is achieved.

ENERGY STORAGE BATTERY PACK, BATTERY SYSTEM, AND ELECTRICAL DEVICE

NºPublicación:  WO2025223374A1 30/10/2025
Solicitante: 
BYD COMPANY LTD [CN]
\u6BD4\u4E9A\u8FEA\u80A1\u4EFD\u6709\u9650\u516C\u53F8
WO_2025223374_PA

Resumen de: WO2025223374A1

The present application belongs to the technical field of energy storage, and relates to an energy storage battery pack, a battery system, and an electrical device. The energy storage battery pack comprises a module and an interlocking assembly. The interlocking assembly comprises a first connecting member and a second connecting member rotatably connected to the first connecting member. The first connecting member is mounted on the module, and the second connecting member is suitable for being connected to a module of another energy storage battery pack. The alignment and locking of the energy storage battery pack are easier to achieve, so that scratching of the energy storage battery pack can be prevented, thereby ensuring an attractive appearance and preventing an effect on the corrosion resistance of the energy storage battery pack.

CONNECTING PLATE AND EXTENSIBLE MODULE HAVING SAME

NºPublicación:  WO2025223519A1 30/10/2025
Solicitante: 
SVOLT ENERGY TECH CO LTD [CN]
\u8702\u5DE2\u80FD\u6E90\u79D1\u6280\u80A1\u4EFD\u6709\u9650\u516C\u53F8
WO_2025223519_PA

Resumen de: WO2025223519A1

Provided in the present application are a connecting plate and an extensible module having same. The connecting plate is used for connecting two adjacent battery modules, and the connecting plate is provided with a first connecting portion and a second connecting portion which are spaced apart from each other, wherein the first connecting portion is connected to one of the two adjacent battery modules, the second connecting portion is connected to the other one of the two adjacent battery modules, and a weight reduction portion is formed between the first connecting portion and the second connecting portion. The connecting plate of the present application is provided with the first connecting portion and the second connecting portion, such that adjacent battery modules form an integral long module; therefore, the connection of the battery modules can be facilitated, and the design freedom of the lengths of the battery modules can also be improved; moreover, the volumes of a plurality of battery modules can be reduced, and the energy density of the extensible module can also be increased.

ELECTRODE SHEET, BATTERY CELL, AND BATTERY

Nº publicación: WO2025223228A1 30/10/2025

Solicitante:

BYD COMPANY LTD [CN]
\u6BD4\u4E9A\u8FEA\u80A1\u4EFD\u6709\u9650\u516C\u53F8

WO_2025223228_PA

Resumen de: WO2025223228A1

An electrode sheet, a battery cell, and a battery. The electrode sheet is used for the battery cell, and the electrode sheet comprises a first current collector and a first active material layer. The first current collector is suitable for being connected to a first tab. The first active material layer is stacked on the first current collector. The first active material layer comprises a first region and a second region, the first region being closer to the first tab than the second region. The porosity of the first region is a first porosity A, and the porosity of the second region is a second porosity B, satisfying A>B.

traducir