Ministerio de Industria, Turismo y Comercio LogoMinisterior
 

Alerta

Resultados 1316 resultados
LastUpdate Última actualización 02/11/2025 [07:11:00]
pdfxls
Publicaciones de los últimos 15 días/Last 15 days publications (excluidas pubs. CN y JP /CN and JP pubs. excluded)
previousPage Resultados 325 a 350 de 1316 nextPage  

SECONDARY BATTERY VOLTAGE EQUALIZATION CHARGING DEVICE AND POWER SUPPLY PACKAGE

NºPublicación:  WO2025225473A1 30/10/2025
Solicitante: 
MINERVA LAB CORP [JP]
\u682A\u5F0F\u4F1A\u793E\u30DF\u30CD\u30EB\u30D0\u30FB\u30E9\u30DC
WO_2025225473_PA

Resumen de: WO2025225473A1

In an intermittent charging device of a conventional secondary battery module, two charging periods are required, namely, a charging period for a charging capacitor and a period for charging a secondary battery by the charging capacitor. Therefore, the charging time becomes relatively long as compared with that of a general charging device which continuously charges a secondary battery. By adding a relay capacitor and a relay capacitor switch to an intermittent charging circuit, the relay capacitor is charged during a period in which a charging capacitor charges the secondary battery, and the charge is supplied to the charging capacitor in a short time after the end of charging the secondary battery, immediately starting the period in which the charging capacitor charges the secondary battery. This allows intermittent charging to be performed in a short time that is essentially the same as in continuous charging.

NONAQUEOUS ELECTROLYTE SECONDARY BATTERY

NºPublicación:  WO2025225455A1 30/10/2025
Solicitante: 
PANASONIC INTELLECTUAL PROPERTY MAN CO LTD [JP]
\u30D1\u30CA\u30BD\u30CB\u30C3\u30AF\uFF29\uFF30\u30DE\u30CD\u30B8\u30E1\u30F3\u30C8\u682A\u5F0F\u4F1A\u793E
WO_2025225455_PA

Resumen de: WO2025225455A1

This secondary battery comprises: an electrode body in which a positive electrode (11) and a negative electrode (12) are wound, with a separator (13) being interposed therebetween; an outer can casing which houses the electrode body and an electrolyte solution; and a negative electrode current collector plate (17) which is disposed on the bottom of the outer can casing and is electrically connected to the outer can casing. The negative electrode (12) has a core body and a mixture layer that is provided on the core body, and a negative electrode core body exposure part (41) is joined to the negative electrode current collector plate (17). The mixture layer contains a silicon-containing material as an active material, and 5 mass% or more of the silicon-containing material is contained in a lower region (43) and an upper region (44) which each have a length ratio of 20% or less in the vertical direction. The negative electrode charge capacity is 470 mAh/g or more, and the silicon-containing material includes a low expansion silicon-containing material that has a particle expansion coefficient of 210% or less in the lower region.

COMPOSITE CURRENT COLLECTOR, AND PREPARATION METHOD THEREFOR AND USE THEREOF

NºPublicación:  WO2025222770A1 30/10/2025
Solicitante: 
JIANGYIN NANOPORE INNOVATIVE MATERIALS TECH LTD [CN]
\u6C5F\u9634\u7EB3\u529B\u65B0\u6750\u6599\u79D1\u6280\u6709\u9650\u516C\u53F8
WO_2025222770_PA

Resumen de: WO2025222770A1

The present application provides a composite current collector, and a preparation method therefor and the use thereof. The composite current collector comprises: a polymer supporting layer; a transition layer, which is provided on the surface of at least one side of the polymer supporting layer, wherein the material of the transition layer comprises a nano metal material modified with a silane coupling agent, the nano metal material comprising a nano metal simple substance and/or a nano metal oxide; and a conductive layer, which is provided on the surface of the transition layer along a direction away from the polymer supporting layer. In the present application, introducing the nano metal material modified with a silane coupling agent as a transition layer can tightly combine the organic and inorganic interfaces, and improve the bonding force between the polymer supporting layer and the transition layer; in addition, the particle aggregation degree can be reduced by means of the modification of the silane coupling agent, such that the particles are evenly distributed in the transition layer, thereby improving the bonding force between the conductive layer and the transition layer. The composite current collector has excellent bonding force and stability; and the safety performance and high-temperature cycle performance of a battery prepared on this basis are significantly improved.

MULTI-CAVITY BATTERY PACK STRUCTURE

NºPublicación:  WO2025222739A1 30/10/2025
Solicitante: 
VISION TECH CO TLD [CN]
\u6DF1\u5733\u5E02\u96C4\u97EC\u9502\u7535\u6709\u9650\u516C\u53F8
WO_2025222739_PA

Resumen de: WO2025222739A1

The present application provides a multi-cavity battery pack structure, comprising a housing, a cover plate, and a plurality of battery cell units. The battery cell units are arranged in the housing, and the cover plate covers the end face of one end of the housing. The housing comprises a housing body and a plurality of cavity units arranged in the housing body, a wall plate is provided between every two adjacent cavity units, and the wall plate respectively abuts against the bottom surface of the housing body and the side surfaces of the housing body; and a first boss is provided at one end of the side of each cavity unit close to the cover plate, and a second boss is arranged at the other end thereof. Each battery cell unit is arranged in the corresponding cavity unit, and the battery cell unit is arranged between the first boss and the second boss; the battery cell units and the cavity units are arranged in a one-to-one correspondence manner; the second bosses are pairwise communicated with each other; and the first bosses located in the middle are pairwise communicated with each other, and the first bosses located at the two ends are independently arranged. The present application achieves low costs and environmental friendliness.

BATTERY AND ELECTRIC APPARATUS

NºPublicación:  WO2025222735A1 30/10/2025
Solicitante: 
CONTEMPORARY AMPEREX TECH CO LIMITED [CN]
\u5B81\u5FB7\u65F6\u4EE3\u65B0\u80FD\u6E90\u79D1\u6280\u80A1\u4EFD\u6709\u9650\u516C\u53F8
WO_2025222735_PA

Resumen de: WO2025222735A1

Provided are a battery (100) and an electric apparatus, which belong to the technical field of batteries. The battery (100) comprises a case (10), battery cell groups (20) and support members (30). The case (10) comprises a bottom plate (11). The battery cell groups (20) are accommodated in the case (10), and each battery cell group comprises at least one battery cell (21), the battery cell (21) comprising a casing (211), electrode terminals (212) and a pressure relief mechanism (213). The casing (211) has a wall portion (2111), wherein the wall portion (2111) is arranged to face the bottom plate (11) in the thickness direction of the bottom plate (11); and both the electrode terminals (212) and the pressure relief mechanism (213) are disposed on the casing (211), and at least one of the electrode terminals (212) and the pressure relief mechanism (213) is disposed on the wall portion (2111). The support members (30) are arranged between the wall portion (2111) and the bottom plate (11) and are connected to the wall portion (2111), and in the thickness direction of the bottom plate (11), each support member (30) has a first surface (31) facing away from the wall portion (2111), wherein the first surface (31) is closer to the bottom plate (11) than the electrode terminals (212) and the pressure relief mechanism (213). The support members (30) can protect the electrode terminals (212) or the pressure relief mechanism (213) of the battery cell (21), so as to reduce the risk of th

NON-AQUEOUS ELECTROLYTE SECONDARY BATTERY

NºPublicación:  WO2025225437A1 30/10/2025
Solicitante: 
PANASONIC INTELLECTUAL PROPERTY MAN CO LTD [JP]
\u30D1\u30CA\u30BD\u30CB\u30C3\u30AF\uFF29\uFF30\u30DE\u30CD\u30B8\u30E1\u30F3\u30C8\u682A\u5F0F\u4F1A\u793E
WO_2025225437_PA

Resumen de: WO2025225437A1

Provided is a non-aqueous electrolyte secondary battery comprising: an electrode body in which a belt-like first electrode (12) and a belt-like second electrode are wound in a longitudinal direction via a separator; and a non-aqueous electrolyte. The first electrode (12) has a first electrode core body (40) and a first electrode mixture layer (42) disposed on the first electrode core body (40). At one end of the electrode body of the first electrode (12) in the axial direction, a first electrode core body exposed part (44) is provided, in which the first electrode mixture layer (42) is not disposed and the first electrode core body (40) is exposed. On the surface of the first electrode core body exposed part (44), a plurality of resin layers (50) are disposed at intervals in the longitudinal direction of the first electrode (12).

NEGATIVE ELECTRODE ACTIVE MATERIAL AND FLUORIDE ION SECONDARY BATTERY

NºPublicación:  WO2025225441A1 30/10/2025
Solicitante: 
PANASONIC ENERGY CO LTD [JP]
\u30D1\u30CA\u30BD\u30CB\u30C3\u30AF\u30A8\u30CA\u30B8\u30FC\u682A\u5F0F\u4F1A\u793E
WO_2025225441_PA

Resumen de: WO2025225441A1

A negative electrode active material according to the present disclosure is a negative electrode active material for a fluoride ion secondary battery, and contains scandium fluoride that has a crystallite size of less than 63 nm. A fluoride ion secondary battery according to the present disclosure comprises: a positive electrode 2; a negative electrode 4; and an electrolyte layer 3 that is disposed between the positive electrode 2 and the negative electrode 4. The negative electrode 4 contains the negative electrode active material according to the present disclosure. The negative electrode active material may additionally contain at least one metal that is selected from the group consisting of alkali metals and alkaline earth metals.

NON-AQUEOUS ELECTROLYTE SECONDARY BATTERY

NºPublicación:  WO2025225388A1 30/10/2025
Solicitante: 
PANASONIC INTELLECTUAL PROPERTY MAN CO LTD [JP]
\u30D1\u30CA\u30BD\u30CB\u30C3\u30AF\uFF29\uFF30\u30DE\u30CD\u30B8\u30E1\u30F3\u30C8\u682A\u5F0F\u4F1A\u793E
WO_2025225388_PA

Resumen de: WO2025225388A1

This non-aqueous electrolyte secondary battery is characterized in that: a first electrode (12) comprises a first electrode core body (40) and a first electrode mixture layer (42) disposed on the first electrode core body (40); the first electrode mixture layer (42) is not disposed on one end in the axial direction of an electrode body in the first electrode (12); there is provided a first electrode core body exposure part (44) where the first electrode core body (40) is exposed; and the surface of the first electrode core body exposure part (44) is provided with a functional layer (50) including a coating layer (52) that covers at least a portion of the first electrode core body exposure part (44), and large-diameter particles (54) that have a volume-basis average particle size which is greater than the average thickness of the coating layer (52).

SOLID ELECTROLYTE MATERIAL, POSITIVE ELECTRODE MATERIAL, BATTERY, AND METHOD FOR PRODUCING SOLID ELECTROLYTE MATERIAL

NºPublicación:  WO2025225308A1 30/10/2025
Solicitante: 
PANASONIC INTELLECTUAL PROPERTY MAN CO LTD [JP]
\u30D1\u30CA\u30BD\u30CB\u30C3\u30AF\uFF29\uFF30\u30DE\u30CD\u30B8\u30E1\u30F3\u30C8\u682A\u5F0F\u4F1A\u793E
WO_2025225308_PA

Resumen de: WO2025225308A1

A solid electrolyte material according to the present disclosure contains Li, Ti, Al, and F, and has a peak in a first range in which the diffraction angle 2θ is 13.7° to 14.7° inclusive in an X-ray diffraction pattern that is obtained by a X-ray diffraction measurement using Cu-Kα rays. In the X-ray diffraction pattern, a peak may be present in at least one range that is selected from the group consisting of a second range in which the diffraction angle 2θ is 20.9° to 21.9° inclusive, a third range in which the diffraction angle 2θ is 41.2° to 42.2° inclusive, and a fourth range in which the diffraction angle 2θ is 53.3° to 54.3° inclusive.

BATTERY AND ELECTRIC APPARATUS

NºPublicación:  WO2025222736A1 30/10/2025
Solicitante: 
CONTEMPORARY AMPEREX TECH CO LIMITED [CN]
\u5B81\u5FB7\u65F6\u4EE3\u65B0\u80FD\u6E90\u79D1\u6280\u80A1\u4EFD\u6709\u9650\u516C\u53F8
WO_2025222736_PA

Resumen de: WO2025222736A1

The present application belongs to the technical field of batteries. Provided are a battery and an electric apparatus. The battery comprises at least one battery cell group, first busbar components and fasteners, wherein the battery cell group comprises a plurality of battery cells stacked in a first direction, each battery cell comprising a casing, electrode terminals and an electrode assembly, the electrode terminals being disposed on the casing, and the electrode assembly being accommodated in the casing and being electrically connected to the electrode terminals; the first busbar components are electrically connected to electrode terminals of two adjacent battery cells in the same battery cell group; and the fasteners are connected to casings of the plurality of battery cells in the battery cell group. By means of fasteners, when battery cells expand in a first direction, the change in the spacing between electrode terminals of two adjacent battery cells in the first direction can be reduced, such that the torque or tensile force between the electrode terminals and first busbar components is absorbed and shared by the fasteners, which is conducive to reducing the risk of a connection failure between the electrode terminals and the first busbar components.

BATTERY, ELECTRIC DEVICE, AND ASSEMBLY METHOD FOR BATTERY

NºPublicación:  WO2025222722A1 30/10/2025
Solicitante: 
CONTEMPORARY AMPEREX TECH CO LIMITED [CN]
\u5B81\u5FB7\u65F6\u4EE3\u65B0\u80FD\u6E90\u79D1\u6280\u80A1\u4EFD\u6709\u9650\u516C\u53F8
WO_2025222722_PA

Resumen de: WO2025222722A1

Provided are a battery (1100), an electric device, and an assembly method for the battery (1100), relating to the technical field of batteries. The battery (1100) comprises at least one battery module (1120). Each battery module (1120) comprises battery cells (1121), a heat exchanger (1122) and a bonding layer (1123), wherein the heat exchanger (1122) is provided with a heat exchange surface (11222), and channels (11221) are formed on the heat exchanger (1122); and the bonding layer (1123) is arranged between the outer surface of each battery cell (1121) and the heat exchange surface (11222), thus bonding each battery cell (1121) to the heat exchange surface (11222). The curing time of a binder forming the bonding layer (1123) can be shortened, thereby improving the assembly efficiency of the battery (1100).

SECONDARY BATTERY AND PREPARATION METHOD THEREFOR, AND ELECTRIC DEVICE

NºPublicación:  WO2025222726A1 30/10/2025
Solicitante: 
CONTEMPORARY AMPEREX TECH CO LIMITED [CN]
\u5B81\u5FB7\u65F6\u4EE3\u65B0\u80FD\u6E90\u79D1\u6280\u80A1\u4EFD\u6709\u9650\u516C\u53F8
WO_2025222726_PA

Resumen de: WO2025222726A1

A secondary battery and a preparation method therefor, and an electric device. The secondary battery includes a positive electrode sheet, the positive electrode sheet includes a positive electrode active material, and the positive electrode active material includes a matrix material and a coating layer at least partially covering the matrix material. The coating layer includes a first coating layer and a second coating layer, wherein the first coating layer is located on the surface of the matrix material, and the second coating layer is located on the surface of the first coating layer, with the first coating layer comprising a lithium-supplementing material, and the second coating layer comprising a reductive material; or, the first coating layer comprising a reductive material, and the second coating layer comprising a lithium-supplementing material. The secondary battery has excellent cycle performance and a long service life.

BATTERY

NºPublicación:  WO2025224916A1 30/10/2025
Solicitante: 
ENPOWER JAPAN CORP [JP]
\uFF25\uFF4E\uFF50\uFF4F\uFF57\uFF45\uFF52\u3000\uFF2A\uFF41\uFF50\uFF41\uFF4E\u682A\u5F0F\u4F1A\u793E
WO_2025224916_PA

Resumen de: WO2025224916A1

This battery comprises: a housing having a cylindrical shape in which an opening is formed at one end part; an electrode structure disposed inside the housing; a sealing part that seals the opening of the housing; and a connection part that electrically connects the electrode structure and the sealing part. The sealing part has a first terminal part that functions as an input/output terminal of the battery, and a limiting part that limits the current between the electrode structure and the terminal part. The electrode structure has a power generation element that includes a first active material layer, a solid electrolyte layer, and a second active material layer in said order. The value obtained by dividing the capacity per unit area of the power generation element by the area of the housing is 0.03 or greater. The area of the power generation element is the area when the power generation element is cut along a plane substantially perpendicular to the lamination direction of a first active material layer, the solid electrolyte layer, and the second active material layer. The area of the housing is the area when the housing is cut along a plane substantially perpendicular to the extension direction of the cylindrical shape.

LITHIUM SULFIDE AND SULFIDE SOLID ELECTROLYTE PRODUCTION METHOD

NºPublicación:  WO2025225098A1 30/10/2025
Solicitante: 
MITSUBISHI MAT CORPORATION [JP]
\u4E09\u83F1\u30DE\u30C6\u30EA\u30A2\u30EB\u682A\u5F0F\u4F1A\u793E
WO_2025225098_A1

Resumen de: WO2025225098A1

This lithium sulfide is characterized in that the 50% diameter on a volume basis is in the range of 0.1-600 μm, inclusive, and the half-value width of a peak at 2θ= 27°±0.03° as measured using X-ray diffraction is in the range of 0.10-0.50°, inclusive. This sulfide solid electrolyte production method is characterized by using said lithium sulfide as a starting material.

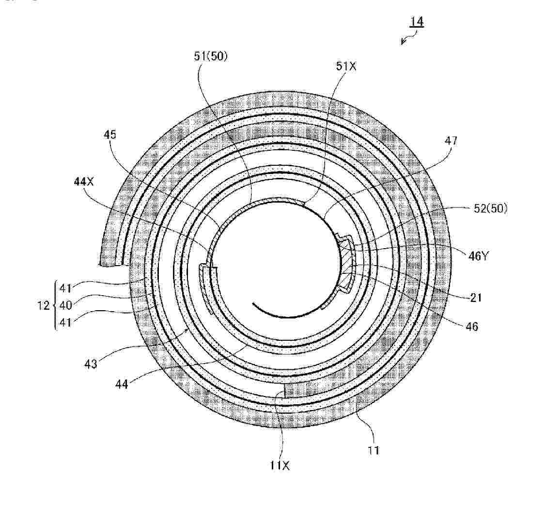
CYLINDRICAL BATTERY

NºPublicación:  WO2025225210A1 30/10/2025
Solicitante: 
PANASONIC INTELLECTUAL PROPERTY MAN CO LTD [JP]
\u30D1\u30CA\u30BD\u30CB\u30C3\u30AF\uFF29\uFF30\u30DE\u30CD\u30B8\u30E1\u30F3\u30C8\u682A\u5F0F\u4F1A\u793E
WO_2025225210_PA

Resumen de: WO2025225210A1

A negative electrode (12) has a non-facing part (43) wound in a state of not facing a positive electrode (11). The non-facing part (43) includes a mixture layer formation part (44) and a mixture layer non-formation part (45) in which negative electrode mixture layers (41) are not formed on both surfaces of a negative electrode core body (40). A reinforcement material (50) is disposed on at least one surface of the mixture layer non-formation part (45), the reinforcement material (50) including a first reinforcement material (51) disposed so as to straddle a winding start end (44X) of the mixture layer formation part (44). The mixture layer non-formation part (45) is characterized in having an exposed part (47) in which both surfaces of the negative electrode core body (40) are exposed, between a position overlapping a winding start end (51X) of the first reinforcement material (51) and a winding termination end 46Y of a lead connection part (46).

SECONDARY BATTERY

NºPublicación:  WO2025225197A1 30/10/2025
Solicitante: 
MURATA MFG CO LTD [JP]
\u682A\u5F0F\u4F1A\u793E\u6751\u7530\u88FD\u4F5C\u6240
WO_2025225197_PA

Resumen de: WO2025225197A1

The present invention improves cycle characteristics. This secondary battery comprises: a positive electrode; a negative electrode; a separator disposed between the positive and negative electrodes; and an electrolyte. The negative electrode has a negative electrode current collector and a negative electrode active material layer in contact with the negative electrode current collector. The negative electrode active material layer includes a negative electrode active material, a first binder, and a second binder. The negative electrode active material includes a first negative electrode active material that is a material containing silicon. The first binder is an N-vinylacetamide polymer which is a polymer having a monomer represented by formula (1). The second binder is an emulsion-based binder. The negative electrode active material layer has a first surface that is a surface in contact with the negative electrode current collector, and a second surface that is a surface opposite to the first surface. The negative electrode active material layer on the first surface contains more of the second binder than on the second surface. (In formula (1), R1 and R2 each independently represent hydrogen or an alkyl group which may have a substituent.

BATTERY DEVICE AND ELECTRIC DEVICE

NºPublicación:  WO2025222861A1 30/10/2025
Solicitante: 
CONTEMPORARY AMPEREX TECH CO LIMITED [CN]
\u5B81\u5FB7\u65F6\u4EE3\u65B0\u80FD\u6E90\u79D1\u6280\u80A1\u4EFD\u6709\u9650\u516C\u53F8
WO_2025222861_PA

Resumen de: WO2025222861A1

A battery device (100) and an electric device. The battery device comprises: a case (10); a battery cell assembly (20) accommodated in the case; and a heat exchange assembly (30) accommodated in the case. The heat exchange assembly comprises: a heat exchange main body (31) comprising a plurality of heat exchange flow channels (301); and current collecting structures (32) arranged at two ends of the heat exchange main body, each current collecting structure comprising a blocking member (321), a current collecting member (322) and an adapter member (323), wherein the blocking member blocks at least one heat exchange flow channel, the current collecting member is provided with a current collecting cavity (3221), the current collecting member is in sealing fit with and connected to the heat exchange main body by means of the adapter member, the current collecting member is provided with a communication port (322a) communicated with the current collecting cavity, the communication port can be used for allowing the entry/exit of a heat exchange medium, and the adapter member is formed on the heat exchange main body and the current collecting member.

FILM INSPECTION MECHANISM, COATING DEVICE, AND FILM COATING METHOD

NºPublicación:  WO2025222706A1 30/10/2025
Solicitante: 
CONTEMPORARY AMPEREX TECH CO LIMITED [CN]
\u5B81\u5FB7\u65F6\u4EE3\u65B0\u80FD\u6E90\u79D1\u6280\u80A1\u4EFD\u6709\u9650\u516C\u53F8
WO_2025222706_PA

Resumen de: WO2025222706A1

A film inspection mechanism (100), comprising: a housing assembly (10), a weight measurement assembly (30), a moisture measurement member (20), and an isolation member (40). The housing assembly (10) defines a measurement cavity (13) used for placing a film under inspection; the weight measurement assembly (30) is mounted in the housing assembly (10) and is used for acquiring the weight of the film under inspection; the moisture measurement member (20) is mounted in the housing assembly (10) and is used for acquiring the moisture of the film under inspection; the housing assembly (10) comprises two housings; the weight measurement assembly (30) comprises a transmitting member (31) and a receiving member (32), and the transmitting member (31) and the receiving member (32) are respectively provided on the two housings; the isolation member (40) is provided on the housing assembly (10) provided with the moisture measurement member (20) and is located between the moisture measurement member (20) and the transmitting member (31) or the receiving member (32). Also provided are a coating device having the film inspection mechanism (100), and a film coating method.

SAFETY COATING AND PREPARATION METHOD THEREFOR, AND COMPOSITE CURRENT COLLECTOR

NºPublicación:  WO2025222728A1 30/10/2025
Solicitante: 
EVE ENERGY CO LTD [CN]
\u60E0\u5DDE\u4EBF\u7EAC\u9502\u80FD\u80A1\u4EFD\u6709\u9650\u516C\u53F8
WO_2025222728_A1

Resumen de: WO2025222728A1

A safety coating and a preparation method therefor, and a composite current collector. The safety coating is mainly prepared from a phosphate material, a conductive agent, a binder, and a solvent, wherein the phosphate material is a lithium manganese iron phosphate material doped with at least one of the metals Cr, Mg, Ti, Al, Zn, W, Nb, and Zr. By controlling the addition ratio of each raw material, the adhesion between the safety coating and a current collector substrate can be increased, and the peel strength between an active material layer and the safety coating can be effectively enhanced, such that the prepared safety coating can effectively improve the safety performance of batteries without changing the material system, electrode sheet performance, and product performance; and the safety coating has little impact on energy density, can achieve good long-term cycle and high-rate discharge effects of batteries, and is suitable for promotion and application.

METHOD FOR PRODUCING SULFIDE-BASED SOLID ELECTROLYTE

NºPublicación:  WO2025225099A1 30/10/2025
Solicitante: 
MITSUBISHI MAT CORPORATION [JP]
\u4E09\u83F1\u30DE\u30C6\u30EA\u30A2\u30EB\u682A\u5F0F\u4F1A\u793E
WO_2025225099_PA

Resumen de: WO2025225099A1

Provided is a method for producing a sulfide-based solid electrolyte, the method having: a raw material preparation step for preparing an electrolyte raw material containing an element other than sulfur among elements constituting the sulfide-based solid electrolyte, and elemental sulfur and forming a raw material aggregate; and a synthesis step for heating the raw material aggregate to synthesize the sulfide-based solid electrolyte, wherein in the raw material preparation step, a molar ratio of the elemental sulfur to a lithium element in the raw material aggregate is set to be 1.5 to 6.5.

ELECTRODE MIXTURE AND BATTERY

NºPublicación:  WO2025225187A1 30/10/2025
Solicitante: 
TOYOTA JIDOSHA KK [JP]
\u30C8\u30E8\u30BF\u81EA\u52D5\u8ECA\u682A\u5F0F\u4F1A\u793E
WO_2025225187_PA

Resumen de: WO2025225187A1

The main purpose of this disclosure is to provide an electrode mixture capable of suppressing an increase in battery resistance. For this purpose, the disclosure provides an electrode mixture containing an electrode active material, a sulfide solid electrolyte containing a lithium element, a sulfur element, and a phosphorus element, and an organic compound, wherein the organic compound has two or more benzene rings, and at least a portion of the organic compound is present between the electrode active material and the sulfide solid electrolyte.

INACTIVATING AGENT FOR NONAQUEOUS SECONDARY BATTERY AND INACTIVATING METHOD FOR NONAQUEOUS SECONDARY BATTERY

NºPublicación:  WO2025225066A1 30/10/2025
Solicitante: 
KK TOYOTA CHUO KENKYUSHO [JP]
\u682A\u5F0F\u4F1A\u793E\u8C4A\u7530\u4E2D\u592E\u7814\u7A76\u6240
WO_2025225066_PA

Resumen de: WO2025225066A1

Disclosed is an inactivating agent for inactivating a nonaqueous secondary battery, the inactivating agent including: a redox shuttle agent which has a redox potential higher than that of the negative electrode active material of the nonaqueous secondary battery and lower than that of the positive electrode active material of the nonaqueous secondary battery at the Li reference potential; and N-methyl-2-pyrrolidone.

BATTERY, METHOD FOR PRODUCING BATTERY, AND DEVICE FOR PRODUCING BATTERY

NºPublicación:  WO2025225070A1 30/10/2025
Solicitante: 
PANASONIC INTELLECTUAL PROPERTY MAN CO LTD [JP]
\u30D1\u30CA\u30BD\u30CB\u30C3\u30AF\uFF29\uFF30\u30DE\u30CD\u30B8\u30E1\u30F3\u30C8\u682A\u5F0F\u4F1A\u793E
WO_2025225070_PA

Resumen de: WO2025225070A1

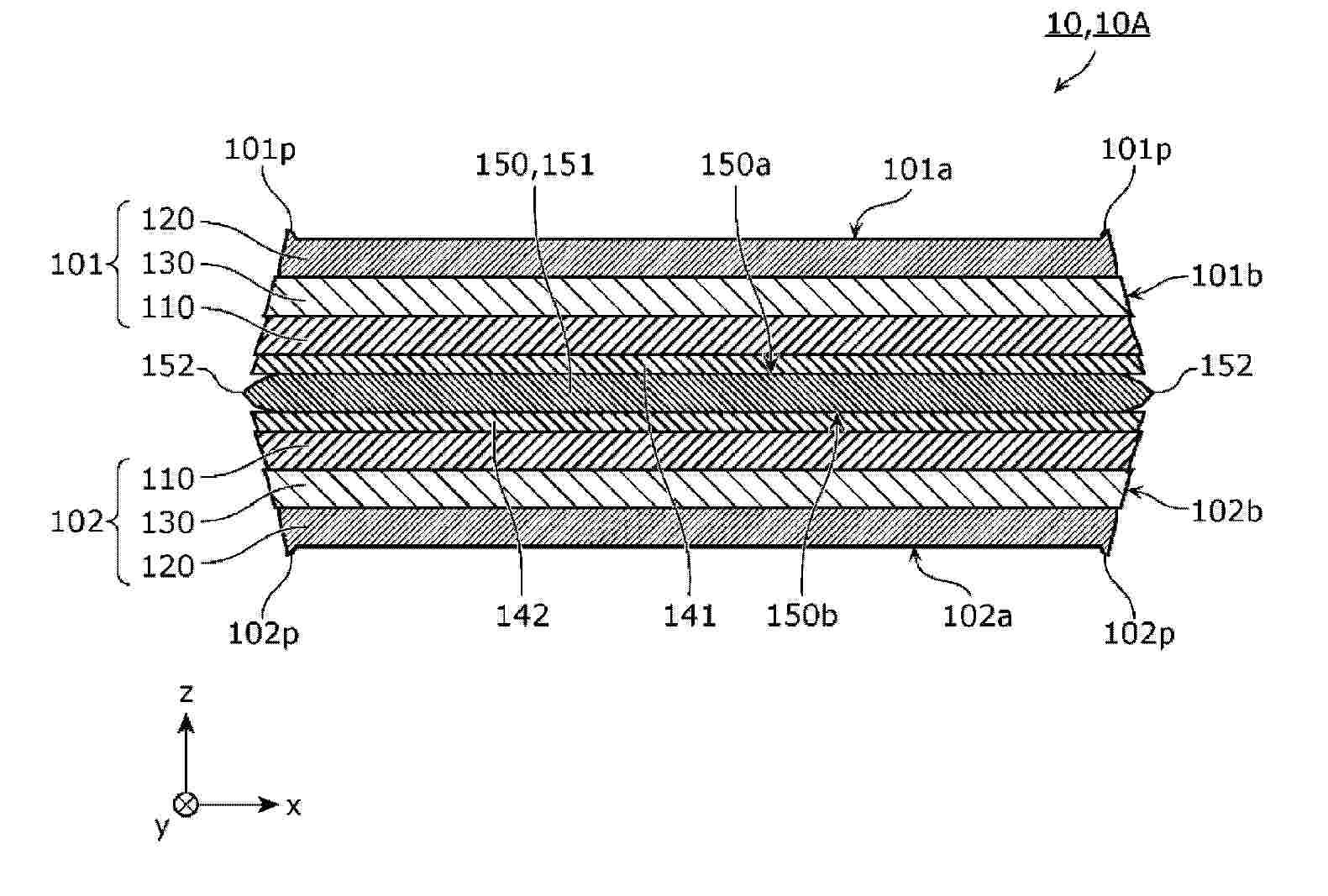
A battery according to the present disclosure comprises: a current collector that has a first main surface and a second main surface which is on the opposite side from the first main surface; a first unit cell that is provided on the first main surface; and a second unit cell that is provided on the second main surface. The current collector has: a body part which is a portion sandwiched between the first unit cell and the second unit cell; and a protruding part which protrudes past a first side surface of the first unit cell and a second side surface of the second unit cell. When the thickness of a tip end of the protruding part is represented as t and the thickness of the body part is represented as T, the expression t<T is satisfied.

SECONDARY BATTERY

NºPublicación:  WO2025225175A1 30/10/2025
Solicitante: 
PANASONIC INTELLECTUAL PROPERTY MAN CO LTD [JP]
\u30D1\u30CA\u30BD\u30CB\u30C3\u30AF\uFF29\uFF30\u30DE\u30CD\u30B8\u30E1\u30F3\u30C8\u682A\u5F0F\u4F1A\u793E
WO_2025225175_PA

Resumen de: WO2025225175A1

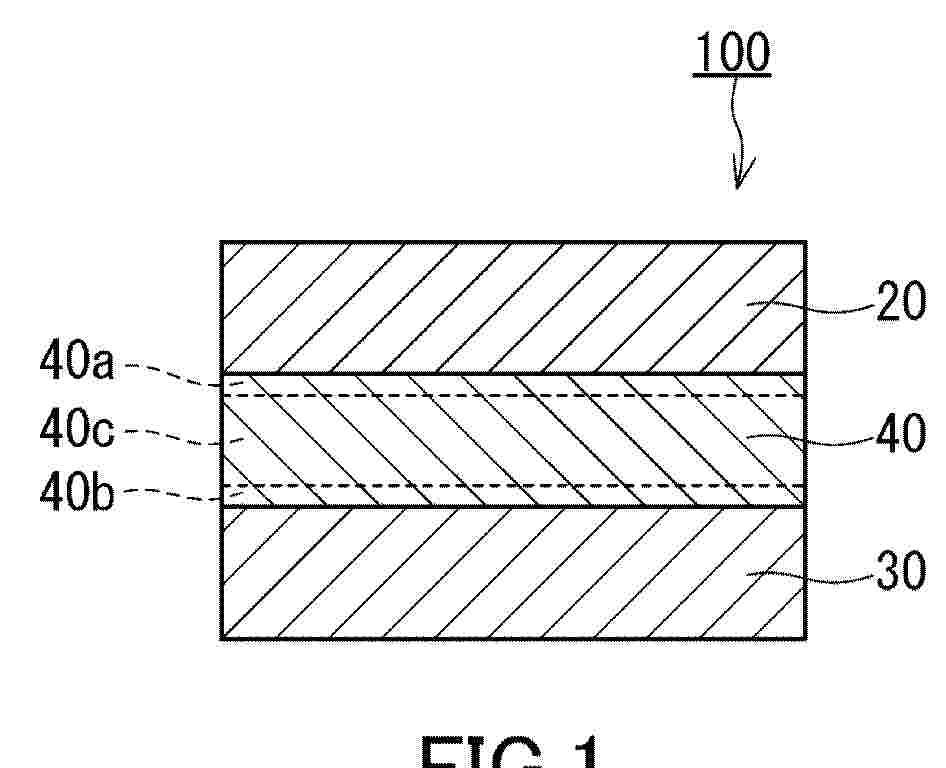
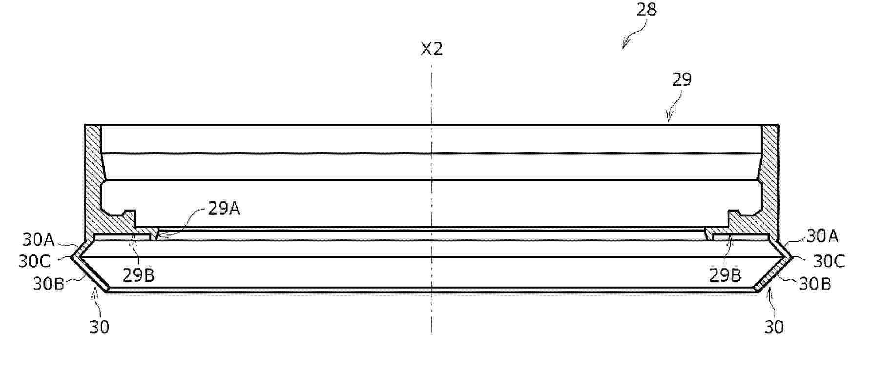
A secondary battery (10) is provided with: an electrode body (14) in which a positive electrode (11) and a negative electrode (12) are wound with a separator (13) therebetween; an electrolyte; a bottomed cylindrical outer can (16) that accommodates the electrode body (14) and the electrolyte; a sealing body (17) that closes an open end (16A) of the outer can (16); and an annular gasket (28) that is interposed between the outer can (16) and the sealing body (17). The bottom surface of the gasket (28) is provided with a protrusion (30) that protrudes further outward than the inner circumference of the outer can (16).

TRAY

Nº publicación: WO2025222715A1 30/10/2025

Solicitante:

CONTEMPORARY AMPEREX TECH CO LIMITED [CN]
CONTEMPORARY AMPEREX RUNZHI SOFTWARE TECH LIMITED [CN]
\u5B81\u5FB7\u65F6\u4EE3\u65B0\u80FD\u6E90\u79D1\u6280\u80A1\u4EFD\u6709\u9650\u516C\u53F8,
\u5B81\u5FB7\u65F6\u4EE3\u6DA6\u667A\u8F6F\u4EF6\u79D1\u6280\u6709\u9650\u516C\u53F8

WO_2025222715_PA

Resumen de: WO2025222715A1

Provided in the embodiments of the present application is a tray. The tray is used for carrying battery cells. The tray comprises a tray body and at least one row of bladder assemblies, the at least one row of bladder assemblies being disposed on the tray body, each row of the bladder assemblies comprising a plurality of bladder assemblies arranged at intervals in a first direction, and battery cells being placed between every two adjacent bladder assemblies. The bladder assemblies are arranged on the tray, and the battery cells are placed between every two adjacent bladders, such that the bladder assemblies can deform and swell by being filled with a fluid, so as to abut against the battery cells and fix same. The bladder assemblies can apply uniform pressure on the battery cells, thereby reducing the possibility of the battery cells being damaged, and improving the finished product quality of the battery cells.

traducir