Ministerio de Industria, Turismo y Comercio LogoMinisterior
 

Alerta

Resultados 1029 resultados
LastUpdate Última actualización 24/01/2026 [07:10:00]
pdfxls
Publicaciones de los últimos 15 días/Last 15 days publications (excluidas pubs. CN y JP /CN and JP pubs. excluded)
previousPage Resultados 225 a 250 de 1029 nextPage  

PREPARATION METHOD AND DEVICE FOR PHOSPHORUS PENTAFLUORIDE

NºPublicación:  WO2026017150A1 22/01/2026
Solicitante: 
GUANGZHOU TINCI MATERIALS TECH CO LTD [CN]
\u5E7F\u5DDE\u5929\u8D50\u9AD8\u65B0\u6750\u6599\u80A1\u4EFD\u6709\u9650\u516C\u53F8
WO_2026017150_A1

Resumen de: WO2026017150A1

Provided in the present invention are a preparation method and device for phosphorus pentafluoride. The preparation method comprises the following steps: 1) subjecting a hexafluorophosphoric acid solution to a first atomization treatment, so as to obtain atomized hexafluorophosphoric acid; and 2) subjecting a sulfuric acid solution and the atomized hexafluorophosphoric acid to a gas-liquid contact reaction at 80-140°C, so as to obtain phosphorus pentafluoride and a post-reaction solution. The preparation method for phosphorus pentafluoride provided by the present invention can prepare high-purity phosphorus pentafluoride, and has the advantages of a high reaction efficiency, a simple process, etc.

ELECTRODE SHEET, BATTERY CELL, BATTERY, BATTERY PACK AND ELECTRIC APPARATUS

NºPublicación:  WO2026017092A1 22/01/2026
Solicitante: 
BYD COMPANY LTD [CN]
\u6BD4\u4E9A\u8FEA\u80A1\u4EFD\u6709\u9650\u516C\u53F8
WO_2026017092_PA

Resumen de: WO2026017092A1

An electrode sheet, a battery cell, a battery, a battery pack and an electric apparatus. The electrode sheet comprises an electrode sheet foil and a tab foil, wherein the electrode sheet foil comprises a substrate and two plated layers, the two plated layers being respectively located on opposite sides of the substrate; the tab foil comprises an upper-layer foil and a lower-layer foil connected to each other; the upper-layer foil is connected to one of the plated layers, and the lower-layer foil is connected to the other plated layer; and the upper-layer foil and the lower-layer foil are connected to each other outside the electrode sheet foil, so as to electrically connect the plated layers on the two sides of the substrate.

BATTERY COVER PLATE AND BATTERY

NºPublicación:  WO2026016905A1 22/01/2026
Solicitante: 
HEFEI GOTION HIGH TECH POWER ENERGY CO LTD [CN]
\u5408\u80A5\u56FD\u8F69\u9AD8\u79D1\u52A8\u529B\u80FD\u6E90\u6709\u9650\u516C\u53F8
WO_2026016905_PA

Resumen de: WO2026016905A1

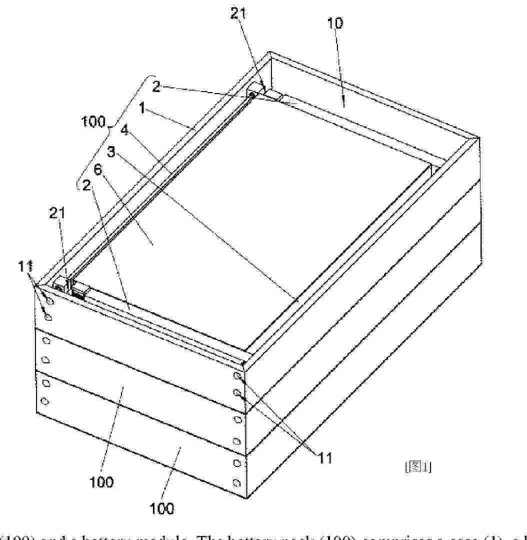
The present application discloses a battery cover plate and a battery. The battery cover plate comprises a substrate. The substrate is provided with a welding hole and a liquid injection hole; the surface of the substrate is provided with a first reinforcing portion located in the circumferential direction of the welding hole and a second reinforcing portion located in the circumferential direction of the liquid injection hole; the first reinforcing portion and the second reinforcing portion are connected to form an integral structure; both the first reinforcing portion and the second reinforcing portion protrude from the surface of the substrate; the bottom surface of the substrate is provided with a third reinforcing portion located in the circumferential direction of the welding hole; and the third reinforcing portion protrudes from the bottom surface of the substrate. The present application enhances the strength at the position of the welding hole and the position of the liquid injection hole, thereby ensuring that after installed in the welding hole, an explosion-proof valve maintains a stable opening pressure.

DISTRIBUTION BOX, BATTERY PACK, AND VEHICLE

NºPublicación:  WO2026016929A1 22/01/2026
Solicitante: 
BYD COMPANY LTD [CN]
\u6BD4\u4E9A\u8FEA\u80A1\u4EFD\u6709\u9650\u516C\u53F8
WO_2026016929_PA

Resumen de: WO2026016929A1

The present application relates to the technical field of distribution-box accessories, and relates in particular to a distribution box, a battery pack, and a vehicle. The distribution box comprises a main body portion, a first heating element, and a second heating element. The amount of heat generated per unit time by the first heating element is greater than the amount of heat generated per unit time by the second heating element. The main body portion is provided with a first accommodating cavity and a second accommodating cavity. The first accommodating cavity accommodates the first heating element and the second accommodating cavity accommodates the second heating element. The first heating element is configured to be arranged between the second heating element and a cooling apparatus of the battery pack, such that heat from the first heating element, which has a greater heat generation amount, can be quickly conducted away, thereby improving the temperature uniformity of the distribution box and preventing overheating of the distribution box caused by the failure to promptly discharge heat from the first heating element.

SECONDARY BATTERY AND BATTERY PACK

NºPublicación:  WO2026016885A1 22/01/2026
Solicitante: 
SUNWODA MOBILITY ENERGY TECH CO LTD [CN]
\u6B23\u65FA\u8FBE\u52A8\u529B\u79D1\u6280\u80A1\u4EFD\u6709\u9650\u516C\u53F8
WO_2026016885_PA

Resumen de: WO2026016885A1

The present application relates to the technical field of batteries, and discloses a secondary battery and a battery pack. The secondary battery comprises a casing, a top cover assembly, a jelly roll, and a cooling assembly. The casing is provided with an accommodating cavity. The accommodating cavity forms a first opening in the casing. The top cover assembly comprises a top cover sheet, and the top cover sheet is connected to the casing and seals the first opening. The jelly roll is provided in the accommodating cavity. The cooling assembly comprises a liquid cooling plate and a flow guide member, wherein the liquid cooling plate is provided in the accommodating cavity and is fit with the jelly roll, the liquid cooling plate is provided with a flow channel, the flow guide member passes through the top cover sheet, and the liquid cooling plate is located on the side of the flow guide member close to the jelly roll. The flow guide member is electrically connected to the top cover sheet, the flow guide member is electrically connected to the liquid cooling plate, the flow guide member is communicated with the flow channel, and the flow guide member is used for connecting to a thermal management component. In the present application, the flow guide member is configured so that a heat exchange medium in the liquid cooling plate can flow to the outside of the secondary battery for heat exchange, and in addition, the flow guide member electrically connected to the top cover sheet

ORGANIC POLYMER PARTICLE AND PREPARATION METHOD THEREFOR, SEPARATOR, SECONDARY BATTERY CELL, BATTERY DEVICE, AND ELECTRIC DEVICE

NºPublicación:  WO2026016680A1 22/01/2026
Solicitante: 
CONTEMPORARY AMPEREX TECH CO LIMITED [CN]
\u5B81\u5FB7\u65F6\u4EE3\u65B0\u80FD\u6E90\u79D1\u6280\u80A1\u4EFD\u6709\u9650\u516C\u53F8
WO_2026016680_PA

Resumen de: WO2026016680A1

An organic polymer particle and a preparation method therefor, a separator, a secondary battery cell, a battery device, and an electric device. The separator comprises a porous base membrane and a coating located on at least one side of the porous base membrane, wherein the coating comprises organic polymer particles, the organic polymer particles contain triazine ring structural units, and a differential scanning calorimetry curve of the organic polymer particles has no endothermic melting peaks at 300°C or lower. The secondary battery cell has both high reliability and a high mass energy density.

SECONDARY BATTERY AND ELECTRIC DEVICE

NºPublicación:  WO2026016726A1 22/01/2026
Solicitante: 
CONTEMPORARY AMPEREX TECH CO LIMITED [CN]
\u5B81\u5FB7\u65F6\u4EE3\u65B0\u80FD\u6E90\u79D1\u6280\u80A1\u4EFD\u6709\u9650\u516C\u53F8
WO_2026016726_A1

Resumen de: WO2026016726A1

The present application provides a secondary battery and an electric device. The secondary battery of the present application comprises a positive electrode sheet and a non-aqueous electrolyte. The positive electrode sheet comprises a positive electrode current collector and a positive electrode film layer located on the surface of at least one side of the positive electrode current collector, the porosity of the positive electrode film layer being 10%-35%. The non-aqueous electrolyte comprises an electrolyte additive, the electrolyte additive including one or more of substituted or unsubstituted 5-12 membered aromatic heterocyclic organic base additives and substituted or unsubstituted 5-12 membered aliphatic heterocyclic organic base additives. The cycle life, storage performance, and energy density of the secondary battery of the present application are improved.

UPPER COVER ASSEMBLY, BATTERY PACK AND ELECTRIC DEVICE

NºPublicación:  WO2026016891A1 22/01/2026
Solicitante: 
BYD COMPANY LTD [CN]
\u6BD4\u4E9A\u8FEA\u80A1\u4EFD\u6709\u9650\u516C\u53F8
WO_2026016891_PA

Resumen de: WO2026016891A1

An upper cover assembly, a battery pack and an electric device. The upper cover assembly comprises a frame and an upper cover, wherein the frame comprises a frame body, which encloses to form a cavity provided with an opening; the frame body has a connecting portion, which extends towards the interior of the cavity and is configured to connect a cell group of the battery pack; and the upper cover is connected to an upper portion of the frame body and closes the opening.

BINDER, SECONDARY BATTERY AND ELECTRIC DEVICE

NºPublicación:  WO2026016664A1 22/01/2026
Solicitante: 
CONTEMPORARY AMPEREX TECH CO LIMITED [CN]
\u5B81\u5FB7\u65F6\u4EE3\u65B0\u80FD\u6E90\u79D1\u6280\u80A1\u4EFD\u6709\u9650\u516C\u53F8
WO_2026016664_PA

Resumen de: WO2026016664A1

The present application provides a binder, a secondary battery and an electric device. The secondary battery comprises a negative electrode sheet. The negative electrode sheet comprises a negative electrode current collector and a negative electrode film layer. The negative electrode film layer comprises a negative electrode active material and a modified polyacrylic acid (PAA) binder, wherein the modified polyacrylic acid binder comprises an -SO3H group. Special functional group modification is performed on a PAA system, such that the binder comprises a -SO3H group. The -SO3H group can promote the desolvation of active ions. Specifically, by participating in the solvated coordination structure of active ions, the -SO3H group can reduce the activation energy barrier required for the desolvation of the active ions, and reduce the strong interaction force between the solvent molecules and the active ions, which helps active ions to be released, and thus can improve the kinetic performance of a secondary battery.

SILICON-CONTAINING ORGANIC RESIN PARTICLE AND PREPARATION METHOD THEREFOR, SILICON-CONTAINING ORGANIC RESIN PARTICLE EMULSION, SEPARATOR, SECONDARY BATTERY CELL, BATTERY DEVICE, AND ELECTRIC DEVICE

NºPublicación:  WO2026016676A1 22/01/2026
Solicitante: 
CONTEMPORARY AMPEREX TECH CO LIMITED [CN]
\u5B81\u5FB7\u65F6\u4EE3\u65B0\u80FD\u6E90\u79D1\u6280\u80A1\u4EFD\u6709\u9650\u516C\u53F8
WO_2026016676_PA

Resumen de: WO2026016676A1

A silicon-containing organic resin particle and a preparation method therefor, a silicon-containing organic resin particle emulsion, a separator, a secondary battery cell, a battery device and an electric device. The separator comprises a porous base membrane and a coating located on at least one side of the porous base membrane, wherein the coating comprises silicon-containing organic resin particles, the volume median diameter Dv50 of the silicon-containing organic resin particles is 80-320 nm, and the particle size distribution (Dv90-Dv10)/Dv50 of the silicon-containing organic resin particles is less than or equal to 1.7. The secondary battery cell has high reliability, a high mass energy density and good cycle performance.

SULFIDE SOLID-STATE ELECTROLYTE PRECURSOR, ELECTROLYTE PRECURSOR HAVING SILOXANE, PREPARATION METHOD FOR SULFIDE SOLID-STATE ELECTROLYTE, AND BATTERY

NºPublicación:  WO2026017045A1 22/01/2026
Solicitante: 
HEFEI GOTION HIGH TECH POWER ENERGY CO LTD [CN]
\u5408\u80A5\u56FD\u8F69\u9AD8\u79D1\u52A8\u529B\u80FD\u6E90\u6709\u9650\u516C\u53F8
WO_2026017045_PA

Resumen de: WO2026017045A1

A sulfide solid-state electrolyte precursor, an electrolyte precursor having siloxane, a preparation method for a sulfide solid-state electrolyte, and a battery, relating to the technical field of batteries. The method comprises: preparing electrolyte raw materials according to a stoichiometric ratio in the chemical formula of a sulfide solid-state electrolyte, adding a first solvent, and performing ball milling to form an electrolyte precursor; placing the electrolyte precursor in a second solvent containing siloxane, and heating and stirring the mixture, so that the siloxane is coated on the electrolyte precursor to form an electrolyte precursor having siloxane; and sintering the electrolyte precursor having siloxane to obtain a doped and coated sulfide electrolyte. By forming a coating layer on the outer side of the sulfide electrolyte, the air stability of the sulfide solid-state electrolyte is greatly improved, and the interfacial stability between the sulfide electrolyte and lithium metal is improved, thereby achieving high cycle stability of all-solid-state lithium metal batteries.

LITHIUM-ION BATTERY AND PREPARATION METHOD THEREFOR

NºPublicación:  WO2026017036A1 22/01/2026
Solicitante: 
BYD COMPANY LTD [CN]
\u6BD4\u4E9A\u8FEA\u80A1\u4EFD\u6709\u9650\u516C\u53F8
WO_2026017036_PA

Resumen de: WO2026017036A1

A lithium-ion battery and a preparation method therefor. The lithium-ion battery comprises a positive electrode sheet, a separator and a negative electrode sheet, which are stacked in sequence, wherein the surface of the negative electrode sheet is provided with a solid electrolyte interface film, and the solid electrolyte interface film comprises a lithium oxide. The solid electrolyte interface film is subjected to a sputtering test by using an X-ray photoelectron spectrometer. Under at least one sputtering depth in the range of 30-70 nm, the atomic percentage of lithium is A, and the atomic percentage of oxygen is B, wherein A≥50%, and B≥20%; and the ratio of the atomic percentage of lithium to that of oxygen is greater than 1.5.

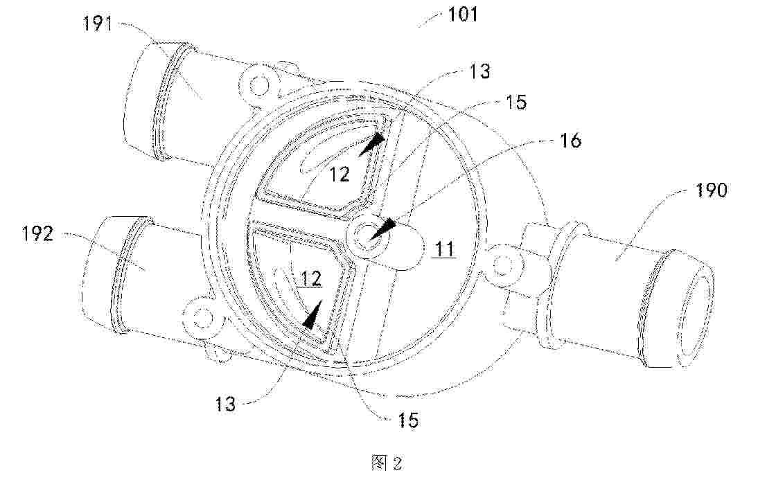
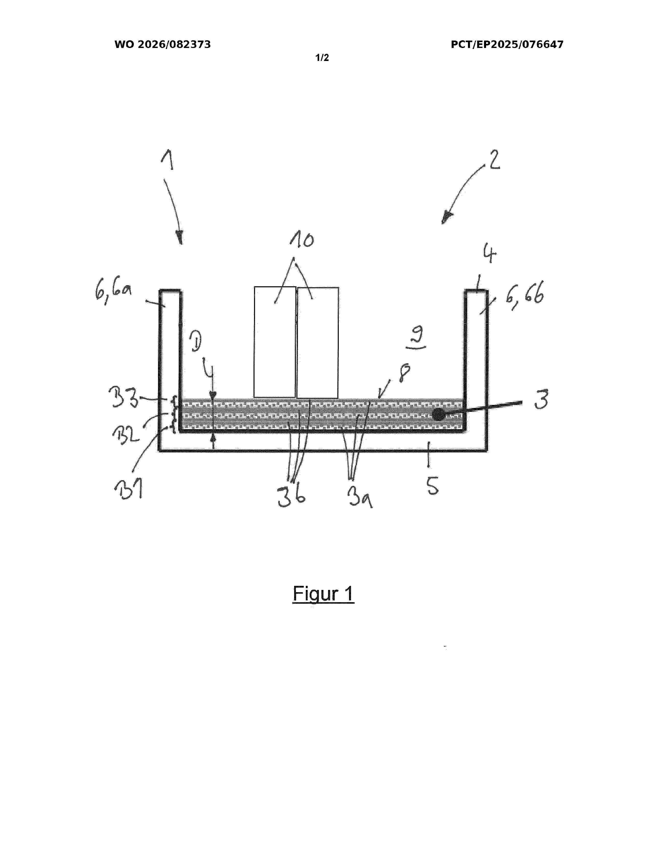
FLOW CONTROL VALVE AND HEAT EXCHANGE SYSTEM HAVING SAME, AND VEHICLE

NºPublicación:  WO2026016865A1 22/01/2026
Solicitante: 
BYD COMPANY LTD [CN]
\u6BD4\u4E9A\u8FEA\u80A1\u4EFD\u6709\u9650\u516C\u53F8
WO_2026016865_PA

Resumen de: WO2026016865A1

A flow control valve and a heat exchange system having same, and a vehicle. The flow control valve (1) comprises: a valve housing (10), which defines a water intake cavity (11) and a water output cavity (12), the water intake cavity (11) being in communication with the water output cavity (12) by means of a water passage hole (13); and a valve core (20), which is arranged within the valve housing (10) and is configured to change the flow area of the water passage hole (13), wherein the water passage hole (13) has a first arc-shaped edge (131) and a second arc-shaped edge (132) which are arranged opposite each other, and the center of the circle where the first arc-shaped edge (131) is located and the center of the circle where the second arc-shaped edge (132) is located are both located on the axis of rotation of the valve core (20).

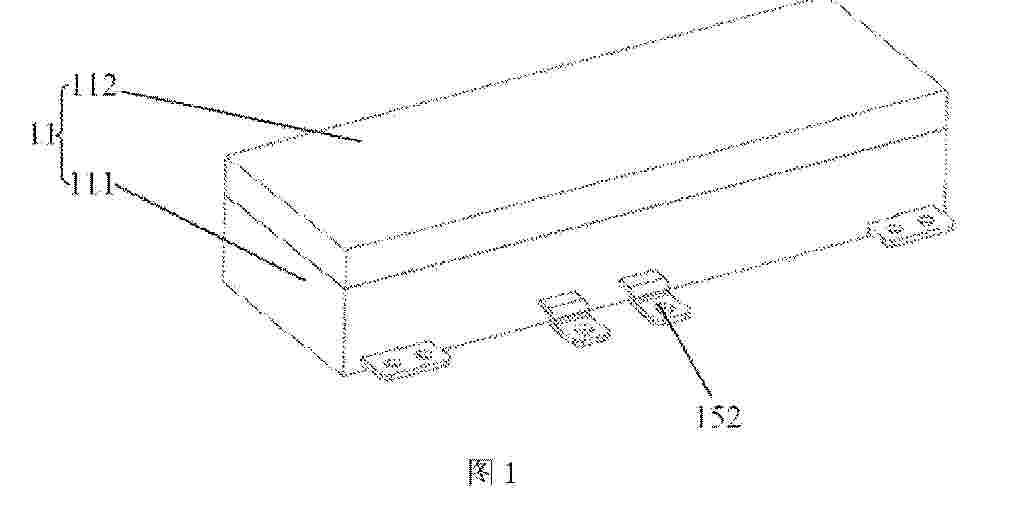
BATTERY COVER PLATE, BATTERY, AND BATTERY PACK

NºPublicación:  WO2026016864A1 22/01/2026
Solicitante: 
SVOLT ENERGY TECH CO LTD [CN]
\u8702\u5DE2\u80FD\u6E90\u79D1\u6280\u80A1\u4EFD\u6709\u9650\u516C\u53F8
WO_2026016864_PA

Resumen de: WO2026016864A1

The present application relates to the technical field of batteries, and discloses a battery cover plate, a battery, and a battery pack. The battery cover plate comprises: a cover plate body, terminal posts, a first insulating member, and sealing rings; the compressed volume of the sealing rings pressed by the first insulating member is V1, and the compressed volume of the sealing rings pressed by the cover plate body is V2; before the sealing rings are compressed, a first reserved space and a second reserved space are formed, the volume of the first reserved space is V3, and the volume of the second reserved space is V4; the volumes satisfy: 50%≤(V3+V4)/(V1+V2)≤120%, and (V1+V2)≥V3. The present application at least ensures that the first reserved space is completely filled, achieving effective sealing of the battery cover plate; moreover, the present application avoids both permanent deformation of the sealing rings due to excessive compression and deformation of components, such as the first insulating member and the cover plate body, due to excessive compression, and also prevents the first reserved space and the second reserved space from occupying excessive space of the battery cover plate.

GRAPHITE NEGATIVE ELECTRODE PARTICLES, PREPARATION METHOD THEREFOR, BATTERY, AND ENERGY STORAGE APPARATUS

NºPublicación:  WO2026016851A1 22/01/2026
Solicitante: 
XIAMEN HITHIUM ENERGY STORAGE TECH CO LTD [CN]
\u53A6\u95E8\u6D77\u8FB0\u50A8\u80FD\u79D1\u6280\u80A1\u4EFD\u6709\u9650\u516C\u53F8
WO_2026016851_PA

Resumen de: WO2026016851A1

The present application provides graphite negative electrode particles, a preparation method therefor, a battery, and an energy storage apparatus. The graphite negative electrode particles in the embodiments of the present application comprise multiple layers stacked sequentially, the graphite negative electrode particles are also provided with multiple openings, each of the openings penetrates some of the multiple layers, and the sizes of the openings gradually decrease from the mouths of the openings to the bottom walls of the openings.

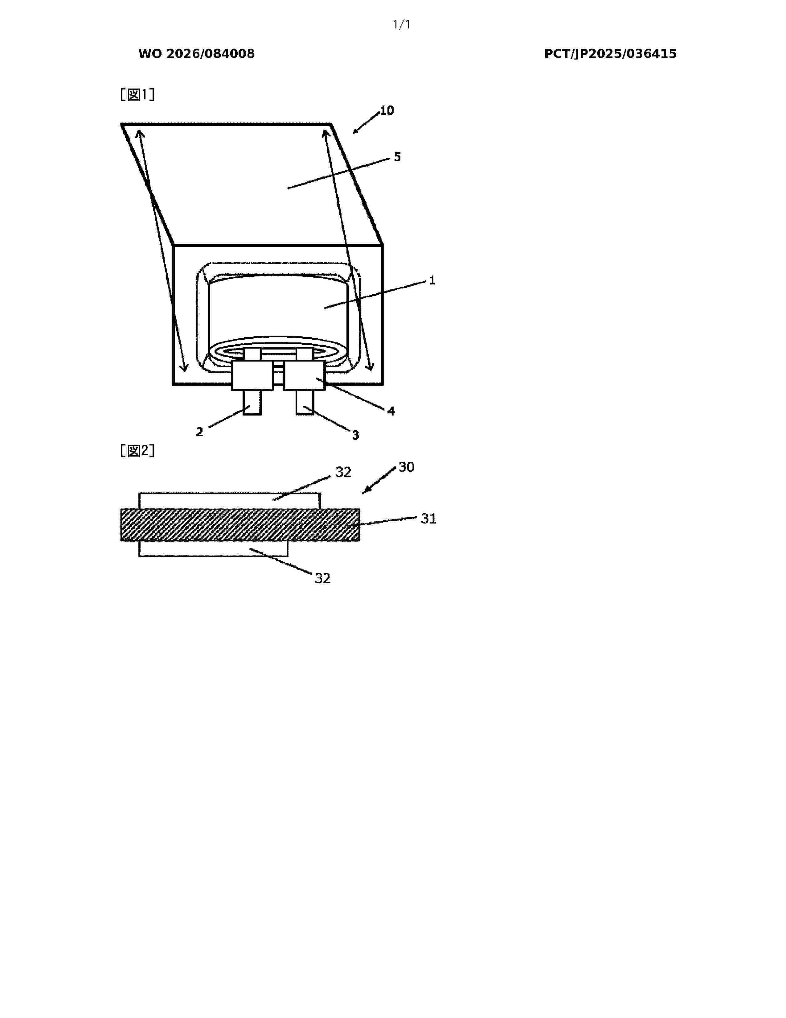
BATTERY PACK

NºPublicación:  WO2026018871A1 22/01/2026
Solicitante: 
AESC JAPAN LTD [JP]
\u682A\u5F0F\u4F1A\u793E\uFF21\uFF25\uFF33\uFF23\u30B8\u30E3\u30D1\u30F3
WO_2026018871_PA

Resumen de: WO2026018871A1

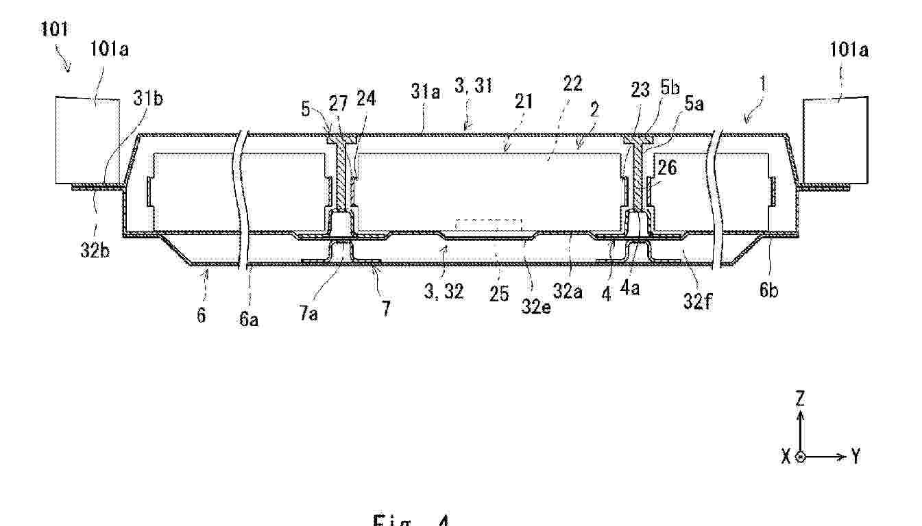
A battery pack (10) comprises a battery module (100) and a channel (300) for conveying a refrigerant for cooling the battery module (100). The channel (300) has: a first upstream discharge channel (308a1) into which a refrigerant having a prescribed first flow rate flows; a first downstream discharge channel (308a2) which is located downstream of the first upstream discharge channel (308a1) and into which a refrigerant having a second flow rate that is less than the first flow rate flows from a region different from the first upstream discharge channel (308a1); a second upstream discharge channel (308b1) which branches off from the first upstream discharge channel (308a1) and into which a refrigerant having a third flow rate that is less than both the first flow rate and the second flow rate flows; and a second downstream discharge channel (308b2) that is located downstream of the second upstream discharge channel (308b1). A portion between the first upstream discharge channel (308a1) and the first downstream discharge channel (308a2) of the channel (300) and a portion between the second upstream discharge channel (308b1) and the second downstream discharge channel (308b2) of the channel (300) are fluidly connected to each other.

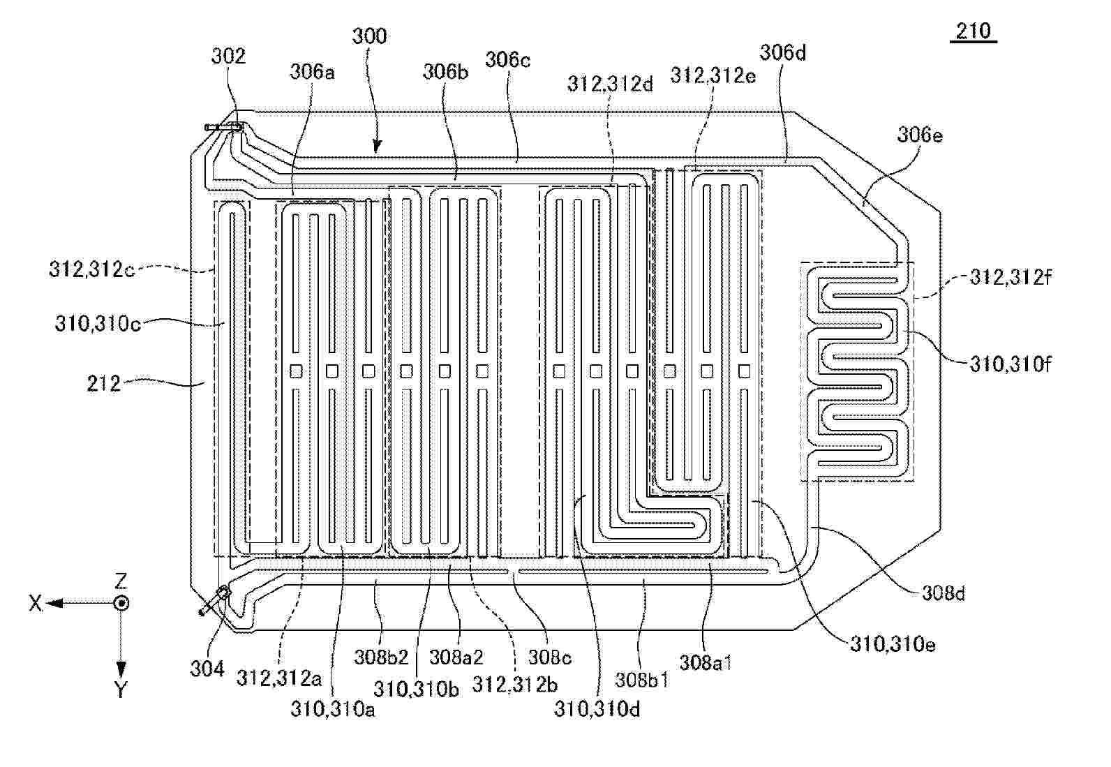
BATTERY PACK

NºPublicación:  WO2026018869A1 22/01/2026
Solicitante: 
AESC JAPAN LTD [JP]
\u682A\u5F0F\u4F1A\u793E\uFF21\uFF25\uFF33\uFF23\u30B8\u30E3\u30D1\u30F3
WO_2026018869_PA

Resumen de: WO2026018869A1

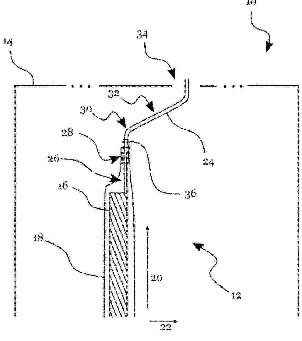
A battery pack (10) comprises a battery module (100) and a channel (300) for conveying a refrigerant for cooling the battery module (100). The channel (300) has: a fourth cooling channel (310d) and a fifth cooling channel (310e) that at least partially overlap a third battery module (100c) and a fourth battery module (100d); and a sixth cooling channel (310f) branching off from the fifth cooling channel (310e). The channel length of the fourth cooling channel (310d) is longer than the channel length of the fifth cooling channel (310e).

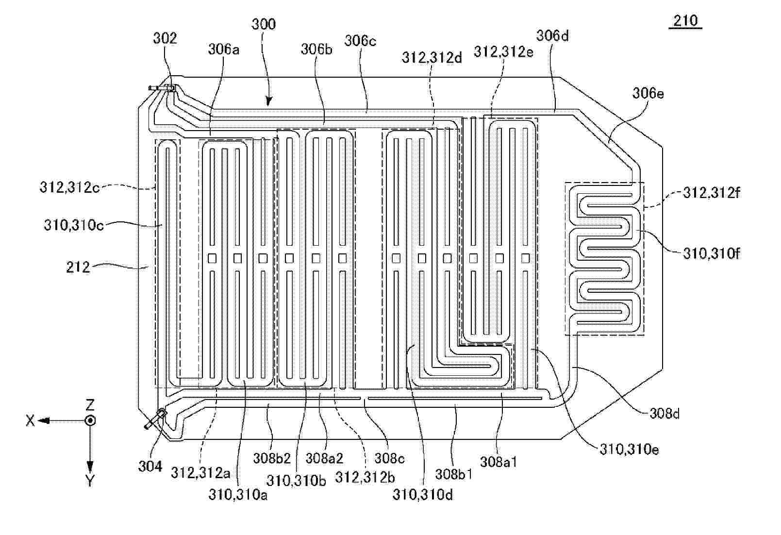
BATTERY PACK

NºPublicación:  WO2026018870A1 22/01/2026
Solicitante: 
AESC JAPAN LTD [JP]
\u682A\u5F0F\u4F1A\u793E\uFF21\uFF25\uFF33\uFF23\u30B8\u30E3\u30D1\u30F3
WO_2026018870_PA

Resumen de: WO2026018870A1

A battery pack (10) comprises a battery module (100) and a channel (300) for conveying a refrigerant for cooling the battery module (100). The channel (300) has: a first cooling channel (310a) and a second cooling channel (310b) that at least partially overlap a first battery module (100a) and a second battery module (100b); and a third cooling channel (310c) connected to the first cooling channel (310a).

LITHIUM SECONDARY BATTERY

NºPublicación:  WO2026018394A1 22/01/2026
Solicitante: 
NISSAN MOTOR CO LTD [JP]
\u65E5\u7523\u81EA\u52D5\u8ECA\u682A\u5F0F\u4F1A\u793E
WO_2026018394_PA

Resumen de: WO2026018394A1

Provided is a means capable of increasing discharge capacity in a lithium secondary battery in which manganese dioxide is used as a positive electrode active material and which contains a solid electrolyte. This lithium secondary battery has a power generation element comprising: a positive electrode which has a positive electrode active material containing manganese dioxide and a positive electrode active material layer containing a first solid electrolyte; a negative electrode which has a negative electrode active material layer containing a negative electrode active material; and a solid electrolyte layer which is located between the positive electrode and the negative electrode and contains a second solid electrolyte, wherein the average secondary particle diameter of the manganese dioxide is less than 2 μm, and the average secondary particle diameter of the manganese dioxide is less than 0.9 in relation to the average secondary particle diameter of the first solid electrolyte.

COVER PROTECTOR AND BATTERY MODULE

NºPublicación:  WO2026018863A1 22/01/2026
Solicitante: 
IBIDEN CO LTD [JP]
NISSAN MOTOR CO LTD [JP]
\u30A4\u30D3\u30C7\u30F3\u682A\u5F0F\u4F1A\u793E,
\u65E5\u7523\u81EA\u52D5\u8ECA\u682A\u5F0F\u4F1A\u793E
WO_2026018863_PA

Resumen de: WO2026018863A1

Provided is a cover protector capable of maintaining excellent adhesive performance without delamination of a multilayer structure even when exposed to high heat or flames from a battery cell causing thermal runaway, and thereby capable of protecting a heat insulating material from scattered matter and maintaining excellent heat insulating performance. The cover protector (1) has a heat insulating material (2) and an inorganic fiber sheet (3) adhered to the heat insulating material (2) by an adhesive (4). The oxygen index of the cover protector (1) is greater than 24.7% as measured in accordance with JIS K7201-2, and the viscosity at 250°C of an adhesive material constituting the adhesive (4) is 40 Pa·s or more.

LITHIUM SECONDARY BATTERY

NºPublicación:  WO2026018395A1 22/01/2026
Solicitante: 
NISSAN MOTOR CO LTD [JP]
\u65E5\u7523\u81EA\u52D5\u8ECA\u682A\u5F0F\u4F1A\u793E
WO_2026018395_PA

Resumen de: WO2026018395A1

The purpose of the present invention is to provide a means that, by using manganese dioxide as a positive electrode active material, is capable of increasing discharge capacity of a lithium secondary battery including a solid electrolyte. The present invention provides a lithium secondary battery that is provided with a power generation element comprising: a positive electrode that has a positive electrode active material layer containing, as a positive electrode active material, manganese dioxide having a specific surface area of 20 m2/g or less and containing a first solid electrolyte; a negative electrode that has a negative electrode active material layer containing a negative electrode active material; and a solid electrolyte layer that is interposed between the positive electrode and the negative electrode and that contains a second solid electrolyte.

SECONDARY BATTERY

NºPublicación:  WO2026018591A1 22/01/2026
Solicitante: 
MURATA MFG CO LTD [JP]
\u682A\u5F0F\u4F1A\u793E\u6751\u7530\u88FD\u4F5C\u6240
WO_2026018591_PA

Resumen de: WO2026018591A1

Provided is a secondary battery in which charge/discharge characteristics can be improved. The secondary battery comprises: a positive electrode that includes positive electrode active material particles; a negative electrode; and an electrolyte that contains an aqueous solvent. The positive electrode active material particles include a lithium manganese composite oxide having a spinel crystal structure. The pH of the electrolyte is smaller than 9. The ratio I2/I1 of the maximum value I1 of scattered light intensity in the range of 600 cm-1 to 700 cm-1 and the maximum value I2 of scattered light intensity in the range of 950 cm-1 to 1000 cm-1 as measured by Raman spectroscopy using excitation light of 532 nm on the surface of the positive electrode active material particles is 0.2 to 2, inclusive. The molar ratio of phosphorus to manganese as measured by X-ray photoelectron spectroscopy on the surface of the positive electrode active material particles is 0.2 to 5, inclusive.

BATTERY DETERIORATION ESTIMATION SYSTEM AND BATTERY DETERIORATION ESTIMATION PROGRAM

NºPublicación:  WO2026018527A1 22/01/2026
Solicitante: 
DENSO CORP [JP]
\u682A\u5F0F\u4F1A\u793E\u30C7\u30F3\u30BD\u30FC
WO_2026018527_PA

Resumen de: WO2026018527A1

A battery deterioration estimation system (101) comprising: a use history acquisition unit (41) that acquires a use history (A) of a plurality of batteries (1a) included in a battery pack (1); a simple measurement data acquisition unit (42) that acquires simple measurement data (B) of the plurality of batteries (1a); and a deterioration calculation unit (44) that calculates battery deterioration performance (D) on the basis of the use history (A) acquired by the use history acquisition unit (41) and the simple measurement data (B) acquired by the simple measurement data acquisition unit (42). The deterioration calculation unit (44) calculates a reference deterioration performance (Da) from the use history (A), and corrects the reference deterioration performance (Da) to the battery deterioration performance (D) on the basis of the simple measurement data (B).

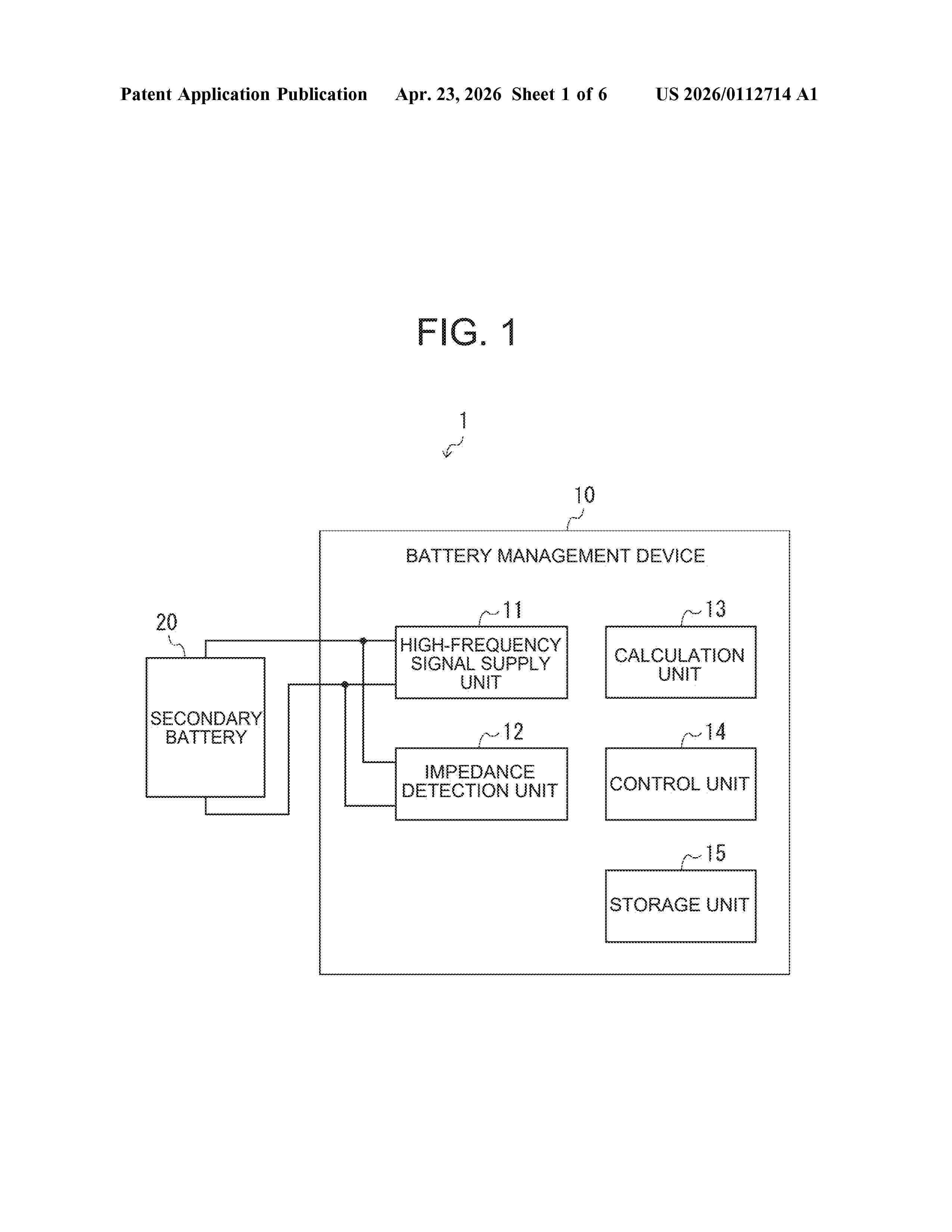
DETERIORATION STATE ESTIMATION DEVICE AND DETERIORATION STATE ESTIMATION METHOD

NºPublicación:  WO2026018044A1 22/01/2026
Solicitante: 
NISSAN MOTOR CO LTD [JP]
RENAULT S A S [FR]
\u65E5\u7523\u81EA\u52D5\u8ECA\u682A\u5F0F\u4F1A\u793E,
\u30EB\u30CE\u30FC \u30A8\u30B9\uFF0E\u30A2\uFF0E\u30A8\u30B9\uFF0E
WO_2026018044_PA

Resumen de: WO2026018044A1

A deterioration state estimation device (1) that estimates a deterioration state of a secondary battery comprises: a storage unit that stores initial data of an initial state of a secondary battery; an acquisition unit (11) that acquires an electric current and a voltage of the secondary battery; and a deterioration state estimation unit (13) that estimates a deterioration state of the secondary battery. The initial data includes data of initial battery characteristics indicating a relationship between an electric current integrated value and a positive electrode OCP of the secondary battery in an initial state. The deterioration state estimation unit (13) calculates the electric current integrated value and the positive electrode OCP of the secondary battery after deterioration on the basis of the electric current and the voltage of the secondary battery acquired by the acquisition unit (11), and estimates a positive electrode deterioration degree of the secondary battery on the basis of the difference between the initial battery characteristics and post-deterioration battery characteristics indicating the relationship between the electric current integrated value and the positive electrode OCP of the secondary battery after deterioration.

METHOD FOR MANUFACTURING ALL-SOLID-STATE BATTERY

Nº publicación: WO2026018389A1 22/01/2026

Solicitante:

NISSAN MOTOR CO LTD [JP]
\u65E5\u7523\u81EA\u52D5\u8ECA\u682A\u5F0F\u4F1A\u793E

WO_2026018389_PA

Resumen de: WO2026018389A1

Provided is a method for manufacturing an all-solid-state battery, namely an all-solid-state battery containing Li metal or an Li alloy in a negative electrode, said method making it possible at the time of manufacture to easily detect the presence or absence of a short-circuit cell before a plurality of battery cells are connected in parallel. This method for manufacturing an all-solid-state battery comprises: a pressing step for pressing a laminate consisting of a repeating arrangement of a negative electrode containing lithium metal or a lithium alloy, a solid electrolyte layer and a positive electrode, thereby forming an all-solid-state battery laminate in which a plurality of battery cells are laminated; a leaving step for leaving the all-solid-state battery laminate; a measurement step for measuring data resulting from the thickness of the battery cells after the leaving step; and a detection step for detecting the presence or absence of a short circuit in the battery cells on the basis of the data obtained in the measurement step. From the start of the pressing step to the end of the detection step, a state in which current collectors of the same electrode are not electrically connected to one another is maintained.

traducir