Ministerio de Industria, Turismo y Comercio LogoMinisterior
 

Alerta

Resultados 1383 resultados
LastUpdate Última actualización 29/10/2025 [07:38:00]
pdfxls
Publicaciones de los últimos 15 días/Last 15 days publications (excluidas pubs. CN y JP /CN and JP pubs. excluded)
previousPage Resultados 250 a 275 de 1383 nextPage  

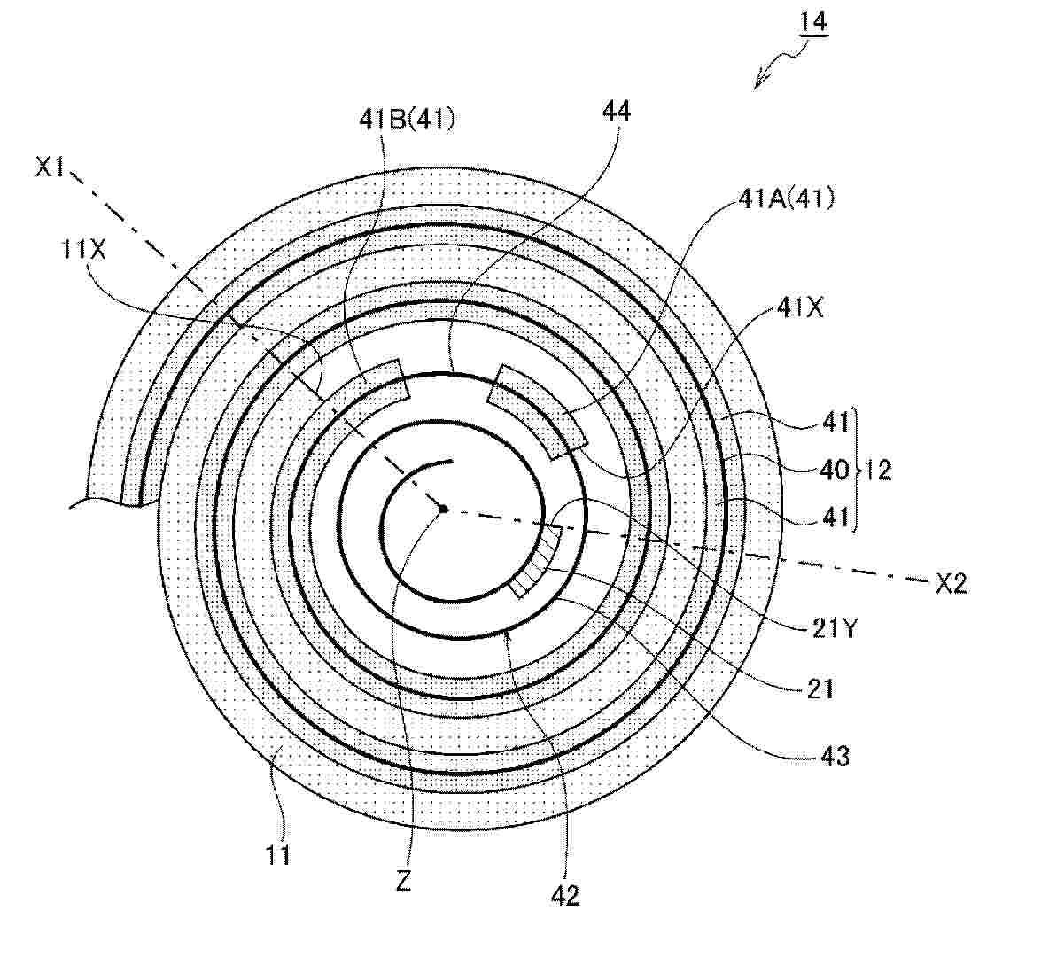
NON-AQUEOUS ELECTROLYTE SECONDARY BATTERY

NºPublicación:  WO2025220349A1 23/10/2025
Solicitante: 
PANASONIC INTELLECTUAL PROPERTY MAN CO LTD [JP]
\u30D1\u30CA\u30BD\u30CB\u30C3\u30AF\uFF29\uFF30\u30DE\u30CD\u30B8\u30E1\u30F3\u30C8\u682A\u5F0F\u4F1A\u793E
WO_2025220349_PA

Resumen de: WO2025220349A1

The present invention is characterized by comprising an electrode body (14) in which a positive electrode (11) and a negative electrode (12) are wound with a separator interposed therebetween, and is characterized in that: the negative electrode (12) includes a negative electrode current collector (40) and a negative electrode mixture layer (41) that is disposed on the negative electrode current collector (40); the negative electrode (12) has a non-facing portion (42) that is wound in a state of not facing the positive electrode (11) across the separator on the winding-start side of the electrode body (14); and, in the non-facing portion (42), a mixture-uncoated portion (44) in which the negative electrode current collector (40) is exposed is provided in a region closer to the winding-end side than the mixture starting end (41X) of the negative electrode mixture layer (41).

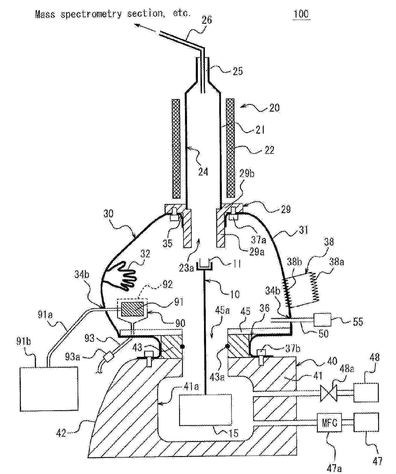
SODIUM-SULFUR SECONDARY BATTERY AND METHOD FOR MANUFACTURING SODIUM-SULFUR SECONDARY BATTERY

NºPublicación:  WO2025220217A1 23/10/2025
Solicitante: 
NGK INSULATORS LTD [JP]
BASF SE [DE]
\u65E5\u672C\u788D\u5B50\u682A\u5F0F\u4F1A\u793E,
\u30D3\u30FC\u30A8\u30A4\u30A8\u30B9\u30A8\u30D5\u30FB\u30BD\u30B7\u30A8\u30BF\u30B9\u30FB\u30E8\u30FC\u30ED\u30D4\u30A2
WO_2025220217_PA

Resumen de: WO2025220217A1

This sodium-sulfur secondary battery is provided with: a positive electrode container in which an inner surface thereof is an anti-corrosion layer comprising an Fe-Cr alloy; a solid electrolyte tube disposed inside the positive electrode container so as to be separated from the positive electrode container; a positive electrode chamber which is surrounded by the positive electrode container and the solid electrolyte tube and in which a positive electrode current collector containing sulfur, which is a positive electrode active material, is disposed; and a negative electrode chamber which is the interior of the solid electrolyte tube separated from the positive electrode chamber by the solid electrolyte tube and in which metal sodium, which is a negative electrode active material, is disposed, wherein a high resistance layer containing glass fibers is provided integrally with the positive electrode current collector on the solid electrolyte tube side of the positive electrode current collector, the high resistance layer is in contact with the solid electrolyte tube, and a carbon sheet is interposed between the positive electrode current collector and the inner surface of the positive electrode container.

DISPERSING AGENT, POSITIVE ELECTRODE SLURRY, POSITIVE ELECTRODE SHEET, BATTERY AND ELECTRIC DEVICE

NºPublicación:  WO2025218148A1 23/10/2025
Solicitante: 
CONTEMPORARY AMPEREX TECH CO LIMITED [CN]
\u5B81\u5FB7\u65F6\u4EE3\u65B0\u80FD\u6E90\u79D1\u6280\u80A1\u4EFD\u6709\u9650\u516C\u53F8
WO_2025218148_A1

Resumen de: WO2025218148A1

The present application relates to a dispersing agent, a positive electrode slurry, a positive electrode sheet, a battery and an electric device. The dispersing agent comprises an anionic organic chain segment and a non-ionic organic chain segment, wherein the anionic organic chain segment comprises a carbon-carbon main chain and a first group connected to the carbon-carbon main chain; and the non-ionic organic chain segment is connected to the carbon-carbon main chain and comprises a second group, with the polarity of the second group being lower than that of the first group. In the embodiments of the present application, the dispersing agent has excellent dispersing performance and can effectively disperse particles in a positive electrode slurry.

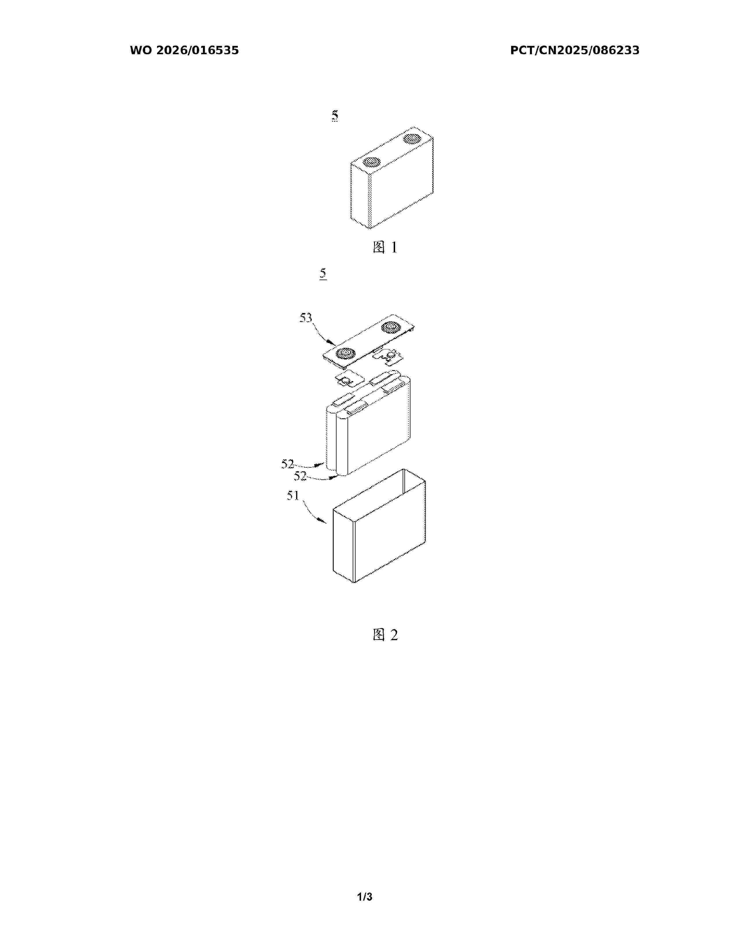
INSULATING FILM, PIN STRUCTURE, AND BATTERY

NºPublicación:  WO2025218071A1 23/10/2025
Solicitante: 
HUIZHOU EVE POWER CO LTD [CN]
EVE POWER CO LTD [CN]
\u60E0\u5DDE\u4EBF\u7EAC\u52A8\u529B\u7535\u6C60\u6709\u9650\u516C\u53F8,
\u6E56\u5317\u4EBF\u7EAC\u52A8\u529B\u6709\u9650\u516C\u53F8
WO_2025218071_PA

Resumen de: WO2025218071A1

An insulating film (100), a pin structure, and a battery. The insulating film (100) comprises an insulating film body (1) and an adhesive (2); the insulating film body (1) comprises a first insulating part (11) and a second insulating part (12); the first insulating part (11) extends in a first direction; the second insulating part (12) extends in a second direction and is connected to the first insulating part (11); the adhesive (2) is arranged on the first insulating part (11); the projection of the adhesive (2) on the insulating film body (1) falls on the first insulating part (11) and falls outside the second insulating part (12); and the adhesive (2) is configured to connect the first insulating part (11) and a pin (5).

BATTERY THERMAL RUNAWAY PROPAGATION PREVENTION SYSTEM AND SAFE BATTERY

NºPublicación:  WO2025218102A1 23/10/2025
Solicitante: 
YANGTZE OPTICAL THERMAL CONTROL TECH CO LTD [CN]
SOUTH CHINA UNIV OF TECHNOLOGY [CN]
YANGTZE OPTICAL CHEMISTRY CO LTD [CN]
\u6B66\u6C49\u957F\u76C8\u901A\u70ED\u63A7\u6280\u672F\u6709\u9650\u516C\u53F8,
\u534E\u5357\u7406\u5DE5\u5927\u5B66,
\u6B66\u6C49\u957F\u76C8\u946B\u79D1\u6280\u6709\u9650\u516C\u53F8
WO_2025218102_PA

Resumen de: WO2025218102A1

Provided in the present invention are a battery thermal runaway propagation prevention system and a safe battery. The battery thermal runaway propagation prevention system comprises a sealed pressure-bearing housing, wherein a heat-absorbing material is provided in the housing, and the heat-absorbing material comprises materials that are rich in water and water of crystallization or generate water. The sealed pressure-bearing housing withstands a pressure of 0.1 MPa to 10 MPa. The housing is further provided with a pressure-maintaining mechanism, which makes the housing open to release pressure when the pressure in the housing exceeds a preset positive pressure, or makes the housing close to maintain pressure when the pressure in the housing is lower than the preset positive pressure after the housing has been opened to release pressure. By using a combined structure of the pressure-bearing housing and the heat-absorbing material, the thermal runaway propagation of battery cells can be well prevented, thereby reducing the risks of fire and explosions in the battery.

BATTERY EVALUATION DEVICE, BATTERY PROTECTION SYSTEM, BATTERY EVALUATION METHOD, AND BATTERY MANUFACTURING METHOD

NºPublicación:  WO2025220277A1 23/10/2025
Solicitante: 
KK TOYOTA CHUO KENKYUSHO [JP]
\u682A\u5F0F\u4F1A\u793E\u8C4A\u7530\u4E2D\u592E\u7814\u7A76\u6240
WO_2025220277_PA

Resumen de: WO2025220277A1

The objective of the present invention is to evaluate a battery with high accuracy using a simple method. A battery evaluation device (100) is provided with an impedance real part measuring unit for measuring the real part of the impedance of a battery, for each of a first frequency and a second frequency. The battery evaluation device (100) obtains an evaluation value indicating the state of the battery on the basis of the real part of the impedance of the battery obtained for each of the first frequency and the second frequency, a temperature coefficient and a capacity deterioration coefficient acquired in advance for the first frequency, and a temperature coefficient and a capacity deterioration coefficient acquired in advance for the second frequency. The evaluation value is at least one of a metal deposition amount and a temperature.

ELECTROCHEMICAL DEVICE

NºPublicación:  WO2025220385A1 23/10/2025
Solicitante: 
MURATA MFG CO LTD [JP]
\u682A\u5F0F\u4F1A\u793E\u6751\u7530\u88FD\u4F5C\u6240
WO_2025220385_PA

Resumen de: WO2025220385A1

This electrochemical device comprises: a negative electrode that includes a magnesium-containing material; and an electrolyte solution that includes lithium ions, magnesium ions, trifluoromethanesulfonic acid ions (TFO ions), and bis(trifluoromethanesulfonyl)imide ions (TFSI ions).

PROTECTIVE STRUCTURE

NºPublicación:  WO2025220412A1 23/10/2025
Solicitante: 
AISIN CORP [JP]
\u682A\u5F0F\u4F1A\u793E\u30A2\u30A4\u30B7\u30F3
WO_2025220412_PA

Resumen de: WO2025220412A1

This protective structure is for protecting a battery mounted below the floor of a vehicle and includes a battery module having a plurality of cells. The protective structure further includes: a first lower plate provided facing a lower surface of a battery case of the battery; and a second lower plate provided facing a lower surface of the first lower plate. The first lower plate is formed into a corrugated shape in which a plurality of first convex extension portions, which extend in a first direction and protrude toward the second lower plate side, are arranged along a second direction. The second lower plate extends in the first direction and is formed into a corrugated shape in which a plurality of second convex extension portions, which extend in the first direction and protrude toward the first lower plate side, are arranged along the second direction. A hollow portion is formed between the first lower plate and the second lower plate. A flow path through which flows a fluid capable of adjusting the temperature of the battery is formed between the first convex extension portions and the battery case.

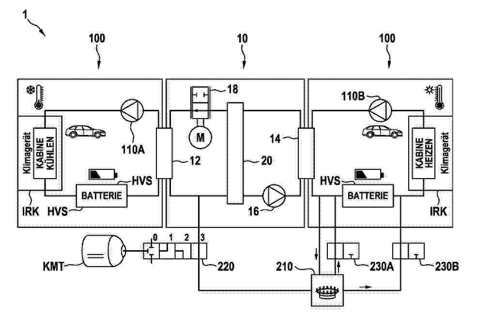
VEHICLE, ELECTRIC POWER STORAGE APPARATUS, AND TEMPERATURE ADJUSTMENT DEVICE

NºPublicación:  WO2025220461A1 23/10/2025
Solicitante: 
TOYOTA JIDOSHA KK [JP]
SUZUKI MOTOR CORP [JP]
DAIHATSU MOTOR CO LTD [JP]
\u30C8\u30E8\u30BF\u81EA\u52D5\u8ECA\u682A\u5F0F\u4F1A\u793E,
\u30B9\u30BA\u30AD\u682A\u5F0F\u4F1A\u793E,
\u30C0\u30A4\u30CF\u30C4\u5DE5\u696D\u682A\u5F0F\u4F1A\u793E
WO_2025220461_PA

Resumen de: WO2025220461A1

This vehicle comprises a vehicle body and an electric power storage apparatus that is mounted to the vehicle body. The electric power storage device includes an electric power storage module and a temperature adjustment device (12) that is provided to the electric power storage module. The temperature adjustment device (12) includes: a body portion (40); a first end side (50) positioned at one end of the body portion (40) in a first direction (L); a second end side positioned at the other end of the body portion (40) in the first direction (L); and a first inflow portion (41), a second inflow portion (42), and an outflow portion (43) that are provided on the first-end-side (50) side. The body portion (40) has formed therein a first flow path tube (71) that is connected to the first inflow portion (41). The first flow path tube (71) is formed so as to extend from the first inflow portion (41) along the outer peripheral edge portion of the body portion (40) and so as to extend to reach the second end side.

SECONDARY BATTERY, PREPARATION METHOD FOR NEGATIVE ELECTRODE PLATE, AND ELECTRIC DEVICE

NºPublicación:  WO2025217850A1 23/10/2025
Solicitante: 
CONTEMPORARY AMPEREX TECH CO LIMITED [CN]
\u5B81\u5FB7\u65F6\u4EE3\u65B0\u80FD\u6E90\u79D1\u6280\u80A1\u4EFD\u6709\u9650\u516C\u53F8
WO_2025217850_A1

Resumen de: WO2025217850A1

The present application provides a secondary battery, a preparation method for a negative electrode plate, and an electric device. The secondary battery comprises a negative electrode plate, the negative electrode plate comprises a negative electrode current collector and a negative electrode film layer provided on at least one side of the negative electrode current collector, the negative electrode film layer comprises an aqueous binder, and the aqueous binder comprises a polymer having a weight average molecular weight of greater than one million. By using a high-molecular-weight polymer as an aqueous binder in the negative electrode film layer, a negative electrode slurry can be formed into a film with the addition of a low content of a solvent by virtue of the adhesive force and strength of the high-molecular-weight polymer, which greatly reduces the content of the aqueous solvent in the negative electrode slurry, reduces the stress of the negative electrode film layer during drying, and makes a breakthrough in terms of the maximum areal density that can be achieved by the negative electrode film layer in the prior art, thereby improving the energy density of the secondary battery.

ELECTROCHEMICAL DEVICE AND ELECTRONIC DEVICE

NºPublicación:  WO2025217829A1 23/10/2025
Solicitante: 
NINGDE AMPEREX TECH LIMITED [CN]
\u5B81\u5FB7\u65B0\u80FD\u6E90\u79D1\u6280\u6709\u9650\u516C\u53F8
WO_2025217829_PA

Resumen de: WO2025217829A1

The present application provides an electrochemical device and an electronic device. The electrochemical device comprises a positive electrode sheet, a negative electrode sheet, and a separator, wherein the positive electrode sheet comprises a positive electrode current collector and a positive electrode material layer provided on at least one surface of the positive electrode current collector; the positive electrode material layer comprises a positive electrode material; the positive electrode material comprises lithium cobalt oxide of a P63mc structure; in an XRD pattern of the positive electrode material layer, the characteristic peak of a (002) crystal plane of the lithium cobalt oxide of a P63mc structure is between 17° and 19°; the negative electrode sheet comprises a negative electrode current collector and a negative electrode material layer provided on at least one surface of the negative electrode current collector; the negative electrode material layer comprises a negative electrode material; and the negative electrode material comprises hard carbon and graphite. By means of the described configuration, the electrochemical device has high energy density and also has good rate performance and high-temperature cycle performance.

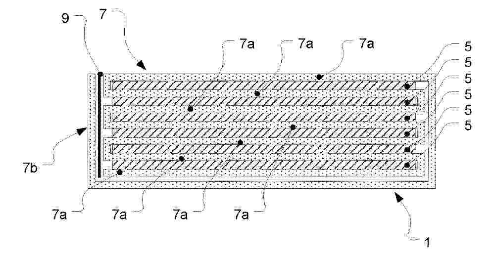
BATTERY PACK, ELECTRICAL APPARATUS, AND ENERGY STORAGE APPARATUS

NºPublicación:  WO2025217969A1 23/10/2025
Solicitante: 
CONTEMPORARY AMPEREX TECH CO LIMITED [CN]
\u5B81\u5FB7\u65F6\u4EE3\u65B0\u80FD\u6E90\u79D1\u6280\u80A1\u4EFD\u6709\u9650\u516C\u53F8
WO_2025217969_PA

Resumen de: WO2025217969A1

A battery pack, an electrical apparatus, and an energy storage apparatus, belonging to the technical field of batteries. The battery pack comprises a box body (2) and battery cells (1). At least two battery cells (1) are mounted in the box body (2). Each battery cell (1) is provided with a recessed region (14). Each battery cell (1) comprises a case (11), a bare cell (12), and a post (13), the bare cell (12) is mounted in the case (11), the post (13) is mounted on the case (11), and the post (13) is electrically connected to the bare cell (12). At least one post (13) is a first post (131) protruding out of the outer side of the case (11), and the at least one post (13) is a second post (132). In two adjacent battery cells (1) electrically connected to one another, the first post (131) of one of the battery cells (1) is located in the recessed region (14) of the other battery cell (1) so as to be electrically connected to the corresponding second post (132). The protruding first post (131) is located in the recessed region (14) and is connected to the second post (132), reducing the space in the battery pack occupied by gaps in which the posts (13) are arranged, thereby improving the volume utilization rate of the battery pack. By means of the cooperation of the protruding first posts (131) and the recessed regions (14), the battery cells (1) are docked as a group, thus the overall rigidity of the battery pack can be enhanced.

POWER STORAGE PACK

NºPublicación:  WO2025220455A1 23/10/2025
Solicitante: 
PANASONIC INTELLECTUAL PROPERTY MAN CO LTD [JP]
\u30D1\u30CA\u30BD\u30CB\u30C3\u30AF\uFF29\uFF30\u30DE\u30CD\u30B8\u30E1\u30F3\u30C8\u682A\u5F0F\u4F1A\u793E
WO_2025220455_PA

Resumen de: WO2025220455A1

A power storage pack (10) is detachably attached to an electric mobility device and comprises a power storage module. A control unit (14) permits power supply from the power storage module (11) to the electric mobility device when an anti-theft flag is in on-state and prohibits the power supply when the flag is in off-state. The control unit (14) switches the flag to off when the power storage pack (10) has been removed from the electric mobility device in a predetermined procedure, and maintains the flag on when the power storage pack (10) has been removed without following the predetermined procedure.

LITHIUM ION SECONDARY BATTERY

NºPublicación:  WO2025219817A1 23/10/2025
Solicitante: 
SEMICONDUCTOR ENERGY LABORATORY CO LTD [JP]
\u682A\u5F0F\u4F1A\u793E\u534A\u5C0E\u4F53\u30A8\u30CD\u30EB\u30AE\u30FC\u7814\u7A76\u6240
WO_2025219817_PA

Resumen de: WO2025219817A1

Provided is a lithium ion secondary battery that exhibits good battery characteristics over a wide temperature range. The lithium ion secondary battery has a positive electrode, a negative electrode, and an electrolyte. The positive electrode has a positive electrode active material, and the positive electrode active material has an olivine type crystal structure and has lithium, manganese, iron, magnesium, phosphorus, and oxygen. The atomic ratio (Mn/(Mn + Fe)) of manganese with respect to the sum of the manganese and iron present in the positive electrode active material is greater than 0.5, and the atomic ratio (Mg/(Mn + Fe + Mg)) of magnesium with respect to the sum of the manganese, iron, and magnesium present in the positive electrode active material is greater than 0.01 but less than 0.1.

NEGATIVE ELECTRODE INTERMEDIATE LAYER FOR LITHIUM PRECIPITATION TYPE SECONDARY BATTERY AND LITHIUM PRECIPITATION TYPE SECONDARY BATTERY USING SAME

NºPublicación:  WO2025219737A1 23/10/2025
Solicitante: 
NISSAN MOTOR CO LTD [JP]
RENAULT S A S [FR]
\u65E5\u7523\u81EA\u52D5\u8ECA\u682A\u5F0F\u4F1A\u793E,
\u30EB\u30CE\u30FC \u30A8\u30B9\uFF0E\u30A2\uFF0E\u30A8\u30B9\uFF0E
WO_2025219737_PA

Resumen de: WO2025219737A1

The present invention provides a means capable of improving discharge capacity during high-rate discharge, in a lithium precipitation type secondary battery. Provided is a negative electrode intermediate layer for a lithium precipitation type secondary battery, the negative electrode intermediate layer including, as main components, a structural material composed of a material that does not occlude and release lithium, and an electronic conductor that covers at least a part of the surface of the structural material.

COOLING PLATE AND BATTERY THERMAL MANAGEMENT SYSTEM

NºPublicación:  WO2025218745A1 23/10/2025
Solicitante: 
VALEO AUTOMOTIVE AIR CONDITIONING HUBEI CO LTD THERMAL POWERTRAIN BRANCH [CN]
\u6CD5\u96F7\u5965\u6C7D\u8F66\u7A7A\u8C03\u6E56\u5317\u6709\u9650\u516C\u53F8\u52A8\u529B\u603B\u6210\u70ED\u7CFB\u7EDF\u5206\u516C\u53F8
WO_2025218745_PA

Resumen de: WO2025218745A1

Provided in the present disclosure is a cooling plate. A liquid flow channel of the cooling plate comprises a flow channel inlet section and a flow channel outlet section, wherein refrigerants enter the liquid flow channel via the flow channel inlet section, and then flow out via the flow channel outlet section; and a refrigerant in the flow channel inlet section can exchange heat with a refrigerant in the flow channel outlet section. By means of the above design in the present disclosure, the cooling plate can function as an intermediate heat exchanger, thereby preventing the problems of increased costs, a large occupied space, etc. caused by the additional provision of an intermediate heat exchanger of a complex structure and a connecting component.

COMPOSITE ELASTIC SEPARATOR, AND PREPARATION METHOD THEREFOR AND USE THEREOF

NºPublicación:  WO2025217955A1 23/10/2025
Solicitante: 
SHENZHEN INX TECH CO LTD [CN]
\u6DF1\u5733\u6B23\u754C\u80FD\u6E90\u79D1\u6280\u6709\u9650\u516C\u53F8
WO_2025217955_PA

Resumen de: WO2025217955A1

A composite elastic separator, and a preparation method therefor and the use thereof. The composite elastic separator comprises an elastic layer, an interface layer and a flame-retardant layer, wherein the interface layer is located between the elastic layer and the flame-retardant layer; the material of the elastic layer comprises an elastic polymer; the material of the flame-retardant layer comprises aramid fibers; the material of the interface layer comprises an elastic polymer and aramid fibers; and the interface layer is of a network-like structure. The composite elastic separator can effectively solve the problem of expansion during charging and discharging, and can also improve the safety of a battery.

COMPOSITE FLAME-RETARDANT SEPARATOR, AND PREPARATION METHOD THEREFOR AND USE THEREOF

NºPublicación:  WO2025217956A1 23/10/2025
Solicitante: 
SHENZHEN INX TECH CO LTD [CN]
\u6DF1\u5733\u6B23\u754C\u80FD\u6E90\u79D1\u6280\u6709\u9650\u516C\u53F8
WO_2025217956_PA

Resumen de: WO2025217956A1

A composite flame-retardant separator, and a preparation method therefor and the use thereof. The composite flame-retardant separator comprises: a base membrane (10), an interface layer (30), and a flame-retardant layer (20), wherein the interface layer (30) is located between the base membrane (10) and the flame-retardant layer (20); the material of the base membrane (10) comprises a fluorine-containing organic substance and a toughening agent; the material of the flame-retardant layer (20) comprises aramid fibers; the material of the interface layer (30) comprises a fluorine-containing organic substance, a toughening agent and aramid fibers; and the interface layer (30) is of a network-like structure. The composite flame-retardant separator has a relatively high strength and electrical conductivity.

Energy Storage System, Control Method, Apparatus, Electronic Device and Storage Medium

NºPublicación:  US2025329847A1 23/10/2025
Solicitante: 
LIU PENG [CN]
LIU SICHENG [CN]
Liu Peng,
Liu Sicheng
US_2025329847_PA

Resumen de: US2025329847A1

An energy storage system, a control method, an apparatus, an electronic device and a storage medium are provided. The energy storage system includes a plurality of battery cell compartments which are electrically connected. An inner cavity of each of the battery cell compartments is adapted to a single battery cell. Each of the battery cell compartments is provided with a battery access channel exposed to an operable side. Each of the battery cell compartments provides series electrical connection between the battery cell located in the battery cell compartment and corresponding battery cell compartment, so as to form electrical connection between a plurality of battery cells located in the battery cell compartment. When a battery cell needs to be replaced, the battery cell only needs to be taken out and replaced with a new battery cell, which improves the replacement speed and reduces the space required for maintenance.

(ULTRA)HIGH MOLECULAR WEIGHT POLYETHYLENE-BASED BLOCK COPOLYMER, MANUFACTURING METHOD THEREOF, AND SECONDARY BATTERY SEPARATOR FABRICATED USING SAME AS RAW MATERIAL

NºPublicación:  US2025326880A1 23/10/2025
Solicitante: 
KOREA PETROCHEMICAL IND CO LTD [KR]
KOREA PETROCHEMICAL IND. CO., LTD
US_2025326880_A1

Resumen de: US2025326880A1

The present invention relates to an (ultra) high molecular weight polyethylene-based block copolymer having (ultra) high molecular weight polyethylene as a first-stage polymer in a linear structure through multi-stage polymerization and having a viscosity average molecular weight of 400,000 to 5,000,000 g/mol under the conditions that hydrogen (H2) as a molecular weight regulator is added in a trace amount or not added, a producing method therefor, and a secondary battery separator produced using the same as a raw material. The present invention provides improved kneading property, film surface and other properties compared to a heterogeneous composite secondary battery separator made of polyethylene and polypropylene processed by simple blending.

BATTERY PACK AND ELECTRIC DEVICE

NºPublicación:  WO2025218803A1 23/10/2025
Solicitante: 
SUNWODA MOBILITY ENERGY TECH CO LTD [CN]
\u6B23\u65FA\u8FBE\u52A8\u529B\u79D1\u6280\u80A1\u4EFD\u6709\u9650\u516C\u53F8
WO_2025218803_PA

Resumen de: WO2025218803A1

Disclosed are a battery pack and an electric device. A current collector is arranged on a first face of a liquid cooling plate, and a first cavity and a second cavity are provided inside the current collector; a first liquid outlet and a second liquid outlet are provided in a first wall of the current collector, a second liquid inlet is in communication with a first liquid inlet, and the second liquid outlet is in communication with the first liquid outlet, thereby separating incoming liquid from outgoing liquid to avoid the situation of cross flow; and openings are provided in a second wall, the first wall located at the periphery of the first liquid outlet is sealingly connected to the first face by means of the openings, and the first wall located at the periphery of the first liquid inlet is sealingly connected to the first face by means of the openings, thereby achieving the sealing of the communication position between the first liquid outlet and the second liquid outlet and the sealing of the communication position between the first liquid inlet and the second liquid inlet.

CARBON-BASED MATERIAL AND PREPARATION METHOD THEREFOR, SECONDARY BATTERY AND ELECTRIC DEVICE

NºPublicación:  WO2025218819A1 23/10/2025
Solicitante: 
CONTEMPORARY AMPEREX TECH CO LIMITED [CN]
\u5B81\u5FB7\u65F6\u4EE3\u65B0\u80FD\u6E90\u79D1\u6280\u80A1\u4EFD\u6709\u9650\u516C\u53F8
WO_2025218819_PA

Resumen de: WO2025218819A1

Provided in the present disclosure are a carbon-based material and a preparation method therefor, a secondary battery and an electric device. The carbon-based material is granular, and has a degree of sphericity of 0.5-1.0. The carbon-based material satisfies: D1/D2 being 0.4-0.62, and D2/D3 being 0.1-0.16, wherein D1 is the proportion of the total volume of particles having a particle diameter of smaller than or equal to 3 μm in the carbon-based material to the total volume of all the particles in the carbon-based material; D2 is the proportion of the total volume of particles having a particle diameter of greater than 3 μm and less than 5 μm in the carbon-based material to the total volume of all the particles in the carbon-based material; and D3 is the proportion of the total volume of the particles having a particle diameter of greater than or equal to 5 μm in the carbon-based material to the total volume of all the particles in the carbon-based material.

THREADED CONNECTING MEMBER AND BATTERY PACK

NºPublicación:  WO2025218794A1 23/10/2025
Solicitante: 
EVE ENERGY CO LTD [CN]
\u60E0\u5DDE\u4EBF\u7EAC\u9502\u80FD\u80A1\u4EFD\u6709\u9650\u516C\u53F8
WO_2025218794_PA

Resumen de: WO2025218794A1

A threaded connecting member (100), comprising a threaded rod (10) and a flange (20). The threaded rod is used for being in threaded connection with a member to be connected; the flange is provided with a pressing surface (21), and one end of the threaded rod is connected to the pressing surface; the pressing surface is used for pressing on the member to be connected, an anti-scraping arc surface (22) is provided around the periphery of the pressing surface, and the anti-scraping arc surface is tangentially arranged with the pressing surface. The threaded connecting member can solve the technical problem that cutting-induced burrs and debris are easily generated on members to be connected. The present invention further relates to a battery pack.

BATTERY HEATING SYSTEM, BATTERY HEATING METHOD, ELECTRONIC DEVICE, AND VEHICLE

NºPublicación:  WO2025218728A1 23/10/2025
Solicitante: 
BYD COMPANY LTD [CN]
\u6BD4\u4E9A\u8FEA\u80A1\u4EFD\u6709\u9650\u516C\u53F8
WO_2025218728_PA

Resumen de: WO2025218728A1

A vehicle provided with a battery heating system for executing a battery heating method and an electronic device. The battery heating system comprises: a first battery; a second battery, comprising a first sub-battery and a second sub-battery which are arranged in series; a first energy transmission circuit connected to the first battery and the second battery, wherein the first battery and the second battery can mutually charge and discharge by means of the first energy transmission circuit; and a second energy transmission circuit connected to the first sub-battery and the second sub-battery, wherein the first sub-battery and the second sub-battery can mutually charge and discharge by means of the second energy transmission circuit.

Wearable power supply for wireless earbuds

Nº publicación: US2025330737A1 23/10/2025

Solicitante:

WEARABLE POWER BANK TECH CO LTD [CN]
Wearable Power Bank Technology Co., Ltd

US_2025330737_PA

Resumen de: US2025330737A1

A wearable power supply for AirPods® wireless earbuds includes two charging heads for charging the AirPods® wireless earbuds, a charging body neck brackets, and connecting leads. The charging body is connected to the neck brackets; an outer part of each of the neck brackets is a silicone housing. An inner part of each of the neck brackets is a memory steel wire. The two charging heads are connected to the charging body through the connecting leads passing through the neck brackets. Each of the two charging head defines an earbud communication microphone channel. The charging head is provided with a first printed circuit board welded with charging contact terminals and a second printed circuit board welded with a charging indicator lamp. The charging contact terminals are configured to connect to charging contact points of the AirPods® wireless earbud.

traducir