Ministerio de Industria, Turismo y Comercio LogoMinisterior
 

Alerta

Resultados 152 resultados
LastUpdate Última actualización 26/12/2025 [06:47:00]
pdfxls
Solicitudes publicadas en los últimos 60 días / Applications published in the last 60 days
previousPage Resultados 100 a 125 de 152 nextPage  

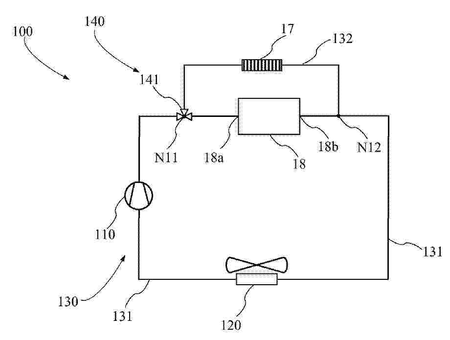
RAIL PROFILE AND FRAMEWORK MODULE FOR A SOLAR MODULE AND A MAINTENANCE MODULE

NºPublicación:  EP4648274A1 12/11/2025
Solicitante: 
OTT CHRISTOPH [CH]
Ott, Christoph
EP_4648274_PA

Resumen de: EP4648274A1

Die Erfindung betrifft ein Schienenprofil (100) zur Aufnahme zumindest eines Solarmoduls (10) und zumindest eines Wartungsmoduls (20) umfassend eine Basis (101) mit einer Grundfläche (102) und an der Grundfläche angeordnet eine Solarmodulschiene (110) mit einer ersten Lauffläche (111), auf welcher das Solarmodul in Längsrichtung des Schienenprofils beweglich aufnehmbar ist, und eine Wartungsschiene (120) mit einer zweiten Lauffläche (121), auf welcher das Wartungsmodul in Längsrichtung des Schienenprofils beweglich aufnehmbar ist, wobei die Solarmodulschiene und die Wartungsschiene im Wesentlichen parallel zueinander sowie derart relativ zueinander angeordnet sind, dass das Solarmodul und das Wartungsmodul in Längsrichtung des Schienenprofils unabhängig voneinander bewegbar sind. Die Erfindung bezieht sich zudem auf ein Schienensystem (200), ein Tragwerkmodul (300) sowie ein modulares Tragwerksystem (400) und ein dezentrales Kraftwerk, welche je mehrere der erfindungsgemässen Schienenprofile umfassen.

一种太阳能光伏与热蓄能复合供暖装置

NºPublicación:  CN120926616A 11/11/2025
Solicitante: 
济南建设设备安装有限责任公司
CN_120926616_PA

Resumen de: CN120926616A

本发明涉及太阳能集热器技术领域,尤其涉及一种太阳能光伏与热蓄能复合供暖装置,所述太阳能光伏与热蓄能复合供暖装置包括安装架、加热箱和玻璃管,所述加热箱固定连接在所述安装架其中一端,每个所述玻璃管两端均通过安装盘分别固定连接在所述安装架与所述加热箱上,每个所述安装盘上均转动连接有固定块,位于同一个所述玻璃管上的两个所述固定块之间固定连接有反光镜,本发明中太阳光能够照射在玻璃管的表面与反光镜上,而反光镜将太阳光反射在玻璃管背光处,使得阳光能够照射在整个玻璃管上,增加了对太阳光的利用率,使得玻璃管内的物质聚热较快、且热量升温较高,能够将热量传送至加热箱内的水中进行加热。

分体式圆弧聚光偏心全玻璃真空集热管及其制造方法

NºPublicación:  CN120926615A 11/11/2025
Solicitante: 
河北光源太阳能科技有限公司
CN_120926615_PA

Resumen de: CN120926615A

本发明属于光热转换技术领域,公开了一种分体式圆弧聚光偏心全玻璃真空集热管及其制造方法,集热管包括设有光热转换膜的内管和设有反光膜的外管,内管偏心插接在外管内,外管包括直管和分别固定在直管两端的变径头管和变径尾管,变径头管的一端与直管同径,另一端缩径后与内管同轴,变径尾管的一端与直管同径,另一端缩径后与内管同轴,且以圆头封口;内管与外管之间的空隙形成真空夹层。制造方法为:将外管分体设置,利用一个较短的变径管加热成型后,分隔成变径头管和变径尾管,再与直管对接成一体。本发明将外管分体设置,然后熔融对接形成一体,不仅降低废品率,还降低制造成本,经济效益大幅提高。

一种可折叠的太阳能热水器

NºPublicación:  CN120926617A 11/11/2025
Solicitante: 
青岛海尔智慧电器设备有限公司青岛经济技术开发区海尔热水器有限公司海尔智家股份有限公司
CN_120926617_PA

Resumen de: CN120926617A

本发明公开了一种可折叠的太阳能热水器,包括第一水箱和第二水箱,第一水箱和/或第二水箱上设有进出水阀,用于控制第一水箱和/或第二水箱的进水或出水;第一水箱和第二水箱能够互相展开和折叠地连接;第一水箱和第二水箱均分别具有吸热板侧和保温层侧。本发明设置互相连接的第一水箱和第二水箱,第一水箱和第二水箱能够互相展开和折叠,因此热水器为可折叠结构,便于移动,可根据实际需要变换安装位置,节省空间;水箱与吸热板一体设计,能够更加的节省空间,节省材料。

一种电力行业用太阳能吸附式制冷装置

NºPublicación:  CN120926635A 11/11/2025
Solicitante: 
国网天津市电力公司国家电网有限公司国网天津市电力公司城东供电分公司
CN_120926635_PA

Resumen de: CN120926635A

本发明涉及一种电力行业用太阳能吸附式制冷装置,分为室外集热单元和室内制冷反应单元;其中,室外集热单元的作用为吸收热量,储存热量;室内制冷反应单元的作用为解析、冷却、制冷。本发明工艺结构简单,无耗能,环保健康,适用于批量生产。

一种适应于孤网下光热电站的机炉协调系统及方法

NºPublicación:  CN120926618A 11/11/2025
Solicitante: 
中国船舶重工集团新能源有限责任公司北京蓝海翌能新能源集团有限公司
CN_120926618_PA

Resumen de: CN120926618A

本发明涉及一种适应于孤网下光热电站的机炉协调系统及方法,属于机炉协调技术领域,该系统包括:协调控制级、基础控制级和单元级;协调控制级包括:孤网综合能源管理控制中心、光热电站机炉主控器和电源主控器;基础控制级包括:热炉控制系统和汽轮机控制系统;单元级包括:主泵、蒸汽发生器和汽轮机;孤网综合能源管理控制中心与光热电站机炉主控器连接,孤网综合能源管理控制中心与电源主控器连接;光热电站机炉主控器与热炉控制系统连接,光热电站机炉主控器与汽轮机控制系统连接,热炉控制系统包括:主泵控制系统和蒸汽发生器控制系统;主泵控制系统与主泵连接,蒸汽发生器控制系统与蒸汽发生器连接,汽轮机控制系统与汽轮机连接。

EQUIPAMENTO AUTÓNOMO PARA POSICIONAMENTO NO PLANO HORIZONTAL DA RADIAÇÃO SOLAR

NºPublicación:  PT119460A 10/11/2025
Solicitante: 
UNIV DE AVEIRO [PT]
UNIVERSIDADE DE AVEIRO
PT_119460_A

Resumen de: PT119460A

A PRESENTE INVENÇÃO REFERE-SE A UM EQUIPAMENTO AUTÓNOMO PARA POSICIONAMENTO NO PLANO HORIZONTAL DA RADIAÇÃO SOLAR. ESTE UTILIZA COLETORES, FLUIDOS PERMUTADORES DE CALOR, ELEMENTOS DE EXPANSÃO TÉRMICA E MECANISMOS PARA CONTROLO DINÂMICO DO POSICIONAMENTO. A INVENÇÃO APLICA-SE COMO INTERFACE E/OU PLATAFORMA AUTÓNOMA, FUNCIONANDO COM ESPELHOS (29), (31), (33), (39) PARA CONTROLO DA POSIÇÃO, MÓDULOS AQUECEDORES (30), (32), (34), (40) COM INTERRUPTOR TÉRMICO (36), BATERIA RECARREGÁVEL (37), BOMBA (38) E OS BLOCOS ATUADORES ALOJADOS NAS POSIÇÕES (1), (2), (3) E (4), COM MECANISMOS DE ALAVANCA PARA POSICIONAR O BLOCO SUPERIOR (46) NO PLANO HORIZONTAL DA RADIAÇÃO SOLAR (POTÊNCIA MÁXIMA).

THE THERMAL-ELECTRIC SOLAR COLLECTOR

NºPublicación:  LT2024013A 10/11/2025
Solicitante: 
USEVICIUS KESTUTIS [LT]
USEVI\u010CIUS K\u0119stutis

Resumen de: LT2024013A

The thermal-electric solar collector operates in an autonomous self-sufficient mode, using only the energy absorbed from the environment: thanks to the reflecting parabola, it concentrates the heat in the focus of the parabola, where the heat-accumulating and heat-transmitting module is placed; and the upper part of the device is hermetically covered with a double-glazed unit; the lower part has an active upper solar panel that generates and transmits energy in the form of electricity.

用于太阳能热化学储能的锥形氨分解反应器制氢装置

NºPublicación:  CN120900524A 07/11/2025
Solicitante: 
嵊州市浙江工业大学创新研究院
CN_120900524_PA

Resumen de: CN120900524A

本发明公开了一种用于太阳能热化学储能的锥形氨分解反应器制氢装置,包括太阳能聚光器、反应器本体和支撑结构;反应器本体包括进料主管道、换热器、入口歧管、锥型会聚反应管道、中转管道、出口歧管和出料主管道;所述锥型会聚反应管道为中空锥形结构,包括进气端与出气端,进气端口径大于出气端口径,形成锥形管道;锥型会聚反应管道中设有催化剂。本发明用于太阳能热化学储能的锥形氨分解反应器制氢装置,通过特定的结构,充分发挥太阳能的优势,能够高效接收和分布太阳能聚光器传递的热能,光热转化利用率高,并且解决了传统圆柱形反应器中存在的局部过热、氨气升温慢的问题,通过特定结构优化流速和压降,提高了氨分解效率与能量利用效率。

太阳能聚储能装置

NºPublicación:  CN120907246A 07/11/2025
Solicitante: 
陈玉兴
CN_120907246_PA

Resumen de: CN120907246A

本发明涉及太阳能聚储能技术领域,且公开了太阳能聚储能装置,包括:太阳能集能机构,包括支架组件、聚光组件、采热器油箱组件及监测组件;所述支架组件包括锚脚和采热器总成轴,所述锚脚固定设置于地面支撑部位,所述采热器总成轴通过采热器总成轴孔与锚脚转动连接;所述聚光组件包括抛物面聚光镜和双真空太阳能管。该太阳能聚储能装置,通过设置抛物面聚光镜与双真空太阳能管的协同聚光采热结构,结合采热器油箱内胆和外箱之间设置的第一绝热层,有效提升了太阳能的吸收效率与热能存储的保温性能,增强了整体集热效率,该结构设计使得太阳光能高效转化为热能并长时间保持温度,显著提高了能源利用效率。

基于光热发电技术的电热联供型虚拟电厂优化调度方法

NºPublicación:  CN120914902A 07/11/2025
Solicitante: 
三峡大学
CN_120914902_PA

Resumen de: CN120914902A

基于光热发电技术的电热联供型虚拟电厂优化调度方法,包括构建包含风力发电、光伏发电、光热电站、储能装置和电锅炉的多能源虚拟电厂模型;利用拉丁超立方抽样处理风光出力不确定性;采用双层优化策略和基于混沌理论的混合蜻蜓差分进化算法(CT‑DADE)进行优化调度:上层优化调度模型以风光出力偏差最小化和经济收益最大化为目标,通过储能和电锅炉修正出力偏差;下层优化调度模型结合分时电价和柔性负荷调节特性优化电热负荷曲线。该方法通过构建包含光热发电、风力发电、光伏发电、储能设备、电锅炉以及柔性负荷的虚拟电厂模型,综合考虑新能源消纳的不确定性扰动和供需不平衡,实现电热系统的稳定供应和经济运行。

一种基于废热回收的光伏直驱热泵预热装置

NºPublicación:  CN120907264A 07/11/2025
Solicitante: 
东莞市格美节能设备有限公司
CN_120907264_PA

Resumen de: CN120907264A

本发明涉及热泵系统配件技术领域,具体为一种基于废热回收的光伏直驱热泵预热装置,包括外壳,所述外壳的内侧安装有废热换热器和循环泵,所述外壳的外侧安装有两组光伏组件,所述光伏组件的底部通过螺栓安装有金属集热片,所述金属集热片的底部设有一体成型的导热凸起,所述光伏组件的底部固定连接有密封壳。本发明提供了一种基于废热回收的光伏直驱热泵预热装置,具有通过金属集热片、导热凸起和循环系统,将光伏组件工作时产生的废热收集起来,经废热换热器为热泵系统蒸发器入口的工质预热,玻璃组件的双层结构和保护流道,仅能为光伏组件提供物理防护,还能在低温环境下通过传热工质的循环或加热丝的辅助加热,防止光伏组件表面结冰的优点。

一种基于太阳光和受热面协同耦合的制氢反应系统

NºPublicación:  CN120900572A 07/11/2025
Solicitante: 
集美大学
CN_120900572_PA

Resumen de: CN120900572A

本发明提供一种基于太阳光和受热面协同耦合的制氢反应系统,包括太阳能聚光器和反应器,所述反应器具有受热外壳以及由受热外壳参与构成的气体流道;所述受热外壳包括倒锥形的受热外周壁以及连接在受热外周壁的底部的受热平底板;所述反应器设置在太阳能聚光器的聚光范围内,且受热平底板朝向太阳能聚光器的中心;所述气体流道包括依次连通的进料口、预热流道、反应流道和出料口;反应物经进料口流入预热流道内进行预热,之后流入反应流道内产生制氢反应,最终经出料口输出。能够提升甲烷重整制氢中的转化率,还能够有效改善反应器的温度均匀性。

一种太阳能光热光伏复合集热设备

NºPublicación:  CN120915250A 07/11/2025
Solicitante: 
江苏晶道新能源科技有限公司
CN_120915250_PA

Resumen de: CN120915250A

本发明公开了一种太阳能光热光伏复合集热设备,具体涉及太阳能热收集器技术领域,包括安装座,所述安装座的上部转动安装有反射光热的反射聚光装置,所述反射聚光装置的外表面中部设置有发电及收集光热的光伏‑光热复合组件,所述光伏‑光热复合组件的外表面两侧设置有对反射聚光装置和光伏‑光热复合组件进行清理的清理装置。本发明所述的一种太阳能光热光伏复合集热设备,反射聚光装置依托大尺寸反射镜面的聚光效应,能够使更多太阳辐射能汇聚到光伏‑光热复合组件表面,一方面为光伏单元的光电转换过程提供充足的光能支撑,保障光电效应高效进行,另一方面,也可强化光热单元对太阳热能的捕获,提升热能收集效率。

一种基于分频光伏光热的动态调光土壤修复大棚

NºPublicación:  CN120898659A 07/11/2025
Solicitante: 
常州大学
CN_120898659_PA

Resumen de: CN120898659A

本发明公开了一种基于分频光伏光热的动态调光土壤修复大棚,属于光伏发电与农业种植结合技术领域。包括分光系统、土壤修复系统,所述分光系统包括分频器,所述分频器的内部设有能够根据波长选择性吸收太阳光线的分频液;所述土壤修复系统包括阳极电极、阴极电极;所述大棚内设有阳极电解池和阴极电解池,所述阳极电解池和阴极电解池分别布置于待修复土壤两侧;所述阳极电极位于阳极电解池内,所述阴极电极位于阴极电解池内;本发明的基于分频光伏光热的动态调光土壤修复大棚,通过分光系统和土壤修复系统延长光伏板使用寿命的同时将重金属元素从土壤中去除,形成高效、智能的农业修复系统,绿色安全,节能环保。

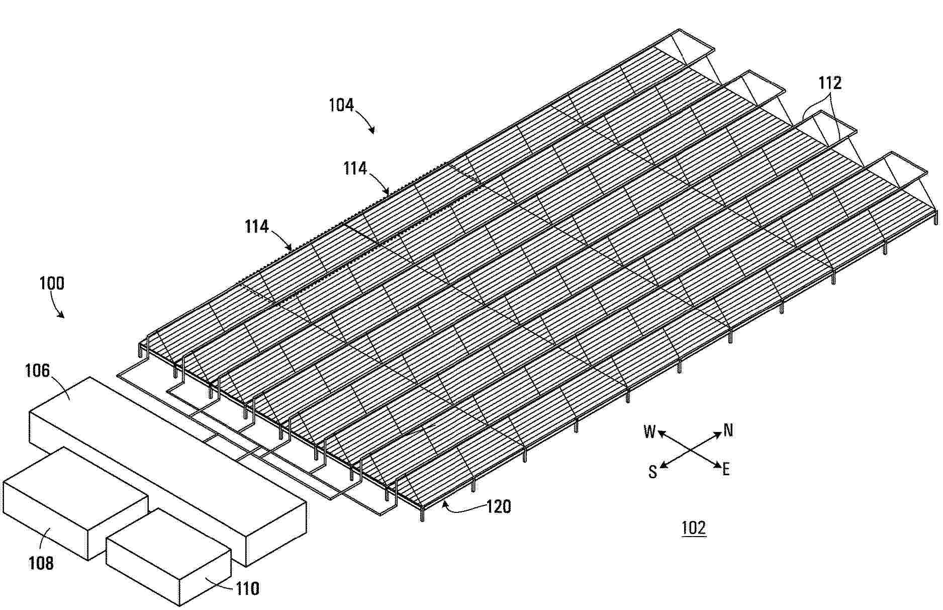
SOLAR CONCENTRATOR ENERGY HARVESTING SYSTEM

NºPublicación:  US2025341344A1 06/11/2025
Solicitante: 
TERRAJOULE ENERGY INC [CA]
Terrajoule Energy Inc
US_2025341344_PA

Resumen de: US2025341344A1

An energy harvesting system is disclosed including a plurality of beams connected to form a structural frame, and a plurality of solar concentrator panels mounted on the structural frame to provide a solar concentrator array for reflecting solar radiation onto a plurality of receiver tubes configured to transport a heat transfer fluid to be heated. The beams are configured to support a mobile manipulator for travel along the structural frame for performing at least one operation on the array. A mirror apparatus used in a solar concentrator panel is also disclosed and includes an elongate thin-walled closed structural beam, and a mirror extending along and mounted to a surface of the closed structural beam in a transversely deformed condition to cause the mirror to have a transverse curvature that is selected to focus the solar radiation onto a receiver tube.

MULTIPLE FLOW CHANNEL FULL CONTACT FIN HEAT EXCHANGE MECHANISM

NºPublicación:  US2025341343A1 06/11/2025
Solicitante: 
WINCONN SYSTEMS INC [TW]
Winconn Systems INC
US_2025341343_PA

Resumen de: US2025341343A1

A multiple flow channel full contact fin heat exchange mechanism includes a heat concentration unit and a heat transfer assembly. The heat concentration unit is arranged at a focusing position of a soler energy reflection heat-concentration device. The heat transfer assembly is arranged on the heat concentration unit. Multiple groups of heat exchange flow channels are formed between the heat transfer assembly and the heat concentration unit. Two adjacent groups of heat exchange flow channels are connected in sequence. All of the heat exchange flow channels are arranged parallel in a linear direction. By having the multiple groups of heat exchange flow channels arranged between the heat transfer assembly and the heat concentration unit and two adjacent groups of heat exchange flow channels connected in sequence and arranged in parallel in a linear direction, fluid flowing in the heat exchange flow channels directly contacts the heat transfer assembly.

SYSTEMS AND METHODS FOR DELIVERING LIGHT UNDERWATER

NºPublicación:  WO2025227202A1 06/11/2025
Solicitante: 
SOLITON NETWORK DEVICES PTY LTD [AU]
SOLITON NETWORK DEVICES PTY LTD
WO_2025227202_PA

Resumen de: WO2025227202A1

Embodiments of the present disclosure may include a system configured for delivering light underwater, the system including a light collector configured for collecting light, for example above water. Embodiments may also include a light conduit assembly configured for transporting the collected light, the light conduit assembly including one or more light conduits, each having a length dependent on one or more defined water depths.

LIGHT-CONCENTRATING DEVICE AND DEVICE FOR FEEDING IN LIGHT, COMPUTER-IMPLEMENTED METHOD FOR ORIENTING AT LEAST ONE LIGHT-CONCENTRATING DEVICE, COMPUTER PROGRAM PRODUCT AND COMPUTER-READABLE STORAGE MEDIUM

NºPublicación:  WO2025229477A1 06/11/2025
Solicitante: 
AKEMI - RETHINKING LIGHT GMBH [AT]
AKEMI - RETHINKING LIGHT GMBH
WO_2025229477_PA

Resumen de: WO2025229477A1

The invention relates to a light-concentrating device for feeding sunlight into a fibre optic, comprising a main body on which a feed-in section is arranged, and a coupling section having a coupling opening for coupling a fibre optic is arranged adjacent to the feed-in section. A concave lens is arranged in the coupling section, wherein at least one curved surface is oriented towards the coupling opening. Alternatively or additionally, a curved reflection surface is provided in the coupling section on an inner surface for concentrating the sunlight. The invention further relates to a device for collecting light, to a computer-implemented method for orienting at least one light-concentrating device, to a computer program product, and to a computer-readable storage medium.

TOWER-TYPE SOLAR THERMAL UTILIZATION SYSTEM

NºPublicación:  WO2025228267A1 06/11/2025
Solicitante: 
COSIN SOLAR TECH CO LTD [CN]
\u6D59\u6C5F\u53EF\u80DC\u6280\u672F\u80A1\u4EFD\u6709\u9650\u516C\u53F8
WO_2025228267_PA

Resumen de: WO2025228267A1

A tower-type solar thermal utilization system, comprising a heat utilization system, a primary solar collector system, and at least one secondary solar collector system. The primary solar collector system and each secondary solar collector system each comprise a solar collector module. Each solar collector module comprises a heliostat field module (201), a solar receiver module (3), a first low-temperature thermal storage unit (4) and a first low-temperature thermal storage medium conveying pump module (5). In each solar collector module, the first low-temperature thermal storage medium conveying pump module (5) conveys a low-temperature thermal storage medium in the first low-temperature thermal storage unit (4) to the solar receiver module (3) by means of a tenth pipeline (22), and the first low-temperature thermal storage unit (4) receives a low-temperature thermal storage medium from a low-temperature thermal storage medium output end of the heat utilization system by means of a seventh pipeline (26). The distance between a low-temperature thermal storage medium input end of the first low-temperature thermal storage unit (4) in the primary solar collector system and the low-temperature thermal storage medium output end of the heat utilization system is less than the distance between a low-temperature thermal storage medium input end of the first low-temperature thermal storage unit (4) in any secondary solar collector system and the low-temperature thermal storage medium

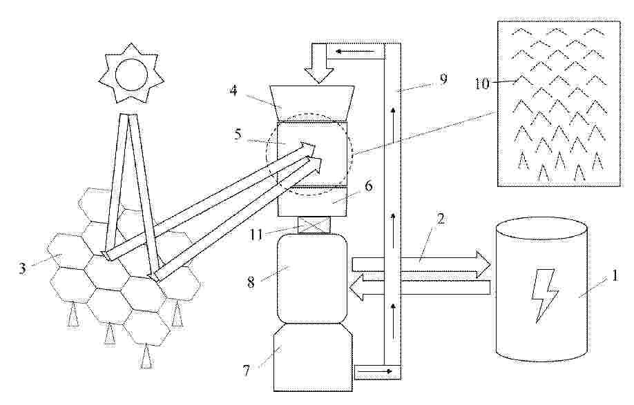
NEW GENERATION HYBRID SOLAR HEATING SYSTEM

NºPublicación:  WO2025230503A1 06/11/2025
Solicitante: 
ARYAS ARGE MUEHENDISLIK SANAYI VE TICARET LTD SIRKETI [TR]
ARYAS ARGE M\u00DCHEND\u0130SL\u0130K SANAY\u0130 VE T\u0130CARET L\u0130M\u0130TED \u015E\u0130RKET\u0130
WO_2025230503_A1

Resumen de: WO2025230503A1

The invention is related to a method and system that both meets the hot water requirements and provides heating in places that need heating such as buildings and greenhouses with zero emission by easily replacing the traditional solar heating systems used for hot water use with active circulation and separate tank (4) systems and including an induction heating system in the pipeline during the transition process to renewable energy due to global climate changes.

TOWER-TYPE SOLAR THERMAL UTILIZATION SYSTEM

NºPublicación:  WO2025228270A1 06/11/2025
Solicitante: 
COSIN SOLAR TECH CO LTD [CN]
\u6D59\u6C5F\u53EF\u80DC\u6280\u672F\u80A1\u4EFD\u6709\u9650\u516C\u53F8
WO_2025228270_PA

Resumen de: WO2025228270A1

Provided in the present application is a tower-type solar thermal utilization system, comprising a thermal utilization system and at least two tower-type solar thermal collection systems, wherein at least one tower-type solar thermal collection system is a characteristic tower-type solar thermal collection system. The characteristic tower-type solar thermal collection system further comprises a first high-temperature unit and a first high-temperature medium transport module, wherein a high-temperature heat storage medium that is output from a heat absorption module is transported to the first high-temperature unit, and a high-temperature heat storage medium that is output from the first high-temperature medium transport module is transported to the thermal utilization system. A first high-temperature unit in each characteristic tower-type solar thermal collection system can store part of a high-temperature heat storage medium, such that when a heat absorption module in each characteristic tower-type solar thermal collection system shuts down at night or on rainy days, the operation of a thermal utilization system can still be maintained by using the high-temperature heat storage medium in the first high-temperature unit in each characteristic tower-type solar thermal collection system, thereby improving the utilization of solar energy.

SOLAR POWERED OUTDOOR HEATER

NºPublicación:  WO2025229353A1 06/11/2025
Solicitante: 
SOLAR POLAR LTD [GB]
SOLAR POLAR LIMITED
WO_2025229353_PA

Resumen de: WO2025229353A1

A solar powered outdoor heater (100) comprises: a heat-collection apparatus configured to collect solar thermal energy and to heat a heat transfer liquid using the collected solar thermal energy; one or more heat-emitters, the one or more heat-emitters containing a conduit for the passage of the heat transfer liquid therethrough, and a heat-emitting surface configured to radiate thermal energy; a frame configured to support the one or more heat-emitters with the heat- emitting surface facing a heat-receiving area; and a pump (P1l, P2) which is operable to pump the heat transfer liquid through the one or more heat-emitters, so that heat is transferred from the heat transfer liquid to the heat-emitters, and the heat-emitters radiate thermal energy towards the heat-receiving area.

Verwendung eines Solarmoduls und Solarmodul

NºPublicación:  DE102024112319A1 06/11/2025
Solicitante: 
CRYSTALSOL GMBH [AT]
crystalsol GmbH
DE_102024112319_PA

Resumen de: DE102024112319A1

Die Erfindung betrifft die Verwendung eines auf Wasser schwimmenden, schwimmfähigen Solarmoduls für ein Erzeugen von elektrischem Strom.Die Erfindung betrifft außerdem ein Solarmodul mit einer Rückseite, die eine Platte mit geschlossenen Poren oder der Boden eines Kastens mit geschlossenen Poren ist.

光伏光热储能多元耦合的全天候自适应建筑能源系统及方法

Nº publicación: CN120896532A 04/11/2025

Solicitante:

武汉理工大学三亚科教创新园

CN_120896532_A

Resumen de: CN120896532A

本发明公开一种光伏光热储能多元耦合的全天候自适应建筑能源系统及方法,属于太阳能综合利用与建筑节能交叉领域。系统集成菲涅尔透镜、分频膜、光伏发电单元、热电发电单元、多温区相变储能装置,光伏与热电单元表面覆盖气凝胶集热保温层。太阳光经菲涅尔透镜聚焦后,由分频膜分离为短波光与长波光,发电余热通过相变储能装置梯级存储;智能控制单元依季节与用能需求,切换供热季或供冷季模式。本系统提升太阳能光谱利用率,实现建筑电、热全天候自适应供给,结构紧凑、低碳高效,适用于各类建筑能源场景。

traducir