Ministerio de Industria, Turismo y Comercio LogoMinisterior
 

Alerta

Resultados 152 resultados
LastUpdate Última actualización 26/12/2025 [06:47:00]
pdfxls
Solicitudes publicadas en los últimos 60 días / Applications published in the last 60 days
previousPage Resultados 50 a 75 de 152 nextPage  

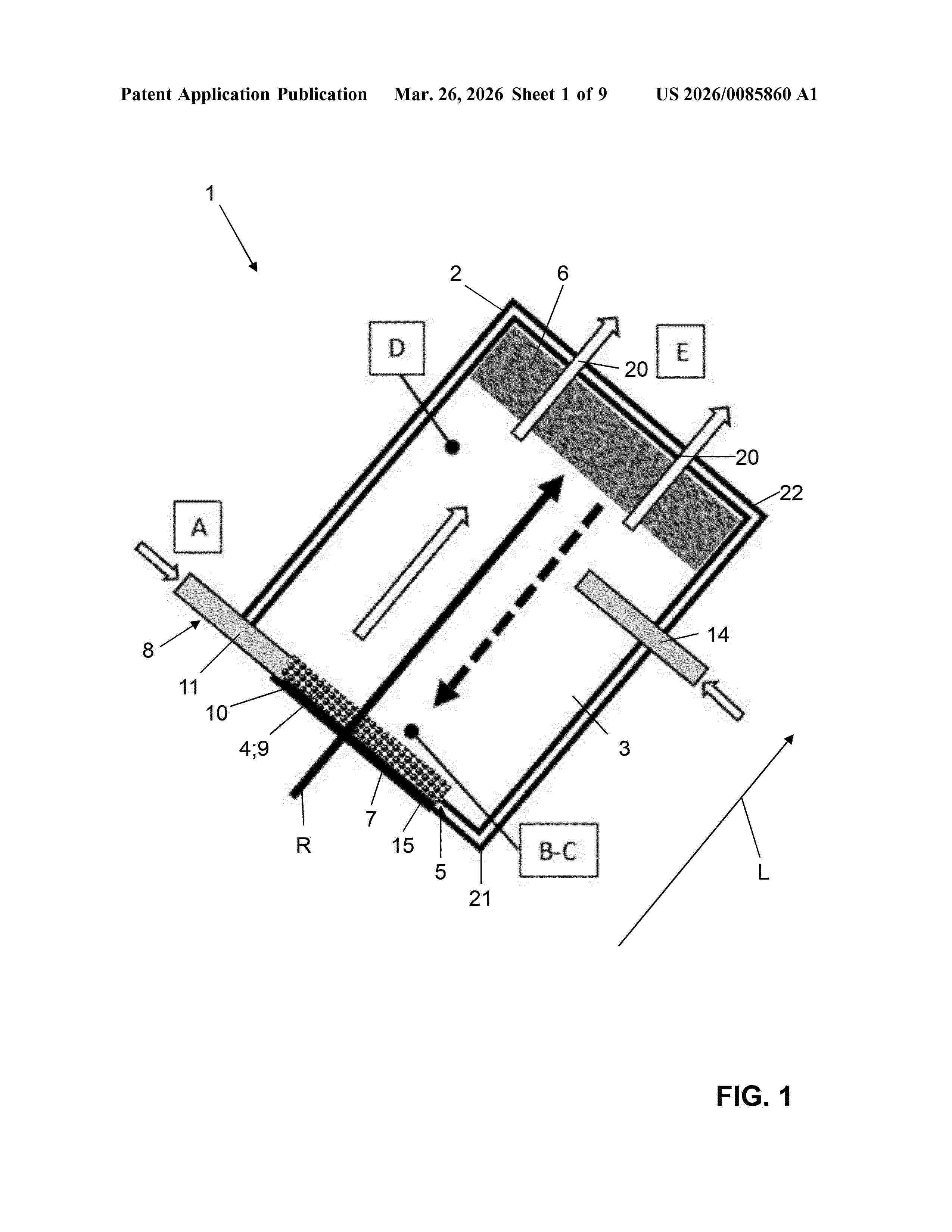
SOLAR TABLE SYSTEM, PHOTOVOLTAIC ASSEMBLY

NºPublicación:  EP4668572A1 24/12/2025
Solicitante: 
REG ENERGY ENG GMBH & CO ERSTE KG [DE]
REG Energy Engineering GmbH & Co. erste KG
EP_4668572_PA

Resumen de: EP4668572A1

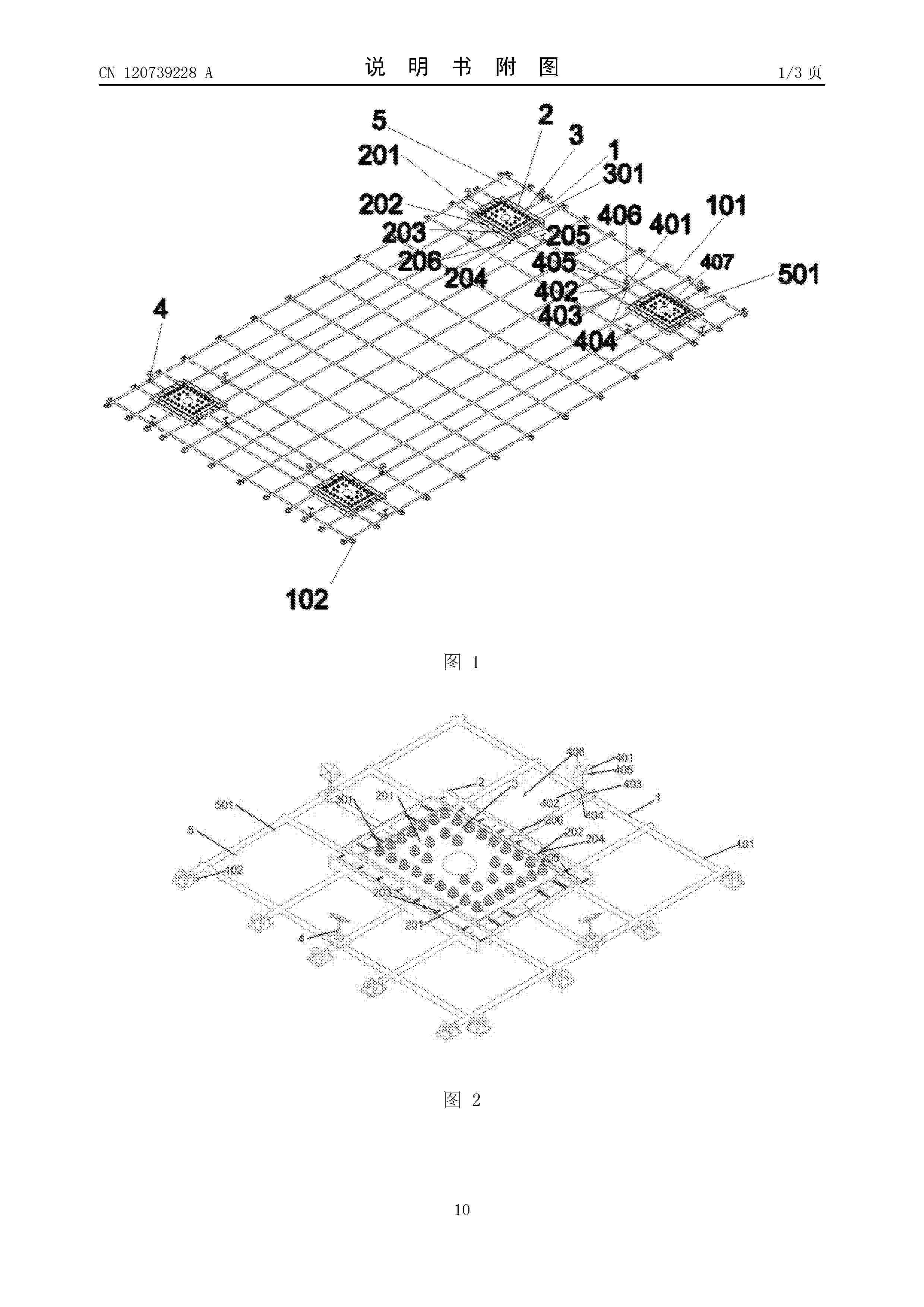
Solartischsystem (100) für eine Photovoltaikanlage (101), insbesondere eine Agri-Photovoltaikanlage (101), umfassend: eine Mehrzahl an Stützeneinheiten (1) zur Ableitung der statischen Belastung in einen Boden (2); und eine Mehrzahl an Hauptträgereinheiten (3), wobei ein Hauptträger (31) der Hauptträgereinheit (3) an zwei Stützeneinheiten (1) aufnehmbar ist; und eine Mehrzahl an Modulträgereinheiten (4) zur Aufnahme von Photovoltaikmodulen (102), wobei eine Modulträgereinheit (4) an zwei Hauptträgereinheiten (3) aufnehmbar ist und ein Photovoltaikmodul (102) an zwei Modulträgereinheiten (4) aufnehmbar ist. Die Hauptträgereinheit (3) weist einen Hauptträger (31) mit einem Hauptträgerprofil (311) auf, welches asymmetrisch ausgebildet ist; und/oder die Stützeneinheit (1) umfasst wenigstens eine Stütze (11) mit einem offenen Stützenprofil (111) mit zwei Schenkeln (112) und sechs Biegungen an der offenen Seite (113); und/oder die Modulträgereinheit (4) umfasst eine Einschubaufnahme (411) für Photovoltaikmodule (102).

PARAMETRIC CURVE SCANNING METHOD FOR PHOTOVOLTAIC STRING, CONVERTER, AND PHOTOVOLTAIC POWER GENERATION SYSTEM

NºPublicación:  EP4668530A2 24/12/2025
Solicitante: 
HUAWEI DIGITAL POWER TECH CO LTD [CN]
Huawei Digital Power Technologies Co., Ltd
EP_4668530_A2

Resumen de: EP4668530A2

This application relates to a converter in a photovoltaic power generation system and a parametric curve scanning method for a photovoltaic string. A parametric curve includes a current-voltage curve or a power-voltage curve. The scanning method includes: controlling an output voltage of the photovoltaic string to change from a first endpoint voltage of a first voltage range to a second endpoint voltage of the first voltage range according to a first preset rule, to scan a first parametric curve; controlling the output voltage of the photovoltaic string to change from a third endpoint voltage of a second voltage range to a fourth endpoint voltage of the second voltage range according to a second preset rule, to scan a second parametric curve. There is an intersection set between the first voltage range and the second voltage range. In this application, whether a scanned curve is affected by a light change may be determined based on the first parametric curve and the second parametric curve. This is convenient and fast, and no additional hardware test device is required.

ARTICULATING SOLAR TRACKER SUPPORT

NºPublicación:  EP4668573A1 24/12/2025
Solicitante: 
DS2 0 LLC [US]
DS2.0, LLC
EP_4668573_PA

Resumen de: EP4668573A1

The present disclosure involves systems, and an apparatus supporting an array of solar panels, the system including a bearing assembly configured to support a tracking shaft while allowing the tracking shaft to rotate about an axis and a torsion bar with a first end configured to be affixed to a pile, and a second end configured to be coupled to the tracking shaft, the torsion bar configured to function as a torsion spring exerting torque on the tracking shaft in response to rotation of the tracking shaft about the axis.

SHUTDOWN DEVICE, CONTROL METHOD FOR SHUTDOWN DEVICE, AND PHOTOVOLTAIC SYSTEM

NºPublicación:  EP4668576A1 24/12/2025
Solicitante: 
SUNSHARE POWER TECH CO LTD [CN]
Sunshare Power Technology Co., Ltd
EP_4668576_PA

Resumen de: EP4668576A1

A shutdown device, a control method for the shutdown device and a photovoltaic system are disclosed in the present disclosure, which relates to the technical field of photovoltaic power generation. The shutdown device is arranged corresponding to a photovoltaic module, where the photovoltaic module is configured to supply power to a load. The shutdown device includes: a switching circuit, a sampling-monitoring circuit and a drive circuit; where the switching circuit is arranged in a load circuit comprising the photovoltaic module and the load, and connected to the drive circuit; the sampling-monitoring circuit is assigned to the photovoltaic module, the load and the drive circuit, configured to sample a first voltage of the photovoltaic module, a second voltage of the load; and when a bus is determined short-circuited based on the first voltage and the second voltage, the switching circuit is controlled to be turned off through the drive circuit to disconnect the load circuit. The shutdown device determines the short circuit condition of the photovoltaic module by monitoring the voltage of the photovoltaic module and the load, and disconnects the photovoltaic module from the load when it is determined that the short circuit occurs, thereby achieving effective and reliable short circuit protection and low cost.

STRUCTURE FOR SUPPORTING SOLAR PANELS AND A VEHICLE PARKING AREA COMPRISING THE SAME

NºPublicación:  EP4668571A1 24/12/2025
Solicitante: 
VAN DER VALK SYSTEMEN B V [NL]
Van Der Valk Systemen B.V
EP_4668571_PA

Resumen de: EP4668571A1

The invention relates to a structure (100) for supporting solar panels (10) above a vehicle parking area, the structure comprising the structure comprising a plurality of vertical frames (180) being mutually parallel and linked together by roof elements (130), wherein each vertical frame comprises at least three elongate elements (150, 160, 170) having a box-section and including a column (150) to be anchored to the ground, a beam (160) connected to roof elements and a brace (170) extending diagonally from the column to the beam, and whereby at least two of the elongate elements comprise a side opening (163, 164, 153) at the box-section that is configured to receive an end section of one of the other two elongate elements such that the three elongate elements fit into one another. The invention further relates to a method for assembly such a structure and to a vehicle parking area comprising such a structure. The invention further relates to a kit for assembling a structure for supporting solar panels.

Klemme zur Fixierung eines Photovoltaikmoduls an einer das Photovoltaikmodul tragenden Anordnung

NºPublicación:  DE102024117334A1 24/12/2025
Solicitante: 
PREMIUM MOUNTING TECH GMBH & CO KG [DE]
Premium Mounting Technologies GmbH & Co. KG
DE_102024117334_PA

Resumen de: DE102024117334A1

Es wird eine Klemme zur Fixierung eines Photovoltaikmoduls an einer das Photovoltaikmodul tragenden Anordnung beschrieben. Die beschriebene Klemme zeichnet sich dadurch aus, dass sie einen horizontalen Klemmenabschnitt aufweist, der dazu ausgelegt ist, zumindest zum Teil auf der Oberseite des Photovoltaikmoduls zu liegen zu kommen, und einen mit dem horizontalen Klemmenabschnitt verbundenen vertikalen Klemmenabschnitt aufweist, der dazu ausgelegt ist, mit seiner Unterseite oben auf der das Photovoltaikmodul tragenden Anordnung aufzuliegen, und der eine veränderbare Länge aufweist.

Kompatibles und variantenreiches Dacheindeckungssystem aus Kunststoff

NºPublicación:  DE102024002063A1 24/12/2025
Solicitante: 
KIESLICH DIRK [DE]
Kieslich, Dirk
DE_102024002063_PA

Resumen de: DE102024002063A1

Kompatibles und variantenreiches Dacheindeckungssystem aus Kunststoff (1), welches gegenüber der handelsüblichen Beton oder Tondachpfannen leichter ist, einen verbesserten PCF aufweist, nachhaltiger ist und schneller und sicherer verlegt werden kann. Das erfindungsgemäßen Dacheindeckungssystem aus Kunststoff (1) ist darüber hinaus maximal kompatibel zu herkömmlichen Dachpfannentypen gleicher Geometrie und gleicher Produkte sowie der aus der PCT/EP2020/072773 beschriebenen begrünten Dachpfannen von mygreentop. In einer erweiterten Ausführung besitzen das System geometrische Aufnahmebedingungen für Photovoltaik- bzw. Solarthermie Module und / oder entsprechende Befestigungsgeometrien und deckt somit alle erdenklichen Einsatzmöglichkeiten und Bedarfe auf dem Dach ab.

PHOTOVOLTAIK-MODUL

NºPublicación:  DE102024002021A1 24/12/2025
Solicitante: 
BELU VERWALTUNGSGESELLSCHAFT MIT BESCHRAENKTER HAFTUNG [DE]
Belu Verwaltungsgesellschaft mit beschr\u00E4nkter Haftung
DE_102024002021_PA

Resumen de: DE102024002021A1

Die Erfindung betrifft ein Photovoltaik-Modul (1) mit schieb- und/oder drehbeweglich positionierbarer Photovoltaik-Einrichtung, wobei das Photovoltaik-Modul (1) geeignet ist zur Befestigung an oder unter einem Gebäude- oder Fassadenvorsprung (30) und/oder an oder unter einem aus der Gebäudefassade herausragenden Balkon (6) mit einem Balkon-Bodenelement (7) und einer Balkon-Brüstung (21). Es ist ein in zumindest einer Führungsanordnung (2) führbarer Rahmen (3) vorgesehen, in dem zumindest eine, insbesondere flache und eine Modulfläche (5) bildende, Photovoltaik-Einrichtung angeordnet ist. Es ist ferner zumindest eine Betätigungseinrichtung (12) zum Positionieren des Rahmens (3) an oder vor oder unter oder schräg zum Gebäude- oder Fassadenvorsprung (30) oder zum Balkon-Bodenelement (7) oder zur Balkon-Brüstung (21) vorgesehen.

ILLUMINATION-BASED CONTROL METHOD FOR BATTERY PACK IN HYBRID ENERGY STORAGE STATE

NºPublicación:  EP4668525A1 24/12/2025
Solicitante: 
NATIONAL ENGINEERING RES CENTER OF ADVANCED ENERGY STORAGE MATERIALS SHENZHEN CO LTD [CN]
National Engineering Research Center of Advanced Energy Storage Materials (Shenzhen) Co., Ltd
EP_4668525_PA

Resumen de: EP4668525A1

The invention discloses a battery pack control method in a mixed storage state based on light intensity, which includes step S1: detecting the status of multiple energy storage battery packs in real time. When it is in the standby state, it goes to step S2. When it is in the charging state, it goes to step S3, when it is in the discharge state, go to step S4, when it is in the simultaneous charge-discharge state, go to step S5; Step S2: When it is in the standby state: detect the lighting situation, and compare the structure with the current light intensity coefficient value and the set threshold. Adjust the circuit parameters; Step S3: Work in Buck mode when charging; Step S4: Work in Boost mode when discharging; Step S5: When in charge-discharge state, proceed according to the output-input power difference. Adjustment; Step S6: Return to step S1 and cycle through multi-energy storage battery control. This new energy power generation control method can enable the battery pack in mixed storage to safely, stably, quickly and efficiently collect and store new energy.

PEROVSKITE PRECURSOR SOLUTION, PEROVSKITE THIN FILM, PEROVSKITE CELL, AND ELECTRIC DEVICE

NºPublicación:  EP4669085A1 24/12/2025
Solicitante: 
CONTEMPORARY AMPEREX TECHNOLOGY HONG KONG LTD [HK]
Contemporary Amperex Technology (Hong Kong) Limited
EP_4669085_PA

Resumen de: EP4669085A1

Provided is a perovskite precursor solution, a perovskite thin film, a perovskite cell, and an electrical device. The perovskite precursor solution comprises a perovskite precursor material, a solvent, and an additive; the additive contains, in its structure, a weakly reducing group which has reducibility on a 0 valence corresponding to a monovalent anion in the perovskite-type metal halide in the solution and is inert to a divalent cation in the perovskite-type metal halide; and the additive is a hydrogen halide salt.

ELECTRONIC DEVICE

NºPublicación:  EP4669069A1 24/12/2025
Solicitante: 
AJINOMOTO KK [JP]
AJINOMOTO CO., INC
EP_4669069_A1

Resumen de: EP4669069A1

The present invention aims to provide an electronic device that suppresses warping, can sufficiently protect electronic elements from water vapor, and is superior in folding resistance, even though it includes a flexible substrate. The present invention relates to an electronic device having a flexible substrate, an electronic element formed on the flexible substrate, and a sealing layer that seals the electronic element, the electronic device further including a barrier film provided via an adhesive layer on a surface of the flexible substrate opposite to the surface on which the electronic element is formed, and the adhesive layer containing a polymer containing constitutional units derived from isobutene.

CLEANING ASSEMBLY

NºPublicación:  EP4667670A1 24/12/2025
Solicitante: 
QUANZHOU KOMOO INTELLIGENT KITCHEN & BATH CO LTD [CN]
Quanzhou Komoo Intelligent Kitchen & Bath Co., Ltd
EP_4667670_PA

Resumen de: EP4667670A1

A cleaning assembly, comprising a support and a spray rod portion which can extend and retract on the support. A self-cleaning assembly is mounted at the front end of the spray rod portion, and the self-cleaning assembly comprises an upper cover and a pressing plate; a cleaning hole is formed on the upper cover, one end of the pressing plate is hingedly connected to the lower end of the upper cover, a reset device is provided between the pressing plate and the upper cover, a descaling member is further mounted on the pressing plate, and a limiting portion is provided on the support; during the extension and retraction of the spray rod portion, the pressing plate abuts against the limiting portion, so that the pressing plate swings upwards around the position where the pressing plate is hingedly connected to the upper cover, and thus the descaling member is inserted into the cleaning hole, and after the pressing plate is separated from the limiting portion, the descaling member is pulled away from the cleaning hole by the reset device.

METHOD FOR POSITIONING A SINGLE-AXIS SOLAR TRACKER DURING OVERCAST PERIODS

NºPublicación:  EP4668575A1 24/12/2025
Solicitante: 
P4Q ELECTRONICS S L [ES]
P4Q Electronics, S.L
EP_4668575_PA

Resumen de: EP4668575A1

Method for positioning a single-axis solar tracker during overcast periods comprising using a radiation detecting sensor in the vicinity of the single-axis solar tracker to measure values of global horizontal irradiance (GHI) of the sun during a time interval; determining an estimation of a diffuse horizontal irradiance (DHI<sub>apx</sub>) based on measured values of global horizontal irradiance (GHI); determining an estimation of a global tilted irradiance (GTI<sub>apx</sub>) also based on measured values of global horizontal irradiance (GHI); comparing the diffuse horizontal irradiance (DHI<sub>apx</sub>) with the global tilted irradiance (GTI<sub>apx</sub>); and obtaining a maximum tracking angle (p) based on said comparation, such that when the diffuse horizontal irradiance (DHI<sub>apx</sub>) is bigger than the global tilted irradiance (CTI<sub>apx</sub>), the rotation of the single horizontal axis (10) is limited to the maximum tracking angle (p).

SOLAR PANEL FRAME AND ASSEMBLIES WITH FLUSH-FRAME DESIGN AND ENHANCED LOAD-BEARING CAPACITY

NºPublicación:  EP4668574A1 24/12/2025
Solicitante: 
INNOVATIV TERBURKOLATFEJLESZTOE KFT [HU]
INNOVAT\u00CDV T\u00C9RBURKOLATFEJLESZT\u00D6 KFT
EP_4668574_PA

Resumen de: EP4668574A1

The present invention relates to solar photovoltaic (PV) panels designed for integration into walkable surfaces. The novel frame profile 200 features a cross-sectional design where the upper flange 327 does not extend over the light-transmissive layer 310, preventing debris accumulation and reducing physical damage risks. Utilizing thicker light-transmitting layer 310, preferably 6-12 mm, with edge finishing 311, the upper flange 327 frame 200 sits flush with or below the upper surface of the light-transmitting layer 310. The clamping surface 324 on the edges of the assembly 20 allows for the use of commercially available decking mounting systems. This innovative design simplifies installation and enhances durability, rendering the panels suitable for a wide range of applications, including decks, rooftops, balconies, terraces, event spaces, and bridges.

METHOD FOR MOUNTING A PLURALITY OF PHOTOVOLTAIC MODULES ON AT LEAST ONE BASE, AND MODULE ASSEMBLY

NºPublicación:  EP4668570A1 24/12/2025
Solicitante: 
GOLDBECK SOLAR GMBH [DE]
Goldbeck Solar GmbH
EP_4668570_PA

Resumen de: EP4668570A1

Die Erfindung betrifft ein Verfahren zur Montage einer Mehrzahl von Photovoltaikmodulen auf zumindest einem Untergrund. Die Erfindung betrifft ebenfalls eine Modulbaugruppe umfassend: eine Mehrzahl von Photovoltaikmodulen (10) und zumindest einen Modulträger (14, 36), wobei der zumindest eine Modulträger (14, 36) zumindest ein Montageprofil (38) umfasst, wobei das Montageprofil (38) einen ersten Verbindungsabschnitt (44) zur Verbindung des Montageprofils (38) mit der Mehrzahl von Photovoltaikmodulen (10) aufweist, und wobei das Montageprofil (38) einen zweiten Verbindungsabschnitt (46) zur Verbindung des Montageprofils (38) mit zumindest einer auf einem Untergrund befestigten Unterkonstruktion (26) aufweist.

FLOATING PHOTOVOLTAIC GENERATION SYSTEMS

NºPublicación:  EP4666382A1 24/12/2025
Solicitante: 
AREMA ENERGIES COMPANY [FR]
Arema Energies Company
WO_2024194854_PA

Resumen de: WO2024194854A1

A floating solar system having a buoyant outer pontoon defining a peripheral shape within which is suspended an array of individual photovoltaic panels supported by floating boxes and frames. The buoyant border pontoon may be made of pipes connected together by electrofusion fittings and electrofusion elbows, and defines a closed peripheral (preferably) rectangular shape surrounding an interior space. Within the interior space an array of interconnected rigid photovoltaic or solar panels mount on floating boxes and frames. The solar panels are evenly distributed within the peripheral shape and structurally fixed to the pontoon by one or several nets or mesh wrapped around each pipe, extending across to substantially fill the interior space defined within the pontoon. Rows of photovoltaic panels may be paired with the photovoltaic panels in the adjacent rows angled upward toward each other to provide a tent-like shape which better withstands wind forces.

SOLAR PANEL VACUUM LIFTER AND TRAILER CONNECTABLE TO A HOST PIECE OF EQUIPMENT

NºPublicación:  EP4665669A1 24/12/2025
Solicitante: 
VACUWORX GLOBAL LLC [US]
Vacuworx Global, LLC
AU_2024237968_PA

Resumen de: AU2024237968A1

Embodiments of a solar panel trailer (10) of this disclosure include a fixed frame (20) having a pair of tilt hinges (55) at a forward end (21); a tilting frame (70) having forks (83) and connected to the pair of tilt hinges; a pair of lifting cylinders (140) having a piston end (141) and a rod end (143), the piston end connected to the fixed frame, the rod end connected to a corresponding one of the pair of tilt hinges, and a pair of vertically oriented clamps (120) located at a rearward end (31) of the trailer, an open end (121) of each clamp facing away from the rearward end; the tilting frame tilting the pair of lifting cylinders extend and retract. The trailer may be accompanied by a vacuum lifter (150) including a slewing bearing (151); at least two spring-loaded, disc-shaped vacuum pads (153); and vacuum pump (155).

VARIABLE TERRAIN SOLAR TRACKER

NºPublicación:  EP4666383A2 24/12/2025
Solicitante: 
NEVADOS ENG INC [US]
Nevados Engineering, Inc
AU_2024222545_PA

Resumen de: AU2024222545A1

Solar trackers that may be advantageously employed on sloped and/or variable terrain to rotate solar panels to track motion of the sun across the sky include bearing assemblies and other mechanical features configured to address mechanical challenges posed by the sloped and/or variable terrain that might otherwise prevent or complicate use of solar trackers on such terrain.

A TILE FOR MOUNTING SOLAR CELLS TO A ROOF

NºPublicación:  EP4666384A1 24/12/2025
Solicitante: 
L UNIV TA MALTA [MT]
L-Universit\u00E0 ta' Malta
WO_2024170672_PA

Resumen de: WO2024170672A1

A tile for mounting solar cells to a roof, the tile comprising : a base suitable for mounting on a roof, the base comprising a thermal insulation layer; a solar cell mounted to the base and extending from a first edge to a second edge at an angle of inclination, relative to the base; and a reflector mounted to the base and extending from a first edge to a second edge at an angle of inclination, relative to the base, wherein the first edges of the reflector and the solar cell are joined.

OPTICAL TRANSMISSION MEASURING DEVICE AND METHOD OF MEASUREMENT

NºPublicación:  EP4666058A1 24/12/2025
Solicitante: 
HUKSEFLUX HOLDING B V [NL]
Hukseflux Holding B.V
CN_120769981_PA

Resumen de: CN120769981A

The present application illustrates a measuring device (1) for measuring the optical transmittance T of an object (21) passing through a measurement region (20) positioned between an external light source (30) and the measuring device (1), the device (1) comprising: i. Two sensors (9, 10) placed on a body (2) and located in a measurement plane (11), the sensors (9, 10) being arranged in the measurement plane (11); 10) have substantially similar spectral response and directional response; and ii. A control unit operably connected to the sensors to receive respective sensor outputs; wherein the measurement region (20) and/or the body (2) are/is configured to move between a first position (P11, P12), in which a vertical projection of the measurement region (20) on the body (1) does not overlap with any one of the sensors (9, 10), and a second position (P21, P22), in which a projection of the measurement region overlaps with one sensor (9, 10) but does not overlap with the other sensor, and the control unit is adapted to calculate a value of the optical transmittance of the object based on a change in the ratio of the sensor outputs of the sensors.

Installation solaire comprenant un système de nettoyage, et procédé de nettoyage

NºPublicación:  FR3163512A1 19/12/2025
Solicitante: 
AX GROUP [FR]
AX GROUP
FR_3163512_PA

Resumen de: FR3163512A1

La présente divulgation est relative à une installation solaire (1) comportant un ensemble de panneaux photovoltaïques (PV) juxtaposés, agencés selon une pente, comportant plusieurs panneaux photovoltaïques juxtaposés s’étendant suivant une première direction (X1), le long de la pente, et plusieurs panneaux s’étendant juxtaposés à une même hauteur, selon une deuxième direction (X2), et un système de nettoyage (2) comportant :- une unité de brossage (20), mobile sur les panneaux photovoltaïques de la pente inclinée suivant la première direction (X1) et selon la deuxième direction (X2), comportant un châssis (21), une brosse (22), rotative- un dispositif d’entrainement (23) configuré pour le déplacement de ladite unité de brossage , selon la première direction (X1) le long de la pente, et selon la deuxième direction (X2), comportant au moins un système d’ancrage (24) agencé en un point haut de la pente inclinée, et au moins un câble (Ca).Figure de l’abrégé : Figure 1.

Assemblage de tronçons de profilés, procédé d’assemblage et cadre obtenu par un tel procédé

NºPublicación:  FR3163295A1 19/12/2025
Solicitante: 
CQFD COMPOSITES [FR]
CQFD COMPOSITES
FR_3163295_PA

Resumen de: FR3163295A1

Un assemblage comporte deux tronçons (90) de profilé (2), chaque tronçon (90) comportant au moins une chambre (22), l’assemblage comportant une pièce d’assemblage (91) en matière thermoplastique, la pièce d’assemblage (91) comportant deux branches (910) s’étendant selon des directions longitudinales respectives formant un angle entre elles, chaque branche (910) étant insérée dans la chambre (22) de l’un des tronçons (90) avec une surface de soudage (914) en appui contre une première face (221) de la chambre (22), et au moins un intercalaire s’étendant entre la surface de soudage (914) et une deuxième face de la chambre (22) à l’opposé de la première face (221), la surface de soudage (914) étant reliée par soudure avec la première face (221) de la chambre (22). Cadre formé par de tels assemblages et procédé de réalisation de tels assemblage Figure pour l’abrégé : Fig. 3

Profilé composite, cadre utilisant un tel profilé et procédé de fabrication dudit profilé

NºPublicación:  FR3163297A1 19/12/2025
Solicitante: 
CQFD COMPOSITES [FR]
CQFD COMPOSITES
FR_3163297_PA

Resumen de: FR3163297A1

Un profilé comporte au moins une chambre (70), la chambre (70) étant délimitée par au moins une coque. Chaque coque comporte deux bordures (751, 761) et est formée par un matériau de renfort sous la forme d’une nappe de textile imprégnée d’une matrice en matière synthétique, chaque bordure (751, 761) étant superposée à une autre des bordures (751, 761) dans une zone de recouvrement, la ou les coques autour de la chambre (70) formant un tube (71). Cadre (9) réalisé avec de tels profilés et procédé de fabrication du profilé. Figure pour l’abrégé : Fig. 1

Pièce d’assemblage de tronçons de profilés et cadre obtenu par un tel assemblage

NºPublicación:  FR3163296A1 19/12/2025
Solicitante: 
CQFD COMPOSITES [FR]
CQFD COMPOSITES
FR_3163296_PA

Resumen de: FR3163296A1

Pièce d’assemblage destinée à assembler deux tronçons (90) de profilé (2), chaque tronçon (90) comportant au moins une chambre (22) délimitée par un tube et au moins une première aile (23) faisant saillie du tube, la première aile (23) comportant un retour (231) s’étendant parallèlement à une première paroi (211) du tube de manière à délimiter une gorge (25), la pièce d’assemblage (91) comportant deux branches (910) formant un angle entre elles et reliées par un pilier (915), chaque branche (910) étant destinée à s’insérer dans la chambre (22) de l’un des tronçons (90), la pièce étant caractérisée en ce que le pilier (915) comporte des moyens de butée (8) faisant saillie des branches (910) pour que le profilé (2) soit en butée contre les moyens de butée (8) après coulissement de la branche (910) dans la chambre (22), le pilier (915) comportant en outre un logement (9155) pour le prolongement des gorges (25). Assemblage et cadre réalisés avec la pièce d’assemblage Figure pour l’abrégé : Fig. 3

Dispositif de connexion électrique et de fixation mécanique

Nº publicación: FR3163502A1 19/12/2025

Solicitante:

MOBASOLAR [FR]
MOBASOLAR

FR_3163502_PA

Resumen de: FR3163502A1

L’invention concerne un dispositif de connexion électrique et de fixation mécanique (1) entre deux pièces (2a, 2b). Ce dispositif est particulier en ce qu’il comporte :- un élément interne (3) présentant une section en forme de U et comportant deux moyens de connexion électrique (5), disposés chacun à l’extrémité libre d’une des jambe du U, et- un élément externe (4), configuré pour pouvoir entourer au moins partiellement l’élément interne (3) dans une position assemblée du dispositif (1),et en ce que lorsque ledit dispositif est en position assemblée, les moyens de connexion électrique (5) subissent une pression de la part de l’élément externe (4), afin que lorsque les pièces (2a, 2b) sont disposées entre les jambes du U, ladite pression génère une connexion électrique et une fixation mécanique des pièces entre elles. L’invention concerne également un procédé d’utilisation du dispositif selon l’invention. Figure pour l’abrégé : Fig 1

traducir