Ministerio de Industria, Turismo y Comercio LogoMinisterior
 

Alerta

Resultados 498 resultados
LastUpdate Última actualización 25/04/2026 [06:57:00]
pdfxls
Solicitudes publicadas en los últimos 15 días / Applications published in the last 15 days
previousPage Resultados 200 a 225 de 498 nextPage  

一种新型结构的燃料电池增湿器

NºPublicación:  CN121885677A 17/04/2026
Solicitante: 
萱柯氢能科技(北京)有限公司
CN_121885677_PA

Resumen de: CN121885677A

本发明涉及燃料电池技术领域,公开了一种新型结构的燃料电池增湿器,包括主体壳体和集束壳体,集束壳体装配于主体壳体的内部端板上,且集束壳体配置有内部滑块结构,内部滑块结构与主体壳体内部的端板滑动配合以调整集束壳体的尺寸,集束壳体内部设有中空纤维膜管,中空纤维膜管通过灌封胶面与主体壳体固定,主体壳体的两端可拆卸连接有端盖,端盖用于接入气体干气路,主体壳体上安装有压力调节阀,压力调节阀用于平衡干湿两路压差,主体壳体的接口处设有接口滑块,所述接口滑块与主体壳体接口滑动连接以调整湿气路接口的方位,用以解决现有增湿器抗压抗冲击强度不足、可塑性差、适配性有限及干湿两路压差波动影响使用稳定性的问题。

一种新能源电动车电池外壳生产线

NºPublicación:  CN121870136A 17/04/2026
Solicitante: 
南京快轮智能科技有限公司
CN_121870136_PA

Resumen de: CN121870136A

本发明涉及电池制造技术领域,公开了一种新能源电动车电池外壳生产线,包括工作平台,所述工作平台的上表面固定连接有挡板,所述挡板的上表面固定连接有电动滑台,所述顶块的外壁设置有支撑组件,所述挡板的外壁固定连接有电动推杆三,所述电动推杆三的输出端固定设置有固定柱,所述固定柱的内壁固定连接有微型电机,所述微型电机的输出端固定设置有转块,所述转块的外壁转动连接在固定柱的外壁。通过电动推杆二推动顶块滑动的同时带动支撑组件和滑座同步移动,设置的顶块配合支撑组件能够对外壳本体的内壁进行支撑,达到防止外壳本体出现变形的效果。

具有吩嗪基的负极电解质及其在水系有机液流电池中的应用

NºPublicación:  CN121885700A 17/04/2026
Solicitante: 
常州大学
CN_121885700_PA

Resumen de: CN121885700A

本发明属于新能源材料领域,具体涉及一类具有吩嗪基的负极电解质及其在水系有机液流电池中的应用。2,3‑二甲基对苯醌和3,4‑二氨基苯甲酸脱水缩合制备HDMPC。2‑氯‑3‑硝基苯甲酸与2‑氨基苯乙酸反应得到中间体,再通过硼氢化钠关环得到CPCA。该类吩嗪基物质具有良好的溶解性和电化学性能,HDMPC和CPCA分别在1 M LiOH和KOH中溶解度高达1.23 M和1.39 M,电化学研究显示HDMPC和CPCA的平衡电位分别为‑0.708 V和‑0.475 V,具有快速的氧化还原动力学。将其作为负极活性物质应用于水系有机液流电池时,展现出高库仑效率、高能量密度及长循环寿命等突出优点。

一种提高燃料电池模拟精度的方法

NºPublicación:  CN121881743A 17/04/2026
Solicitante: 
华东理工大学
CN_121881743_PA

Resumen de: CN121881743A

本发明聚焦于燃料电池仿真技术领域。在质子交换膜燃料电池的研究进程中,模拟仿真技术占据着不可替代的核心地位,其价值集中体现在对多物理场耦合机理的深度剖析以及对实验研究的精确指导等关键层面。然而,在基于软件开展相关模拟研究时,由于软件自身固有的局限性,以及实际工况条件所展现出的高度复杂性,目前尚难以达成模拟数据与实际实验数据的完全一致性。鉴于上述现状,本发明提出一种创新方法,即通过对模拟数值进行校正,获取更为贴近实测数据的校正结果,尤其致力于缩小浓差极化部分模拟数据与实测数据之间的差距。此方法旨在为质子交换膜燃料电池的性能优化、设计改进以及实际工程应用提供更为精准、可靠的数据支撑。

一种锌溴液流电池用负极电解液及其制备方法和应用、锌溴液流电池

NºPublicación:  CN121885695A 17/04/2026
Solicitante: 
深圳先进技术研究院
CN_121885695_PA

Resumen de: CN121885695A

本发明提供了一种锌溴液流电池用负极电解液及其制备方法和应用、锌溴液流电池。本发明的负极电解液,包括铅盐,铅盐的浓度为0.0005~0.002mo1/L。本发明的锌溴液流电池,得益于痕量Pb金属优先还原到碳毡电极上形成的高性能复合电极,痕量铅原子提供的坚固成核位点和与锌原子之间的强键合,抑制了初始沉积阶段的表面扩散,促进了锌的均匀沉积,结合Pb的高析氢过电位,协同改善了锌电镀/剥离过程中的界面动力学和热力学稳定性,该复合电极能够有效提高锌金属的可逆性,同时抑制电极界面的析氢、腐蚀等问题,提高电池的循环寿命及电池性能。本发明在不需要额外工序的情况下,降低了成本,提高了效率,工艺简单。

多孔碳载体及其制备方法、催化剂、膜电极、燃料电池

NºPublicación:  CN121885655A 17/04/2026
Solicitante: 
深圳市贝特瑞新能源技术研究院有限公司
CN_121885655_PA

Resumen de: CN121885655A

本申请提供一种多孔碳载体及其制备方法、催化剂、膜电极、燃料电池、涉电设备,其中,该多孔碳载体包括:多孔碳载体的拉曼光谱图包括2650cm‑1至2700cm‑1拉曼位移波数的2D峰、1570cm‑1至1580cm‑1拉曼波数的G峰、1120cm‑1至1250cm‑1拉曼波数的D''峰;其中,G峰的半高宽的取值范围为30cm‑1至60cm‑1,2D峰与G峰的面积比的取值范围为1.50至2.20,D''峰与G峰的面积比的取值范围为0.02至0.10。在本申请多孔碳载体能够解决现有多孔碳载体难以同时兼顾高湿和低湿工况下的耐久性的问题。

一种燃料电池催化剂浆料的回收与利用方法

NºPublicación:  CN121885663A 17/04/2026
Solicitante: 
安徽元隽氢能科技股份有限公司
CN_121885663_A

Resumen de: CN121885663A

本发明涉及一种燃料电池催化剂浆料的回收与利用方法。本发明将待回收催化剂浆料剪切分散后进行第一次过滤得到一次滤饼、一次滤液;对一次滤液进行低温离心处理,进行第二次过滤后获得二次滤饼、二次滤液;所得二次滤液即为回收的催化剂浆料。本发明通过控制减少新的颗粒聚集的同时,分离出较大的聚集颗粒,从而确保无较大颗粒催化剂‑树脂聚集体分离后的浆料可以用于CCM生产。具体地,控制较低温度,减轻离心过程催化剂颗粒团聚(即固定微细浆料分散状态),同时利用高速离心加速凝聚大颗粒的聚集,实现均匀分散浆料与粗大颗粒有效分离,达到“失效”催化剂浆料的回收利用。

检测电动车辆燃料电池的氢气泄漏的方法和系统

NºPublicación:  CN121885684A 17/04/2026
Solicitante: 
博世氢动力系统(重庆)有限公司
CN_121885684_PA

Resumen de: CN121885684A

一种检测电动车辆燃料电池的氢气泄漏的方法,包括:检测电动车辆的动力电池包的当前SOC和电动车辆的当前运动状态,以判断电动车辆的燃料电池当前是否停止供电并估算在电动车辆的当前运动状态下燃料电池停止供电的持续时间,其中电动车辆的当前运动状态包括当前车速;以及如果估算的持续时间达到预定的持续时间阈值,则向燃料电池的阳极输入氢气使阳极内的气体压力维持在恒定值,同时检测燃料电池的阴极内的气体压力并计算阴极内的气体压力的升高速率,如果该升高速率大于等于预定的升高速率阈值,则判断燃料电池存在氢气从阳极到阴极的内部泄漏。还提出一种检测电动车辆燃料电池的氢气泄漏的系统,该系统被配置成执行根据本发明的方法。

一种利用电沉积壳聚糖促进电化学活性菌产电的方法

NºPublicación:  CN121885647A 17/04/2026
Solicitante: 
北京理工大学
CN_121885647_PA

Resumen de: CN121885647A

纳米材料修饰电极是提高电化学活性菌附着和产电的有效手段,往往使用壳聚糖作为基础修饰,但是壳聚糖对于电化学活性菌的影响一直不清晰。本专利公开了一种利用电沉积壳聚糖促进电化学活性菌产电的方法。壳聚糖修饰对电化学活性菌产电的促进作用是不可忽视的,最多能够将电化学活性菌产电提高14.19倍。壳聚糖电沉积时间对于电化学活性菌产电的促进作用呈现倒U形,电沉积时间为10 min时促进作用最佳。壳聚糖沉积物提高电化学活性菌产电来源于轻微的电化学活性提高和明显的生物量增加。当电沉积时间较短时,壳聚糖沉积物氨基含量不足,不能有效地促进电化学活性菌附着。反而,当电沉积时间较长时,氨基向吡啶氮转换开始出现,削弱了氨基对于电化学活性菌附着的促进作用。

一种氢燃料电池催化剂及其制备方法以及氢燃料电池

NºPublicación:  CN121885660A 17/04/2026
Solicitante: 
郴州新能源电池材料研究中心郴江实验室
CN_121885660_PA

Resumen de: CN121885660A

本发明提供一种氢燃料电池催化剂及其制备方法以及氢燃料电池。该方法包括:制备载体原料的水性分散液、铂基前驱体的水溶液、掺杂元素前驱体的水性分散液以及助剂的分散液;将载体原料的水性分散液、铂基前驱体的水溶液和掺杂元素前驱体的水性分散液混合并反应,随后加入助剂的分散液,继续反应,得到催化剂浆料;将催化剂浆料喷雾干燥,得到粉末前驱体;将粉末前驱体在还原气氛下进行还原热处理;将经还原热处理的粉末前驱体在惰性气氛下进行高温致密化处理;将经高温致密化处理的产物洗涤、干燥,得到氢燃料电池催化剂。本发明的氢燃料电池催化剂催化活性良好、循环稳定性强。

一种纳米结构复合氧电极材料及制备方法

NºPublicación:  CN121885649A 17/04/2026
Solicitante: 
常州格睿克斯能源科技有限公司
CN_121885649_PA

Resumen de: CN121885649A

本发明涉及一种纳米结构复合氧电极材料及制备方法,属于固体氧化物电解池技术领域。所述材料为xSmBa0.5Sr0.5Co2O5.5‑(100‑x)Sm0.2Ce0.8O1.9,0

一种微生物产电储能的一体化地埋式污水处理装置

NºPublicación:  CN121872600A 17/04/2026
Solicitante: 
江苏斯柯郎新材料科技有限公司盐城工学院
CN_121872600_PA

Resumen de: CN121872600A

本发明涉及污水处理技术领域,公开了一种微生物产电储能的一体化地埋式污水处理装置,包括:依次设置的隔油池、化粪池、厌氧和好氧区、以及沉淀区;厌氧和好氧区包括多个依次连通的反应器,污水依次经过每个反应器的阳极室和阴极室,位于上游的反应器的阴极室与位于下游的反应器的阳极室连通,阳极室内设有附着微生物的阳极板,阴极室内设有附着微生物的阴极板,阳极板和阴极板与集电储能模块电连接。通过阳极板和阴极板的电势差形成的电流,一部分电子能够被直接导出至集电储能模块用于产电,使更多的底物被用于能量产生,减少剩余污泥量与产率,符合减量化的环保原则,提高了污水处理装置的环境友好性,适用于靠近居民区的使用。

一种用于DVP测试的丙烯酸树脂固化块的制备方法

NºPublicación:  CN121873380A 17/04/2026
Solicitante: 
博远(山东)新能源科技发展有限公司
CN_121873380_PA

Resumen de: CN121873380A

本发明公开了一种用于DVP测试的丙烯酸树脂固化块的制备方法,属于树脂固化技术领域。本发明提供的制备方法通过调控树脂固化反应速率,采用预处理、阶梯式固化及后处理等多阶段工艺,有效抑制固化过程中的热应力集中与体积收缩,成功制备出表面光洁、边缘整齐、内部无裂纹及气泡缺陷的优质树脂固化块,显著提升了材料的结构完整性与测试可靠性。

用于控制燃料电池堆的运行的设备和方法

NºPublicación:  CN121885688A 17/04/2026
Solicitante: 
现代自动车株式会社起亚株式会社
CN_121885688_PA

Resumen de: CN121885688A

一种用于控制燃料电池堆的运行的设备和方法,该设备可包括电池、燃料电池堆、处理器和存储至少指令的存储器。当由与存储器通信的处理器执行时,该指令可使设备检测燃料电池堆的冷却剂温度和可再充电电池的充电状态(SOC),确定所述冷却剂温度与目标冷却剂温度之间的温度差并且确定所述SOC与目标SOC之间的SOC差,基于所述温度差和SOC差来确定,所述燃料电池堆的控制电压,基于所述燃料电池堆的实际电流与参考电流的比率确定与所述燃料电池堆相关联的劣化指数,基于所述劣化指数调整所述控制电压,并且基于所述调整的控制电压执行所述燃料电池堆的运行。

一种全钒液流电池电解液的恒温控制装置

NºPublicación:  CN224138132U 17/04/2026
Solicitante: 
四川华泸光电集团有限公司四川中新储能科技有限公司
CN_224138132_U

Resumen de: CN224138132U

本实用新型属于电解液温度控制装置技术领域,尤其是涉及一种全钒液流电池电解液的恒温控制装置,设置于全钒液流电池的正电解液罐和负电解液罐,包括多个液体交换装置、多个温度检测装置、多个加热装置、正电解液调温存储容器和负电解液调温存储容器;设置有主控模块,加热装置、所述温度检测装置分别连接所述主控模块。本实用新型优点是实现加热更均匀、更容易维护的加热装置。

Interconnecteur électrique et fluidique pour réacteur électrochimique

NºPublicación:  FR3167400A1 17/04/2026
Solicitante: 
COMMISSARIAT A LENERGIE ATOMIQUE ET AUX ENERGIES ALTERNATIVES [FR]
FR_3167400_A1

Resumen de: FR3167400A1

La présente invention concerne un interconnecteur (7) électrique et fluidique pour un réacteur pour l'électrolyse de l'eau ou du dioxyde de carbone à haute température, pour la co-électrolyse de l'eau également à haute température avec le dioxyde de carbone ou pour une pile à combustible à oxyde solide, comprenant une plaque d’interconnexion (8), une première plaque d’extrémité (9) et une deuxième plaque d’extrémité (11), toutes monolithiques en tôle, la première plaque d’extrémité (9) et la deuxième plaque d’extrémité (11) comportant chacune notamment un trou traversant central (C1, C2), la deuxième plaque d’extrémité (11) différant géométriquement de la première plaque d’extrémité (9) uniquement en ce que le trou traversant central (C2) de la deuxième plaque d’extrémité (11) est tourné de 90 degrés par rapport au trou traversant central (C1) de la première plaque d’extrémité (9). L’invention concerne également une couche d’empilement, un empilement ainsi qu’un procédé de fabrication d’un tel empilement. Figure pour l’abrégé : Fig. 1

一种液流电池电压巡检端子

NºPublicación:  CN224137331U 17/04/2026
Solicitante: 
上海电气(安徽)储能科技有限公司上海电气灵储科技有限公司
CN_224137331_U

Resumen de: CN224137331U

本实用新型公开了一种液流电池电压巡检端子,包括金属铜片和包覆于所述金属铜片外的绝缘塑料壳,所述绝缘塑料壳下端两侧分别设置有修正齿和插齿,所述插齿外侧面开设有避让槽,所述避让槽内一表面固定有金属铜片,金属铜片的下端部倾斜折弯设计。本实用新型中的电压巡检端子通过金属铜片和绝缘塑料壳整体注塑而成,结构简单,牢固耐用;通过设置修正齿和插齿,即使单电池有装配误差也能通过齿状结构调整安装间隙,快速安装的同时还能确保金属铜片与双极板外伸部分接触良好;电压巡检端子上的齿状结构以及中空结构还能确保端子与电压采集位配合后的机械性能,确保误触或者外力撞击时不晃动,从而保证铜片与双极板接触良好及足够长的使用寿命。

一种液流电池用的带有鱼骨形流道的极板

NºPublicación:  CN224138128U 17/04/2026
Solicitante: 
上海电气(安徽)储能科技有限公司上海电气灵储科技有限公司

Resumen de: CN224138128U

本实用新型公开了一种液流电池用的带有鱼骨形流道的极板,涉及液流电池技术领域。本实用新型包括极板A和极板B,极板A一表面雕刻有鱼骨形流道,极板B相对两表面均雕刻有结构对称的鱼骨形流道,鱼骨形流道一表面设置有石墨毡,鱼骨形流道分为进液流道和出液流道,进液流道和出液流道均分别分为一级流道、二级流道和三级流道,进液流道的三级流道与出液流道的三级流道呈平行且互相交错设置。在本实用新型中处于极板同一平面的进出液流道,相互配合形成一个多支路的并联管路系统;鱼骨形的流道既可以降低电解液在电极区域的流动阻力,又可以保证电解液在电极区域的均匀分布,缩减电解液在电极区域的流动死区。

PROCÉDÉ DE VÉRIFICATION DES RÉSULTATS D’UNE MÉTHODE DE DÉTECTION DE FUITES DANS UN CIRCUIT DE STOCKAGE ET D’ALIMENTATION EN DIHYDROGÈNE

NºPublicación:  FR3167448A1 17/04/2026
Solicitante: 
STELLANTIS AUTO SAS [FR]
FR_3167448_A1

Resumen de: FR3167448A1

Un aspect de l’invention concerne un procédé (100) de vérification des résultats d’une méthode de détection de fuites dans un circuit de stockage et d’alimentation en dihydrogène d’une pile à combustible d’un véhicule, ledit procédé 100 comportant les étapes de : Déterminer (101), au cours de chaque étape de ladite méthode, une évolution d’au moins un paramètre reflétant une fuite de dihydrogène ;Vérifier (102), auprès d’une machine à états, chaque passage de transition d’une étape n à une étape n+1 exécutées par ladite méthode ;Si ladite évolution dudit au moins paramètre est, selon le au moins un paramètre, inférieur ou supérieur à un seuil, identifier (103) une fuite ;Si un ordre de passage des transitions est incorrect ou si seulement une partie des transitions est exécutée, identifier (104) un défaut de ladite méthode. Figure 3

Membrane échangeuse d’anions et son procédé d’obtention.

NºPublicación:  FR3167484A1 17/04/2026
Solicitante: 
CIE GENERALE DES ETABLISSEMENTS MICHELIN [FR]
FR_3167484_A1

Resumen de: FR3167484A1

L’invention concerne une membrane échangeuse d’anions contenant un ionomère réticulé constitué de chaînes polymères portant des groupes ioniques qui sont rattachés aux chaînes polymères par l’intermédiaire d’un groupement issu de la réaction de cycloaddition entre un composé 1,3-dipolaire et un polymère insaturé, le composé 1,3-dipolaire étant un oxyde de nitrile aromatique substitué par une fonction imidazole, le polymère insaturé étant un polymère contenant des unités monomères d’un diène, une partie des groupes ioniques imidazoliums étant reliés chacun à un groupe ionique imidazolium distinct d’une autre chaîne polymère constitutive du ionomère par une chaîne alcanediyle. L’invention concerne également le procédé d’obtention de la membrane. La membrane est destinée à être utilisée dans une pile à combustible ou un électrolyseur.

一种SPBI和抗氧化剂掺杂SPEEK质子交换膜及其制备方法与应用

NºPublicación:  CN121885693A 17/04/2026
Solicitante: 
季华实验室
CN_121885693_PA

Resumen de: CN121885693A

本发明涉及质子交换膜制备技术领域,公开了一种SPBI和抗氧化剂掺杂SPEEK质子交换膜及其制备方法与应用,其包括步骤:通过单体聚合法将含磺酸基的酚类单体、双酚单体与二卤单体在催化剂和溶剂存在下混合并进行亲核取代聚合,生成磺化聚醚醚酮;同时对聚苯并咪唑进行磺化处理,得到磺化聚苯并咪唑;将磺化聚醚醚酮、磺化聚苯并咪唑与抗氧化剂1330溶解于有机溶剂中,经溶液浇铸法制备复合质子交换膜。本发明通过单体聚合法从源头解决了传统后磺化工艺磺化度难控、批次稳定性差的问题;通过SPBI的引入构建酸碱交联网络,有效抑制膜溶胀;通过抗氧化剂1330捕获自由基,显著提升膜抗氧化稳定性,所得复合膜在燃料电池领域具有广阔应用前景。

Verfahren zum Betreiben eines Brennstoffzellensystems sowie Steuergerät

NºPublicación:  DE102024209894A1 16/04/2026
Solicitante: 
BOSCH GMBH ROBERT [DE]
DE_102024209894_PA

Resumen de: DE102024209894A1

Die Erfindung betrifft ein Verfahren zum Betreiben eines Brennstoffzellensystems (1), insbesondere eines mobilen Brennstoffzellensystems (1), bei dem eine angeforderte elektrische Leistung auf mehrere Stacks (2) aufgeteilt wird, so dass die Leistungsanteile der Stacks (2) in Summe die angeforderte elektrische Leistung ergeben. Erfindungsgemäß wird zur Verbesserung des NVH-Verhaltens des Brennstoffzellensystems (1) der jeweilige Leistungsanteil eines Stacks (2) unter Berücksichtigung der damit einhergehenden Geräuschemission festgelegt.Die Erfindung betrifft ferner ein Steuergerät zur Ausführung eines erfindungsgemäßen Verfahrens oder von Schritten eines erfindungsgemäßen Verfahrens.

燃料電池用加湿器

NºPublicación:  JP2026512469A 16/04/2026
Solicitante: 
コーロンインダストリーズインク
JP_2026512469_A

Resumen de: WO2024232621A1

The present invention relates to a fuel cell humidifier comprising: a humidification module which uses wet gas to humidify dry gas to be supplied to a fuel cell stack; a first cap which is coupled to one end of the humidification module; and a second cap which is coupled to the other end of the humidification module, wherein the humidification module comprises: a cartridge which includes a bundle of hollow fiber membranes; a mid-case in which the cartridge is accommodated; and a flow path change unit which is disposed between the inner surface of the mid-case and the outer surface of the cartridge.

Verfahren und Steuergerät zum Betreiben eines Wasserstoff-Teilsystems eines Brennstoffzellensystems und Brennstoffzellensystem

NºPublicación:  DE102024209896A1 16/04/2026
Solicitante: 
BOSCH GMBH ROBERT [DE]
DE_102024209896_PA

Resumen de: DE102024209896A1

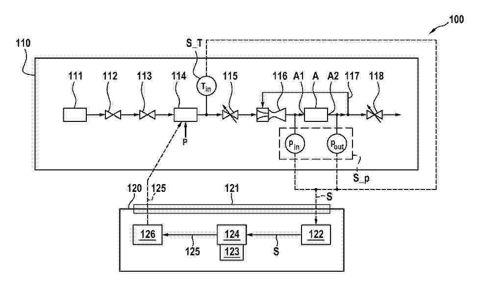
Die Erfindung betrifft ein Verfahren zum Betreiben eines Wasserstoff-Teilsystems (110) eines Protonenaustauschmembran-Brennstoffzellensystems (100). Das Wasserstoff-Teilsystem (110) umfasst einen Wasserstoffvorrat (111), eine Heizeinrichtung (114), ein Wasserstoffdosierventil (115), eine Strahlpumpe (116) und einen Rezirkulationspfad (117). Die Heizeinrichtung (114) ist fluidmechanisch zwischen den Wasserstoffvorrat (111) und das Wasserstoffdosierventil (115) geschaltet. Das Wasserstoffdosierventil (115) ist fluidmechanisch zwischen die Heizeinrichtung (114) und die Strahlpumpe (116) geschaltet. In einem Schritt des Einlesens wird von mindestens einer Erfassungseinrichtung (S_T, S_p) ein Sensorsignal (S) eingelesen, das erfasste Messdaten mindestens eines Betriebsparameters (Tin, pin, pout) des Wasserstoff-Teilsystems (110) repräsentiert. In einem Schritt des Erzeugens wird unter Verwendung der Messdaten (S) und einer Erzeugungsvorschrift (123) mit Vorgabedaten für mindestens einen Betriebsparameter (Tin, pin, pout, P) des Wasserstoff-Teilsystems (110) ein Steuersignal (125) zum Ansteuern der Heizeinrichtung (114) erzeugt, das eine mittels der Heizeinrichtung (114) umzusetzende Heizleistung (P) zum Einstellen einer Massenstromtemperatur (Tin) stromaufwärts des Wasserstoffdosierventils (115) definiert. In einem Schritt des Bereitstellens wird das Steuersignal (125) zur Ausgabe an die Heizeinrichtung (114) bereitgestellt, um das Wasserstoff-Teilsystem (110) zu betreiben.

COOLANT FLOW MANIFOLDS AND METHODS OF USE THEREOF

Nº publicación: US20260106185A1 16/04/2026

Solicitante:

GM GLOBAL TECH OPERATIONS LLC [US]

US_20260106185_A1

Resumen de: US20260106185A1

Methods, apparatuses, and vehicles are provided for liquid cooling a high voltage apparatus. The apparatuses include a body, a channel that defines a coiled flow path through the body, wherein the flow path is configured to receive a flow of coolant therethrough, wherein walls of the channel are formed of a low conductivity material having a high electrical resistivity in directions perpendicular to directions of the flow of the coolant through the flow path, an inlet at a first end of the channel that provides access to the flow path, and an outlet at a second end of the channel that provides access to the flow path.

traducir