Ministerio de Industria, Turismo y Comercio LogoMinisterior
 

Alerta

Resultados 553 resultados
LastUpdate Última actualización 26/12/2025 [06:48:00]
pdfxls
Solicitudes publicadas en los últimos 15 días / Applications published in the last 15 days
previousPage Resultados 175 a 200 de 553 nextPage  

抗水淹氢燃料电池双极板结构及氢燃料电池

NºPublicación:  CN121172170A 19/12/2025
Solicitante: 
重庆理工大学
CN_121172170_PA

Resumen de: CN121172170A

本发明提供了一种氢燃料电池双极板结构及氢燃料电池,通过优化设置氢燃料电池的双极板结构,将第一支流道反应水引射至第二支流道内对进入第二支流道内的反应气体进行加湿,将第二支流道的反应水引射至第一支流道内对进入第一支流道内的反应气体进行加湿,解决了传统氢燃料电池由于通过电堆外部加湿而导致容易被水淹的问题,提高了燃料电池的安全性能。

用于燃料电池的氢气子系统的控制方法、设备及存储介质

NºPublicación:  CN121172195A 19/12/2025
Solicitante: 
东风汽车集团股份有限公司
CN_121172195_PA

Resumen de: CN121172195A

本发明公开了一种用于燃料电池的氢气子系统的控制方法、设备及存储介质,涉及氢燃料应用领域。该方法的步骤包括:根据氢气子系统的模型和氢气子系统的实际测量信息,估计氢气子系统的系统状态;根据氢气子系统的模型和所述氢气子系统的系统状态,预测氢气子系统的未来输出;根据设计的性能指标和所述氢气子系统的未来输出,确定氢气循环泵的转速和比例阀开度、并对确定的氢气循环泵的转速进行前馈补偿。本申请能够实现由氢气压力反馈、氢气进出堆压差反馈到目标氢气压力、目标氢气进出堆压差的多入多出控制,进而显著提高了控制精度。

一种铂基氢燃料电池催化剂及其制备方法与应用

NºPublicación:  CN121172164A 19/12/2025
Solicitante: 
华燚新能源材料(上海)有限公司
CN_121172164_PA

Resumen de: CN121172164A

本发明属于燃料电池催化剂技术领域,具体涉及一种铂基氢燃料电池催化剂及其制备方法与应用。该制备方法通过将碳载体在空气气氛下进行分步梯度升温氧化处理,之后和铂盐溶液混合,然后在惰性气体保护下对混合反应液进行分步梯度升温加热还原处理,以此调控铂颗粒粒径、分散性和稳定性,获得的铂基氢燃料电池催化剂活性高和稳定性好,并且催化剂在膜电极上表现出优异的性能,同时该制备方法合成过程简单、成本低。

一种模块化甲醇重整制氢系统

NºPublicación:  CN121155464A 19/12/2025
Solicitante: 
北京海得利兹新技术有限公司
CN_121155464_PA

Resumen de: CN121155464A

本申请涉及一种模块化甲醇重整制氢系统,属于甲醇重整制氢的新能源技术领域。该制氢系统包括控制系统、空气进气模块、甲醇供应模块、多个甲醇重整制氢模块、重整气总管道和尾气总管道;其中,甲醇重整制氢模块包括甲醇重整器、尾气换热器、甲醇蒸发器、甲醇水溶液子进料泵、甲醇水溶液子管道、重整气子管道和尾气子管道;甲醇重整器包括汽化室、氧化室和重整室;氧化室产生的高温尾气的出口与尾气换热器和甲醇蒸发器相连;甲醇水溶液总储罐通过甲醇水溶液进料泵与甲醇蒸发器、尾气换热器和重整室依次连接。甲醇重整制氢系统采用模块化设计,设备简单,可拓展性强,启动快捷,产氢量可调,实现了氢能和氢气的即产即用。

一种单电池及制备方法

NºPublicación:  CN121172179A 19/12/2025
Solicitante: 
中汽创智科技有限公司
CN_121172179_PA

Resumen de: CN121172179A

本发明公开了一种单电池及制备方法,在单极板的气侧形成密封胶圈和胶膜;所述气侧具有多个分配区域,各所述密封胶圈环绕各所述分配区域设置,且所述密封胶圈位于所述胶膜和所述分配区域之间,用于隔离所述胶膜与所述分配区域;将具有所述胶膜的所述单极板、膜电极和另一具有所述胶膜的所述单极板热压,得到单电池;在热压过程中,所述分配区域与所述膜电极间形成腔体,所述胶膜形成目标胶膜,所述目标胶膜的厚度小于所述胶膜的厚度,所述密封胶圈用于限位所述目标胶膜的边界。本发明采用密封胶圈间隔胶膜和分配区域,避免胶膜溢胶对单极板造成不良影响,还能够精准控制压缩后目标胶膜的厚度,提升单电池的气密性,延长目标胶膜的寿命。

一种凝胶聚合物改性离子交换膜及其制备方法与应用

NºPublicación:  CN121172211A 19/12/2025
Solicitante: 
杭州德海艾科能源科技有限公司
CN_121172211_PA

Resumen de: CN121172211A

本发明涉及全钒液流电池隔膜技术领域,公开了一种凝胶聚合物改性离子交换膜及其制备方法与应用。包括将阳离子单体、阴离子单体、含氮单体、交联剂、金属盐、去离子水混合制备单体溶液;将引发剂、还原剂分别与纯水混合制备引发剂、还原剂溶液;将单体溶液、引发剂溶液、还原剂溶液混合制备的凝胶预制液刮涂在离子交换膜两面,制备改性离子交换膜;最后,将改性离子交换膜进行清洗、浸泡稀硫酸得到凝胶聚合物改性离子交换膜。本发明通过制备具有阻钒、离子导电、缓冲防护作用、缓释催化剂金属离子的交联凝胶聚合物层改性离子交换膜,有效提升离子交换膜的库仑效率、电压效率、防刺穿能力以及与电极的协同能力,增强了电池的整体性能。

用于制造双极板的半板的方法、双极板及电化学电池

NºPublicación:  CN121175827A 19/12/2025
Solicitante: 
舍弗勒技术股份两合公司
CN_121175827_PA

Resumen de: WO2024255939A1

The invention relates to a method for producing a half-plate (1) of a bipolar plate (1'), comprising the steps of: - rolling (V1) a sheet-metal strip (B), - wherein the rolling is carried out in at least one first region (2) of the sheet-metal strip (B) to a uniform first sheet thickness (d1) and in at least one second region (3) of the sheet-metal strip (B) to a uniform second sheet thickness (d2), - wherein the first sheet thickness (d1) is greater than the second sheet thickness (d2) and the first region (2) and the second region (3) are each of a flat form, - introducing (V2) into the at least one first region (2) a surface structure (5) in the form of channels, - cutting the sheet-metal strip (B) to detach the half-plate (1) from the sheet-metal strip (B), wherein the half-plate (1) has at least one first region (2) and one second region (3). The invention also relates to a bipolar plate and to an electrochemical cell.

液流电池的功率实时预测方法

NºPublicación:  CN121172196A 19/12/2025
Solicitante: 
寰泰储能科技股份有限公司
CN_121172196_PA

Resumen de: CN121172196A

本申请提供了一种液流电池的功率实时预测方法,包括:在液流电池的充电过程中,根据功率预测模型获取液流电池的当前最大可充功率;获取第一参数,第一参数包括总电池电压和电池荷电状态;以及根据第一参数降低当前最大可充功率。本申请根据功率预测模型获取液流电池的当前最大可充功率,并根据第一参数降低当前最大可充功率,一方面提高了液流电池在充电过程中功率预测的准确性,另一方面,能够在进入恒压充放电模式前,提前降低当前最大可充或者可放功率,避免了电池长期运行恒压充放电模式下,导致电池模块的副反应持续时间长,从而发生析氢析氧等情况,降低电池的使用寿命的问题。

燃料电池故障诊断和容错控制方法、装置、设备及介质

NºPublicación:  CN121172192A 19/12/2025
Solicitante: 
湖北工业大学
CN_121172192_PA

Resumen de: CN121172192A

本发明提供了一种燃料电池故障诊断和容错控制方法、设备及介质,属于燃料电池领域。其方法包括:构建双向门控循环单元网络,通过超参数编码、随机生成向量及保留精英个体进行迭代获得历史最优超参数,优化网络后建立燃料电池的电压预测模型;以电流、氢气压力差、空气压力差和循环水温度差为输入,以总电压和最低单片电压为输出,训练得到目标模型,利用实际运行数据进行预测,并依据预测误差及误差变化率计算置信度判定故障类型;根据故障类型和置信度生成相应容错策略,调整子系统运行参数。本发明通过多源输入实现燃料电池多种故障识别,结合置信度评估增强诊断可靠性,并能生成针对性容错策略,从而提高燃料电池系统的安全性和稳定性。

一种高平整度电解质支撑型固体氧化物燃料电池的共烧结方法及电解质支撑型固体氧化物燃料电池

NºPublicación:  CN121172206A 19/12/2025
Solicitante: 
雅安雅瓷氢化新能源科技发展有限公司
CN_121172206_PA

Resumen de: CN121172206A

本发明提供一种高平整度电解质支撑型固体氧化物燃料电池的共烧结方法及电解质支撑型固体氧化物燃料电池,属于固体氧化物燃料电池技术领域。该共烧结方法包括以下步骤:烧结制备电解质基片;制备第二阳极功能层;制备第一阳极功能层;制备第二阴极层;制备第一阴极层;一次共烧结。本发明通过在原有电解质支撑型固体氧化物燃料电池结构的基础上增加第二阳极功能层和第二阴极层,采用“外侧第一阳极功能层高NiO、内侧第二阳极功功能层高8YSZ”的梯度设计以及“外侧第一阴极层高LSCF、内侧第二阴极层高GDC”的梯度设计,一次性共烧结,缓解多层差异下的烧结应力,减少电池翘曲现象,可以避免多次烧结引发的电池强度与韧性降低的缺陷。

一种燃料电池总成及具有该燃料电池总成的车辆

NºPublicación:  CN121172214A 19/12/2025
Solicitante: 
安徽瑞氢动力科技有限公司
CN_121172214_PA

Resumen de: CN121172214A

本发明涉及燃料电池领域,具体来说是一种燃料电池总成及具有该燃料电池总成的车辆,包括端板机构、绝缘机构、电堆、封装壳体以及防水结构;所述防水结构包括吹扫机构以及排水机构;所述吹扫机构包括布置在封装壳体内的吹扫管,所述吹扫管内设有吹扫通道;所述吹扫管上设有出气孔;所述出气孔与吹扫通道相连通;所述吹扫管连接有供气单元;所述排水机构包括设置在封装壳体上的排水口;本发明公开的燃料电池,通过防护结构的设置,避免形成大面积水膜、减少了冷凝水在封装壳体内的堆积,进而避免形成电路通路,造成燃料电池堆绝缘性能降低。

Tour individuelle, pour empilements d’unités à répétition unique d'électrolyseurs à oxyde solide à haute température ou de piles à combustible à oxyde solide, et caisson pour telle tour individuelle

NºPublicación:  FR3163501A1 19/12/2025
Solicitante: 
GENVIA [FR]
SERVICES PETROLIERS SCHLUMBERGER [FR]
GENVIA,
SERVICES PETROLIERS SCHLUMBERGER
FR_3163501_PA

Resumen de: FR3163501A1

« Tour individuelle, pour empilements d’unités à répétition unique d'électrolyseurs à oxyde solide à haute température ou de piles à combustible à oxyde solide, et caisson pour telle tour individuelle » Tour individuelle (1), pour empilements (2) d’unités à répétition unique (SRU) (11) d'électrolyseurs à oxyde solide (SOEC) à haute température ou de piles à combustible à oxyde solide (SOFC), comprenant un élément de collection fluidique, dit collecteur fluidique, agencé pour collecter/distribuer les fluides provenant/à destination de la tour individuelle, un ensemble collecteur électrique (4), dit collecteur électrique (4), agencé pour connecter, acheminer et isoler, dans la tour, les câbles électriques de suivi/contrôle et/ou commande des empilements et des éléments de la tour individuelle nécessitant un suivi/contrôle et/ou une commande, deux barres d’alimentation (5, 6) : agencées pour acheminer l’électricité provenant/à destination des SRU et connectées aux empilements via, respectivement, une plaque d’extrémité supérieure (71) et une plaque d’extrémité inférieure (72),des blocs de chauffe (8) agencés pour chauffer les empilements. Figure pour l’abrégé : Figure 6

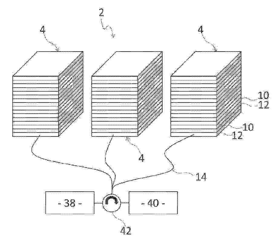
Etage d’empilement de dispositif électrochimique et dispositif électrochimique associé

NºPublicación:  FR3163500A1 19/12/2025
Solicitante: 
GENVIA [FR]
GENVIA
FR_3163500_PA

Resumen de: FR3163500A1

L’invention concerne un étage (32) d’empilement (4) de dispositif électrochimique (2), comprenant une première couche (30) et une deuxième couche (30) s’étendant en regard l’une de l’autre, l’étage (32) étant caractérisé en ce qu’il comprend, en outre, au moins une fibre optique (14) formant un capteur thermique distribué, chaque fibre optique étant agencée au moins en partie entre la première couche (30) et la deuxième couche (32). Figure 1

Dispositif électrochimique, ensemble comprenant deux dispositifs électrochimiques, véhicule automobile et procédé d’assemblage

NºPublicación:  FR3163499A1 19/12/2025
Solicitante: 
SYMBIO FRANCE [FR]
SYMBIO FRANCE
FR_3163499_PA

Resumen de: FR3163499A1

Dispositif électrochimique, ensemble comprenant deux dispositifs électrochimiques, véhicule automobile et procédé d’assemblage Le dispositif électrochimique (1) comprend une structure massive (5) comportant :- une pluralité de cellules électrochimiques (7) constituant un bloc (9); - des plaques d’extrémité (11) placées aux deux extrémités du bloc (9) selon la direction d’empilement des cellules ; - des organes mécaniques de connexion (13) sollicitant les plaques d’extrémité (11) l’une vers l’autre suivant la direction d’empilement (E) ; le dispositif électrochimique (1) comprenant encore un premier collecteur extérieur (33), plaqué contre la première face principale (17) du bloc (9) et communiquant fluidiquement avec les passages de circulation (15) de chaque cellule électrochimique (7), le premier collecteur (33) comprenant des premières butées (35) coopérant avec les première et/ou seconde faces latérales (21, 23) du bloc (9) et/ou avec les organes mécaniques de connexion (13) et définissant la position du premier collecteur extérieur (33) sur la première face principale (17) suivant une direction transversale (T) perpendiculaire à la direction d’empilement (E). Figure pour l'abrégé : 1

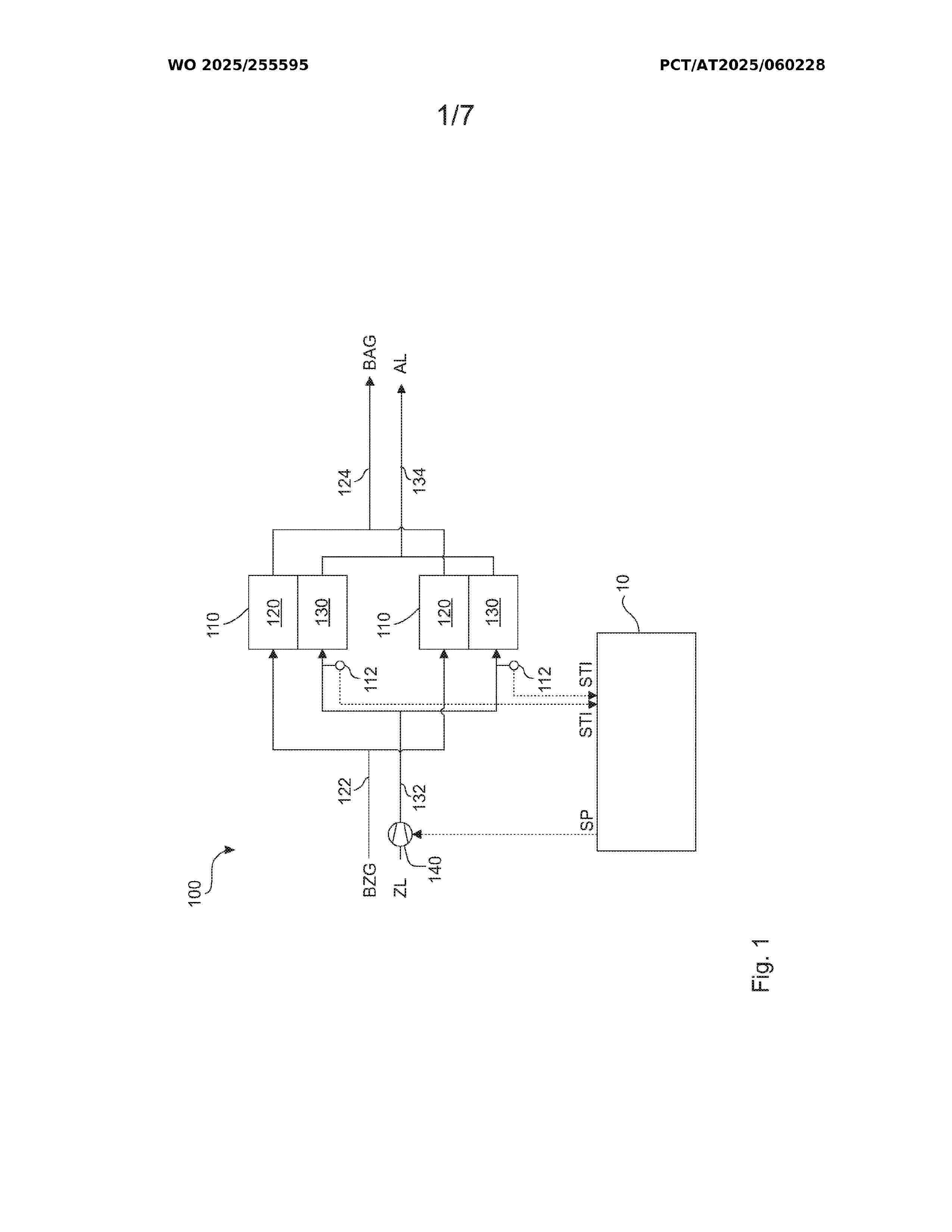
CONTROL METHOD FOR CONTROLLING AT LEAST ONE OPERATING PARAMETER OF A FUEL CELL SYSTEM HAVING AT LEAST TWO FUEL CELL STACKS

NºPublicación:  WO2025255595A1 18/12/2025
Solicitante: 
AVL LIST GMBH [AT]
AVL LIST GMBH
WO_2025255595_A1

Resumen de: WO2025255595A1

The present invention relates to a control method for controlling at least one operating parameter (BP) of a fuel cell system (100) having at least two fuel cell stacks (110), the fuel cell stacks (110) each having a fuel section (120) and an air section (130), wherein the following steps are provided: specifying a target value (SW) for the operating parameter (BP) to be controlled; specifying a control position (SP) of an actuator (140) common to at least two fuel cell stacks (110) for adjusting the operating parameter (BP) to be controlled on the basis of the specified target value (SW) for the at least two fuel cell stacks (110); detecting a respective at least one stack actual value (STI) of the operating parameter (BP) to be controlled for each fuel cell stack (110); determining a common system actual value (SYI) for the at least two fuel cell stacks (110) on the basis of the detected stack actual values (STI) by means of a combination relationship (KB) between the detected stack actual values (STI) and the common system actual value (SYI); determining a control deviation (RA) of the determined system actual value (SYI) from the predefined target value (SW); adapting the predefined control position (SP) on the basis of the control deviation (RA).

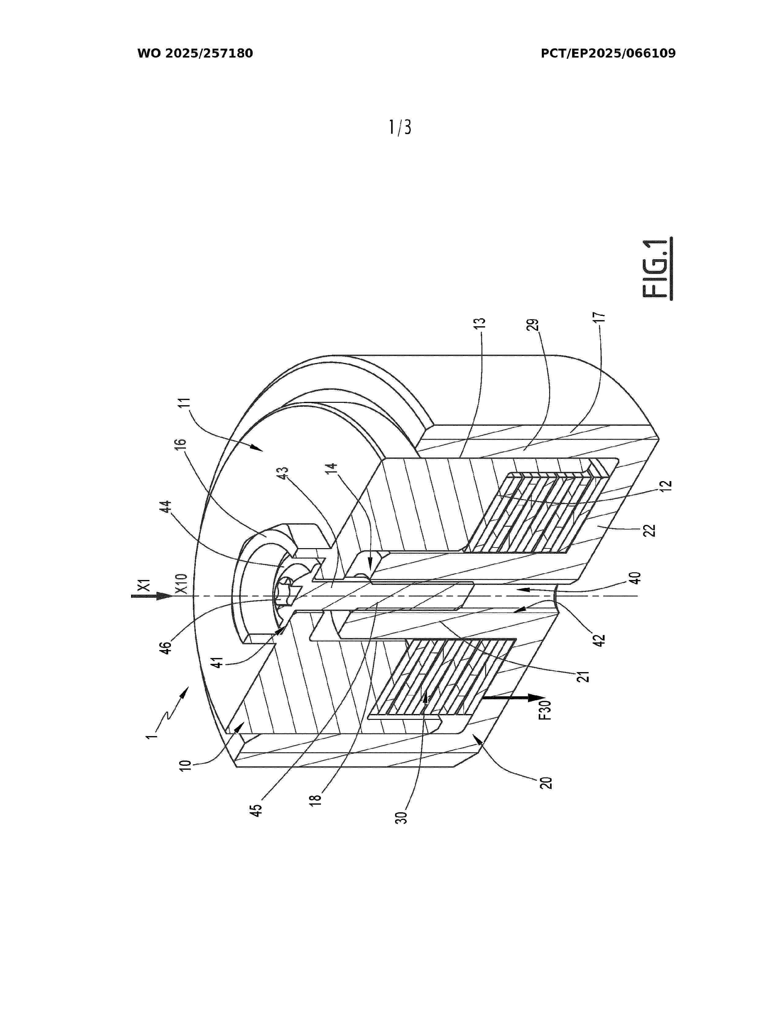
CARTRIDGE, COMPENSATION SYSTEM, AND FUEL CELL

NºPublicación:  WO2025257180A1 18/12/2025
Solicitante: 
SYMBIO FRANCE [FR]
SYMBIO FRANCE
WO_2025257180_A1

Resumen de: WO2025257180A1

The invention relates to a cartridge (1), comprising: a foot (20) that slides relative to a base (10) in a compression direction (X1); a spring (30) that applies a pressing force (F30) to the foot (20) in the compression direction (X1); a joining means (17) for joining the foot (20) to an end plate (53), for bearing against a stack (51) of electrochemical cells (52) in the compression direction (X1) and while the base (10) is retained in the opposite direction; and a holding system (40) with a primary retaining portion (41) which is secured to the base (10), and a secondary retaining portion (42) which is secured to the foot (20), the primary (41) and secondary (42) portions being configured to be coupled in order to prevent the foot (20) from sliding, and to be decoupled in order to allow the foot (20) to slide.

FUEL CELL SYSTEM, METHOD FOR OPERATING A FUEL CELL SYSTEM, AND VEHICLE COMPRISING A FUEL CELL SYSTEM

NºPublicación:  WO2025256857A1 18/12/2025
Solicitante: 
ROBERT BOSCH GMBH [DE]
ROBERT BOSCH GMBH
WO_2025256857_A1

Resumen de: WO2025256857A1

The invention relates to a method for operating a fuel cell system (301) in a vehicle (300), wherein the method has the steps of: determining the power demand on the fuel cell system (301) for a future period of time, selecting an operating mode (M1.1, M1.2, M1.3) from a number of operating modes (M1.1, M1.2, M1.3) on the basis of the determined power demand if the determined power demand is less than a specified threshold value, setting an air system pilot control and the cathode exhaust gas recirculation rate of the fuel cell system (301) according to the selected operating mode (M1.1, M1.2, M1.3), the number of operating modes (M1.1, M1.2, M1.3) comprising: a first operating mode (M1.1) in which more electrical energy is provided by the fuel cell system (301) than is consumed by the fuel cell system (301), a second operating mode (M1.2) in which the same amount of electrical energy is provided by the fuel cell system (301) as is consumed by the fuel cell system (301), and a third operating mode (M1.3) in which less electrical energy is provided by the fuel cell system (301) than is consumed by the fuel cell system (301).

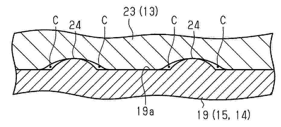
SEPARATOR FÜR BRENNSTOFFZELLE

NºPublicación:  DE102025122556A1 18/12/2025
Solicitante: 
TOYOTA BOSHOKU KK [JP]
TOYOTA BOSHOKU KABUSHIKI KAISHA
CN_121149274_PA

Resumen de: DE102025122556A1

Ein Separator für eine Brennstoffzelle weist einen Körper mit Rippen auf, die sich parallel zueinander erstrecken. Die Rippen stehen von dem Körper vor, sodass sie mit einer Gasdiffusionsschicht einer Membran-Elektroden-Gasdiffusionsschicht-Einheit in Kontakt kommen. Der Raum zwischen den Rippen und zwischen dem Separator und der Gasdiffusionsschicht definiert einen Durchgang, durch den der Membran-Elektroden-Gasdiffusionsschicht-Einheit Gas zugeführt und aus ihr abgeleitet wird. Eine Endfläche jeder Rippe in einer Vorstehrichtung ist parallel zu der Gasdiffusionsschicht. Von der Endfläche jeder Rippe steht ein Vorsprung in Richtung der Gasdiffusionsschicht vor. Der Vorsprung jeder Rippe erstreckt sich in einer Breitenrichtung der Rippe, sodass er den Durchgang erreicht.

BRENNSTOFFZELLENHALTBARKEITS- UND VALIDIERUNGSMODULPRÜFSTAND

NºPublicación:  DE102024122595A1 18/12/2025
Solicitante: 
GM GLOBAL TECH OPERATIONS LLC [US]
GM Global Technology Operations LLC
CN_121114764_PA

Resumen de: DE102024122595A1

Ein Prüfstand für ein Brennstoffzellenmodul umfasst ein Stromzufuhrsystem, ein Brennstoffzufuhrsystem, ein Abgassystem und ein Kühlsystem. Das Stromzufuhrsystem umfasst einen Gleichstrom (DC), der von einem Brennstoffzellenstapel erzeugt wird, wobei der DC eine Last versorgt, die elektrisch mit dem Brennstoffzellenmodul verbunden ist, der Brennstoffzellenstapel auf das Empfangen eines Brennstoffs reagiert und ein Abgas erzeugt. Das Brennstoffzufuhrsystem umfasst einen Massendurchflussmesser und führt den Brennstoff von einer entfernten Brennstoffquelle über mindestens ein einstellbares Reservoir mit einem einstellbaren Druck dem Brennstoffzellenstapel zu. Das Abgassystem umfasst eine Sammelvorrichtung und ist betreibbar, das Abgas aus dem Brennstoffzellenstapel zu empfangen. Das Kühlsystem ist betreibbar, ein Kühlmittel zu zirkulieren, und umfasst einen ersten Wärmetauscher und einen zweiten Wärmetauscher, die parallel zueinander angeordnet sind.

Elektrochemische Zelle

NºPublicación:  DE102024117086A1 18/12/2025
Solicitante: 
SCHAEFFLER TECHNOLOGIES AG [DE]
Schaeffler Technologies AG & Co. KG

Resumen de: DE102024117086A1

Die Erfindung betrifft eine elektrochemische Zelle (1), insbesondere eine Brennstoffzelle oder eine Elektrolysezelle, umfassend zwei Bipolarplatten (11, 11'), zwischen welchen eine Membran-Elektroden-Einheit angeordnet ist, wobei die Membran-Elektroden-Einheit eine Polymerelektrolytmembrane (12) und beidseitig der Polymerelektrolytmembrane (12) auf dieser angeordnete Elektroden (12a, 12b) aufweist, die senkrecht zu einer von der Polymerelektrolytmembrane (12) aufgespannten Ebene gesehen deckungsgleich angeordnet sind und eine Lage eines Aktivfeldes (2) definieren, und umfassend mindestens zwei Rahmen (3a, 3b), welche jeweils eine der Elektroden (12a, 12b) und mindestens ein darauf angeordnetes flächiges fluiddurchlässiges Element (4a, 4b) umgeben, wobei sich an jedem Rahmen (3a, 3b) sowie an dem davon umgebenen, mindestens einen flächigen Element (4a, 4b) miteinander zusammenwirkende Positionierkonturen (5, 6) befinden, welche die Lage des mindestens einen flächigen Elementes (4a, 4b) im jeweiligen Rahmen (3a, 3b) eindeutig festlegen.

Verfahren zur Herstellung einer Elektrode auf einem Trägermaterial für eine elektrochemische Zelle sowie Beschichtungseinrichtung zur Durchführung des Verfahrens

NºPublicación:  DE102024205623A1 18/12/2025
Solicitante: 
SIEMENS ENERGY GLOBAL GMBH & CO KG [DE]
Siemens Energy Global GmbH & Co. KG

Resumen de: DE102024205623A1

Es wird ein Verfahren zur Herstellung einer Elektrode (8) auf einem Trägermaterial (7) für eine elektrochemische Zelle (30) angegeben. Zunächst wird ein bandförmigen Trägermaterial (7) bereitgestellt sowie eine Auftragspaste (6), enthaltend ein Elektrodenmaterial (9). Danach wird Auftragspaste (6) auf das bandförmige Trägermaterial (7) in einem Rolle-zu-Rolle Auftragsverfahren aufgetragen, wobei das Trägermaterial (7) gefördert wird. Dabei wird ein gleichzeitiges Aufbringen von Auftragspaste (6) in mindestens zwei parallel zueinander geführten Bahnen (11A, 11B) auf dasselbe Band aus Trägermaterial (7) durchgeführt, wobei zwischen zwei benachbarten Bahnen (11A, 11B) ein Beschichtungsabstand (D) eingestellt wird, so dass auf dem Trägermaterial (7) eine Zwischenbahn (12) mit unbeschichtetem Trägermaterial (7) hergestellt wird.Die Erfindung betrifft weiterhin eine Rolle-zu-Rolle-Beschichtungseinrichtung (10) zur Durchführung des Verfahrens sowie entsprechend hergestellte elektrochemische Zellen (30).

Brennstoffzellensystem und Verfahren zum Betreiben eines Brennstoffzellensystems

NºPublicación:  DE102024205575A1 18/12/2025
Solicitante: 
BOSCH GMBH ROBERT [DE]
Robert Bosch Gesellschaft mit beschr\u00E4nkter Haftung

Resumen de: DE102024205575A1

Die vorgestellte Erfindung betrifft ein Verfahren (100) zum Betreiben eines Brennstoffzellensystems (300).Das Verfahren (100) umfasst:- Ermitteln (101) eines Drucks in einem Anodensubsystem (307) des Brennstoffzellensystems (300),- Ermitteln (103) eines von einem Brennstoffzellenstapel (301) des Brennstoffzellensystems (300) bereitgestellten elektrischen Stroms,- Abgleichen (105) des ermittelten Drucks und des ermittelten elektrischen Stroms mit einem Kennfeld (200),wobei das Kennfeld (200) einen zulässigen Bereich (201) umfasst, der durch einen Sperrbereich (203) begrenzt wird,wobei der Sperrbereich (203) dynamisch in Abhängigkeit einer Temperatur des Brennstoffzellenstapels (301) bestimmt wird, undwobei für den Fall, dass der in dem Anodensubsystem (307) anliegende Druck und/oder der durch den Brennstoffzellenstapel (301) bereitgestellte elektrische Strom außerhalb des zulässigen Bereichs (201) liegen, das Brennstoffzellensystem (300) derart eingestellt wird, dass der in dem Anodensubsystem (307) anliegende Druck und/oder der durch den Brennstoffzellenstapel (301) bereitgestellte elektrische Strom zurück in den zulässigen Bereich (201) wandern.

Antriebseinrichtung für ein Kraftfahrzeug, insbesondere für einen Kraftwagen, sowie Kraftfahrzeug

NºPublicación:  DE102024116816A1 18/12/2025
Solicitante: 
BAYERISCHE MOTOREN WERKE AG [DE]
Bayerische Motoren Werke Aktiengesellschaft

Resumen de: DE102024116816A1

Die Erfindung betrifft eine Antriebseinrichtung (1) für ein Kraftfahrzeug, mit wenigstens einem mit einem Brennstoff und mit Luft versorgbaren Energiewandler (2), mit einem von der Luft durchströmbaren Einlasstrakt (4), mittels welchem die den Einlasstrakt (4) durchströmende Luft dem Energiewandler (2) zuführbar ist, mit einem in dem Einlasstrakt (4) angeordneten Verdichter (6), welcher ein Verdichterrad (7), mittels welchem die den Einlasstrakt (4) durchströmende Luft zu verdichten ist, und einen stromauf des Verdichterrads (7) angeordneten Eintrittsbereich (10) aufweist, über welchen die Luft dem Verdichterrad (7) zuführbar ist, und mit einer Drallerzeugungseinrichtung (11), welche eine stromauf des Verdichterrads (7) in den Eintrittsbereich (10) mündende und von einem Gas durchströmbare Kanalanordnung (12) aufweist, mittels welcher das die Kanalanordnung (12) durchströmende Gas stromauf des Verdichterrads (7) derart in den Eintrittsbereich (10) einleitbar ist, dass das aus der Kanalanordnung (12) ausströmende und dadurch in den Eintrittsbereich (10) einströmende Gas eine drallförmige Strömung der Luft bewirkt.

Brennstoffzellensystem

NºPublicación:  DE102024116577A1 18/12/2025
Solicitante: 
CELLCENTRIC GMBH & CO KG [DE]
cellcentric GmbH & Co. KG

Resumen de: DE102024116577A1

Brennstoffzellensystem (100, 200), aufweisend: Ein Brennstoffzellenstapel (110) mit einer Mehrzahl von Brennstoffzellen (300), die jeweils eine erste Elektrode mit einer ersten Polung und eine zweite Elektrode mit einer zur ersten Elektrode unterschiedlichen zweiten Polung aufweisen, wobei die ersten Elektroden jeweils elektrisch mit den zweiten Elektroden verbunden sind; wobei eine der ersten Elektroden als erste Abschluss-Elektrode (320) und eine der zweiten Elektroden als zweite Abschluss-Elektrode (330) des Brennstoffzellenstapels (110) ausgebildet ist, wobei der Brennstoffzellenstapel (110) zwischen der ersten Abschluss-Elektrode (320) und der zweiten Abschluss-Elektrode (330) angeordnet ist; eine Wasserstoffzufuhr-Leitung (120) durch die Wasserstoff mit einer ersten Konditionierung den ersten Elektroden zugeführt werden kann; eine Luftzufuhr-Leitung (135) durch die Luft den zweiten Elektroden zugeführt werden kann; wobei die Wasserstoffzufuhr-Leitung (120) einen ersten Anschluss (160) aufweist, durch welchen den ersten Elektroden Wasserstoff mit einer zweiten Konditionierung oder Stickstoff mit einer vorgegebenen Stickstoff-Konditionierung zugeführt werden kann; wobei die Luftzufuhr-Leitung (135) einen zweiten Anschluss (170) aufweist, durch welchen den zweiten Elektroden Wasserstoff mit der zweiten Konditionierung oder Stickstoff mit der vorgegebenen Stickstoff-Konditionierung zugeführt werden kann; eine Gleichspannungseinrichtung (190), die mit der ersten Abschlus

SYSTEM UND VERFAHREN ZUR DRUCKMINDERUNG EINES KRAFTFAHRZEUG-BRENNSTOFFSPEICHERS

Nº publicación: DE102024205522A1 18/12/2025

Solicitante:

STELLANTIS AUTO SAS [FR]
STELLANTIS AUTO SAS

Resumen de: DE102024205522A1

Die vorliegende Entwicklung betrifft ein Verfahren und ein System (8) zur Druckregulierung eines Kraftfahrzeug-Brennstoffspeichers (22), umfassend:- den Brennstoffspeicher (22), welcher zumindest einen Tank (11, 12) zur Aufnahme und Speicherung eines unter Druck stehenden Brennstoffs aufweist,- eine regelbare Brennstoffzufuhr (15), mittels welcher Brennstoff aus dem Tank (11, 12) zumindest einem Verbraucher (21, 23) zuführbar ist,- einen mit dem Tank (11, 12) gekoppelten Sensor (17, 18) zur Messung des Drucks im Inneren des Tanks (11, 12),- eine elektronische Steuerung (40), welche mit dem Sensor (17, 18) und mit der Brennstoffzufuhr (15) gekoppelt und dazu ausgestaltet ist, bei Erreichen oder Überschreiten eines vorgegebenen Maximaldrucks (80) im Tank (11, 12) zur Druckminderung im Tank (11, 12) dem zumindest einen Verbraucher (21, 23) Brennstoff zuzuführen.

traducir