Ministerio de Industria, Turismo y Comercio LogoMinisterior
 

Alerta

Resultados 498 resultados
LastUpdate Última actualización 25/04/2026 [06:57:00]
pdfxls
Solicitudes publicadas en los últimos 15 días / Applications published in the last 15 days
previousPage Resultados 125 a 150 de 498 nextPage  

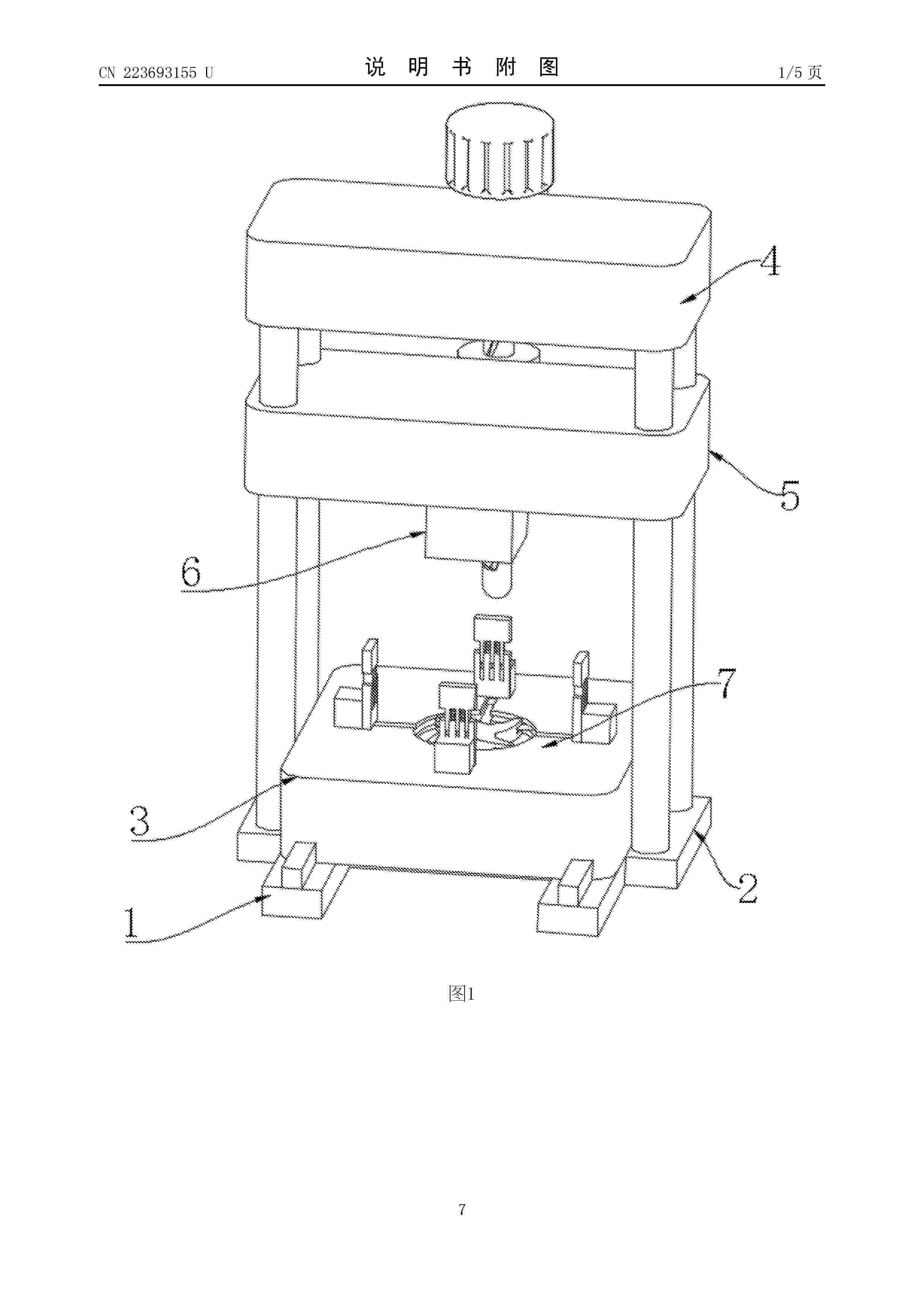
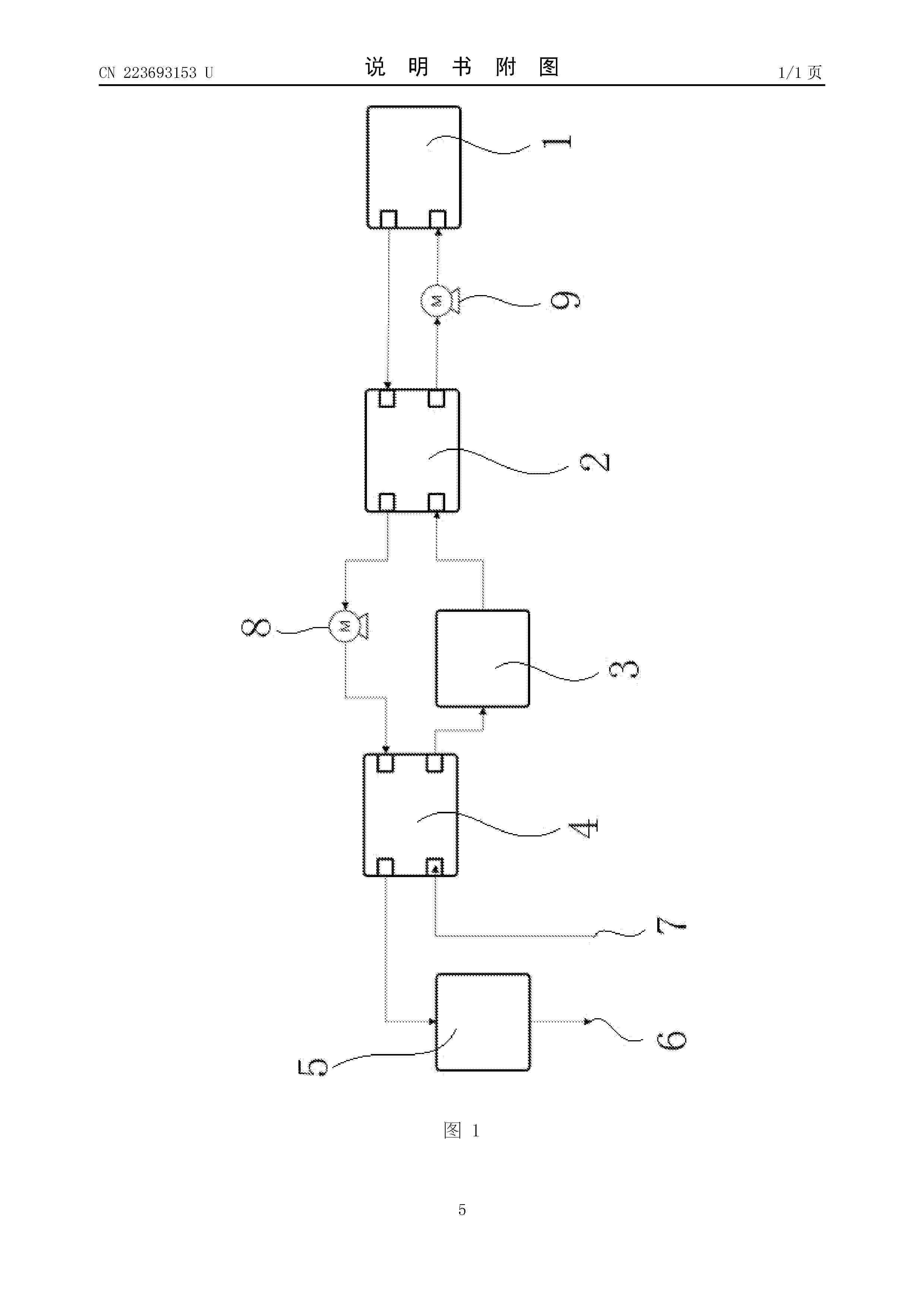
一种具有液流电堆柔性定位推靠机构的电动压机

NºPublicación:  CN121893590A 21/04/2026
Solicitante: 
大连奥托股份有限公司
CN_121893590_PA

Resumen de: CN121893590A

本发明公开一种具有液流电堆柔性定位推靠机构的电动压机,包括底座和上工作台,所述底座和上工作台之间通过四个导柱连接,四个所述的导柱共同滑动连接有压板,所述压板通过设置在上工作台顶端面上的电机进行驱动,并能够沿着导柱的轴向往复运动,其特征在于:所述压板的底端面上连接有四个定位推靠机构,所述压板的横断面为正方形,所述的四个定位推靠机构分布在压板的四角处。

氢燃料电池储能的纳米微孔绝热板及其制备方法

NºPublicación:  CN121905892A 21/04/2026
Solicitante: 
南通福美新材料有限公司
CN_121905892_PA

Resumen de: CN121905892A

本发明公开了氢燃料电池储能的纳米微孔绝热板及其制备方法,所述绝热板具有开孔网状结构,其体积密度为0.25‑0.30g/cm3,室温导热系数≤0.020W/m·K,且在压缩变形20%时的压缩强度≥750kPa。制备方法包括:将预干燥后的纤维经气流作用达到流态化分散状态后,再通过高压静电场使其单根化并表面荷电,得到荷电纤维;将荷电纤维与其余原料在真空下按序干法混合;最后经梯度模压成型与低温热处理,本发明通过气流与静电协同分散技术,从根本上解决了干法工艺中纤维易团聚的难题,实现了纤维网络的均匀分布,从而同时赋予产品优异的隔热性能与力学强度。

一种燃料重整装置及其运行方法、电化学系统

NºPublicación:  CN121892029A 21/04/2026
Solicitante: 
深圳三环科技有限公司
CN_121892029_PA

Resumen de: CN121892029A

本发明涉及一种燃料重整装置及其运行方法、电化学系统,属于燃料电池技术领域。本发明通过在CPOx反应器的外部设置加热部件,代替现有电加热塞插入CPOx反应器的方案,不用破坏CPOx反应器侧壁的完整性;本发明还设置了与所述CPOx反应器的入口连接的第一管道,通过加热部件对CPOx反应器和第一管道进行加热,在预热过程中,通过第一管道向CPOx反应器输送惰性气体,可以提高反应器内的升温效率和温度分布均匀性;本发明还设置了与所述反应器的入口连接的第二管道,向第二管道输送包含氧化剂和燃料的混合气,使混合气经第二管道输送至反应器内,避免因混合气经第一管道预热后输送至反应器内而造成第一管道内发生积碳现象。

一种基于MBSE的质子交换膜燃料电池系统建模方法及体系

NºPublicación:  CN121902362A 21/04/2026
Solicitante: 
上海工程技术大学南京航空航天大学深圳研究院
CN_121902362_PA

Resumen de: CN121902362A

本发明公开了一种基于MBSE的质子交换膜燃料电池系统建模方法。该方法包括以下步骤:进行需求分析建模,收集利益相关方需要并转为系统需求,构建需求分析模型;进行应用场景建模,识别系统典型运行场景,定义参与者与交互流程,构建应用场景模型;进行功能定义建模,分解系统功能并明确功能间关系,构建功能定义模型;进行架构设计建模,将功能映射到系统构件,设计系统架构,构建架构设计模型;进行系统仿真建模,基于架构模型建立仿真环境,对关键功能及性能进行仿真验证;进行验证与确认,根据仿真结果对系统需求进行验证与确认,确保系统设计满足预期功能与性能目标。本发明能够提高质子交换膜燃料电池系统开发的一致性和可追溯性。

一种可编程燃料电池控制器电路架构及其控制方法

NºPublicación:  CN121901141A 21/04/2026
Solicitante: 
苏州溯驭技术有限公司
CN_121901141_PA

Resumen de: CN121901141A

本发明公开了一种可编程燃料电池控制器电路架构及其控制方法,属于燃料电池技术领域。所述架构包括底层控制芯片、应用控制芯片及芯片间通信接口,底层控制芯片固化BOP驱动与DC/DC控制程序,应用控制芯片开放用户编程,双芯片通过标准化接口通信实现物理隔离;所述方法包括底层固化、应用部署、指令发送、解析执行、独立运行内容,底层芯片集成多模式自适应控制、故障安全机制,应用层故障不影响核心功能。实现了开发门槛的降低,提升系统可靠性,增强用户粘性,适用于燃料电池控制系统。

一种经Pr2NiO4浸渍表面修饰的SOFC阴极及其制备方法

NºPublicación:  CN121905876A 21/04/2026
Solicitante: 
佛山大学
CN_121905876_PA

Resumen de: CN121905876A

本发明属于燃料电池的技术领域,具体涉及一种经Pr2NiO4浸渍表面修饰的SOFC阴极及其制备方法。本发明通过配制Pr2NiO4前驱液,将其浸渍在固体氧化物燃料电池BaCo0.4Fe0.4Zr0.1Y0.1O3−δ阴极骨架中进行表面修饰,经多次浸渍‑烘干‑烧结循环,形成均匀分布的Pr2NiO4颗粒修饰层的SOFC阴极,达到提高阴极电化学性能和提升抗Cr毒化能力的目标;本发明具有操作简便和加工高效的优点,通过浸渍法在BCFZY表面包覆了一层致密且化学稳定的Pr2NiO4层,该包覆层在提供高化学性能的同时,确保了活性位点在含铬气氛下的长期稳定性,提高了抗铬毒化能力。

锌溴液流电池电解液及其应用

NºPublicación:  CN121905908A 21/04/2026
Solicitante: 
深圳理工大学
CN_121905908_PA

Resumen de: CN121905908A

本发明公开了一种锌溴液流电池电解液及其应用,所述电解液包括锌盐、支撑电解质盐、溶剂基体、溴络合剂;其中,所述溶剂基体由水和不少于五种有机溶剂构成。该电解液在水‑锌盐体系中引入不少于五种有机溶剂构成“高熵溶剂化结构”,通过高构型熵破坏水的氢键网络,显著降低凝固点,并调控水活度与锌离子溶剂化结构,从而在低温下同时实现高离子电导与适宜粘度。本发明协同提升了电解液的低温抗冻性能与电极界面稳定性,为锌溴液流电池在宽温域下的长效运行提供了有效解决方案。

一种阿拉伯胶改性复合电极的制备方法

NºPublicación:  CN121905874A 21/04/2026
Solicitante: 
张家港德泰储能装备有限公司
CN_121905874_PA

Resumen de: CN121905874A

本发明公开了一种阿拉伯胶改性复合电极的制备方法,制备步骤包括:S1对碳类电极材料和阿拉伯胶进行预处理,得到预处理后的碳类电极材料和阿拉伯胶细粉浆料;S2对阿拉伯胶细粉浆料进行搅拌处理,并调节pH值,然后将预处理后的碳类电极材料放入浆料中浸泡;S3取出浸泡过后的碳类电极材料,逐步升温干燥,冷却至室温后,得到阿拉伯胶负载的碳类电极材料;S4将负载阿拉伯胶的碳类电极材料转移到管式炉中,通入惰性气体,在惰性气体气氛下进行碳化反应,冷却至室温后,得到阿拉伯胶改性电极材料。解决了现有电极材料石墨毡用于全钒液流电池时,电化学活性不佳的问题。

一种双金属颗粒负载的石墨毡电极材料及其制备方法和应用

NºPublicación:  CN121905879A 21/04/2026
Solicitante: 
湖北振华化学股份有限公司
CN_121905879_PA

Resumen de: CN121905879A

一种双金属颗粒负载的石墨毡电极材料的制备方法,包括如下步骤:(1)对液流电池系统进行原位状态恢复,保证液流电池系统处于初始状态;(2)称取一定量的金属改性剂,加入一定量的浓盐酸中,磁力搅拌至金属改性剂完全溶解,得到电镀液A;(3)往负极电解液中添加一定量电镀液A,启动液路循环系统,让电镀液充分润洗石墨毡;(4)通过脉冲式电镀法进行电化学沉积,待电压达到指定值时停止电镀即得;本发明通过原位在线改进,制备工艺简单,成本低廉,不改变电池结构,适用于各种型号尺寸的液流电池电堆,且可以通过调节脉冲工艺、电镀液浓度控制金属颗粒的负载量及均匀性,制备的复合电极材料可以有效提高电池的性能,显著提高系统效率。

通过碳链连接亲水基团的吡咯烷氮氧自由基及其制备方法与在液流电池中的应用

NºPublicación:  CN121895211A 21/04/2026
Solicitante: 
华南理工大学
CN_121895211_PA

Resumen de: CN121895211A

本发明公开了通过碳链连接亲水基团的吡咯烷氮氧自由基及其制备方法与在液流电池中的应用;水系有机液流电池的正极包括正极电活性材料和支持电解质的水溶液;正极电解液活性物质为通过碳链连接亲水基团的吡咯烷氮氧自由基;支持电解质为单组分或多组分的氯离子无机盐。通过碳链连接亲水基团和吡咯烷氮氧自由基可以同时解决现有吡咯烷氮氧自由基作为水系有机液流电池正极电活性材料低水溶性、低稳定性的问题。

氢燃料电池换热器内部肋片冲击复合换热结构及优化方法

NºPublicación:  CN121902683A 21/04/2026
Solicitante: 
陕西省特种设备检验检测研究院西安交通大学
CN_121902683_PA

Resumen de: CN121902683A

本发明属于氢燃料电池热管理技术领域,涉及一种氢燃料电池换热器内部肋片冲击复合换热结构及优化方法。本发明在换热通道受热面上布置周期性分布的多个肋片,增大了冷却流体的湍流度,提高了受热壁面的传热系数,从而达到传热强化的目的。其次在肋片上布置冲击孔,一方面能够有效降低肋片扰流带来的流动损失,另一方面利用从冲击孔流出的高速冷却流体对受热壁面的直接冲刷而形成的高局部换热系数来进一步提升换热通道的换热效果,有效解决了高热负荷下的局部过热问题。本发明整体结构不仅显著提高了换热器的换热效率,能够满足氢燃料电池系统在高功率密度下的快速散热需求,还降低了流动阻力,减少了能量损失,提高了系统的能量利用效率。

一种带制氢储能供能复合系统的移动能源车

NºPublicación:  CN121906817A 21/04/2026
Solicitante: 
广东中氢智能装备科技有限公司
CN_121906817_PA

Resumen de: CN121906817A

本发明公开了一种带制氢储能供能复合系统的移动能源车,涉及移动能源技术领域,包括车体、搭载于所述车体上的箱体、以及集成于所述箱体内的化学制氢系统、燃料电池供能系统和电化学储能系统;所述化学制氢系统用于制备氢气并输送至所述燃料电池供能系统;所述燃料电池供能系统用于将氢气的化学能转换为电能,并将电能输送至所述电化学储能系统;所述电化学储能系统用于存储电能,并控制电能在所述化学制氢系统、所述燃料电池供能系统、所述电化学储能系统和外部负载之间的流动与分配。本发明不仅避免了传统燃油发电机的高污染、高噪音与对化石燃料的依赖,而且克服了纯电储能车续航有限、充电时间长及环境适应性差的瓶颈。

一种锌铁液流电池复合电极及其制备方法与应用

NºPublicación:  CN121905870A 21/04/2026
Solicitante: 
盐城工学院
CN_121905870_PA

Resumen de: CN121905870A

本发明公开了一种锌铁液流电池复合电极及其制备方法与应用,属于锌铁液流电池储能技术领域,所述制备方法包括如下:制备ZIF‑67分散液;将碳毡电极浸入所述ZIF‑67前驱液中一段时间后,进行真空干燥、高温烧制,得到锌铁液流电池电极。本发明通过掺杂过渡金属原子Co,改变电极活性中心的电子自旋态,优化了电子转移过程,从而提高活性位点,抑制了锌枝晶的形成,提高了电池的能量效率和使用寿命。

多元共聚聚苯并咪唑和质子交换膜及其制备方法与应用

NºPublicación:  CN121895578A 21/04/2026
Solicitante: 
中国石油化工股份有限公司中石化(北京)化工研究院有限公司
CN_121895578_PA

Resumen de: CN121895578A

本发明涉及聚苯并咪唑制备技术领域,公开了一种多元共聚聚苯并咪唑和质子交换膜及其制备方法与应用。该多元共聚聚苯并咪唑包括式(1)所示的结构单元A、式(2)所示的结构单元B和式(3)所示的结构单元C,其中,R2和R3相同或不同,且二者各自独立地选自亚芳基、亚烯基、亚环烷基和亚稠环基中的任意一种;R4为二价含氮杂环基团;R为式(4)所示的基团,其中,X为连接键、‑O‑、‑S‑、‑CO‑、‑SO2‑、‑CH2‑、‑C(CH3)2‑或‑C(CF3)2‑。按照本发明的技术方案,本发明所述的多元共聚聚苯并咪唑和质子交换膜具有良好的力学性能和较高的质子传导性能。

一种复合电极结构及锌溴液流电池

NºPublicación:  CN121905883A 21/04/2026
Solicitante: 
中国科学院大连化学物理研究所
CN_121905883_PA

Resumen de: CN121905883A

本发明属于液流电池储能技术领域,特别涉及一种复合电极结构及锌溴液流电池。所述电极包括层叠设置的二片碳毡和位于二片碳毡间的1块锌片,或于二片碳毡间层叠设置的由碳毡间隔的2块以上锌片;于锌片上设置通孔。在负极碳毡中间放置锌片,可以诱导锌溴液流电池在充电过程中,锌在锌片优先沉积,将锌的沉积界面调控至碳毡内部,远离隔膜,可有效的抑制锌枝晶的影响。

一种抗堵塞氢燃料电池过滤装置

NºPublicación:  CN121891858A 21/04/2026
Solicitante: 
南通市江南过滤科技有限公司
CN_121891858_PA

Resumen de: CN121891858A

本发明涉及应用于分离领域的一种抗堵塞氢燃料电池过滤装置,包括有过滤机壳和搭载在过滤控制器内的智能防堵辅助系统,过滤机壳内安装有滤芯,通过弹性气胀条、均流环和吹鼓防堵单元的配合,可在过滤装置的工作间歇期,针对滤芯表面粘连的顽固积尘展开强力清除作业,显著增强了对滤芯的清灰力度与效果,达成高效且优质的清灰目标,有效避免持续应用后滤芯发生堵塞的问题,保障其进气量的持续稳定性,同时,在氢燃料电池运行过程中,还能维持弹性气胀条的收缩状态,避免其对滤芯产生遮挡效应,从而确保滤芯拥有充足的进气量,进而提升了过滤装置持续工作的可靠性,促进了氢燃料电池的整体运行效率。

一种燃料电池冷却液及其制备方法

NºPublicación:  CN121895925A 21/04/2026
Solicitante: 
佛山德联汽车用品有限公司
CN_121895925_A

Resumen de: CN121895925A

本发明涉及冷却液技术领域,尤其涉及一种燃料电池冷却液,包括以下按重量份计量的组分:超纯水480~510份、乙二醇350~450份、丙三醇60~180份、糖醇混合物4.3~5.1份、缓蚀剂6~7份;所述糖醇混合物的制备方法包括以下步骤:将150~250重量份的乳糖醇、100~175重量份的甘露醇、3~8体积份的吡啶混合,在0~5℃的温度下搅拌至完全溶解,得到混合备用溶液;在0~5℃的温度下,缓慢滴加95~110体积份的乙酸酐至混合备用溶液中,滴加完毕后在25~30℃的温度下静置12~14h,得到待纯化溶液;将待纯化溶液倒入由超纯水制成的冰水混合物中,静置30~60min,将沉淀析出物过滤,用0~‑10℃的乙醇洗涤,真空干燥得到糖醇混合物。本发明具备良好的防冻性能,且在低温环境下具有良好的流动性能。

一种电池漏液收集装置和电能储能系统

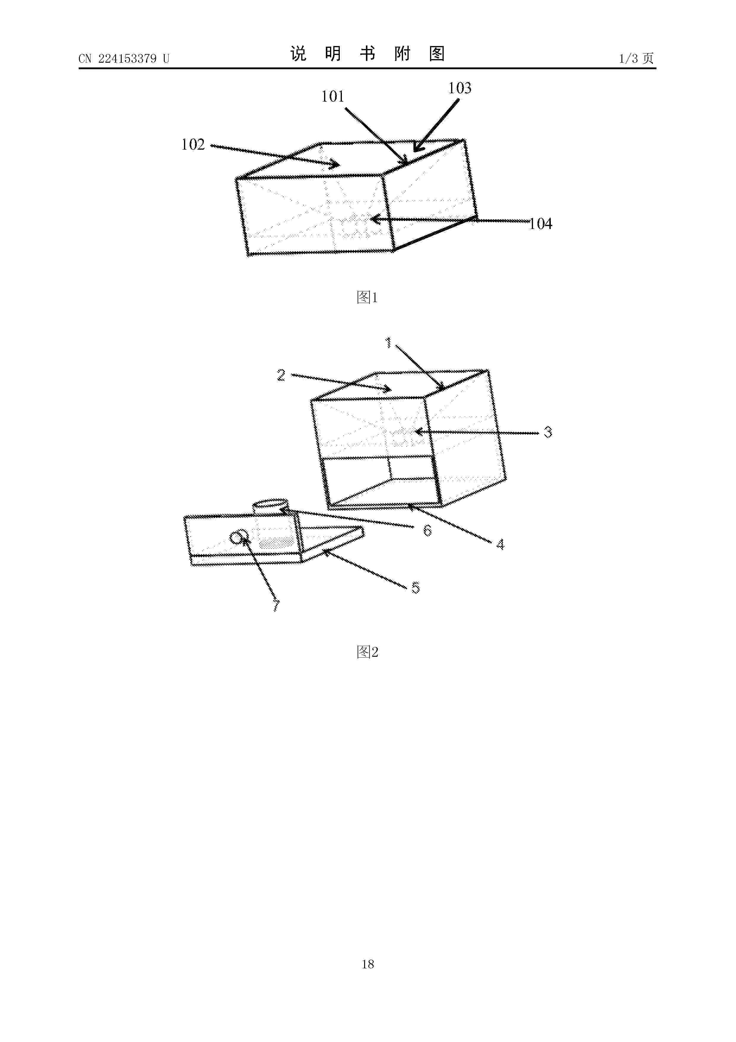
NºPublicación:  CN224153379U 21/04/2026
Solicitante: 
中国长江三峡集团有限公司
CN_224153379_U

Resumen de: DE202025103383U1

Sammelvorrichtung für Batterie-Leckagen, dadurch gekennzeichnet, dass die Sammelvorrichtung für Batterie-Leckagen auf einer Oberseite eines Grundkörpers mit einer Leckage-Auffangöffnung versehen ist, wobei der Grundkörper eine Leckage-Sammelfläche umfasst, wobei die Leckage-Auffangöffnung mit einem höher gelegenen Ende der Leckage-Sammelfläche verbunden ist; wobei die Leckage-Sammelfläche ist an einem tiefer gelegenen Ende mit einem Leckage-Führungsauslass versehen ist.

エネルギーセルの製造のための、多層状のエンドレスウェブのラミネートのためのラミネート装置

NºPublicación:  JP2026512640A 20/04/2026
Solicitante: 
ケルバー・テクノロジーズ・ゲゼルシャフト・ミト・ベシュレンクテル・ハフツング
JP_2026512640_A

Resumen de: WO2024088827A2

The invention relates to a laminating device for a multilayer endless web (3), which is made of at least one separator web (4, 6) and at least one electrode (5), for producing energy cells, comprising a press device which laminates the multilayer endless web (3) while exerting a compressive force. The press device has two press surfaces (24, 25), by means of which the press device comes into contact with different faces of the endless web (3), and the press surfaces (24, 25) are controlled to different temperatures.

操作量制限を考慮したフラットネスベースでの制御

NºPublicación:  JP2026512737A 20/04/2026
Solicitante: 
ロバートボッシュゲーエムベーハー
JP_2026512737_A

Resumen de: WO2024217881A1

The invention relates to a method for the model-based operation, in particular control, of a control section (∑p(·)), preferably in the form of a sub-system of a coolant system, preferably for the operation of an electrochemical energy converter, comprising the following steps: - determining a state (m actuator(k)) of an actuator of the control section (∑p(·)) taking into account control variable limits (u req,min(k)/u req,max(k)) of the actuator, - operating the control section (∑p(·)) depending on the determined state (m actuator(k)) of the actuator.

具有优异的表面导电性和耐久性的用于燃料电池隔板的钛板及其制造方法

NºPublicación:  CN121889897A 17/04/2026
Solicitante: 
浦项股份有限公司
CN_121889897_PA

Resumen de: WO2025127831A1

The present specification discloses a titanium plate for a bipolar plate, having excellent surface conductivity and excellent durability. The titanium plate for a bipolar plate, according to the present invention, comprises, by wt%: a base material including 0.001-0.09% of Si, 0.065% or less of Al, and the remainder of Ti and inevitable impurities; and a surface film layer including 0.20% or less of Si, 0.20% or less of O, and the remainder of Ti and inevitable impurities, wherein the surface film layer having the maximum wt% of O can satisfy expression (1). Expression (1): 0.05 ≤ Si/(Ti+O) ≤ 0.4 (wherein Si, Ti, and O indicate wt% of the respective elements.)

氢氧根离子传导膜、氢氧根离子传导膜的制造方法、膜电极接合体、制氢方法及制氢系统

NºPublicación:  CN121889539A 17/04/2026
Solicitante: 
富士胶片株式会社
CN_121889539_PA

Resumen de: WO2025070387A1

Provided are: a hydroxy ion conductive membrane containing a porous base material and a hydroxy ion conductive polymer disposed at least in pores of the porous base material, wherein the hydroxy ion conductive film has a thickness of 5 μm or more and less than 50 μm, and the polymer contains a constituent component (I) derived from a polyfunctional polymerizable monomer having two or more atoms of at least one kind of atom among oxygen atom, sulfur atom and nitrogen atom in total in a structural moiety other than a polymerizable group by 50 mol% or more of the constituent components of the polymer; a method for producing the hydroxy ion conductive membrane; a membrane electrode assembly, and a hydrogen production method and a hydrogen production system comprising the membrane electrode assembly.

アニオン交換膜用カチオン化合物

NºPublicación:  JP2026512571A 17/04/2026
Solicitante: 
アグフア-ゲヴエルト,ナームローゼ・フエンノートシヤツプ
JP_2026512571_A

Resumen de: EP4424665A1

An amidinium-functionalized compound, characterized in that the compound has a structure according to General Formula I or General Formula IIwherein• R5 and R9 are any substituent different from hydrogen;• R1 to R4 are independently selected from the group consisting of an alkyl group, an alkenyl group, an alkynyl group, an aralkyl group, an alkaryl group, an aryl group and a heteroaryl group, or any of R1 and R3, R1 and R4, R1 and R2, R3 and R4, R2 and R3, or R2 and R4 represent the necessary atoms to form a five- to eight- membered non-aromatic ring;• R6 to R8 are independently selected from the group consisting of hydrogen, an alkyl group, an alkenyl group, an alkynyl group, an aralkyl group, an alkaryl group, an aryl or heteroaryl group, a halogen group, an ether group, a nitro group, an amine group, or any of R5 and R6, R6 and R7, R7 and R8, or R8 and R9 represent the necessary atoms to form a five-to eight-membered ring;• X- is an anion;and wherein• at least one of R1 to R9 comprises a polymerizable group or comprises the necessary atoms to link the amidinium group to a polymer.

二次电池

NºPublicación:  CN121889900A 17/04/2026
Solicitante: 
标能有限公司
CN_121889900_PA

Resumen de: WO2025048610A1

The present invention relates to a secondary battery charged and discharged through the oxidation and reduction of metal ions dissolved in an electrolyte. The secondary battery according to an embodiment of the present invention comprises: a first liquid electrode in which a first half reaction occurs; a second liquid electrode in which a second half reaction occurs; a first frame that forms a first electrode receiving part which is a space for storing the first liquid electrode; a second frame that forms a second electrode receiving part which is a space for storing the second liquid electrode; a separator disposed between the first electrode receiving part and the second electrode receiving part; and an electrode connection part connecting the first electrode receiving part and the second electrode receiving part.

バッテリセルの熱管理のためのバッテリシステム

Nº publicación: JP2026066975A 17/04/2026

Solicitante:

スタンダードエナジーインコーポレイテッド

JP_2026066975_A

Resumen de: US2023318068A1

0000 The disclosed technology relates generally to battery management systems and more particularly to battery management systems configured for thermal management of battery cells. In one aspect, a battery system comprises a plurality of battery cells electrically connected to each other. The battery system comprises a plurality of switches each connected to one of the battery cells. The battery system additionally comprises one or more heaters electrically connected to the switches and configured to generate heat upon activation of one or more switches by dissipating power from the battery cells. The battery system further comprises one or more heat conduits configured to channel the heat generated by the one or more heaters towards at least one of the battery cells.

traducir