Ministerio de Industria, Turismo y Comercio LogoMinisterior
 

Alerta

Resultados 479 resultados
LastUpdate Última actualización 25/02/2026 [06:49:00]
pdfxls
Solicitudes publicadas en los últimos 15 días / Applications published in the last 15 days
previousPage Resultados 50 a 75 de 479 nextPage  

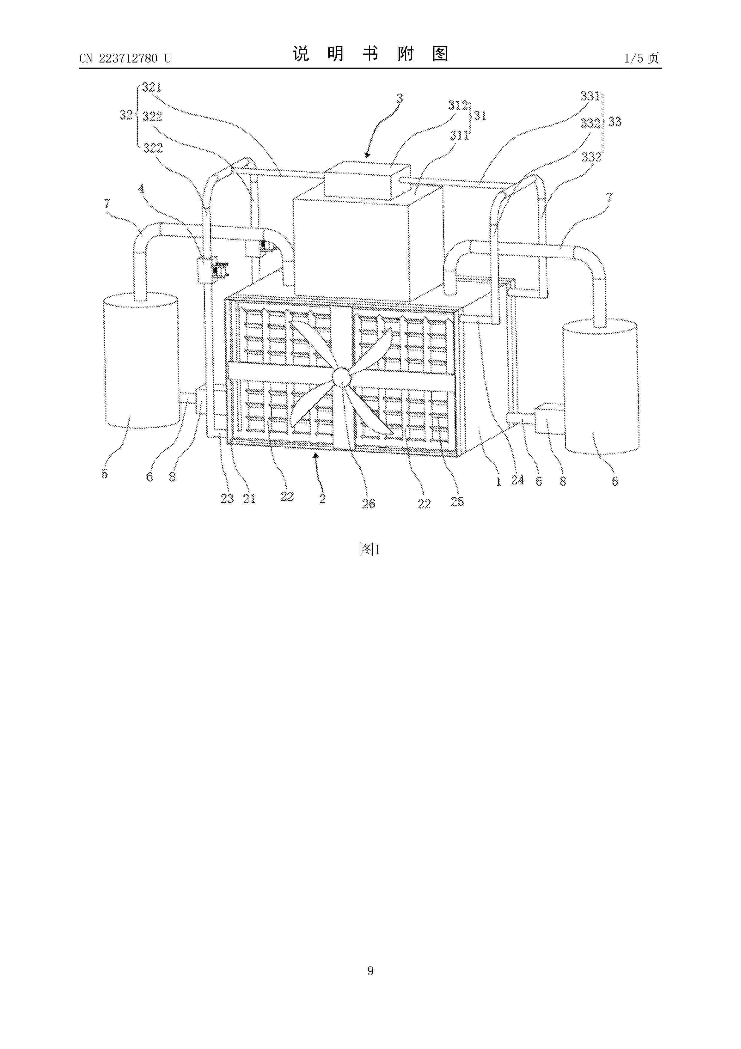
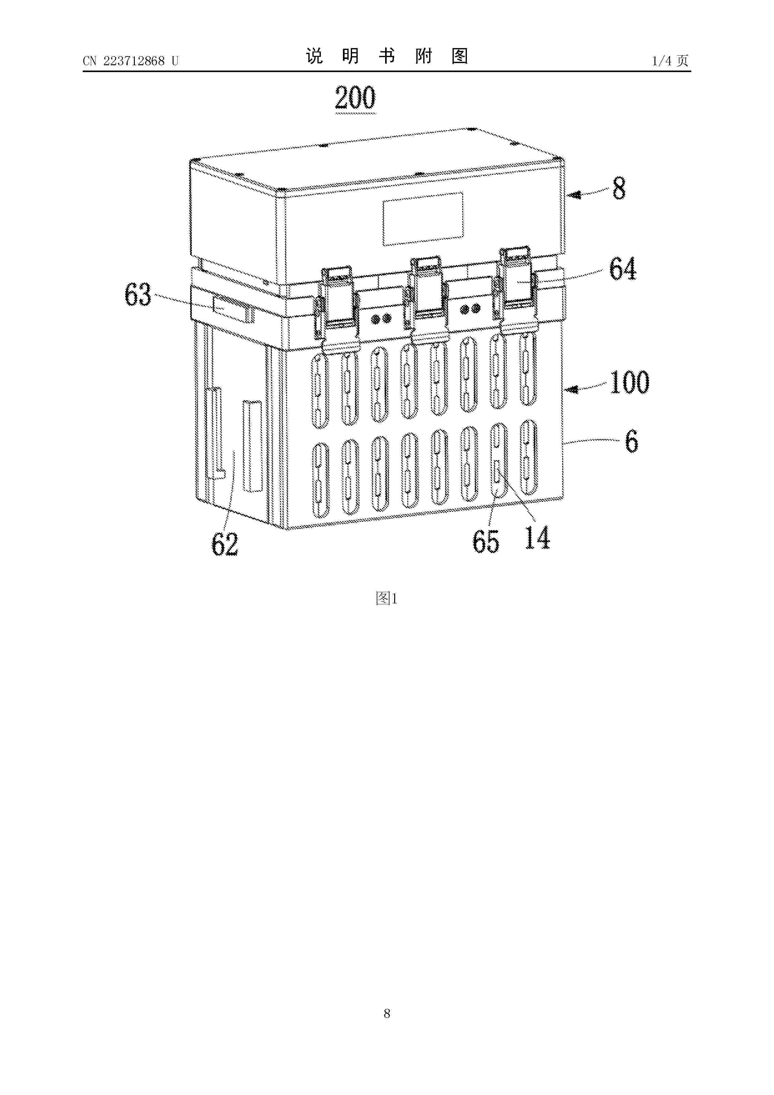
锂空气电池气体循环泵及其控制方法、发电系统

NºPublicación:  CN121557091A 24/02/2026
Solicitante: 
华电电力科学研究院有限公司西安交通大学阳光电源股份有限公司
CN_121557091_PA

Resumen de: CN121557091A

本申请涉及电化学储能技术领域,公开了锂空气电池气体循环泵及其控制方法、发电系统,锂空气电池气体循环泵包括:泵体,用于形成储气腔,泵体配置为在电流作用下发生形变以改变储气腔的体积;进气通道,形成于泵体上并与储气腔连通,用于吸入气体;出气通道,形成于泵体上并与储气腔连通,用于排出气体;进气元件,设置于进气通道内,配置为在储气腔的体积改变时控制进气气流;出气元件,设置于出气通道内,配置为在储气腔的体积改变时控制出气气流。通过上述方案,替代了电动机和传动机构,显著降低了能耗和运行噪音;同时,集成化的设计减少了额外组件,压缩了体积占用,解决了相关技术中电动循环泵能耗高、体积大、噪音大的问题。

高温稳定型氢键有机框架自支撑薄膜及其制备方法和应用

NºPublicación:  CN121554757A 24/02/2026
Solicitante: 
中国科学院大连化学物理研究所
CN_121554757_PA

Resumen de: CN121554757A

本发明属于功能材料技术领域,具体涉及一种高温稳定型氢键有机框架自支撑薄膜及其制备方法和应用。所述氢键有机框架的结构式如下:其中:X=‑OH、‑NH2、‑SO3H、‑PO4H。本发明的氢键有机框架自支撑薄膜在特定晶轴方向呈现负热膨胀特性,同时兼具优异质子传导性能和环境稳定性,该类材料特别适用于质子交换膜、固态电解质等需要高热尺寸稳定性的精密器件领域。

一种气液分离装置及燃料电池系统

NºPublicación:  CN121565890A 24/02/2026
Solicitante: 
武汉船用电力推进装置研究所(中国船舶集团有限公司第七一二研究所)
CN_121565890_PA

Resumen de: CN121565890A

本发明公开了一种气液分离装置及燃料电池系统,气液分离装置包括外壳、分离部、隔离部及液位检测部;外壳具有内腔、入口与出口,入口与出口均连通内腔;分离部设于内腔,且与内腔的底部之间形成有储液室,储液室与入口相连通,且用于储存分离部分离出的混合物中的液相;隔离部设于储液室,且具有隔离腔,隔离腔的容积小于储液室的容积,且连通储液室,并具有用于平衡隔离腔中气压的导气口,导气口连通内腔;液位检测部具有检测头,检测头设于隔离腔,且位于导气口下方。本方案中,当装置在晃动时,隔离腔内的晃动幅度较低,降低液面晃动引起液位测量信号错误的概率,提高检测头的检测准确性,减少排水误触发造成气体泄漏的情况。

一种可扩展式高通量膜电极测试平台

NºPublicación:  CN121558092A 24/02/2026
Solicitante: 
北京亿能氢源科技有限公司
CN_121558092_PA

Resumen de: CN121558092A

本发明涉及膜电极测试技术领域,具体为一种可扩展式高通量膜电极测试平台,检测单元包括固定设置在底板上的长板,长板上固定设置有两个均匀分布的检测器一,且两个检测器一的输出端上均固定设置有支架一,且支架一位于固定框的正上方,从而实现调控运料带转动,在运料带带动固定框移动的过程中,产品会经过设置在底板上的压板和检测器三等多个模块进行全方位的数据检测,并且通过主机)将阴离子交换膜测试所需的环境控制温湿度、气体氛围、电化学表征阻抗、极化曲线、参数监测压力、泄漏、气体纯度等功能,分别集成到独立的标准化模块中,每个模块均配备统一的通讯接口与驱动协议,可根据测试需求灵活组合。

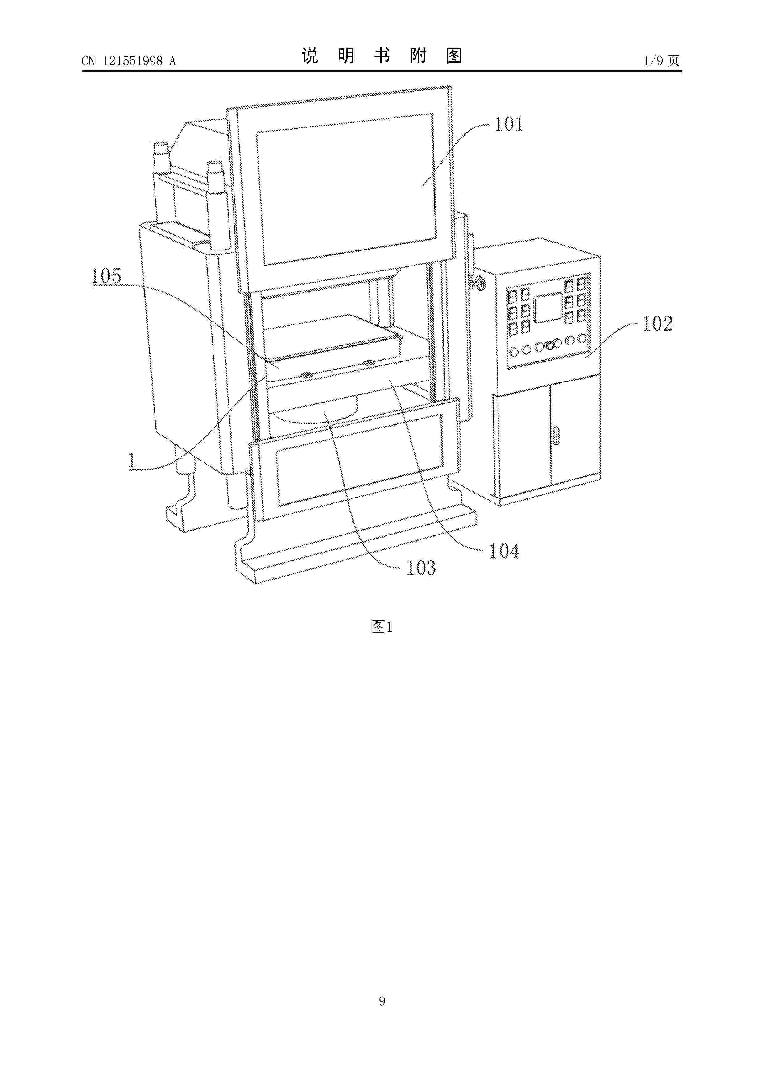
一种膜电极热压成型机

NºPublicación:  CN121551998A 24/02/2026
Solicitante: 
北京亿能氢源科技有限公司
CN_121551998_A

Resumen de: CN121551998A

本发明涉及膜电极加工技术领域,具体为一种膜电极热压成型机,主要包括机体,机体一侧设置有控制柜,机体下端内壁安装有伸缩组件,机体内部设置有下隔热壳、下热压板、上隔热壳和上热压板,还包括:加热机构,加热机构设置在下热压板和上热压板内部,密封机构,密封机构设置在机体内部,安装机构,安装机构设置在机体内部。通过设置的加热腔和加热管,且加热管缠绕设置且从中心至边缘逐步变密,使得下热压板和上热压板边缘区域的加热速度略高于中间位置,同时通过边缘区域比中间散热较快,从而在热量上得到补偿,使得下热压板和上热压板边缘和中间区域的温度较为均匀,进而保证膜电极边缘催化层活化较为充分,提高膜电极的热压质量。

双引射器系统的控制方法与装置、介质、燃料电池、车辆

NºPublicación:  CN121565893A 24/02/2026
Solicitante: 
中国第一汽车股份有限公司
CN_121565893_A

Resumen de: CN121565893A

本发明涉及燃料电池控制技术领域,具体公开了一种双引射器系统的控制方法与装置、介质、燃料电池、车辆,其中,在双引射器系统的控制方法中,首先获取燃料电池的氢气压强目标值范围和氢气浓度目标值范围,并通过滑膜观测器观测燃料电池的氢气流量以得到氢气压强观测值,以及通过EKF观测器观测计算氢气浓度实际值,如果氢气压强观测值不处于氢气压强目标值范围,则对第一比例阀和/或第二比例阀进行控制,如果氢气浓度实际值低于氢气浓度目标值范围,则对排氢阀、第一比例阀和第二比例阀进行控制,使得燃料电池的氢气压强实际值处于氢气压强目标值范围,同时氢气浓度实际值也处于氢气浓度目标值范围,从而能够控制氢压稳定,保证氢气浓度。

一种MEA封装设备加工用恒温热压贴合装置

NºPublicación:  CN121552723A 24/02/2026
Solicitante: 
北京亿能氢源科技有限公司
CN_121552723_PA

Resumen de: CN121552723A

本发明涉及MEA封装设备技术领域,具体为一种MEA封装设备加工用恒温热压贴合装置,压合单元包括固定设置在底板上的竖板,竖板上转动设置有收卷轮,底板上固定设置有支架二,支架二的顶端处固定设置有下压器,设置在底板上的上料器能够存储物料用于存储物料,再通过设置在竖板上的收卷轮能够将压膜运输至加工区域,设置在支架二上的下压器能够对亚膜进行压合,再通过设置在支架一上的气缸一控制滑板的移动距离,保证气缸二与下压器能够同步加工物料,当上料器内的物料运输至预定区域时,装置上的支撑架能够通过调节器控制连接板横向移动,从而实现控制连接板上的压合器移动,直至压合器与载物板上的卡台相会对齐,完成加工。

一种引射器全工况下的多流体性能预测方法及系统

NºPublicación:  CN121565894A 24/02/2026
Solicitante: 
四川轻绿科技有限公司
CN_121565894_PA

Resumen de: CN121565894A

本发明属于引射器和燃料电池技术领域,提供了一种引射器全工况下的多流体性能预测方法及系统,获取工况参数和引射器的几何参数;根据工况参数和几何参数,在预设条件下,分别进行临界点和回流点的建模,形成引射器性能的特征点的求解模型,特征点包括临界再循环比、临界背压和回流背压;对求解模型中的未知参数进行参数辨识;基于辨识得到的未知参数,确定目标工况下的特征点的值,根据特征点的值,计算目标工况下的再循环比、出口温度和出口流体成分,实现预测。本发明以非迭代求解方法获得引射器在全工况下的性能,能够满足燃料电池中具有宽工作范围、快速响应等特点的引射器驱动阳极气体再循环系统,在不同工况下的实时控制需求。

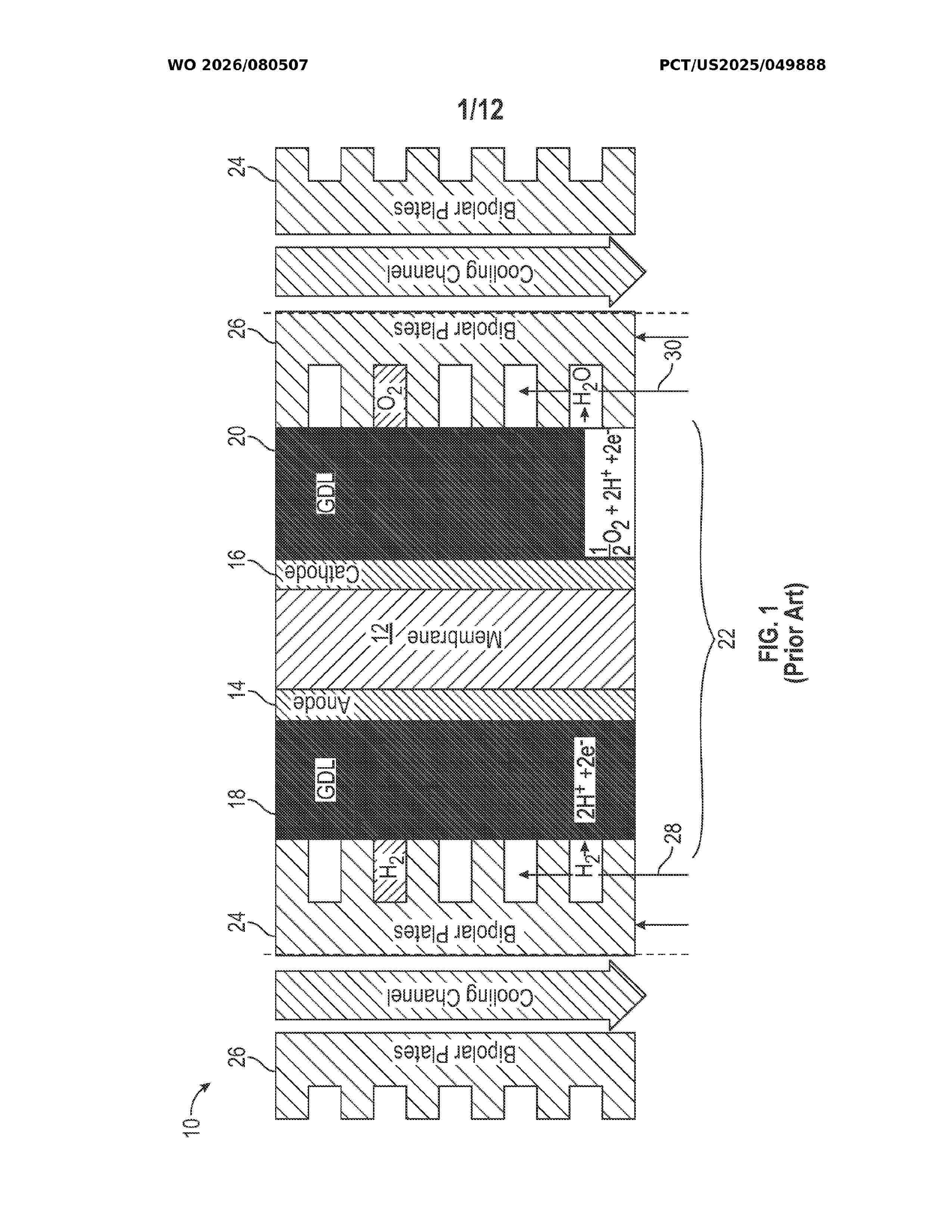
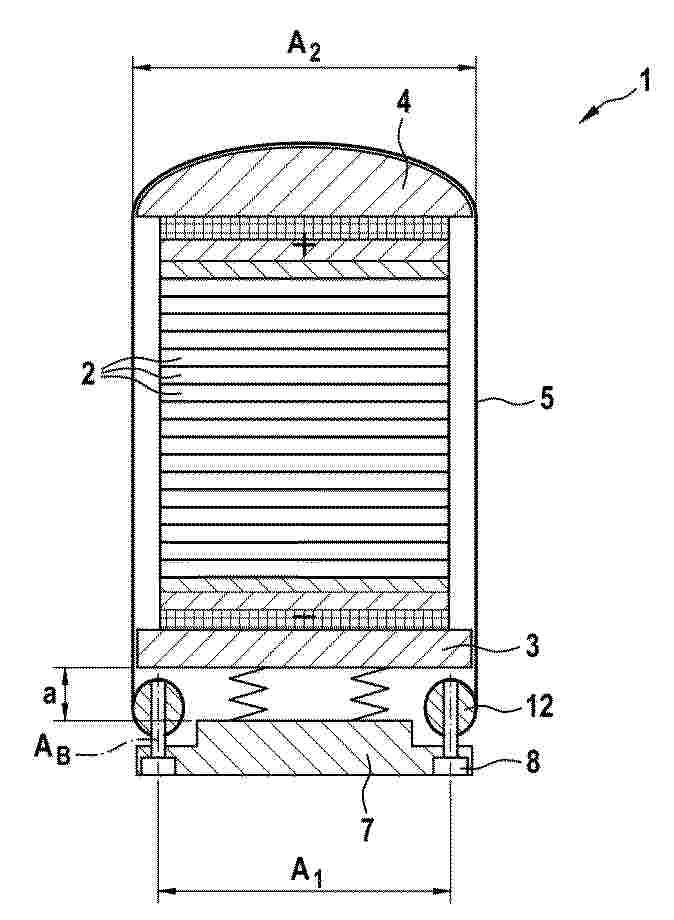
燃料电池堆

NºPublicación:  CN121569380A 24/02/2026
Solicitante: 
罗伯特·博世有限公司
CN_121569380_PA

Resumen de: WO2024240893A1

The invention relates to a fuel cell stack (1), comprising a plurality of fuel cells (2) in a stacked arrangement, which are arranged between two end plates (3, 4) and are braced to one another by means of a U-shaped tensioning band (5) placed around the fuel cell stack (1), wherein at least one end of the tensioning band (5) is fastened by means of a bolt arrangement (6) to a further plate (7) which is arranged at a distance (a) from one end plate (3, 4), preferably from the lower end plate (3). According to the invention, the bolt arrangement (6) has a bolt (8) which is received at least in some sections in the further plate (7) and has a longitudinal axis (AB) which is at an angle (α) < 90° to the further plate (7).

炭素担体、金属担持触媒、電極及び電池

NºPublicación:  JP2026030308A 20/02/2026
Solicitante: 
日清紡ホールディングス株式会社
JP_2026030308_A

Resumen de: WO2026034243A1

The present invention provides: a carbon carrier which enables the achievement of effective maintenance of the performance of a metal-loaded catalyst; and a metal-loaded catalyst which is capable of effectively maintaining the performance; an electrode; and a battery. The carbon carrier is for supporting catalyst metal particles. The volume of pores having a pore diameter of more than 0 nm and not more than 70 nm is 0.70 cm3/g or less as determined by a DFT method from the nitrogen adsorption isotherm at a temperature of 77K. The volume of pores having a pore diameter of less than 5 nm is 0.31 cm3/g or more as determined by the DFT method from the nitrogen adsorption isotherm. The true density as determined by a constant volume expansion method is 1.9 g/cm3 or more. The carbon carrier has a carbon structure wherein the half width at half maximum of a D band having a peak top near a Raman shift of 1340 cm-1 is 50 cm-1 or less in the Raman spectrum obtained by Raman spectroscopy.

炭素担体、金属担持触媒、電極及び電池

NºPublicación:  JP2026030306A 20/02/2026
Solicitante: 
日清紡ホールディングス株式会社
JP_2026030306_A

Resumen de: WO2026034241A1

The present invention provides: a carbon carrier which enables the achievement of effective maintenance of the performance of a metal-loaded catalyst; a metal-loaded catalyst which is capable of effectively maintaining the performance; an electrode; and a battery. The carbon carrier is for supporting catalyst metal particles. In a log differential pore volume distribution obtained by the DH method from the nitrogen adsorption isotherm at a temperature of 77K, the most frequent diameter, which is the pore diameter that gives the maximum value of log differential pore volume within a pore diameter range of more than 0 nm and not more than 100 nm, is less than 2.0 nm, and the log differential pore volume at the most frequent diameter is 1.70 cm3/g or less.

炭素担体、金属担持触媒、電極及び電池

NºPublicación:  JP2026030307A 20/02/2026
Solicitante: 
日清紡ホールディングス株式会社
JP_2026030307_A

Resumen de: WO2026034242A1

Provided are: a carbon carrier that effectively maintains the performance of a metal-supported catalyst; the metal-supported catalyst with effectively maintained performance; an electrode; and a battery. The carbon carrier is for supporting catalytic metal particles, wherein the volume of pores having a pore diameter in a range from greater than 0 nm to 100 nm is 1.10 cm3/g or less, the volume being obtained by the DH method from a nitrogen adsorption isotherm at a temperature of 77K, and in a differential pore volume distribution obtained by the DH method from the nitrogen adsorption isotherm, relative to the pore volume (cm3/g) in the range of pore diameters from greater than 0 nm to 100 nm, a ratio of the differential pore volume (cm3/(g·nm)) at the most frequent diameter, which is the pore diameter yielding the maximum value of the differential pore volume in the pore diameter range from greater than 0 nm to 100 nm, is 0.31 nm-1 or greater.

燃料電池電解槽のH+伝導率の向上

NºPublicación:  JP2026506069A 20/02/2026
Solicitante: 
フォージナノ、インク.
JP_2026506069_PA

Resumen de: US2024405244A1

A doped silica layer on a substrate comprises a substrate and a doped silica layer that has a thickness of 5 to 1000 nm, and a dopant:silicon atomic ratio of 0.5:99.5 to 15:85. The dopant is preferably P+5. The invention includes an electrolyzer comprising the doped silica layer and a method of electrolyzing water to produce hydrogen using the electrolyzer. The doped silica can be made by applying a silica layer by atomic layer deposition (ALD) and treating the silica layer with a phosphorus gas in which phosphorus is in the +3 valence state.

建設機械の制御装置および建設機械

NºPublicación:  JP2026028355A 20/02/2026
Solicitante: 
株式会社神戸製鋼所
JP_2026028355_PA

Resumen de: JP2026028355A

【課題】本発明は、燃料電池を最低出力で運用しても、蓄電池および補機を適正に運用しつつ、余剰電力を消費できる建設機械の制御装置および建設機械を提供する。【解決手段】本発明の建設機械の制御装置BCは、建設機械の起動後であって油圧アクチュエータ13を駆動していない際に、燃料電池2を最低出力で発電するように制御して燃料電池2で発電した最低発電電力、蓄電池3の充電電力、および、補機1が目標値で制御されて補機1で消費した消費電力に基づいて求めた余剰電力を電動機5で消費するように電動機5を制御する。【選択図】図2

金属分離板及びその製造方法

NºPublicación:  JP2026505970A 20/02/2026
Solicitante: 
ヒュンダイスチールカンパニー
JP_2026505970_PA

Resumen de: US2025364686A1

In one aspect, a metal separator is provided that includes a metal base material; and a coating layer formed on a surface of the metal base material and containing a conductive filler and an inorganic polymer.

燃料電池ケース

NºPublicación:  JP2026028549A 20/02/2026
Solicitante: 
トヨタ自動車株式会社
JP_2026028549_PA

Resumen de: JP2026028549A

【課題】燃料電池ケースの破損を防止する。【解決手段】内部に多数の燃料電池セル10が収容される燃料電池ケースである。上部ケース12aの下端と下部ケース12bの上端とが接合部14において接合されて組み立てられるケース本体12と、前記上部ケース12aの外面に締結される上部締結部20aと、前記下部ケース12bの外面に締結される下部締結部20bと、前記上部締結部と前記下部締結部の中間であって前記接合部14を、前記接合部14に対し間隔をあけて覆う膨出部20cと、を含むプロテクタ20と、を含み、前記上部締結部20aが締結される前記上部ケース12aの部分および前記下部締結部20bが締結される前記下部ケース12bの部分は、他の部分に比べ厚みが厚くなっている。【選択図】図2

METHODS OF MAKING A FE-CR ELECTROLYTE AND REDOX FLOW BATTERY SYSTEMS USING THE ELECTROLYTE

NºPublicación:  US20260051524A1 19/02/2026
Solicitante: 
COUGAR CREEK TECH LLC [US]
Cougar Creek Technologies, LLC
US_20260051524_PA

Resumen de: US20260051524A1

A method of making an Fe—Cr electrolyte includes a) oxidizing a carbon-containing Fe—Cr alloy with Fe2O3 or FeO; and b) treating the oxidized carbon-containing Fe—Cr alloy with FeCl3 or HCl or any combination thereof to produce a FeCl2—CrCl3 electrolyte. The method may also include treating, under reducing conditions, a starting material, such as chromite ore, with a carbon source to produce the carbon-containing Fe—Cr alloy. Additionally or alternatively, the method may include removing a portion of the FeCl2 from the FeCl2—CrCl3 electrolyte to obtain a selected iron to chromium molar ratio for the Fe—Cr electrolyte.

VERFAHREN UND SYSTEM ZUM STEUERN EINES BRENNSTOFFZELLEN-ELEKTROFAHRZEUGS IN EINEM LEISTUNGSSPARMODUS

NºPublicación:  DE102025131692A1 19/02/2026
Solicitante: 
FORD GLOBAL TECH LLC [US]
Ford Global Technologies, LLC

Resumen de: DE102025131692A1

Während einiger Vorgänge wird ein Brennstoffzellensystem eines FCEV in einem Spannungsunterdrückungsmodus betrieben, wenn sich das FCEV in der Parkstellung befindet und der Leistungsbedarf niedrig ist, um den Verschleiß des Brennstoffzellensystems zu reduzieren. Im Spannungsunterdrückungsmodus kann sich jedoch aufgrund des geringen Stroms von Reaktantengasen, die in der Regel das Wasser entfernen, flüssiges Wasser in dem Brennstoffzellensystem ansammeln. Wenn das FCEV den Parkzustand verlässt und eine hohe Beschleunigung erfährt, kann das Wasser den Reaktantenstrom hemmen.

FUEL CELL HYDROGEN GAS MITIGATION

NºPublicación:  US20260051520A1 19/02/2026
Solicitante: 
FORD GLOBAL TECH LLC [US]
FORD GLOBAL TECHNOLOGIES, LLC
US_20260051520_PA

Resumen de: US20260051520A1

A fuel cell includes an anode, a cathode, and a membrane separating the anode and the cathode. A controller, responsive to expiration of a predetermined time period that begins with disconnection of the fuel cell from an electrical bus, injects hydrogen gas into the anode and purges the cathode of oxygen.

SYSTEM AND METHOD FOR PREDICTING EXIT FROM A VOLTAGE SUPPRESSION CONTROL IN A FUEL CELL ELECTRIC VEHICLE

NºPublicación:  US20260051522A1 19/02/2026
Solicitante: 
FORD GLOBAL TECH LLC [US]
Ford Global Technologies, LLC
US_20260051522_PA

Resumen de: US20260051522A1

A vehicle system for fuel cell electric vehicle (FCEV) includes a fuel cell system including a fuel cell stack, and one or more controllers configured to inject reactants to the fuel cell stack exiting a power conservation control of the fuel cell system prior to actuation of an accelerator in response to a drive intent operation to a vehicle component from among a plurality of vehicle components.

FUEL CELL SYSTEM

NºPublicación:  US20260051521A1 19/02/2026
Solicitante: 
HYUNDAI MOTOR COMPANY [KR]
KIA CORP [KR]
Hyundai Motor Company,
Kia Corporation
US_20260051521_PA

Resumen de: US20260051521A1

The present disclosure relates to a fuel cell system including a fuel cell stack, a humidifier configured to humidify air, which is to be supplied to the fuel cell stack, by means of moist air discharged from the fuel cell stack, a cleaning water supply line connected to the humidifier and configured to selectively supply cleaning water to the humidifier, and a cleaning water discharge line connected to the humidifier and configured to discharge the cleaning water to the outside of the humidifier, thereby obtaining an advantageous effect of improving durability and stability.

PRESSURIZED FUEL CELL SYSTEM

NºPublicación:  US20260051518A1 19/02/2026
Solicitante: 
JOBY AERO INC [US]
Joby Aero, Inc
US_20260051518_PA

Resumen de: US20260051518A1

An aircraft fuel cell system includes a pressure vessel, a fuel cell stack located in the pressure vessel, a source of compressed air, and a valve to supply compressed air from the source of compressed air into the pressure vessel. Also included in the pressure vessel may be a coolant reservoir for a coolant loop for the fuel cell stack, as well as power electronics for the aircraft. A control system may purge the pressure vessel via a vent coupled to an external environment if an unacceptable level of hydrogen in the pressure vessel is reported by the hydrogen level sensor.

BIPOLAR PLATES WITH VARIABLE FURCATION RATIOS

NºPublicación:  US20260051517A1 19/02/2026
Solicitante: 
HYDROGENICS CORP [CA]
HYDROGENICS CORPORATION
US_20260051517_PA

Resumen de: US20260051517A1

A bipolar plate includes a sheet having channels formed on a surface of the sheet, each channel including a header region, an active region, and an exhaust region. The channels are formed adjacent to each other and successively from a top side to a bottom side of the sheet. The active region is furcated into at least two active area channels along a longitudinal length of the active region from where the active region fluidically connects to the header region to where the active region fluidically connects to the exhaust region. A number of active area channels in the active regions of successive channels varies in one of a direction from the top side to the bottom side or a direction from the bottom side to the top side so as to achieve a uniform pressure drop and mass flow distribution across the plurality of channels.

METHOD FOR MANUFACTURING OF ANODE FOR FUEL CELL AND LAYERED STRUCTURE FOR ANODE

NºPublicación:  US20260051515A1 19/02/2026
Solicitante: 
MICO POWER LTD [KR]
MICO POWER LTD
US_20260051515_PA

Resumen de: US20260051515A1

A method of manufacturing an anode for a fuel cell is provided. The method includes preparing a plurality of first green sheets elongated in one direction by shaping a first slurry containing YSZ, nickel, and a pore forming agent, preparing a second green sheet elongated in one direction by shaping a second slurry containing YSZ and nickel, preparing a first intermediate laminate by laminating the plurality of first green sheets alternately such that elongation directions of the first green sheets intersect, and then laminating the second green sheet thereon such that an elongation direction of the second green sheet intersects with that of an uppermost first green sheet, and pressure-sintering the first intermediate laminate.

LIQUID-COOLED CONDENSER

Nº publicación: US20260049747A1 19/02/2026

Solicitante:

UFI INNOVATION CENTER S R L [IT]
UFI INNOVATION CENTER S.R.L

US_20260049747_PA

Resumen de: US20260049747A1

A liquid-cooled condenser of a vehicle cooling system includes a refrigerant inlet and outlet mouths, through which the refrigerant fluid flows, and a liquid inlet mouth and a liquid outlet mouth through which the liquid flows. The liquid-cooled condenser includes upper and lower plate-like end elements, wherein the mouths are on the plate-like end elements. Intermediate plate-like elements in their mutual stacking define a refrigerant region, in which the refrigerant fluid flows, having refrigerant supply sections, in fluidic communication with the refrigerant inlet and outlet mouths. Transverse refrigerant sections, and a liquid region, into which the liquid flows, include liquid supply sections, in fluidic communication with the liquid inlet and outlet mouths. Transverse liquid sections alternate with the transverse refrigerant sections. A tubular element extending into the outlet refrigerant supply section, includes transverse section smaller than a transverse section of the outlet refrigerant supply section, forming a condensation gap.

traducir