Ministerio de Industria, Turismo y Comercio LogoMinisterior
 

Alerta

Resultados 557 resultados
LastUpdate Última actualización 02/04/2026 [06:49:00]
pdfxls
Solicitudes publicadas en los últimos 15 días / Applications published in the last 15 days
previousPage Resultados 500 a 525 de 557 nextPage  

Verfahren zum Betreiben eines elektrochemischen Stacks

NºPublicación:  DE102024208764A1 19/03/2026
Solicitante: 
BOSCH GMBH ROBERT [DE]
Robert Bosch Gesellschaft mit beschr\u00E4nkter Haftung

Resumen de: DE102024208764A1

Verfahren zum Betreiben eines elektrochemischen Stacks (10), der eine Vielzahl von elektrochemischen Zellen (1) aufweist, die jeweils einen Anodenraum (2) mit einer Anodenelektrode (6) und einen Kathodenraum (3) mit einer Kathodenelektrode (7) aufweisen, wobei der Anodenraum (2) und der Kathodenraum (3) durch eine semipermeable Membran (8) voneinander getrennt sind. Zwischen der Anodenelektrode (6) und der Kathodenelektrode (7) tritt im Betrieb eine elektrische Spannung auf, wobei die elektrochemischen Zellen (1) in Reihe geschaltet sind. Eine Zellspannungsüberwachungseinheit (17) ist mit den elektrochemischen Zellen (1) verbunden. Das Verfahren ist gekennzeichnet durch- Messen von elektrischen Spannungen Uimit Hilfe des Zellspannungsüberwachungssystems (17) von jeweils n in Reihe geschalteten elektrochemischen Zellen, wobei n größer oder gleich 2 ist,- Vergleichen der gemessenen Spannungen Uimit einer Höchstspannung Uexp,nund einer Minimalspannung Umin,n, wobei die Höchstspannung Uexp,ndas n-fache der maximal möglichen Zellspannung einer einzelnen elektrochemischen Zelle Uexpist und Umin,ndas (n-1)-fache der maximal möglichen Zellspannung einer einzelnen Zelle (1) plus eine untere Spannungsgrenze ULimit, wobei ULimitdie kleinste Zellspannung ist, bis zu der ein Betrieb einer einzelnen elektrochemischen Zelle (1) durchgeführt werden soll,- Ausgeben einer Fehlermeldung, falls wenigstens eine der gemessenen Spannungen Uikleiner als Umin,noder größer als Uexp,nist.

Verfahren zum Betreiben eines Brennstoffzellensystems sowie Brennstoffzellensystem

NºPublicación:  DE102024208875A1 19/03/2026
Solicitante: 
BOSCH GMBH ROBERT [DE]
Robert Bosch Gesellschaft mit beschr\u00E4nkter Haftung

Resumen de: DE102024208875A1

Die vorgestellte Erfindung betrifft ein Verfahren (100) zum Betreiben eines Brennstoffzellensystems (200), wobei das Verfahren (100) umfasst:- Betreiben (101) des Brennstoffzellensystems (200) in einem Normalbetrieb, mit geöffneten Kathodenabsperrventilen (207) und einem vorgegebenen Anodenbetriebsdruck sowie einem vorgegebenen Kathodenbetriebsdruck, unter Bereitstellung von elektrischem Strom durch einen Brennstoffzellenstapel (201) des Brennstoffzellensystems (200),- Absenken (103) des Anodenbetriebsdrucks unter einen vorgegebenen Anodenschellenwert und des Kathodenbetriebsdrucks unter einen vorgegebenen Kathodenschwellenwert, in Reaktion auf einen Steuerungsbefehl zum Schalten des Brennstoffzellensystems (200) in einen Standbybetrieb,- Einleiten (105) eines passiven Bleeddowns, indem die Kathodenabsperrventile (207) geschlossen und das Bereitstellen von elektrischem Strom durch den Brennstoffzellenstapel (201) beendet wird,- Einleiten (107) von Wasserstoff in den Anodenraum (203), in Reaktion auf einen Steuerungsbefehl für einen Wiederstart des Brennstoffzellensystems (200) aus dem Standbybetrieb, und- Öffnen (109) der Kathodenabsperrventile (207).Ferner betrifft die Erfindung ein Brennstoffzellensystem (200).

EMBOSSED BIPOLAR PLATE

NºPublicación:  WO2026057439A1 19/03/2026
Solicitante: 
OBERLAND MANGOLD GMBH [DE]
OBERLAND MANGOLD GMBH
WO_2026057439_A1

Resumen de: WO2026057439A1

The invention relates to a bipolar plate (10) having main surfaces (14, 16), a first plurality of elevations (18) and a first plurality of depressions (20), a second plurality of elevations and a second plurality of depressions, wherein a depression (20) has a counterpart elevation, wherein each elevation (18) and each depression (20) has a length (L), a width (B) and a height, wherein each elevation has, at its free end, as viewed in height direction, a tolerance compensation device which is set up to be elastically and/or plastically deformable such that the height of a corresponding elevation is reduced when a force acts on the free end of the elevation. The invention further relates to a stack comprising two such bipolar plates.

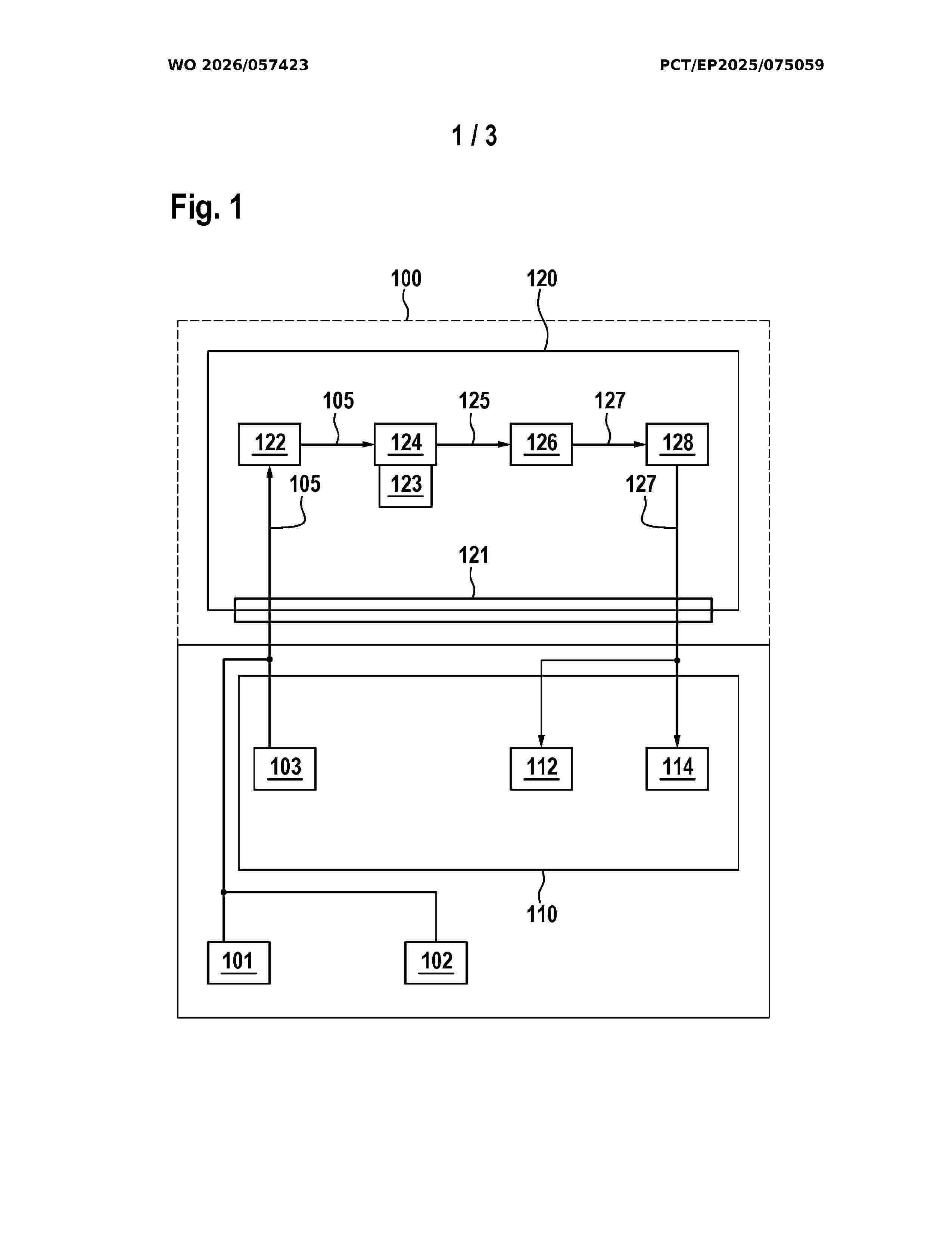
METHOD AND CONTROLLER FOR OPERATING A HYDROGEN SUBSYSTEM OF A FUEL CELL SYSTEM, AND FUEL CELL SYSTEM

NºPublicación:  WO2026057423A1 19/03/2026
Solicitante: 
ROBERT BOSCH GMBH [DE]
ROBERT BOSCH GMBH
WO_2026057423_A1

Resumen de: WO2026057423A1

The invention relates to a method for operating a hydrogen subsystem (110) of a fuel cell system (100), which is designed as a proton exchange membrane fuel cell system. The method comprises reading in sensor signals (105) via an interface (121) of sensor devices (101, 102, 103) of the fuel cell system (100). The sensor signals (105) represent present measured values of physicochemical operating conditions of the fuel cell system (100). The method comprises applying an operating specification (123) to the measured values in order to determine target operating variables (125) of the hydrogen subsystem (110). The operating specification (123) comprises constraints ascertained for the hydrogen subsystem (110), the constraints comprising a minimum hydrogen partial pressure at an anode outlet, a minimum gas velocity in the region of a flow field of an anode, a minimum anode pressure and a maximum anode pressure. The method comprises generating a control signal (127) using the determined target operating variables (125). The control signal (127) comprises predefined values for manipulated variables which can be set by means of actuating devices (112, 114) of the hydrogen subsystem (110) depending on the target operating variables (125). The method comprises providing the control signal (127) for output via an interface (121) to the actuating devices (112, 114) in order to operate the hydrogen subsystem (110).

Verfahren zum Betreiben eines Brennstoffzellensystems sowie Brennstoffzellensystem

NºPublicación:  DE102024208881A1 19/03/2026
Solicitante: 
BOSCH GMBH ROBERT [DE]
Robert Bosch Gesellschaft mit beschr\u00E4nkter Haftung

Resumen de: DE102024208881A1

Die Erfindung betrifft ein Verfahren (100) zum Betreiben eines Brennstoffzellensystems (200),wobei das Verfahren (100) umfasst:- Einleiten (101) von Wasserstoff in einen Anodenraum (203) eines Brennstoffzellenstapels (201) des Brennstoffzellensystems (200),- Beaufschlagen (103) des Brennstoffzellenstapels (201) mit einer Startspannung,wobei die Startspannung eine relativ zu einer Betriebsspannung des Brennstoffzellenstapels (201) umgekehrte Polarität hat, und- Öffnen (105) zumindest eines Kathodenabsperrventils (207) des Brennstoffzellensystems (200).Ferner betrifft die Erfindung eine Brennstoffzellensystem (200).

Gasführungsvorrichtung zum Zuführen eines Reaktandgases in ein Brennstoffzellensystem und zum Separieren von etwaigen Flüssigkeitsanteilen von dem Reaktandgas

NºPublicación:  DE102024126630A1 19/03/2026
Solicitante: 
CELLCENTRIC GMBH & CO KG [DE]
cellcentric GmbH & Co. KG

Resumen de: DE102024126630A1

Die Erfindung betrifft eine Gasführungsvorrichtung zum Zuführen eines Reaktandgases in ein Brennstoffzellensystem (9) und zum Separieren von etwaigen Flüssigkeitsanteilen (10) von dem Reaktandgas, wobei die Gaszuführungsvorrichtung aufweist:einen Gaseinlass (3) und einen Gasauslass (7) sowie einen dazwischen verlaufenden Gastransportkanal (2), der konfiguriert ist, das Reaktandgas, wenn es am Gaseinlass (3) eingespeist wird, von dort als Reaktandgasstrom (4) zum Gasauslass (7) zu führen, um eine oder mehrere am Gasauslass (7) anschließbare Brennstoffzellen oder Brennstoffzellenstapel (8) des Brennstoffzellensystems (9) mit dem Reaktandgas zu versorgen; undeinen vom Gasauslass (7) verschiedenen Flüssigkeitsauslass (5) am Gastransportkanal (2);wobei der Gastransportkanal (2) zudem derart als Flüssigkeitsseparator zum Separieren von Flüssigkeitsanteilen (10) aus dem Reaktandgasstrom (4) ausgebildet ist, dass seine Geometrie einen Gasführungspfad (11) für das Leiten des Reaktandgasstroms (4) vom Gaseinlass (3) zum Gasauslass (7) so definiert, dass der Gasführungspfad (11) einen Richtungswechsel (12) aufweist, unddie Geometrie des Weiteren einen Flüssigkeitsführungspfad (13) für das Leiten von etwaigen im Gasstrom mitgeführten Flüssigkeitsanteilen (10) zum Flüssigkeitsauslass (5) so definiert, dass sich der Gasführungspfad (11) undder Flüssigkeitsführungspfad (13) am Ort des Richtungswechsels (12) des Gasführungspfads (11) derart voneinander trennen, dass der

Verfahren zum Betreiben eines Brennstoffzellensystems, Steuergerät

NºPublicación:  DE102024208999A1 19/03/2026
Solicitante: 
BOSCH GMBH ROBERT [DE]
Robert Bosch Gesellschaft mit beschr\u00E4nkter Haftung

Resumen de: DE102024208999A1

Die Erfindung betrifft ein Verfahren zum Betreiben eines Brennstoffzellensystems, umfassend mindestens eine Brennstoffzelle mit einer Membran, die zur Ausbildung einer Anode und einer Kathode zwischen zwei Katalysatorschichten angeordnet ist, wobei im Normalbetrieb die Anode über einen Anodenkreis mit Wasserstoff versorgt wird. Vor einem Systemstart werden folgenden Schritte ausgeführt:- Öffnen mindestens eines in den Anodenkreis integrierten Ablassventils, beispielsweise eines Drain- und/oder Purgeventils,- Einziehen von Umgebungsluft über das mindestens eine geöffnete Ablassventil in den Anodenkreis sowie in die Anode der mindestens einen Brennstoffzelle und- Befreien der anodenseitigen Katalysatorschicht von Verunreinigungen mittels der eingezogenen Luft.Erfindungsgemäß wird das Öffnen des in den Anodenkreis integrierten Ablassventils durchgeführt, wenn die Brennstoffzelle deaktiviert ist und die Wasserstoffkonzentration im Anodenkreis zwischen 15 und 30 Volumenprozent beträgt.Die Erfindung betrifft ferner ein Steuergerät zur Ausführung von Schritten des erfindungsgemäßen Verfahrens.

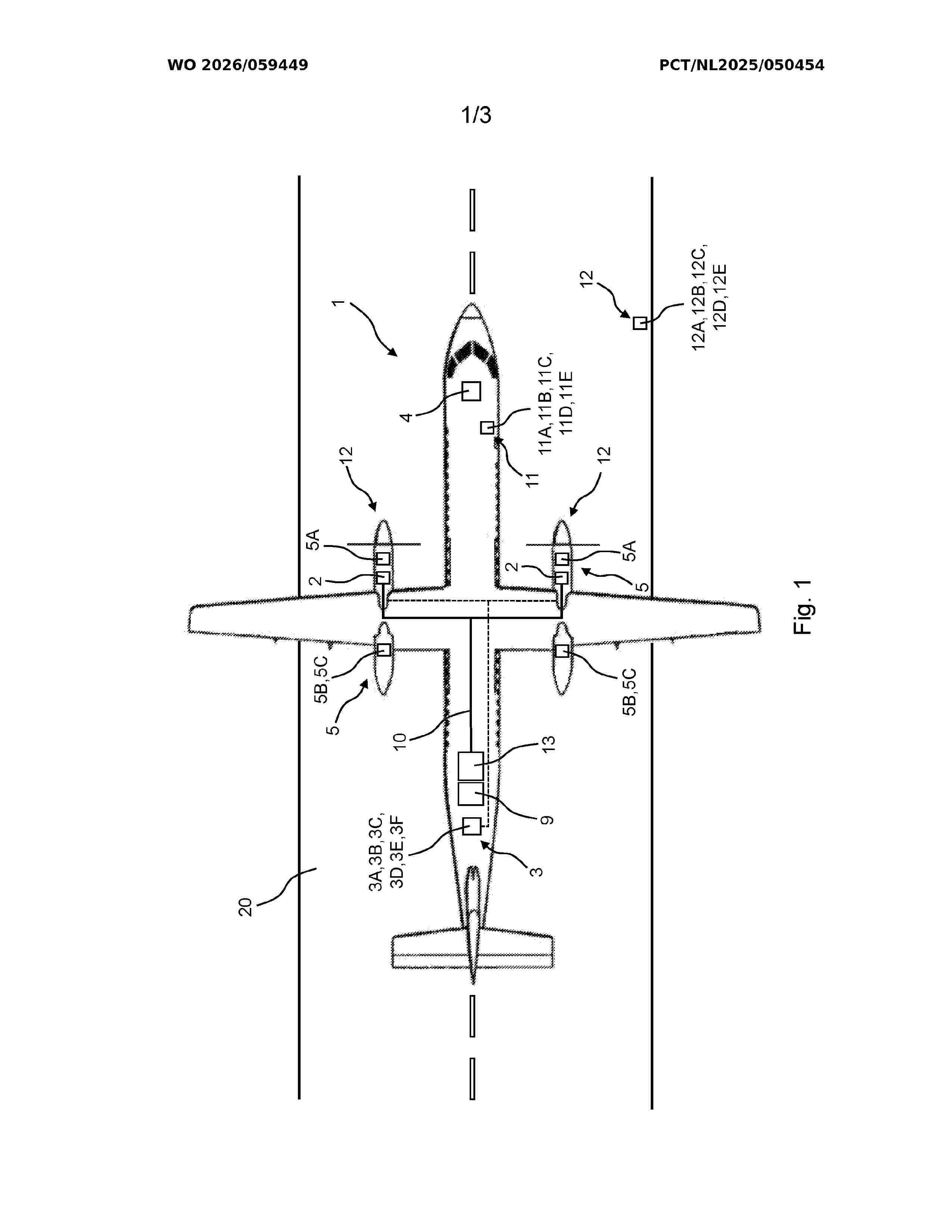
METHOD OF OPERATING A HYDROGEN FUEL CELL OF AN AIRCRAFT DURING TAKEOFF, AND AN AIRCRAFT COMPRISING A CONTROLLER CONFIGURED TO PERFORM SAID METHOD

NºPublicación:  WO2026059449A1 19/03/2026
Solicitante: 
CONSCIOUS AEROSPACE B V [NL]
CONSCIOUS AEROSPACE B.V
WO_2026059449_A1

Resumen de: WO2026059449A1

Method of operating a hydrogen fuel cell of an aircraft to provide a predetermined electrical power output during takeoff, comprising: - before takeoff-roll, predicting or determining an ambient temperature (TA) at an airport; - before takeoff-roll, predicting the actual obtainable temperature operating range (∆T) of the fuel cell that is expected to be obtainable at the runway of the airport during takeoff; - if ∆T is lower than a predetermined minimum threshold for which a cooling system of the aircraft was designed: - limiting the power output PFC supplied by said fuel cell by a value PFC,LIM; and - providing a supplementary power source for use during takeoff that has a maximum power output PSUP,MAX > PFC,LIM to compensate for the set limitation of the power output PFC,LIM supplied by said fuel cell to thereby guarantee that, during takeoff, a total available power output PTOT of the fuel cell and the supplementary power source together, i.e. PTOT = PFC + PSUP, is equal to or higher than a maximum power of the fuel cell PFC,MAX. The invention further relates to an aircraft comprising a controller configured to perform said method of operating the hydrogen fuel cell.

GAS CONDUCTING DEVICE FOR DELIVERING A REACTANT GAS INTO A FUEL CELL SYSTEM AND FOR SEPARATING ANY LIQUID COMPONENTS FROM THE REACTANT GAS

NºPublicación:  WO2026057792A2 19/03/2026
Solicitante: 
CELLCENTRIC GMBH & CO KG [DE]
CELLCENTRIC GMBH & CO. KG
WO_2026057792_A2

Resumen de: WO2026057792A2

The invention relates to a gas conducting device for delivering a reactant gas into a fuel cell system (9) and for separating any liquid components (10) from the reactant gas, wherein the gas conducting device comprises: a gas inlet (3) and a gas outlet (7) and a gas transport channel (2) that extends therebetween and is configured to conduct the reactant gas, when it is fed in at the gas inlet (3), from there as a reactant gas flow (4) to the gas outlet (7) in order to supply the reactant gas to one or more fuel cells or fuel cell stacks (8) of the fuel cell system (9), which fuel cells or fuel cell stacks can be connected to the gas outlet (7); and a liquid outlet (5), different from the gas outlet (7), on the gas transport channel (2); wherein the gas transport channel (2) is additionally designed in such a way as a liquid separator for separating liquid components (10) from the reactant gas flow (4) that the geometry thereof defines a gas conducting path (11), for guiding the reactant gas flow (4) from the gas inlet (3) to the gas outlet (7), such that the gas conducting path (11) has a change of direction (12), and the geometry further defines a liquid conducting path (13), for guiding any liquid components (10) entrained in the gas flow to the liquid outlet (5), such that the gas conducting path (11) and the liquid conducting path (13) separate from one another at the location of the change of direction (12) of the gas conducting path (11) in such a way that the liquid

Verfahren zum Betreiben eines Brennstoffzellensystems

NºPublicación:  DE102024208916A1 19/03/2026
Solicitante: 
BOSCH GMBH ROBERT [DE]
Robert Bosch Gesellschaft mit beschr\u00E4nkter Haftung

Resumen de: DE102024208916A1

Die Erfindung betrifft ein Verfahren zum Betreiben eines Brennstoffzellensystems (100), insbesondere eines Fahrzeugs (200), durch eine Steuereinheit (FCCU) aufweisend:- Bereitstellen (110), durch die Steuereinheit (FCCU), eines jeweiligen Heizstroms (Ii,k) an einen Heizer einer Anzahl (n) an Heizern des Brennstoffzellensystems (100) in einem zweiten Berechnungsschritt (k), wobei die Heizströme (Ii,k) in Summe einen Gesamtheizstrom (Iges,k) ergeben,- Prognostizieren (120), durch die Steuereinheit (FCCU), des Gesamtheizstroms (Iges,k+1) für einen auf den zweiten Berechnungsschritt (k) nachfolgenden dritten Berechnungsschritt (k+1) in Abhängigkeit von dem Gesamtheizstrom (Iges,k) des zweiten Berechnungsschritts (k) und- Betreiben (130), durch die Steuereinheit (FCCU), des Brennstoffzellensystems (100) in Abhängigkeit von dem Gesamtheizstrom (Iges,k+1) des dritten Berechnungsschritts (k+1).Weiterhin betrifft die Erfindung ein Brennstoffzellensystem (100), ein Computerprogrammprodukt, einen computerlesbaren Datenträger, eine Steuereinheit (FCCU) und ein System (200).

System zum Verhindern von Rückfluss von Abgasflüssigkeit in Brennstoffzellenfahrzeugen und Verfahren davon

NºPublicación:  DE102025133195A1 19/03/2026
Solicitante: 
DAIMLER TRUCK AG [DE]
Daimler Truck AG

Resumen de: DE102025133195A1

Die Erfindung betrifft ein System zum Verhindern des Rückflusses von Abgasflüssigkeit in Brennstoffzellenfahrzeugen. Das System 100 umfasst eine Abgasleitung 101 zum Ausstoßen von Abgasen und flüssigem Wasser, eine Wassersammelwanne 102, die nahe dem elektrischen Turbolader (ETC) 103 positioniert ist, und einen Wasserableitungsschlauch 104. Die Wassersammelwanne 102 nimmt Rückflusswasser auf, wobei verhindert wird, dass es den ETC 103 erreicht und Schäden verursacht. Der Ableitungsschlauch 104 stellt sicher, dass gesammeltes Wasser kontinuierlich entfernt wird, wobei eine Ansammlung vermieden wird. Die Wassersammelwanne 102 ist geometrisch konstruiert, um einen geeigneten Winkel nahe dem ETC 103 aufrechtzuhalten, wobei sichergestellt wird, dass das Eintreten von Wasser verhindert wird. Das System 100 ist konfiguriert, um die Ableitungsrate basierend auf dem Wassererzeugungsvolumen dynamisch anzupassen, wobei eine optimale Leistung über variierende Straßenbedingungen hinweg sichergestellt und ein Überlaufen verhindert wird.

Verfahren zum Erkennen eines Spülens einer Anode einer Brennstoffzelle, Datenverarbeitungsvorrichtung, Computerprogramm, computerlesbares Speichermedium sowie Kraftfahrzeug

NºPublicación:  DE102024126413A1 19/03/2026
Solicitante: 
BAYERISCHE MOTOREN WERKE AG [DE]
Bayerische Motoren Werke Aktiengesellschaft

Resumen de: DE102024126413A1

Die hier offenbarte Technologie betrifft erfindungsgemäß ein Verfahren zum Erkennen eines Spülens einer von einem Brennstoff durchströmbaren Anode (14) einer Brennstoffzelle (12). Es wird eine erste Größe ermittelt, welche eine Druckdifferenz zwischen einem ersten Druck an einer stromauf zumindest eines Teilbereiches der Anode (14) angeordneten ersten Stelle (S1) und einem zweiten Druck an einer stromab zumindest des Teilbereiches angeordneten zweiten Stelle (S2) charakterisiert. Es wird eine zweite Größe ermittelt, welche einen Absolutdruck an der zweiten Stelle (S2) charakterisiert. Das Spülen der Anode (14) wird erkannt, wenn ermittelt wird, dass die erste Größe größer als ein Schwellenwert und die zweite Größe kleiner als ein Referenzwert ist.

Verfahren zum Betreiben eines Brennstoffzellensystems, Brennstoffzellensystem

NºPublicación:  DE102024208912A1 19/03/2026
Solicitante: 
BOSCH GMBH ROBERT [DE]
Robert Bosch Gesellschaft mit beschr\u00E4nkter Haftung

Resumen de: DE102024208912A1

Die Erfindung betrifft ein Verfahren zum Betreiben eines Brennstoffzellensystems (1), umfassend einen Stack (2) mit einem Kathodenbereich (3) und einem Anodenbereich, wobei der Kathodenbereich (3) über einen Zuluftpfad (4) mit integriertem elektrischen Luftverdichter (5) mit verdichteter Luft versorgt wird. Erfindungsgemäß wird beim Abstellen und/oder Starten unter Gefrierbedingungen mit Hilfe des elektrischen Luftverdichters (5) eine Heizleistung erzeugt, mittels welcher die Luft im Zuluftpfad (4) erwärmt wird.Darüber hinaus betrifft die Erfindung ein Brennstoffzellensystem (1), das zur Durchführung eines erfindungsgemäßen Verfahrens geeignet bzw. nach einem erfindungsgemäßen Verfahren betreibbar ist.

Verfahren zum Trocknen eines Brennstoffzellensystems

NºPublicación:  DE102024208924A1 19/03/2026
Solicitante: 
BOSCH GMBH ROBERT [DE]
Robert Bosch Gesellschaft mit beschr\u00E4nkter Haftung

Resumen de: DE102024208924A1

Die vorgestellte Erfindung betrifft ein Verfahren (100) zum Trocknen eines Brennstoffzellensystems (200), wobei das Verfahren (100) umfasst:- Öffnen (101) mindestens eines Spülventils (211) des Brennstoffzellensystems (200),- Ermitteln (103) eines Anodendrucks in einem Anodensubsystem (203) des Brennstoffzellensystems (200),- Öffnen (105) eines Wasserstoffdosierventils (207) zum Eindosieren von Wasserstoff in das Anodensubsystem (203) für den Fall, dass der Anodendruck kleiner als ein vorgegebener unterer (119) Schwellenwert ist,- Reduzieren (107) einer durch das Wasserstoffdosierventil (207) in das Anodensubsystem (203) eindosierten Menge an Wasserstoff für den Fall, dass der Anodendruck größer als ein vorgegebener oberer Schwellenwert (121) ist, wobei beim Öffnen (105) des Wasserstoffdosierventils (207) das Wasserstoffdosierventil (207) vollständig geöffnet wird, und wobei das Öffnen (105) des Wasserstoffdosierventils (207) und das Reduzieren (107) der durch das Wasserstoffdosierventil (207) in das Anodensubsystem (203) eindosierten Menge an Wasserstoff wiederholt durchgeführt wird, bis eine vorgegebene Abbruchbedingung erfüllt ist.

Verfahren zum Betreiben eines Brennstoffzellensystems und Brennstoffzellensystem

NºPublicación:  DE102024126622A1 19/03/2026
Solicitante: 
EKPO FUEL CELL TECH GMBH [DE]
EKPO Fuel Cell Technologies GmbH

Resumen de: DE102024126622A1

Die Erfindung betrifft ein Verfahren zum Betreiben eines Brennstoffzellensystems in einem Stand-by-Betrieb, wobei das Brennstoffzellensystem zumindest einen Brennstoffzellenstapel oder zumindest eine Brennstoffzelle umfasst. Das Verfahren weist die Schritte des Feststellens des Vorliegens von zumindest einem vorgegebenen Kriterium für den Stand-by-Betrieb und der Reduktion eines Kathodenreaktantenstroms zu dem zumindest einen Brennstoffzellenstapel oder zu der zumindest einen Brennstoffzelle auf, wobei die Reduktion des Kathodenreaktantenstroms zumindest teilweise während einer Reduktion eines von dem zumindest einen Brennstoffzellenstapel oder von der zumindest eine Brennstoffzelle abgegebenen elektrischen Stroms erfolgt. Die Reduktion des elektrischen Stroms erfolgt dabei so, dass eine Spannung Uistdes zumindest einen Brennstoffzellenstapels oder der zumindest einen Brennstoffzelle während des Stand-by-Betriebs zumindest teilweise zwischen einer vorgegebenen minimalen Sollspannung Uminund einer vorgegebenen maximalen Sollspannung Umaxliegt. Die Erfindung betrifft des Weiteren ein Verfahren zum Trocknen, Starten und/oder Herunterfahren eines Brennstoffzellensystems, eine Steuervorrichtung, ein Brennstoffzellensystem und ein Computerprogramm.

Stapelverfahren sowie Zelllage für einen elektrochemischen Zellenstapel

NºPublicación:  DE102024208715A1 19/03/2026
Solicitante: 
BOSCH GMBH ROBERT [DE]
Robert Bosch Gesellschaft mit beschr\u00E4nkter Haftung

Resumen de: DE102024208715A1

Die Erfindung betrifft ein Verfahren zum Stapeln eines elektrochemischen Zellenstapels (10, 60), insbesondere eines Elektrolysezellenstapels (60) oder eines Brennstoffzellenstapels (10), dadurch wobei Einheitslagen (100, 100, ...) für einen in Axialrichtung (Ar) anwachsenden Zellenstapel (10, 60) von einem Greifer (210) gegriffen, in der zeitlichen Folge weitergereicht und in der zeitlichen Folge zum Zellenstapel (10, 60) gestapelt werden, wobei eine einzelne Einheitslage (100) zwei Zelllagen (110, 120) umfasst, und eine erste Zelllage (110) als eine Polarplatte (110), insbesondere eine Bipolarplatte (110), und eine zweite Zelllage (120) als ein Zellrahmen (120) mit einer darin eingerichteten elektrochemischen Einzelzelle (11, 61) ausgebildet sind.

Brennstoffzellensystem; Verfahren zum Betreiben eines Brennstoffzellensystems

NºPublicación:  DE102024208735A1 19/03/2026
Solicitante: 
BOSCH GMBH ROBERT [DE]
Robert Bosch Gesellschaft mit beschr\u00E4nkter Haftung

Resumen de: DE102024208735A1

Brennstoffzellensystem (100) mit einem Brennstoffzellenstack (11) und mit einem Kathodensystem, wobei das Kathodensystem eine Zuleitung (21) aufweist, in der ein erster Verdichter (24) und ein zweiter Verdichter (25) angeordnet ist und eine Auslassleitung (22) aufweist, in der eine Turbine (29) angeordnet ist, die dazu konfiguriert ist, die aus dem Brennstoffzellenstack (11) ausströmende Luft abzukühlen, wobei ein erster Kühlungspfad (27) dazu konfiguriert ist durch eine Kühlluftverteilungsleitung (23) Luft aus der Auslassleitung (22) in den Bereich zwischen dem ersten Verdichter (24) und dem zweiten Verdichter (25) zu leiten, wobei der erste Kühlungspfad (27) mit der Zuleitung (21) im Bereich zwischen dem ersten Verdichter (24) und dem zweiten Verdichter (25) eine thermische Verbindung aufweist.

SULFIDIC SOLID ELECTROYLYTE AND ITS PRECURSOR

NºPublicación:  US20260081216A1 19/03/2026
Solicitante: 
AMG LITHIUM GMBH [DE]
AMG Lithium GmbH
US_20260081216_A1

Resumen de: US20260081216A1

The present invention relates to a solid electrolyte, its precursor, methods for producing the same as well as its use, e.g. in electrochemical cells or capacitors, fuel cells, batteries, and sensors. The solid electrolyte may be represented by the following formula (II):wherein X is independently selected from group 17 elements, preferably Cl, Br and I, Y is independently selected from P, As, Ge, Si, B, Sn, Ga, Al, and Sb, 4≤n≤5, 4≤c≤6, and 0

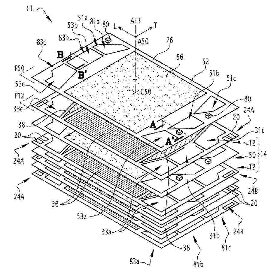
FUEL CELL

NºPublicación:  US20260081197A1 19/03/2026
Solicitante: 
TOYOTA JIDOSHA KK [JP]
TOYOTA JIDOSHA KABUSHIKI KAISHA
US_20260081197_A1

Resumen de: US20260081197A1

The fuel cell includes a resin frame body having an opening portion, a membrane electrode assembly disposed in the opening, and a first separator and a second separator opposed to each other via the frame body and the membrane electrode assembly. A first manifold hole is formed in the frame body, the first separator, and the second separator. A plurality of first gas passages extending from the first manifold hole to the membrane electrode assembly are opened in a first region that is a part of the inner peripheral face of the first manifold hole. The first gas passages are formed between the frame body and the first separator. In the first region, in the cross section passing through the central axis of the first manifold hole, the inner wall face of the first separator protrudes toward the central axis side than the inner wall face of the frame body.

SEPARATOR, ELECTROCHEMICAL CELL, AND APPARATUS

NºPublicación:  US20260081192A1 19/03/2026
Solicitante: 
KK TOSHIBA [JP]
KABUSHIKI KAISHA TOSHIBA
US_20260081192_A1

Resumen de: US20260081192A1

A separator including a flow channel 10 comprising a first flow-channel wall, a second flow-channel wall, a first flow-channel groove between the first flow-channel wall and the second flow-channel wall, and one or more first blocking walls in the first flow-channel groove. The first blocking walls close off a portion of the latter half of the first flow-channel groove.

PLANT-BASED ELECTRICAL DEVICES

NºPublicación:  US20260081196A1 19/03/2026
Solicitante: 
ARIZONA BOARD OF REGENTS ON BEHALF OF THE UNIV OF ARIZONA [US]
ARIZONA BOARD OF REGENTS ON BEHALF OF THE UNIVERSITY OF ARIZONA
US_20260081196_A1

Resumen de: US20260081196A1

A device may include a decellularized biological scaffold, a first electrode, and a second electrode, wherein the decellularized biological scaffold is in electrical and/or chemical communication with the first and second electrodes. In one example, the device is a battery and the device may include an electrolyte layer supported on the decellularized biological scaffold; an anode layer disposed on a first side of the electrolyte layer; and a cathode layer disposed on second side of the electrolyte layer, opposite the anode layer. The electrolyte layer may include a plant-based conductive hydrogel and/or a PEDOT collagen matrix. The anode and/or the cathode layer may comprise metallic vesicles secreted by a plant.

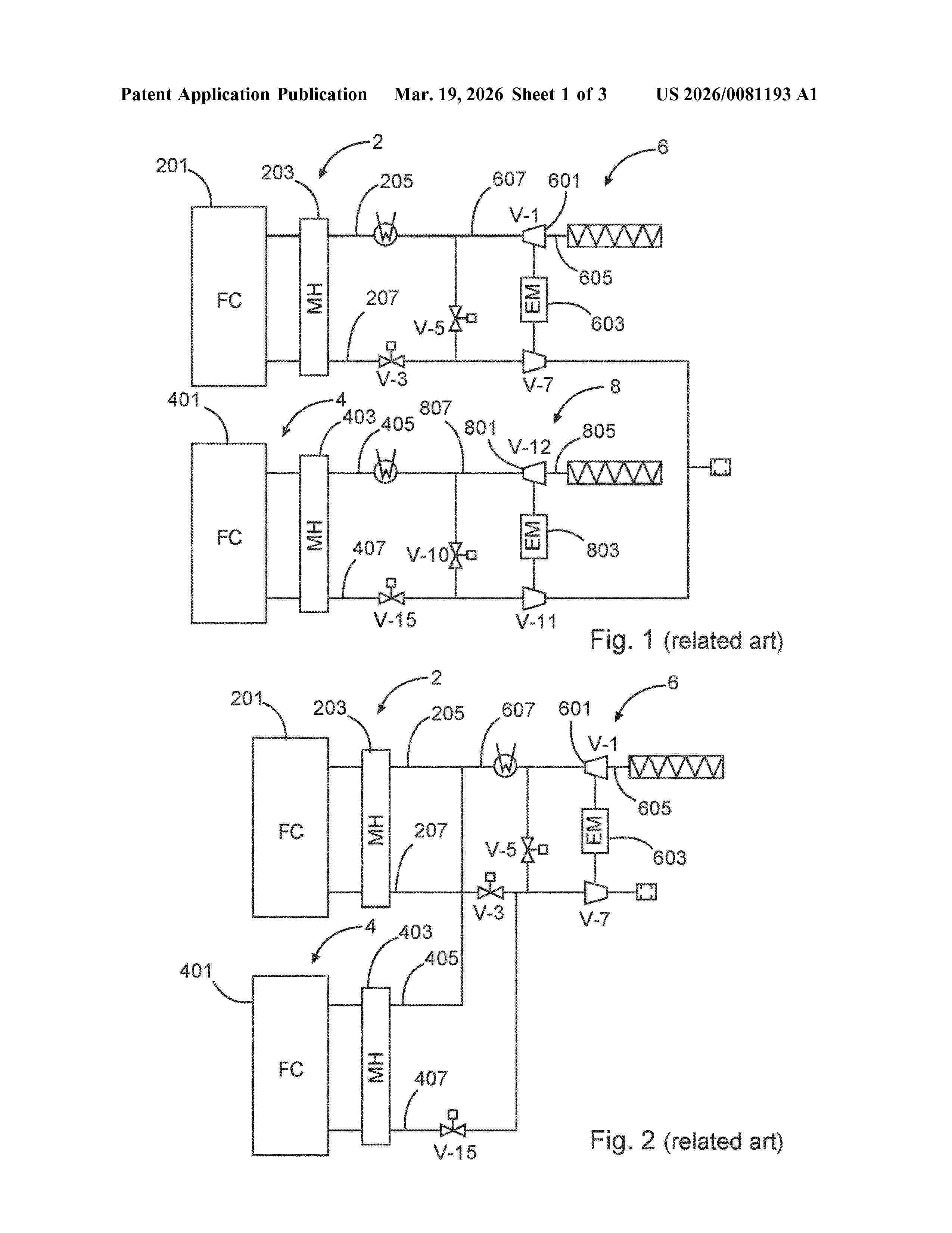
Compressor and Multi Stack Fuel Cell

NºPublicación:  US20260081193A1 19/03/2026
Solicitante: 
KNORR BREMSE SYSTEME FUER NUTZFAHRZEUGE GMBH [DE]
KNORR-BREMSE Systeme fuer Nutzfahrzeuge GmbH
US_20260081193_A1

Resumen de: US20260081193A1

A compressor and a multi stack fuel cell are provided with adjustable pressurized fluid inputs. A compressor has a first compressor stage that is configured to take in an intake fluid, compress the intake fluid to a compressed fluid and output the compressed fluid as an output fluid at a first pressure. The compressor further has a second compressor stage that is configured to take in an intake fluid, compress the intake fluid to a compressed fluid, and output the compressed fluid as an output fluid at a second pressure.

燃料電池セルの製造方法

NºPublicación:  JP2026049297A 18/03/2026
Solicitante: 
トヨタ自動車株式会社
JP_2026049297_A

Resumen de: JP2026049297A

【課題】ガス漏れの発生を抑制することができる燃料電池セルの製造方法を提供する。【解決手段】凸部及び凸部に隣接してガスケットを跨ぐように配置される凹部を有する金型により加熱プレスして燃料電池セルを製造する方法であって、2つのセパレータの間に熱可塑性樹脂を具備するシートを配置し、金型により2つのセパレータを挟んで押圧して加熱する加熱プレスする工程を含み、金型の凸部により押圧された熱可塑性樹脂の一部を凹部が具備された位置に移動させる。【選択図】図3

PRECIPITATE CONTROL, ACTIVE SPECIES CROSS-OVER MANAGEMENT AND REBALANCING STRATEGIES FOR REDOX FLOW BATTERIES

NºPublicación:  EP4710378A1 18/03/2026
Solicitante: 
UOP LLC [US]
UOP LLC
AU_2024314248_PA

Resumen de: AU2024314248A1

Redox flow battery systems are described. The redox flow battery systems include a main cell and a three-chambered rebalancing cell. The system can optionally also include a two-chambered rebalancing cell. The three-chambered rebalancing cell and two-chambered rebalancing cell can be operated alternately, in parallel, or in series. Methods of operating the redox flow battery systems are also described.

複数個の加湿モジュールが並列連結された燃料電池用膜加湿器

Nº publicación: JP2026509345A 18/03/2026

Solicitante:

コーロンインダストリーズインク

JP_2026509345_A

Resumen de: CN121002684A

There is provided a fuel cell membrane humidifier having a plurality of humidification modules connected thereto, including: a first humidification module including a first air inlet on one side thereof, a first air outlet on the other side thereof, and a first intermediate housing in which at least one humidification membrane is disposed; a second humidification module including a second air inlet on one side thereof, a second air outlet on the other side thereof, and a second intermediate housing in which at least one humidification membrane is disposed; and a connecting member including a first coupling hole into which the first humidification module can be inserted and a second coupling hole into which the second humidification module can be inserted.

traducir