Ministerio de Industria, Turismo y Comercio LogoMinisterior
 

Alerta

Resultados 557 resultados
LastUpdate Última actualización 02/04/2026 [06:49:00]
pdfxls
Solicitudes publicadas en los últimos 15 días / Applications published in the last 15 days
previousPage Resultados 450 a 475 de 557 nextPage  

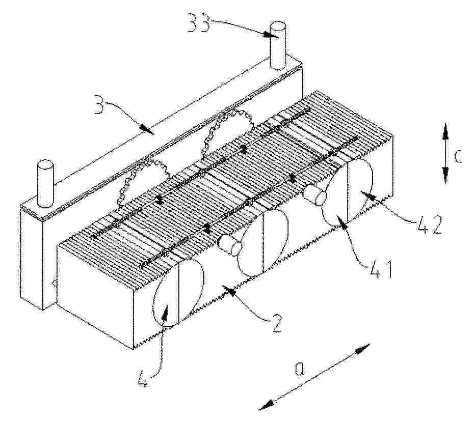
FUEL CELL STACK ASSEMBLY

NºPublicación:  WO2026059482A1 19/03/2026
Solicitante: 
POWERCELL SWEDEN AB [SE]
FLINK JOHAN [SE]
POWERCELL SWEDEN AB,
FLINK, Johan
WO_2026059482_A1

Resumen de: WO2026059482A1

Fuel cell stack assembly (1) comprising a fuel cell stack for generating electric energy and a housing (15) for housing the fuel cell stack, wherein the fuel cell stack comprises at least a plurality of alternatively arranged bipolar plates and membrane electrode assemblies stacked in a stacking direction, which form an energy-generating cell stack body (11 ). The fuel cell stack assembly (1 ) further comprises first and second endplates (10, 12) sandwiching the cell stack body (11) in the stacking direction, and at least one clamping element (6) which is adapted to clamp the cell stack body and the first and second endplate together for forming a fuel cell stack subunit (13). The fuel cell stack subunit has open sides (5), at which the cell stack body is exposed to an environment, and two of these open sides are covered by the endplates, wherein at the remaining open sides of the cell stack body a plate element (4) is arranged which covers at least partly and/or entirely the respective open sides of the stack on which it is arranged for preventing the cell stack body (11) from being touched.

METHOD FOR OPERATING A FUEL CELL SYSTEM

NºPublicación:  WO2026057264A1 19/03/2026
Solicitante: 
ROBERT BOSCH GMBH [DE]
ROBERT BOSCH GMBH
WO_2026057264_A1

Resumen de: WO2026057264A1

The invention relates to a method for operating a fuel cell system (100), the method comprising: - measuring (110), by means of a current sensor (10), a current (I) generated by a fuel cell system (100), - measuring (120), by means of a pressure sensor (20), a total pressure (p_ges) at a cathode outlet (51) of a cathode (50) of the fuel cell system (100), - measuring (130), by means of an air mass flow sensor (30), an air mass flow (m_dot) entering the cathode (50), - measuring (140), by means of a temperature sensor (40), a temperature (T) of a coolant that is used for cooling the fuel cell system (100), - calculating (150), by means of a model stored in a control unit (FCCU) of the fuel cell system (100), an oxygen partial pressure (p_O2) at the cathode outlet (51) as a function of the current (I), the total pressure (p_ges), the air mass flow (m_dot) and the temperature (T), and/or - operating (160) the fuel cell system (100), by means of the control unit (FCCU), in accordance with the calculated oxygen partial pressure (p_O2). The invention also relates to a fuel cell system, to a computer program product, to a computer-readable data carrier, to a control unit (FCCU), and to a system (200).

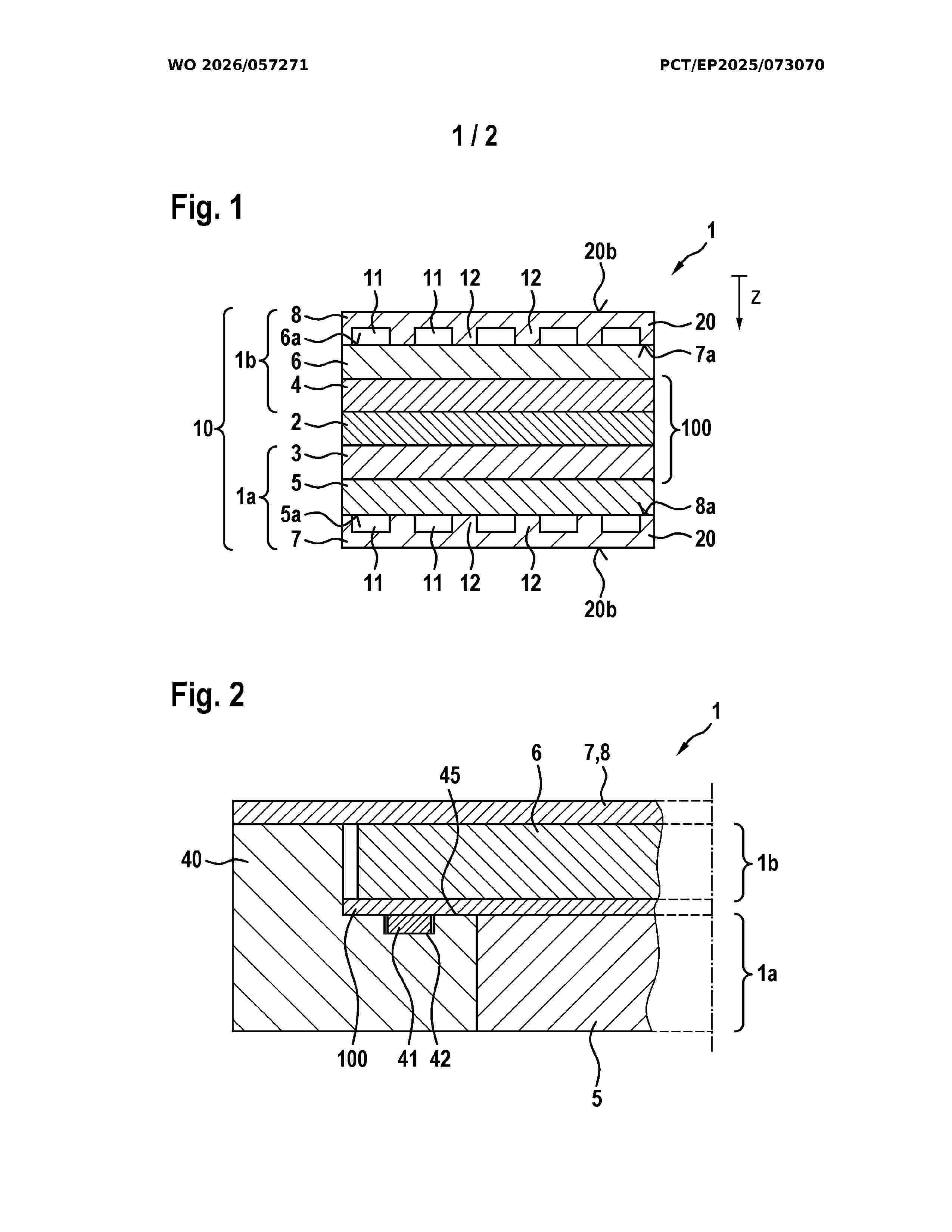
ELECTROCHEMICAL CELL

NºPublicación:  WO2026057271A1 19/03/2026
Solicitante: 
ROBERT BOSCH GMBH [DE]
ROBERT BOSCH GMBH
WO_2026057271_A1

Resumen de: WO2026057271A1

The present invention relates to an electrochemical cell (1), in particular an electrolytic cell. The electrochemical cell (1) comprises: a catalyst-coated membrane (100); diffusion layers (5, 6) arranged on both sides thereof; and a sealing frame (40). The sealing frame (40) is arranged so as to surround the catalyst-coated membrane (100) and the diffusion layers (5, 6). The periphery of the catalyst-coated membrane (100) is enclosed by a membrane frame (110). The sealing frame (40) has a step (45). The membrane frame (110) interacts with a seal (41) of the sealing frame (40), which seal is arranged on the step (45).

APPARATUS FOR PRODUCING HYDROGEN FROM WATER BY MEANS OF ELECTRICAL CURRENT, AND METHOD FOR OPERATING SAME

NºPublicación:  WO2026057209A1 19/03/2026
Solicitante: 
QUEST ONE GMBH [DE]
QUEST ONE GMBH
WO_2026057209_A1

Resumen de: WO2026057209A1

The invention relates to an apparatus (10) for producing hydrogen from water by means of electrical current, the apparatus comprising: a plurality of electrolysis devices (11), each electrolysis device (11) having at least one water supply connection (13), at least one water discharge connection (14), and at least one hydrogen discharge connection (15), each electrolysis device (11) being connected, via its at least one water supply connection (13), to a water supply line (16), via its at least one water discharge connection (14) to a discharge line (17) for water and oxygen, and via its at least one hydrogen discharge connection (15) to a discharge line (18) for hydrogen; a housing or frame (19) in which the electrolysis devices (11) are arranged; an inert gas generation device (20) which is designed to generate inert gas in situ within the apparatus (10), wherein each electrolysis device (11) and/or the discharge line (18) for hydrogen and/or a device (22) arranged in the hydrogen discharge line (18) for processing the hydrogen and/or the discharge line (17) for water and oxygen and/or a device (23) arranged in the discharge line (17) for water and oxygen for removing oxygen from the discharged water and/or the housing or frame (19) can be flushed with inert gas generated by the inert gas generation device (20).

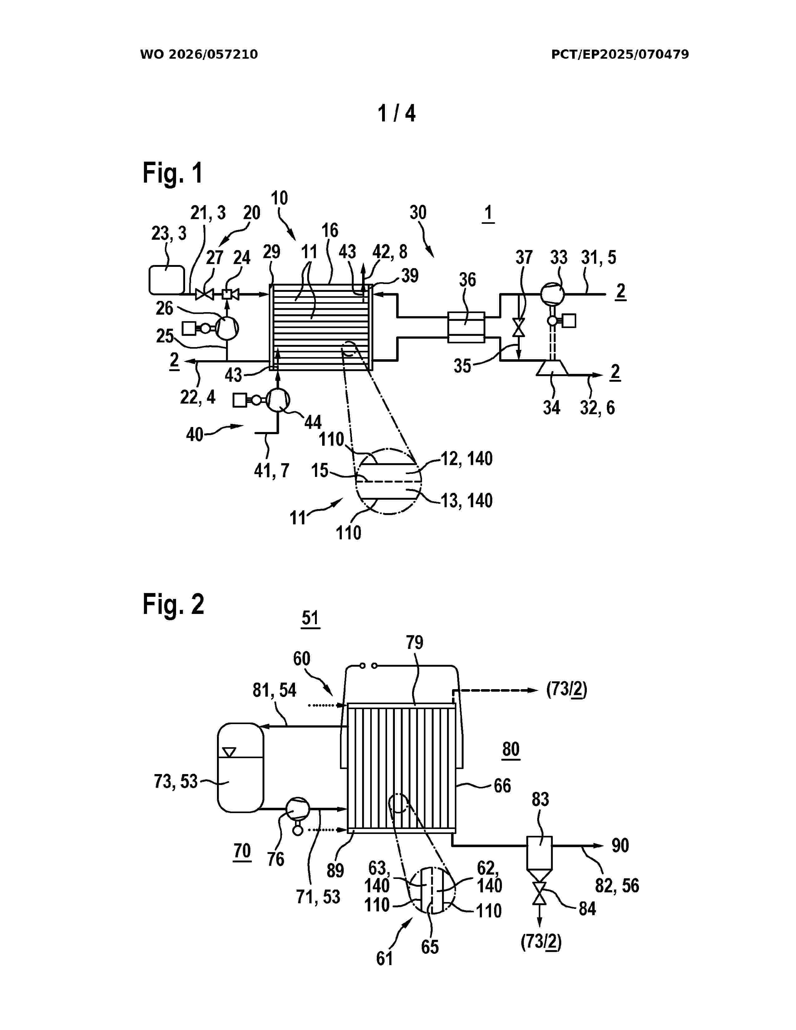
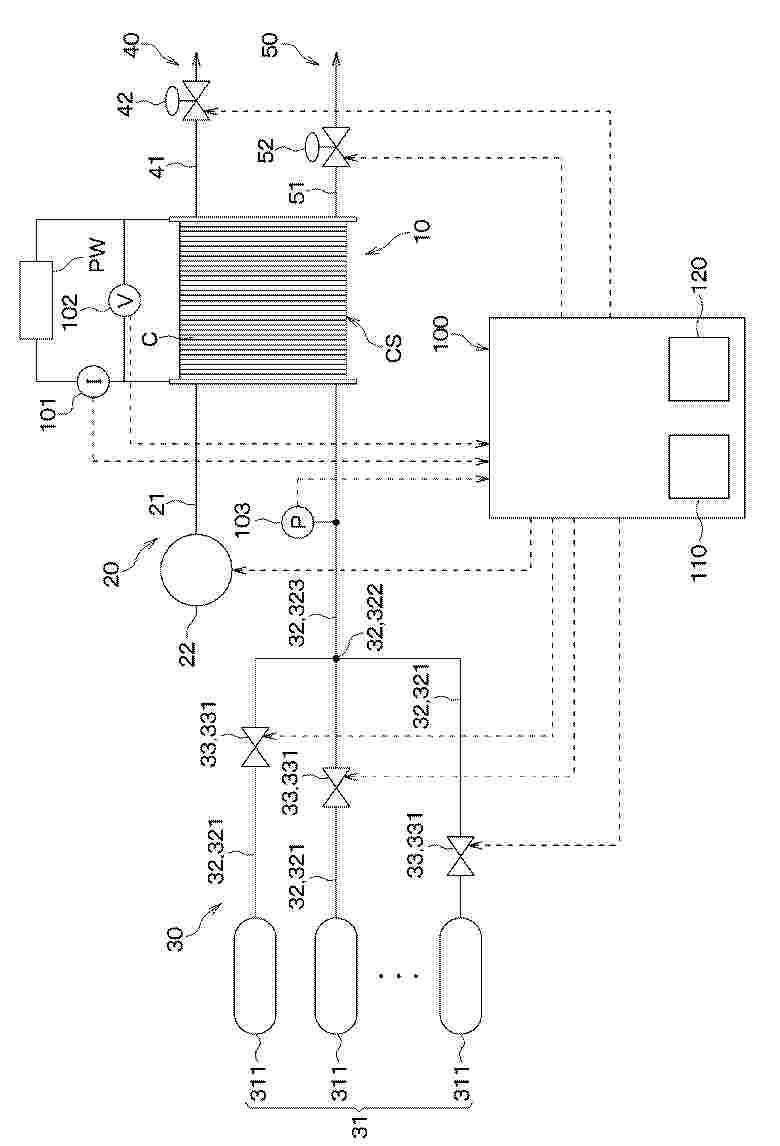
STACKING METHOD AND CELL LAYER FOR AN ELECTROCHEMICAL CELL STACK

NºPublicación:  WO2026057210A1 19/03/2026
Solicitante: 
ROBERT BOSCH GMBH [DE]
ROBERT BOSCH GMBH
WO_2026057210_A1

Resumen de: WO2026057210A1

The invention relates to a method for stacking an electrochemical cell stack (10, 60), in particular an electrolysis cell stack (60) or a fuel cell stack (10), wherein unit layers (100, 100, …) for a cell stack (10, 60) growing in the axial direction (Ar) are gripped by a gripper (210), forwarded in the chronological sequence and stacked in the chronological sequence to form the cell stack (10, 60), wherein an individual unit layer (100) comprises two cell layers (110, 120), and a first cell layer (110) is formed as a polar plate (110), in particular a bipolar plate (110), and a second cell layer (120) is formed as a cell frame (120) with an electrochemical single cell (11, 61) oriented therein.

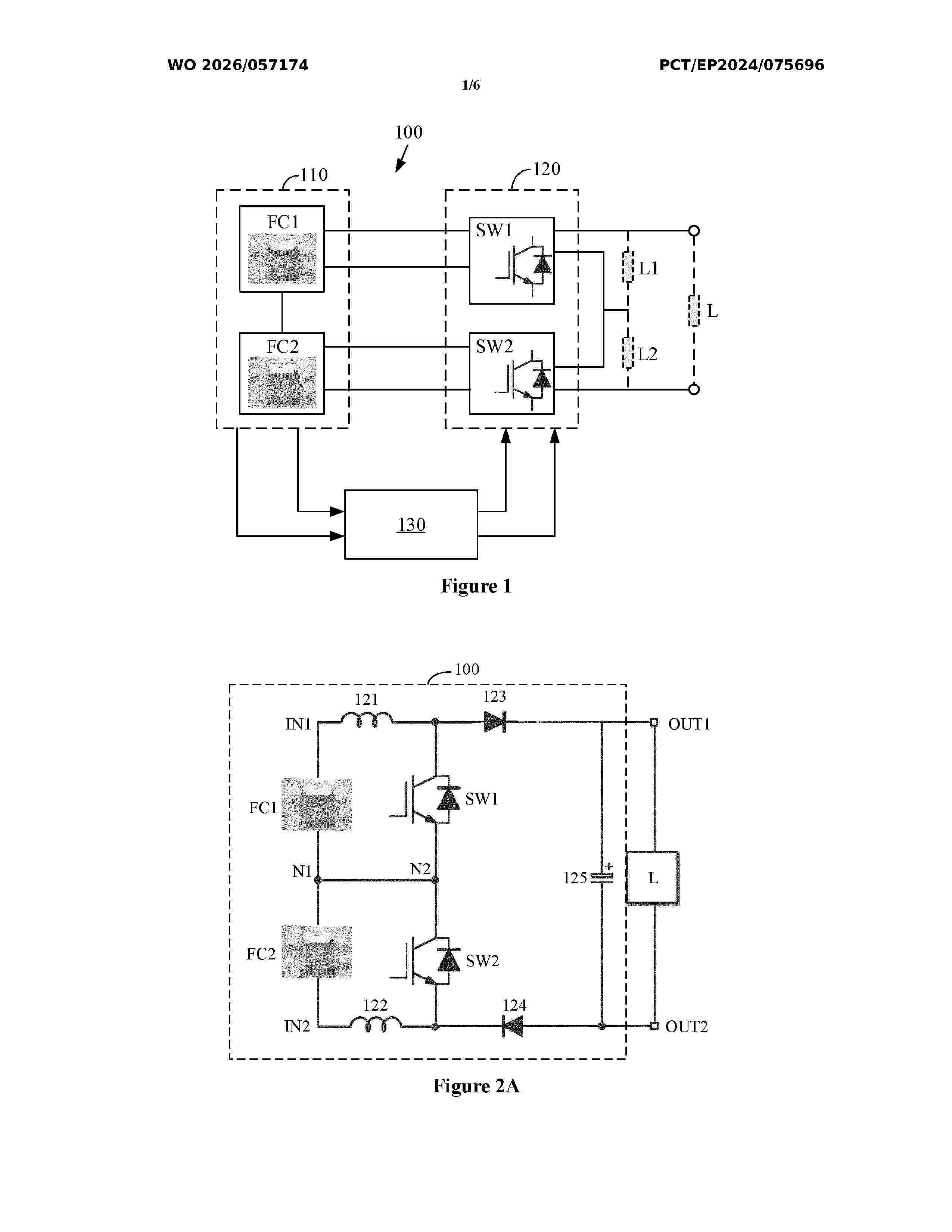
FUEL CELL-BASED GENERATOR AND CONTROL METHOD THEREOF

NºPublicación:  WO2026057174A1 19/03/2026
Solicitante: 
HITACHI ENERGY LTD [CH]
HITACHI ENERGY LTD
WO_2026057174_A1

Resumen de: WO2026057174A1

A fuel cell-based generator (100) is provided. The fuel cell-based generator (100) includes a fuel cell module (110) comprising at least a first fuel cell and a second fuel cell which are electrically coupled with each other; a converter (120) comprising a first switch electrically coupled to the first fuel cell and a second switch electrically coupled to the second fuel cell; and a controller (130) configured to operate the first and second switches in coordination to regulate the operation of the first and second fuel cells based on a differential measurement value of performance parameters associated with at least one of the first and second fuel cells.

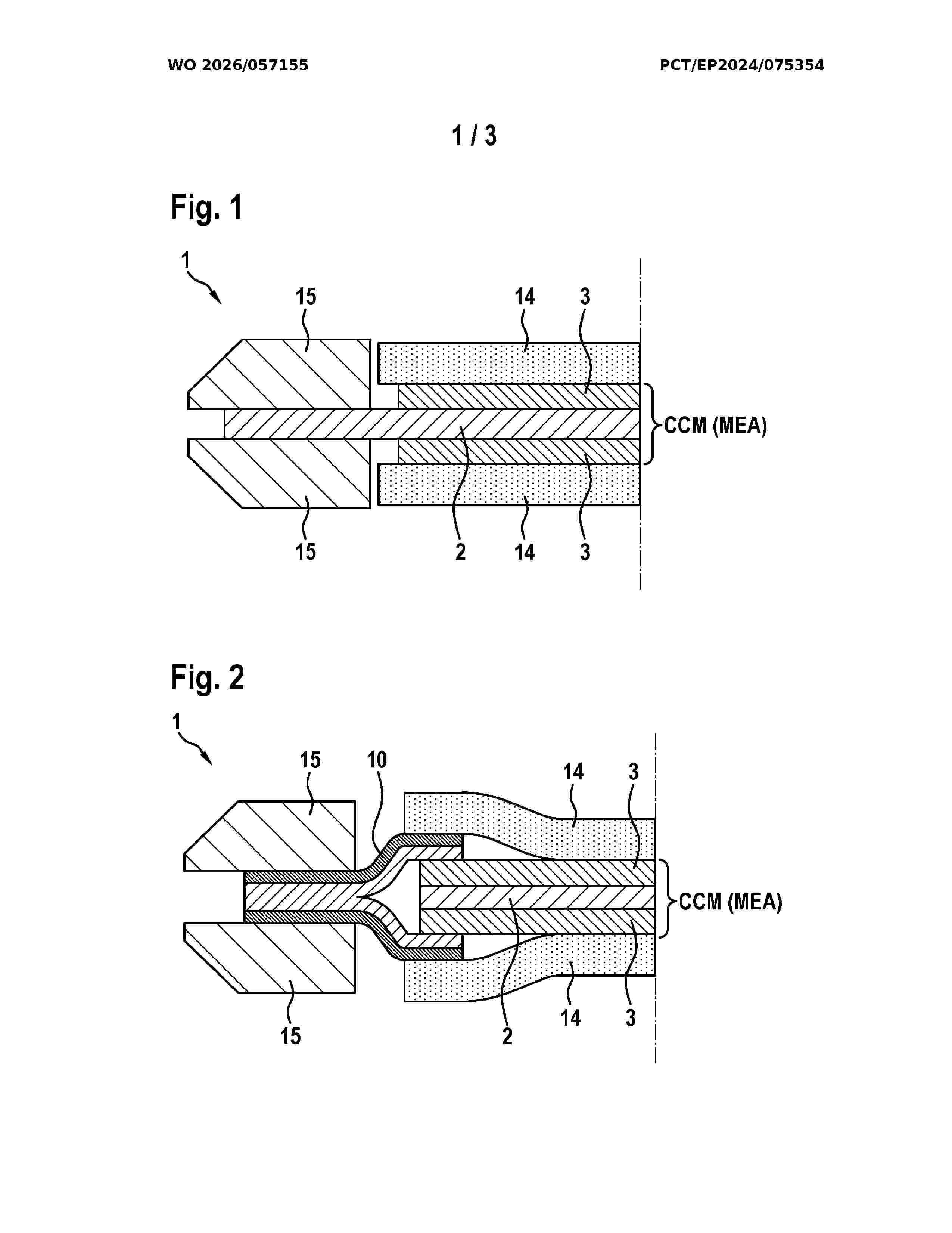
ELECTROCHEMICAL CELL, ELECTROCHEMICAL CELL STACK

NºPublicación:  WO2026057155A1 19/03/2026
Solicitante: 
ROBERT BOSCH GMBH [DE]
ROBERT BOSCH GMBH
WO_2026057155_A1

Resumen de: WO2026057155A1

The invention relates to an electrochemical cell (1), in particular electrolysis cell or fuel cell, comprising - a membrane (2), - a catalyst layer (3) on either side of the membrane (2) defining an active area (4) and - a frame (5) for one-sided support of the membrane (2) in a peripheral edge area (6), leaving the active area (4) free, whereby the membrane (2) and the frame (5) are connected by positive locking. The invention further relates to an electrochemical cell stack comprising at least one electrochemical cell (1) according to the invention.

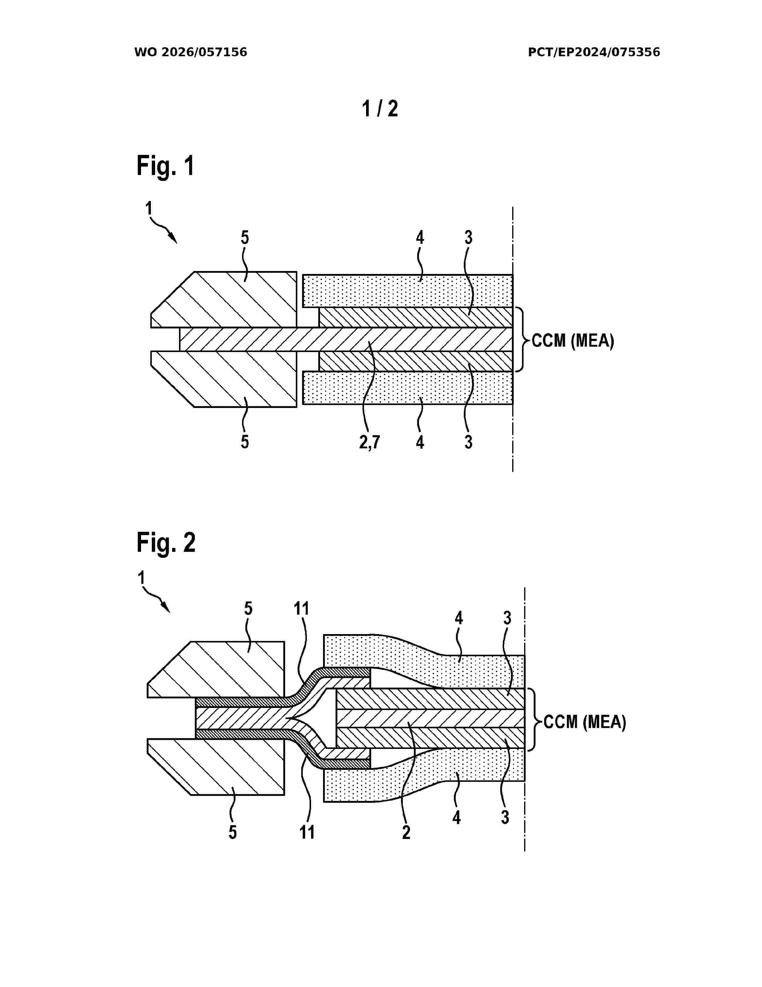
ELECTROCHEMICAL CELL, ELECTROCHEMICAL CELL STACK

NºPublicación:  WO2026057156A1 19/03/2026
Solicitante: 
ROBERT BOSCH GMBH [DE]
ROBERT BOSCH GMBH
WO_2026057156_A1

Resumen de: WO2026057156A1

The invention relates to an electrochemical cell (1), in particular an electrolysis cell or fuel cell, with a layered construction, comprising a membrane (2) for separating an anode from a cathode, and - on either side of the membrane (2) - a catalyst layer (3), a porous transport or gas diffusion layer (4) and a bipolar plate (5), wherein the membrane (2) has an edge region (7) extending beyond the catalyst layers (3) and the porous transport or gas diffusion layers (4). The invention is characterized by - a frame part (6) supporting the edge region (7) on one side of the membrane (2) and - a filling element (8) arranged on the side of the membrane (2) facing away from the frame part (6) for holding down the edge region (7). The invention further relates to an electrochemical cell stack comprising at least one electrochemical cell (1) according to the invention.

FILTER SYSTEM HAVING AT LEAST TWO FILTER ELEMENTS

NºPublicación:  US20260077287A1 19/03/2026
Solicitante: 
MANN HUMMEL GMBH [DE]
MANN+HUMMEL GmbH
US_20260077287_A1

Resumen de: US20260077287A1

A filter system has a filter housing with a fluid inlet and a fluid outlet. At least two exchangeable filter elements are arranged between the fluid inlet and the fluid outlet each having a filter body with a filter medium to be flowed through by a fluid in a flow direction. The filter elements each have an opposing end face with a seal surrounding an outer edge of the filter body at the end face. An abutment element is arranged between the seals when mounted in the filter housing. The abutment element has sides facing away from each other with a seal surface for contacting the seals. A filter element has a filter body with a filter medium and an end face with a seal surrounding an outer edge of the filter body at the end face for contacting a seal surface of an abutment element.

Gas Storage Device

NºPublicación:  US20260078877A1 19/03/2026
Solicitante: 
TWISTED SUN INNOVATIONS INC [US]
Twisted Sun Innovations, Inc
US_20260078877_A1

Resumen de: US20260078877A1

The present disclosure provides a gas storage device. In an embodiment, the gas storage device includes a cylinder with opposing ends. An endcap is present at each end. The cylinder and the endcaps form an enclosure. Each endcap includes a connector. A diaphragm is located in the enclosure. The diaphragm includes an annular sidewall. The device includes an inner chamber defined by an inner surface of the sidewall, and a storage space between an interior surface of the cylinder and an outer surface of the sidewall. A metal hydride composition is located in the storage space.

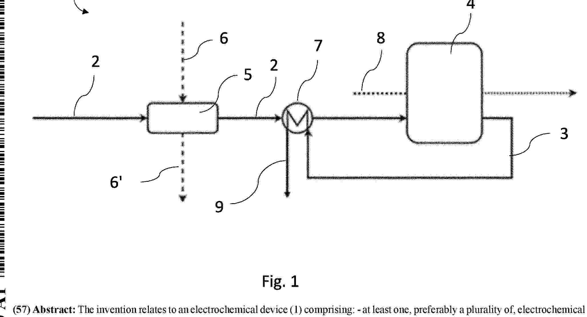
PRESSURE CONTROLLED MULTI-MODE MULTI-WAY VALVE FOR WATER SPRAY DISTRIBUTION ON RADIATOR FOR FUEL CELL ELECTRIC VEHICLE

NºPublicación:  US20260077629A1 19/03/2026
Solicitante: 
FCA US LLC [US]
FCA US LLC
US_20260077629_A1

Resumen de: US20260077629A1

A thermal management system for a vehicle having a fuel cell stack is provided. The thermal management system includes a radiator, a storage reservoir, a pump, a valve assembly and a controller. The valve assembly selectively delivers the liquid product water to a drain and to a first spray manifold that sprays the liquid product water at the radiator. The valve assembly includes: a first valve assembly disposed in a drain valve chamber of the valve housing and having a first biasing member that biases a first pin against a first inlet, the first valve assembly selectively communicating the liquid product water to the drain; and a second valve assembly disposed in a second valve chamber of the valve housing and having a second biasing member that biases a second pin against a second inlet, the second valve assembly selectively communicating the liquid product water to the first spray manifold.

FILTER SYSTEM WITH AT LEAST TWO FILTER ELEMENTS, FILTER ELEMENT, AND USE

NºPublicación:  US20260077279A1 19/03/2026
Solicitante: 
MANN & HUMMEL GMBH [DE]
MANN+HUMMEL GmbH
US_20260077279_A1

Resumen de: US20260077279A1

A filter system including at least two exchangeable filter elements, each including a filter body including a filter medium arranged so as to allow passage of a fluid in a flow direction for flow-through. At least one of the filter elements includes an axially projecting lateral strip which in an axial direction projects past an end face of the one of the filter elements, wherein the other one of the filter elements includes at an end face a circumferentially extending seal with a groove and wherein the end face of the other one of the filter elements is arranged adjacent to the end face of the one of the filter elements. When the filter elements are assembled as intended, the axially projecting lateral strip of the one of the filter elements engages the groove of the seal of the other one of the filter elements.

COMPOSITION BASED ON AT LEAST ONE FLUOROPOLYMER AND AT LEAST ONE HYDROPHILIC POLYMER FOR SEPARATOR COATING

NºPublicación:  US20260081217A1 19/03/2026
Solicitante: 
ARKEMA FRANCE [FR]
Arkema France
US_20260081217_A1

Resumen de: US20260081217A1

The present invention relates to a composition comprising a polymer P1 comprising monomer units derived from vinylidene fluoride and a polymer P2 comprising monomer units derived from a monomer M2 of formula R1R2C═C(R3)C(O)R wherein the substituents R1, R2 and R3 are, independently from each other, selected from the group consisting of H and C1-C5alkyl; R is selected from the group consisting of —NHC(CH3)2CH2C(O)CH3 or —OR′ with R′ selected from the group consisting of C1-C18 alkyl optionally substituted by one or more —OH group(s) or a five- or six-membered heterocycle comprising at least one nitrogen atom in its cyclic chain, characterised in that the difference between the melting temperature and the crystallisation temperature of the composition is greater than or equal to 40° C.

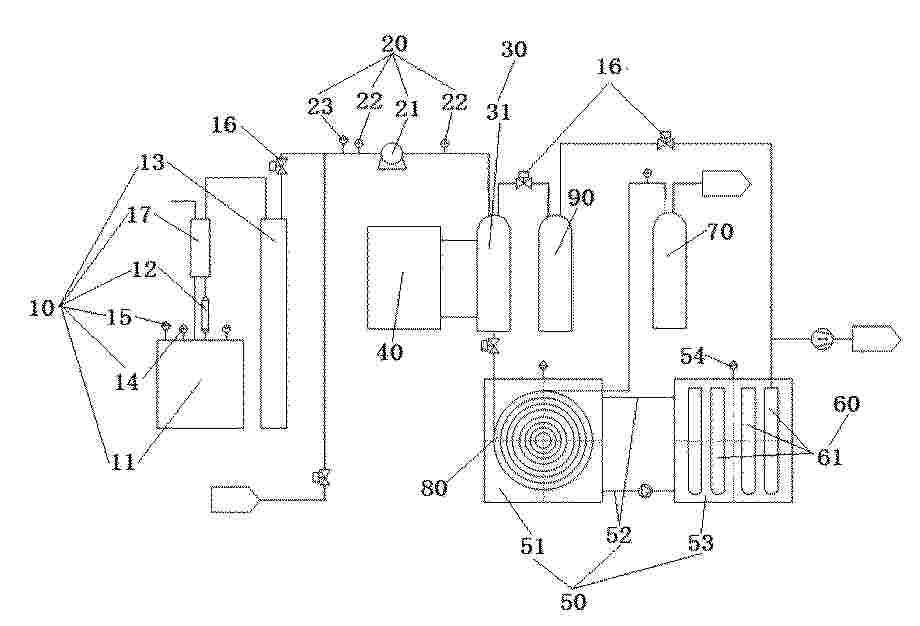
THERMAL MANAGEMENT OF HIGH-TEMPERATURE ELECTROCHEMICAL DEVICES

NºPublicación:  AU2024366214A1 19/03/2026
Solicitante: 
SOLYDERA SA
SOLYDERA SA
AU_2024366214_PA

Resumen de: AU2024366214A1

The invention relates to an electrochemical device (1) comprising: - at least one, preferably a plurality of, electrochemical cell (4) comprising a fuel electrode an oxygen electrode and a membrane, - at least one fluid inlet line (2) leading to the fuel electrode of the at least one electrochemical cell (4), - at least one fluid outlet line (3), exiting the fuel electrode of the at least one electrochemical cell (4), - at least a first co-fluid line leading to the oxygen electrode of the at least one electrochemical cell, - a reformer with an integrated heat exchanger (5) located upstream to the at least one electrochemical cell (4), - at least one hot stream line (6) to provide heat to the fluid inlet line (2), - at least two temperature sensors (T) for detecting the inlet temperature of the at least one fluid and/or for detecting the at least one outlet temperature of the at least one fluid, preferably at a reformer inlet side and/or a reformer outlet side. A first pre-heater (7) is arranged between the reformer (5) and the at least one electrochemical cell (4). The fluid inlet line (2) is in fluid communication with the reformer (5) and/or first preheater (7) and the hot stream line (6) is in fluid communication with reformer (5) and/or the first preheater (7).

LOW-HYDROGEN-PERMEABILITY PROTON EXCHANGE MEMBRANE, AND PREPARATION METHOD THEREFOR AND USE THEREOF

NºPublicación:  AU2025268573A1 19/03/2026
Solicitante: 
SHANDONG DONGYUE FUTURE HYDROGEN ENERGY MAT CO LTD [CN]
SHANDONG DONGYUE FUTURE HYDROGEN ENERGY MATERIAL CO.LTD
AU_2025268573_PA

Resumen de: AU2025268573A1

The present invention relates to the technical field of the electrolysis of water, and specifically relates to a low-hydrogen-permeability proton exchange membrane, and a preparation method therefor and the use thereof. The proton exchange membrane comprises a Pt-containing additive layer and a matrix membrane, wherein the Pt-containing additive layer is composed of a Pt additive and a fluorine-containing proton exchange resin, the Pt-containing additive layer comprises an array layer and a flattening layer, the thickness ratio and the active-component ratio of the array layer to the flattening layer are respectively within the ranges of 1:(0.5-30) and 1:(1-50), and the array layer is composed of arrays arranged in order and an array layer resin coating the arrays. In the low-hydrogen-permeability proton exchange membrane provided by the present invention, by providing the Pt-containing additive layer consisting of the array layer and the flattening layer, the specific surface area of the Pt-containing additive layer is effectively increased by means of the arrays in the array layer, thereby achieving the efficient utilization of an additive; moreover, the hydrogen permeability improvement effect is further improved by controlling the thickness ratio and the active-component ratio of the array layer to the flattening layer and the parameters of the arrays.

Verfahren zum Betreiben eines Brennstoffzellensystems, Computerprogrammprodukt, Steuereinheit und Brennstoffzellensystem

NºPublicación:  DE102024208742A1 19/03/2026
Solicitante: 
BOSCH GMBH ROBERT [DE]
Robert Bosch Gesellschaft mit beschr\u00E4nkter Haftung

Resumen de: DE102024208742A1

Die Erfindung betrifft ein Verfahren zum Betreiben eines Brennstoffzellensystems (100) mit mindestens einem Brennstoffzellenstack (101),wobei das Brennstoffzellensystem (100) ein Luftsystem (10) zur Versorgung des mindestens einen Brennstoffzellenstacks (101) mit einem sauerstoffhaltigen Reaktanten aufweist,wobei das Luftsystem (10) mindestens eine Turbine (T) aufweist, die auf einen Verdichtungspfad (11) einwirkt,wobei das Verfahren dazu dient,ein Risiko eines Gefrierens von Wasser in und/oder stromabwärts der Turbine (T) in einem Abgaspfad (12) von dem mindestens einen Brennstoffzellenstack (101) zu reduzieren,das Verfahren aufweisend:(P1) Betreiben des Brennstoffzellensystems (100),(P2) Überprüfen, ob ein Risiko des Gefrierens von Wasser in und/oder stromabwärts der Turbine (T) vorliegt oder prädiktiv vorliegen kann,(P4) Durchführen mindestens einer Maßnahme (M1, M2), um das Risiko des Gefrierens von Wasser in und/oder stromabwärts der Turbine (T) zu reduzieren.

Verfahren zum Bestimmen eines Wärmedurchgangskoeffizienten

NºPublicación:  DE102024208926A1 19/03/2026
Solicitante: 
BOSCH GMBH ROBERT [DE]
Robert Bosch Gesellschaft mit beschr\u00E4nkter Haftung

Resumen de: DE102024208926A1

Die vorliegende Erfindung betrifft ein Verfahren zum Bestimmen eines Wärmedurchgangskoeffizienten (Kradr,k) eines Radiators (10) in einem Brennstoffzellensystem (100) sowie ein entsprechendes Computerprogrammprodukt, einen computerlesbaren Datenträger, eine Steuereinheit und ein Brennstoffzellensystem (100).

Verfahren zum Betreiben eines Brennstoffzellensystems, Computerprogrammprodukt, Steuereinheit und Brennstoffzellensystem

NºPublicación:  DE102024208922A1 19/03/2026
Solicitante: 
BOSCH GMBH ROBERT [DE]
Robert Bosch Gesellschaft mit beschr\u00E4nkter Haftung

Resumen de: DE102024208922A1

Die Erfindung betrifft ein Verfahren zum Betreiben eines Brennstoffzellensystems (100), insbesondere für ein Fahrzeug (FCV),wobei das Brennstoffzellensystem (100) mit mindestens einem Brennstoffzellenstack (101) ausgeführt ist,welches zumindest einen Abgaspfad (12) aufweist,wobei das Verfahren dazu dient, ein Zurückfließen von einem Flüssigwasser in dem zumindest einen Abgaspfad (12) in Richtung zu dem mindestens einen Brennstoffzellenstack (101) zu vermeiden,das Verfahren aufweisend:(10) Betreiben des Brennstoffzellensystems (100),(20) Ermitteln eines Neigungswinkels (W) des zumindest einen Abgaspfades (12),(40) Berücksichtigen des Neigungswinkels (W) beim Betreiben des Brennstoffzellensystems (100).

In einer Brennstoffzelle verwendeter Separator und Brennstoffzelle

NºPublicación:  DE102025128157A1 19/03/2026
Solicitante: 
TOYOTA MOTOR CO LTD [JP]
TOYOTA JIDOSHA KABUSHIKI KAISHA
CN_121687999_PA

Resumen de: DE102025128157A1

Ein Separator, der in einer Brennstoffzelle verwendet wird, umfasst: eine Zufuhrverteileröffnung für Brenngas; eine Auslassverteileröffnung für das Brenngas; und ein Brenngasströmungswegsystem, das das Brenngas durch einen Stromerzeugungsabschnitt der Brennstoffzelle strömen lässt, wobei das Brenngasströmungswegsystem einen ersten Strömungswegabschnitt, der das Brenngas von der Zufuhrverteileröffnung zum Stromerzeugungsabschnitt leitet, einen zweiten Strömungswegabschnitt, der dem Stromerzeugungsabschnitt zugewandt ist und das Brenngas dem Stromerzeugungsabschnitt zuführt, und einen dritten Strömungswegabschnitt umfasst, der das Brenngas vom Stromerzeugungsabschnitt zur Auslassverteileröffnung leitet. Der dritte Strömungswegabschnitt umfasst einen Strömungsweg mit geringer Hydrophilie, der in der Nähe der Auslassverteileröffnung angeordnet ist und eine Oberfläche mit geringer Hydrophilie aufweist.

METHOD FOR TRANSITIONING LOAD IN AN ELECTROLYSER

NºPublicación:  AU2024342195A1 19/03/2026
Solicitante: 
CERES INTELLECTUAL PROPERTY COMPANY LTD
CERES INTELLECTUAL PROPERTY COMPANY LIMITED
AU_2024342195_PA

Resumen de: AU2024342195A1

The present invention provides a method of changing the electrolytic conversion rate within at least on electrolyser cell stack of an electrolyser system having a fluid inlet, fluid outlet and a power control system, and using said power control system to change the voltage across the electrolyser cell stack, allowing the fluid outlet temperature to change in response to the voltage change, setting an inlet temperature to substantially match the new outlet temperature, and then allowing the voltage to revert to a substantially thermoneutral value, such that the electrolyser cell stack is operating at a changed stack temperature and changed electrolytic conversion rate.

Electrode, membrane electrode assembly, electrochemical cell, stack, and electrolyzer

NºPublicación:  AU2025223937A1 19/03/2026
Solicitante: 
KK TOSHIBA
Kabushiki Kaisha Toshiba
AU_2025223937_A1

Resumen de: AU2025223937A1

An electrode according to an embodiment includes a support and a catalyst layer having a structure in which sheet layers and gap layers are laminated alternately. The gap layers comprise a first oxide comprising a first element which is one 5 or more elements selected from the group consisting of Ti, Al, Ta, Nb, Hf, Zr, Zn, W, Bi, and Sb. An electrode according to an embodiment includes a support and a catalyst layer having a structure in which sheet layers and gap layers are laminated alternately. The gap layers 5 comprise a first oxide comprising a first element which is one or more elements selected from the group consisting of Ti, Al, Ta, Nb, Hf, Zr, Zn, W, Bi, and Sb. ep e p Fig. 1 Fig. 2 Fig. 3 Fig. 1 Fig. 2 Fig. 3 ep e p

COMPOSITES INCLUDING INCOMPATIBLE POLYMERS AND/OR OTHER INCOMPATIBLE MATERIALS

NºPublicación:  AU2024345170A1 19/03/2026
Solicitante: 
THE CHEMOURS COMPANY FC LLC
THE CHEMOURS COMPANY FC, LLC
AU_2024345170_PA

Resumen de: AU2024345170A1

Described herein are composites, methods of making composites, and methods of using composites. The composites include incompatible polymers and/or other incompatible materials. The composites are useful in a variety of industrial applications. The composites comprise a first component comprising a first material comprising a fluid-permeable portion and a second component comprising a second material incompatible with the first material; the first component and the second component are coupled at an interface comprising the second material contained in the fluid-permeable portion of the first material and the interface forms a third component that separates at least a portion of the first component from the second component.

PRODUCTION AND USE OF AQUA-AMMONIA FOR STORAGE OF ENERGY OR HYDROGEN

NºPublicación:  AU2024341133A1 19/03/2026
Solicitante: 
KOLOMA INC
KOLOMA, INC
AU_2024341133_PA

Resumen de: AU2024341133A1

Provided herein are systems and methods for utilizing aqua-ammonia as an energy or hydrogen storage and transport medium. A method for delivering power, the method comprises converting enriched ammonia to electrical power and heat; and using the heat to remove water from aqua-ammonia, thereby producing the enriched ammonia.

DOUBLE-TUBE HEAT EXCHANGER, MANUFACTURING METHOD, USE, AND HYDROGEN FUELING STATION

NºPublicación:  AU2024338643A1 19/03/2026
Solicitante: 
LINDE GMBH
LINDE GMBH
AU_2024338643_PA

Resumen de: AU2024338643A1

The invention relates to a double-tube heat exchanger for heating a cryogenic fluid, in particular cryogenic hydrogen, said heat exchanger comprising an outer tube and an inner tube located inside the outer tube, the inner tube being designed to allow the flow of the cryogenic fluid, and a gap between the inner tube and the outer tube being designed to allow the flow of a heat exchange medium, the double-tube heat exchanger also comprising an intermediate piece (240) which surrounds the inner tube and is positioned in the gap, the intermediate piece (240) having an at least substantially cylindrical main body (242) with a longitudinal axis (L), the main body (242) having a through-opening (246) along the longitudinal axis (L), through which through-opening the inner tube is guided, the intermediate piece (240) having fins (244) on an outer side of the main body (242) which extend at least substantially parallel to the longitudinal axis (L) and are oriented radially with respect to the longitudinal axis (L), and the intermediate piece (240) being clamped onto the inner tube.

Verfahren zum Starten eines Brennstoffzellensystems

Nº publicación: DE102024208930A1 19/03/2026

Solicitante:

BOSCH GMBH ROBERT [DE]
Robert Bosch Gesellschaft mit beschr\u00E4nkter Haftung

Resumen de: DE102024208930A1

Die vorgestellte Erfindung betrifft ein Verfahren (100) zum Starten eines Brennstoffzellensystems (200).Das Verfahren (100) umfasst:- Betreiben (103) des Brennstoffzellensystems (200) in einer ersten Phase (305), wobei in der ersten Phase (305) ein Brennstoffzellenstapel (201) des Brennstoffzellensystems (200) durch Einleiten von Luft in den Brennstoffzellenstapel (201) auf eine vorgegebene Sollspannung (309) bei konstantem elektrischem Strom eingeregelt wird,wobei während der ersten Phase (305) eine Kühlmittelpumpe (203) des Brennstoffzellensystems (200) so lange deaktiviert bleibt, bis der Brennstoffzellenstapel (201) eine Anzahl Umschaltkriterien erfüllt, und- Umschalten des Brennstoffzellensystems (200) in eine zweite Phase (307) durch Aktivieren der Kühlmittelpumpe (203), für den Fall, dass der Brennstoffzellenstapel (201) die Anzahl Umschaltkriterien erfüllt.

traducir