Ministerio de Industria, Turismo y Comercio LogoMinisterior
 

Alerta

Resultados 557 resultados
LastUpdate Última actualización 02/04/2026 [06:49:00]
pdfxls
Solicitudes publicadas en los últimos 15 días / Applications published in the last 15 days
previousPage Resultados 425 a 450 de 557 nextPage  

用于电池电极板的含有HDPE和碳纳米管的高导电性化合物

NºPublicación:  CN121712839A 20/03/2026
Solicitante: 
高新特殊工程塑料全球技术有限公司
CN_121712839_A

Resumen de: WO2025032441A1

Thermoplastic compositions include: from about 35 wt% to about 70 wt% of a polymer resin, wherein the polymer resin comprises at least two polymer resins, wherein at least one of the polymer resins includes a high density polyethylene (HDPE) polymer having a degree of crystallinity of at least 47% as measured by differential scanning calorimetry (DSC); from about 10 wt% to about 40 wt% synthetic graphite; from about 5 wt% to about 15 wt% carbon nanotubes (CNTs); and from about 3 wt% to about 15 wt% conductive carbon black powder.

质子交换膜燃料电池的膜电极参数敏感性的量化分析方法、装置、计算机设备、可读存储介质和程序产品

NºPublicación:  CN121706429A 20/03/2026
Solicitante: 
广东新型储能国家研究院有限公司
CN_121706429_PA

Resumen de: CN121706429A

本申请涉及一种质子交换膜燃料电池的膜电极参数敏感性的量化分析方法、装置、计算机设备、计算机可读存储介质和计算机程序产品,涉及燃料电池技术领域,提高了膜电极的优化设计过程效率。所述方法包括:基于质子交换膜燃料电池的物理运行行为,确定质子交换膜燃料电池的三维计算域和一维计算域;获取计算域之间的数据交互接口;基于三维计算域、一维计算域和数据交互接口,确定仿真模型;确定质子交换膜燃料电池发生预设变换后的敏感性参数的相对变换率;基于仿真模型,确定质子交换膜燃料电池发生预设变换后的目标性能指标的相对变换率;基于目标性能指标的相对变化率与敏感性参数的相对变化率,确定量化敏感性系数。

隔板、电化学电池和装置

NºPublicación:  CN121709655A 20/03/2026
Solicitante: 
株式会社东芝
CN_121709655_PA

Resumen de: US20260081191A1

A separator according to an embodiment includes a flow channel comprising one or more flow-channel grooves provided between flow-channel walls. One or more protrusions are provided on the flow-channel walls.

一种低温原位法制备的钒电池用石墨毡电极及其制备方法

NºPublicación:  CN121709646A 20/03/2026
Solicitante: 
常州大学
CN_121709646_PA

Resumen de: CN121709646A

本发明公开了一种低温原位法制备的钒电池用石墨毡电极及其制备方法。本发明将石墨毡浸入由多巴胺和含氮功能剂组成的缓冲溶液中,通过自聚合在纤维表面形成一层富氮活性界面网络;在对铋物种进行负载,活性物种在分子层面均匀分散;最后,在低温和空气气氛下对石墨毡进行热处理,可使界面网络的碳化和铋物种向氧化铋的原位转化。本发明能够在石墨毡纤维表面形成均匀、稳定负载的纳米级铋氧化物颗粒,显著提升了电极的比表面积、催化活性,从而提高了钒电池的能量效率、功率密度和循环稳定性,具备良好的工业化应用前景。

隔离件、电化学电池、电堆和装置

NºPublicación:  CN121709653A 20/03/2026
Solicitante: 
株式会社东芝
CN_121709653_PA

Resumen de: US20260081190A1

A separator according to an embodiment includes a first flow channel comprising flow-channel grooves and connecting a first location and a second location. The first flow channel has a serpentine flow channel shape. The midpoint in a length direction of the first flow channel is defined as the boundary. A range from the boundary to the first location side is defined as the first half. A range from the boundary to the second location side is defined as the second half. A turnaround area is included in the first half of the first flow channel. A turnaround area is included in the second half of the first flow channel that has a flow channel pattern different from that in the first half of the first flow channel.

电极、膜电极接合体、电化学电池、电池组、电解装置

NºPublicación:  CN121709644A 20/03/2026
Solicitante: 
株式会社东芝东芝能源系统株式会社
CN_121709644_PA

Resumen de: US20260081187A1

An electrode according to an embodiment includes a support comprising metal fibers or metal particles, the support comprising a first surface and a second surface located opposite the first surface and a catalyst layer provided on the metal fibers or the metal particles on the first surface side of the support. An average fiber diameter of the metal fibers and an average primary diameter of the metal particles are denoted as D. A direction from the first surface of the support to the second surface of the support is a thickness direction of the support. The catalyst layer is provided at from the first surface to a position at a minimum depth of 3×D or more and a position at a maximum depth of 10×D or less.

MEMBRANE ELECTRODE ASSEMBLY, ELECTROCHEMICAL CELL, STACK, AND ELECTROLYTIC SYSTEM

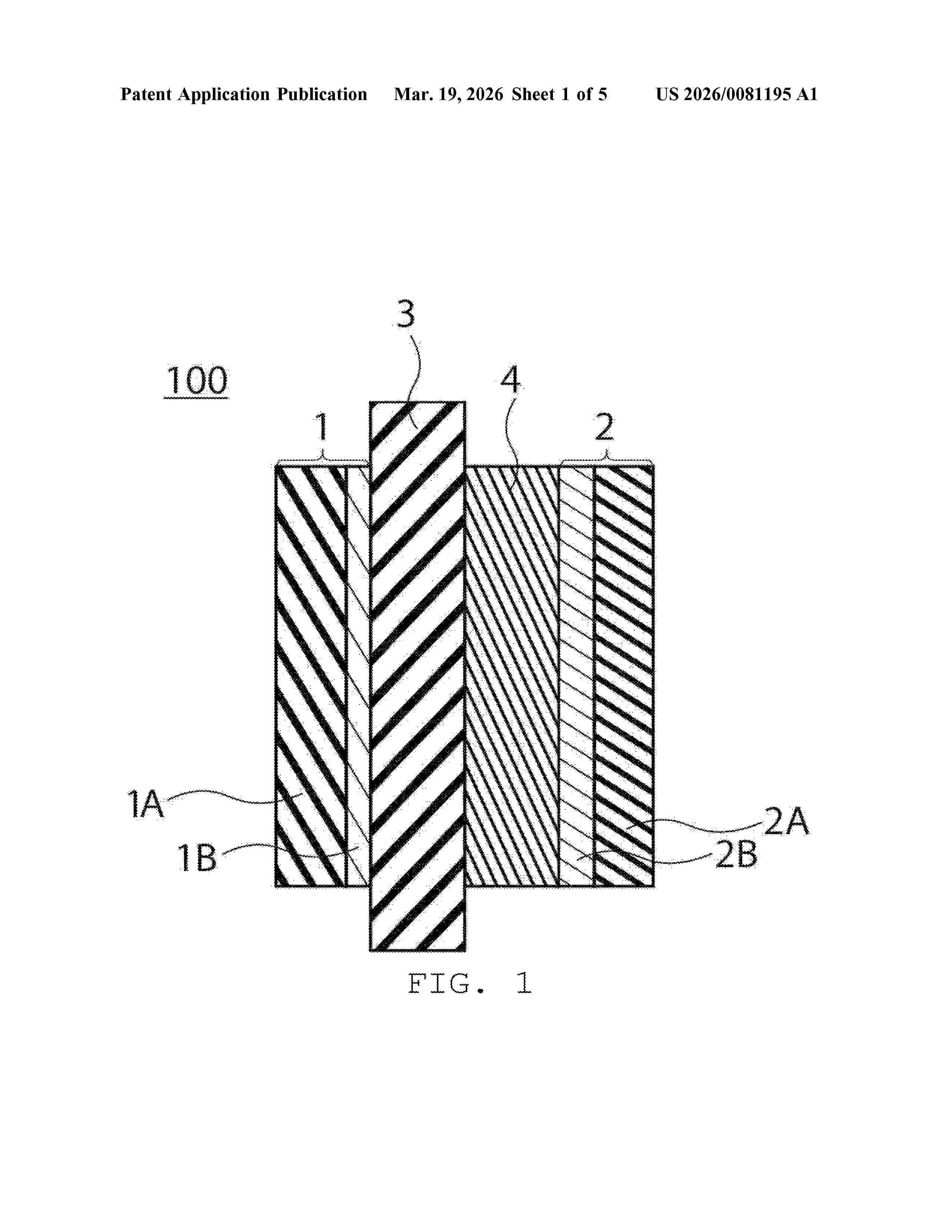
NºPublicación:  US20260081195A1 19/03/2026
Solicitante: 
KK TOSHIBA [JP]
KABUSHIKI KAISHA TOSHIBA
US_20260081195_A1

Resumen de: US20260081195A1

A membrane electrode assembly includes a first electrode, a second electrode, an ion-exchange membrane provided between the first electrode and the second electrode, and an intermediate layer between the second electrode and the ion-exchange membrane. The intermediate layer is a conductive porous body.

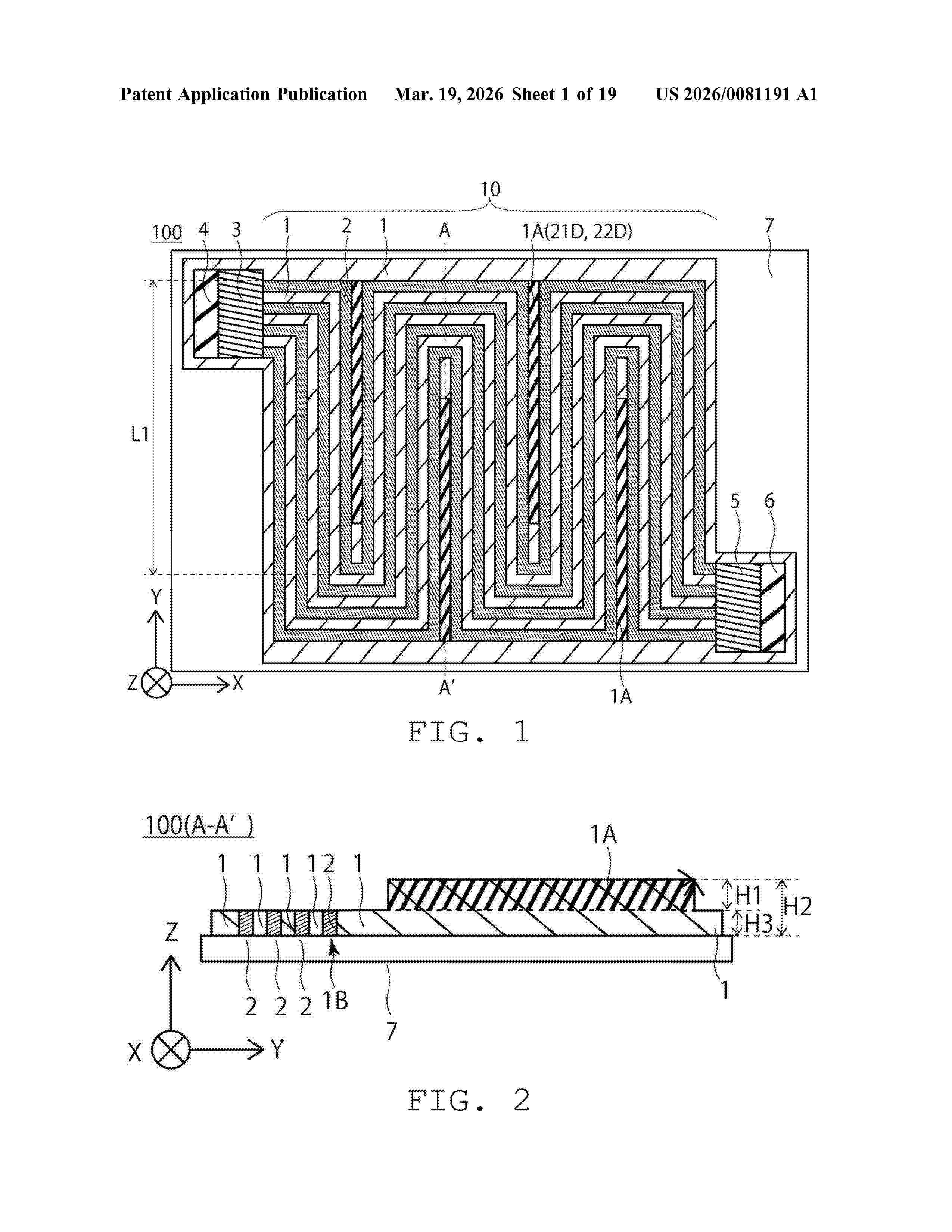
SEPARATOR, ELECTROCHEMICAL CELL, AND APPARATUS

NºPublicación:  US20260081191A1 19/03/2026
Solicitante: 
KK TOSHIBA [JP]
KABUSHIKI KAISHA TOSHIBA
US_20260081191_A1

Resumen de: US20260081191A1

A separator according to an embodiment includes a flow channel comprising one or more flow-channel grooves provided between flow-channel walls. One or more protrusions are provided on the flow-channel walls.

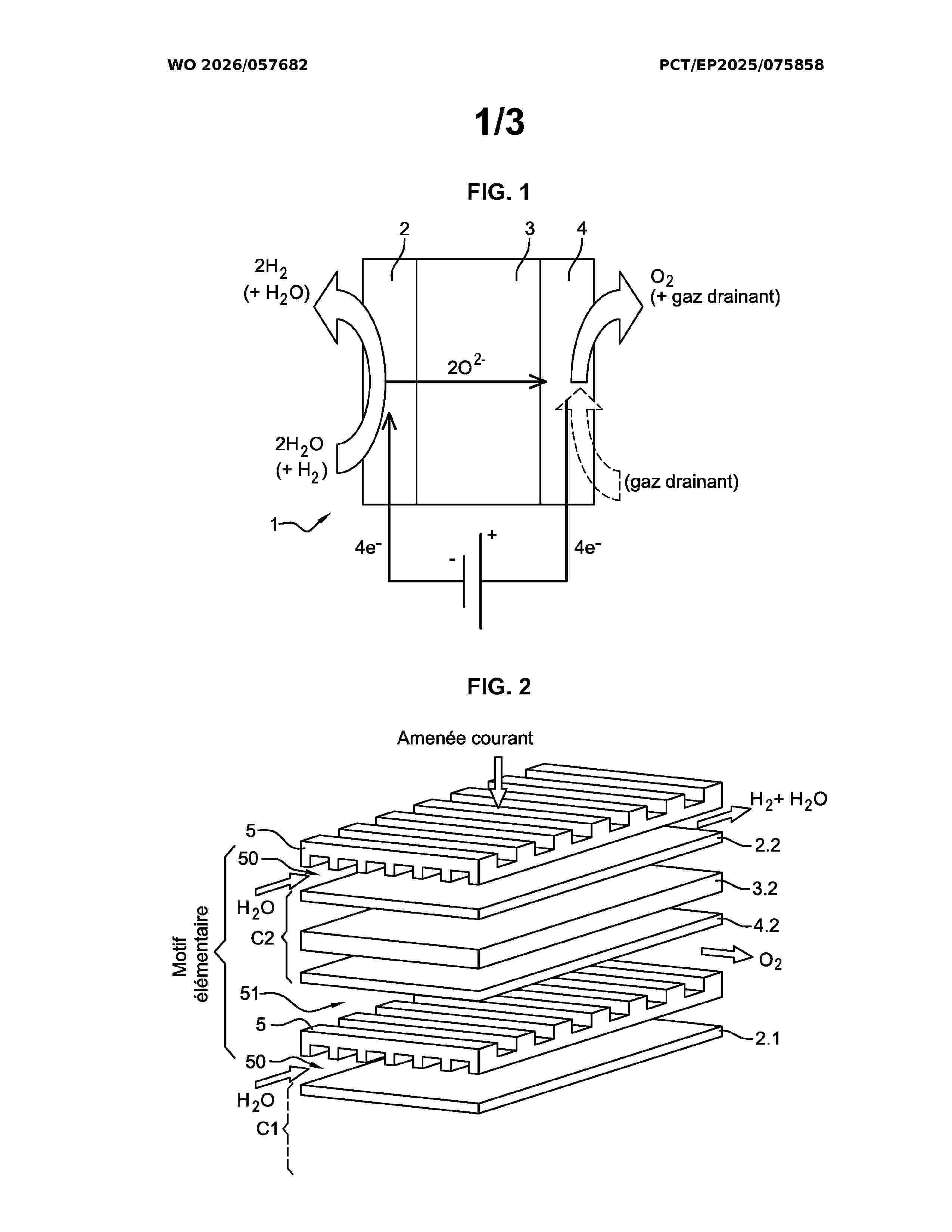
ELECTRODE, MEMBRANE ELECTRODE ASSEMBLY, ELECTROCHEMICAL CELL, STACK, AND ELECTROLYZER

NºPublicación:  US20260081187A1 19/03/2026
Solicitante: 
KK TOSHIBA [JP]
TOSHIBA ENERGY SYSTEMS & SOLUTIONS CORP [JP]
KABUSHIKI KAISHA TOSHIBA,
TOSHIBA ENERGY SYSTEMS & SOLUTIONS CORPORATION
US_20260081187_A1

Resumen de: US20260081187A1

An electrode according to an embodiment includes a support comprising metal fibers or metal particles, the support comprising a first surface and a second surface located opposite the first surface and a catalyst layer provided on the metal fibers or the metal particles on the first surface side of the support. An average fiber diameter of the metal fibers and an average primary diameter of the metal particles are denoted as D. A direction from the first surface of the support to the second surface of the support is a thickness direction of the support. The catalyst layer is provided at from the first surface to a position at a minimum depth of 3×D or more and a position at a maximum depth of 10×D or less.

SEPARATOR, ELECTROCHEMICAL CELL, STACK, AND APPARATUS

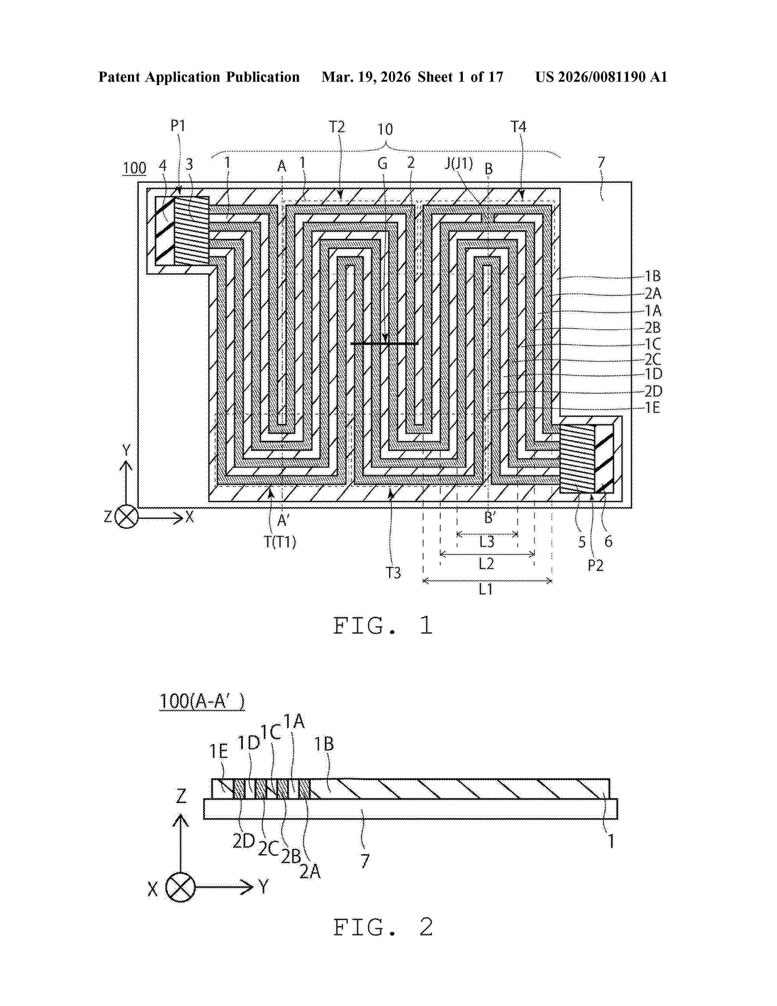
NºPublicación:  US20260081190A1 19/03/2026
Solicitante: 
KK TOSHIBA [JP]
KABUSHIKI KAISHA TOSHIBA
US_20260081190_A1

Resumen de: US20260081190A1

A separator according to an embodiment includes a first flow channel comprising flow-channel grooves and connecting a first location and a second location. The first flow channel has a serpentine flow channel shape. The midpoint in a length direction of the first flow channel is defined as the boundary. A range from the boundary to the first location side is defined as the first half. A range from the boundary to the second location side is defined as the second half. A turnaround area is included in the first half of the first flow channel. A turnaround area is included in the second half of the first flow channel that has a flow channel pattern different from that in the first half of the first flow channel.

Fluid additives for regenerative fuel cells

NºPublicación:  US20260081194A1 19/03/2026
Solicitante: 
SCHLUMBERGER TECH CORPORATION [US]
Schlumberger Technology Corporation
US_20260081194_A1

Resumen de: US20260081194A1

A regenerative fuel cell has one half-cell which produces gas while charging and consumes the gas during discharge. The electrolyte liquid circulated through that half-cell comprises a flexible long chain polymer or a viscoelastic surfactant. The half-cell is configured to compel the flow of electrolyte liquid to make repeated changes in direction and the flow rate is sufficient that elastic turbulence occurs. This dislodges bubbles of produced gas from the electrodes, maintaining more electrode surface available for reaction and enhancing efficiency. The other half-cell may also be in a state of elastic turbulence enhancing mass transport to and from its electrode surface

ONE FURNACE SINTERING AND OXIDATION METHOD FOR ELECTROCHEMICAL CELL STACK INTERCONNECTS

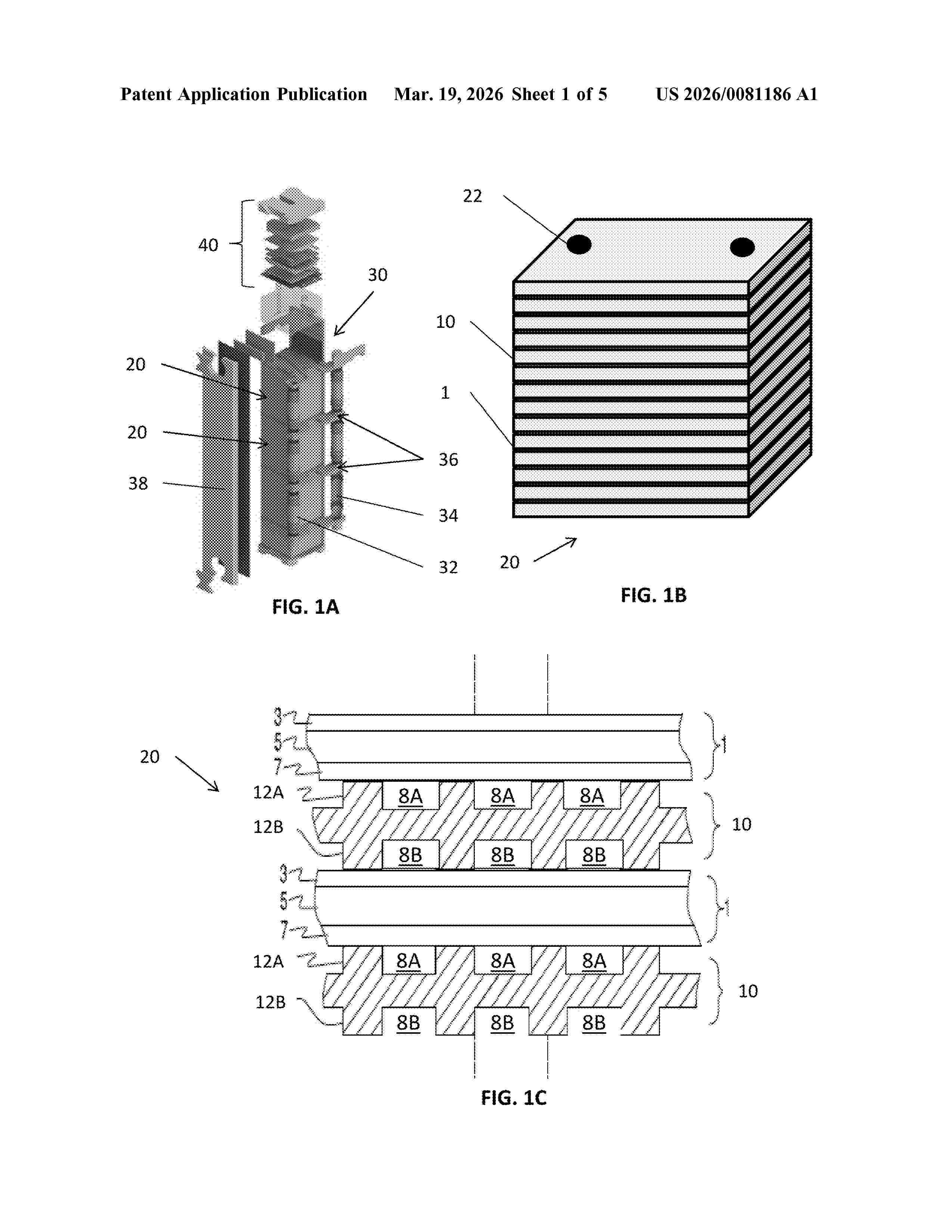
NºPublicación:  US20260081186A1 19/03/2026
Solicitante: 
BLOOM ENERGY CORP [US]
BLOOM ENERGY CORPORATION
US_20260081186_A1

Resumen de: US20260081186A1

A method includes placing an interconnect in a furnace, sintering the interconnect by heating the interconnect in a reducing atmosphere in the furnace, oxidizing the interconnect by heating the interconnect in an oxidizing atmosphere in the furnace, and removing interconnect from the furnace.

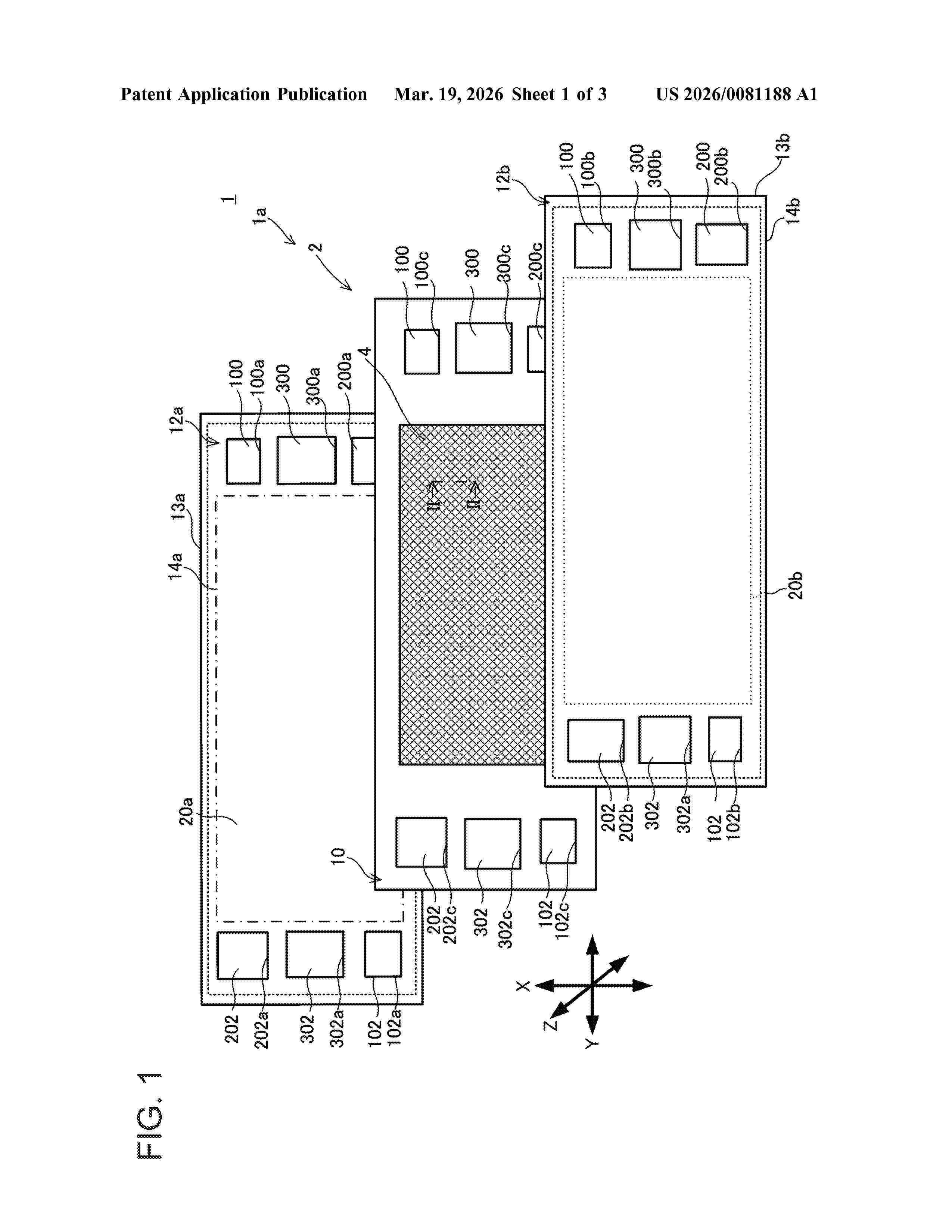
SEPARATOR USED IN FUEL CELL, AND FUEL CELL

NºPublicación:  US20260081188A1 19/03/2026
Solicitante: 
TOYOTA JIDOSHA KK [JP]
TOYOTA JIDOSHA KABUSHIKI KAISHA
US_20260081188_A1

Resumen de: US20260081188A1

A separator used in a fuel cell includes: a supply manifold hole for fuel gas; an exhaust manifold hole for the fuel gas; and a fuel gas flow path system causing the fuel gas to flow through an electricity generation portion of the fuel cell, the fuel gas flow path system including a first flow path portion directing the fuel gas from the supply manifold hole to the electricity generation portion, a second flow path portion facing the electricity generation portion and supplying the fuel gas to the electricity generation portion, and a third flow path portion directing the fuel gas from the electricity generation portion to the exhaust manifold hole. The third flow path portion includes a low-hydrophilicity flow path disposed at the vicinity of the exhaust manifold hole and includes a low-hydrophilicity surface.

ELECTRODE

NºPublicación:  US20260081184A1 19/03/2026
Solicitante: 
TOYOTA JIDOSHA KK [JP]
KYUSHU UNIV NATIONAL UNIV CORPORATION [JP]
TOYOTA JIDOSHA KABUSHIKI KAISHA,
KYUSHU UNIVERSITY, NATIONAL UNIVERSITY CORPORATION
US_20260081184_A1

Resumen de: US20260081184A1

An electrode capable of preventing Ni from being re-oxidized and reduced and thereby having improved initial characteristics and durability is provided. The electrode includes a cermet layer containing Ni-containing particles and an Nb compound. The Nb compound may cover at least parts of surfaces of the Ni-containing particles. The ratio of the mass of Nb contained in the Nb compound to the mass of Ni contained in Ni-containing particles may be 0.2 to 3.0 mass %. La may be contained in the Nb compound. The cermet layer may contain electrolyte particles having oxide ion conductivity or both oxide ion and electron conductivities.

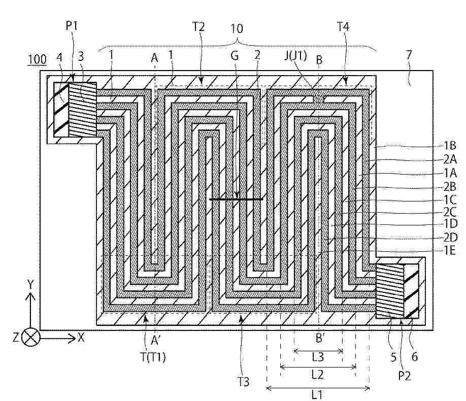
SEPARATOR, ELECTROCHEMICAL CELL, STACK, ELECTROLYTIC DEVICE, AND FUEL CELL

NºPublicación:  US20260081189A1 19/03/2026
Solicitante: 
KK TOSHIBA [JP]
KABUSHIKI KAISHA TOSHIBA
US_20260081189_A1

Resumen de: US20260081189A1

A separator according to an embodiment including: a flow channel comprising flow-channel walls and flow channel grooves provided between the flow-channel walls; a supply manifold; an exhaust manifold; a supply connection channel connecting one end of the flow channel to the supply manifold; and an exhaust connection channel connecting the other end of the flow channel to the exhaust manifold. The supply connection channel or/and the exhaust connection channel comprise one or more first protrusion-wall groups including first protrusion-walls and one or more second protrusion-wall groups including second protrusion-walls. The first protrusion-walls are aligned in a second direction which is a vertical direction relative to a first direction which is parallel to the flow-channel grooves at the end portion of the flow channel. The second protrusion-walls are aligned in a second direction. The first protrusion-wall groups and the second protrusion-wall groups are aligned in the first direction. The second protrusion-wall groups are offset in the second direction from the first protrusion-wall groups.

Non-Woven Pitch-Based Carbon Fiber Electrodes for Low-Cost Redox Flow Battery

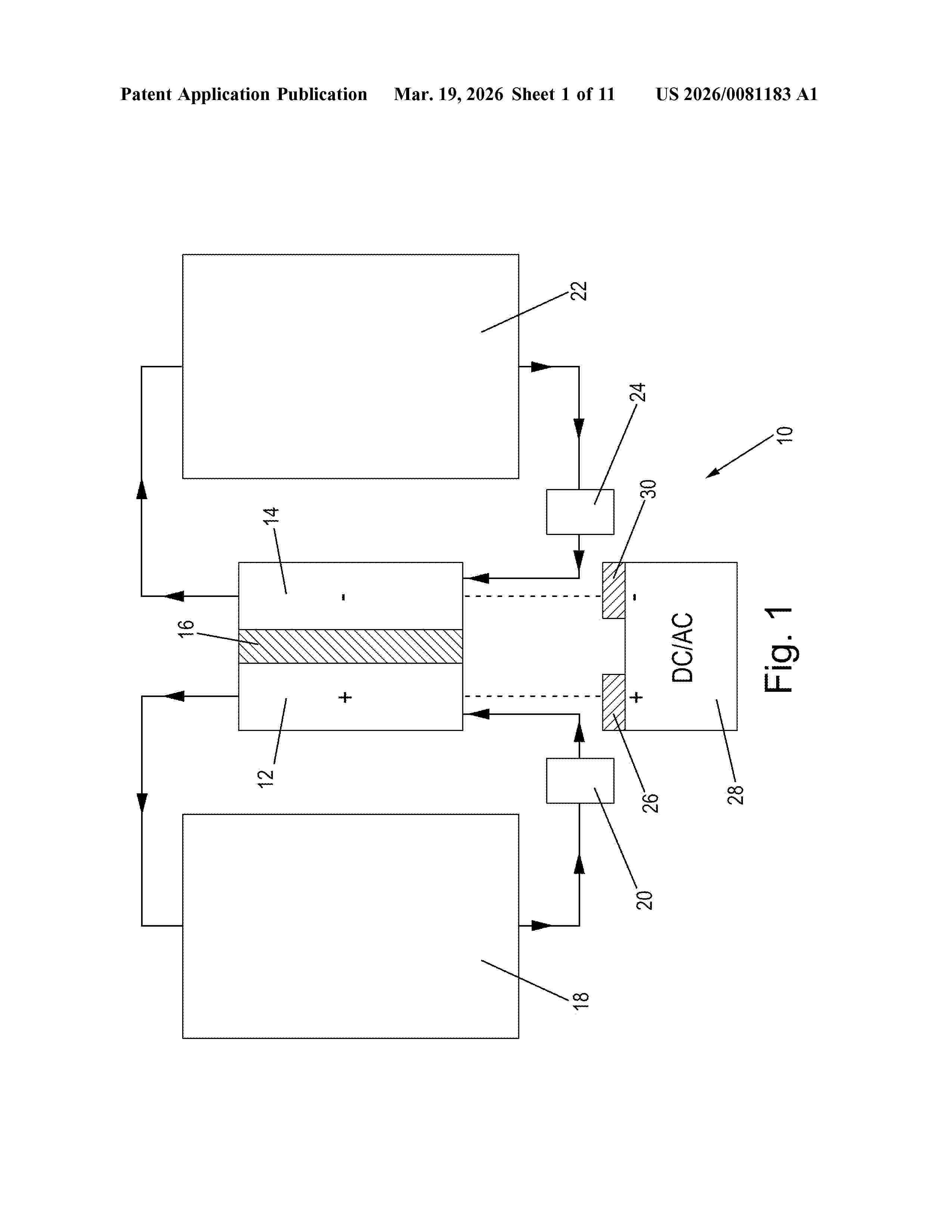
NºPublicación:  US20260081183A1 19/03/2026
Solicitante: 
CLEMSON UNIV [US]
Clemson University
US_20260081183_A1

Resumen de: US20260081183A1

An improved redox flow battery, and method of making a redox flow battery, are described. The redox flow battery comprising a positive electrode tank comprising a catholyte and a cathode electrode and a negative electrode tank comprising an anolyte and an anode electrode. A membrane is between the positive electrode tank and the negative electrode tank wherein at least one of the cathode electrode or the anode electrode is a pitch-based carbon fiber electrode.

POWDER COMPOSITION BASED ON AT LEAST ONE FLUOROPOLYMER AND AT LEAST ONE HYDROPHILIC POLYMER FOR SEPARATOR COATING

NºPublicación:  US20260078250A1 19/03/2026
Solicitante: 
ARKEMA FRANCE [FR]
Arkema France
US_20260078250_A1

Resumen de: US20260078250A1

The present invention relates to a composition comprising a polymer P1 comprising monomer units derived from vinylidene fluoride and a polymer P2 comprising monomer units derived from a monomer M2 of formula R1R2C═C(R3)C(O)R in which the substituents R1, R2 and R3 are, independently of each other, selected from the group consisting of H and C1-C5 alkyl; R is selected from the group consisting of —NHC(CH3)2CH2C(O)CH3 or —OR′ with R′ selected from the group consisting of C1-C18 alkyl optionally substituted by one or more —OH group(s) or a five- or six-membered heterocycle comprising at least one nitrogen atom in its cyclic chain, characterised in that the difference between the melting temperature and the crystallisation temperature of the composition is greater than or equal to 40° C. and in that the composition is in powder form.

SIDE-CHAIN FUNCTIONALIZED POLYSTYRENES AS MEMBRANE MATERIALS FOR ALKALINE WATER ELECTROLYZERS, FUEL CELLS AND FLOW BATTERIES

NºPublicación:  US20260078248A1 19/03/2026
Solicitante: 
FORSCHUNGSZENTRUM JUELICH GMBH [DE]
Forschungszentrum J\u00FClich GmbH
US_20260078248_A1

Resumen de: US20260078248A1

The present invention relates to side-chain functionalized polymers and copolymers and their use as alkaline anion exchange membrane materials, for example in alkaline water electrolyzers, fuel cells or flow batteries.

BLOCK COPOLYMER, POLYMER ELECTROLYTE MATERIAL USING SAME, POLYMER ELECTROLYTE MOLDED ARTICLE, POLYMER ELECTROLYTE MEMBRANE, CATALYST-COATED ELECTROLYTE MEMBRANE, MEMBRANE ELECTRODE COMPOSITE BODY, SOLID POLYMER FUEL CELL, AND WATER ELECTROLYTIC HYDROGEN GENERATOR

NºPublicación:  US20260078218A1 19/03/2026
Solicitante: 
TORAY IND INC [JP]
TORAY INDUSTRIES, INC
US_20260078218_A1

Resumen de: US20260078218A1

A block copolymer including one or more segments containing an ionic group (hereinafter referred to as an “ionic segment(s)”) and one or more segments containing no ionic group (hereinafter referred to as a “nonionic segment(s)”), wherein the ionic segment has an aromatic hydrocarbon polymer having a number-average molecular weight of more than 40,000 and 50,000 or less, and wherein the block copolymer satisfies the relation of: Mn3/(Mn1+Mn2)>1.5, wherein Mn1 represents the number-average molecular weight of the ionic segment, Mn2 represents the number-average molecular weight of the nonionic segment, and Mn3 represents the number-average molecular weight of the block copolymer. Provided is a block copolymer and a polymer electrolyte material produced using the same, wherein the block copolymer has excellent proton conductivity even under low-humidity conditions, has excellent mechanical strength and physical durability, and has an excellent in-process capability.

ADDITIVES FOR ELECTROCHEMICAL FLOW REACTORS

NºPublicación:  US20260081262A1 19/03/2026
Solicitante: 
SCHLUMBERGER TECH CORPORATION [US]
Schlumberger Technology Corporation
US_20260081262_A1

Resumen de: US20260081262A1

An electrochemical reactor, which may be a half-cell of a rechargeable battery, comprises a liquid electrolyte which is pumped through the half-cell and has an electrochemical system in which a solid is deposited at an electrode while electric current is flowing. The liquid comprises a high molecular weight polymer or a viscoelastic surfactant enabling elastic turbulence to occur and the half-cell is configured to compel through flow to make changes in direction, so that elastic turbulence occurs, enhancing mass transport through the liquid and reducing overpotential at the electrode, which enhances uniformity of deposited solid and inhibits parasitic reactions.

Electrically Powered Fan Units For Hydrogen Fueled Aircraft And System Using Same

NºPublicación:  US20260077684A1 19/03/2026
Solicitante: 
JOBY AERO INC [US]
Joby Aero, Inc
US_20260077684_A1

Resumen de: US20260077684A1

A thrust unit for an aircraft with a hydrogen fuel system. The aircraft may utilize compressors to compress air to a sufficiently high pressure for the fuel cell. Liquid hydrogen is compressed and then utilized in heat exchangers to cool the compressed air, maintaining the air at a temperature low enough for the fuel cell. The thrust unit may be an electrically powered fan unit with a fan within a fan tube. The fan tube may include air inlets for the fuel cell system, as well as outlets for exhaust from the fuel cell system. The fan tube may contain heat exchangers which are part of the fuel cell thermodynamic system.

MECHANICAL LOAD TAKE-UP SYSTEM INTEGRATED INTO A PLURALITY OF SUB-STACKS OF HIGH-TEMPERATURE SOEC/SOFC SOLID OXIDE CELLS PLACED ONE ON TOP OF THE OTHER

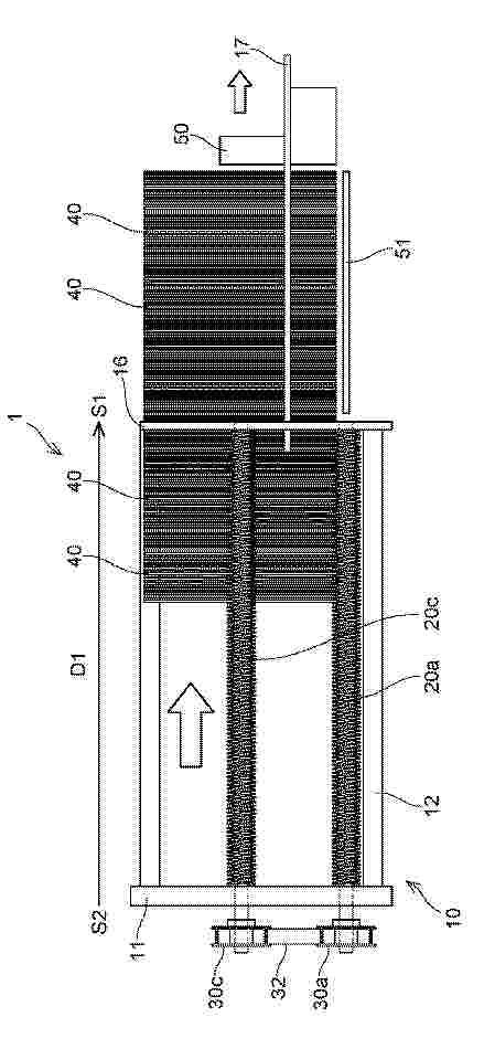
NºPublicación:  WO2026057682A1 19/03/2026
Solicitante: 
COMMISSARIAT A LENERGIE ATOMIQUE ET AUX ENERGIES ALTERNATIVES [FR]
COMMISSARIAT A L'ENERGIE ATOMIQUE ET AUX ENERGIES ALTERNATIVES
WO_2026057682_A1

Resumen de: WO2026057682A1

The invention relates to a mechanical load take-up system (100) integrated into a plurality of sub-stacks (20a) of high-temperature SOEC/SOFC solid oxide cells forming a modular stack (20), which system comprises: - a thermal enclosure (102); - a plurality of sub-stacks (20a); - a plurality of end plates (40), each having an upper face (40s) and a lower face (40i), the surface area of an upper face (40s) being larger in size than the surface area of a lower face (20ai) of a sub-stack (20a) and the surface area of a lower face (40i) being larger in size than the surface area of an upper face (20as) of a sub-stack (20a) so as to obtain one or more free surfaces (40l) that are not positioned on top of a sub-stack (20a); - a plurality of supporting members (103); and - a plurality of resilient return members (104) arranged between one or more supporting members (103) and one or more free surfaces (40l).

ELECTROLYTE COMPOSITION FOR ALL-IRON REDOX FLOW BATTERIES

NºPublicación:  WO2026057540A1 19/03/2026
Solicitante: 
VOLTSTORAGE GMBH [DE]
VOLTSTORAGE GMBH
WO_2026057540_A1

Resumen de: WO2026057540A1

The invention provides an electrolyte for use in an all-iron redox flow battery, comprising an aqueous solution of an Fe2+ salt; a first cation additive being aluminium Al3+; and a second cation additive selected from the group consisting of Na+, K+, Ca²⁺, Mg²⁺ or NH4 +.

Gebläse für eine Brennstoffzellenanordnung

NºPublicación:  DE102024126881A1 19/03/2026
Solicitante: 
ZF CV SYSTEMS GLOBAL GMBH [CH]
ZF CV Systems Global GmbH

Resumen de: DE102024126881A1

Ein Gebläse (1) für eine Brennstoffzellenanordnung zum Rezirkulieren eines während des Betriebs der Brennstoffzellenanordnung anfallenden Volumenstroms ist beschrieben, wobei das Gebläse einen Gebläsekanal (2) mit einer Außenwandung (2a), die sich entlang einer Kanalachse (A) zwischen einem Gebläsekanaleinlass (2b) und einem Gebläsekanalauslass (2c) des Gebläsekanals (2) erstreckt, eine Motorwelle (3), die sich durch einen Ringkanalabschnitt (2d) des Gebläsekanals erstreckt, eine Strömungsleiteinrichtung (4), die benachbart zum Gebläsekanaleinlass (2b) angeordnet ist und eingerichtet ist, um dem eintretenden Volumenstrom einen Drall aufzuprägen, einen Ablasskanal (5) mit einer in der Außenwandung (2c) angeordneten Ablasskanalöffnung (5a), durch welche Flüssigkeit abgeführt werden kann, und einen Druckausgleichskanal (6) aufweist, der mit dem Ablasskanal (5) fluidverbunden ist und eine Druckausgleichskanalöffnung (6a) aufweist, die in der Außenwandung (2a) angeordnet und von der Ablasskanalöffnung (5a) entlang der Kanalachse (A) beabstandet ist.

Gebläse für eine Brennstoffzellenanordnung

Nº publicación: DE102024126882A1 19/03/2026

Solicitante:

ZF CV SYSTEMS GLOBAL GMBH [CH]
ZF CV Systems Global GmbH

Resumen de: DE102024126882A1

Gebläse (1) für eine Brennstoffzellenanordnung zum Rezirkulieren eines während des Betriebs der Brennstoffzellenanordnung anfallenden Volumenstroms, das Gebläse aufweisend einen Ringkanal (2) mit einer Außenwandung (2a), die sich entlang einer Kanalachse (A) zwischen einem Ringkanaleinlass (2b) und einem Ringkanalauslass (2c) des Ringkanals erstreckt, eine Motorwelle (3), die sich durch den Ringkanal erstreckt, eine Strömungsleiteinrichtung (4), die benachbart zum Ringkanaleinlass (2b) angeordnet ist und eingerichtet ist, um dem eintretenden Volumenstrom einen Drall aufzuprägen, einen Einsetzkörper (6) zum Anordnen in den Ringkanalauslass (2c), aufweisend einen Rohrabschnitt (6a), der sich entlang der Kanalachse zum Ringkanaleinlass (2b) hin erstreckt und gemeinsam mit der Außenwandung (2a) einen Ringspalt zum Abführen von Flüssigkeit aus dem Ringkanal (2) begrenzt, wobei der Einsetzkörper (6) eine um den Rohrabschnitt (6a) verlaufende Ausnehmung (6b) aufweist zum Führen von Flüssigkeitspartikeln vom Ringspalt (7) hin zu einem Mündungsabschnitt (6c) des Einsetzkörpers (6) zum Abführen von Flüssigkeitspartikeln aus dem Einsetzkörper.

traducir