Ministerio de Industria, Turismo y Comercio LogoMinisterior
 

Alerta

Resultados 548 resultados
LastUpdate Última actualización 27/12/2025 [06:49:00]
pdfxls
Solicitudes publicadas en los últimos 15 días / Applications published in the last 15 days
previousPage Resultados 400 a 425 de 548 nextPage  

燃料电池加湿器

NºPublicación:  CN121153130A 16/12/2025
Solicitante: 
可隆工业株式会社
CN_121153130_PA

Resumen de: WO2024232621A1

The present invention relates to a fuel cell humidifier comprising: a humidification module which uses wet gas to humidify dry gas to be supplied to a fuel cell stack; a first cap which is coupled to one end of the humidification module; and a second cap which is coupled to the other end of the humidification module, wherein the humidification module comprises: a cartridge which includes a bundle of hollow fiber membranes; a mid-case in which the cartridge is accommodated; and a flow path change unit which is disposed between the inner surface of the mid-case and the outer surface of the cartridge.

燃料电池的分隔件

NºPublicación:  CN121149274A 16/12/2025
Solicitante: 
丰田纺织株式会社
CN_121149274_PA

Resumen de: DE102025122556A1

Ein Separator für eine Brennstoffzelle weist einen Körper mit Rippen auf, die sich parallel zueinander erstrecken. Die Rippen stehen von dem Körper vor, sodass sie mit einer Gasdiffusionsschicht einer Membran-Elektroden-Gasdiffusionsschicht-Einheit in Kontakt kommen. Der Raum zwischen den Rippen und zwischen dem Separator und der Gasdiffusionsschicht definiert einen Durchgang, durch den der Membran-Elektroden-Gasdiffusionsschicht-Einheit Gas zugeführt und aus ihr abgeleitet wird. Eine Endfläche jeder Rippe in einer Vorstehrichtung ist parallel zu der Gasdiffusionsschicht. Von der Endfläche jeder Rippe steht ein Vorsprung in Richtung der Gasdiffusionsschicht vor. Der Vorsprung jeder Rippe erstreckt sich in einer Breitenrichtung der Rippe, sodass er den Durchgang erreicht.

用于车辆的功率吸收控制系统

NºPublicación:  CN121133510A 16/12/2025
Solicitante: 
通用汽车环球科技运作有限责任公司
CN_121133510_PA

Resumen de: DE102024122329B3

Ein Steuersystem für ein Fahrzeug enthält Datenverarbeitungshardware und Speicherhardware in Kommunikation mit der Datenverarbeitungshardware. Die Speicherhardware speichert Anweisungen, die, wenn sie in der Datenverarbeitungshardware ausgeführt werden, veranlassen, dass die Datenverarbeitungshardware Operationen durchführt. Die Operationen enthalten das Empfangen einer Leistungserzeugung bei einem Vortriebscontroller, das Vergleichen von Batteriedaten mit einem Ladezustandsschwellenwert über den Vortriebscontroller und das Ausführen eines Leistungsableitungsprotokolls, das wenigstens eine Betriebsartsteuerung über ein Brennstoffzellensystem enthält, auf der Grundlage des Vergleichs der Batteriedaten. Außerdem enthalten die Operationen das Erzeugen eines Kompressorbefehls und/oder eines Ventilbefehls über ein Luftströmungssystem auf der Grundlage der wenigstens einen Betriebsartsteuerung und das Regulieren einer Luftströmung des Luftströmungssystems über den erzeugten Kompressorbefehl und/oder Ventilbefehl.

基于非奇异终端滑模的燃料电池阳极供给控制方法、介质

NºPublicación:  CN121149302A 16/12/2025
Solicitante: 
同济大学
CN_121149302_PA

Resumen de: CN121149302A

本发明公开一种基于非奇异终端滑模的燃料电池阳极供给控制方法和介质,属于供电装置领域。该方法包括:针对燃料电池系统,建立基于质量守恒和电化学原理的燃料电池电堆和阳极供给系统空间状态方程;基于所述空间状态方程,设计基于滑模的电磁阀门控制器,并设计基于非奇异终端滑模的氢气循环泵控制器;将所述电磁阀门控制器和氢气循环泵控制器耦合为复合传感器,协同控制燃料电池系统的阳极供给。本发明通过对燃料电池阳极氢气供给与氢气再循环的精确调控,有效提高燃料电池的效率、稳定性以及使用寿命。

电堆端部结构及液流电池电堆

NºPublicación:  CN223680139U 16/12/2025
Solicitante: 
常州星辰新能源有限公司
CN_223680139_U

Resumen de: CN223680139U

本实用新型公开了一种电堆端部结构及液流电池电堆,属于储能电池技术领域。该电堆端部结构包括端板、绝缘板和端集流板,通过在端板上设置绝缘板,在绝缘板背离端板的一面上设置端集流板,并在端集流板上设置极耳,极耳能够依次穿过绝缘板上的第一通孔、端板上的第二通孔。极耳远离端集流板的一端穿过第一通孔、第二通孔后,能够凸出于端板背离端集流板的端面上,使得极耳由电堆的端部伸出,从而有效避免极耳由电堆的两侧伸出而占用电堆侧部的空间,便于实现对多个电堆进行结构紧凑的模块化集成组装。此外,在模块化集成组装的多个电堆在串并联连接时,各个电堆的极耳均由电堆的端部伸出,便于极耳的接线及后期维护工作。

氢燃料电池测试稳压供氢装置

NºPublicación:  CN223678693U 16/12/2025
Solicitante: 
厦门市产品质量监督检验院
CN_223678693_U

Resumen de: CN223678693U

本实用新型涉及新能源技术领域,提供一种氢燃料电池测试稳压供氢装置,包括储气罐、第三气压检测件、第三阀门和气压调节管路,储气罐通过氢气供气管路与氢燃料电池连通,第三阀门和第三气压检测件均设置在氢气供气管路上;气压调节管路与储气罐和第三气压检测件之间的氢气供气管路连通;气压调节管路设置有第三减压阀,第三减压阀两端的管路上分别设置有第五气压检测件和第六气压检测件。本实用新型通过在储气罐和氢燃料电池之间的管路上设置第三气压检测件,能够检测出进入氢燃料电池的氢气气压,储气罐上不设置气压检测装置也能够精确的检测到进入氢燃料电池前的氢气气压,能够提高氢燃料电池的安全性。

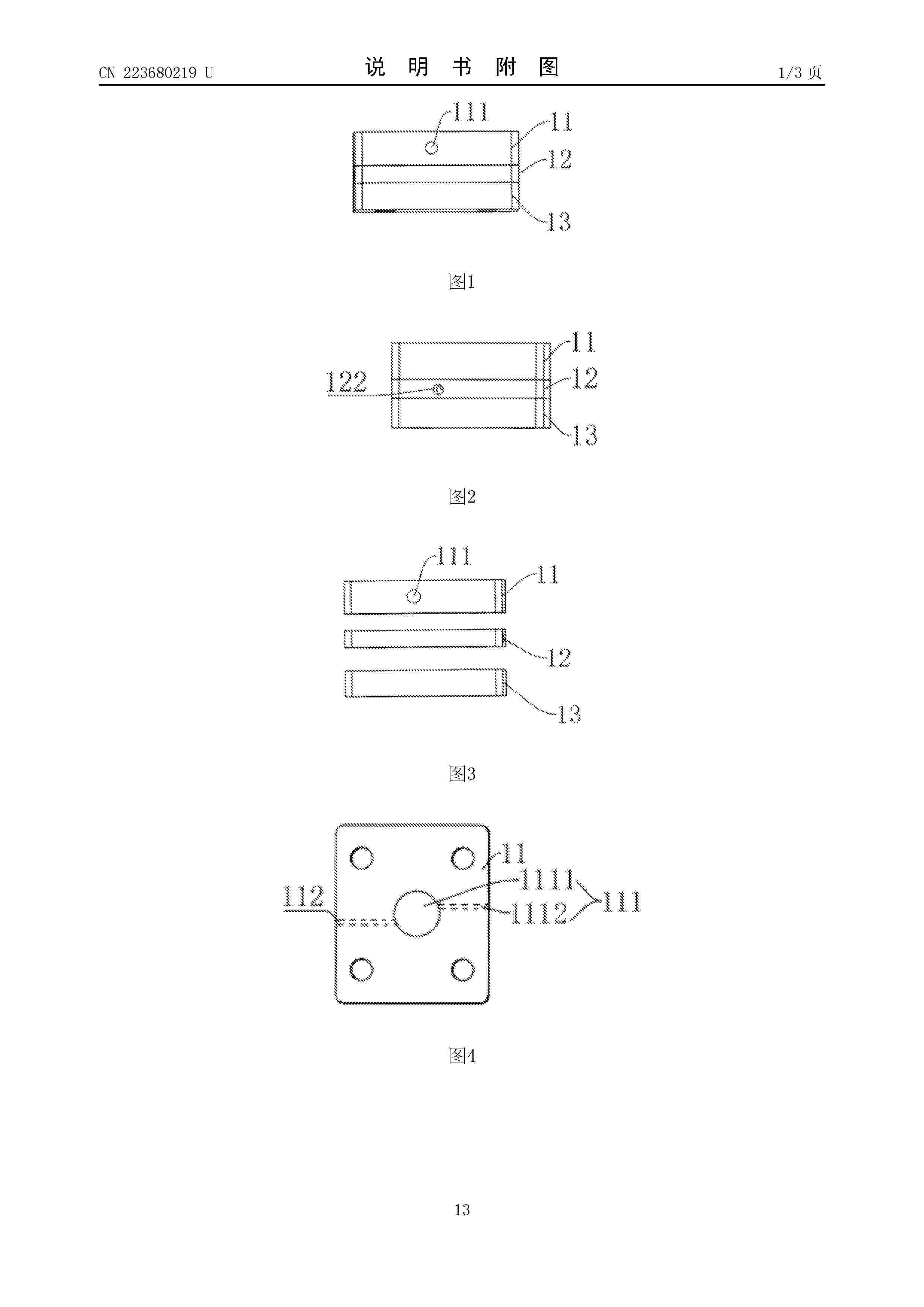
用于金属气体电池的壳体及金属气体电池

NºPublicación:  CN223680219U 16/12/2025
Solicitante: 
南方科技大学
CN_223680219_U

Resumen de: CN223680219U

本实用新型公开了用于金属气体电池的壳体及金属气体电池,金属气体电池包括阴极层与阳极层,壳体包括依次叠设的第一绝缘层、第二绝缘层及第三绝缘层;第一绝缘层与第二绝缘层之间预留有第一空间;第二绝缘层与第三绝缘层之间预留有第二空间;第一绝缘层上开设有第一进气通道,第一进气通道的进气口位于第一绝缘层的侧面,第一进气通道的出气口位于第一绝缘层与第二绝缘层相对的表面;第二绝缘层上开设有容纳腔室,容纳腔室贯穿第二绝缘层的上表面及下表面,容纳腔室内填充有电解质,容纳腔室与第一进气通道的出气口连通。气体会在第一进气通道里进行缓冲,降低了气体流至催化剂时的流速,进而降低了气体流速高时阴极层上的催化剂脱落的风险。

一种燃料电池

NºPublicación:  CN223680135U 16/12/2025
Solicitante: 
苏州云帆氢能科技有限公司
CN_223680135_U

Resumen de: CN223680135U

本实用新型涉及新能源领域,特别涉及一种燃料电池,包括双极板、膜电极和电导体。双极板包括形成其相对的两侧表面的阴极板和阳极板。阴极板表面形成多条内陷于双极板表面的流道,相邻流道间通过间隔部分隔。膜电极设置于两个双极板之间,两个侧面分别邻近两个双极板的阴极板和阳极板。膜电极与间隔部间相互分离形成扩散空间。电导体容置于扩散空间内,用于使膜电极与阴极板电连接。通过使阴极板的间隔部与膜电极形成扩散空间,便于氧气在扩散空间内扩散,有助于反应的充分进行。通过设置于扩散空间的电导体使膜电极与阴极板电连接,防止扩散空间导致的接触不良,有助于提高电堆性能。

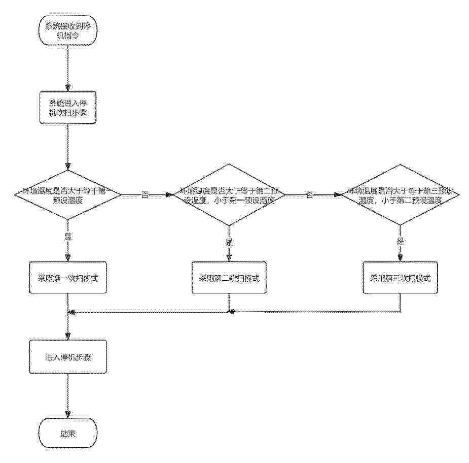
一种常温下燃料电池系统的停机吹扫方法

NºPublicación:  CN121149294A 16/12/2025
Solicitante: 
广东云韬氢能科技有限公司
CN_121149294_PA

Resumen de: CN121149294A

本发明属于燃电池领域,具体涉及一种常温下燃料电池系统的停机吹扫方法。本发明为根据空气子系统入口处的检测的环境温度或环境湿度确定停机吹扫方法。本发明解决了现有技术中固定吹扫流量、固定吹扫时长的技术问题,避免造成燃料电池吹扫过干或者吹扫不充分,影响燃料电池的二次启动或者寿命。

一种氢燃料电池用防碰撞泄漏的密封连接机构

NºPublicación:  CN121139852A 16/12/2025
Solicitante: 
协氢(深圳)无人机科技有限公司协氢(上海)新能源科技有限公司
CN_121139852_PA

Resumen de: CN121139852A

本发明涉及氢燃料电池技术领域,具体是涉及一种氢燃料电池用防碰撞泄漏的密封连接机构,包括氢燃料电池无人机和密封连接机构,包括密封箱、密封机构和气体防溢结构;密封箱的内部设置有密封腔,且密封腔内设置进气管,氢气瓶与进气管对接;密封机构包括环形罩、环形气囊、充气结构和两个自适应挤压结构,环形气囊设置在环形罩的内部,环形气囊上开设有进排气口,充气结构与进排气口连接,两个自适应挤压结构分别设置在环形罩的两侧,自适应挤压结构用于挤压环形气囊;气体防溢结构用于防止在挤压环形气囊的过程中气体从进排气口溢出;本发明设置密封箱、密封机构和气体防溢结构,从而确保密封效果不受温度波动影响。

一种新能源汽车电池加热片

NºPublicación:  CN121149503A 16/12/2025
Solicitante: 
深圳莱必德科技股份有限公司
CN_121149503_PA

Resumen de: CN121149503A

本发明提供了一种新能源汽车电池加热片,包括中间发热层,所述中间发热层内设有发热体,所述中间发热层的两侧均设有金属板,两侧的所述金属板分别连接正极和负极,并与所述发热体导通构成发热回路;通过在金属板之间设置中间发热层,导通后发热体会发热,将加热片布置在新能源汽车的电池外部便可对其进行加热,从而提高电池的环境温度,避免电池因外界环境温度过低导致的性能变差的问题。

燃料电池堆

NºPublicación:  CN121149328A 16/12/2025
Solicitante: 
本田技研工业株式会社
CN_121149328_PA

Resumen de: CN121149328A

本发明要解决的问题是,提供一种能够有效率地使水分循环的燃料电池堆。燃料电池堆(1)具备电解质膜/电极结构体(20)并且借由氧化剂气体与燃料气体的电化学反应来发电,所述电解质膜/电极结构体(20)的固体高分子电解质膜(21)夹持于阳极电极(22)与阴极电极(23)之间。燃料电池堆(1)具有:单体(11),被供给氧化剂气体及/或燃料气体;氧化剂气体供给流路(31),向单体(11)供给氧化剂气体;氧化剂废气流通流路(32),供从单体(11)排出的氧化剂气体流通;及,连通通道(40),将氧化剂气体供给流路(31)与氧化剂废气流通流路(32)连接;连通通道(40)与氧化剂气体供给流路(31)连接的第一开口部(41)的压力比连通通道(40)与氧化剂废气流通流路(32)连接的第二开口部(42)的压力更低。

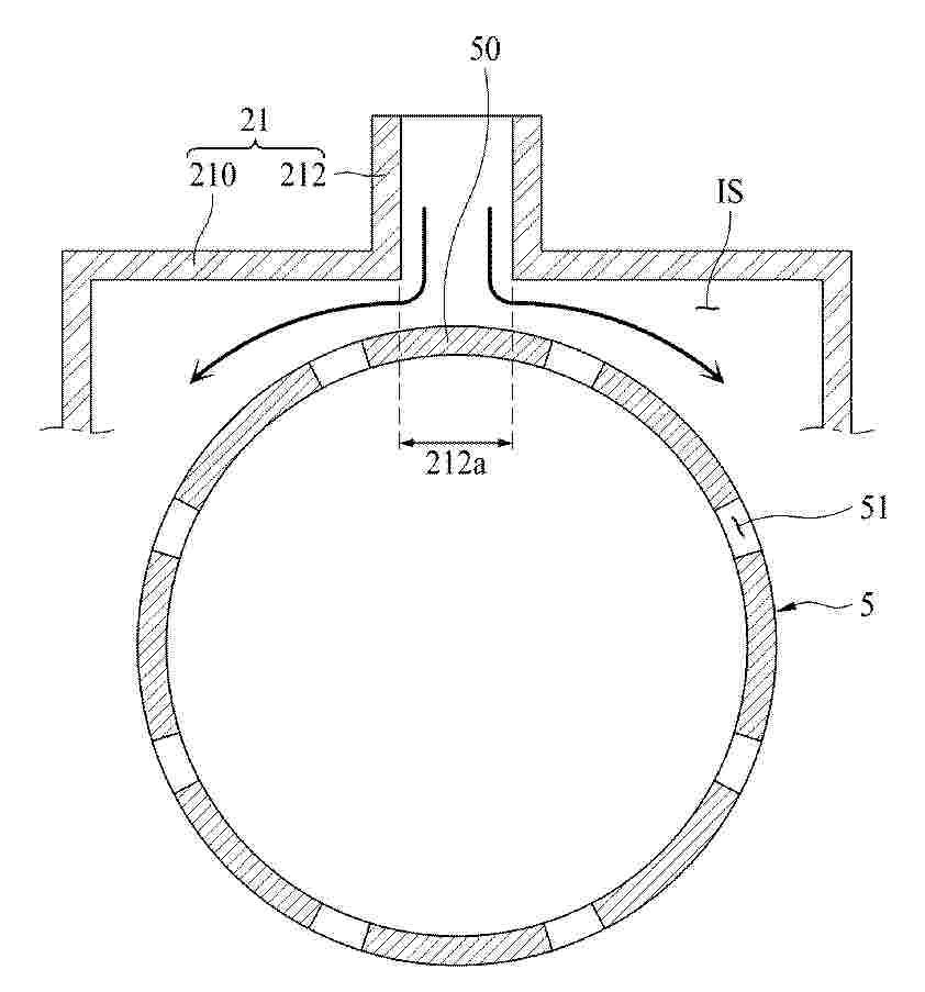
阴极换热器和燃料电池系统

NºPublicación:  CN121149285A 16/12/2025
Solicitante: 
国家能源投资集团有限责任公司北京低碳清洁能源研究院
CN_121149285_PA

Resumen de: CN121149285A

本公开涉及一种阴极换热器和燃料电池系统,该阴极换热器用于燃料电池堆,所述燃料电池堆具有阴极气体入口和阴极气体出口,所述阴极换热器包括:内筒板;外筒板,环绕设置于所述内筒板外侧且与所述内筒板之间形成相互隔开的多个冷气小室和多个热气小室,多个所述冷气小室和多个所述热气小室沿所述内筒板的周向交替分布;以及上封堵层和下封堵层,分别设置于所述内筒板和所述外筒板的顶端和底端以封堵所述冷气小室和所述热气小室;其中,所述冷气小室用于通入外界空气并且出口用于与所述阴极气体入口连通,所述热气小室用于排出阴极气体并且入口用于与所述阴极气体出口连通。本公开提供的阴极换热器能够提高燃料电池的综合效率。

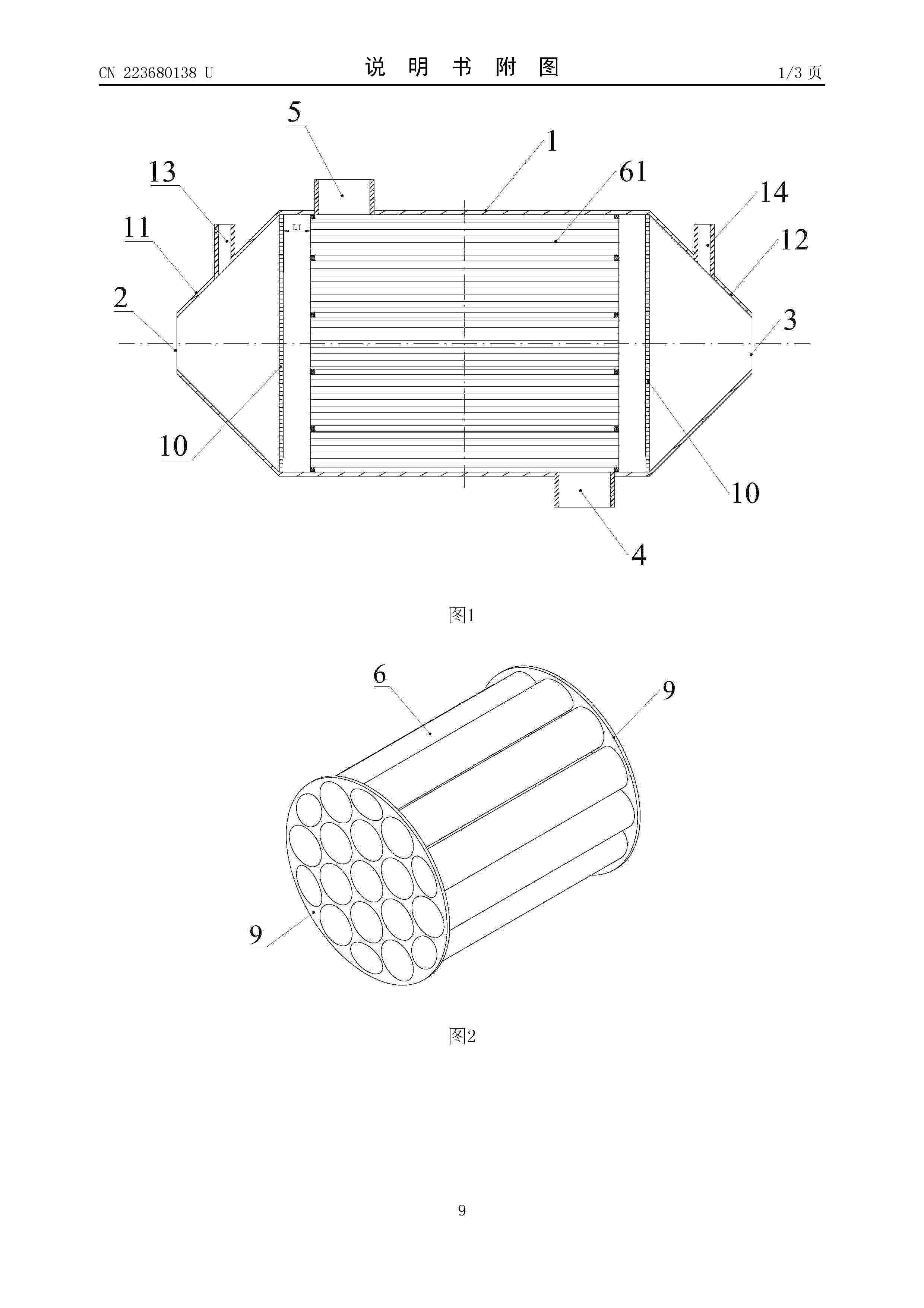
一种复合型碳氢燃料重整反应器

NºPublicación:  CN223680138U 16/12/2025
Solicitante: 
中自科技股份有限公司
CN_223680138_U

Resumen de: CN223680138U

本实用新型属于碳氢燃料重整技术领域,特别涉及一种复合型碳氢燃料重整反应器。包括壳体,壳体上相对设置有第一端盖和第二端盖,第一端盖和第二端盖之间设置有用于重整反应的组件,所述第一端盖上设置有重整气入口,所述第二端盖设置有重整气出口;所述重整反应的组件包括若干个相互独立的催化重整单元,所述壳体与所述催化重整单元之间的空腔用于进行催化燃烧反应,所述壳体侧壁设置有供热气体入口和供热气体出口;所述催化重整单元包括管体,相邻所述管体之间具有第一间隙,所述第一间隙的长度为L2:0.5mm≤L2≤5mm;所述管体外壁设置有催化燃烧催化剂;所述催化燃烧反应产生的热量通过所述管体的管壁传递至重整反应腔室并为所述重整反应提供热量。

一种RSOC和MCEC联合发电储能装置

NºPublicación:  CN223680137U 16/12/2025
Solicitante: 
南京理工大学苏州达氢新材料科技有限公司
CN_223680137_U

Resumen de: CN223680137U

本实用新型公开了一种RSOC和MCEC联合发电储能装置,包括RSOC和MCEC联合系统、传热装置单元和自循环气体闭路单元,RSOC和MCEC联合系统包括SOFC单元、MCEC单元和SOEC单元,传热装置单元用于吸收SOFC单元运行所产生的热量供给MCEC单元和SOEC单元运行,自循环气体闭路单元将SOFC单元、MCEC单元和SOEC单元相连,用于形成CH4的分解与合成发生化学能的变化;以CH4为储能介质,利用甲烷燃料的可逆固体氧化物燃料电池系统将CH4的分解与合成和氢气的合成三个化学反应过程中化学能的变化同电能相互联系并转化,实现电能有效存储,减轻了电网负荷的波动。

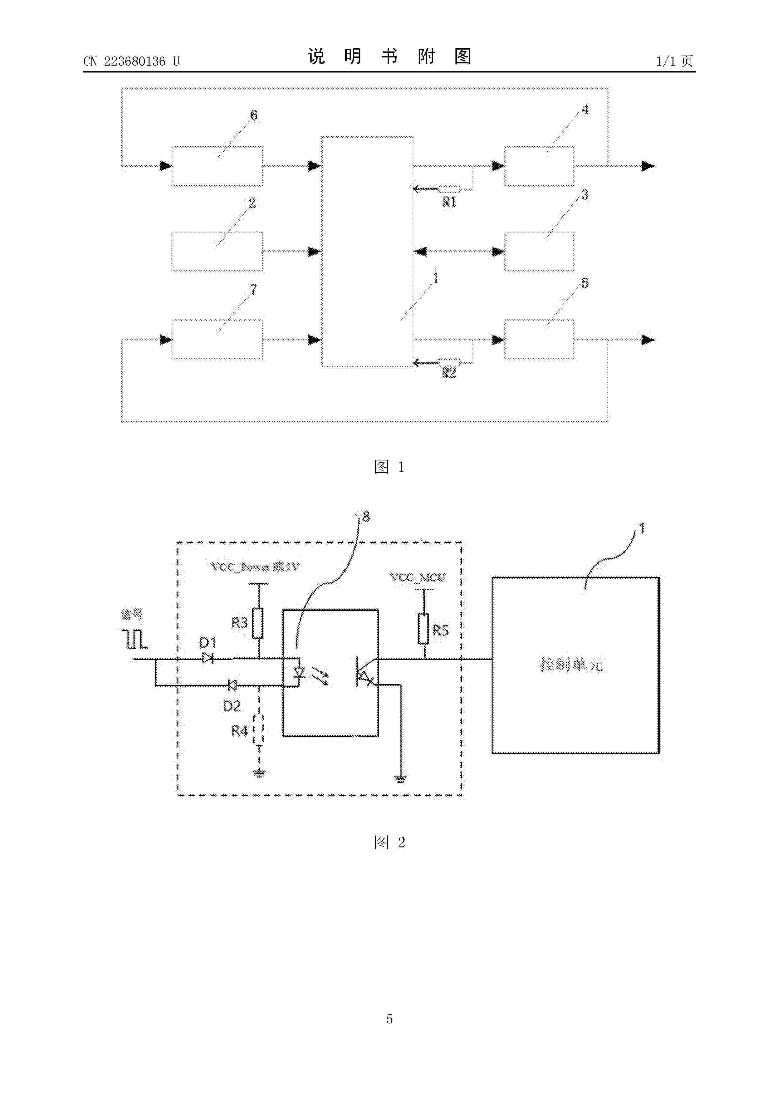
一种具有自诊断功能的燃料电池系统控制装置

NºPublicación:  CN223680136U 16/12/2025
Solicitante: 
洺源科技(大连)有限公司
CN_223680136_U

Resumen de: CN223680136U

本实用新型公开一种具有自诊断功能的燃料电池系统控制装置,是现有技术的基础上,将控制单元输出的控制信号及驱动芯片输出的驱动信号分别反馈至控制单元。当接收到控制负载动作的指令而出现负载不动作的现象时,可通过判断控制单元所输出的控制信号与驱动芯片输出的驱动信号是否一致,从而判断是控制装置故障还是负载故障:若控制单元所接收的一对控制驱动信号相一致,说明负载出现故障,否则,就是控制装置出现故障。本实用新型具有自诊断功能,无需检修人员再进行相应的故障排查,提高了检修效率。

一种供氢系统、车辆底盘及车辆

NºPublicación:  CN223672298U 16/12/2025
Solicitante: 
浙江吉利控股集团有限公司浙江远程新能源商用车集团有限公司浙江远程商用车研发有限公司
CN_223672298_U

Resumen de: CN223672298U

本申请提供了一种供氢系统、车辆底盘及车辆;该供氢系统用于为车辆提供氢燃料,供氢系统包括依次连通的甲醇水存储容器、换热器、重整器、提纯器和加热燃烧器;提纯器连通有氢气管路和燃烧管路,燃烧管路与加热燃烧器连通;供氢系统还包括隔热保温壳体,换热器、重整器、提纯器和加热燃烧器均设置于隔热保温壳体内。如上,本申请加注燃料不是氢气,而是甲醇;甲醇的来源广泛、产量高,有效规避了当前氢燃料电池技术路线面临的加氢难、续航短、加氢贵的问题;进一步的,通过隔热保温壳体的保温作用,能够可靠的避免换热器、重整器、提纯器和加热燃烧器温度的散失,保证上述各器件均维持在高温度需求的工作温度,提高制氢效率。

冷却液的缺液状态的确定方法、存储介质和计算机设备

NºPublicación:  CN121149287A 16/12/2025
Solicitante: 
未势能源科技有限公司
CN_121149287_PA

Resumen de: CN121149287A

本发明公开了一种冷却液的缺液状态的确定方法、存储介质和计算机设备。其中,该方法包括:获取电堆冷却系统的入堆冷却液压力数据、水泵转速、电堆冷却系统的节温器阀的开度数据、入堆冷却液温度和出堆冷却液温度;判断入堆冷却液温度、出堆冷却液温度、节温器阀的开度数据和水泵转速是否满足预先设定的第一诊断条件;在入堆冷却液温度、出堆冷却液温度、节温器阀的开度数据和水泵转速满足第一诊断条件的情况下,根据入堆冷却液压力数据,确定电堆冷却系统中冷却液的缺液状态。本发明解决了由于相关技术无法判断冷却管路中是否存在气泡,也即无法判断冷却液缺液情况的技术问题。

一种排水阀开启时长控制方法及系统

NºPublicación:  CN121149300A 16/12/2025
Solicitante: 
山东国创燃料电池技术创新中心有限公司
CN_121149300_PA

Resumen de: CN121149300A

本发明涉及一种排水阀开启时长控制方法及系统,燃料电池单位时间内的电流变化幅度不小于设定值时,间隔设定周期ΔT采集氢气入堆压力;在排水阀保持开启状态的持续时间内,最后n次采集的氢气入堆压力呈逐步下降变化时,根据预先标定的控制曲线查询排水阀的关闭时间并执行控制;若氢气入堆压力未出现逐步下降变化,则计算燃料电池当前电流对应的平均单体电压与标准电压之间的偏差,偏差低于设定值时,令排水阀开启的持续时间增加ΔT并执行开启,继续判断最后n次采集的氢气入堆压力的变化情况,若形成逐步下降变化,则根据预先标定的控制曲线查询排水阀的关闭时间并执行控制;否则,继续增加ΔT或触发保护机制。防止阳极水淹引起电堆性能下降。

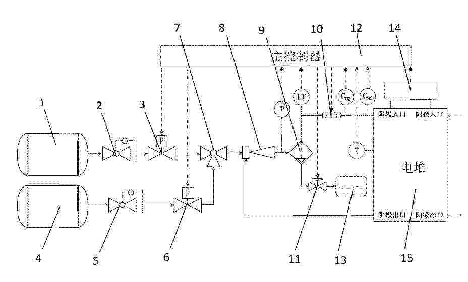
一种用于燃料电池的双极引射器性能测试系统及方法

NºPublicación:  CN121141132A 16/12/2025
Solicitante: 
佛山仙湖实验室武汉理工大学
CN_121141132_PA

Resumen de: CN121141132A

本发明公开了一种用于燃料电池的双极引射器性能测试系统及方法,通过缓冲储气组件来模拟燃料电池电堆,在测试过程中,供气单元给两个一次流入口提供一次流的测试气体,通过控制第一压力调节阀和第二压力调节阀的开闭程度来控制一次流的测试气体压力,控制第四压力调节阀的开闭程度来调节从缓冲储气组件流至二次流入口的测试气体的压力,模仿燃料电池电堆出口的压力,同时通过控制排气阀来调整引射出口的背压,以模拟燃料电池电堆内部压力的变化,当缓冲储气组件无法提供足够的二次流入口的引射端气体压力时,通过控制第三压力调节阀的开度,由供气单元提供所需气体压力,从而实现对双极引射器的全工况模拟。

基于燃料电池电堆模型的半实物热管理开发与测试系统

NºPublicación:  CN121149301A 16/12/2025
Solicitante: 
佛山仙湖实验室武汉理工大学
CN_121149301_PA

Resumen de: CN121149301A

本发明公开了一种基于燃料电池电堆模型的半实物热管理开发与测试系统,包括冷却回路模组、电堆模拟模组和控制器模组,采用虚拟电堆+真实热回路的混合架构,将热源净加热功率模型模拟计算电堆的净加热功率传给可控热源,可控热源按照净加热功率自发产热升温,模拟电堆发热,同时在可控热源一侧加入冷却回路模组,可控热源和冷却装置进行换热,通过冷却回路模组中的冷却液,并且通过调节节温器的两个出口端开度比例,以控制分别流经散热器和加热器的冷却液流量,控制散热器和循环水泵的运行功率,来控制冷却液流量和温度,根据冷却装置的进口冷却液流量调节流阻阀的开度,以控制冷却液流阻,模拟整个燃料电池电堆的热管理系统运行。

一种减少低温启动时间的燃料电池气水分离器

NºPublicación:  CN121149295A 16/12/2025
Solicitante: 
浙江天能氢能源科技有限公司
CN_121149295_PA

Resumen de: CN121149295A

本发明提供一种减少低温启动时间的燃料电池气水分离器,包括气水分离器本体,所述气水分离器本体具有内腔,以及连通内腔的氢气进气接头、氢气出气接头和排水出口,所述排水出口外接热风吹扫腔体,所述热风吹扫腔体底部设有排水孔,排水孔处设有排水阀;所述热风吹扫腔体还设有吹扫孔,吹扫孔连接吹扫阀;所述排水出口与热风吹扫腔体之间还设有用于控制排水出口与热风吹扫腔体连通或者断开的控制机构;所述气水分离器本体还具有连通内腔的排气孔,排气孔处设有排气阀。本发明能够有效解决排水阀冻结问题,无需提前加热排水排氢阀,能够减少低温启动的时间,无需集成加热元件,不会额外增加系统辅助功耗,使得燃料电池系统输出功率更高。

用于改善电解槽耐久性的添加剂

NºPublicación:  CN121152901A 16/12/2025
Solicitante: 
路博润公司
CN_121152901_A

Resumen de: WO2024238741A1

The disclosed technology relates to a composition for mitigating hydrogen cross-over and for mitigating polymer oxidation by adding radical scavenging organic inhibitors within a proton exchange membrane ("PEM") electrolyzer.

环境能量转换器

NºPublicación:  CN121153132A 16/12/2025
Solicitante: 
约翰逊控股有限责任公司
CN_121153132_A

Resumen de: WO2025170588A1

An ambient energy converter includes a housing having an upper portion and a lower portion. The housing lower portion has a hydrophobic material portion. The upper portion has a vent opening in fluid communication with ambience. The housing contains a mass of hygroscopic within the housing lower portion that is in fluid communication with the hydrophobic material portion. An ion conductive membrane electrode assembly is coupled to the housing to allow the passage of ionized water or water vapor through the ion conductive membrane electrode and into contact with the hygroscopic solution. An air conduit may be coupled to the housing to provide an airflow to the ion conductive membrane electrode and/or hydrophobic material portion.

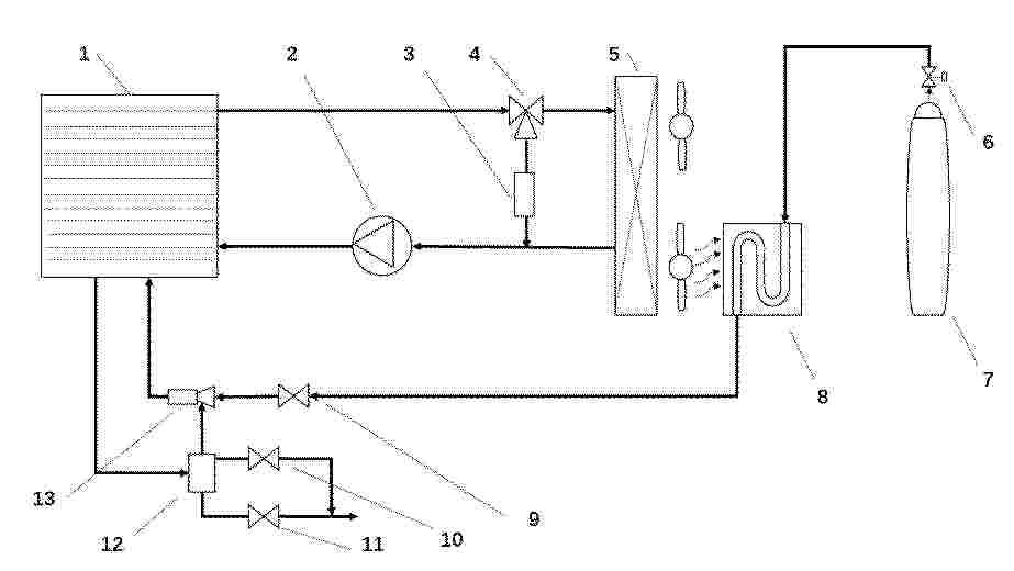
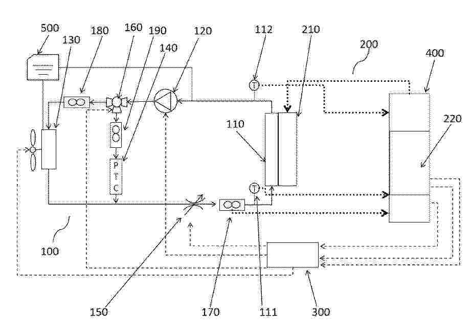
一种燃料电池冷却系统

Nº publicación: CN121149289A 16/12/2025

Solicitante:

上海鲲华新能源科技有限公司

CN_121149289_PA

Resumen de: CN121149289A

本发明提供一种燃料电池冷却系统,涉及燃料电池技术领域。该种燃料电池冷却系统,包括以下模块冷却循环控制模块、散热管理模块、氢气预处理模块、氢循环调控模块、气液处理模块、热回收利用模块;冷却循环控制模块,基于电堆温度监测数据,采用比例积分微分算法动态调节冷却水泵转速,通过PTC加热器实现冷却液温度闭环控制,结合节温器开度调节建立三回路协同控制机制,生成优化流量参数。通过动态调节冷却水泵转速与PTC加热器协同控制,建立三回路流量配比机制,显著提升电堆温度控制精度,采用计算流体力学优化散热器结构,结合模糊控制动态调整风扇转速,在提升散热效率的同时降低能耗,构建压力‑温度耦合模型优化氢气加热曲线。

traducir