Ministerio de Industria, Turismo y Comercio LogoMinisterior
 

Alerta

Resultados 557 resultados
LastUpdate Última actualización 02/04/2026 [06:49:00]
pdfxls
Solicitudes publicadas en los últimos 15 días / Applications published in the last 15 days
previousPage Resultados 325 a 350 de 557 nextPage  

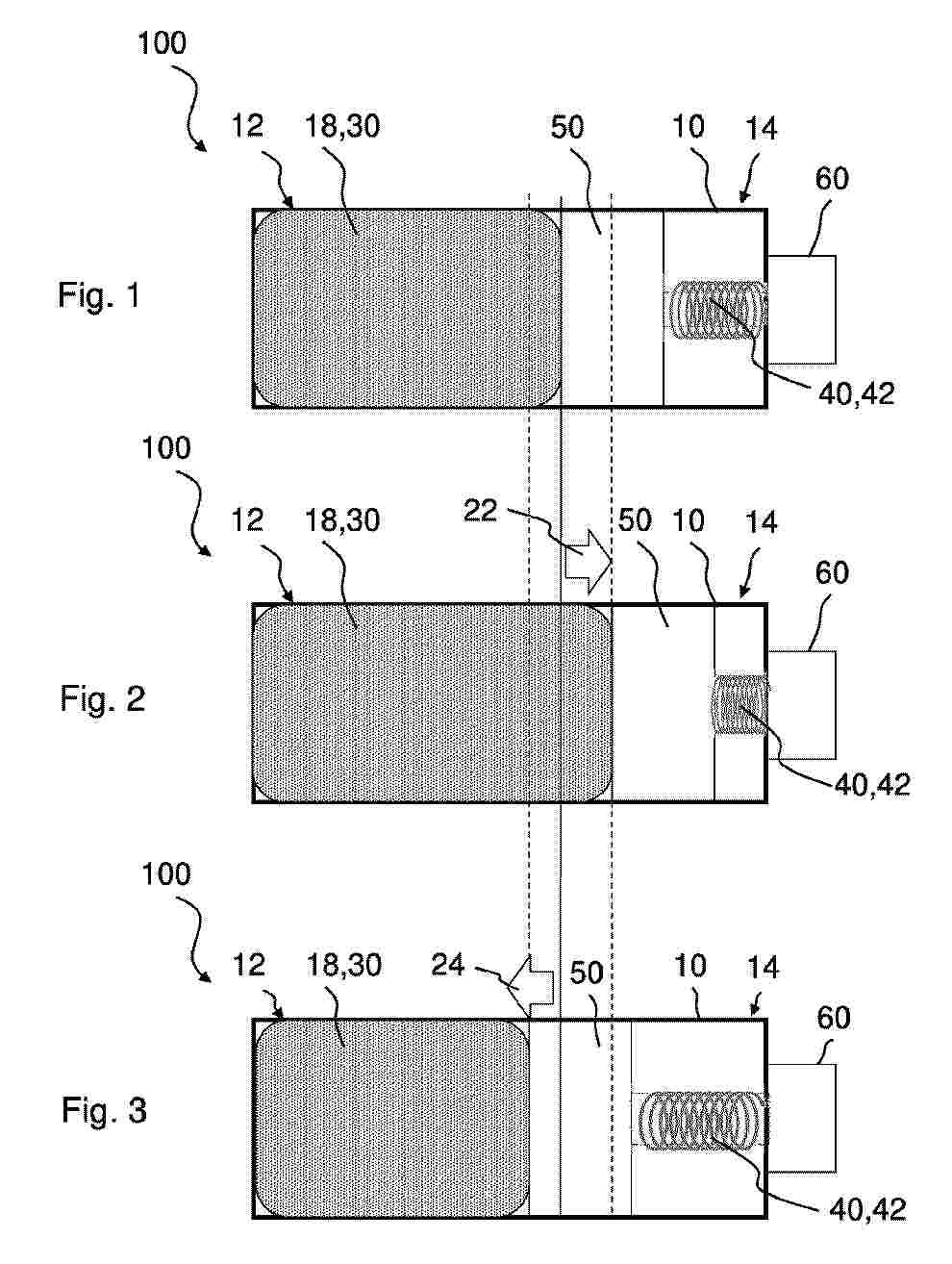
用于燃料电池系统的端板构件和燃料电池系统

NºPublicación:  CN121729772A 24/03/2026
Solicitante: 
罗伯特·博世有限公司
CN_121729772_PA

Resumen de: WO2025030474A1

An end-plate member for a fuel cell system. The end-plate member comprises an end-plate main body and a heat exchange structure located in the end-plate main body. The end-plate member is configured to be shared by a first galvanic pile assembly and a second galvanic pile assembly of a fuel cell system, and at least allocate a first reactive fluid and a coolant to a first pile of the first galvanic pile assembly and to a second pile of the second galvanic pile assembly. The end-plate member is further configured to enable the first reactive fluid to exchange heat with part of the coolant before the first reactive fluid and the coolant are allocated to the first pile and the second pile. In the fuel cell system which comprises the end-plate member, the number of components and tubes of the fuel cell system can be significantly reduced, thereby reducing the complexity of the fuel cell system, improving the level of integration of the fuel cell system and reducing the space occupied by same.

一种基于有机硅钼酸盐的钒电池负极电解液及其应用

NºPublicación:  CN121726462A 24/03/2026
Solicitante: 
成都先进金属材料产业技术研究院股份有限公司
CN_121726462_PA

Resumen de: CN121726462A

本发明属于全钒液流电池电解液技术领域,具体为一种基于有机硅钼酸盐的钒电池负极电解液及其应用。本发明提供的钒电池负极电解液的成分包括钒离子、支持电解质和有机硅钼酸盐添加剂;所述有机硅钼酸盐添加剂为TBA4SiMo12O40和/或BMIM4SiMo12O40。本发明将有机硅钼酸盐添加到钒电池负极电解液中,有效提升了钒电池负极电解液在低温下的稳定性,拓展了钒电池的温度适应区间。

一种适用于含硫燃料的固体氧化物燃料电池的电极催化剂

NºPublicación:  CN121726428A 24/03/2026
Solicitante: 
佛山大学
CN_121726428_PA

Resumen de: CN121726428A

本发明属于固体氧化物燃料电池技术领域,具体涉及一种适用于含硫燃料的固体氧化物燃料电池的电极催化剂。本申请通过流延‑相转化法与真空辅助浸渍工艺,制备直孔+球形孔复合结构NiMo‑YSZ电极催化剂;所得催化剂中的复合孔结构提升传质效率与比表面积,Mo凭借“表面选择性吸附+体相化学固硫”双重机制主动捕硫,且可动态再生。其能将H2S从120ppm降至14ppm,去除率达88%;在分别含硫氢气和甲醇中300小时运行,性能稳定性分别提升160%和125%,衰退速率低至0.4mV/小时,再生恢复98%初始性能,突破“活性‑稳定性”权衡瓶颈,为含硫碳氢燃料SOFC的高效稳定应用提供可靠支撑。

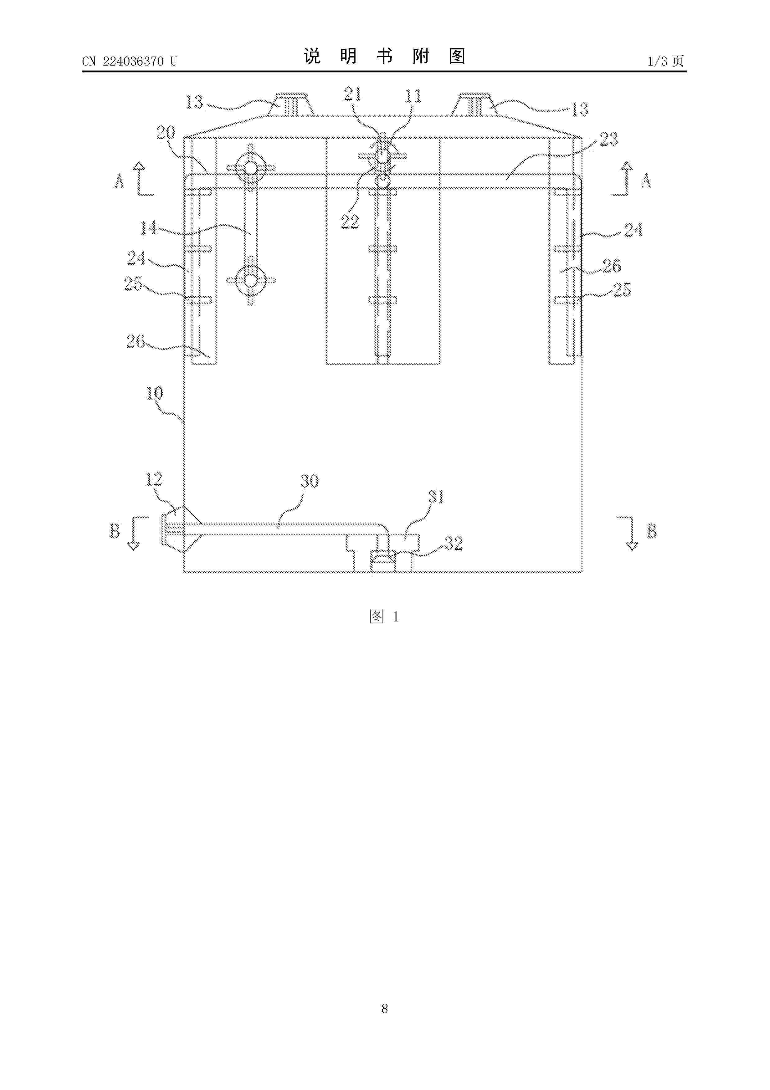
一种电堆端盖板

NºPublicación:  CN224036381U 24/03/2026
Solicitante: 
四川华泸光电集团有限公司四川中新储能科技有限公司
CN_224036381_U

Resumen de: CN224036381U

本实用新型涉及化学电池技术领域,具体而言,涉及一种电堆端盖板,采用本实用新型所提供的上述方案,主要包括了两个对称的盖板装置,两个盖板装置之间用于设置电堆;盖板装置包括支撑平板和设置于支撑平板上的密封装置,所述支撑平板上开设有若干个通孔,两个所述支撑平板之间通过螺栓固定连接,将所述电堆压紧于两个支撑平板之间;支撑平板的一侧开设有进液孔和出液孔。通过,上述结构,在支撑平板与电堆之间加设了一个密封装置,该密封装置能够一定的程度的加强密封效果,防止电解液从电池组中流出,导致电解液从电堆与支撑平板之间缝隙流出。

单兵氢能源装置

NºPublicación:  CN224036373U 24/03/2026
Solicitante: 
北京空航航空科技有限公司
CN_224036373_U

Resumen de: CN224036373U

本实用新型提供了一种单兵氢能源装置,包括依次连接的储水罐、水泵、一个或者多个并联的反应发生器、缓冲罐以及单兵氢氧燃料电池,所述储水罐用于加水,所述水泵用于将水传输到反应发生器;所述反应发生器内放置有氢转换材料,用于与水反应后产生氢气;所述缓冲罐用于贮存和消减生成氢气传输过程的压力波动;所述氢氧燃料电池将生成的氢气与氧气反应,为单兵配置的作战设备提供电能。该实施方式通过加水与反应发生器内的氢转换材料反应产生氢气,氢气可以即产即用,降低了氢气运输和储存的风险。相较于加氢站来说,能够大幅提高机动性和灵活性,可在野外环境为单兵氢氧燃料电池提供氢气。

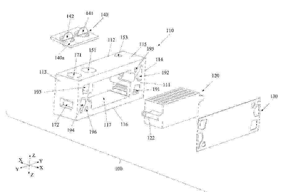
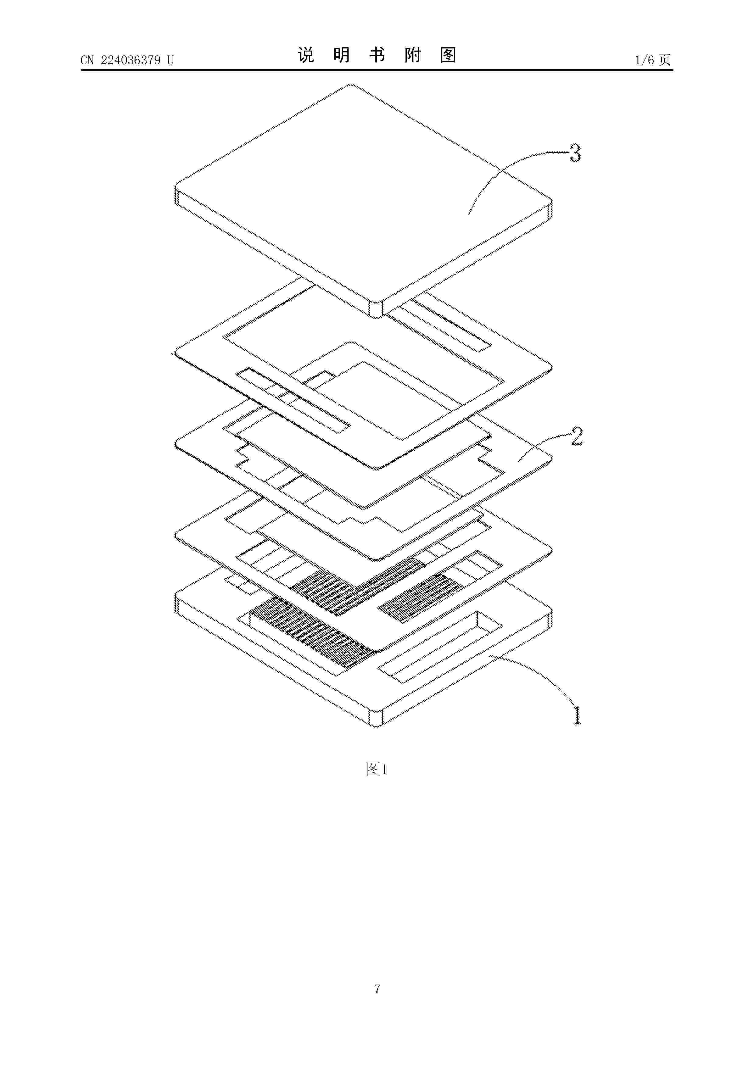
一种电堆装配结构

NºPublicación:  CN224036379U 24/03/2026
Solicitante: 
常州翌晶氢能科技有限公司
CN_224036379_U

Resumen de: CN224036379U

本实用新型公开了一种电堆装配结构,包括:燃料侧端板、空气侧端板和电堆重复单元,一组或多组电堆重复单元堆叠装配在燃料侧端板和空气侧端板之间;电堆重复单元包括第一堆叠层、第二堆叠层和第三堆叠层,多组电堆重复单元之间设置有连接体。本实用新型,一组或多组电堆重复单元堆叠装配在燃料侧端板和空气侧端板之间,而多组电堆重复单元之间则设置有连接体,整体装配结构无须金属框架即可实现单池或多池的密封,有效降低了与框架厚度相匹配的集流网厚度,有效降低了装配成本并提高了整体稳定性。

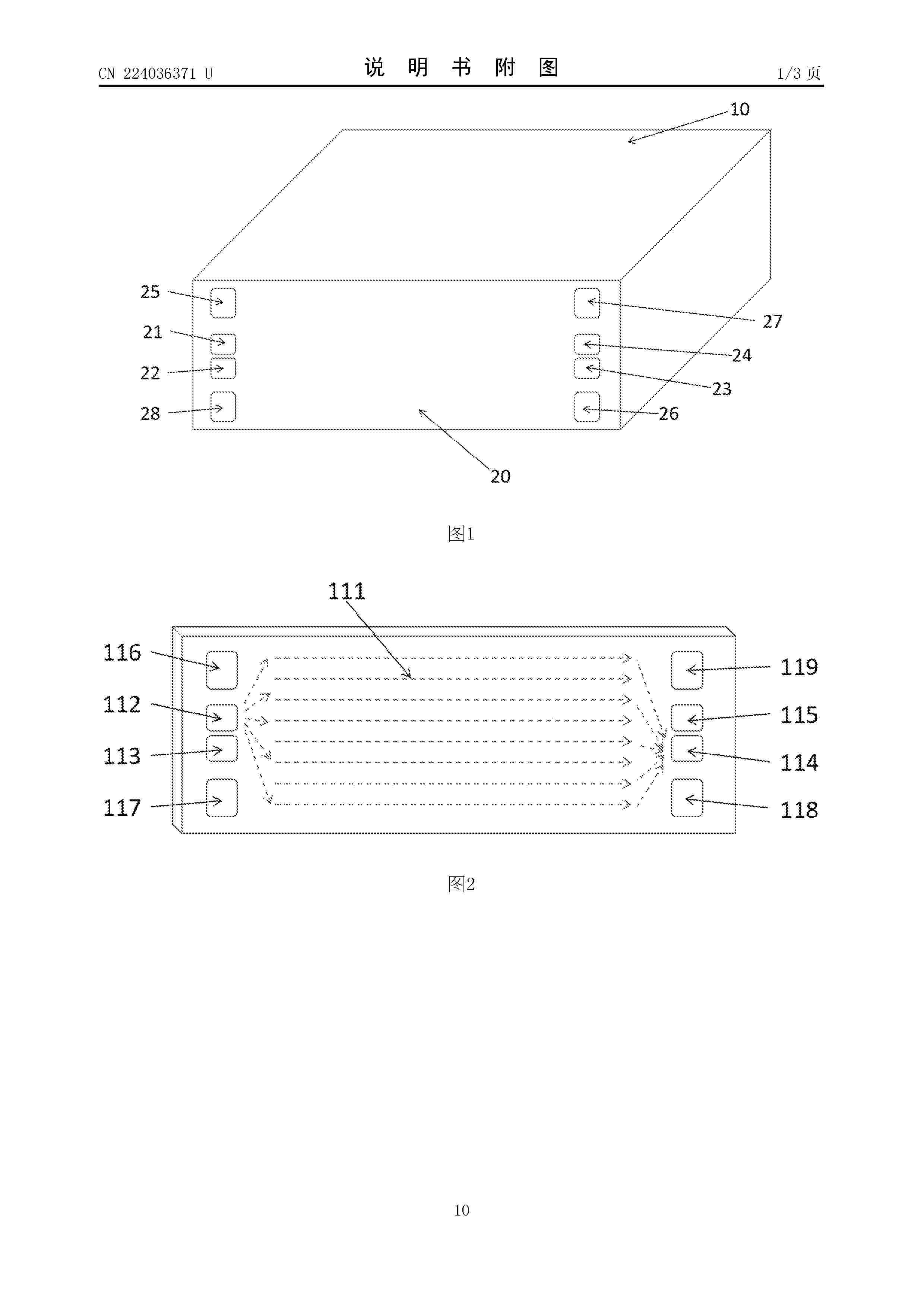
一种热能自适应循环燃料电池电堆结构

NºPublicación:  CN224036371U 24/03/2026
Solicitante: 
深圳市氢瑞燃料电池科技有限公司深圳市雄韬电源科技股份有限公司
CN_224036371_U

Resumen de: CN224036371U

本申请涉及一种热能自适应循环燃料电池电堆结构,包括电堆本体以及设置于所述电堆本体一端的配气端;所述配气端的一端设置有第一冷却路进口和第二冷却路出口,所述配气端的另一端设置有第一冷却路出口和第二冷却路进口;所述电堆本体包括交替设置的第一双极板和第二双极板;所述第一冷却路进口通过所述第一双极板的第一冷却路流场与所述第一冷却路出口连通形成第一冷却路;所述第二冷却路进口通过所述第二双极板的第二冷却路流场与所述第二冷却路出口连通形成第二冷却路;所述第一冷却路的流动方向与所述第二冷却路的流动方向相反。本申请能实现电堆内部热能的自适应循环,有效均匀反应区的温差,提高电堆性能的一致性和寿命。

一种燃料电池金属极板及其镀层加工工艺

NºPublicación:  CN121718873A 24/03/2026
Solicitante: 
中国重汽集团济南动力有限公司
CN_121718873_PA

Resumen de: CN121718873A

本发明涉及燃料电池金属极板技术领域,具体涉及一种燃料电池金属极板及其镀层加工工艺,包括如下步骤:(1)在燃料电池金属极板表面沉积Me,形成Me打底层;(2)在Me打底层上沉积MexC1‑x,形成第一功能层;(3)对燃料电池金属极板的反应区进行掩板遮罩,在第一功能层上对应分配区的位置沉积DLC:H/DLC:F,形成第二功能层。本发明在燃料电池金属极板表面沉积Me打底层,增强膜基结合力;在Me打底层上沉积Me和C梯度共沉积的第一功能层,增强基体的耐腐蚀性能和导电性能;使用掩板遮罩反应区,对分配区沉积第二功能层,能够使极板在反应区拥有良好导电性的同时,提升基体分配区的疏水特效,间接提升了耐腐蚀性能。

一种壳聚糖基两性离子膜及其制备方法和应用

NºPublicación:  CN121718178A 24/03/2026
Solicitante: 
广西师范大学
CN_121718178_PA

Resumen de: CN121718178A

本发明公开了一种壳聚糖基两性离子膜及其制备方法和应用。该薄膜具有由两性离子化壳聚糖衍生物化学交联网络与聚乙烯醇物理交联网络构成的互穿网络结构。所述两性离子化壳聚糖衍生物是通过对壳聚糖主链进行梯度季铵化、选择性氧化引入羧基以及二次季铵化引入额外阳离子基团而制得。其制备方法包括:制备壳聚糖季铵盐前驱体,分别进行氧化和二次季铵化改性,将两种改性产物混合化学交联,再与聚乙烯醇物理交联成膜。本发明薄膜兼具高离子电导率(室温OH‑电导率20‑150 mS cm‑1)、高机械强度(断裂伸长率>120%)和良好的化学稳定性,且原料成本低、工艺简单,在二氧化碳电催化还原、液流电池等领域具有广阔应用前景。

一种燃料电池的双极板结构

NºPublicación:  CN121726441A 24/03/2026
Solicitante: 
国鸿氢能科技(嘉兴)股份有限公司
CN_121726441_PA

Resumen de: CN121726441A

本发明属于燃料电池技术领域,提供一种燃料电池的双极板结构,在双极板板体上设有气体进口区、气体出口区、气体分配区和气体流场区,所述气体分配区和气体流场区设于所述气体进口区与所述气体出口区之间,所述气体分配区设于所述气体流场区的两侧。本申请的燃料电池的双极板结构,其对气体分配区和气体流场区的结构进行优化设计,使得气体经过气体分配区时能及时打散并扩散开来,确保进入流场区时气体分布更加的均匀;同时使得气体在流经气体流场区时产生气体波动,增加气体的传质效果,进而提高整个燃料电池电堆的工作性能。

铜片-石墨复合双极板的制备方法、双极板及液流电池

NºPublicación:  CN121726439A 24/03/2026
Solicitante: 
湖南耕驰新能源科技有限公司
CN_121726439_A

Resumen de: CN121726439A

本发明提供了一种铜片‑石墨复合双极板的制备方法、双极板及液流电池,该双极板由铜片与石墨复合层经注塑工艺复合而成。其制备方法包括对铜片表面经预处理、质子化、硅烷水解液反应等处理,得到表面接枝硅烷化的铜片;制作石墨树脂复合材料;将表面接枝硅烷的铜片放入模具型腔,并将石墨树脂复合材料注入模具,注塑成型得到铜片‑石墨复合一体化双极板。由此制备的双极板有效解决了金属石墨复合双极板现有技术难以同时实现的强度提升与降低接触电阻的平衡技术问题,且耐电解液腐蚀性优异,可广泛应用于液流电池双极板精密制造技术领域。

一种全钒液流储能厂房的排氢系统

NºPublicación:  CN121726453A 24/03/2026
Solicitante: 
上海勘测设计研究院有限公司
CN_121726453_PA

Resumen de: CN121726453A

本申请实施例提供了一种全钒液流储能厂房的排氢系统,全钒液流储能厂房中放置有全钒液流电池,全钒液流电池在运行时产生氢气,全钒液流储能厂房的排氢系统通过设置与全钒液流电池连接的氢气收集管路与排放组件进行直接导排,并通过在全钒液流储能厂房顶部安装检测清理组件实时监测氢气浓度,联动排气风机根据浓度切换运行状态以实现按需排风,共同构成了双重排氢路径。此外,通过第一驱动机构驱动氢气检测件伸缩及第二驱动机构在其回缩时进行擦拭,保障了氢气浓度数据的准确性。在显著提升安全性的同时优化了运行能效。

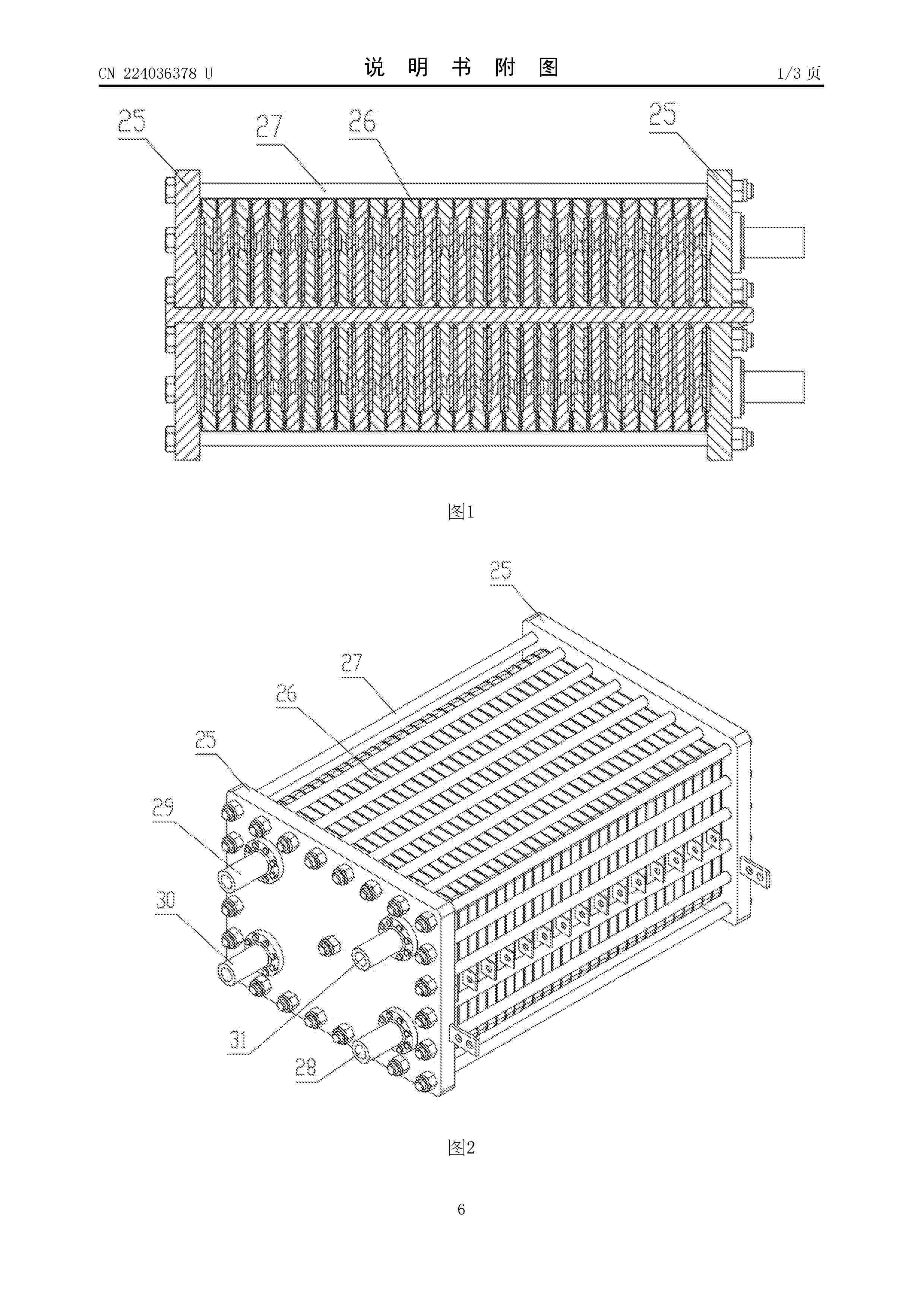
一种电解液生产用电堆装置

NºPublicación:  CN224036378U 24/03/2026
Solicitante: 
辽宁兰陵易电工程技术有限公司
CN_224036378_U

Resumen de: CN224036378U

本实用新型属于全钒液流电池技术领域,尤其涉及一种电解液生产用电堆装置,其特征在于,包括端夹板和膜反应单元,两个端夹板之间叠装排列有多组膜反应单元并通过螺栓连接固定,膜反应单元包括双向集流电极板、正极板、负极板和隔膜,电极区域内居中设有一个压力平衡孔,压力平衡孔周边设有承压台;液流孔上分别设有液流导向台,液流导向台的侧边设有贯穿孔,贯穿孔与电极区域内的导槽凹槽相连通;一个端夹板上与液流孔对应的位置至少设有正极液流进管、正极液流出管、负极液流进管、负极液流出管中的任意两个。本实用新型的优点是:有效地减少了板片叠加后的尺寸,使产品的制作成本显著降低,提高了全钒液流电池电解液生产的效能。

电堆加湿系统

NºPublicación:  CN224036374U 24/03/2026
Solicitante: 
特嗨氢能检测(保定)有限公司
CN_224036374_U

Resumen de: CN224036374U

本实用新型涉及燃料电池技术领域,具体提供了一种电堆加湿系统。本实用新型的电堆加湿系统包括加湿单元,尾排单元,以及向加湿单元供入气体的供气单元;加湿单元和尾排单元分别连通电堆的进气口和排气口,且尾排单元和供气单元之间连通有循环管路;由供气单元供入的气体被加湿单元加湿后进入电堆,电堆排出的尾气进入尾排单元,且尾排单元能够分离出尾气中的水分,并将分离水分的气体通过循环管路输送至供气单元。本实用新型的电堆加湿系统,通过尾排单元的分离处理,可重新得到用于加湿的气体,并循环输送至供气单元后再次用于加湿使用,有利于节省用于电堆加湿的气体的消耗量。

一种电池散热结构

NºPublicación:  CN224036372U 24/03/2026
Solicitante: 
深圳市氢瑞燃料电池科技有限公司
CN_224036372_U

Resumen de: CN224036372U

本实用新型公开一种电池散热结构,包括无人机和设置于所述无人机内的电池;所述无人机包括机身本体、多个机翼和顶盖;多个所述机翼均匀设置于所述机身本体远离所述顶盖的一面上;所述机身本体内设置有容置腔,所述容置腔的底部设置有集气腔,所述集气腔分别与每个所述机翼连通设置;所述电池设置于所述容置腔内;所述顶盖盖合于所述容置腔的顶部。本申请结构简单,拆装方便,便于维护,稳定性较好,经济安全实用,在不改变无人机结构的基础上,利用飞行扇叶飞行时的风进行散热,达到既能散热又能减轻重量的目的,能够大大提高无人机装载电池的散热性能,可以应用于燃料电池和动力电池中,很好的满足实际使用的需要。

一种氨燃料SOFC发电系统

NºPublicación:  CN224036377U 24/03/2026
Solicitante: 
浙江氢邦科技有限公司
CN_224036377_U

Resumen de: CN224036377U

本实用新型涉及发电设备技术领域,具体公开了一种氨燃料SOFC发电系统,包括:燃料供应及处理子系统,用于提供氨燃料并对氨燃料进行预热和裂解;空气供应子系统,用于提供空气并对空气进行预热;燃烧供热子系统,作为燃料燃烧的场所及向燃料供应及处理子系统和空气供应子系统供热;SOFC电堆子系统,作为发生电化学反应的场所;和电能转换子系统,用于将SOFC电堆子系统中产生的电流进行电源类型转换及储存。该系统所用燃料都是氨燃料,无需其他甲烷辅助气体,也不是氨水,无需氨水汽化的步骤,节约能耗,整个发电系统结构简单,发电效率高,原料的利用率高。

PI-原位功能化双金属MOF/磷酸质子交换膜及制备方法、水系有机液流电池

NºPublicación:  CN121726460A 24/03/2026
Solicitante: 
西安热工研究院有限公司华能罗源发电有限责任公司
CN_121726460_PA

Resumen de: CN121726460A

本公开提供一种PI‑原位功能化双金属MOF/磷酸质子交换膜及制备方法、水系有机液流电池。制备方法包括在极性溶剂中依次加入二胺单体和二酐单体搅拌反应,形成黏稠聚酰胺酸纺丝液;将纺丝液进行静电纺丝处理得到PAA纤维膜;将PAA纤维膜进行梯度升温亚胺化得到PI静电纺丝纤维膜;对PI静电纺丝纤维膜进行等离子体预处理,得到表面活化的PI静电纺丝纤维膜,采用溶剂热原位生长法将磺化改性双金属MOF反应液与PI静电纺丝纤维膜置于反应釜中反应,得到PI@磺化改性双金属MOF复合纤维膜;将PI@磺化改性双金属MOF复合纤维膜浸入含硅烷偶联剂的磷酸溶液中浸泡处理,再经热压致密化和干燥处理,得到PI原位功能化双金属MOF/磷酸复合质子交换膜。

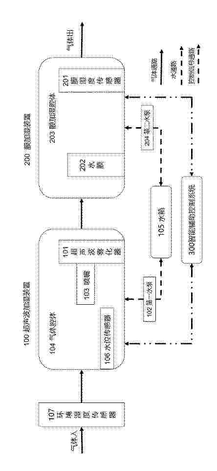
一种用于燃料电池的加湿装置及其使用方法

NºPublicación:  CN121726445A 24/03/2026
Solicitante: 
合肥综合性国家科学中心能源研究院(安徽省能源实验室)
CN_121726445_PA

Resumen de: CN121726445A

本发明公开一种用于燃料电池的加湿装置及其使用方法,属于燃料电池技术领域。所述用于燃料电池的加湿装置包括双重加湿系统,所述双重加湿系统包括一次加湿装置和二次加湿装置,一次加湿装置输出的一次加湿气体经过二次加湿装置进一步加湿后排出所述双重加湿系统。本发明的用于燃料电池的加湿装置采用超声波加湿结合膜加湿的方法,形成一种双重加湿系统,超声波加湿装置用于提供用于气体使用的大容量湿气,膜加湿装置负责在相对稳定的条件下提供对加湿效果进行精确调节。

一种固体氧化物燃料电池及其制备方法

NºPublicación:  CN121726458A 24/03/2026
Solicitante: 
福赛尔(武汉)集成有限公司
CN_121726458_PA

Resumen de: CN121726458A

本申请涉及一种固体氧化物燃料电池及其制备方法,包括:片体基板,固定在片体基板正反两面的第一电池单体和第二电池单体;第一电池单体和第二电池单体均包括依次层叠连接的多孔支撑层、阳极功能层、电解质层和阴极功能层;片体基板连接于第一电池单体的多孔支撑层和所述第二电池单体的多孔支撑层之间;片体基板上开设有分隔槽,分隔槽与第一电池单体和第二电池单体之间共同形成燃料气流道。本申请接入燃料气的管路可与燃料气流道接通后,燃料气只在燃料气流道内流动,该燃料气流道具有良好的密封性能。且多孔支撑层、阳极功能层、电解质层和阴极功能层均为逐层印刷成型的平面片体,制作难度小,便于工业化大规模制作,降低生产成本。

一种船用燃料电池与制氮集成系统及其操作方法

NºPublicación:  CN121726454A 24/03/2026
Solicitante: 
中科嘉鸿(佛山市)新能源科技有限公司
CN_121726454_PA

Resumen de: CN121726454A

本申请公开了一种船用燃料电池与制氮集成系统及其操作方法,涉及船舶动力与辅助领域。系统包括高温甲醇燃料电池系统与制氮机,燃料电池系统的阴极排气口通过第一管路与制氮机的原料气进气口连通,制氮机的富氧气排放口通过第二管路与燃料电池系统的阴极进气口连通,还包括中央控制器以协同控制设备运行。方法包括启动预热系统至满足反应条件,稳定运行后,将阴极高浓度氮气尾气经第一管路送制氮机作原料气,制氮机分离出高纯度氮气供船舶使用,同时产生富氧气体,富氧气体经第二管路回送燃料电池阴极作氧化剂,中央控制器根据实时工况动态调控。本发明通过气体循环利用,提升燃料电池输出功率密度与电压效率,降低制氮机能耗与分离负荷。

一种集成分水器的燃料电池歧管结构

NºPublicación:  CN224036383U 24/03/2026
Solicitante: 
氢质氢离(北京)氢能科技有限公司
CN_224036383_U

Resumen de: CN224036383U

本实用新型涉及燃料电池领域,具体为一种集成分水器的燃料电池歧管结构,其包括:歧管;分水器,设置在歧管上,歧管上的氢出口与分水器内腔连通,分水器顶部设置出口和接头;滤板,设置在分水器内腔中,滤板下方形成储水区,上方形成分水区;挡板,设置在分水器内腔内且位于滤板上方;以及盖板,设置在分水器上用来密封分水器内腔。本实用新型将分水器集成在歧管上,提高歧管集成度,设计优化燃料电池发动机布置,使得发动机整体更加紧凑。将分水器靠近歧管氢出口,通过合理设计分水器的容积以及挡板结构,提高了分水器的分水效率,提升了电堆性能。将分水器集成在歧管上,免去了分水器单独的采购,降低了成本,同时也简化了装配。

电解液储罐及液流电池系统

NºPublicación:  CN224036370U 24/03/2026
Solicitante: 
泓曜绿色能源发展(江苏)有限公司
CN_224036370_U

Resumen de: CN224036370U

本实用新型公开了一种电解液储罐及液流电池系统,其中,一种电解液储罐包括:罐体,所述罐体靠近顶部位置处设有进液口,所述罐体靠近底部位置处设有出液口;进液管组,所述进液管组包括:与进液导管、分液主管、若干环绕所述分液主管轴向分布的分液支管、以及向下延伸的匀流管,所述匀流管的侧面设有若干间隔分布的布液孔,电解液从所述布液孔中喷出后产生冲击力作用于罐内电解液以形成搅拌作用;以及,出液管。本实用新型能够对罐体内电解液形成搅拌作用,从而使得电解液在罐体内分布的更加均匀,同时布液孔的设置也可以使电解液在垂直方向上更加均匀的分布,从而有效地缓解电解液浓度梯度和温度梯度,进而提高液流电池系统的稳定性。

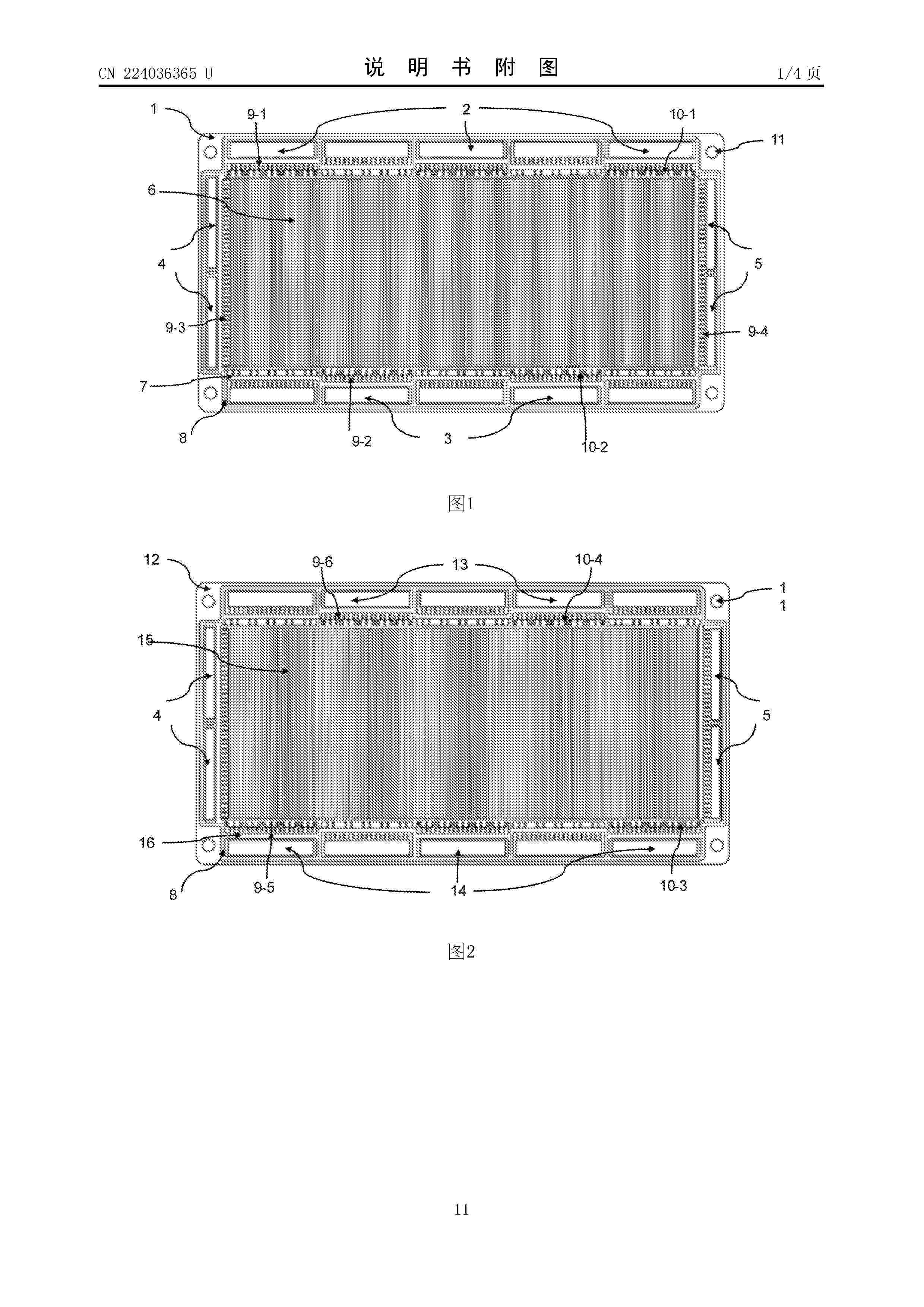
一种质子交换膜燃料电池金属双极板

NºPublicación:  CN224036365U 24/03/2026
Solicitante: 
华中科技大学
CN_224036365_U

Resumen de: CN224036365U

本实用新型公开了一种质子交换膜燃料电池金属双极板,包括阳极单板、阴极单板、覆于极板上的密封条,阳极单板和阴极单板上分别设置有阳极流场通道和阴极流场通道,阳极单板和阴极单板之间的空腔形成冷却剂流场通道;本实用新型针对传统平行流场冷却性能差以及长流道压降大导致空压机功耗大的问题,阴极流场流道采用垂直波浪流场结构和短流道形式,使该流道内压降更低,从而降低空压机的功耗损失,提升了电化学反应活性,同时增加冷却剂与流道的接触面积,实现了更好的热管理。

一种双向集流电极板

NºPublicación:  CN224036362U 24/03/2026
Solicitante: 
辽宁兰陵易电工程技术有限公司
CN_224036362_U

Resumen de: CN224036362U

本实用新型属于全钒液流电池技术领域,尤其涉及一种双向集流电极板,包括板体,在板体的两侧表面中部设有一个用于与电极接触的电极区域,板体的四角设有四个电解液通过孔,四个电解液通过孔之间的电极区域内设有导流凹槽,所述板体的电极区域的表面下凹形成容纳电极的空间,其内设有至少一个压力平衡孔,压力平衡孔周边设有承压台,承压台上设有环形的密封沟槽。与现有技术相比,本实用新型的有益效果是:1)通过在板体的电极区域中间设置压力平衡孔,使板体受力更均匀,有效减少在多片电极板叠加施压后,因板体变形造成的泄漏问题,有助于改善酸性电解液对环境的腐蚀问题;2)板体变形小,可以明显提高全钒液流电池电解液生产的效能。

一种燃料电池振动幅度自适应调节方法及系统

Nº publicación: CN121723428A 24/03/2026

Solicitante:

南京工程学院

CN_121723428_PA

Resumen de: CN121723428A

本发明涉及燃料电池技术领域,揭露了一种燃料电池振动幅度自适应调节方法及系统,所述方法包括:基于燃料电池的实时运行状态数据,建立振动幅度与燃料电池运行状态的关联映射关系;根据关联映射关系,确定燃料电池在最优运行状态下的基准振幅参数范围;将燃料电池的当前振动幅度参数与基准振幅参数范围进行偏差比对,并根据比对结果,确定振幅调节方向和振幅调节量,动态调整当前振动幅度参数,得到调整后振动幅度参数;当调整后振动幅度参数符合基准振幅参数范围时,将调整后振动幅度参数传输至燃料电池;本发明可以提高燃料电池振动幅度的自适应调节效率。

traducir