Ministerio de Industria, Turismo y Comercio LogoMinisterior
 

Alerta

Resultados 226 resultados
LastUpdate Última actualización 26/12/2025 [07:20:00]
pdfxls
Solicitudes publicadas en los últimos 30 días / Applications published in the last 30 days
previousPage Resultados 175 a 200 de 226 nextPage  

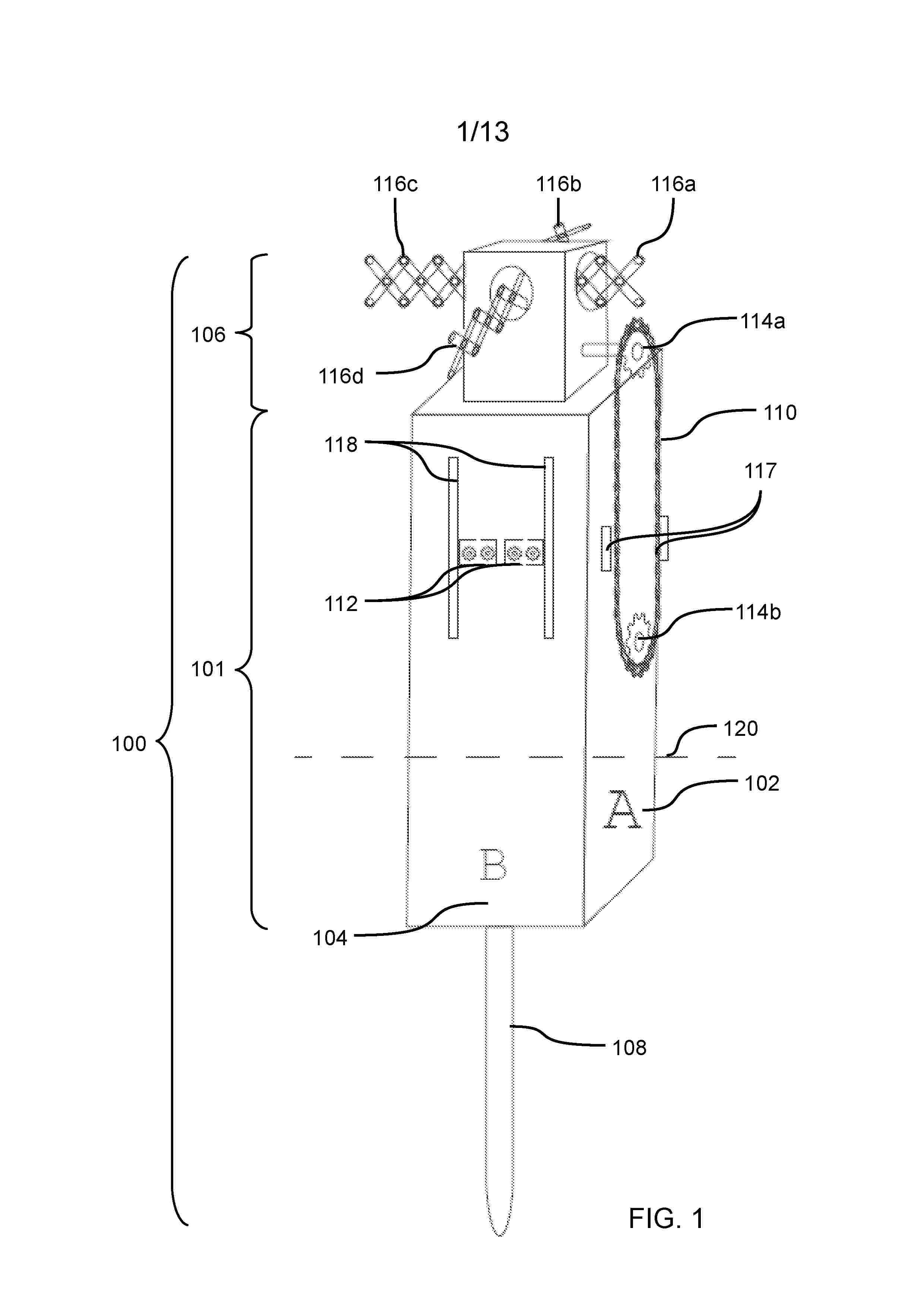
SELF-DEPLOYING TETHERED BALLAST SYSTEM FOR A WAVE ENERGY CONVERTER

NºPublicación:  WO2025230892A1 06/11/2025
Solicitante: 
UNIV OF MASSACHUSETTS [US]
UNIVERSITY OF MASSACHUSETTS
WO_2025230892_PA

Resumen de: WO2025230892A1

The present disclosure proposes a unique self-deploying ballast system (18) for a small wave energy converter that will fit within the cylindrical housing (12) of a common Class A- Type sonobuoy (10) creating an integrated system that can be deployed in a conventional manner by aircraft. The present design replaces established "bucket and flaps" designs for a folding umbrella-like design, which utilizes arms (24, 26) which fold out twice to provide maximum possible surface area while still being able to be compactly folded up in order to fit seamlessly into the bottom end of a conventional sonobuoy housing (12).

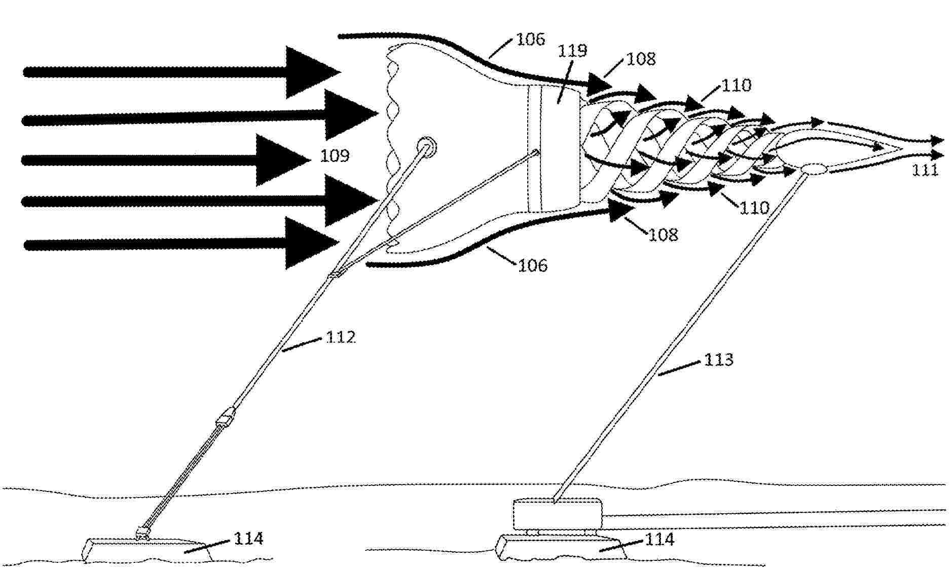
HORIZONTALLY-ORIENTED CONICAL-HELICAL HYDROKINETIC TURBINE

NºPublicación:  US2025341197A1 06/11/2025
Solicitante: 
HATCH TANK LLC [US]
HATCH TANK LLC
US_2025341197_PA

Resumen de: US2025341197A1

A fully-submerged multi-stage Horizontally-oriented Conical-helical Hydrokinetic Turbine that captures water stream flows (river, tidal, deep ocean currents) and funnels this kinetic-rich concentrated flow into a conical turbine system consisting of a rotating arrangement of helical hydrofoil blades wherein the internal stream is forced to exit out through the frustum turbine blade assembly. With a higher Capacity Factor and Power Coefficient than conventional renewables, this turbine is designed to be an environmentally friendly baseload electricity generator to meet the ever-increasing electricity demands.

WAVE ENERGY CONVERSION SYSTEM WITH CAPITULATING BODIES AND NOVEL INSTALLATION

NºPublicación:  AU2024240054A1 06/11/2025
Solicitante: 
IYER NARAYAN R
IYER, Narayan R
AU_2024240054_PA

Resumen de: AU2024240054A1

The invention introduces a wave energy conversion system that utilizes the kinetic energy of water body waves, transforming it into usable energy. The system is innovatively designed with two buoyant bodies that, through their multi-dimensional non-parallel arrangement, form a recess optimized for capturing wave energy from. One of the system's distinctive features is its capacity to passively modify the relative orientation of the buoyant bodies, to become more parallel, in response to large wave forces, which serves to maintain stability under varying sea conditions. Concurrently, the system boasts advancements in the realm of installation and maintenance, presenting a streamlined approach that significantly alleviates the challenges traditionally associated with deploying and upkeeping marine energy converters. These aspects together underscore the system's novel contributions to enhancing the operational efficiency and sustainability of wave energy conversion technology.

FLOATING OFFSHORE STRUCTURE AND FLOATING OFFSHORE POWER GENERATION APPARATUS HAVING SAME

NºPublicación:  US2025341202A1 06/11/2025
Solicitante: 
HYUNDAI HEAVY IND CO LTD [KR]
HYUNDAI HEAVY INDUSTRIES CO., LTD
US_2025341202_PA

Resumen de: US2025341202A1

A floating offshore structure of the present disclosure includes: a plurality of columns; and a plurality of pontoons installed at lower ends of the columns, respectively, wherein a polygonal shape is formed by an imaginary line connecting the columns, the pontoons are installed inside the polygonal shape, a cross-sectional area in a direction parallel to sea level of the pontoons is greater than or equal to the cross-sectional area in the direction parallel to the sea level of the columns, and the pontoons may have a shape protruding outward at the lower ends of the columns.

FLOATING OFFSHORE STRUCTURE AND FLOATING OFFSHORE POWER GENERATION APPARATUS HAVING SAME

NºPublicación:  US2025341203A1 06/11/2025
Solicitante: 
HYUNDAI HEAVY IND CO LTD [KR]
HYUNDAI HEAVY INDUSTRIES CO., LTD
US_2025341203_PA

Resumen de: US2025341203A1

A floating offshore structure of the present disclosure includes: a plurality of columns; and a plurality of pontoons installed at lower ends of the columns, respectively, wherein a polygonal shape is formed by an imaginary line connecting the columns, the pontoons are installed inside the polygonal shape, a cross-sectional area in a direction parallel to sea level of the pontoons is greater than or equal to the cross-sectional area in the direction parallel to the sea level of the columns, and the pontoons may have a shape protruding outward at the lower ends of the columns.

CHEMICAL COLLECTION AND PROCESSING VESSEL AND METHODS FOR FLUID TRANSFER AT SEA

NºPublicación:  US2025340275A1 06/11/2025
Solicitante: 
LONE GULL HOLDINGS LTD [US]
Lone Gull Holdings, Ltd
US_2025340275_PA

Resumen de: US2025340275A1

Embodiments disclosed herein include a vessel for floating and traveling adjacent to an upper surface of a body of water. In an embodiment, the vessel comprises a support structure, a first floatation chamber coupled to the support structure, a second floatation chamber coupled to the support structure, the second floatation chamber laterally spaced apart from and fluidly coupled to the first floatation chamber, and a third floatation chamber coupled to the support structure, the third floatation chamber laterally spaced apart from the first floatation chamber and from the second floatation chamber. In an embodiment, the vessel further comprises a robot system coupled to the support structure, where the robot system comprises an end effector and a nozzle head coupled to the end effector.

WAVE SWELL ENERGY CAPTURE INFRASTRUCTURE

NºPublicación:  EP4643008A1 05/11/2025
Solicitante: 
HALL JR GEORGE B [US]
Hall Jr., George B
US_2024287959_PA

Resumen de: US2024287959A1

Example methods, apparatuses, and/or articles of manufacture are disclosed herein that may be utilized, in whole or in part, to facilitate and/or support one or more operations and/or techniques for wave swell energy capture infrastructure, such as implemented, in whole or in part, via utilization of an energy conversion apparatus.

도관의 가역적 결합을 위한 방법 및 시스템

NºPublicación:  KR20250158050A 05/11/2025
Solicitante: 
론걸홀딩스엘티디
AU_2024232160_PA

Resumen de: AU2024232160A1

Methods and systems are provided for transient fluidic coupling via reversibly couplable conduits. In one example, a method includes directing a conduit assembly to a receiving port by releasing one or more fluid streams from the conduit assembly. The method may further include fluidly coupling an internal passage of the conduit assembly to the receiving port. The internal passage may extend from the conduit assembly and along a conduit between a pair of free-floating bodies, such as between a wave engine and a tanker ship, so as to exchange one or more fluids, such as an electrolysis reactant and an electrolysis product. The fluidic coupling may be reversible, in that the conduit assembly may be detached from the receiving port to sever the fluidic coupling. In certain examples, the detaching may be actuated by releasing one or more additional fluid streams from the conduit assembly.

Captador flotante de energía marina

NºPublicación:  ES1323874U 05/11/2025
Solicitante: 
CASTILLA VILET JOSE [ES]
CASTILLA VILET, Jos\u00E9

FLOATING VARIABLE LEVERAGE PUMP

NºPublicación:  EP4642559A1 05/11/2025
Solicitante: 
BLUEDESAL INC [US]
Bluedesal Inc
CN_120712134_PA

Resumen de: MX2025007477A

Systems and methods for operation and assembly of a floating variable leverage pump are provided. The floating variable leverage pump includes a first floating vessel pivotally coupled to a second floating vessel along an axis. Both the first floating vessel and the second floating vessel are configured to oscillate about the axis. The floating variable leverage pump includes a pump including a first end pivotally coupled to a first fulcrum of the first floating vessel, and a second end pivotally coupled to a second fulcrum of the second floating vessel. The pump is positioned (i) perpendicular to the axis and (ii) in an area between the first floating vessel and the second floating vessel. Displacement of at least one of the first floating vessel or the second floating vessel causes actuation of the pump.

一种三体波浪能动力艇

NºPublicación:  CN223508462U 04/11/2025
Solicitante: 
首船(福建)科技发展有限公司

Resumen de: CN223508462U

本实用新型提供的一种三体波浪能动力艇,包括主船体、侧船体、下甲板、气动推进器、海浪能采集机构以及发电机构,主船体上安装有下甲板,侧船体设置有两组,呈左右对称设置在下甲板底部,气动推进器安装在侧船体的尾部,海浪能采集机构设置有多组,布设在主船体的两侧侧壁上,海浪能采集机构用于将海浪能转化为高压气体,海浪能采集机构采集的高压气体用于发电机构以及气动推进器供能;三船体的设置能够使得水流从主船体和侧船体间的间隙向后流出,既能够减少主船体船头收到的水的阻力,同时能够作用在海浪能采集机构中,通过海浪能采集机构将采集的海浪能转化为高压气体,同时为发电机构以及气动推进器功能,能够最大程度上对海浪能进行利用。

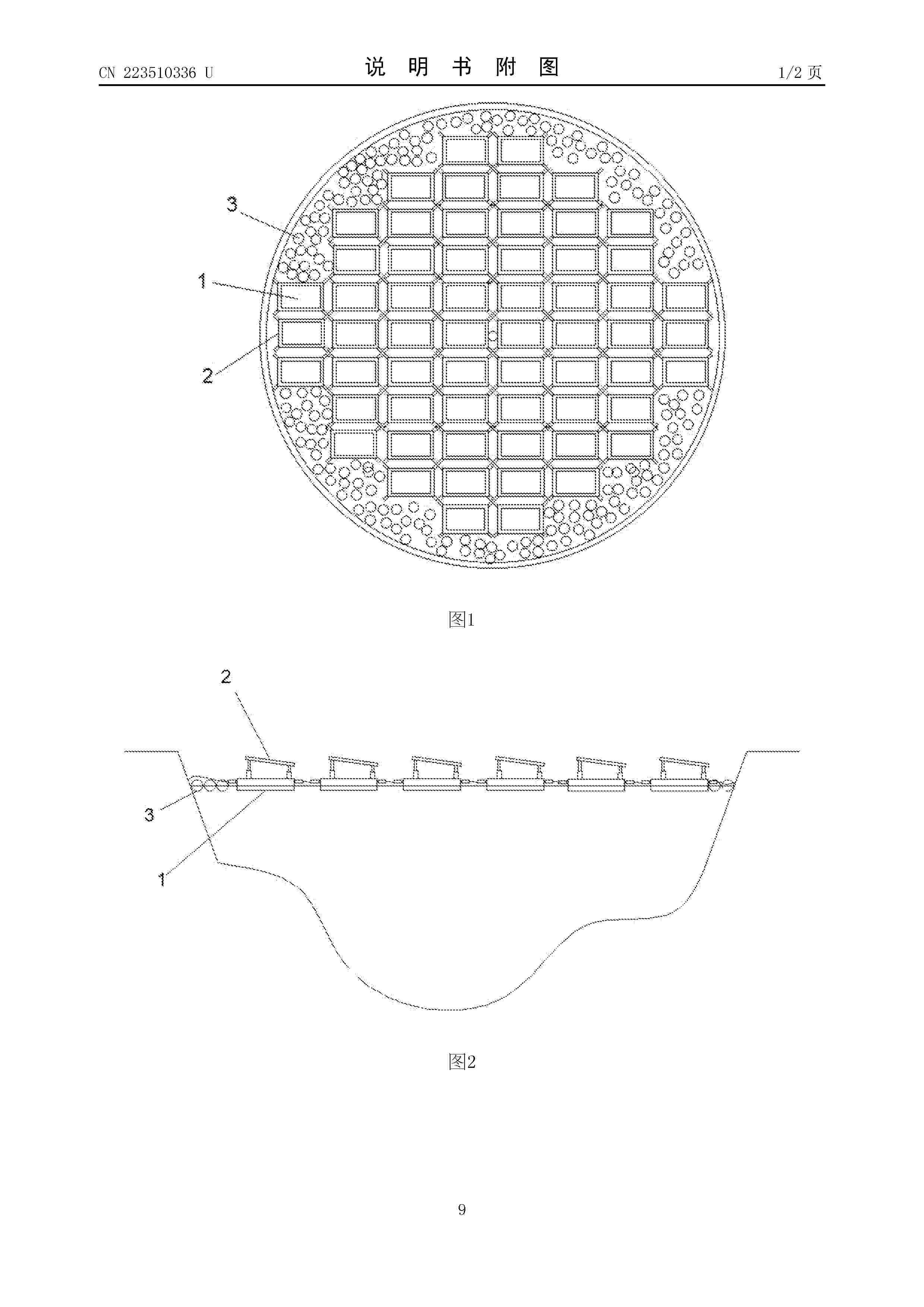
一种适用抽水蓄能电站的水库无效蒸发生态化抑制装置

NºPublicación:  CN223510336U 04/11/2025
Solicitante: 
国网新源集团有限公司国网新源控股有限公司西北开发建设分公司
CN_223510336_U

Resumen de: CN223510336U

本实用新型公开了一种适用抽水蓄能电站的水库无效蒸发生态化抑制装置,包括漂浮单元,漂浮单元设置有多个,多个所述漂浮单元相互连接漂浮并覆盖于水库水面上;光伏板,每个所述漂浮单元上方均安装有光伏板;浮球,所述浮球漂浮于水库水面上,并且浮球置于多个所述漂浮单元之间缝隙处。本实用新型采用太阳能光伏板铺设在水库水面上来防止太阳直射水面,减少水面蒸发量,降低水库水面蒸发,延库岸周边及局部光伏板缝隙采用橡胶球浮在水面上,进一步遮挡太阳直射光,减少水米那蒸发量,不仅可以克服以往方法的不足,还可以产生巨大的经济和社会效益。

一种深海热液发电装置

NºPublicación:  CN120896474A 04/11/2025
Solicitante: 
上海海洋大学
CN_120896474_PA

Resumen de: CN120896474A

本发明公开了一种深海热液发电装置,包括热液喷口,提供高温热液作为能量源;基于热液喷口提供持续向上的热面温度场;滞留罩,设置于热液喷口上方形成滞留空间,用于容纳喷发热液,以延长热液滞留时间和扩大热影响范围;所述滞留罩包括罩体、镶嵌在罩体上的热电模块;其中:热电模块包括2个接触面,分别为热面和冷面,热面朝向热液喷口的热液、冷面接触深海海水,通过温差驱动产生电能;电压转换模块,电连接各热电模块,用于集中处理热电模块产生的电能并输出稳定电压,电压转换模块通过电缆连接至数据采集终端,用于实现对热液喷口区域的原位观测数据采集及存储。

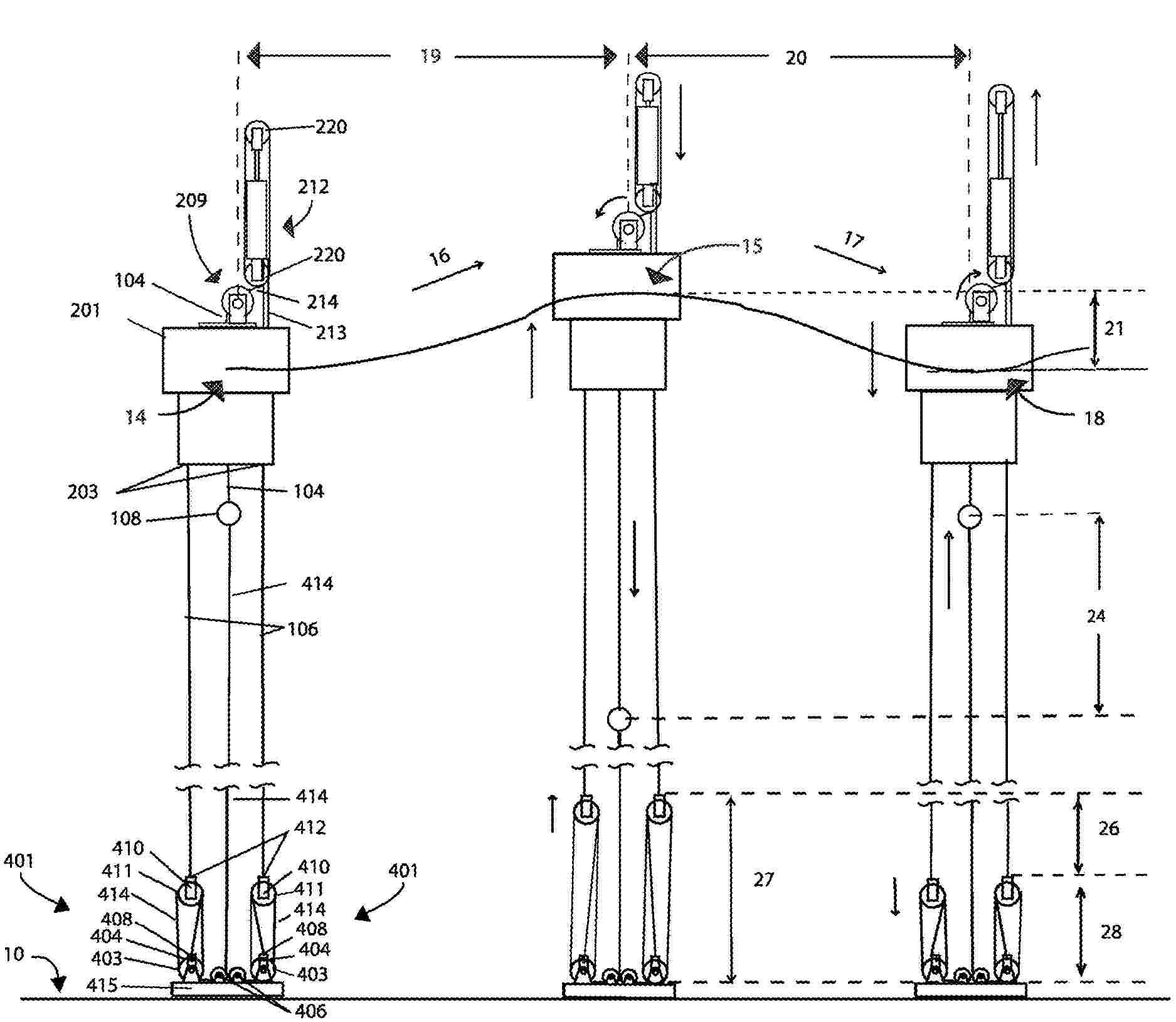
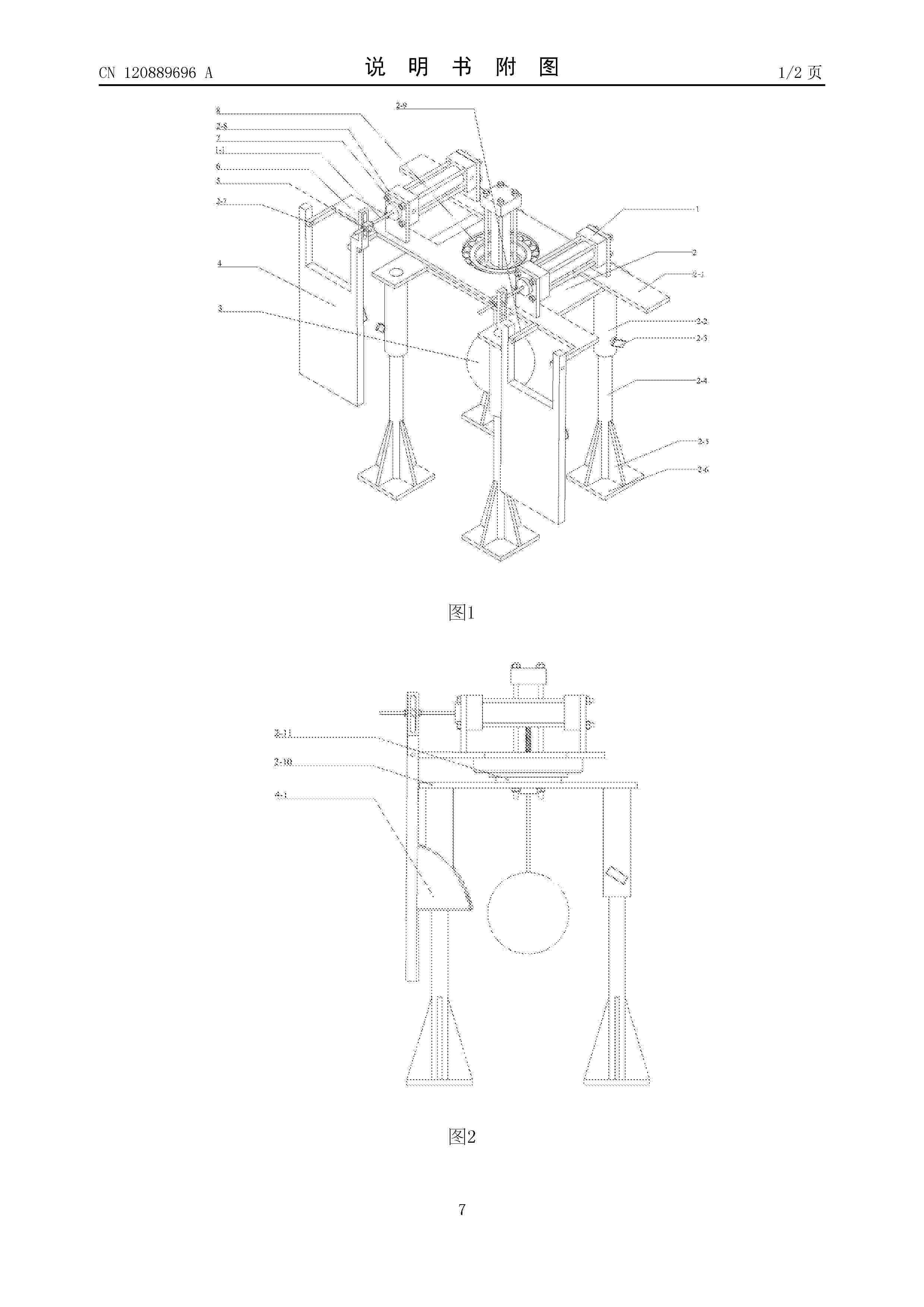
一种自适应波向的双向波浪能高效转换装置

NºPublicación:  CN120889696A 04/11/2025
Solicitante: 
西南科技大学
CN_120889696_A

Resumen de: CN120889696A

本发明解决传统波浪能装置转换效率低的问题,提供一种自适应波浪能转换装置。该装置由能量转换系统、俘能系统和搭载平台组成;其中,搭载平台所包含的支撑平台在鱼鳍尾翼驱动下随波向自转动,使波浪板正交横向波浪;俘能系统下的球形浮子捕获纵向波浪能,波浪板捕获横向波浪能;能量转换系统下的创新液压模块采用弹珠点接触加双级滑动密封圈降低摩擦损耗,摩擦阻力可降低39.3%,并引入预压弹簧实现波谷阶段压缩储能,波峰阶段释放弹力增加冲程。通过弹簧增加冲程和自适应机构,能量转换效率提升20%以上,适用于低密度波浪环境。

一种波浪能驱动的海岸带漂浮垃圾自动收集装置

NºPublicación:  CN120889250A 04/11/2025
Solicitante: 
海南省海洋地质调查院

Resumen de: CN120889250A

本发明公开了一种波浪能驱动的海岸带漂浮垃圾自动收集装置,涉及海岸带漂浮垃圾收集技术领域,包括收集桶、大滤网孔、小滤网孔和内置盘,所述收集桶的中部设置有外滤网架,且外滤网架的中部安装有内滤网架,所述小滤网孔环形开设于内滤网架的内部,所述大滤网孔环形开设于外滤网架的内部,所述外滤网架的内侧滑动安装有辅助桶。该波浪能驱动的海岸带漂浮垃圾自动收集装置,通过辅助组件的设计,能够对重力作用转送至收集框内部的漂浮物进行挤压处理,通过挤压能够对漂浮物中携带的海水进行挤出的同时还能够对漂浮物进行压缩,挤压之后的水能够从带有排水孔的盖板排出,不仅便于使用者进行收集,还能够节省收集框内部的占用空间。

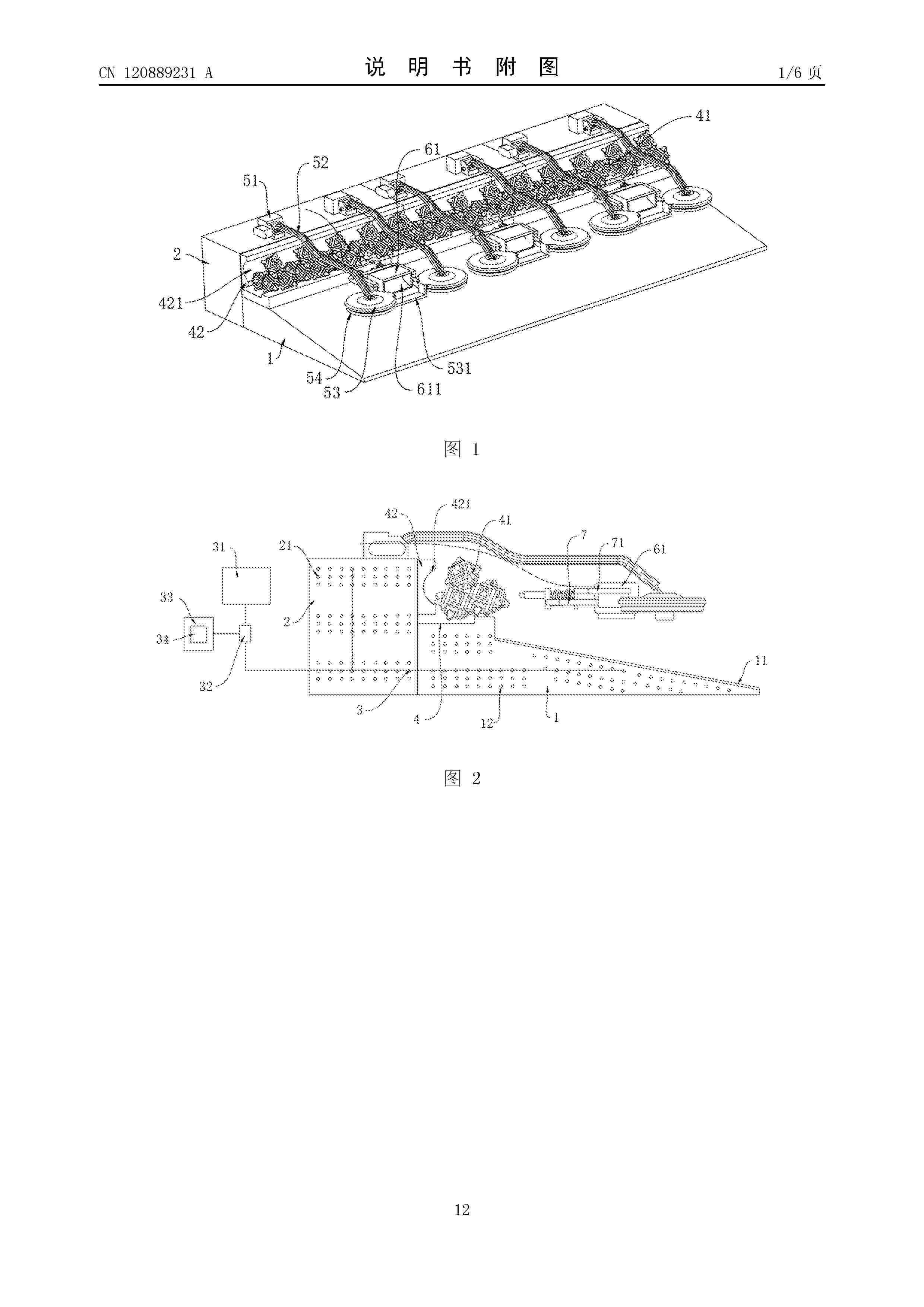
抗盐雾腐蚀的港口钢混组合防波堤结构及施工方法

NºPublicación:  CN120889231A 04/11/2025
Solicitante: 
江苏筑港建设集团有限公司
CN_120889231_A

Resumen de: CN120889231A

本发明公开抗盐雾腐蚀的港口钢混组合防波堤结构及施工方法,涉及防波堤技术领域。该抗盐雾腐蚀的港口钢混组合防波堤结构包括斜坡基础结构、钢混组合直立墙、电化学保护单元、防波区、第一消浪发电单元和第二消浪发电单元,内部预埋有第一耐候钢骨架,钢混组合直立墙内部预埋有第二耐候钢骨架。该抗盐雾腐蚀的港口钢混组合防波堤结构将耐候钢‑混凝土组合结构、实时阴极保护监控与波浪能发电集成于一体,在提高防波堤抗盐雾腐蚀寿命的同时,还通过防波区和两种消浪发电单元结合,多形式组合降低波浪强度,把波浪能转化为电力。

一种波浪能发电与海水淡化一站式系统

NºPublicación:  CN120889697A 04/11/2025
Solicitante: 
广东海洋大学
CN_120231684_PA

Resumen de: CN120231684A

The invention discloses a wave power generation and sea water desalination one-stop system which is characterized in that a wave power generation device, a supercharging device, a hydraulic energy storage and release device and a sea water desalination device are sequentially connected, and the functions of wave power generation, sea water supercharging, hydraulic energy storage and sea water desalination are integrated into the same system, so that multifunctional one-stop utilization is realized; the technical problem of low seawater resource utilization efficiency caused by lack of joint coordination ability among existing seawater resource utilization devices is solved.

SELF-CONTAINED HIGH-ENERGY-DENSITY COMPUTING SYSTEMS, AND METHODS OF USE

NºPublicación:  MX2025011803A 03/11/2025
Solicitante: 
OCEANBIT INC [US]
OCEANBIT INC
AU_2024252001_PA

Resumen de: MX2025011803A

Self-contained blockchain mining and high-energy-density computing systems have a low temperature heat engine (LTHE) with a working fluid loop extended between a heat source and a heat sink; a biockchain mining device connected to receive electricity generated from the LTHE; a heat exchanger on the working fluid loop; and a coolant loop extended between the blockchain mining device and the working fluid loop (heat exchanger). A self-contained high-energy-density computing data center (HEDC) system is disclosed comprising: a low temperature heat engine (LTHE) with a working fluid loop extended between a heat source and a heat sink; an HEDC device connected to receive electricity generated from the LTHE; a heat exchanger on the working fluid loop; and a coolant loop extended between the HEDC device and the working fluid loop (heat exchanger). A method is also disclosed comprising: generating electricity using a low temperature heat engine (LTHE); operating an HEDC device, using electricity generated by the LTHE, to carry put computer processes; and cooling the HEDC device by heat exchange with working fluid of the LTHE.

Harvesting energy from wave motion

NºPublicación:  IL312162A 01/11/2025
Solicitante: 
SWE [IL]
SWE
IL_312162_A

Resumen de: WO2025219996A1

An energy harvesting system for converting wave motion into mechanical energy, the system including a plurality of floating modules configured to float on a body of water, at least one side of a first floating module includes a unidirectional engagement mechanism configured to interact with a rotational mechanism included in a side of a second, neighboring floating module to produce rotational motion of a pulley in the second floating module, wherein the unidirectional engagement mechanism of the first floating module and the rotational mechanism of the second floating module are arranged so that vertical relative motion between the first floating module and the second floating module causes rotation of the rotational mechanism of the second floating module, thereby converting the vertical motion into mechanical energy of rotation. Related apparatus and methods are also described.

一种船载摆动发电系统

NºPublicación:  CN120867939A 31/10/2025
Solicitante: 
中国科学院广州能源研究所
CN_120867939_PA

Resumen de: CN120867939A

本发明涉及船舶工程技术领域,尤其涉及一种船载摆式发电系统。在本发明中,当船舶未航行时,处于初始状态,此时摆杆呈垂直状态,永磁体位于轨道的最低位置;当船舶在航行时,受波浪作用整船产生沿浪方向的摇摆。轨道与船舶一起做摇摆运动,永磁体偏离了垂直方向。在重力的作用下,永磁体回归至新的铅垂方向的位置。在这个过程中,永磁体与轨道之间的相对位置发生了变化。线圈切割永磁体的磁力线,线圈内部产生了电流,实现了发电的效果。本发明利用船舶自身摇摆驱动摆杆摆动,以实现发电的效果,满足船舶用电需求、减少对环境的污染以及有效利用船舶运动中的能量,充分利用船舶航行中在波浪作用下产生的机械能,将其转化为电能。

海浪发电柔性网箱

NºPublicación:  CN120858916A 31/10/2025
Solicitante: 
海南艾锐奥科技有限公司
CN_120858916_PA

Resumen de: CN120858916A

本发明提供了一种海浪发电柔性网箱,涉及深远海养殖技术领域,具体包括箱中浮架、发电组件和浮架组件,箱中浮架和浮架组件连接构成水滴形外轮廓,水流能够更顺畅地绕流,减少涡流和阻力峰值,从而有效降低水流载荷,在经受波浪冲击时,可通过铰接点进行摆动,从而卸载波浪负荷,箱中浮架和浮架组件之间相对转动,带动发电机的驱动端转动,将波浪机械能转化为电能,实现自供电或储能,提升能源自给能力,且发电机在转动过程中还能够提供阻尼力,吸收并分散了波浪冲击能量,避免结构局部应力集中,从而延长海浪发电网箱的寿命,进而提升了在恶劣海况下的适应性,还能够将波浪机械能转化为电能,对风浪的抵抗效果优异,造价低廉。

一种基于耦合梁结构的波浪能收集装置

NºPublicación:  CN120867937A 31/10/2025
Solicitante: 
赵兴庄
CN_120867937_PA

Resumen de: CN120867937A

本发明涉及波浪能收集技术领域,尤其涉及一种基于耦合梁结构的波浪能收集装置。该装置由外壳、支撑系统和耦合梁系统组成,耦合梁系统包括内梁子系统、外梁子系统及耦合弹簧。当装置漂浮在水面上时,波浪作用使外壳产生浮动和摆动,激励内外梁异步振动,外梁磁体与内梁线圈产生相对运动,在线圈中产生感应电动势并输出电能,实现波浪能向电能的转换。装置具有低频宽频带响应特性,磁体与线圈采用非接触式布置,无机械传动损耗,且无活动部件直接与水接触,可靠性高。该装置可单机使用,也可通过点状、线状或面状阵列部署,适用于不同规模的海洋波浪能收集。

一种海水直接冷却的温差发电核动力潜航器

NºPublicación:  CN120863845A 31/10/2025
Solicitante: 
哈尔滨工程大学
CN_120863845_PA

Resumen de: CN120863845A

本发明属于核能开发和高效能量转换技术领域,尤其涉及一种海水直接冷却的温差发电核动力潜航器,包括:金属壳体,内部设置有堆芯;传热组件,蒸发段设置在堆芯内;热电转换组件,与传热组件的冷凝段连接,热电转换组件用于将传热组件传递的热能转换为电能并储存在电能管理系统中;散热组件,设置在金属壳体上,热电转换组件设置在散热组件内部,散热组件通过与外界的海水对流换热来对热电转换组件进行冷却。本发明利用流动的海水直接冷却温差热电转换装置,温差发电装置阵列在无需任何旋转机械的情况下持续输出电能。整个能量转换链路无阀门启闭、无旋转部件,显著降低了装置的可探测性,可为隐蔽航行提供了可靠的能源保障。

一种浮式波浪能发电装置

NºPublicación:  CN120867936A 31/10/2025
Solicitante: 
湖南科技大学三亚研究院
CN_120867936_PA

Resumen de: CN120867936A

本发明涉及波浪发电技术领域,尤其涉及一种浮式波浪能发电装置,包括能量捕获系统、发电系统和转向系统;波浪聚能整流罩通过倒置喇叭形结构在波峰时聚集波浪形成向上加速水流并挤压空气,形成有序上升气流,配合顶部的倒立锥形的空气聚能整流罩,形成向上加速气流;在波谷时形成向下水流,同时在装置内部产生局部负压,配合顶部的空气聚能整流罩,形成有序向下的气流;第一沉井式气流/水流发电机利用双向气流或水流驱动发电,第二沉井式气流/水流发电机在另一侧气流通道内由双向气流驱动发电;转向系统的偏航轴承与风叶共同驱动第二发电机导管随风向偏转以优化气流方向,加速气流或水流流动。该装置能实现波浪能的高效转换与稳定电能输出。

一种水路航道界限标

Nº publicación: CN223494718U 31/10/2025

Solicitante:

湖北长泽船舶重工有限公司

CN_223494718_U

Resumen de: CN223494718U

本实用新型涉及一种水路航道界限标,包括浮架、支撑筒及发电件,浮架设有主支块,主支块上连接有至少一个副支块;支撑筒连接于主支块上;发电件包括浮力驱动件、牵引绳及发电机,浮力驱动件转动连接在副支块上;牵引绳一端与浮力驱动件连接;发电机连接于支撑筒内,且牵引绳另一端与发电机连接。本申请的技术方案有益技术效果:将本装置放置在水中,浮架浮在水面上。当水面存在波浪时,浮力驱动件运动,从而带动牵引绳移动,牵引绳带动发电机发电。因此,本装置在无阳光照射的情况下,能在波浪的带动下进行发电。有效解决了现有技术容易在连续出现无阳光照射的情况下,很容易出现电量不足,导致指示灯不亮的问题。

traducir