Ministerio de Industria, Turismo y Comercio LogoMinisterior
 

Alerta

Resultados 226 resultados
LastUpdate Última actualización 26/12/2025 [07:20:00]
pdfxls
Solicitudes publicadas en los últimos 30 días / Applications published in the last 30 days
previousPage Resultados 200 a 225 de 226 nextPage  

一种双稳态折纸仿海蟒波浪能发电装置

NºPublicación:  CN223498035U 31/10/2025
Solicitante: 
湖南大学江苏省无锡交通高等职业技术学校
CN_223498035_U

Resumen de: CN223498035U

本实用新型公开了一种双稳态折纸仿海蟒波浪能发电装置,包括锚定部,所述锚定部包括浮漂;装置头部,所述装置头部与锚定部通过锚定线相连;储能部,所述储能部一端与装置头部相连;身体部,所述身体部一端与储能部的另一端相连;其中,身体部由多节Kresling折纸结构串联组成,所述折纸结构上设有摩擦纳米发电装置。具有可增大摩擦纳米发电装置不同两摩擦层的有效接触面积,有效解决将不稳定的波浪能转换为稳定输出的电能的问题,提高发电效率的优点。

基于多发电场景耦合的多自由度波浪能发电装置

NºPublicación:  CN120867938A 31/10/2025
Solicitante: 
中国电建集团贵阳勘测设计研究院有限公司
CN_120867938_PA

Resumen de: CN120867938A

本发明公开了基于多发电场景耦合的多自由度波浪能发电装置,涉及波浪能发电技术领域,本申请通过海浪产生的扭力,从而对转动盘施加压力带动内部齿轮机械发电机进行发电,此外,通过海水平面上下起伏或海浪冲击力使得传动箱摇摆从而带动机箱和传动箱之间设置的调节组件运动,带动与发电机相连接的传动轴和传动轮转动,从而实现发电,通过上述过程,本装置实现了至少两个发电场景耦合(洋流的推力、海浪冲击力、海水平面起伏高度差)、上下段不同自由度(不同平面利用波浪能)、不同维度(海浪的作用方向)地利用波浪能发电,且这些发电模式相互耦合又彼此独立互不影响,可以根据海洋情况独立发电也能相互叠加,使得发电效率得到了大幅提高。

Pneumatic energy storage wave power generation apparatus

NºPublicación:  KR20250155862A 31/10/2025
Solicitante: 
김기선김정숙

Resumen de: KR20250155862A

본 발명은 공압에너지 저장 파력 발전장치에 관한 것으로서, 더욱 상세하게는 수면에 떠있는 부유탱크가 파도의 상하 운동에 의해 승강되는 압축실린더를 작동시킬 수 있고, 상기 압축실린더에 의해 압축되는 공기가 고압의 압축 공기로 변환되어 저장할 수 있는 공압에너지 저장 파력 발전장치에 관한 것이다. 본 발명의 일 실시 예에 따른 공압에너지 저장 파력 발전장치는 파도의 상하운동 에너지를 이용해서 동력을 얻는 파력 발전장치에 있어서, 메인프레임과, 상기 메인프레임 높이방향으로 부유롤러를 따라 승강(昇降)되는 부유탱크와, 상기 부유탱크와 이격되게 배치되는 균형부재와, 일측이 상기 부유탱크에 연결되고 타측이 상기 균형부재에 연결되되 상기 메인프레임에 고정된 복수의 도르래를 따라 움직이는 링크부, 및 상기 메인프레임에 일측이 고정되되 상기 도르래의 회동에 따라 타측이 피스톤이 승강되는 압축실린더를 포함하고, 상기 압축실린더에 의해 압축되는 공기가 상기 부유탱크에 저장되어 공압에너지를 생성할 수 있다.

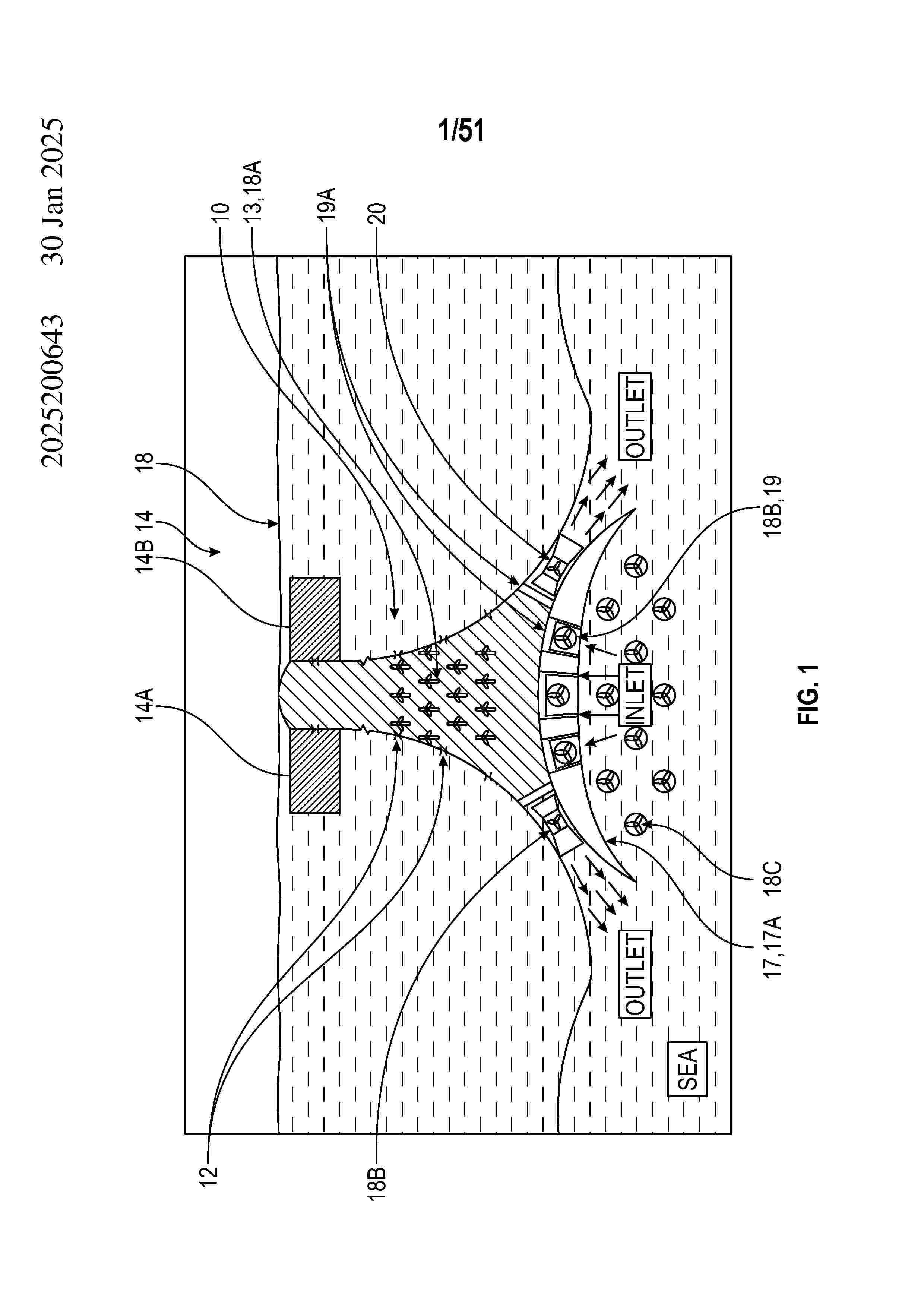
POWER AMPLIFICATION, STORAGE AND REGENERATION SYSTEM AND METHOD USING TIDES, WAVES AND/OR WIND

NºPublicación:  CA3262507A1 31/10/2025
Solicitante: 
MATHERS HYDRAULICS TECH PTY LTD [AU]
MATHERS HYDRAULICS TECHNOLOGIES PTY LTD
AU_2025200643_A1

Resumen de: AU2025200643A1

Methods, systems and apparatuses including systems and methods that can be used for operating a water turbine in combination with a system including a plurality of tidal estuaries and flow channels created by human activity for power generation and further including plurality of man-made dams communicating with at least some of the tidal estuaries and the flow channels. Methods, systems and apparatuses including systems and methods that can be used for operating a water turbine in combination with a system including a plurality of tidal estuaries and flow channels created by human activity for power generation and further including plurality of man-made dams communicating with at least some of the tidal estuaries and the flow channels. an a n e t h o d s , s y s t e m s a n d a p p a r a t u s e s i n c l u d i n g s y s t e m s a n d m e t h o d s t h a t c a n b e u s e d f o r o p e r a t i n g a w a t e r t u r b i n e i n c o m b i n a t i o n w i t h a s y s t e m i n c l u d i n g a p l u r a l i t y o f t i d a l e s t u a r i e s a n d f l o w c h a n n e l s c r e a t e d b y h u m a n a c t i v i t y f o r p o w e r g e n e r a t i o n a n d f u r t h e r i n c l u d i n g p l u r a l i t y o f m a n - m a d e d a m s c o m m u n i c a t i n g w i t h a t l e a s t s o m e o f t h e t i d a l e s t u a r i e s a n d t h e f l o w c h a n n e l s ,1 ,1 ,1 13,18A of & d 17,17A 18C 18B,19 an a n , + + + , ,

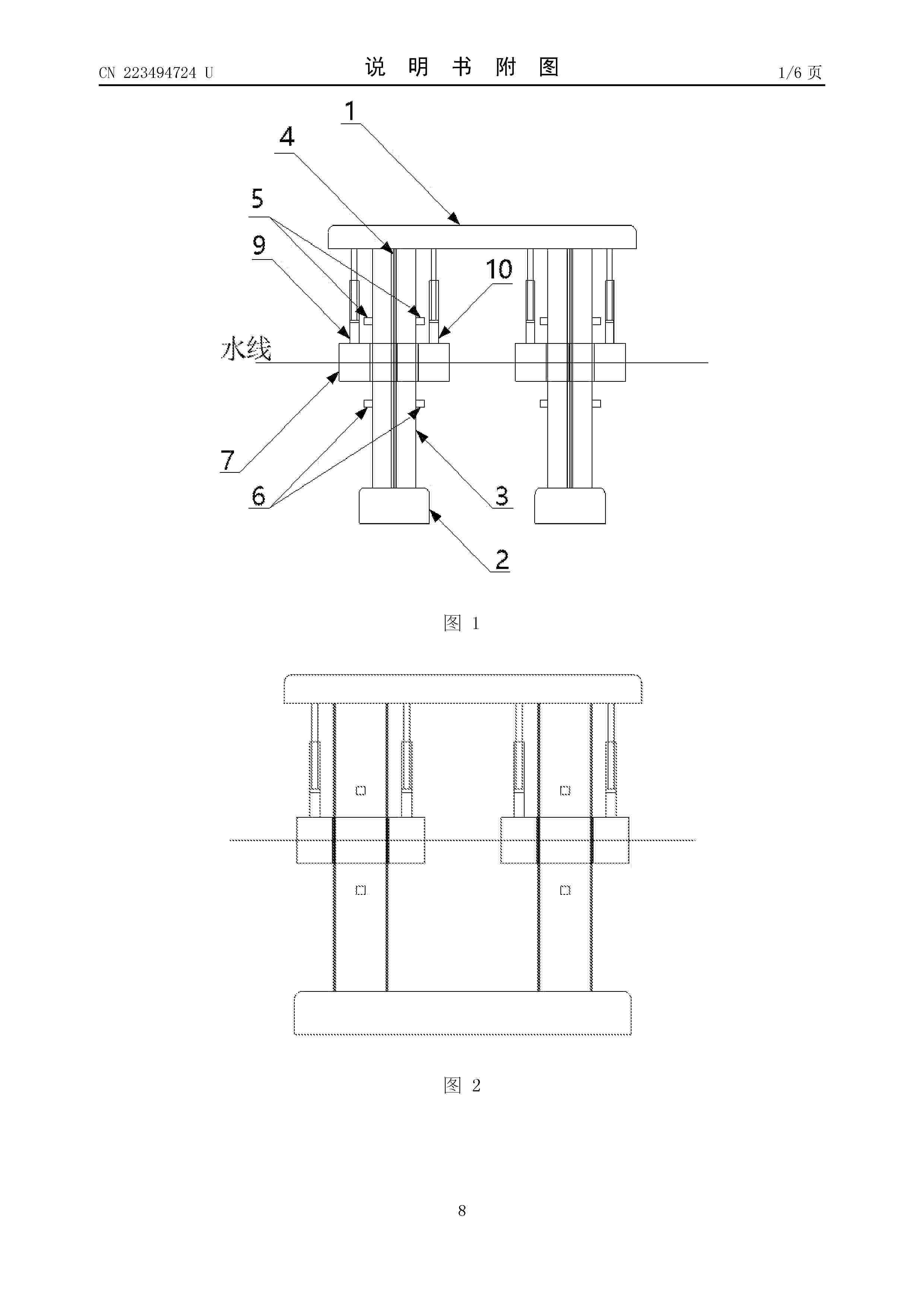
一种含波浪能发电功能的半潜式海洋平台

NºPublicación:  CN223494724U 31/10/2025
Solicitante: 
中国石油化工股份有限公司中国石油化工股份有限公司胜利油田分公司
CN_223494724_U

Resumen de: CN223494724U

本实用新型涉及半潜式海洋平台和波浪能发电技术领域,提出一种含波浪能发电功能的半潜式海洋平台,包括半潜式海洋平台,所述半潜式海洋平台设有立柱,所述立柱上设有轴向滑动配合的浮体,所述浮体与半潜式海洋平台之间连接有液缸总成,所述液缸总成的入油口和出油口设置为一个油口,所述油口通过单向液压管路分别与液压能量转换系统和液压油箱连通;本实用新型实现了利用清洁的波浪能为海洋平台供电,减少了海洋平台由于利用化石能源供给而产生的环境污染问,并节约了能源利用成本。

一种自供能海洋垂直生态养殖系统及方法

NºPublicación:  CN120858906A 31/10/2025
Solicitante: 
东莞理工学院
CN_120858906_PA

Resumen de: CN120858906A

本发明提供了一种自供能海洋垂直生态养殖系统,包括圆形的养殖仓,养殖仓具有多个沿竖直方向设置的多个养殖层,养殖仓具有多个支撑杆,多个支撑杆相对于养殖仓等角度的设置,在每个养殖层的底部设置有圆弧形的连接杆,所述养殖系统还包括设置于每个支撑杆顶端的发电装置,发电装置包括固定在养殖层的FRP型材上的发电机和设置于发电机的转轴上的叶轮,叶轮位于所述支撑杆内,每个支撑杆的在靠近下部的位置处设置有多个第一通孔以便于海水能够进入到支撑杆内,同时在最上方的一组连接杆的至少部分上设置有第二通孔;当支撑杆内的海水高度发生变化时,支撑杆上端的气体的流动能够带动叶轮的转动进而实现发电。

Hybrid Bifurcating Wave Energy Converter

NºPublicación:  US2025334095A1 30/10/2025
Solicitante: 
ALLIANCE FOR SUSTAINABLE ENERGY LLC [US]
Alliance for Sustainable Energy, LLC
US_2025334095_PA

Resumen de: US2025334095A1

A hybrid bifurcating wave energy converter (WEC) is described. The hybrid bifurcating WEC may be capable operating in various orientations with various degrees of rigidity and/or flexibility. The amount of rigidity or flexibility may be based on the intended mode of operation and the intended operational environment. In some embodiments, the hybrid bifurcating WEC may utilize distributed embedded energy converter technologies and folding, origami-like mechanics. In this way, the overall shape, form, and function of the hybrid bifurcating WEC may be governed by a structure with hinges, bends, and/or joints with the ability to fold and unfold in some embodiments being controlled by the distribution and embedding of many relatively small energy converters (i.e., generators).

IMPROVED WAVE ENERGY GENERATOR

NºPublicación:  WO2025222256A1 30/10/2025
Solicitante: 
NEWBURY JAMES [AU]
NEWBURY, James
WO_2025222256_A1

Resumen de: WO2025222256A1

A energy generator assembly for installation in an aquatic environment, the generator assembly comprising: a hollow and elongate impeller extending between two ends, the impeller comprising a cylindrical impeller body with an outer surface and an inner surface defining an internal volume comprising a radially central hollow region to allow fluid to flow between the two ends wherein the inner surface comprises a plurality of fluid flow directing vanes extending axially along the length of the inner surface, said vanes projecting radially towards said central hollow region wherein the vanes are arranged to induce rotation of the impeller during flow of fluid between the two ends of the hollow impeller.

HYBRID TIDAL AND WAVE POWER GENERATION DEVICE

NºPublicación:  WO2025225812A1 30/10/2025
Solicitante: 
WHANG YONG AN [KR]
\uD669\uC6A9\uC548
WO_2025225812_PA

Resumen de: WO2025225812A1

According to the present invention, a plurality of buoy levers (104a, 104b) for wave power generation and front and rear variable wings (105a, 105b) for tidal power generation are interlocked in one direction, by an interlocking gear unit (103) that connects a driving shaft (102) of a power generator (101) and interlocking shafts (103a, 103b), to synergistically combine wave power and tidal power energy in the one power generator (101), thus making it possible to achieve hybrid power generation that maximizes efficiency at low cost. In particular, a mooring power generation facility is designed as a wave-resistant structure in which buoys and the power generator (101) are only partially exposed above the sea surface, and thus can safely generate power even in the presence of strong typhoons and rough waves.

CURRENT-TRANSIENT-ENHANCED TRIBOELECTRIC NANOGENERATOR FOR COLLECTING WAVE ENERGY

NºPublicación:  WO2025222537A1 30/10/2025
Solicitante: 
JIANGSU UNIV OF SCIENCE AND TECHNOLOGY [CN]
\u6C5F\u82CF\u79D1\u6280\u5927\u5B66
WO_2025222537_PA

Resumen de: WO2025222537A1

Disclosed in the present invention is a current-transient-enhanced triboelectric nanogenerator for collecting wave energy, comprising a hollow insulating spherical shell. A plurality of rolling ball type triboelectric nanogenerator assemblies capable of generating current under the drive of waves in any direction are arranged at the middle lower part in a spherical shell cavity, and a triggering assembly is arranged at the upper part in the spherical shell cavity. The plurality of rolling ball type triboelectric nanogenerator assemblies are connected in parallel and then are connected to an electric load outside the spherical shell to form a power supply loop, and the triggering assembly is connected in series on the power supply loop and achieves instantaneous closing and opening of the loop under the drive of waves, thereby instantaneously enhancing the current generated by the plurality of rolling ball type triboelectric nanogenerator assemblies. The present invention solves the problems in the prior art of a failure of normal starting or working of devices caused by excessively low current generated by triboelectric nanogenerators and a failure of continuous current generation due to the impact of motion directions of low-frequency waves.

SUBMERGED MACHINE

NºPublicación:  WO2025224370A1 30/10/2025
Solicitante: 
SARMIENTO MEDINA JUAN [ES]
SARMIENTO MEDINA, Juan
WO_2025224370_PA

Resumen de: WO2025224370A1

The invention relates to a submerged machine, which can be coupled, for example, to the hull (0) of a watercraft, which comprises a body (1) in contact with the outside, below the waterline, connected to a rod (3) that can move through a chamber (4) to generate work, and wherein the body (1) comprises a second rod (5) connected to a damper (6) with a variable damping coefficient. The damper may be based on a magnetic hydraulic liquid.

UNDERWATER/ABOVE-WATER FLOATING WAVE POWER PLANT

NºPublicación:  WO2025226142A1 30/10/2025
Solicitante: 
SHOLANOV KORGANBAY SAGNAYEVICH [KZ]
ISSAYEVA ZHAZIRA RAKHATDINOVNA [KZ]
ALIMKHAN YERKEZHAN ARMANKYZY [KZ]
\u0428\u041E\u041B\u0410\u041D\u041E\u0412, \u041A\u043E\u0440\u0433\u0430\u043D\u0431\u0430\u0439 \u0421\u0430\u0433\u043D\u0430\u0435\u0432\u0438\u0447,
\u0418\u0421\u0410\u0415\u0412\u0410, \u0416\u0430\u0437\u0438\u0440\u0430 \u0420\u0430\u0445\u0430\u0442\u0434\u0438\u043D\u043E\u0432\u043D\u0430,
\u04D8\u041B\u0406\u041C\u0425\u0410\u041D, \u0415\u0440\u043A\u0435\u0436\u0430\u043D \u0410\u0440\u043C\u0430\u043D\u049B\u044B\u0437\u044B
WO_2025226142_A1

Resumen de: WO2025226142A1

The invention relates to the field of renewable energy engineering, and more particularly to the use of floating wave power plants in marine energy engineering. The invention can be used for supplying power to consumers located in coastal zones or on the surface of large bodies of water. What is proposed is a floating wave power plant designed so that a buoy can be submerged below the water in the event of rough seas to protect the structure against the destructive effects of wave dynamics and so that said buoy can resurface in the event of calm seas. In addition, to increase productivity, each of six actuators comprises a power take-off system with a rotary electric generator. The invention is intended to protect the structure against the destructive effects of waves and to increase the productivity of a floating wave power plant.

SYSTEMS AND METHODS FOR GENERATING POWER FROM MARINE ENVIRONMENT THERMAL GRADIENTS

NºPublicación:  WO2025227033A1 30/10/2025
Solicitante: 
ALLIANCE FOR SUSTAINABLE ENERGY LLC [US]
ALLIANCE FOR SUSTAINABLE ENERGY, LLC
WO_2025227033_PA

Resumen de: WO2025227033A1

Systems and methods for generating electrical power from marine environment thermal gradients. The systems and methods include a buoyancy-driven submersible designed to harness ocean thermal gradients to produce electrical power using thermoelectric generators and phase change materials. The buoyancy-driven submersible is configured to travel vertically in reciprocating motion across a temperature gradient between different depths of a body of water along a cable.

FLOATING WIND TURBINE WITH PASSIVE PITCH CORRECTION

NºPublicación:  US2025334099A1 30/10/2025
Solicitante: 
SYROVY GEORGE J [US]
Syrovy George J
US_2025334099_PA

Resumen de: US2025334099A1

The nacelle (27) of a horizontal axis wind turbine (WT) is mounted on a vertical support (VS) by means of a pivot (33). The vertical support is mounted off-center with respect to a floating, rotatable support (7). A weight (43) functionally attached to the nacelle maintains the axis of the turbine horizontal as the floating support pitches (rotates forward and back). The weight is attached to an elongate vertical element (41). Relative motion between the vertical element (41) and the pitching floating support (HS) generates an electric current.

Systems and Methods for Generating Power From Martine Environment Thermal Gradients

NºPublicación:  US2025337345A1 30/10/2025
Solicitante: 
ALLIANCE SUSTAINABLE ENERGY [US]
Alliance for Sustainable Energy, LLC
US_2025337345_PA

Resumen de: US2025337345A1

Systems and methods for generating electrical power from marine environment thermal gradients. The systems and methods include a buoyancy-driven submersible designed to harness ocean thermal gradients to produce electrical power using thermoelectric generators and phase change materials. The buoyancy-driven submersible is configured to travel vertically in reciprocating motion across a temperature gradient between different depths of a body of water along a cable.

WAVE DRIVEN VARIABLE LEVERAGE PUMP FOR WATER DESALINATION

NºPublicación:  US2025334110A1 30/10/2025
Solicitante: 
BLUEDESAL INC [US]
BlueDesal Inc
US_2025334110_PA

Resumen de: US2025334110A1

A wave driven variable leverage pump for water desalination is disclosed. According to one embodiment, a variable leverage pump comprises a platform and a paddle comprising at least one lever arm extending therefrom. The at least one lever arm is pivotally coupled with the platform. The pump further comprises a pump having a first end pivotally coupled with the platform, and a second end pivotally coupled with the paddle. A pivot point of the at least one lever arm is located above a pivot point of the pump relative to the platform.

WAVE ENERGY CONVERTER

NºPublicación:  US2025334096A1 30/10/2025
Solicitante: 
WAVE MINING SOLUTIONS LTD [GB]
WAVE MINING SOLUTIONS LIMITED
US_2025334096_PA

Resumen de: US2025334096A1

A wave energy converter having at least one energy transmitting device configured to be disposed within a granular medium and including: a flexible envelope forming an internal volume and having an upper surface and a lower surface; at least one inflatable element configured to contain a fluid and housed in the internal volume so as to be interposed between the upper surface and the lower surface; and at least one energy converting device associated to at least one of the inflatable elements and configured to produce energy upon actuation; wherein the wave energy converter is configured to actuates the at least one energy converting device when a wave impinging on the energy transmitting device.

PASSIVE PITCH SYSTEM

NºPublicación:  EP4638940A1 29/10/2025
Solicitante: 
PROTEUS MARINE RENEWABLES LTD [GB]
Proteus Marine Renewables Limited
GB_2626669_PA

Resumen de: GB2626669A

A passive pitch system for a tidal turbine with a rated power comprises a rotor with a hub having a blade receiving portion for engagement with a blade 16. The blade 16 has an elongate blade body with leading and trailing edges, and radially inner 18i and outer 18o portions and a blade root portion 24 configured for rotatable engagement with the rotor blade receiving portion of the hub about a pitch axis P. A lever 28 is fixed to the blade root portion, and has a portion for engagement with a resilient biasing means 26, and a portion for engagement with a stop member 34. The resilient biasing means 26 has a preload selected in dependence upon the rated power of the tidal turbine so that the lever 28 is biased into engagement with the stop member 34 when the hydrodynamic moment acting on the blade about the pitch axis P is less than the resilient bias, and blade is rotatable about the pitch axis to move the lever in a direction away from the stop member when the hydrodynamic exceeds the moment applied by the resilient biasing means.

Marine hydroelectric power plant

NºPublicación:  KR20250154300A 28/10/2025
Solicitante: 
오양균

Resumen de: KR20250154300A

본 해양수력발전소 요약사항으로 해양의 24시간 발생하는 해류와 조류압력 염도비중을 발전에너지로 끌어들여 2-취수구에낙차를 만들고 그낙차에너지를 1차낙차관으로 낙차시켜 발전을 하기위해 발전터빈의 무계를 1/10으로 줄여주어 1차낙차관 유량으로 4배의 발전출력을 생산하고 배출호수에 10초내에 배출하여 운전하는 해양수력발전설비로 유입유량 제어범위 600-780rpm 30% 범위내운전 가능하도록 하여 2차가압배관 30% 유량을 발전제어에 따라 유량도 동시제어되어 200MW 발전터빈을 운전되고 발전출력을 제어하여 생산하도록 하고 배출호수에 20-25유량을 채워 썰물시간12시간동안 수문을 열어 배출해주는 해양수력발전소 요약사항으로 특허출원 하오니 심사검토하여 등록 선처바랍니다.

一种多频率共振的点吸收式海浪能转换装置及控制方法

NºPublicación:  CN120845234A 28/10/2025
Solicitante: 
昆明理工大学
CN_120845234_PA

Resumen de: CN120845234A

本发明公开了一种多频率共振的点吸收式海浪能转换装置及控制方法,装置包括固定基座、海浪能吸收机构、能量转换机构、变刚度机构和发电机构;所述固定基座内安装有能量转换机构、变刚度机构和发电机构,且所述变刚度机构、发电机构与能量转换机构连接;所述海浪能吸收机构一端穿设在所述固定基座内且所述海浪能吸收机构穿设在所述固定基座内的端部与所述能量转换机构连接。本发明的点吸收式海浪能转换装置提供了一种新的提升能量捕获效率的思路,该装置利用变刚度机构调整弹簧输出的弹簧力,弹簧力的实时调整使整个海浪能捕获装置的刚度发生变化,以此让浮子能够在一定频带内与海浪主导频率相匹配发生共振,进而提升海浪能的捕获效率。

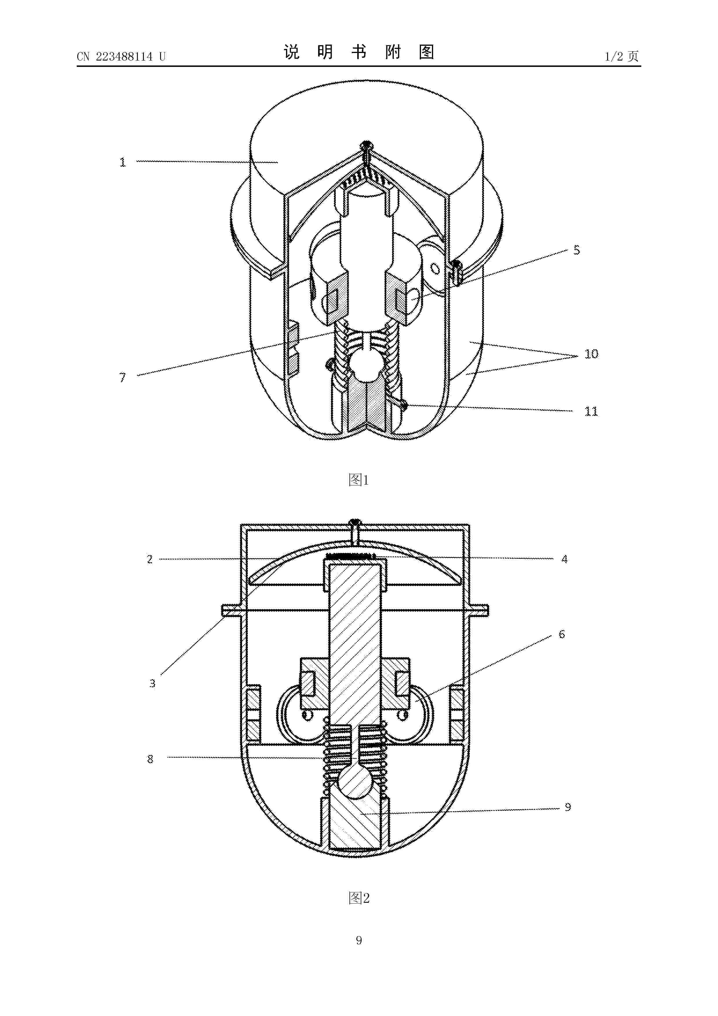
一种波浪能采集装置

NºPublicación:  CN223488114U 28/10/2025
Solicitante: 
河北工业大学河南达运起航科技有限公司
CN_223488114_U

Resumen de: CN223488114U

本实用新型公开一种波浪能采集装置,涉及波浪能利用技术领域,第一摩擦区固定于壳体内,第二摩擦区可动地设于壳体内,第二摩擦区朝向第一摩擦区设置,第一摩擦区位于第二摩擦区的运动轨迹上,第一摩擦区和第二摩擦区能摩擦起电,第一摩擦区且/或第二摩擦区连接有储能件;闭合电路与储能件相连,穿过闭合电路的磁通量能在波浪作用下发生变化;第二摩擦区能在波浪的作用下朝多个方向运动,这使得本实用新型几乎可实现360°全方位的波浪能收集,提高了本实用新型中波浪能采集装置捕获波浪能的能力;通过第一采集机构和第二采集机构实现了摩擦‑电磁复合的发电机制,提高了波浪能采集装置的采集电能功率。

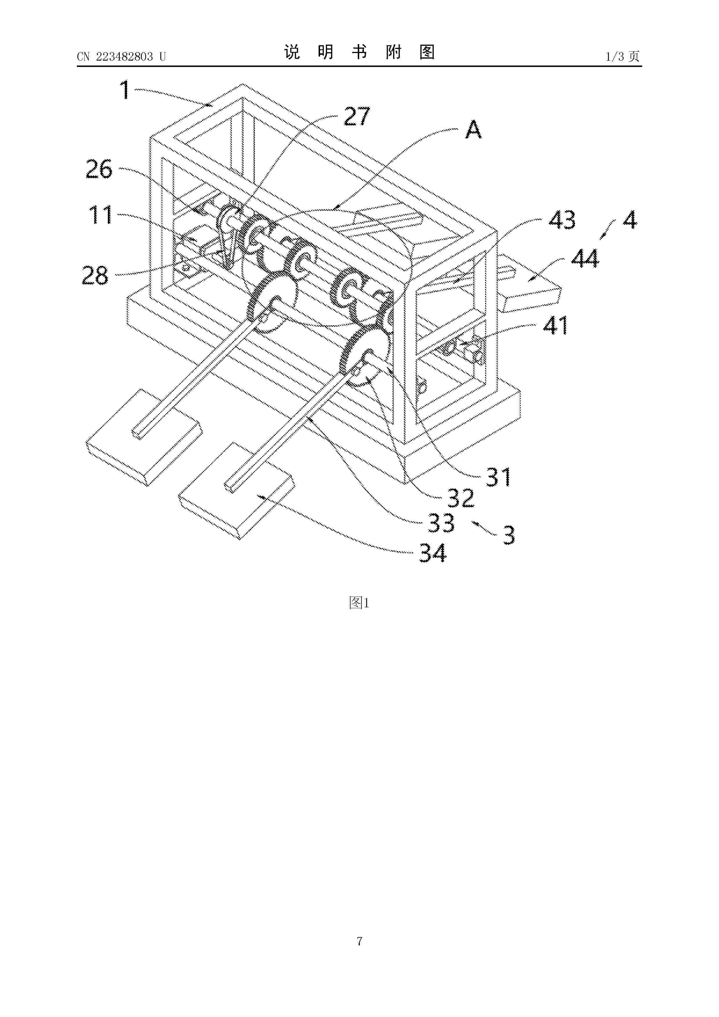
一种海浪发电装置

NºPublicación:  CN223482803U 28/10/2025
Solicitante: 
李建国
CN_223482803_U

Resumen de: CN223482803U

本实用新型属于海浪发电技术领域,具体涉及一种海浪发电装置,包括:机架,所述机架上固定有发电机;传动件,所述传动件固定在所述机架上并传动连接所述发电机;浮力驱动件,固定在所述机架的一侧上并传动连接所述传动件;重力驱动件,固定在所述机架的另一侧并传动连接所述传动件;所述浮力驱动件和重力驱动件通过所述传动件驱动所述发电机单向转动。本实用新型设置在机架两侧的浮力驱动件和重力驱动件均可驱动传动件转动,且相互之间不会发生干涉,进而带动发电机发电,可以提高发电效果。另外,还有利于机架保持平衡。

混合发电系统

NºPublicación:  CN120845235A 28/10/2025
Solicitante: 
国家海洋技术中心
CN_120845235_PA

Resumen de: CN120845235A

本发明公开了一种混合发电系统,涉及发电装置技术领域,包括半潜式平台、风力发电机组和气动式波浪能装置;所述风力发电机组设置于半潜式平台顶部,用于将风能转换为电能;所述气动式波浪能装置搭载于半潜式平台上;所述气动式波浪能装置用于将波浪能转换为电能,且能吸收波浪能以提升半潜式平台稳定性。本发明提供的混合发电系统,既能提高能源利用效率,又能增强平台稳定性。

一种集成风能-太阳能-雨水势能-波浪能的多能协同发电平台

NºPublicación:  CN120845252A 28/10/2025
Solicitante: 
江苏大学中船澄西船舶修造有限公司
CN_120845252_PA

Resumen de: CN120845252A

本发明提供了一种集成风能‑太阳能‑雨水势能‑波浪能的多能协同发电平台,属于清洁能源发电技术领域。该平台包括风力发电组件、太阳能光伏发电组件、多级势能发电组件、波浪能发电组件、储电系统、塔架及机舱;塔架为管柱型,顶部设机舱,底部固定于海床或浮动于海面,用于连接各发电组件;风力发电组件位于塔架上端,太阳能光伏发电组件位于塔架外部,多级势能发电组件含内置于塔架的多级势能发电装置及与机舱合一的雨水收集装置,所述波浪能发电组件用于利用波浪的波动产生电能;储电系统位于塔架内部储存电能。本发明通过整合四类能源实现多维度时空互补,提升供电连续性,复用支撑结构提高空间利用率并降低成本。

Máquina sumergida

Nº publicación: ES3040011A1 27/10/2025

Solicitante:

SARMIENTO MEDINA JUAN [ES]
Sarmiento Medina, Juan