Ministerio de Industria, Turismo y Comercio LogoMinisterior
 

Alerta

Resultados 206 resultados
LastUpdate Última actualización 29/10/2025 [07:49:00]
pdfxls
Solicitudes publicadas en los últimos 30 días / Applications published in the last 30 days
previousPage Resultados 150 a 175 de 206 nextPage  

循环式海浪发电消浪与储能匀速输出装置

NºPublicación:  CN120626395A 12/09/2025
Solicitante: 
陈坚固韩志永陈坚宝
CN_120626395_PA

Resumen de: CN120626395A

一种循环式海浪发电消浪与储能匀速输出装置,是海洋发电与储能技术领域。包括外架、履带式汲浪叶片装置、传动系统、储能匀速输出装置,所述的外架可固定在岸边形成防浪堤坝,也可固定在浮体置于外海,所述的履带式汲浪叶片装置包括流线型凹槽式汲浪叶片、分流隔板及履带。海浪在冲击上方叶片后,推动上方履带传动,并在上升到一定高度后,回流至分流槽并流向下方叶片,再推动下方履带传动,如此便可充分利用海浪周期短及能量大的特点,既带动发电机持续不断地发电,又将海浪的消化至最小,减小对岸体的冲刷。储能匀速输出装置(发电机组)借鉴采用机械手表的原理,先将动能经发条盘储能并在擒纵结构作用下稳定输出动能,达到稳定输出的目的。

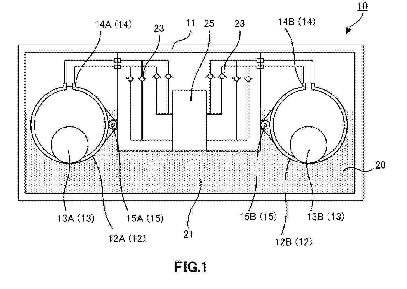
POWER GENERATION DEVICE

NºPublicación:  WO2025187023A1 12/09/2025
Solicitante: 
USUI TECHNOS CO LTD [JP]
\u682A\u5F0F\u4F1A\u793E\u30A6\u30B9\u30A4\u30C6\u30AF\u30CE\u30B9
WO_2025187023_PA

Resumen de: WO2025187023A1

The present invention provides a power generation device capable of efficiently generating power by reducing labor and costs required for installation. Provided is a power generation device 10 for generating useful power from motion caused by waves and wind, the power generation device being characterized by including: a partition chamber 11 having a liquid 20 inside; floating bodies 12 that are installed in the partition chamber 11 and parts of which are pivotally fixed to fixing parts 15, thereby pivoting according to an up-and-down movement of the liquid 20; rolling members 13 installed inside the floating bodies 12 and rolling inside according to the pivoting movements of the floating bodies 12; and power transmission mechanisms 14 for transmitting power generated by the rolling movements of the rolling members 13.

一种浮桥式OWC发电装置

NºPublicación:  CN223330699U 12/09/2025
Solicitante: 
中国海洋大学
CN_223330699_U

Resumen de: CN223330699U

本申请公开了一种浮桥式OWC发电装置,属于水面设备领域,解决了现有技术中浮桥结构功能单一、造价成本较高、作用环境条件差的问题,同时提高OWC(振荡水柱式发电装置)波浪能装置发电效率。本申请中,浮桥桥体在水中具有浮力;浮桥式OWC发电装置还包括振荡水柱式发电装置;振荡水柱式发电装置具有气室和透平发电机;气室为柱状,气室的两端具有开口且气室的两端开口连通;透平发电机位于浮桥桥体内;气室其中一个开口与透平发电机动力输入端连通,气室的另一个开口位于浮桥桥体下方。本实用新型的浮桥式OWC发电装置,通过利用OWC(振荡水柱式发电装置)发电的获能来减少桥面的颠簸,提高浮桥的稳定性,从而增强浮桥的安全性和使用效果。

一种波浪发电组件

NºPublicación:  CN223330698U 12/09/2025
Solicitante: 
贵州航天天马机电科技有限公司
CN_223330698_U

Resumen de: CN223330698U

本实用新型公开了一种波浪发电组件,包括阻尼悬浮装置、浮舱组件和锚固装置,所述阻尼悬浮装置上设置导轴,阻尼悬浮装置通过导轴与浮舱组件连接,所述锚固装置与阻尼悬浮装置连接。本实用新型实现了波浪能的能力转换,可以解决以往波浪能转换装置结构复杂、能量转化效率低、成本高昂、安装海域局限、可靠性差等问题。通过浮舱组件随波浪上下运动,将波浪能转换为浮舱组件的动能和势能,再通过液压油缸将浮舱组件的动能和势能直接转换为液压能输出,减少了能量损耗,提高了能量转换效率。

漂浮式海洋结构物及具有其的漂浮式海洋发电装置

NºPublicación:  CN120621594A 12/09/2025
Solicitante: 
现代重工业株式会社
CN_120621594_PA

Resumen de: JP2024169723A

To provide a floating-type offshore structure.SOLUTION: A floating-type offshore structure includes a plurality of columns, and a plurality of pontoons provided on respective bottom ends of the columns. A polygonal configuration is formed by a virtual line connecting the columns. The pontoons are provided inside the polygonal configuration. The cross-sectional area of the pontoon in a direction parallel to the sea water surface is greater than or the same as the cross-sectional area of the column in the direction parallel to the sea water surface. The pontoon may have a configuration projecting outside a bottom end of the column.SELECTED DRAWING: Figure 1

漂浮式海洋结构物及具有其的漂浮式海洋发电装置

NºPublicación:  CN120621595A 12/09/2025
Solicitante: 
现代重工业株式会社
CN_120621595_PA

Resumen de: JP2024169723A

To provide a floating-type offshore structure.SOLUTION: A floating-type offshore structure includes a plurality of columns, and a plurality of pontoons provided on respective bottom ends of the columns. A polygonal configuration is formed by a virtual line connecting the columns. The pontoons are provided inside the polygonal configuration. The cross-sectional area of the pontoon in a direction parallel to the sea water surface is greater than or the same as the cross-sectional area of the column in the direction parallel to the sea water surface. The pontoon may have a configuration projecting outside a bottom end of the column.SELECTED DRAWING: Figure 1

海洋温差能驱动的卡诺电池系统

NºPublicación:  CN120627459A 12/09/2025
Solicitante: 
上海理工大学
CN_120627459_PA

Resumen de: CN120627459A

本发明涉及能源储存与转换技术领域,公开了海洋温差能驱动的卡诺电池系统,包括:充能循环系统,通过过剩电力驱动第一有机工质循环流动并与深层海水换热形成冷态工质;储能装置,与充能循环系统产生的冷态工质换热形成冷量介质并储存;释能循环系统,其内部以朗肯循环流动第二有机工质,第二有机工质能够与表层海水换热形成过热蒸汽,驱动发电机发电并形成低温低压工质,低温低压工质与储能装置中的冷量介质换热并冷凝形成液态的第二有机工质。在用电低谷时段,利用深层海水的低温将电网过剩电力以冷量介质的形式储存;在用电高峰时段,利用表层海水的高温,以朗肯循环的方式发电并利用用电低谷时段储存的冷量介质对朗肯循环工质进行冷凝。

一种海洋发电装置及方法

NºPublicación:  CN120626417A 12/09/2025
Solicitante: 
中电建新能源集团股份有限公司
CN_120626417_PA

Resumen de: CN120626417A

本说明书实施例涉及海洋能利用技术领域,尤其涉及一种海洋发电装置及方法,海洋发电装置包括风能发电部件;浸水立柱,用于支撑所述风能发电部件;波浪能发电部件,设于所述浸水立柱上并且可沿所述浸水立柱上下移动;养殖网箱,设于所述波浪能发电部件的边沿并且可沿所述边沿移动。本说明书实施例海洋发电装置中波浪能发电部件可以利用其垂直运动发电,实现风能和波浪能互补的同时减轻风能发电部件的纵摇和横摆,兼顾发电效率和发电稳定性的综合提升。养殖网箱的配重可以降低风能发电部件的重心,改善海洋发电装置的抗风浪性能。浸水立柱既是风能发电部件基础,又是波浪能发电的动能传递介质,同时为养殖网箱提供锚固点,实现了“一柱三用”。

一种船舶智能供电系统及方法

NºPublicación:  CN120638578A 12/09/2025
Solicitante: 
三点水新能源科技(安徽)有限公司
CN_120638578_PA

Resumen de: CN120638578A

本发明公开了一种船舶智能供电系统及方法。该系统包括:能量回收单元,用于回收船舶航行过程中的波浪能、螺旋桨制动能和主轴动能,并将上述动能转换为电能;充放电单元,用于基于能量回收单元转换的电能对储能单元进行充电,以及基于储能单元储存的电能对负载进行供电;储能单元,用于储存电能,并基于电能向负载供电;智能管理模块,用于基于航行信息预测未来负载需求,基于预测结果确定对储能单元的工作模式,并基于工作模式控制充放电模块和储能单元对负载进行供电,以及基于工作模式和能量回收单元控制充放电模块对储能单元进行充电。本发明提升了动能回收效率、电池性能与寿命,实现精准的能量管理,保障供电系统安全运行。

多源海洋能协同发电与光伏制氢的集成式浮式平台系统

NºPublicación:  CN120638950A 12/09/2025
Solicitante: 
江苏科技大学
CN_120638950_PA

Resumen de: CN120638950A

本发明公开了一种多源海洋能协同发电与光伏制氢的集成式浮式平台系统,包括系泊发电系统、光伏制氢平台和涡激振动压电发电系统;系泊发电系统包括有弹性缆的系泊缆,弹性缆串联压电发电装置;系泊缆连接波浪能发电锚;压电发电装置包括串联在弹性缆上的弹性单元;波浪能发电锚包括外壳,外壳包括总腔室,总腔室连通有分腔室;分腔室的开口覆盖有弹性膜;总腔室和分腔室划分为第一气道和第二气道;第一气道内设有空气涡轮;第一气道连接有连通管;连通管与第一气道间有止回阀;涡激振动压电发电系统包括带有活塞杆的气缸,活塞杆连接振荡浮子,气缸内有空气涡轮,气缸外有第二压电片,第二压电片端部有扰流板。本发明实现了海上发电与制氢的一体化集成,提高能源利用率。

流体能转化装置及工程机械

NºPublicación:  CN120626408A 12/09/2025
Solicitante: 
张大勇
CN_120626408_PA

Resumen de: CN119353148A

The invention relates to a device for converting fluid kinetic energy into mechanical energy, provides a novel solution, optimizes and designs a plurality of derivative application schemes and functional parts which are close to those of practical products according to the working principle of the device, and summarizes some types and characteristics of composition layout and operation modes of the device. The fluid kinetic energy mainly comprises wind energy and water energy in the general environment, and the device can convert the fluid kinetic energy into mechanical energy for power generation or other purposes. According to the vertical shaft device, the stressed blades can automatically turn over, so that the moment of force of the central rotating shaft in the stressed semi-circumference and the non-stressed semi-circumference is unbalanced in the operation process, and the rotating shaft is pushed to rotate to obtain mechanical energy; the blades are arranged in a horizontal transverse manner and a vertical vertical manner, and even can be combined into a combined manner; three linkage structures are developed and designed through the transverse arrangement of the three linkage structures; a retractable type, a telescopic type and the like are designed to be applied to different environments; the method has unique advantages in certain environments and application conditions, and has a wide prospect.

一种用于潮流能发电装置的旋转提升系统

NºPublicación:  CN120626399A 12/09/2025
Solicitante: 
中国长江三峡集团有限公司
CN_120626399_PA

Resumen de: CN120626399A

本发明涉及潮流发电技术领域,公开了一种用于潮流能发电装置的旋转提升系统,包括:水上平台、旋转提升机构、转向机构和潮流能发电机构,水上平台设置在海上升压站上;旋转提升机构设置于水上平台;转向机构设置于水上平台;潮流能发电机构包括:转动件、转轴和发电机组,发电机组设置于转轴的底端,转轴的顶端与转向机构的驱动端连接,旋转提升机构适于驱动转动件转动以带动转轴沿其轴向升降,转向机构适于驱动转轴转动以带动发电机组转向,本发明通过将旋转提升机构和转向机构设置在水上平台,解决了现有潮流能发电装置的换向系统水下密封性不足,维护难度较大的问题。

一种海上发电装置

NºPublicación:  CN120626418A 12/09/2025
Solicitante: 
中国华能集团清洁能源技术研究院有限公司
CN_120626418_PA

Resumen de: CN120626418A

本申请公开了一种海上发电装置,包括漂浮式基础、风力发电机和潮流能发电机。风力发电机利用风能发电,潮流能发电机利用潮流能发电,风力发电机和潮流能发电机共用漂浮式基础。漂浮式基础包括主浮筒和副浮筒,副浮筒对称分布在主浮筒沿水流方向的两侧,副浮筒通过横梁与主浮筒连接,整体呈三体船型,主浮筒与风力发电机的塔筒连接。主浮筒和副浮筒之间形成用于供水流通过的通道,潮流能发电机安装在主浮筒和副浮筒之间的通道,提高潮流能发电机的发电量。漂浮式基础为风力发电机和潮流能发电机同时提供安装基础,减少漂浮式基础的数量,降低海上发电装置的成本,同时本申请将风能发电和潮流能发电集成到一个平台,降低了海洋资源利用的综合成本。

一种海流能收集转化利用装置

NºPublicación:  CN120626396A 12/09/2025
Solicitante: 
江苏科技大学
CN_120626396_PA

Resumen de: CN120626396A

本发明公开了一种海流能收集转化利用装置,包括具有中空结构的主支撑立柱,所述主支撑立柱侧面间隔开设两个以上的槽口,每一槽口中安装一组收集系统;在所述主支撑立柱内部为每组收集系统配置一组转化系统,每组转化系统包括对称设置在收集系统上方和下方的两个八边形框体,每一八边形框体内侧中部水平布置多组堆叠压电柱;所述收集系统用于收集海流能,在海流能作用下收集系统在主支撑立柱的槽口中上下振动,上下振动过程中,收集系统挤压上方和下方的八边形框体,导致八边形框体向两侧拉伸,在挤压拉伸过程中,堆叠压电柱受压产生电能。本发明能够优化能量转化和收集效率,从而提高能量的捕获和转化效率。

海洋能量发电系统

NºPublicación:  CN120626441A 12/09/2025
Solicitante: 
中国船舶集团有限公司第七一九研究所
CN_120626441_PA

Resumen de: CN120626441A

本发明涉及海洋温差能利用装置技术领域,提供一种海洋能量发电系统,包括能量捕获装置、蒸汽发电组件和电能存储装置,能量捕获装置包括重力热管、热电模组和蒸发器,重力热管包括沿管体的轴向依次配置的蒸发段、绝热段和冷凝段,管腔内设有液体工质,热电模组设于重力热管的外壁面,热电模组包括多个热电模块,多个热电模块沿重力热管的轴向间隔布置,蒸发器设于冷凝段;蒸汽发电组件包括汽轮机和发电机组,汽轮机与蒸发器连通,汽轮机与发电机组机械耦合;热电模组和发电机组均与电能存储装置电连接。本发明通过热电模块和重力热管两种方式配合实现能量的高效捕获,并配合蒸汽发电组件,实现了能量的高效转化,提高了系统的能量利用效率。

用于阵列化波浪能转化装置的实时反馈控制方法

NºPublicación:  CN120626401A 12/09/2025
Solicitante: 
中国海洋大学
CN_120626401_PA

Resumen de: CN120626401A

本发明提出一种用于阵列化波浪能转化装置的实时反馈控制方法,包括对阵列化波浪能转化装置进行数值建模和水动力分析,建立其时域运动方程和空间状态方程,用状态空间方程替代时域运动方程的卷积项得到其运动状态,结合波浪谱特性与浮子的水动力响应特性,综合考虑阵列系统中浮子间的水动力干扰,构建浮子速度与波浪激励力之间的因果映射关系,由此计算出期望的浮子响应速度,通过反馈控制手段对PTO施加控制力,使装置在随机波作用下维持近似最优的共振状态,使得每个浮子速度接近每个波浪频率的最佳功能提取条件,实现波浪能的高效实时提取。

一种垂直振荡波浪能发电装置水位自适应调节方法

NºPublicación:  CN120626398A 12/09/2025
Solicitante: 
三峡大学
CN_120626398_PA

Resumen de: CN120626398A

本发明提供了一种垂直振荡波浪能发电装置水位自适应调节方法,通过垂直振荡浮子的垂直运动捕获波浪能量,通过装置内部机械机构传递动能,并通过发电机将机械能转化为电能;通过弹簧上支座垂直升降机构随着四季水位气象信息做出自动调节策略,控制垂直振荡浮子上升或下降,使其振荡浮子水位线处于工作状态,实现了对浮子水位线的控制,实现了垂直振荡浮子水位自适应控制,确保了垂直振荡波浪能发电装置在不同水位条件下均能保持工作状态。

集成风力、光伏与波浪能的多能耦合智能发电装置

NºPublicación:  CN120626397A 12/09/2025
Solicitante: 
重庆交通大学
CN_120626397_PA

Resumen de: CN120626397A

本发明公开了一种集成风力、光伏与波浪能的多能耦合智能发电装置,属于分布式能源系统技术领域。针对传统系统间歇性强、耦合效率低、结构冗余等问题,通过机架集成三大发电单元:波浪能发电单元采用多方向铰接轴‑连杆‑锥齿轮副与直齿轮‑齿条传动构建双协同发电路径,配合导轨滑块与复位弹簧,高效捕获波浪多自由度能量并确保传动精度;风力发电单元利用箱式行星减速器减速增扭;光伏发电单元通过双轴云台与光敏电阻阵列结合MPPT算法动态追光。本发明以波浪能为主、风/光协同互补,当风力或光伏受影响时,波浪能持续供电,突破传统瓶颈,实现海岛、海洋等水域稳定高效供能,较传统方案显著提升波浪能利用率与供电稳定性。

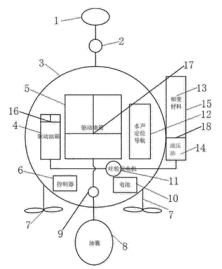
海洋温差能驱动的姿态自调节装置、噪声监测浮标及方法

NºPublicación:  CN120621572A 12/09/2025
Solicitante: 
武汉理工大学
CN_120621572_PA

Resumen de: CN120621572A

本发明公开了一种海洋温差能驱动的姿态自调节装置、噪声监测浮标及方法,装置包括耐压外壳、第一驱动油箱、第二驱动油箱、相变管、双向泵、油囊和控制器,第一驱动油箱、第二驱动油箱和控制器设置于耐压外壳内,第二驱动油箱通过管道经双向泵与油囊连接,油囊设置于耐压外壳外,油囊位于耐压外壳的下方,相变管设置于耐压外壳一侧的外壁上,耐压外壳的底部设有推进器;相变管内设有第三活塞,第三活塞将相变管的内腔分隔成两个腔体,一个腔体内设有相变材料,另一个腔体内设有液压油,相变管的液压油腔体通过管道与第一驱动油箱连接,控制器与双向泵连接和推进器连接。本发明能在水下完成自身姿态调节,结合推进器,具备良好的水下横向运动能力。

TIDAL POWER GENERATION SYSTEM.

NºPublicación:  US2025283447A1 11/09/2025
Solicitante: 
HUARD NICK [CA]
LABERGE SERGE [CA]
LACHANCE DANIEL [CA]
Huard Nick,
Laberge Serge,
Lachance Daniel

Resumen de: US2025283447A1

A tidal energy capture system for powering a power generator by capturing tidal energy in a body of water experiencing tides, comprising: a base mounted to a ground; a float floating in the body of water adjacent the base; and an arm extending between the base and the float and pivotable relative to the base, the arm being connectable to the power generator for powering the power generator when the float is moved up and down relative to the base by the tides.

WAVE-POWERED ELECTRIC GENERATOR

NºPublicación:  US2025283446A1 11/09/2025
Solicitante: 
ROCK THOMAS MITCHELL [US]
Rock Thomas Mitchell

Resumen de: US2025283446A1

A rapidly deployable, ecological, floating, electrical generation device which uses a buoyancy-controlled piston including a rack and pinion system to drive a rotating shaft which is coupled to a floating power generation system. As the floating power generation system rises and falls with the motion of ocean waves, the buoyancy-controlled piston maintains its position in the water. As the relative positions between the floating power station and the buoyancy-controlled piston change, the rack and pinion system drives the rotating shaft. A series of gears increases the rotational speed to spin a shaft and flywheel at moderate speed. Another set of gears are then used to increase rotational speed and drive the shaft of a dynamo which produces electrical current by spinning an electromagnet with a coil. The result is environmentally sourced electrical energy that can be used, stored and/or transmitted in any conventional fashion.

PLANT FOR THE EXPLOITATION OF RENEWABLE ENERGY SOURCES IN OPEN SEA

NºPublicación:  US2025283445A1 11/09/2025
Solicitante: 
PEDERINI ENRICO MARIA [IT]
PEDERINI Enrico Maria
WO_2023214322_PA

Resumen de: US2025283445A1

A plant for the exploitation of renewable energy sources in open sea. The plant includes: a vertical main pillar including a part over sea level and an immersed part; at least one electric generator that produces electric power exploiting renewable energy sources; a battery storage for storing electric power; and an electrical connector that makes available the electric power to an external user. Furthermore, in the plant, the battery storage is inside the main pillar, develops in the immersed part, and comprises a movable structure configured for allowing the movement of batteries along the main pillar.

波力発電システムの複数の回転軸

NºPublicación:  JP3252784U 11/09/2025
Solicitante: 
田中廣治

Resumen de: JP3252784U

【課題】海水の上下運動を利用した強固で簡易な構造の波力発電システムのための複数の回転軸を提供する。【解決手段】正転、逆転を繰り返し行い回転する個々の回転軸4の底部と、中間の案内機の上部と下部に強度の異なるコイルバネを設置することで、反転時に生じる停止時間中に、他の回転軸が稼働する状態を可能にし、回転の反転時に生じる停止時間の重複によって回転が止まる時間が生じないようにする。本考案の複数の回転軸の回転によって生み出される不断の回転から、同一方向への回転変換装置を経た、モーターの回転を実現する。【選択図】図1JPEG0003252784000001.jpg161108

浮遊式海洋構造物及びそれを備える浮遊式海洋発電装置

NºPublicación:  JP2025134059A 11/09/2025
Solicitante: 
エイチディーヒュンダイヘビーインダストリーズカンパニーリミテッド
JP_2025134059_PA

Resumen de: JP2024169723A

To provide a floating-type offshore structure.SOLUTION: A floating-type offshore structure includes a plurality of columns, and a plurality of pontoons provided on respective bottom ends of the columns. A polygonal configuration is formed by a virtual line connecting the columns. The pontoons are provided inside the polygonal configuration. The cross-sectional area of the pontoon in a direction parallel to the sea water surface is greater than or the same as the cross-sectional area of the column in the direction parallel to the sea water surface. The pontoon may have a configuration projecting outside a bottom end of the column.SELECTED DRAWING: Figure 1

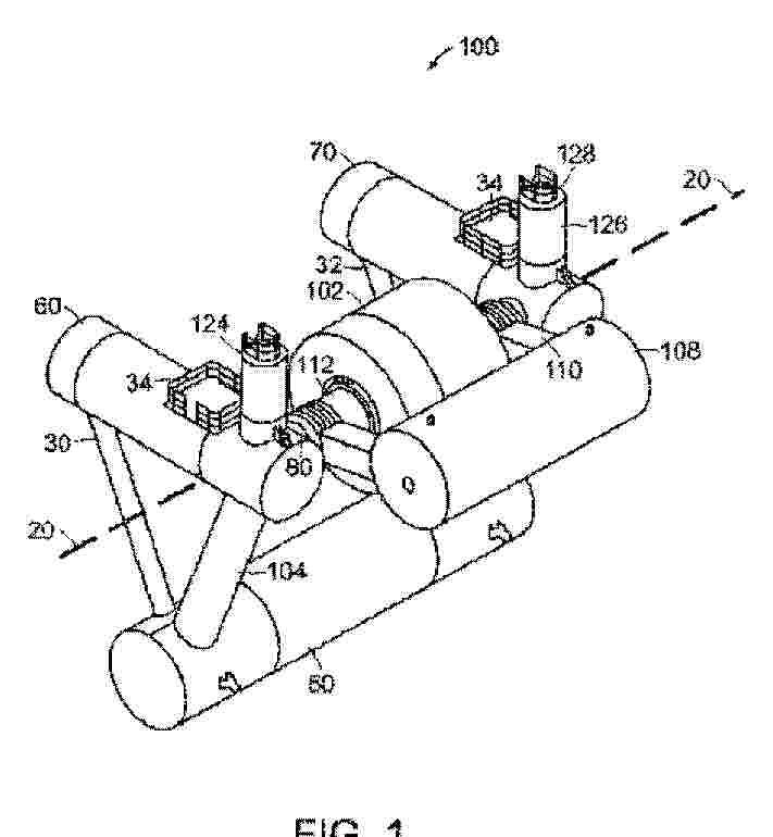
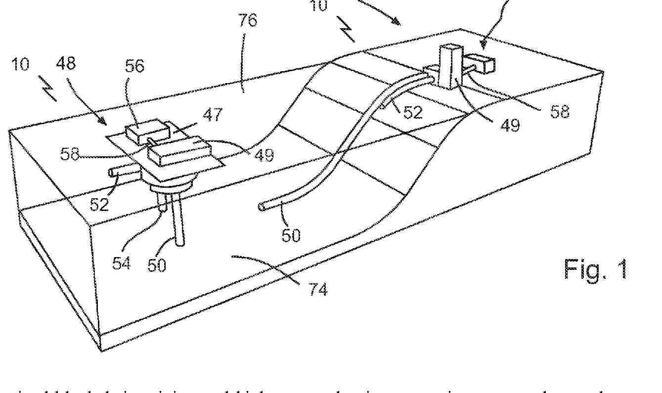
波エネルギー変換装置

Nº publicación: JP2025530133A 11/09/2025

Solicitante:

コロンビアパワーテクノロジーズ,インコーポレイテッド

JP_2025530133_PA

Resumen de: AU2023338052A1

A wave energy converter is provided which includes a nacelle having a starboard side and a port side axis, and housing a power take-off. The wave energy converter also includes at least one buoyancy member coupled to the nacelle, and a ballast tank coupled to the nacelle. The ballast tank, the at least one buoyancy member, and the nacelle, together form a first body, where the first body is coupled to the power take-off. The wave energy converter further includes a float and a drive arm forming a second body, where the second body is rotatably coupled to the first body about a coupling axis, and the second body is coupled to the power take-off. The second body is configured to rotate relative to the first body about the coupling axis within a radial span bounded by a proximal end of the float and a radially distal end of the float. Methods for generating power with the wave energy converter are also provided.

traducir