Ministerio de Industria, Turismo y Comercio LogoMinisterior
 

Alerta

Resultados 219 resultados
LastUpdate Última actualización 04/04/2026 [07:46:00]
pdfxls
Solicitudes publicadas en los últimos 30 días / Applications published in the last 30 days
Resultados 1 a 219  

高保水率的半互穿网络结构水凝胶及其制备方法和应用

NºPublicación:  CN121779631A 03/04/2026
Solicitante: 
河北工业大学
CN_121779631_PA

Resumen de: CN121779631A

本发明制备了一种高保水率的半互穿网络结构水凝胶及其制备方法和应用。该水凝胶通过自由基聚合方法制备,利用瓜尔豆胶构建高保水骨架,提供大量亲水官能团,与水分子之间形成氢键,增强水凝胶的保水能力。此外,引入吸湿性离子液体进一步增强保水效果并提供大量离子运输通道,形成了化学交联‑半互穿网络‑离子液体增强的稳定网络结构。本发明的水凝胶电解质展现出优异的保水能力,将其应用于柔性锌空气电池,可显著提升电池的工作寿命和比容量,增强电池的峰值功率密度。该发明流程简洁、对环境友好,在可穿戴储能装备中具有良好的应用前景。

一种膜电极及其制备方法和应用

NºPublicación:  CN121781174A 03/04/2026
Solicitante: 
上海电气集团股份有限公司
CN_121781174_A

Resumen de: CN121781174A

本发明公开了一种膜电极及其制备方法和应用。所述膜电极包括依次层叠设置的离子交换膜层、导电复合层、气体扩散电极层,其中,所述导电复合层为镂空结构,以及所述导电复合层的边缘尺寸大于所述气体扩散电极层的边缘尺寸,所述气体扩散电极层包括催化剂层和气体扩散层,所述气体扩散电极层依次由层叠设置的催化剂层和气体扩散层组成,所述导电复合层包括聚合物膜层和导电层,所述导电复合层依次由层叠设置的聚合物膜层和导电层组成,其中,所述气体扩散层优选为PTFE层。包含上述设置的膜电极有效地抑制了气体扩散电极的泛流问题,使得膜电极的电化学性能更优异,更持久。

用于监测燃料电池和电解槽堆电压的单池电压拾取子组件及组件

NºPublicación:  CN121784572A 03/04/2026
Solicitante: 
AVL\u674E\u65AF\u7279\u6709\u9650\u516C\u53F8,
AVL\u71C3\u6599\u7535\u6C60\u52A0\u62FF\u5927\u6709\u9650\u516C\u53F8
CN_121784572_PA

Resumen de: CN121784572A

本发明涉及一种用于将燃料电池或电解槽堆的单池单元电压传递至单池电压监测(CVM)系统的单池电压拾取(CVP)子组件(12)和一种用于安装至燃料电池或电解槽堆的CVP组件(100)。CVP单元(10)包括:用于导电的印刷电路板(PCB)(20);用于将其中一个单池单元与PCB(20)电连接的至少一个拾取触点(50);以及用于将堆电压(22)传送至CVM系统的机构。CVP子组件(12)包括CVP单元(10)和用于保持CVP单元(10)的支承框架(30),其中,支承框架(30)包括至少一个通孔特征(40),用于安装至滑动杆(110)。CVP组件(100)包括CVP子组件(12)、至少一个滑动杆(110)和用于将CVP组件(100)安装至燃料电池或电解槽堆的安装托架(120)。

使电解液均匀分布的液流电池双极板及液流电池

NºPublicación:  CN121790427A 03/04/2026
Solicitante: 
平高集团有限公司
CN_121790427_PA

Resumen de: CN121790427A

本发明公开了一种使电解液均匀分布的液流电池双极板及液流电池。双极板的两侧设有导流流道结构、电解液进口和电解液出口;其中,导流流道结构包括:多组导流流道,每组导流流道包括一条纵向主流道和多个横向分支流道,横向分支流道自纵向主流道横向延伸;电解液进口与纵向主流道连通,且开设于双极板的纵向端部,用于将电解液导入双极板,电解液导入流向平行于双极板所在平面;电解液出口开设于双极板的表面,用于将电解液导出双极板,电解液导出流向垂直于双极板所在平面。本发明可有效改善液流电池浓差极化、提升电解液利用率及电堆性能、降低电解液流动阻力,进而提升电堆效率、系统效率。

一种氨基二氧化硅材料掺杂的聚苯并咪唑高温质子交换膜及其制备方法

NºPublicación:  CN121790429A 03/04/2026
Solicitante: 
上海空间电源研究所
CN_121790429_PA

Resumen de: CN121790429A

本发明公开了一种氨基二氧化硅材料掺杂的聚苯并咪唑高温质子交换膜及其制备方法,所述质子交换膜包含聚苯并咪唑、聚乙烯吡咯烷酮和氨基二氧化硅材料;所述氨基二氧化硅材料的结构为:。本发明以聚苯并咪唑、PVP为质子交换膜的高分子基体,引入表面接枝氨基的二氧化硅材料作为功能填料,通过“溶液共混‑真空消泡‑流延成膜‑磷酸掺杂”工艺得到了本发明的氨基二氧化硅材料掺杂的聚苯并咪唑高温质子交换膜。本发明质子交换膜的原料成本低,制备及掺酸工艺简单,可规模化生产。同时制成的质子交换膜的磷酸保留能力强、质子电导率高、溶胀性低,可在高温质子交换膜燃料电池中具有广泛应用前景。

一种PBI-SO2-Cl/UiO-66-NH2@CNT复合质子交换膜及其制备方法

NºPublicación:  CN121779721A 03/04/2026
Solicitante: 
常州大学
CN_121779721_A

Resumen de: CN121779721A

本发明属于燃料电池质子交换膜技术领域,公开了一种PBI‑SO2‑Cl/UiO‑66‑NH2@CNT复合质子交换膜及其制备方法。本发明的PBI‑SO2‑Cl/UiO‑66‑NH2@CNT质子交换膜通过共价键将UiO‑66‑NH2@CNT稳定的固定到PBI‑SO2‑Cl聚合物中,PBI‑SO2‑Cl中的磺酰氯基团与UiO‑66‑NH2@CNT中的氨基形成磺酰亚胺基团,增强了化学交联,且UiO‑66‑NH2生长在CNT‑COOH上,大幅减少了自由状态的颗粒,抑制了颗粒的流失,有利于增强复合膜的稳定性和质子电导率,质子交换膜在高温质子交换膜燃料电池方面具有良好的应用前景。

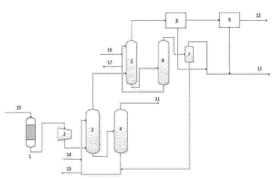
一种炼厂干气碳二回收耦合制备燃料电池用氢的方法及系统

NºPublicación:  CN121778670A 03/04/2026
Solicitante: 
中国石油化工股份有限公司中石化(北京)化工研究院有限公司
CN_121778670_PA

Resumen de: CN121778670A

本发明属于炼厂干气处理技术领域,公开了一种炼厂干气碳二回收耦合制备燃料电池用氢的方法及系统,该方法包括:1)脱氧;2)压缩;3)冷却;4)吸收:冷却后的炼厂干气进入吸收塔,得到塔釜物流和塔顶尾气;5)解吸:吸收塔的塔釜物流进入解吸塔,塔顶得到回收的碳二提浓气;6)再吸收:吸收塔塔顶尾气进入再吸收塔,得到塔釜物流和塔顶的甲烷氢尾气;7)稳定;8)真空变压吸附或者膜分离及变压吸附:得到燃料电池用氢。本发明的方法,由于吸收温度高,不需要乙烯、丙烯制冷压缩机和膨胀机,能耗低、投资少、操作简单;并且有效回收了炼厂干气中的碳二和氢气资源。

一种具有散热翅片阵列的燃料电池双极板结构

NºPublicación:  CN121790435A 03/04/2026
Solicitante: 
华能酒泉风电有限责任公司
CN_121790435_PA

Resumen de: CN121790435A

本申请公开了一种具有散热翅片阵列的燃料电池双极板结构,具体涉及电池双极板领域,包括阴极板,所述阴极板的一侧设置有阳极板,所述阴极板与阳极板之间设置有膜电极,所述阴极板靠近膜电极的一侧表面设置有空气气体腔,所述空气气体腔的内壁设置有空气流道,所述阳极板的一侧内壁设置有氢气气腔,所述氢气气腔的内壁设置有氢气流道,所述阴极板与阳极板之间形成冷却水流道,所述冷却水流道的内部设置有强化散热机构;本申请通过分流空气流道能够使流道缩短,气体从进口到出口的路径更平均,通过冷却水流道内壁的强化散热机构实现多梯度的辅助增强散热效果,能够辅助强化散热效果从而带走阴阳两极电化学反应产生的巨大热量。

风冷燃料电池系统及其电堆温度控制方法

NºPublicación:  CN121790439A 03/04/2026
Solicitante: 
海亿新能(临海)科技有限公司武汉海亿新能源科技有限公司
CN_121790439_PA

Resumen de: CN121790439A

本发明提供了风冷燃料电池系统及其电堆温度控制方法。该方法包括获取电堆的运行电流和环境温度,基于该环境温度,通过第一关系模型计算得到该散热风扇的初始占空比,基于运行电流,通过第二关系模型计算得到对应于该运行电流的风扇占空比增量,然后根据初始占空比和风扇占空比增量,计算散热风扇的目标占空比,根据该目标占空比控制散热风扇的运行,以用于调节电堆的电堆温度。该方法相对于现有技术采用固定风扇占空比或简单线性调节模式,由于分别通过环境温度和运行电流来确定初始占空比和风扇占空比增量,进而再根据两者计算散热风扇的目标占空比,因此结合了点对的工作电流和环境温度的实时变化,更加适配电堆随工况变化的散热需求。

一种基于DC-DC拓扑的燃料电池电堆交流阻抗检测方法

NºPublicación:  CN121790447A 03/04/2026
Solicitante: 
广东省武理工氢能产业技术研究院
CN_121790447_PA

Resumen de: CN121790447A

本发明涉及燃料电池在线诊断与健康管理技术领域,公开一种基于DC‑DC拓扑的燃料电池电堆交流阻抗检测方法,将电堆实时工况(Idc,T,RH,|Zmin|)与阻抗测量过程动态关联,实现激励强度的实时优化,从根本上解决了“测试损伤”与“测量精度”之间的矛盾。基于阻抗迭代的预测控制:利用前一频点的测量结果指导下一频点的激励强度,使系统能自适应电堆在不同频率下的动态响应特性。双重安全保障:结合“基于工况的电压扰动上限”和“基于阻抗的电流幅值计算”,构建了立体化的安全防护体系。在安全前提下,始终使用当前条件下能达到的最大有效信号强度,保证了全频段测量的高信噪比和高精度。

一种垂直取向导电纤维增强型复合双极板

NºPublicación:  CN121790426A 03/04/2026
Solicitante: 
海川太风水储能科技(无锡)有限公司
CN_121790426_PA

Resumen de: CN121790426A

本发明涉及液流电池储能技术领域,具体涉及一种垂直取向导电纤维增强型复合双极板,包括树脂基体、导电填料和垂直取向高导电纤维,所述垂直取向高导电纤维垂直于双极板的两个工作面均匀分布,形成连续的垂直导电通道,并提供了双极板的具体制备方法。本发明解决了现有双极板导电各向异性的缺陷,通过编制或缠绕配合切割的工艺精准构建垂直取向高导电纤维通道,厚度方向导电率提升80‑200%,厚度方向与面向方向的导电率差异缩小至15%以内,大幅降低接触电阻和电堆内阻。

一种绿色自循环的水产养殖系统

NºPublicación:  CN121773987A 03/04/2026
Solicitante: 
重庆新型储能材料与装备研究院
CN_121773987_PA

Resumen de: CN121773987A

本发明涉及水产养殖技术领域,公开了一种绿色自循环的水产养殖系统,集成光伏发电、电解水制氢、固态储氢与氢燃料电池模块,形成“光能→电能→氢能→电能”闭环能源体系,替代传统蓄电池,降低电网依赖与能源成本,并保障日照不足时的稳定供电。电解水制氢过程中产生的氧气直接用于养殖水体增氧,显著减少增氧机能耗;副产臭氧可高效杀菌消毒并降解氨氮、亚硝酸盐等有害物,减少化学药剂使用;燃料电池生成的水可回用,氢气还可辅助水质调控。系统实现电、氢、氧、水多资源协同循环,兼具节能、环保与高效养殖优势,推动水产养殖绿色低碳转型。

一种多孔碳材料增强的离子交换膜及其制备方法

NºPublicación:  CN121775671A 03/04/2026
Solicitante: 
华北电力大学
CN_121775671_PA

Resumen de: CN121775671A

本发明属于离子交换膜技术领域,提供了一种多孔碳材料增强的离子交换膜及其制备方法。该多孔碳材料增强的离子交换膜的拉曼信号图谱在2100 ±100 cm1出现丁二炔的信号峰,其制备包括以下步骤:步骤一、将离子交换树脂溶于溶剂当中,搅拌均匀;步骤二、将富端基炔的有机功能前体溶于步骤一的溶液中,搅拌均匀;步骤三、在步骤二的溶液中加入铜盐,搅拌反应,得到铸膜液;步骤四、将铸膜液浇铸到制膜模具中,热处理除去溶剂,获得膜材料;步骤五、将膜材料经过离子交换得到多孔材料增强的离子交换膜。本发明多孔碳材料增强的离子交换膜合成条件温和,工艺简单,所得产品高离子电导率、高机械强度、低溶胀性能、低气体渗透。

一种燃料电池混合动力飞机功率配比方法及系统

NºPublicación:  CN121777762A 03/04/2026
Solicitante: 
中国商用飞机有限责任公司北京民用飞机技术研究中心
CN_121777762_PA

Resumen de: CN121777762A

本发明公开了一种燃料电池混合动力飞机功率配比方法及系统,包括:定义飞机级参数,计算各飞行阶段的功率需求;建立双层优化架构,双层优化架构包括上层的参数配置优化与下层的能量管理运行优化;进行上层优化,以混合动力系统的总重量或总成本最小化为优化目标进行参数配置,包括确定燃料电池的额定功率、锂电池的容量及锂电池的放电倍率;进行下层优化,基于确定的参数配置,以燃料电池运行效率最高为优化目标,在全飞行剖面下优化燃料电池与锂电池的实时运行功率分配;将下层优化得到的运行结果反馈至上层,并迭代,直至满足收敛标准,获得最优的混合动力系统功率配比。本发明通过双层优化架构,实现了燃料电池混合动力系统总重量的全局最优。

一种废旧钒基电池正极材料制备钒电解液的方法

NºPublicación:  CN121790574A 03/04/2026
Solicitante: 
大连融科储能集团股份有限公司
CN_121790574_PA

Resumen de: CN121790574A

本发明提供一种废旧钒基电池正极材料制备钒电解液的方法,包括:破碎废旧钒基锂离子/钠离子电池正极材料得正极粉末;与还原剂混合造粒,惰性气氛煅烧得含碳球团;破碎研磨后进行氯化反应;气态产物分步冷凝分离得三氯氧磷、三氯化钒和残渣,所述残渣包括氯化锂和/或氯化钠,可回收利用;三氯氧磷溶水得磷酸与盐酸混合液,三氯化钒溶于盐酸或母液得溶液;浓缩结晶分离得三氯化钒晶体和母液,母液循环使用;晶体溶于酸液,补加盐酸和/或硫酸,电解调整后得钒电解液。该方法能将废旧钒基锂/钠离子电池正极材料中的钒、磷元素回收,转化为钒电解液,且回收流程短,回收过程能耗成本低。

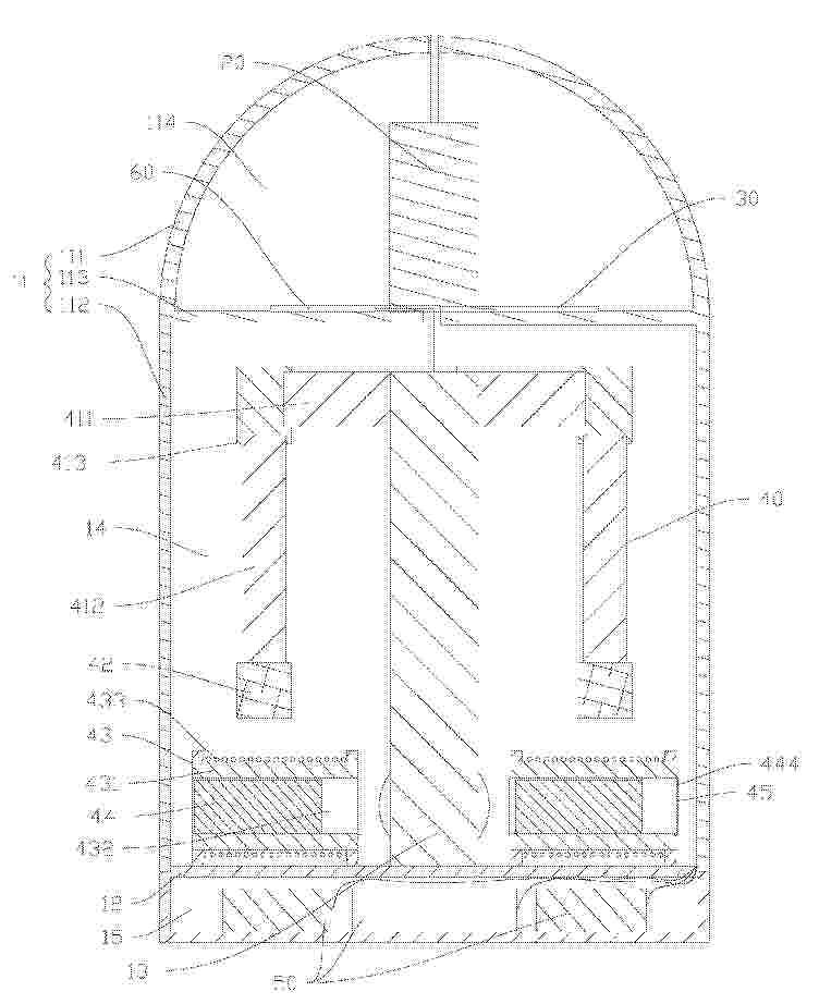
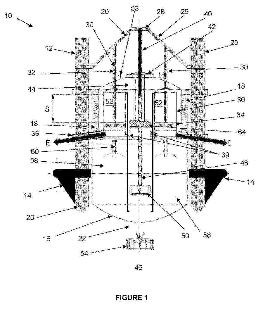
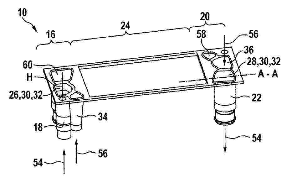
燃料电池堆

NºPublicación:  CN121790440A 03/04/2026
Solicitante: 
丰田纺织株式会社
CN_121790440_PA

Resumen de: US20260094849A1

A fuel cell stack includes multiple stacked single cells. Each single cell includes a power generation portion, a first separator, and a second separator. Each single cell includes a cooling medium supplying hole at an end portion on one side in a first direction and a cooling medium discharging hole at an end portion on the other side in the first direction. The first separator includes grooves and ridges that form multiple meandering first passages. The second separator includes grooves and ridges that form multiple meandering second passages. Reversing sections of the first passages and reversing sections of the second passages extend to be inclined with respect to a second direction. The reversing sections of the first passages and the reversing sections of the second passages overlap with each other so as to intersect with each other between the cooling medium supplying hole and the cooling medium discharging hole.

电动汽车部件

NºPublicación:  CN121794323A 03/04/2026
Solicitante: 
朗盛德国有限责任公司
CN_121794323_A

Resumen de: TW202525908A

The present invention relates to tracking-resistant electromobility components having a colour distance DeltaE from the L*a*b* coordinates to a colour number of the RAL colour chart beginning with a "2" of < 20 containing polymer compositions based on at least one polyamide and 1,3-dihydro-5,6-bis(((2-hydroxy-1-naphthyl)methylene)amino-2H-benzimidazol-2-onato(2-)-N5,N6,O5,O6)nickel and to the use of 1,3-dihydro-5,6-bis(((2-hydroxy-1-naphthyl)methylene)amino-2H-benzimidazol-2-onato(2-)-N5,N6,O5,O6)nickel for producing polyamide-based tracking-resistant electromobility components having a colour distance DeltaE from the L*a*b* coordinates to a colour number of the RAL colour chart beginning with a "2" of < 20.

用于燃料电池的双极板

NºPublicación:  CN121794809A 03/04/2026
Solicitante: 
燃料电池中心两合股份有限公司
CN_121794809_PA

Resumen de: WO2025045888A1

A bipolar plate (100) for fuel cells comprises two partial plates (50, 60) which are interconnected by an adhesive connection (20). The first and the second partial plate (21,..., 27) are joined in such a manner that surfaces of the partial plates (50, 60) facing outwards form, respectively, a cathode side and anode side of the bipolar plate (10), wherein the partial plates (50, 60) each have, on at least one of their surfaces, a surface structure (51, 61) with corresponding ports (11;..., 16) for conducting a fluid along the relevant surface. The adhesive connection (20) interconnects the partial plates (50, 60) via their inwardly facing surfaces and has a plurality of connection pieces (21,..., 27), wherein the adhesive connection (20) seals the surface structures (51, 61) with respect to one another and has, at least between two adjacent ports (13; 14), at least two connection pieces (25, 26), spaced apart from one another by an intermediate space (40; 41), as a multiple seal (28; 29).

一种铂催化剂浆料制备防沉降方法及其在燃料电池应用

NºPublicación:  CN121790411A 03/04/2026
Solicitante: 
江苏意铭燃动新能源科技有限公司
CN_121790411_PA

Resumen de: CN121790411A

本发明公开了一种铂催化剂浆料制备防沉降方法及其在燃料电池应用。该方法通过构建特定的分散体系,将特定有机溶剂与超纯水按比例混合,并添加具有特定结构和官能团的分散剂,对铂催化剂进行表面预处理以增强与分散剂的作用。同时在浆料体系中,通过气相原位修饰技术利用特定的气相前驱体,构建了二维材料保护层,并利用物理相变以改变聚合物结构的瞬时冷冻与解冻剪切的分散工艺,有效解决了传统高能超声可能导致的碳载体破碎和铂纳米颗粒脱落问题。从而使得催化剂浆料达到一种更高程度的、亚稳态的分散状态,显著减缓沉降。

一种极板自动化生产控制方法及系统

NºPublicación:  CN121785278A 03/04/2026
Solicitante: 
北京华胜信安电子科技发展有限公司
CN_121785278_PA

Resumen de: CN121785278A

本申请涉及一种极板自动化生产控制方法及系统,方法包括:接收卷材原料型号参数并生成控制策略;通过开卷机开卷并按送料步距间歇递送;在每次间歇递送后采集第一检测工位的卷材表面图像并进行缺陷识别,表面不合格时生成剔废标记并对对应卷材段裁切剔除;将未剔除卷材送入冲压机冲压得到待检极板;按第一抽检比例抽检并经自动化移栽送入第二检测工位进行气密检测,不合格时生成剔废标记并排出;按第二抽检比例抽检并经自动化移栽送入第三检测工位进行毛刺与尺寸光学检测,不合格时生成剔废标记并排出;对未生成剔废标记的极板按打码内容执行激光打码;其中自动化移栽基于移栽取放位姿执行,且具备可调移栽距离与可调吸盘位置。

一种中温燃料电池

NºPublicación:  CN121790449A 03/04/2026
Solicitante: 
中经云数据存储科技(北京)有限公司
CN_121790449_PA

Resumen de: CN121790449A

本发明涉及燃料电池领域,尤其涉及一种中温燃料电池。包括重整器、电堆、第一空气供给路、甲醇水燃烧供给路、甲醇水反应供给路、介质循环水路和第二空气路,第一空气供给路为重整器燃烧区的燃烧提供氧气,而甲醇水燃烧供给路为重整器燃烧区的燃烧提供燃料,重整器燃烧区燃烧时产生的热量第一板式换热器换热给介质循环水路,此时的热量通过介质循环水路进入到电堆内部为电堆加热,在电堆达到启动温度后,甲醇水反应供给路供应甲醇水使得重整器反应区反应生成氢气输送至电堆,而第二空气路为电堆提供氧气保证电堆可以反应发电,通过该系统可以实现重整器与电堆的有效启动。

一种微波反应合成磺化度可控的先磺化聚苯并咪唑聚合物的制备方法

NºPublicación:  CN121779715A 03/04/2026
Solicitante: 
中国地质大学(武汉)
CN_121779715_PA

Resumen de: CN121779715A

本发明公开了一种微波合成磺化度可控的先磺化聚苯并咪唑聚合物的制备方法及该聚合物,属于聚合物合成领域。旨在解决传统加热聚合先磺化聚苯并咪唑(PBI)时磺酸基团易降解、含磺酸基团二酸单体反应活性低,以及后磺化工艺存在的磺化不均、分子链降解等问题。该方法以一种或几种四胺、含磺酸基团的二酸与不含磺酸基团的二酸(摩尔比 30~100:70~0)为原料。本发明采用先磺化策略精准调控磺化度,结合微波均匀加热、控温准确的优势,缩短反应时间、降低能耗,产物具有均匀性高、分子量可控、磺酸基团保留率大等特点,可广泛应用于燃料电池、液流电池、污水处理、气体分离等领域。

基于多级稳压的镁基材料水解制氢发电系统及方法

NºPublicación:  CN121775771A 03/04/2026
Solicitante: 
重庆新型储能材料与装备研究院
CN_121775771_PA

Resumen de: CN121775771A

本发明涉及水解制氢发电的技术领域,具体为基于多级稳压的镁基材料水解制氢发电系统及方法,包括反应区、输出区和控制单元,反应区用于制备氢气,输出区用于稳定氢气压强,控制单元用于对氢气速率与氢气压强进行动态协调;所述反应区包括存料单元、设置在存料单元下方的投料单元、位于投料单元下方的水解单元;所述输出区包括与水解单元连通的缓冲罐和与缓冲罐连通的多级稳压单元;所述多级稳压单元包括依次连通的一级稳压组件和二级稳压组件。本发明能够实现下料、产氢、稳压联动协同控制,从源头稳定产氢压强;并通过多级稳压组件强化稳压效果;减轻系统负荷、减少部件损耗,延长系统寿命,提升输出电压的稳定性。

隔膜、隔膜制备方法及液流电池

NºPublicación:  CN121790434A 03/04/2026
Solicitante: 
深圳理工大学
CN_121790434_PA

Resumen de: CN121790434A

本发明属于液流电池技术领域,具体涉及一种隔膜、隔膜制备方法及液流电池。该隔膜包括:基膜和疏水性离子液体,基膜包括微结构,微结构能够容纳疏水性离子液体;疏水性离子液体至少包括双三氟甲烷磺酰亚胺阴离子,液流电池工作过程中,双三氟甲烷磺酰亚胺阴离子能够穿过微结构。该隔膜通过同时抑制水合离子与水分子迁移,实现正、负极电解液的组成稳定,能够保障液流电池在高容量和长循环条件下的可靠运行。该隔膜的制备方法采用简单的真空浸渍法,无需复杂或昂贵的设备,操作方便,能够快速获得对水合离子和水分子迁移具有优异抑制效果的隔膜,具备良好的规模化生产潜力。

3D多孔碳结构、包含其的电极及其生产方法和用途

NºPublicación:  CN121794220A 03/04/2026
Solicitante: 
艾伯特路德维格斯弗赖堡大学
CN_121794220_PA

Resumen de: WO2025031838A1

The present invention relates to porous carbon structure comprising one or more sets of porous spherical carbon particles, wherein each of said one or more sets of porous spherical carbon particles has a monomodal, bimodal or multimodal particle diameter distribution, and/or a monomodal, bimodal or multimodal templated pore size distribution, wherein each mode of said particle diameter distribution defines a subset of porous spherical carbon particles within the set, each subset having a particle diameter dispersity (đ) of 1.2 or less, and wherein each mode of the templated pore size distribution defines a subset of porous spherical carbon particles within the set, each subset having a templated pore size dispersity (đ') of 1.2 or less. The invention further relates to methods for producing the porous carbon structures of the invention, electrodes made from such structures and their use in various applications, including among others electrochemical energy storage and conversion.

一种咪唑鎓修饰含氟树脂和全氟磺酸树脂复合的两性离子交换膜及制备方法

NºPublicación:  CN121790431A 03/04/2026
Solicitante: 
杨凌核盛辐照技术有限公司华中科技大学
CN_121790431_PA

Resumen de: CN121790431A

本发明属于两性离子交换膜领域,公开了一种咪唑鎓修饰含氟树脂和全氟磺酸树脂复合的两性离子交换膜及制备方法,制备方法包括以下步骤:(1)对含氟树脂粉末进行辐照处理活化;(2)将活化后的含氟树脂粉末与具有阴离子交换功能单体的水溶液进行接枝聚合反应;(3)将接枝改性后的含氟树脂粉末溶于良溶媒中,然后与采用相同良溶媒为溶剂的全氟磺酸树脂溶液混合均匀后得到铸膜液;将铸膜液充分流延后干燥,经过酸处理即可得到咪唑鎓修饰含氟树脂和全氟磺酸树脂复合的两性离子交换膜。本发明通制得的具备阳离子和阴离子交换能力的两性离子交换膜,同时兼具优异的阻钒性能和高的离子电导率,能够有效提高钒液流电池系统的电池效率。

一种基于紫外光固化工艺构筑亲水疏油隔膜表面的方法

NºPublicación:  CN121790433A 03/04/2026
Solicitante: 
四川发展兴欣钒能源科技有限公司
CN_121790433_PA

Resumen de: CN121790433A

本发明涉及液流电池隔膜材料技术领域,具体为一种基于紫外光固化工艺构筑亲水疏油隔膜表面的方法。该方法首先制备一系列不同粒径的纳米钛颗粒,然后将氟烷基链嫁接至纳米钛颗粒表面,再将其进行静电纺丝制备电纺PAN/TiO2纤维毡,接着对其进行浸泡表面覆盖涂料,最后进行固化使残余基团完全交联即获得所述液流电池亲水疏油隔膜材料。本发明制备的液流电池隔膜材料经过表面包覆一系列亲水疏油物质和官能团之后具有较好的亲水性、疏油性,提高了液流电池的电池性能,为液流电池隔膜的发展提供了新思路。

一种高纯氯化亚铁和氯化铬混合晶体、其制备方法及应用

NºPublicación:  CN121778787A 03/04/2026
Solicitante: 
大连融科储能集团股份有限公司
CN_121778787_A

Resumen de: CN121778787A

本发明提供一种高纯氯化亚铁和氯化铬混合晶体、其制备方法及应用,其制备方法包括以下步骤:将碳素铬铁溶解在盐酸溶液中,得到强酸性溶出液;加水稀释得到铁铬总浓度为100‑200g/L;加入福美钠溶液搅拌反应生成硫化物沉淀,过滤去除硫化物沉淀;将除杂后的滤液进行浓缩,将永磁铁布置在结晶容器的外部或底部,确保永磁铁产生的磁场能够覆盖溶液的主要区域,进行磁场辅助结晶;结晶后固液分离,干燥,得到所述高纯氯化亚铁和氯化铬混合晶体。该方法具有工艺流程简单、除杂效率高、目标金属损失率低和安全性好的优点,能制备出纯度优异的氯化亚铁和氯化铬混合晶体,在铁铬液流电池电解液领域具有良好的应用前景和大规模推广潜力。

具有改进的离子传导性的燃料电池用抗氧化剂及其制造方法

NºPublicación:  CN121790430A 03/04/2026
Solicitante: 
现代自动车株式会社起亚株式会社庆尚国立大学校产学协力团
CN_121790430_PA

Resumen de: CN121790430A

本发明涉及具有改进的离子传导性的燃料电池用抗氧化剂及其制造方法,更具体地,涉及离子传导性和化学稳定性均衡地提高的燃料电池用抗氧化剂及其制造方法。

一种炼厂干气回收得到聚合级乙烯耦合直产燃料电池用氢的方法及系统

NºPublicación:  CN121779188A 03/04/2026
Solicitante: 
中国石油化工股份有限公司中石化(北京)化工研究院有限公司
CN_121779188_PA

Resumen de: CN121779188A

本发明属于炼厂干气处理技术领域,公开了一种炼厂干气回收得到聚合级乙烯耦合直产燃料电池用氢的方法及系统,该方法包括:1)脱氧;2)压缩、冷却;3)吸收:冷却后的炼厂干气进入吸收塔,得到塔釜物流和塔顶尾气;4)解吸:吸收塔的塔釜物流进入解吸塔,塔顶得到回收的碳二提浓气;5)除杂;6)脱甲烷:除杂后的碳二提浓气进入脱甲烷塔;7)乙烯精馏:脱甲烷塔的塔釜物流进入乙烯精馏塔,乙烯精馏塔侧线采出聚合级乙烯产品;8)再吸收:吸收塔塔顶尾气进入再吸收塔,得到塔釜物流和塔顶的甲烷氢尾气;9)稳定;10)真空变压吸附或者膜分离及变压吸附:得到燃料电池用氢。该方法能耗低、投资少、操作简单。

一种高导热导电复合双极板的制备及其在液流电池中的应用

NºPublicación:  CN121790428A 03/04/2026
Solicitante: 
南京工业大学
CN_121790428_PA

Resumen de: CN121790428A

本发明属于液流电池双极板材料技术领域,涉及一种复合双极板材料及其制备方法和应用,适合于液流电池用双极板材料。该液流电池双极板选用三维多孔泡沫金属作为基体位于中间层,可提升双极板的整体强度和韧性,同时针对沉积型液流电池,如锌铁电堆,充放电测试中由于锌沉积存在发热不均匀,导致局部过热等问题,进而影响电池长久运行,而多孔泡沫金属能很好的传递热量,使其均匀分布,因此在沉积型液流电池中也具备着很好的应用前景。通过热压工艺使复合材料黏附在其两侧,这样的设计可使得双极板耐腐蚀性能得到了保证,同时泡沫金属在双极板内部构建了一个高效的导电网络,可以与复合材料构成协同导电作用,也提升双极板的电子传输能力;在制造过程中上下两侧同时会加入碳纸/碳纤维布,从而降低了双极板表面电阻,进一步提升双极板在液流电池中的性能。

用于液流电池的水凝胶电极及其原位形成方法,包含其的电堆

NºPublicación:  CN121790419A 03/04/2026
Solicitante: 
普能世纪(山西)新材料有限公司
CN_121790419_A

Resumen de: CN121790419A

本申请提供了一种用于液流电池的水凝胶电极及其原位形成方法,包含其的电堆。该水凝胶电极由下述材料制备而成,按质量份计,所述材料包括10‑30份的卡拉胶、80‑100份的丙烯酰胺、80‑100份的交联剂、3‑6份的钛基MXene纳米片、1‑2份的叠氮化石墨烯、4‑6份的金属硫化物@MOF核壳复合材料以及1000‑3000份的水。本申请的水凝胶电极具有良好的机械形变能力和较高的电催化活性。

燃料电池循环系统及冷却液循环方法

NºPublicación:  CN121790442A 03/04/2026
Solicitante: 
宁波绿动氢能科技研究院有限公司国家电投集团氢能科技发展有限公司
CN_121790442_PA

Resumen de: CN121790442A

本发明提供了一种燃料电池循环系统及冷却液循环方法,系统包括燃料电池和容纳部件,燃料电池具有第一进口和第一出口,循环管道的两端口分别与第一进口和第一出口连通,容纳部件设置在循环管道上;第一温度检测部件设置在循环管道上,以检测自燃料电池输出的冷却液的实时温度;辅助管道组,具有第一端和第二端,第一端与容纳部件连通,第二端与车载空调系统连通,以在实时温度大于或等于第一设定温度,或者小于或等于第二设定温度时,向容纳部件内输送车载空调系统内的冷源或者热源;解决了现有技术中的在夏季高温环境中无法满足燃料电池的散热需求以及在冬季极端寒冷天气中无法满足燃料电池加热需求的问题。

一种质子交换膜燃料电池的阴极保护与运行控制方法及燃料电池系统

NºPublicación:  CN121790450A 03/04/2026
Solicitante: 
上海空间电源研究所
CN_121790450_PA

Resumen de: CN121790450A

本发明公开了一种质子交换膜燃料电池的阴极保护与运行控制方法及燃料电池系统,包含以下步骤:将质子交换膜燃料电池阳极排出的尾气进行气液分离;将气液分离后的尾气引入一缓冲混合腔,与阴极进气气体混合,得到混合气体;将所述混合气体通入质子交换膜燃料电池的阴极;实时监测所述质子交换膜燃料电池的单体电池电压、温度、阴极气路中的氢气浓度;基于所述单体电池电压、温度、阴极气路中的氢气浓度的监测信号,动态调节引入所述缓冲混合腔的尾气流量,使得阴极入口的氢气体积分数为1vol%~4vol%、单体电池电压小于等于0.85V。本发明通过在低温怠速工况下安全、可控地回用阳极尾气至阴极,利用其中残留氢气进行催化放热,协同解决了阴极高电位导致的催化剂衰减与电堆热管理困难,有效提升了燃料电池在怠速工况下的耐久性与可靠性。

一种燃料电池电堆的制备方法,系统及存储介质

NºPublicación:  CN121790455A 03/04/2026
Solicitante: 
国鸿氢能科技(嘉兴)股份有限公司
CN_121790455_PA

Resumen de: CN121790455A

本发明提供了一种燃料电池电堆的制备方法,系统及存储介质,方法包括:获取原始燃料电池电堆,包括原始双极板、原始气体扩散层和原始催化层;基于预设第一分段数得到第一双极板;基于预设第二分段数和预配置第一浆料得到第一气体扩散层;基于预设浓度乳液获取第二气体扩散层;基于预设催化层厚度和预设催化剂含量获取第一催化层;基于预设第三分段数、预配置第二浆料和预配置第三浆料得到第二催化层;基于第一双极板、第二气体扩散层和第二催化层,得到第一燃料电池电堆,以消除燃料电池电堆在运行过程中的发电不均匀问题。本发明提供的一种燃料电池电堆的制备方法,能够消除发电不均匀问题,提高性能输出,实现对燃料电池电堆的高效使用。

固体高分子型燃料电池密封材料

NºPublicación:  CN121794811A 03/04/2026
Solicitante: 
巴川集团股份有限公司
CN_121794811_PA

Resumen de: WO2025069645A1

The present invention addresses the problem of providing a polymer electrolyte fuel cell sealing material in which sealing performance is hardly reduced even after long-term operation of a polymer electrolyte fuel cell. In a polymer electrolyte fuel cell sealing material according to the present invention, a sheet-type adhesive member (1) contains an acrylic rubber (a), an epoxy resin (b), and an epoxy hardener (c), and the initial adhesive strength obtained by the following measurement method is 1.5 N/cm or higher. (i) Prepare two sheets of the sealing material cut to be 25 mm wide by 100 mm long. (ii) Paste the two sheets together by bringing 80 mm lengths of the sheet-type adhesive members in contact with one other using a roll laminator under conditions with a temperature of 100 °C, a pressure of 4 N/cm, and a press-bonding speed of 1 m/min, thereby obtaining a test piece. (iii) Respectively paste two polyimide films for fixing to two portions of the sheet-type adhesive members at the non-contact portions of the test piece, fix one end of one film to a lower chuck, and fix one end of the other film to an upper chuck. (iv) Use a universal tensile testing machine to measure the T-peel strength at a tensile speed of 50 mm/min.

一种镍基复合电极陶瓷氢燃料电池

NºPublicación:  CN121790436A 03/04/2026
Solicitante: 
深圳市涉氢新能源科技有限公司
CN_121790436_PA

Resumen de: CN121790436A

本发明属于氢燃料电池技术领域,具体涉及一种镍基复合电极陶瓷氢燃料电池,包括沿能量转换路径依次层叠设置的阳极组件、陶瓷电解质层、阴极组件,以及用于封装固定并优化运行环境的钛基支撑边框;所述阳极组件为石墨烯包覆镍泡沫复合电极,所述陶瓷电解质层为氧化钇稳定的氧化锆致密陶瓷材料,所述阴极组件为镧锶锰酸盐‑YSZ复合阴极,所述钛基支撑边框采用工业纯钛经精密加工与抗氧化处理制成。该发明以石墨烯包覆镍泡沫为核心复合电极,配合钛基支撑边框与氧化钇稳定的氧化锆陶瓷电解质,实现低成本、高传导效率、长续航、高温稳定性的技术效果,满足多领域规模化应用需求。

一种双极板及其制备方法和应用

NºPublicación:  CN121790432A 03/04/2026
Solicitante: 
辽宁科京新材料有限公司
CN_121790432_A

Resumen de: CN121790432A

本发明属于液流电池领域,具体涉及一种双极板及其制备方法和应用。将一定量的针状焦化学氧化处理后,与环氧树脂和制备的全氟磺酸树脂修饰后的聚苯胺反应预压成片进行低温微固化成片材放置于模具中,将处理后的针状焦与低密度聚乙烯(LDPE)/聚乙烯接枝马来酸酐粉末混合后,平铺于环氧树脂片材上下,热压制得双极板材料。环氧树脂层为双极板提供力学支撑,聚乙烯/PE‑g‑MAH外层为电解液与双极板提供足够大的接触面积,两界面之间通过聚苯胺与马来酸酐、胺类偶联剂与马来酸酐/环氧树脂的化学交联,形成稳固的界面结构,降低起层风险。

一种三明治结构的二维纳米材料基质子交换膜及其制备方法和应用

NºPublicación:  CN121790452A 03/04/2026
Solicitante: 
中国科学院青岛生物能源与过程研究所
CN_121790452_PA

Resumen de: CN121790452A

本发明属于质子交换膜领域,具体的说是一种三明治结构的氧化石墨烯基质子交换膜及其制备方法和应用。复合膜由三层结构组成,包括限域磷酸的氧化石墨烯(GO)层,以及两侧超薄导电聚合物层。通过将磷酸限域于GO层间,并在膜两侧构筑超薄超薄聚合物层,以提高质子传输能力并防止磷酸流失。该复合膜采用三明治结构设计,其中磷酸作为质子传输介质,调控GO层间距并优化氢键网络,提高膜的质子传导率,而超薄导电聚合物层有效阻挡磷酸的流失,增强其长期稳定性。其可广泛应用于氢燃料电池、电解水制氢、醇类燃料电池等领域。

一种中温式燃料电池系统及其控制方法

NºPublicación:  CN121790443A 03/04/2026
Solicitante: 
中经云数据存储科技(北京)有限公司
CN_121790443_PA

Resumen de: CN121790443A

本发明涉及燃料电池领域,尤其涉及一种中温式燃料电池系统及其控制方法。该系统使用甲醇水作为重整制氢原料,使用甲醇作为燃烧加热燃料。当系统启动时液态甲醇通过管道进入到燃烧槽中,经点火针点燃甲醇。甲醇和空气燃烧放热,对甲醇气化管进行加热,气化的甲醇和空气进一步燃烧放热,加热有焰燃烧重整器,循环介质加热单元对电堆进行循环加热;当有焰燃烧重整器和电堆同时达到工作条件时,开启甲醇水路,重整气进入电堆发电,当电堆可以维持其自身工作温度时,循环介质加热单元就可以关闭加热系统。相比于现有技术可以解决电加热启动时间长和电池容量大的问题。

一种交联的复合膜及其制备方法

NºPublicación:  CN121775680A 03/04/2026
Solicitante: 
华北电力大学
CN_121775680_PA

Resumen de: CN121775680A

本发明属于离子交换膜技术领域,提供了一种交联的复合膜及其制备方法,制备方法包括:将可溶性目标聚合物树脂溶解在溶剂中,在该溶液中加入卤代炔和含吡啶有机物,在一定温度下搅拌反应,卤代炔和含吡啶有机物聚合交联生成阳离子聚合物,将该反应液浇铸到制膜模具中,经过热处理除去溶剂形成膜材料,再经过离子交换除去杂质得到交联的复合膜。本发明合成条件温和,工艺简单,可以规模化制备,具备高离子电导率、高机械强度、低溶胀性能、低气体渗透,可应用于需要离子快速传导的应用体系,比如氢氧燃料电池、直接醇燃料电池、电解水、液流电池、氯碱工业、水处理、锂金属电池、锂离子电池等领域。

基于多特征融合的甲醇电池铂基催化剂筛选方法

NºPublicación:  CN121789841A 03/04/2026
Solicitante: 
兰州文理学院
CN_121789841_PA

Resumen de: CN121789841A

本发明公开了基于多特征融合的甲醇电池铂基催化剂筛选方法,涉及石墨烯与碳基电催化材料技术领域,该方法通过在甲醇燃料电池阳极工况下,同步采集铂基催化剂的结构界面特征、电化学行为特征及稳定性耐受特征数据,预处理后构建对应数据集;通过计算界面电子协同系数、中间体调控冲突系数和结构演化耐受系数,并与预设阈值或阈值区间进行对比,实现对催化剂界面电子传输能力、中间体反应调控能力及结构稳定性的分层筛选;结合多维评估结果,对不合格样品进行针对性机理分析并反馈优化设计,从而提高甲醇电池铂基催化剂筛选的科学性、准确性与工程适用性。

一种全钒液流电池多物理场多尺度代理建模方法

NºPublicación:  CN121787322A 03/04/2026
Solicitante: 
太原理工大学
CN_121787322_PA

Resumen de: CN121787322A

本发明属于全钒液流电池储能技术领域,具体涉及一种全钒液流电池多物理场多尺度代理建模方法,旨在解决无法高效处理电池内部多物理场耦合的难题。方法包括构建结构化代理模型,通过将多个线性动态算子块与多个静态非线性块以可微分方式互连,形成用于集成描述全钒液流电池的化学场、流体力学场和热力学场的拓扑结构。在结构化代理模型内部,通过将第一物理场的输出变量作为第二物理场的输入变量,建立化学场、流体力学场和热力学场之间的场间耦合关系。为模拟不同动态速度物理过程的线性动态算子块配置不同的动态响应特性。利用全钒液流电池运行的历史数据对结构化代理模型进行训练,并使用训练后的模型对全钒液流电池的内部状态进行实时重构。

电化学电池

NºPublicación:  CN121794810A 03/04/2026
Solicitante: 
福特斯丘未来工业私人有限公司
CN_121794810_PA

Resumen de: AU2024305070A1

An electrochemical cell comprising a non electrically-conductive structural frame for supporting components of the electrochemical cell and a tensioning element, wherein the structural frame comprises engagement means adapted to engage the tensioning element, wherein the engagement means comprises at least two bosses on the structural frame, each boss adapted to engage with a corresponding aperture on the tensioning element.

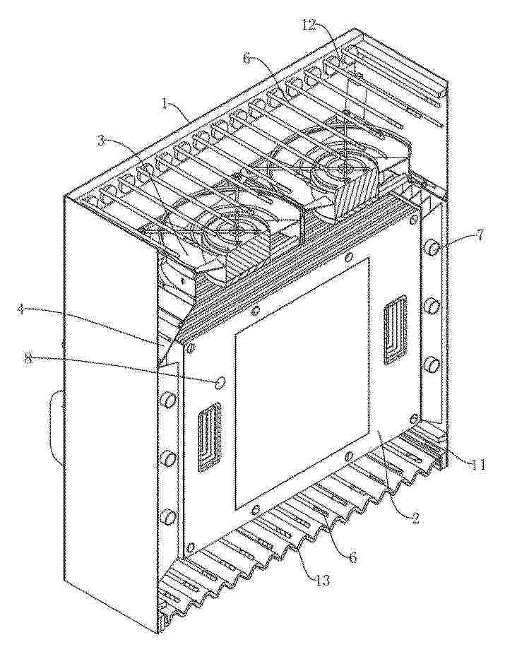
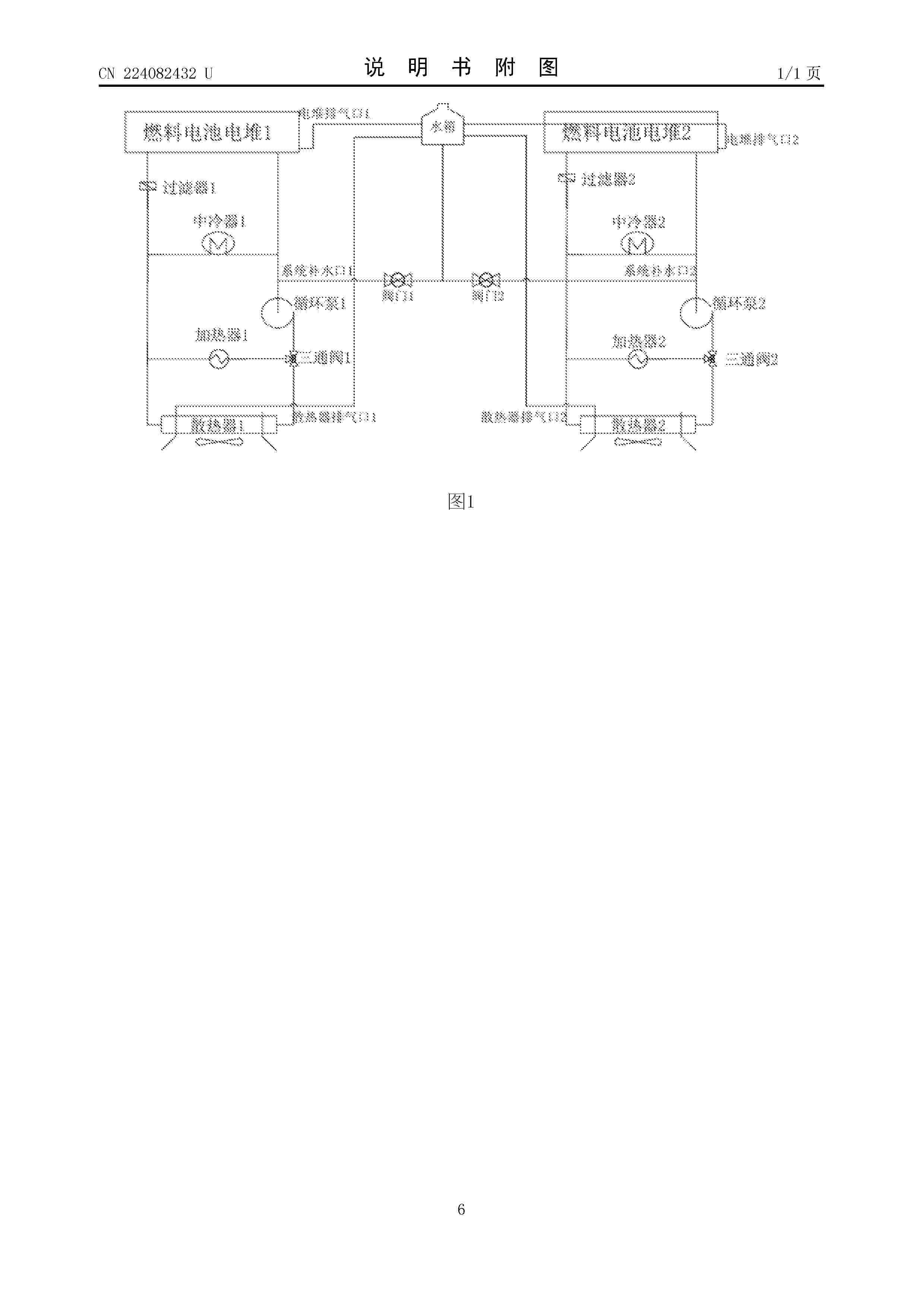
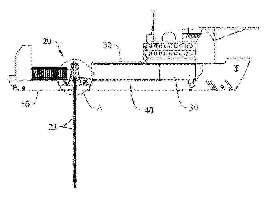
一种燃料电池的空气子系统、燃料电池系统

NºPublicación:  CN224082438U 03/04/2026
Solicitante: 
浙江天能氢能源科技有限公司

Resumen de: CN224082438U

本实用新型公开了一种燃料电池的空气子系统、燃料电池系统,利用阴极尾排混合气进行箱体吹扫,在背压阀与尾排集流管的一段阴极尾排管路中沿流体流动方向,斜向上引一支管,通过重力分离尾气与液态水,再经过去离子和干燥处理,与箱体内氢气和湿气中和后,输送至箱体尾端,穿过箱体尾端的透气阀,排入大气中。采用平铺的设计思路和高度集成的设计方法。将加湿器、中冷器等部分零部件高度集成,BOP呈U字形的集成、布置在箱体底部,降低了流道阻力。取消了氢气浓度传感器,简化了吹扫出口设计,提高了系统可靠性和发电效率,降低了成本和提高了空间利用率。

电动式工程机械

NºPublicación:  CN121794429A 03/04/2026
Solicitante: 
日立建机株式会社
CN_121794429_PA

Resumen de: JP2025120966A

To reduce the size of a hydrogen tank storing fuel of a fuel cell and the size of a heat exchanger releasing heat of coolant of the fuel cell.SOLUTION: An electrically-driven construction machine is provided, comprising an electric motor, a fuel cell, a battery, an operation device directing operation of a vehicle body, a power control device controlling the power supplied to the electric motor, and an external power receiver that receives power from a commercial power supply. The power control device calculates a required power amount of the electric motor based on operation amount of the operation device. The power control device charges the battery while driving the electric motor with power from the external power receiver when the required power amount does not exceed the maximum output value of the external power receiver and the battery can be charged, and charges the battery while driving the electric motor with power from a fuel cell and the external power receiver when the required power amount exceeds the maximum output value, does not exceed the total maximum output value of the external power receiver and the fuel cell, and the battery can be charged.SELECTED DRAWING: Figure 5

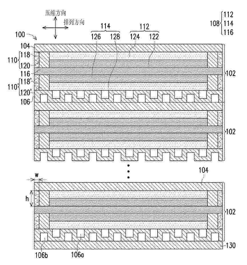
气冷式燃料电池电堆

NºPublicación:  CN121790437A 03/04/2026
Solicitante: 
财团法人工业技术研究院
CN_121790437_PA

Resumen de: CN114725426A

The invention discloses an air-cooled fuel cell stack which comprises a plurality of fuel cells, and each fuel cell comprises an anode bipolar plate, a cathode bipolar plate, a membrane electrode assembly and an anode sealing assembly. A membrane electrode assembly is located between an anode bipolar plate and a cathode bipolar plate and includes an anode-side structure, a cathode-side structure, and an ion-conducting membrane sandwiched between the anode-side structure and the cathode-side structure. And the anode sealing assembly is arranged at the periphery of the anode side structure and is clamped by the anode bipolar plate and the ion conduction membrane. The anode sealing assembly comprises a first sealing material and a second sealing material, the Shore hardness of the first sealing material is different from that of the second sealing material, and the arrangement direction of the first sealing material and the second sealing material is perpendicular to the compression direction of the plurality of fuel cells.

质子交换膜及其制备方法和应用

NºPublicación:  CN121779761A 03/04/2026
Solicitante: 
常州兴燃科技有限公司
CN_121779761_PA

Resumen de: CN121779761A

本发明提供了一种质子交换膜及其制备方法和应用,具体涉及质子交换膜技术领域。该质子交换膜具有层状结构,所述层状结构包括依次层叠设置的底层、中间层和顶层;所述底层为短支链全氟磺酸树脂层,所述中间层为混合全氟磺酸树脂层,所述顶层为长支链全氟磺酸树脂层,各层之间无明显物理界面,且相邻层之间通过分子链段的相互扩散与共结晶作用形成三维互锁结构;其中,所述中间层的层数≥1,所述中间层中的树脂为短支链全氟磺酸树脂和长支链全氟磺酸树脂。通过梯度过渡的中间层实现组分与性能的平滑衔接,显著提升了膜的整体机械强度、化学耐久性和质子传输效率。此外,三维互锁结构增强了层间粘结力,使膜在长期运行条件下仍能保持结构完整性。

一种具有湿度调节功能的复合质子交换膜及其制备方法和应用

NºPublicación:  CN121790451A 03/04/2026
Solicitante: 
中国科学院青岛生物能源与过程研究所
CN_121790451_PA

Resumen de: CN121790451A

本发明属于氢能领域,具体的说是一种具有湿度调节功能的复合质子交换膜及其制备方法和应用。合质子交换膜为全氟磺酸纳米纤维网络基底层,及其网络中含水凝胶填充层;其中,全氟磺酸纳米纤维网络基底层为含掺杂物质的前驱液经静电纺丝方式获得全氟磺酸纳米纤维网络基底层,所述掺杂物质为水凝胶成分;水凝胶填充层为经水凝胶成分形成,或,含掺杂物质的水凝胶成分所形成,所述掺杂物质为掺杂制备全氟磺酸纳米纤维网络基底层的前驱液。本发明所制备的复合膜显著降低了全氟磺酸的用量,极大地降低了制膜成本。其可广泛应用于氢能燃料电池、醇类燃料电池等领域。

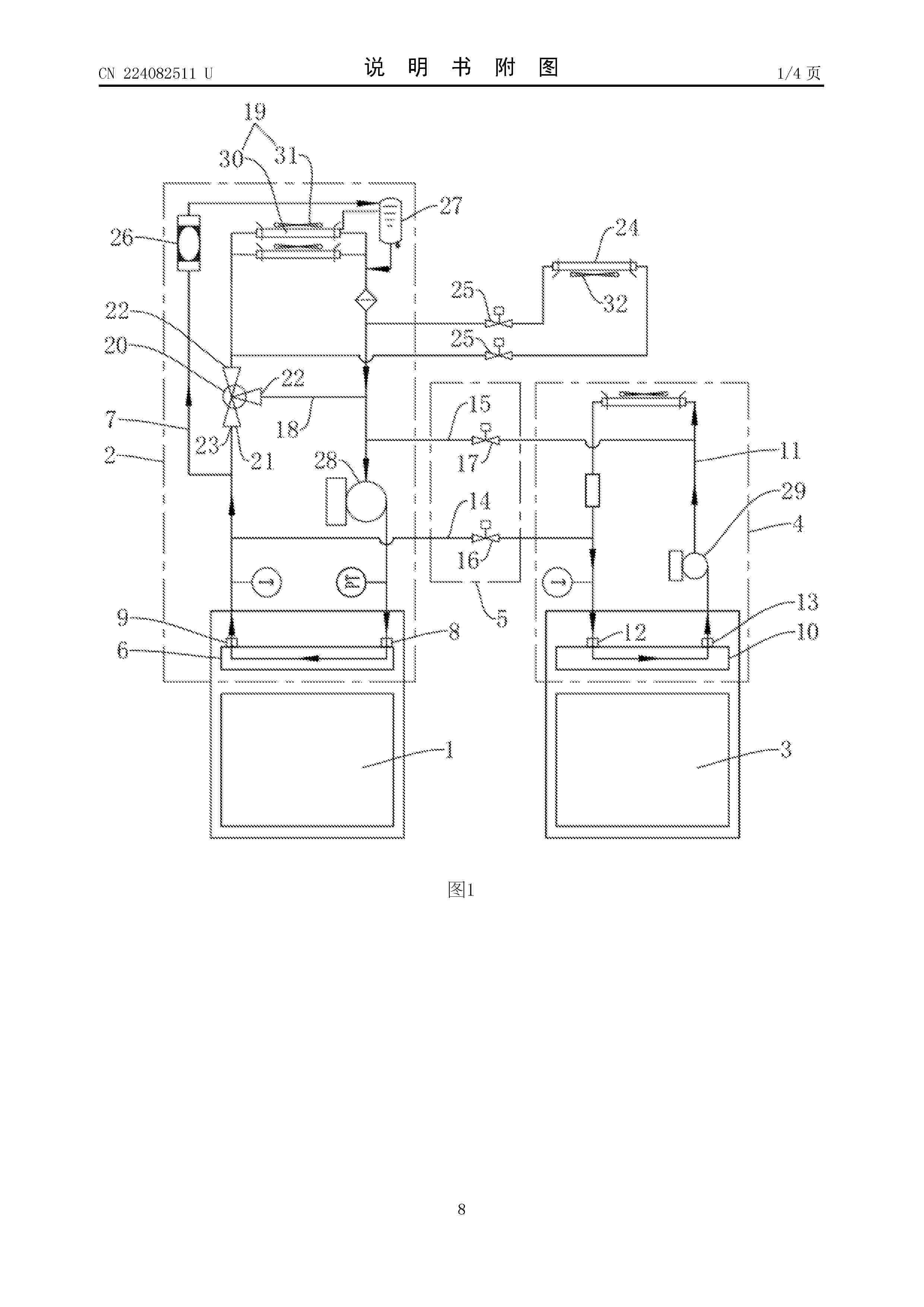
一种用于氢燃料车辆的热管理装置

NºPublicación:  CN224082511U 03/04/2026
Solicitante: 
宁波华盾新能源科技有限公司
CN_224082511_U

Resumen de: CN224082511U

本实用新型涉及氢燃料电池技术领域,公开一种用于氢燃料车辆的热管理装置,包括与氢燃料电池进行热交换的第一水循环系统、及与动力电池进行热交换的第二水循环系统,第一水循环系统与第二水循环系统之间搭接有循环水交换机构,本实用新型的一种用于氢燃料车辆的热管理装置,循环水交换机构能够导通第一水循环系统与第二水循环系统之间的水路,从而能够利用循环水的流通将第一水循环系统从氢燃料电池吸收的热能转移至第二水循环系统,并通过第二水循环系统与动力电池之间的热交换对动力电池进行加热。相较于现有技术,降低了动力电池驱动加热器工作的电能损耗,从而有效提升动力电池的续航,并增加热效率,同时降低能耗。

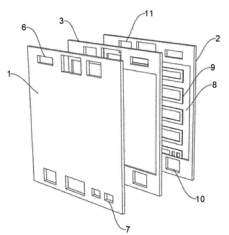
燃料电池双层边框制备设备以及膜电极生产设备

NºPublicación:  CN224082429U 03/04/2026
Solicitante: 
江苏氢导智能装备有限公司
CN_224082429_U

Resumen de: CN224082429U

本申请涉及一种燃料电池双层边框制备设备以及膜电极生产设备,属于氢燃料电池技术领域。该燃料电池双层边框制备设备包括:第一边框放卷机构,用于放卷第一边框料带;第一边框辊切机构,用于在第一边框料带上裁切出第一活性区开口;第二边框放卷机构,用于放卷第二边框料带;压合机构,用于压合层叠设置的带第一活性区开口的第一边框料带和第二边框料带;第二边框辊切机构,设置于所述压合机构的下游,用于在第二边框料带上裁切出第二活性区开口。该燃料电池双层边框制备设备能够自动化制备双层边框料带,且具有较好的生产质量。本申请还提出一种膜电极生产设备,包括该燃料电池双层边框制备设备。

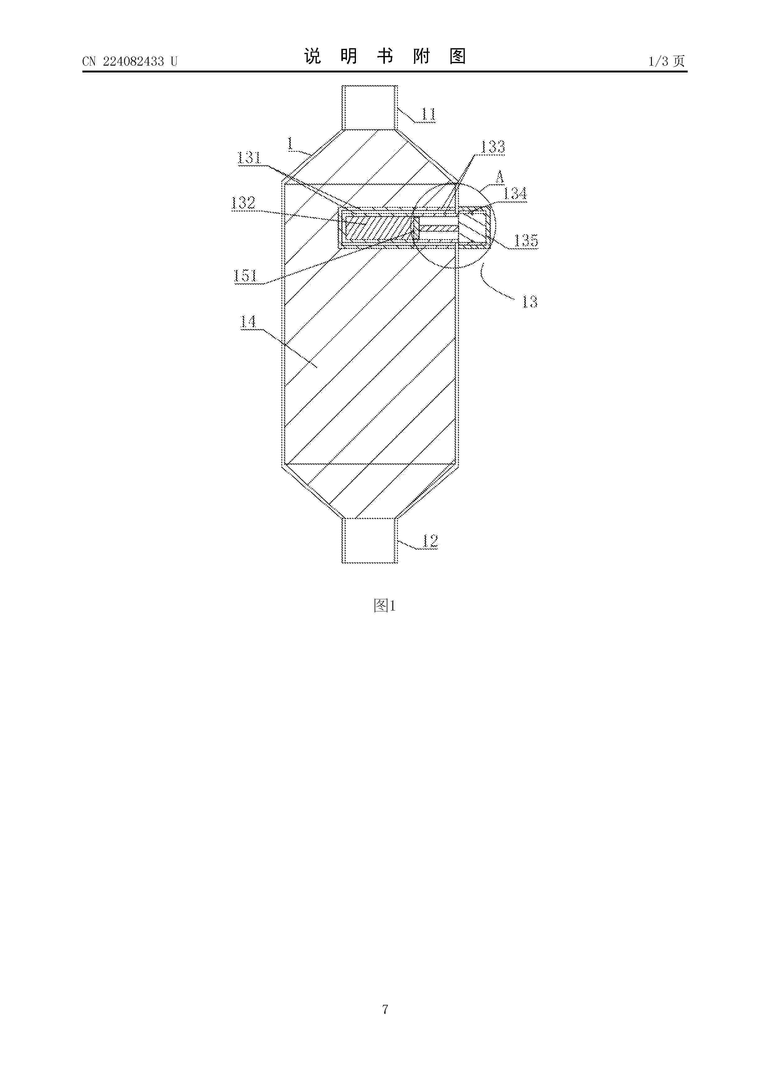
一种阴极封闭式的钛合金电堆结构

NºPublicación:  CN224082439U 03/04/2026
Solicitante: 
梦氢(南通)能源技术有限公司
CN_224082439_U

Resumen de: CN224082439U

本实用新型涉及钛合金电堆技术领域,公开了一种阴极封闭式的钛合金电堆结构,包括电堆,每组所述电堆之间设置有绝缘隔板,所述电堆的前后两端外表面固定连接有防撞板,所述防撞板的上端外表面固定连接有连接块,所述电堆的左右两侧外表面固定连接有端板一与端板二,在使用本装置时,通过设置的防撞板,可以在电堆发生碰撞时,不会撞到电堆,减少电堆变形、漏液等情况发生,对电堆起到一个保护作用,通过设置的锥形卡块一与锥形卡块二,可以方便我们将每组电堆均匀的叠加在一起,使其在发生碰撞时,不会对每组电堆的位置发生位移,同时在组装过程中,可以快速的对其进行定位组装起来,操作起来方便简单,组装起来的电堆稳定性更好。

一种燃料电池双极板胶线快速粘贴定位工装

NºPublicación:  CN224082430U 03/04/2026
Solicitante: 
苏州云帆氢能科技有限公司
CN_224082430_U

Resumen de: CN224082430U

本申请涉及一种燃料电池双极板胶线快速粘贴定位工装,其包括工装底座和盖合在所述定位底座上的盖板,所述工装底座的上表面向下凹陷形成有用于容纳密封胶线的胶线定位槽,所述胶线定位槽的深度小于所述密封胶线粘结在双极板上后突出所述双极板表面部分的厚度,所述工装底座分别与所述双极板和所述盖板之间形成定位结构,所述定位结构被配置为所述盖板盖压所述双极板时所述密封胶线能粘结在所述双极板的胶线粘结槽内。本申请通过在工装底座上设置胶线定位槽以容纳和固定密封胶线,以便于在密封胶线的上表面进行点胶,并通过盖板将双极板压盖在工装底座上,从而实现密封胶线和双极板的粘结,简化的两者的粘结难度,提高了粘结效率。

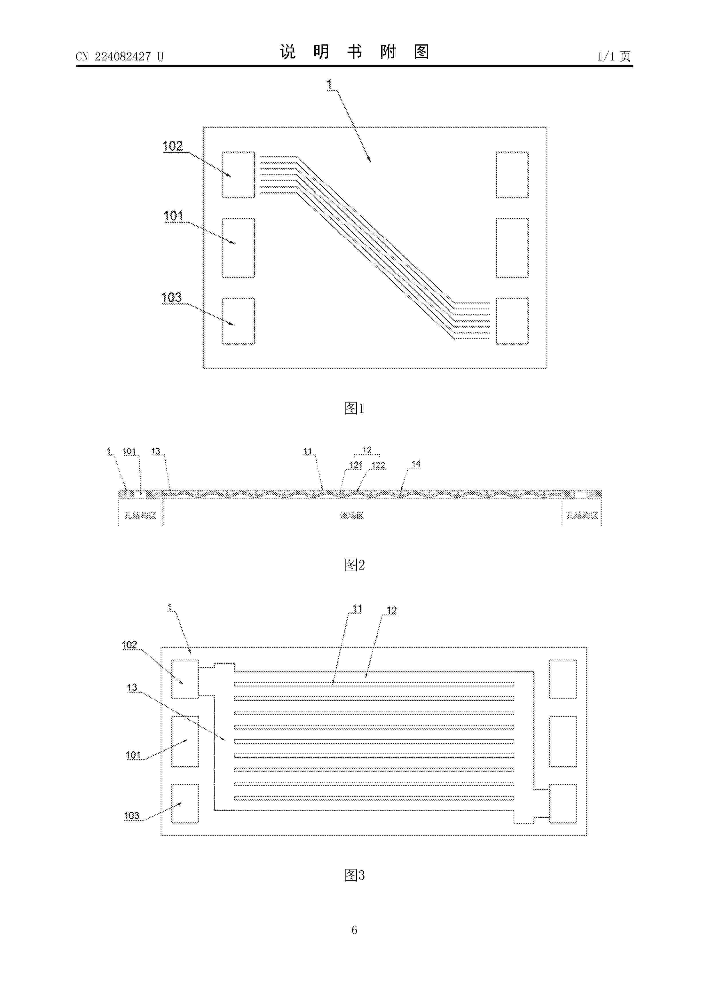
一种具有波浪形流道结构的双极板

NºPublicación:  CN224082427U 03/04/2026
Solicitante: 
成都新研氢能源科技有限公司
CN_224082427_U

Resumen de: CN224082427U

本发明公开了一种具有波浪形流道结构的双极板,涉及氢燃料电池技术领域,可解决现有技术中的流道设计控速主要依靠弯折设计,容易导致电堆局部过热的问题。本实施例的一种具有波浪形流道结构的双极板,包括板体,所述板体的流场区设有若干间隔且平行于板体长度方向设置的波浪形流道;波浪形流道的底部沿板体的长度方向高低交错设置。

端板、燃料电池堆以及燃料电池系统

NºPublicación:  CN121794812A 03/04/2026
Solicitante: 
罗伯特·博世有限公司
CN_121794812_PA

Resumen de: WO2025051480A1

The invention relates to an end plate (10) for a fuel cell stack (12) of a fuel cell system (14), the end plate comprising: a first connection portion (16) which has at least one first connector (18) for supplying and/or discharging at least one reactant and/or a reaction product and/or a coolant; and a second connection portion (20) which has at least one second connector (22) for supplying and/or discharging at least one reactant and/or a reaction product and/or a coolant; wherein: a reaction region (24) is situated between the first connection portion (16) and the second connection portion (18); the at least one first connector (18) of the first connection portion (16) has a first transfer region (26) for transferring the at least one reactant and/or the reaction product and/or the coolant into the fuel cell stack (12) or out of the fuel cell stack (12); and/or the at least one second connector (22) of the second connection portion (20) has a second transfer portion (28) for transferring the at least one reactant and/or the reaction product and/or the coolant into the fuel cell stack (12) or out of the fuel cell stack (12);and the first transfer region (26) and/or the second transfer region have/has a surface structure (30).

一种氢锂混电系统的安全能量管理方法以及氢锂混电系统

NºPublicación:  CN121777761A 03/04/2026
Solicitante: 
溯驭(杭州)智能科技有限公司
CN_121777761_A

Resumen de: CN121777761A

本发明提供了一种氢锂混电系统的安全能量管理方法以及氢锂混电系统,可以解决现有能量管理方法无法应对高动态负载或动态环境下燃料电池输出特性漂移的问题,保障系统安全,构建燃料电池效率模型,基于实时测量的数据确定燃料电池效率,设计在线参数估计器,用于实时辨识燃料电池效率模型中的未知参数,根据辨识结果确定燃料电池的功率安全范围,并结合预设的锂电池电荷水平约束,共同定义氢锂混电系统的安全工作区间;基于安全工作区间,建立基于控制障碍函数的安全约束条件,用于保证安全工作区间的前向不变性;构建包含能耗指标、寿命指标的代价函数,结合安全工作区间建立模型,用于预测控制能量管理优化问题;求解建立的模型,得到燃料电池的参考输出功率并作用于氢锂混电系统。

脱合金电催化剂

NºPublicación:  CN121794808A 03/04/2026
Solicitante: 
庄信万丰氢能科技有限公司
CN_121794808_PA

Resumen de: WO2025068691A1

The present invention provides a process for preparing solid, non-porous, de-alloyed electrocatalyst particles, the process comprising the steps of: providing solid, non-porous, platinum group metal alloy precursor particles PMn in which P is a platinum group metal and M is at least one alloying metal; in a de-alloying step to provide the solid, non-porous, de- alloyed electrocatalyst particles; supplying carbon monoxide to the precursor particles under conditions which remove at least some of the metal M from the surface of the precursor particles; wherein the de-alloyed electrocatalyst particles are particles of a platinum group metal alloy PMX in which P is a platinum group metal and M is at least one alloying metal, wherein the total atomic composition relative to P of M at the surface of the de-alloyed electrocatalyst is lower than the total atomic composition relative to P of M in the bulk of the de-alloyed electrocatalyst, and wherein x is less than n.

一种带有垂直表面微电极的液流电池双极板

NºPublicación:  CN121790425A 03/04/2026
Solicitante: 
海川太风水储能科技(无锡)有限公司
CN_121790425_A

Resumen de: CN121790425A

本发明属于液流电池储能技术领域,涉及一种带有垂直表面微电极的液流电池双极板,该液流电池双极板包括双极板基体和导电微电极层;所述双极板基体表面加工有电解液流道,所述导电微电极层由可碳化石墨化胶粘剂与垂直植绒的纤维材料经碳化处理后形成,所述导电微电极垂直于双极板基体的工作面均匀分布。本发明解决了现有液流电池双极板接触电阻大、反应面积与流阻难以兼顾、与电极协同性能差等问题,通过“可碳化石墨化胶粘剂涂布+静电植绒垂直纤维+碳化”的工艺,在双极板表面形成垂直定向的导电微电极,兼顾低流阻与大反应面积,可单独或结合碳毡/碳布使用,提升电池整体性能。

燃料电池单体、燃料电池堆和燃料电池系统

NºPublicación:  CN224082435U 03/04/2026
Solicitante: 
罗伯特·博世有限公司
CN_224082435_U

Resumen de: CN224082435U

本实用新型涉及燃料电池单体,包括:膜电极组件,具有依次叠置的阳极气体扩散层、阳极催化剂层、质子交换膜、阴极催化剂层和阴极气体扩散层;布置在膜电极组件的阳极侧的阳极隔板,阳极隔板形成多个彼此间隔开的阳极气体通道;布置在膜电极组件的阴极侧的阴极隔板,阴极隔板形成多个彼此间隔开的阴极气体通道;氮气分离层,氮气分离层在阴极隔板和膜电极组件之间布置在阴极气体扩散层上,氮气分离层具有多个彼此间隔开的氮气分离条,氮气分离条仅布置在阴极气体通道中。还涉及一种燃料电池堆和燃料电池系统。以成本有利和节省材料的方式阻碍空气中的氮气扩散至阴极催化剂层,增大在阴极催化剂层处的氧气浓度,提升燃料电池的反应速率和性能。

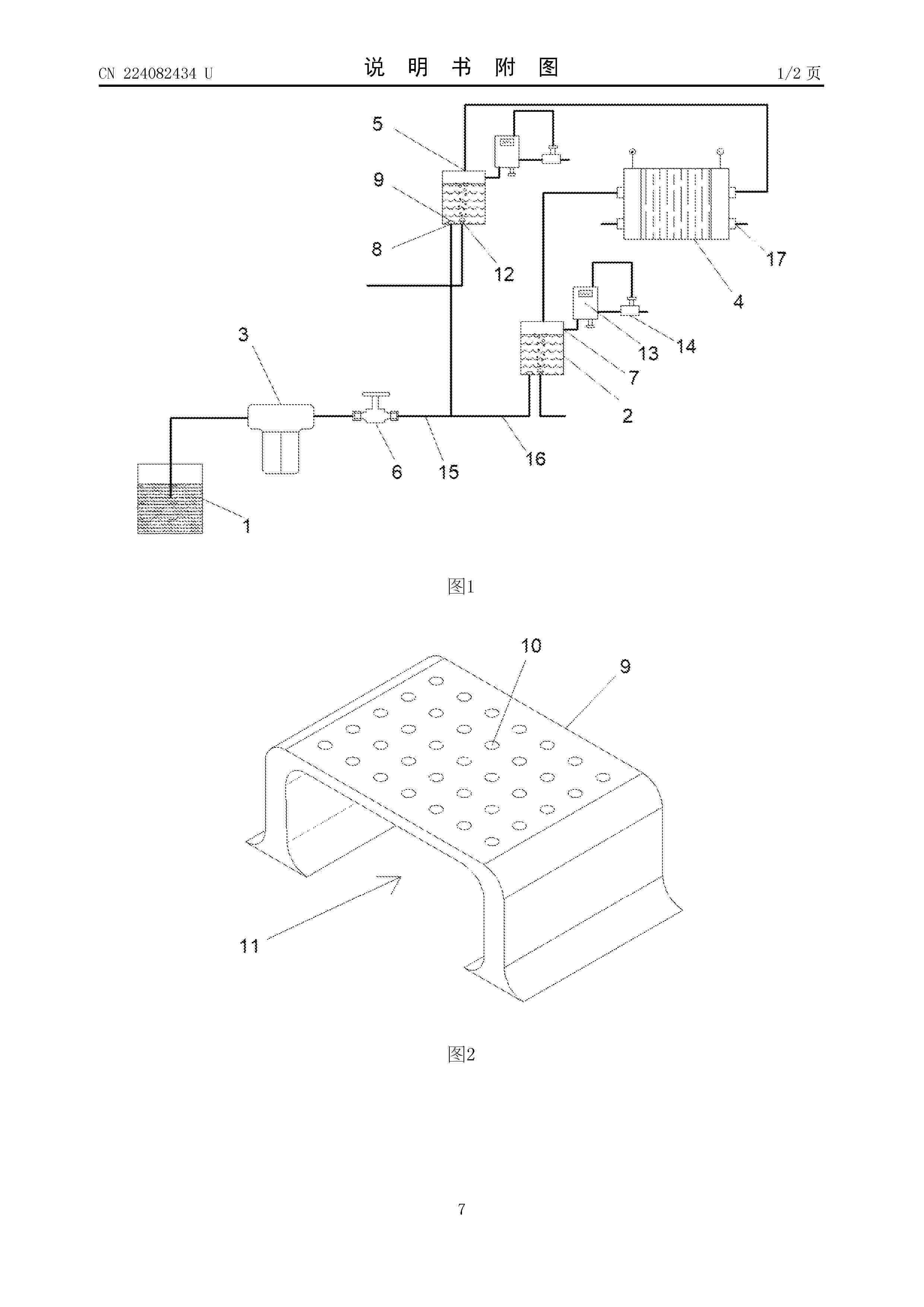
一种燃料电池系统测试电流保障装置

NºPublicación:  CN224082434U 03/04/2026
Solicitante: 
衢州高端电子化学品创新研究院
CN_224082434_U

Resumen de: CN224082434U

本实用新型提供一种燃料电池系统测试电流保障装置,包括储水罐以及加湿罐,所述加湿罐与储水罐之间通过水泵进行液体供给,所述加湿罐的出气口连通至燃料电池处,以使加湿罐中具有一定湿度的气体由出气口处进入燃料电池中;所述水泵与加湿罐之间设置有水流调节件,所述加湿罐边侧开设有泄压口;本实用新型提高补充气体的湿度稳定,有效控制水流对加湿罐的波动程度。

质子交换膜燃料电池双极板、燃料电池及电池堆

NºPublicación:  CN224082428U 03/04/2026
Solicitante: 
陕西氢能研究院有限公司
CN_224082428_U

Resumen de: CN224082428U

本实用新型公开了质子交换膜燃料电池双极板、燃料电池及电池堆,包括双极板单体、双极板单体顶端、底端一体成型的两个对称的Z字型折边以及双极板单体正面壁、背面壁设置的并列式多气路流道,所述双极板单体表面的边角位置处分别设置有贯穿至双极板单体外部的氢气进入口、氧气排出口、氢气排出口、氧气进入口。本实用新型通过设置有双极板单体、山字形端盖、山字形底盖等相互配合的结构,其中双极板单体通过前后面设计并列式多气路流道,确保了氢气和氧气的均匀分配,且山字形的端盖和底盖有效地避免了组件之间的相对位移,增强燃料电池堆的整体强度,以此更好地抵抗燃料电池内部的气体压力、温度变化以及机械应力,防止出现松动或错位的情况。

加热控制装置和燃料电池系统

NºPublicación:  CN224082431U 03/04/2026
Solicitante: 
博世氢动力系统(重庆)有限公司
CN_224082431_U

Resumen de: CN224082431U

本申请涉及一种加热控制装置和一种燃料电池系统,所述加热控制装置用于控制燃料电池系统中的辅助设备的加热,所述燃料电池系统包括电堆、从电堆的正极和负极引出的电源总线、以及与所述电源总线电连接的至少一个辅助设备,其中所述加热控制装置包括:与所述至少一个辅助设备电性地且机械地相关联的加热单元,所述加热单元与所述辅助设备并联地电连接至所述燃料电池系统的所述电源总线,所述加热单元由抗干扰电路模块构成,所述抗干扰电路模块的电器部件中纹波电流而产生的热量被供给至所述辅助设备。通过本申请中的结构,当车辆低温启动时,为燃料电池系统的辅助设备提供了一种新颖的加热方式,无需设备单独的加热元件。

一种燃料电池热电联供空气供给系统

NºPublicación:  CN224082437U 03/04/2026
Solicitante: 
浙江天能氢能源科技有限公司
CN_224082437_U

Resumen de: CN224082437U

本实用新型提供一种燃料电池热电联供空气供给系统,该系统利用电解水制氢的副产高压纯氧作为工作流体,通过喷射装置与空压机支路结合,实现空气增湿与循环利用电堆废气,减少增湿器与中冷器的使用,降低系统复杂度与空气流阻。系统包括进空气主路、进氧气支路、进空气支路及喷射装置,其中进氧气支路引入废氧,进空气支路设空压机,喷射装置混合废氧与新气供入电堆。出空气管路连接分水器,循环利用废气增湿新气,并设有回流调节阀。本系统降低了空压机功耗,提高了燃料电池热电联供发电效率。

一种防冻液污染燃料电池电堆后的性能恢复方法

NºPublicación:  CN121790445A 03/04/2026
Solicitante: 
中国重汽集团济南动力有限公司
CN_121790445_PA

Resumen de: CN121790445A

本发明提供一种防冻液污染燃料电池电堆后的性能恢复方法,属于燃料电池技术领域。本发明所述的性能恢复方法包括以下步骤,(1)在电堆的阴极和阳极均通入氮气,所述氮气的相对湿度为50‑80%;(2)在电堆的阳极通入氢气,阴极不通气,所述氢气的相对湿度为80‑100%;(3)关闭阳极出口阀门和进口阀门,阴极不通气;(4)将电堆温度、阴阳极气体流量、进气温度和相对湿度协同控制,将电堆拉载到0.2‑0.5A/cm2持续一段时间,使整个过程形成阴极贫氧乃至富氢环境;(5)将电堆正常拉载至2‑2.5A/cm2,完成恢复过程。本发明所述的方法既能高效快速的去除膜电极上的冷却液,又能使膜电极恢复至污染前的性能。

一种高稳定性的铁铬电解液、其制备方法及应用

NºPublicación:  CN121790454A 03/04/2026
Solicitante: 
大连融科储能集团股份有限公司
CN_121790454_PA

Resumen de: CN121790454A

本发明提供一种高稳定性的铁铬电解液、其制备方法及应用,所述高稳定性的铁铬电解液,其中包含含硫的无机化合物和金属离子。所述含硫的无机化合物添加量以S计为100~900mg/L;所述金属离子添加量以金属离子计为5~10mM。本发明高稳定性的铁铬电解液中添加有含硫的无机化合物,能有效调节电池运行中pH值变化,抑制析氢副反应;还能有效改变电极的双电层,增大析氢反应的过电位,进一步达到抑制析氢的目的。本发明电解液中还投加有沉积电位在‑1.2~0V的金属离子,可在充放电过程中电沉积为金属单质并附着于多孔碳电极上,以此改性碳毡并增高析氢电位。

燃料电池电堆测试台

NºPublicación:  CN224082436U 03/04/2026
Solicitante: 
武汉海亿新能源科技有限公司
CN_224082436_U

Resumen de: CN224082436U

本实用新型涉及燃料电池技术领域,具体提供了燃料电池电堆测试台。该燃料电池电堆测试台包括:储水罐、循环水泵、待测电堆、加热组件、多通路流量调节阀和散热组件,其中:循环水泵的出水口连接待测电堆的入水口;循环水泵的入水口连接储水罐的出水口;多通路流量调节阀的第一出水口连接加热组件的入水口;多通路流量调节阀的第二出水口连接散热组件的入水口;多通路流量调节阀的入水口连接待测电堆的出水口;储水罐的入水口连接加热组件和散热组件的出水口。在该燃料电池电堆测试台中,能够通过调节多通路流量调节阀第一出水口和第二出水口的流量,来方便快捷地对燃料电池电堆的温度进行调节,解决了现有技术中的问题。

可实现快速加注的多燃料电池热管理系统

NºPublicación:  CN224082432U 03/04/2026
Solicitante: 
江苏氢芯动力科技有限公司
CN_224082432_U

Resumen de: CN224082432U

本实用新型涉及可实现快速加注的多燃料电池热管理系统,包括:若干套燃料电池热管理系统,每套燃料电池热管理系统包括:燃料电池电堆、中冷器、加热器、三通阀、散热器、循环泵及过滤器,三通阀包括第一端、第二端及第三端,循环泵的进端分别连接燃料电池电堆的出端及中冷器的出端,循环泵的出端与三通阀的第一端相连接,三通阀的第二端与加热器的进端相连接,三通阀的第三端与散热器的进端相连接,若干套燃料电池热管理系统共用一个水箱,水箱的出端与每套燃料电池热管理系统的循环泵的进端通过连接管路连接,所述连接管路上设有阀门,每套燃料电池热管理系统的散热器排气口及电堆排气口分别与水箱的进端相连接,从而大大提高了加注效率。

一种燃料电池系统用的带取样口的去离子器

NºPublicación:  CN224082433U 03/04/2026
Solicitante: 
宁波华盾新能源科技有限公司
CN_224082433_U

Resumen de: CN224082433U

本实用新型公开了一种燃料电池系统用的带取样口的去离子器,涉及燃料电池的去离子器技术领域,具有方便对去离子器内的树脂进行采样检测的优点,其技术方案要点是:包括中空的呈圆柱体的去离子器本体、设置在去离子器本体两端的呈漏斗状的出水口和进水口,所述去离子器本体侧壁上设有进入去离子器本体内的取样筒,所述取样筒的一端位于去离子器本体内且呈滤网筒,另一端延伸出去离子器本体外壁且设有封闭取样筒筒口的封闭件,所述取样筒内填充有树脂层一。

一种硅基双极板表面涂层及其制备方法与应用

NºPublicación:  CN121781064A 03/04/2026
Solicitante: 
重庆中光学建设镀膜科技有限公司
CN_121781064_PA

Resumen de: CN121781064A

本发明公开了一种硅基双极板表面涂层及其制备方法与应用。所述硅基双极板表面涂层包括依次层叠设置于硅基双极板表面的钛过渡层和致密类金刚石碳功能层。所述制备方法包括:采用磁控溅射技术在硅基双极板表面沉积形成钛过渡层,采用磁过滤真空电弧离子镀技术在钛过渡层表面沉积形成致密类金刚石碳功能层。本发明制得的硅基双极板表面涂层在保持低接触电阻(≤6 mΩ·cm2)的同时,凭借更强C‑C键与更高化学惰性,显著提升抗氧化性能。经200℃烘烤2小时,接触电阻变化率稳定控制在3%以内,展现出优异的高温稳定性,从而解决硅基双极板涂层使用传统制备方法电阻低但高温下易氧化、电阻增大的问题。

采用数据驱动方法的氢燃料电池故障检测装置及方法

NºPublicación:  CN121790448A 03/04/2026
Solicitante: 
无锡氢融时代科技有限公司
CN_121790448_PA

Resumen de: CN121790448A

本发明公开一种采用数据驱动方法的氢燃料电池故障检测装置及方法,属于氢燃料电池故障检测领域。该方法包括以下步骤:通过传感器获得氢燃料电池故障诊断深度学习模型的训练数据;采用上述数据对模型进行训练;通过传感器收集测试数据,并输入训练好的氢燃料电池故障诊断深度学习模型计算获得氢燃料电池的输出电压;比较传感器测试获得的输出电压和模型预测获得的输出电压,如果偏差超过用户预设的阈值,显示氢燃料电池的故障状态。本发明基于对氢燃料电池输出特性有显著影响的一系列传感器数据进行处理,建立输出电压的预测模型,从而对电池特性是否偏移正常工作状态进行判断,获得电池是否处于故障状态的最终检测结果。

涂料组合物的制造方法、钇稳定化氧化锆层、电化学元件、电化学模块、电化学装置、能量系统、固体氧化物型燃料电池和固体氧化物电解电池单元

NºPublicación:  CN121794333A 03/04/2026
Solicitante: 
大阪瓦斯株式会社
CN_121794333_PA

Resumen de: WO2025052665A1

The present invention provides a coating composition (b2) with which a film can be formed at low cost by a simple method using a zirconium alkoxide (o) and a yttrium compound (p) as starting materials, and with which a dense yttria-stabilized zirconia layer can be obtained. A coating composition (b2) is obtained that contains a zirconium alkoxide (o), an yttrium compound (p), a chelate compound (q), a polyalkylene glycol (r), a catalyst (s), water (t), and an organic solvent (u).

燃料电池热电联供环境的固态储氢管理方法及系统

NºPublicación:  CN121790446A 03/04/2026
Solicitante: 
国网江苏省电力有限公司常州供电分公司国网江苏省电力有限公司电力科学研究院钢研华普科技有限公司
CN_121790446_PA

Resumen de: CN121790446A

本发明公开了燃料电池热电联供环境的固态储氢管理方法及系统,涉及燃料电池技术领域。方法包括:对储氢合金床和燃料电池进行温度匹配性动态分析,输出余热分流阀开度指令;对储氢合金床进行监测,得到氢气绝对压力、吸氢体积流量和放氢体积流量;进行压力失配分析,输出电解槽压力设定指令;获得发电功率时序曲线和负载需求预测曲线;进行实时形变位移数据的检测输出;进行多参数约束优化决策,输出动态协同控制指令;对固态储氢系统执行闭环反馈控制。解决了现有技术中固态储氢系统各组件间的运行参数易发生失配,导致系统协同效率低的技术问题,通过多参数动态分析与协同控制,实现了各组件运行参数的高效匹配,从而提高系统性能的技术效果。

基于自清洁的翅片式散热器及其在燃料电池散热中的应用

NºPublicación:  CN121790438A 03/04/2026
Solicitante: 
常州凯鹏液流器材有限公司
CN_121790438_PA

Resumen de: CN121790438A

本发明涉及燃料电池相关技术领域,具体是基于自清洁的翅片式散热器及其在燃料电池散热中的应用,包括壳体及设于壳体内用于输送冷媒的管道,还包括:等距设置在壳体的侧部且与管道固定连接的多个翅片;清洁模块,设于壳体的侧部,包括:横移块及与横移块固定的装配板,装配板上设有多组清洁件,清洁件包括两个分别位于翅片两侧且相对设置的两个毛刷,毛刷朝向翅片的一侧设有擦拭面,横移块能够带动毛刷沿翅片的长度方向活动;两组传导机构相向运动的行程量在毛刷沿翅片长度方向移动过程中逐渐递增,以使两个毛刷对翅片的夹持力逐渐递增,使毛刷更紧密地贴合翅片表面,从而减少毛刷与翅片之间的空隙,使清扫除尘效果有所提升。

燃料电池氢气循环系统

NºPublicación:  CN121790444A 03/04/2026
Solicitante: 
三一氢能科技有限公司
CN_121790444_PA

Resumen de: CN121790444A

本申请提供一种燃料电池氢气循环系统,涉及电池技术领域。本申请提供的燃料电池氢气循环系统,包括储氢容器、第一比例阀、第二比例阀、第一引射器、第二引射器、第三引射器以及燃料电池堆,第一比例阀和第二比例阀并列设置;第一引射器的进气口连通于第一比例阀的出气口,第二引射器的进气口连通于第一引射器的出气口,第二引射器的出气口连通于燃料电池堆的进气口,第三引射器的进气口连通于第二比例阀的出气口,第三引射器的出气口连通于燃料电池堆的进气口,第一引射器的引射口、第二引射器的引射口以及第三引射器的引射口均连通于燃料电池堆的排气口。本申请提供一种燃料电池氢气循环系统,可以提高引射器的引射效果。

一种无人机用自控温型氢燃料电池结构

NºPublicación:  CN121790456A 03/04/2026
Solicitante: 
协氢(深圳)无人机科技有限公司
CN_121790456_PA

Resumen de: CN121790456A

本发明涉及氢燃料电池技术领域,具体是涉及一种无人机用自控温型氢燃料电池结构,包括电池壳、电池堆、引流扇、封闭闸组、进气风门组件、出气风门组件、换热管和温度传感器,通过温度传感器反馈,能全自动根据电池堆实时工况在“内部循环调整至设定温度”与“外部进风冷却”两种模式间无缝切换,解决了无人机从高空低温到地面高温极端环境下的热管理难题,无需外部复杂控制系统或附加加热装置。

一种采用氢燃料电池堆余热利用的热管理系统

NºPublicación:  CN121790441A 03/04/2026
Solicitante: 
上海仪达空调有限公司
CN_121790441_PA

Resumen de: CN121790441A

本发明公开一种采用氢燃料电池堆余热利用的热管理系统,包括氢燃料电池堆,所述氢燃料电池堆内部的热量通过冷却液传递至余热制冷模块或余热制热模块,所述余热制冷模块、余热制热模块分别与所述氢燃料电池堆之间通过冷却液的流动形成闭环回路,通过冷却液以及相对应的换热器进行热量换热,实现降温和供暖;本发明替代了传统散热、制冷及供暖方案,在提升氢燃料电池堆整体效率的同时,全面满足电池机组及其他设备的制冷与制热需求,兼具节能、紧凑、适配性强的优势。

一种氢燃料电堆框架结构

NºPublicación:  CN121790457A 03/04/2026
Solicitante: 
唐山和曦氢能源科技有限公司
CN_121790457_PA

Resumen de: CN121790457A

本发明涉及氢燃料电堆技术领域,尤其涉及一种氢燃料电堆框架结构,其技术方案包括顶盖,底板,保险组件和主螺栓,所述底板的内部开设有十二组螺栓孔;所述底板的顶部堆叠安装有若干块单电池;所述底板的内部分别位于正前方、正后方、正左方和正右方安装有主螺栓,且主螺栓的两侧分别安装有两根副螺栓。本发明通过在主螺栓的外侧套装有套环,能够利用套环、安装架和止动板形成杠杆,通过将套环的一端与主螺栓外侧的螺母紧密连接,能够在螺母发生松动时,推动止动板向下移动,进而对下沉板施加压力,使得下沉板对底部的多组单电池施加压力,确保主螺栓在发生松动时,能够使装置整体保持结构稳定,避免单电池之间受力不均出现缝隙。

一种固态储氢罐、固态储氢模块及其热管理系统

NºPublicación:  CN121782507A 03/04/2026
Solicitante: 
中车株洲电力机车有限公司
CN_121782507_PA

Resumen de: CN121782507A

本发明公开了一种固态储氢罐、固态储氢模块及其热管理系统,应用于储氢技术领域,包括:罐体;填充在罐体内的储氢合金;在储氢合金内分布的晶须;晶须的结构强度大于储氢合金的结构强度,晶须的导热系数大于储氢合金的导热系数。通过在储氢合金中添加晶须,可以增加罐体内部材料的结构强度同时增加罐体内部材料的导热性能,使得热量可以更快的在罐体内部传递,以提升储氢罐本体充放氢速率。

用于液流电池的质子交换膜及其制备方法,液流电池

NºPublicación:  CN121790453A 03/04/2026
Solicitante: 
普能世纪(山西)新材料有限公司
CN_121790453_A

Resumen de: CN121790453A

本申请提供了一种用于液流电池的质子交换膜及其制备方法,液流电池。该方法包括混合有机溶剂与全氟磺酸树脂并搅拌得到全氟磺酸树脂溶液;向全氟磺酸树脂溶液中加入柠檬酸铋纳米粉末,乳化分散得到预制膜液;在真空下,用紫外光照射预制膜液以得到制膜液;用制膜液涂布基材得到附着在基材上的湿膜;以及对附着在基材上的湿膜干燥和退火,从基材上剥离所形成的膜,得到所述质子交换膜。本申请的质子交换膜包含柠檬酸铋催化剂有效降低了膜的过电阻,同时抑制了负极的析氢反应。

THERMAL ENERGY STORAGE SYSTEMS FOR USE IN MATERIAL PROCESSING

NºPublicación:  US20260092542A1 02/04/2026
Solicitante: 
RONDO ENERGY INC [US]
Rondo Energy, Inc
US_20260092542_A1

Resumen de: US20260092542A1

An energy storage system (TES) converts variable renewable electricity (VRE) to continuous heat at over 900° C. Intermittent electrical energy heats a solid medium. Heat from the solid medium is delivered continuously on demand. Heat delivery via flowing gas establishes a thermocline which maintains high outlet temperature throughout discharge. The delivered heat which may be used for processes including power generation and cogeneration. In one application, thermal energy storage systems are used to improve efficiency and reduce carbon emissions associated with processing materials or other industrial applications.

COORDINATED OPTIMIZATION METHOD AND SYSTEM FOR HYDROGEN FUEL CELL VEHICLE, DEVICE, AND MEDIUM

NºPublicación:  US20260091708A1 02/04/2026
Solicitante: 
STATE GRID ZHEJIANG JIASHAN POWER SUPPLY CO LTD [CN]
STATE GRID ZHEJIANG JIASHAN POWER SUPPLY CO., LTD
US_20260091708_A1

Resumen de: US20260091708A1

A coordinated optimization method and system for a hydrogen fuel cell vehicle, a device, and a medium. The method includes: determining a target output voltage and a target output current corresponding to a stack in a hydrogen fuel cell vehicle; determining a sub-stack efficiency score corresponding to one of sub-stacks, and determining a sub-stack stability score corresponding to the sub-stack; obtaining a comprehensive score of the sub-stack efficiency score and the sub-stack stability score, and determining a primary stack and a secondary stack from the sub-stacks according to a comprehensive score result; generating, according to the target output voltage and the target output current, a primary stack output parameter corresponding to the primary stack and a secondary stack output parameter corresponding to the secondary stack; and dynamically adjusting an operating state of the primary stack, and dynamically adjusting an operating state of the secondary stack.

SYSTEM AND METHOD TO CONTROL HYDROGEN-TO-OXYGEN RATIO IN AN ANODE SIDE AT TURNDOWN IN ELECTROLYZERS

NºPublicación:  US20260092386A1 02/04/2026
Solicitante: 
NEW HYDROGEN IP LLC [US]
NEW HYDROGEN IP, LLC
US_20260092386_A1

Resumen de: US20260092386A1

An electrolysis system includes an electrolyzer stack having an anode side that provides an anode-side gas having a hydrogen-to-oxygen (HTO) ratio, an oxygen separator tank fluidically coupled the anode side, and an anode-side dilution system that is changeable between a closed-monitor state and an open-dilution state.

SENSOR DEVICE FOR MONITORING A WATER ELECTROLYSIS INSTALLATION, TO BE PLACED INSIDE A FLUID OF THE WATER ELECTROLYSIS INSTALLATION, RELATED INSTALLATION AND METHOD

NºPublicación:  US20260092385A1 02/04/2026
Solicitante: 
TOTALENERGIES ONETECH [FR]
TotalEnergies OneTech
US_20260092385_A1

Resumen de: US20260092385A1

The sensor device comprises: at least one optical fiber probe having a sensing region; a light source apparatus providing an input light to the optical fiber probe; a processing apparatus for processing an output light emitted by the optical fiber probe after receiving the input light from the light source apparatus; characterized by: a temperature sensor and/or a pressure sensor located in the vicinity of the sensing region to measure a temperature and/or pressure of the fluid in contact with the sensing region, the temperature sensor and/or pressure sensor being connected to the processing apparatus for processing simultaneously the output light and the measured fluid temperature and/or pressure.

ELECTROLYZER AND METHOD OF USE

NºPublicación:  US20260092380A1 02/04/2026
Solicitante: 
TWELVE BENEFIT CORP [US]
Twelve Benefit Corporation
US_20260092380_A1

Resumen de: US20260092380A1

Provided herein are methods for operating carbon oxide (COx) reduction reactors (CRR) and related apparatus. In some embodiments, the methods involve shutting off, reducing, or otherwise controlling current during various operation stages including hydration, break-in, normal operation, planned shut-offs, and extended shutoff or storage periods.

HOLLOW FIBER MEMBRANE MODULE

NºPublicación:  US20260091358A1 02/04/2026
Solicitante: 
NOK CORP [JP]
NOK CORPORATION
US_20260091358_A1

Resumen de: US20260091358A1

A hollow fiber membrane module including a plurality of hollow fiber membranes, a case, in an accommodation interior of which the plurality of hollow fiber membranes are accommodated, the accommodation interior being open at both ends, and a pair of sealing and fixing portions that seal gaps among the plurality of hollow fiber membranes in a state where each of hollow interiors of the plurality of hollow fiber membranes is open on each of one end side and the other end side of the case, wherein the hollow fiber membrane module further including a holding member provided in the case and configured to hold the plurality of hollow fiber membranes, and the plurality of hollow fiber membranes are fixed to the holding member by the pair of sealing and fixing portions.

MITIGATION OF GREENHOUSE GASES

NºPublicación:  US20260091352A1 02/04/2026
Solicitante: 
JOHNSON MATTHEY PLC [GB]
JOHNSON MATTHEY PUBLIC LIMITED COMPANY
US_20260091352_A1

Resumen de: US20260091352A1

A method of reducing the greenhouse gas impact of livestock farming includes feeding a fuel gas comprising one or more hydrocarbons to an anode of a solid oxide fuel cell stack, withdrawing air, that includes methane originating from livestock, from a livestock housing or enclosure and feeding the withdrawn air to a cathode of the solid oxide fuel cell stack. The oxygen in the air is allowed exothermically to react with the one or more hydrocarbons in the fuel gas to form at the anode a heated first exhaust stream comprising water and carbon dioxide and at the cathode a heated second exhaust stream comprising methane, thereby generating an electrical current from the solid oxide fuel cell stack through an external electrical circuit. At least the heated second exhaust stream is fed to a combustor and combusted, producing a heated tail gas stream.

METHOD OF PRODUCING A NITROGEN ENRICHED STREAM FROM AN ELECTROCHEMICAL SYSTEM

NºPublicación:  US20260091349A1 02/04/2026
Solicitante: 
ROBERT BOSCH GMBH [DE]
Robert Bosch GmbH
US_20260091349_A1

Resumen de: US20260091349A1

A method of producing a nitrogen enriched stream from an electrochemical system. The method includes operating the electrochemical system in an operating state, operating the electrochemical system in a bleed down state to produce a nitrogen enriched stream on a cathode side of the electrochemical system, and exhausting the nitrogen enriched stream from the cathode side of the electrochemical system through an exhaust valve to produce the nitrogen enriched stream from the electrochemical system. The produced nitrogen gas may be used to purge, blanket, cool, and/or diagnose state of health (SoH) of an electrochemical system such as a PEMFC system.

PEM FUEL CELL STACK

NºPublicación:  US20260094850A1 02/04/2026
Solicitante: 
KINGSBERRY FUEL CELL POWER INC [US]
KINGSBERRY FUEL CELL POWER, INC
US_20260094850_A1

Resumen de: US20260094850A1

A fuel cell stack comprises two of an interface plate, two or more of an air plate, two or more of a reaction cell, at least one of a fuel-air bipolar plate, and at least one of a fuel-coolant bipolar plate defining a cooling surface. The two of an interface plate, the two or more of an air plate, the two or more of a reaction cell, the at least one of a fuel-air bipolar plate, and the at least one of a fuel-coolant bipolar plate are arranged to provide a reaction cell to cooling surface ratio within the fuel cell stack of from 1:1 to 10:1.

CATALYTIC ELECTRODE FOR FUEL CELL OR ELECTROLYTIC CELL, AND PROCESS FOR MANUFACTURING SAID ELECTRODE

NºPublicación:  US20260094848A1 02/04/2026
Solicitante: 
NAWAH [FR]
LAIR LIQUIDE SA POUR LETUDE ET LEXPLOITATION DES PROCEDES GEORGES CLAUDE [FR]
NAWAH,
L'AIR LIQUIDE, SOCIETE ANONYME POUR L'ETUDE ET L'EXPLOITATION DES PROCEDES GEORGES CLAUDE
US_20260094848_A1

Resumen de: US20260094848A1

A method of preparing an array of vertically aligned carbon nanotubes for use in catalytic electrodes for fuel cell or electrolytic cell, comprising: providing an array of vertically aligned carbon nanotubes obtained by a gas phase growth process in which the precursor of a carbon nanotube growth catalyst is added continuously to the feed gas; and depositing a plurality of platinum nanodots onto the outer surface of said vertically aligned carbon nanotubes by using a gas phase deposition process such as ALD. The ALD process advantageously uses a platinum source gas which is Pt(PF3)4. The nanodots can be protected by nanocaging.

SOLID-STATE ELECTROLYTE SHEET, SOLID OXIDE FUEL CELL, SOLID OXIDE ELECTROLYZER CELL, AND METHODS OF MAKING THE SAME

NºPublicación:  US20260094852A1 02/04/2026
Solicitante: 
CORNING INCORPORATED [US]
CORNING INCORPORATED
US_20260094852_A1

Resumen de: US20260094852A1

A solid-state electrolyte sheet includes stabilized zirconia grains having from 3 mol % to 12 mol % of a dopant selected from alumina, cerium oxide, gadolinium oxide, scandia, yttria, ytterbia, and combinations thereof. In aspects, the solid-state electrolyte sheet exhibits an ionic conductivity of 6.79 S/m or more at 800° C. or 8.8 S/m or more at 835° C. In aspects, the stabilized zirconia grains can exhibit a ratio of a cubic phase to a tetragonal phase (C/T ratio) of 0.12 or more. In aspects, the solid-state electrolyte sheet can be part of a solid oxide fuel cell and/or a solid oxide electrolyzer cell. Methods include casting a green tape comprising stabilized zirconia and firing the green tape by heating to form a sintered tape and then quenching the sintered tape from a starting temperature of 600° C. or more to a final temperature of less than 100° C.

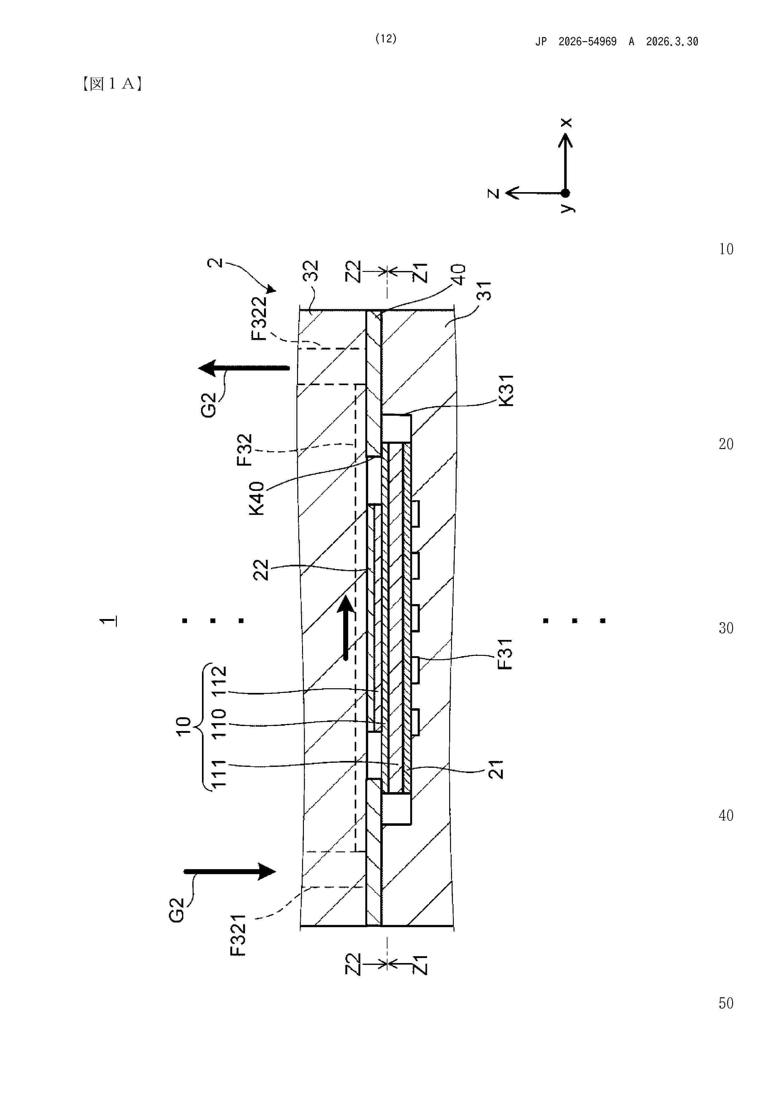
FUEL CELL STACK

NºPublicación:  US20260094849A1 02/04/2026
Solicitante: 
TOYOTA BOSHOKU KK [JP]
TOYOTA BOSHOKU KABUSHIKI KAISHA
US_20260094849_A1

Resumen de: US20260094849A1

A fuel cell stack includes multiple stacked single cells. Each single cell includes a power generation portion, a first separator, and a second separator. Each single cell includes a cooling medium supplying hole at an end portion on one side in a first direction and a cooling medium discharging hole at an end portion on the other side in the first direction. The first separator includes grooves and ridges that form multiple meandering first passages. The second separator includes grooves and ridges that form multiple meandering second passages. Reversing sections of the first passages and reversing sections of the second passages extend to be inclined with respect to a second direction. The reversing sections of the first passages and the reversing sections of the second passages overlap with each other so as to intersect with each other between the cooling medium supplying hole and the cooling medium discharging hole.

ELECTRODE AND ELECTROCHEMICAL CELL

NºPublicación:  US20260094846A1 02/04/2026
Solicitante: 
CERES INTELLECTUAL PROPERTY COMPANY LTD [GB]
CERES INTELLECTUAL PROPERTY COMPANY LIMITED
US_20260094846_A1

Resumen de: US20260094846A1

An electrochemical cell is disclosed having a porous metal support, a gas transport layer on the porous metal support, and an electrode layer on the gas transport layer. The gas transport layer is electrically conductive and has an open pore structure comprising a pore volume fraction of 20% by volume or higher and wherein the electrode layer has a pore volume fraction lower than the pore volume fraction of the gas transport layer. Also disclosed is a stack of such electrochemical cells and a method of producing such an electrochemical cell.

PHOSPHATE-RESISTANT CATALYST MATERIAL HAVING OPTIMUM SURFACE MODIFICATION AND METHOD OF MITIGATING PHOSPHATE POISONING IN A FUEL CELL

NºPublicación:  US20260094847A1 02/04/2026
Solicitante: 
TOYOTA MOTOR ENGINEERING & MFG NORTH AMERICA INC [US]
TOYOTA JIDOSHA KK [JP]
Toyota Motor Engineering & Manufacturing North America, Inc,
Toyota Jidosha Kabushiki Kaisha
US_20260094847_A1

Resumen de: US20260094847A1

Disclosed is a surface-modified catalyst material comprising platinum-containing nanoparticles on a carbon support; and a phosphate-resistant surface-modifying additive comprising poly (melamine-co-formaldehyde) (PMF); formed on a surface of the platinum-containing nanoparticles to form surface-modified catalyst nanoparticles. The surface-modifying additive covers between 10 and 40% of the surface of the surface-modified catalyst nanoparticles. Proton exchange membrane fuel cells and methods of mitigating phosphate poisoning are also disclosed.

ELECTRODE FOR FUEL CELL WITH PREVENTED IONOMER POISONING OF CATALYST AND REDUCED ELUTION AND METHOD OF MANUFACTURING SAME

NºPublicación:  US20260094845A1 02/04/2026
Solicitante: 
HYUNDAI MOTOR COMPANY [KR]
KIA CORP [KR]
Hyundai Motor Company,
Kia Corporation
US_20260094845_A1

Resumen de: US20260094845A1

An electrode for a fuel cell comprises an electrode binder and an electrode catalyst dispersed therein. The electrode catalyst includes a catalyst complex with a catalytic metal supported on a support and a porous polymer coating layer. The porous polymer enhances performance by forming a core-shell structure on the catalytic metal surface. A method of manufacturing the electrode includes involving preparation of the catalyst complex, coating the catalytic metal with the porous polymer to form an electrode catalyst, combining the catalyst with an electrode binder to prepare a slurry, and applying the slurry onto a substrate. The porous polymer is optionally a polymer of intrinsic microporosity (PIM) or a copolymer, with molecular weight, composition, and thickness optimized for conductivity and performance. The electrode is suitable for use in a membrane-electrode assembly for fuel cells.

ELECTROLYTE MEMBRANE FOR PATTERNED MEMBRANE-ELECTRODE ASSEMBLY AND METHOD FOR PREPARING SAME

NºPublicación:  US20260094851A1 02/04/2026
Solicitante: 
HYUNDAI MOTOR COMPANY [KR]
KIA CORP [KR]
KOOKMIN UNIV INDUSTRY ACADEMIC COOPERATION [KR]
Hyundai Motor Company,
Kia Corporation,
Kookmin University Industry Academic Cooperation
US_20260094851_A1

Resumen de: US20260094851A1

A hydrocarbon-based ion exchange membrane is hydrated, then compressed with a mesh template to form an embedded pattern on its surface. After dehydration, the template is removed, yielding an electrolyte membrane featuring improved water uptake, ion conductivity, and mechanical properties. The method supports large-area production at about 70° C. to 90° C. under pressures of about 5 MPa to 15 MPa. A catalyst slurry can be applied to the patterned membrane to create a membrane-electrode assembly, enhancing bonding strength and catalyst utilization in electrochemical devices such as fuel cells and water electrolyzers. The resulting membrane has a moisture content of about 60% by weight or more, a Young's modulus of about 100 MPa or less, and a pattern depth of about 40% or greater relative to the template wires.

Flow Battery Fluid Exchange System and Method

NºPublicación:  US20260094853A1 02/04/2026
Solicitante: 
BAGOT III MICHAEL H [US]
Bagot, III Michael H
US_20260094853_A1

Resumen de: US20260094853A1

A method of refueling a flow battery utilizing the existing system's power source and pumps to pump electrolyte into and out of the system to allow for refueling and routine maintenance and repairs. The flow battery includes a diverter to an external source of electrolyte as well as a tank seal located at the base of either charged tank that is operable to prevent electrolyte from exiting the tanks during refueling operations. The flow battery may also include a liquid detector operable to measure the amount of electrolyte being deposited into the tanks during refueling.

COMPRESSION DEVICE FOR FUEL CELL STACKS

NºPublicación:  US20260094854A1 02/04/2026
Solicitante: 
BALLARD POWER SYSTEMS INC [CA]
BALLARD POWER SYSTEMS INC
US_20260094854_A1

Resumen de: US20260094854A1

A fuel cell stack comprising a compression plate assembly comprising a second end plate having a first planar surface and an opposing second planar surface, wherein the first planar surface is adjacent a fuel cell stack and the second planar surface is adjacent a compression housing, wherein the compression housing comprises: a spring recess and a plurality of discrete grooves on its inner axial surface of the spring recess; a spring assembly in the spring recess; a load disc in the spring recess and in contact with the spring assembly; and a resilient retaining apparatus in the spring recess and in contact with the load disc; wherein the resilient retaining apparatus engages with one of the plurality of discrete grooves and the load disc and the spring assembly are physically separated from the inner axial surface of the spring recess.

LOW COST METAL ELECTRODES

NºPublicación:  AU2026201995A1 02/04/2026
Solicitante: 
FORM ENERGY INC
Form Energy, Inc
AU_2026201995_A1

Resumen de: AU2026201995A1

Systems and methods of the various embodiments may provide metal electrodes for electrochemical cells. In various embodiments, the electrodes may comprise iron. Various methods may enable achieving high surface area with low cost for production of metal electrodes, such as iron electrodes. ar a r

FLOWING ELECTROCHEMICAL CELLS

NºPublicación:  AU2024341296A1 02/04/2026
Solicitante: 
SCHLUMBERGER TECH B V
SCHLUMBERGER TECHNOLOGY B.V
AU_2024341296_PA

Resumen de: AU2024341296A1

An electrochemical cell wherein electrolyte flows through the cell, as in a redox flow battery or a fuel cell, uses electrolyte(s) which are in a state of elastic turbulence in contact with the electrode(s). The elastic turbulence enhances transport of electrochemically reactive species to the surfaces of the electrode(s) and the transport of reaction products away from those surfaces.

COMPOSITIONS AND SYSTEMS FOR ELASTIC TURBULENCE

NºPublicación:  AU2024340371A1 02/04/2026
Solicitante: 
SCHLUMBERGER TECH B V
SCHLUMBERGER TECHNOLOGY B.V
AU_2024340371_PA

Resumen de: AU2024340371A1

A fluid composition which is able to exhibit elastic turbulence while pumped through a flow path which compels changes of direction of flow streamlines and comprise a solution of two or more flexible linear polymers in two categories. The first category has an average molecular weight of at least 10 MegaDaltons and the second category has an average molecular weight in a range from 0.25 to 5 MegaDaltons. The concentration of the first polymer is sufficient to enable elastic turbulence with or without the second category. The concentration of the second category is greater than that of the first. When flowing under low shear towards or away from a chamber where the flow path will induce elastic turbulence, the second category polymer reduces elastic instabilities and consequent pressure drop, thereby reducing pumping energy requirement.

Verfahren zur Herstellung eines Stacks, Stack sowie Brennstoffzellensystem

NºPublicación:  DE102024209656A1 02/04/2026
Solicitante: 
BOSCH GMBH ROBERT [DE]
Robert Bosch Gesellschaft mit beschr\u00E4nkter Haftung

Resumen de: DE102024209656A1

Die Erfindung betrifft ein Verfahren zur Herstellung eines Stacks (1), der einen zwischen zwei Endplatten (2) angeordneten Zellstapel (3) aus einer Vielzahl elektrochemischer Zellen (4) umfasst. Erfindungsgemäß wird zwischen dem Zellstapel (3) und zumindest einer der beiden Endplatten (2) eine Stromsammelplatte (5) angeordnet, die auf ihrer dem Zellstapel (3) abgewandten Seite ein hülsenförmiges Kontaktelement (6) aufweist, das bei der Montage der Endplatte (2) durch eine Öffnung (7) der Endplatte (2) geführt wird.Die Erfindung betrifft darüber hinaus einen Stack (1) sowie ein Brennstoffzellensystem mit mindestens einem erfindungsgemäßen Stack (1).

Ansteuern eines Kompressors eines Brennstoffzellensystems sowie Fahrzeug

NºPublicación:  DE102024128502A1 02/04/2026
Solicitante: 
BAYERISCHE MOTOREN WERKE AG [DE]
Bayerische Motoren Werke Aktiengesellschaft

Resumen de: DE102024128502A1

Die Erfindung betrifft ein Verfahren zum Ansteuern, insbesondere Einregeln, eines durch einen Kompressormotor (M) angetriebenen Kompressors (K) eines Brennstoffzellensystems (BZS), bei dem mittels einer Luftmassenstromregelung (Rm) aus einer Regelabweichung für einen von dem Brennstoffstellenstapel benötigten Luftmassenstrom ein drehmomentbildender Strom (iq) als Stellgröße berechnet wird, die Stellgröße durch einen unteren Grenzwert (iq,min*) begrenzt wird, der begrenzte Strom (iq,lim*) als Sollwert einer Stromregelung (Riq, VEK) vorgegeben wird, welche daraus Ansteuersignale für den Kompressormotor (M) erzeugt, wobei der untere Grenzwert (iq,min*) als Stellgröße einer Druckverhältnisregelung (Rp) berechnet wird, die als Eingangsgröße eine Regelabweichung für einen an dem Kompressor (K) zum Vermeiden eines Überschreitens einer Pumpgrenze (PUMP) maximal erlaubten Druckverhältnisses (RatPmax*) erhält. Die Erfindung betrifft ferner ein Computerprogrammprodukt, aufweisend Code, der, wenn er auf einer Datenverarbeitungseinrichtung durchgeführt wird, das Verfahren durchführt, ein Brennstoffzellensystem eines Fahrzeugs, das dazu eingerichtet ist, das Verfahren durchzuführen, und ein Fahrzeug mit einem solchen Brennstoffzellensystem.

BRENNSTOFFZELLENSTAPEL

NºPublicación:  DE102025139382A1 02/04/2026
Solicitante: 
TOYOTA BOSHOKU KK [JP]
TOYOTA BOSHOKU KABUSHIKI KAISHA

Resumen de: DE102025139382A1

Ein Brennstoffzellenstapel weist mehrere gestapelte Einzelzellen auf. Jede Einzelzelle weist einen Stromerzeugungsabschnitt, einen ersten Separator und einen zweiten Separator auf. Jede Einzelzelle weist an einem Endabschnitt auf einer Seite in einer ersten Richtung ein Kühlmittel zuführendes Loch und an einem Endabschnitt auf der anderen Seite in der ersten Richtung ein Kühlmittel abgebendes Loch auf. Der erste Separator weist Nuten und Kämme auf, die mehrere gewundene erste Durchgänge bilden. Der zweite Separator weist Nuten und Kämme auf, die mehrere gewundene zweite Durchgänge bilden. Umkehrabschnitte der ersten Durchgänge und Umkehrabschnitte der zweiten Durchgänge erstrecken sich so, dass sie bezüglich einer zweiten Richtung geneigt sind. Die Umkehrabschnitte der ersten Durchgänge und die Umkehrabschnitte der zweiten Durchgänge überlappen sich so miteinander, dass sie sich zwischen dem Kühlmittel zuführenden Loch und dem Kühlmittel abgebenden Loch gegenseitig schneiden.

Elektrochemischer Zellenstapel und Verfahren zur Wartung eines elektrochemischen Zellenstapels

NºPublicación:  DE102024209610A1 02/04/2026
Solicitante: 
BOSCH GMBH ROBERT [DE]
Robert Bosch Gesellschaft mit beschr\u00E4nkter Haftung

Resumen de: DE102024209610A1

Die vorliegende Erfindung betrifft einen elektrochemischen Zellenstapel (200) mit einer Vielzahl von elektrochemischen Zellen (1), welche aufeinander gestapelt und mittels Kompressionsmitteln (230) zwischen zwei Endplatten (220) verspannt sind. In dem Zellenstapel (200) ist eine magnetische Platte (300) angeordnet, welche die Vielzahl der elektrochemischen Zellen (1) in ein erstes Zellenmodul (210a) mit einer ersten Anzahl von Zellen (1) und ein zweites Zellenmodul (210b) mit einer zweiten Anzahl von Zellen (1) aufteilt.

Verfahren zum Herstellen eines mit Stickstoff angereicherten Stroms aus einem elektrochemischen System

NºPublicación:  DE102025138769A1 02/04/2026
Solicitante: 
BOSCH GMBH ROBERT [DE]
Robert Bosch Gesellschaft mit beschr\u00E4nkter Haftung
CN_121748443_PA

Resumen de: DE102025138769A1

Verfahren zum Herstellen eines mit Stickstoff angereicherten Stroms aus einem elektrochemischen System. Das Verfahren umfasst Betreiben des elektrochemischen Systems in einem Betriebszustand, Betreiben des elektrochemischen Systems in einem abgesperrten Zustand, um einen mit Stickstoff angereicherten Strom auf einer Kathodenseite des elektrochemischen Systems herzustellen, und Ablassen des mit Stickstoff angereicherten Stroms von der Kathodenseite des elektrochemischen Systems durch ein Ablassventil, um den mit Stickstoff angereicherten Strom aus dem elektrochemischen System herzustellen. Das erzeugte Stickstoff-Gas kann zum Spülen, Abdecken, Kühlen und/oder Diagnostizieren eines Gesundheitszustands (State of Health, SoH) eines elektrochemischen Systems, wie beispielsweise eines PEMFC-Systems, verwendet werden.

Brennstoffzellensystem zum Wandeln von Energie

NºPublicación:  DE102024209668A1 02/04/2026
Solicitante: 
BOSCH GMBH ROBERT [DE]
Robert Bosch Gesellschaft mit beschr\u00E4nkter Haftung

Resumen de: DE102024209668A1

Die vorgestellte Erfindung betrifft ein Brennstoffzellensystem (100) zum Wandeln von Energie, wobei das Brennstoffzellensystem (100) umfasst:- einen Brennstoffzellenstapel (101),- einen Anodenkreislauf (103) zum Versorgen des Brennstoffzellenstapels (101) mit Wasserstoff und- einen Kathodenkreislauf zum Versorgen des Brennstoffzellenstapels (101) mit Luft,wobei der Brennstoffzellenstapel (101) eine Vielzahl Brennstoffzellen (105), eine Anzahl Blindzellen (107, 109) und an jeweiligen Enden des Brennstoffzellenstapels (101) angeordnete Endplatten umfasst,wobei die Anzahl Blindzellen (107, 109) zumindest auf einer ersten Seite des Brennstoffzellenstapels (101) zwischen der auf der ersten Seite angeordneten Endplatte und der Vielzahl Brennstoffzellen (105) angeordnet ist, undwobei an dem Anodenkreislauf (103) kein Wasserstoffwärmetauscher angeordnet ist.

Komponente, insbesondere Funktionseinheit, für eine elektrochemische Vorrichtung, sowie elektrochemische Vorrichtung

NºPublicación:  DE102024209391A1 02/04/2026
Solicitante: 
BOSCH GMBH ROBERT [DE]
Robert Bosch Gesellschaft mit beschr\u00E4nkter Haftung

Resumen de: DE102024209391A1

Die Erfindung betrifft eine Komponente (12), insbesondere eine Funktionseinheit (16), für eine elektrochemische Vorrichtung (10), sowie eine elektrochemische Vorrichtung (12) mit einer solchen Komponente (12). Es wird vorgeschlagen die Komponente (12) mit einem Füllmaterial (28) auszugestalten, welches dazu vorgesehen ist, eine Fluidansammlung eines in der elektrochemischen Vorrichtung (10) umzusetzenden oder umgesetzten Fluids an der Komponente (12) zumindest im Wesentlichen zu vermeiden.

Bauteil für einen Abgasstrang eines Brennstoffzellensystems

NºPublicación:  DE102024209392A1 02/04/2026
Solicitante: 
CONTITECH TECHNO CHEMIE GMBH [DE]
ContiTech Techno-Chemie GmbH

Resumen de: DE102024209392A1

Die Erfindung betrifft ein Bauteil (1) für einen Abgasstrang eines Brennstoffzellensystems (2) mit einer Kavität (10), durch die ein Abgasstrom (S) des Brennstoffzellensystems von einer Einlassöffnung (11) zu einer Auslassöffnung (12) strömen kann, und einem die Kavität (10) zumindest teilweise begrenzenden Gehäuse (13). Es wird vorgeschlagen, dass das Gehäuse (13) mindestens eine innere geschäumte Kunststoffschicht (13a) und eine äußere kompakte Kunststoffschicht (13b) aufweist.

Elektrode für Brennstoffzelle mit verhinderter Ionomervergiftung des Katalysators und verringerter Elution und Verfahren zur Herstellung dieser

NºPublicación:  DE102025115818A1 02/04/2026
Solicitante: 
HYUNDAI MOTOR CO LTD [KR]
KIA CORP [KR]
Hyundai Motor Company,
Kia Corporation

Resumen de: DE102025115818A1

Elektrode für eine Brennstoffzelle umfasst ein Elektrodenbindemittel und einen darin dispergierten Elektrodenkatalysator. Der Elektrodenkatalysator umfasst einen Katalysatorkomplex mit einem katalytischen Metall, das auf einem Träger aufgebracht ist, und einer porösen Polymerüberzugsschicht. Das poröse Polymer erhöht die Leistung durch Bildung einer Kern-Hülle-Struktur auf der Oberfläche des katalytischen Metalls. Ein Verfahren zur Herstellung der Elektrode umfasst die Herstellung des Katalysatorkomplexes, die Beschichtung des katalytischen Metalls mit dem porösen Polymer zur Bildung eines Elektrodenkatalysators, die Kombination des Katalysators mit einem Elektrodenbindemittel zur Herstellung einer Aufschlämmung und das Aufbringen der Aufschlämmung auf ein Substrat. Das poröse Polymer ist optional ein Polymer mit intrinsischer Mikroporosität (PIM) oder ein Copolymer, dessen Molekulargewicht, Zusammensetzung und Dicke für Leitfähigkeit und Leistung optimiert sind. Die Elektrode ist für die Verwendung in einer Membran-Elektroden-Anordnung für Brennstoffzellen geeignet.

Bipolarplatte

NºPublicación:  DE102024209413A1 02/04/2026
Solicitante: 
BOSCH GMBH ROBERT [DE]
Robert Bosch Gesellschaft mit beschr\u00E4nkter Haftung

Resumen de: DE102024209413A1

Bipolarplatte (2) für den Einsatz in einem Brennstoffzellensystem, umfassend eine erste Plattenhälfte (2a) zur Anordnung an einer Anodenseite (AS) einer Membranelektroneneinheit (MEA) des Brennstoffzellensystems, eine zweite Plattenhälfte (2b) zur Anordnung an einer Kathodenseite (CS) einer Membranelektroneneinheit (MEA) des Brennstoffzellensystems, wobei die Bipolarplatte (2) eine Grundstruktur (4) aus einem Basismaterial aufweist, die zumindest teilweise mit einer Leitlackbeschichtung (6) beschichtet ist, wobei die Leitlackbeschichtung (6) ein Bindemittel aufweist, wobei das Bindemittel auf Basis eines π -Binders aufgebaut ist.

Bipolarplatte

NºPublicación:  DE102024209431A1 02/04/2026
Solicitante: 
BOSCH GMBH ROBERT [DE]
Robert Bosch Gesellschaft mit beschr\u00E4nkter Haftung

Resumen de: DE102024209431A1

Bipolarplatte (2) für den Einsatz in einem Brennstoffzellensystem, umfassend eine erste Plattenhälfte (2a) zur Anordnung an einer Anodenseite (AS) einer Membranelektroneneinheit (MEA) des Brennstoffzellensystems, eine zweite Plattenhälfte (2b) zur Anordnung an einer Kathodenseite (CS) einer Membranelektroneneinheit (MEA) des Brennstoffzellensystems, wobei die Bipolarplatte (2) eine Grundstruktur (4) aus einem Basismaterial aufweist, die zumindest teilweise mit einer Leitlackbeschichtung (6) beschichtet ist, wobei die Leitlackbeschichtung (6) einen Metalloxidanteil aufweist.

Elektrochemische Vorrichtung, insbesondere Brennstoffzellenvorrichtung

NºPublicación:  DE102024209381A1 02/04/2026
Solicitante: 
BOSCH GMBH ROBERT [DE]
Robert Bosch Gesellschaft mit beschr\u00E4nkter Haftung

Resumen de: DE102024209381A1

Die Erfindung betrifft eine elektrochemische Vorrichtung (10), insbesondere Brennstoffzellenvorrichtung (14), umfassend eine Medienabführung (28), insbesondere eine Abgasabführung (30), ein Gehäuse (34), insbesondere ein Außengehäuse (36), wobei die Medienabführung (28), insbesondere durch eine Öffnung (38) im Gehäuse (34), aus dem Gehäuse (34) herausführt. Es wird vorgeschlagen zwischen der Medienabführung (28) und dem Gehäuse (34) ein Isoliermaterial (40) anzuordnen.

Bearbeitungsvorrichtung zur Bearbeitung, Verfahren zur Erkennung von Fehlern bei der Bearbeitung und Verfahren zur Bearbeitung

NºPublicación:  DE102024209369A1 02/04/2026
Solicitante: 
BOSCH GMBH ROBERT [DE]
Robert Bosch Gesellschaft mit beschr\u00E4nkter Haftung
CN_121739910_PA

Resumen de: DE102024209369A1

Die Erfindung betrifft eine Bearbeitungsvorrichtung (10) zur Bearbeitung eines Substrats (12) für eine elektrochemische Zelle, ein Verfahren zur Erkennung von Fehlern bei der Bearbeitung eines Substrats (12) für eine elektrochemische Zelle, sowie ein Verfahren zur Bearbeitung eines Substrats (12) für eine elektrochemische Zelle. Es wird vorgeschlagen mittels einer Überwachungseinheit (18) eine Verformung des Substrats (12) während der Bearbeitung des Substrats (12) zu erfassen.

Bipolarplatte

NºPublicación:  DE102024209443A1 02/04/2026
Solicitante: 
BOSCH GMBH ROBERT [DE]
Robert Bosch Gesellschaft mit beschr\u00E4nkter Haftung

Resumen de: DE102024209443A1

Bipolarplatte (2) für den Einsatz in einem Brennstoffzellensystem, umfassend eine erste Plattenhälfte (2a) zur Anordnung an einer Anodenseite (AS) einer Membranelektroneneinheit (MEA) des Brennstoffzellensystems, eine zweite Plattenhälfte (2b) zur Anordnung an einer Kathodenseite (CS) einer Membranelektroneneinheit (MEA) des Brennstoffzellensystems, wobei die Bipolarplatte (2) eine Grundstruktur (4) aus einem Basismaterial aufweist, die zumindest teilweise mit einer Leitlackbeschichtung (6) beschichtet ist, wobei die Leitlackbeschichtung (6) einen Anteil an einer Base aufweist.

GRID-INTERACTIVE CRYOGENIC ENERGY STORAGE SYSTEMS WITH WASTE COLD RECOVERY CAPABILITIES

NºPublicación:  EP4718007A2 01/04/2026
Solicitante: 
MICROSOFT TECHNOLOGY LICENSING LLC [US]
Microsoft Technology Licensing, LLC
EP_4718007_PA

Resumen de: EP4718007A2

An energy storage system comprises at least one cryogen storage device that includes a subcooling loop and that is configurable to store a cryogen with or without boil-off losses. The system also comprises a cryoplant configured to interact with a power source and with the subcooling loop of the at least one cryogen storage device. The system also includes a control system configured to control the interaction of the cryoplant with the power source and the at least one cryogen storage device. The control system is configured to control interaction of the cryoplant with the power source and the at least one cryogen storage device according to a plurality of operational modes, including: a cooling mode, a passive storage mode, a fuel cell backup mode, and a liquefaction mode.

METHOD FOR PRODUCING A MEMBRANE ELECTRODE UNIT (MEA) FOR AN ELECTROCHEMICAL CELL, IN PARTICULAR A FUEL CELL, AND INSTALLATION FOR PRODUCING THE MEA

NºPublicación:  EP4718544A1 01/04/2026
Solicitante: 
FREUDENBERG CARL KG [DE]
Carl Freudenberg KG
EP_4718544_PA

Resumen de: EP4718544A1

Die Erfindung betrifft ein Verfahren zur Herstellung einer Membran-Elektrodeneinheit MEA (10) für eine elektrochemische Zelle, insbesondere eine Brennstoffzelle, sowie eine Anlage (100) zur Herstellung einer Membran-Elektrodeneinheit (10) gemäß diesem Verfahren. Erfindungsgemäß wurde als vorteilhaft erkannt vor dem Konfektionieren der MEA, z.B. durch Stanzen in einer Stanzeinheit (40), die MEA in einer Laminiereinheit (20) zu laminieren und die MEA (10) während des Konfektionierprozesses durch eine Trägerlage (18) zu stützen.

AMMONIA DECOMPOSITION REACTOR, HYDROGEN PRODUCTION APPARATUS AND METHOD FOR PRODUCING HYDROGEN USING THE SAME

NºPublicación:  EP4717665A1 01/04/2026
Solicitante: 
SK INNOVATION CO LTD [KR]
SK Innovation Co., Ltd
EP_4717665_PA

Resumen de: EP4717665A1

An ammonia decomposition reactor, a hydrogen production apparatus and a method for producing hydrogen are provided. The ammonia decomposition reactor includes a first chamber and a second chamber, wherein the first chamber is configured to operate at an operating temperature of 410°C or less, the first chamber includes at least one selected from the group consisting of carbon steel, low alloy steel, stainless steel, and a nickel-based alloy, and the second chamber includes a nickel-based alloy (NT) satisfying Equation 1 below. T≤15μm, in Equation 1, T represents the maximum nitrided depth when the nickel-based alloy (NT) is prepared as a cylindrical specimen having a diameter of 2 mm and a height of 200 mm, and the cylindrical specimen is exposed to a gas stream comprising 97.2% by volume NH3, 2.1% by volume H2, and 0.7% by volume N2 in a temperature environment of 500°C for 100 hours.

ELECTRODE CATALYST, CATHODE, AND ELECTROCHEMICAL CELL

NºPublicación:  EP4717353A1 01/04/2026
Solicitante: 
LG CHEMICAL LTD [KR]
LG Chem, Ltd
EP_4717353_A1

Resumen de: EP4717353A1

The present invention relates to an electrode catalyst including carbon black, and more particularly, to an electrode catalyst having sufficient pores in the electrode catalyst by adjusting the specific surface area and content of the carbon black, and having improved hydrophobicity, and a cathode and an electrochemical cell including the same.

FUEL CELL THERMAL MANAGEMENT CONTROL SYSTEMS AND METHODS

NºPublicación:  EP4716796A2 01/04/2026
Solicitante: 
HYROAD NETWORKS LLC [US]
Hyroad Networks LLC
WO_2024242963_PA

Resumen de: WO2024242963A2

The present disclosure provides a method of managing thermal loads in a fuel cell electric vehicle. The method may include measuring a coolant temperature at an outlet of a fuel cell radiator, calculating a fuel cell coolant flow value, calculating a fuel cell heat generation value, calculating a feedback portion of a fuel cell radiator fan speed command using the coolant temperature at the outlet of the fuel cell radiator, calculating a feedforward portion of the fuel cell radiator fan speed command using an ambient temperature, the fuel cell coolant flow value, and the fuel cell heat generation value calculating the fuel cell radiator fan speed command using the feedforward portion and the feedback portion, and controlling a fuel cell radiator fan speed using the fuel cell radiator fan speed command.

A METHOD FOR CONTROLLING OPERATION OF A FUEL CELL SYSTEM OF A VEHICLE

NºPublicación:  EP4716642A1 01/04/2026
Solicitante: 
VOLVO TRUCK CORP [SE]
VOLVO TRUCK CORPORATION
WO_2024240335_PA

Resumen de: WO2024240335A1

The present invention relates to a computer system (400) and a method for controlling an operation of a fuel cell system (110) of a vehicle (100). The method comprises: − estimating a power level profile of the fuel cell system (110), the power level profile corresponding to a requested power that is expected to be provided by the fuel cell system (110) for the vehicle (100) to travel from a first location to a second location, − estimating a power threshold level of the fuel cell system (110), the power threshold level corresponding to a power level that the fuel cell system (110) needs to provide to avoid freezing of the fuel cell system (110), − determining a risk level of freezing of the fuel cell system (110) by comparing the estimated power level profile with the estimated power threshold level, and − in response to identifying that the determined risk level exceeds a threshold risk level, initiating a freeze prevention action.

Electrochemical fuel conversion system

NºPublicación:  GB2644315A 01/04/2026
Solicitante: 
CERES POWER LTD [GB]
Ceres Power Limited
GB_2644315_PA

Resumen de: GB2644315A

A method of operating an electrochemical fuel conversion system which comprises a plurality of cells arranged in groups and a plurality of switches which are for selectively engaging and disengaging respective cells or groups of cells with a circuit by repetitively and sequentially increasing and then decreasing a number of cells or groups of cells in an oscillatory pattern. The method can be used to engage a first number of cells in series in the circuit when the current is below a first threshold value and engage a larger number of cells in series when the current is above this threshold value. The method can be used in an electrolyser with an AC power supply or in a fuel cell to provide an AC power supply. A duty cycle and/or a pulse-width modulation cycle of a cell or a group of cells can be modified based on their health characteristics. Also a system and controller for performing the method.

METHOD, DEVICE AND SYSTEM FOR MONITORING AN ELECTROCHEMICAL SYSTEM

NºPublicación:  EP4718091A1 01/04/2026
Solicitante: 
ZENTRUM FUER SONNENENERGIE UND WASSERSTOFF FORSCHUNG BADEN WUERTTEMBERG GEMEINNUETZIGE STIFTUNG [DE]
Zentrum f\u00FCr Sonnenenergie- und Wasserstoff-Forschung Baden-W\u00FCrttemberg Gemeinn\u00FCtzige Stiftung
EP_4718091_PA

Resumen de: EP4718091A1

Nach einem Aspekt der Erfindung wird ein Überwachungsmodell zur Überwachung einer elektrochemischen Anlage, insbesondere einer Brennstoffzelle, bereitgestellt. Das Verfahren umfasst ein Erfassen von Betriebsdaten der elektrochemischen Anlage als Trainingsdaten. Das Verfahren umfasst ein Trainieren eines ersten neuronalen Prädiktors basierend auf den Trainingsdaten zum Vorhersagen einer Zellspannung. Der erste neuronale Prädiktor repräsentiert einen stationären Betrieb der elektrochemischen Anlage. Das Verfahren umfasst ein Trainieren eines zweiten neuronale Prädiktors basierend auf den Trainingsdaten zum Vorhersagen eines Alterungseinflusses auf die Zellspannung der elektrochemischen Anlage. Der erste neuronale Prädiktor und/oder der zweite neuronale Prädiktor werden ausgehend von einem jeweiligen Basismodell trainiert. Der erste neuronale Prädiktor und/oder der zweite neuronale Prädiktor sind jeweils eingerichtet, einen Ausgangswert zu erzeugen. Das Verfahren umfasst ferner ein Bereitstellen des Überwachungsmodells, das den ersten neuronale Prädiktor, den zweiten neuronale Prädiktor und eine Verknüpfung derer Ausgangswerte umfasst.

FUEL CELL STACK

NºPublicación:  EP4716966A1 01/04/2026
Solicitante: 
BOSCH GMBH ROBERT [DE]
Robert Bosch GmbH
CN_121569380_PA

Resumen de: WO2024240893A1

The invention relates to a fuel cell stack (1), comprising a plurality of fuel cells (2) in a stacked arrangement, which are arranged between two end plates (3, 4) and are braced to one another by means of a U-shaped tensioning band (5) placed around the fuel cell stack (1), wherein at least one end of the tensioning band (5) is fastened by means of a bolt arrangement (6) to a further plate (7) which is arranged at a distance (a) from one end plate (3, 4), preferably from the lower end plate (3). According to the invention, the bolt arrangement (6) has a bolt (8) which is received at least in some sections in the further plate (7) and has a longitudinal axis (AB) which is at an angle (α) < 90° to the further plate (7).

METHOD AND SYSTEM FOR PREDICTING A STATE OF HEALTH OF A BATTERY

NºPublicación:  EP4716856A1 01/04/2026
Solicitante: 
CMBLU ENERGY AG [DE]
CMBlu Energy AG
KR_20260015243_PA

Resumen de: WO2024240873A1

There is described a method for predicting a state of health, SOH, of a redox flow battery, the method comprising: receiving battery data of the redox flow battery; and performing, using a machine learning agent, an analysis of the battery data to predict the SOH of the redox flow battery.

POLYMERIZABLE COMPOSITION, ION EXCHANGE RESIN, ION EXCHANGE MEMBRANE, MEMBRANE ELECTRODE ASSEMBLY, AND HYDROGEN PRODUCTION DEVICE

NºPublicación:  EP4717716A1 01/04/2026
Solicitante: 
TOKUYAMA CORP [JP]
TOKUYAMA CORPORATION
EP_4717716_PA

Resumen de: EP4717716A1

Provided are: a polymerizable composition containing a quaternary ammonium salt represented by formula (I), a polymerizable monomer, a linear or branched C1-4 alkylene glycol, and at least one hydroxyl group-containing compound selected from the group consisting of a C4-15 primary alcohol, a C4-15 secondary alcohol, and a C5-15 diol which has a hydroxy group bonded to a secondary carbon atom; an ion exchange resin; an ion exchange membrane; a membrane electrode assembly; and a hydrogen production device.

一种低温环境下的氢氧燃料电池控制方法以及氢氧燃料电池系统

NºPublicación:  CN121769149A 31/03/2026
Solicitante: 
苏州溯驭技术有限公司
CN_121769149_PA

Resumen de: CN121769149A

本发明提供了一种低温环境下的氢氧燃料电池控制方法以及氢氧燃料电池系统,能够实现氢氧燃料电池在低温环境下稳定高效运行,低温预热阶段:检测电堆温度与各个阀体温度;若温度小于等于T1,启动辅助加热模块对电堆和/或阀体进行加热;否则进入电堆启动阶段:判断电堆温度是否低于T2;若是,则启动电堆加热器与电堆风扇配合加热电堆,直至电堆温度高于T5后停止;在电堆温度不低于T2时,开启进氢阀、排气阀与排水阀,并启动鼓风机与空气泵;经过时间N1后,系统进入闭环调节控制运行;持续检测阀体温度,若阀体温度低于T6,则开启辅助加热模块进行加热;当检测到系统的锂电池电压高于第二预设电压阈值V2时,系统停机扫吹。

一种燃料电池金属双极板

NºPublicación:  CN121769139A 31/03/2026
Solicitante: 
瑞昇液流电池科技(青岛)有限公司
CN_121769139_PA

Resumen de: CN121769139A

本发明属于燃料电池技术领域,具体为一种燃料电池金属双极板,包括阳极板和阴极板,阳极板和阴极板的相对面分别开设有阳极流场和阴极流场,阳极板表面依次开设由小到大的封垫圈槽,阳极板和阴极板的边角位置开设定位孔,阳极流场两端分别开设氢气进口和氢气出口,阳极流场内阵列设置有多个第一菱形板,相邻的第一菱形板之间形成阳极流道,每个第一菱形板沿其对称轴开设有第一弧形槽。本发明通过菱形板与弧形槽结构增强了气体湍流与传质效率,并配合独特的氢气匀流端实现均匀进气,从而有效提升燃料电池的整体性能与工作的稳定性。

一种燃料电池氢氧互串预测性诊断方法及系统

NºPublicación:  CN121769151A 31/03/2026
Solicitante: 
燧人消防科技有限公司
CN_121769151_PA

Resumen de: CN121769151A

本发明公开一种燃料电池氢氧互串预测性诊断方法及系统,涉及燃料电池技术领域,该方法步骤包括参数初始化、数据实时监测、故障预测诊断、预警等级分析决策和模型参数反馈学习,其中预测诊断过程中,对实时监测获取的多源数据执行融合处理,基于融合后的数据特征更新氢氧互串故障发生的概率预测结果,定期重新评估电堆剩余使用寿命,以对故障风险与寿命状态进行动态把控;预警等级分析决策根据预测诊断阶段得到的概率预测结果及电堆剩余使用寿命结果确定对应的预警等级,依据预警等级生成维护建议与处理措施。本发明解决现有技术中氢氧互串故障预警时间短、多源数据融合难、故障定位精度低、缺乏预测性维护能力及动态工况下容易误报漏报问题。

一种基于单电池电压超高速巡检的燃料电池故障定位诊断方法及系统

NºPublicación:  CN121763125A 31/03/2026
Solicitante: 
燧人消防科技有限公司
CN_121763125_PA

Resumen de: CN121763125A

本发明公开了一种基于单电池电压超高速巡检的燃料电池故障定位诊断方法及系统,本发明通过分布式同步采集架构以不低于5kHz的采样率同步采集燃料电池堆各单电池的电压信号;实时提取电压信号的多维度动态特征;将特征输入至多级人工智能诊断模型进行递进分析,该模型依次执行基于孤立森林的快速异常检测、基于一维卷积神经网络的故障分类识别、以及基于时空图卷积网络的故障精确定位与寿命预测;最终生成包含故障类型、位置及严重程度的诊断报告与分级预警。本发明实现了对燃料电池膜破损、水淹等故障的早期检测、智能识别与精确定位。

适用于氢燃料电池的塞锥喷嘴引射器及氢燃料电池系统

NºPublicación:  CN121760979A 31/03/2026
Solicitante: 
山东大学
CN_121760979_PA

Resumen de: CN121760979A

本发明公开适用于氢燃料电池的塞锥喷嘴引射器及氢燃料电池系统,属于氢燃料电池技术领域,适用于氢燃料电池的塞锥喷嘴引射器包括沿轴线依次连通的一次流入口管、塞锥喷嘴、混合室和扩散室,以及设置在塞锥喷嘴侧方并与混合室连通的吸入室和二次流入口管;其中,塞锥喷嘴包括喷嘴结构和塞锥结构,所述塞锥结构通过塞锥支杆固定设置在喷嘴结构内壁;塞锥结构的轮廓型面依次包括锥形段、过渡段和碗状段;其中,碗状段位于塞锥结构靠近一次流入口管的一端,锥形段位于塞锥结构靠近混合室的一端。本发明不仅显著提升了引射器在变工况范围内的稳定性,而且其构成的供氢系统具有结构紧凑、集成度高的特点,更适用于氢燃料电池系统的动态运行需求。

一种空冷燃料电池低温启动方法

NºPublicación:  CN121769146A 31/03/2026
Solicitante: 
上海攀业氢能源科技股份有限公司
CN_121769146_PA

Resumen de: CN121769146A

本发明涉及一种空冷燃料电池低温启动方法,具体为:向燃料电池中通入氢气并连接燃料电池的正负极;燃料电池处于缺氧状态,电压下降至0V,由于氧气扩散限制使输出电流稳定,燃料电池反应全部转化为热能;当燃料电池温度达到0~5℃范围内时,断开燃料电池的正负极连接,增加燃料电池中的氧气通入量,控制燃料电池的输出电流升高,实现燃料电池启动。与现有技术相比,本发明具有通过调控燃料电池的反应状态,使反应能量全部转化为热能用于加热电池堆,替代了传统的电加热方式,简化了系统结构,降低了设备体积、重量和制造成本,无需增设额外电加热装置等优点。

隔板、和使用具有高和低MFI的聚合物粘结剂的生产方法以及具有这种隔板的燃料电池

NºPublicación:  CN121773502A 31/03/2026
Solicitante: 
蓝界科技控股公司
CN_121773502_PA

Resumen de: DK202330161A1

For producing separator plates having useful characteristics of polyphenylene sulfide (PPS) with high melt flow index (MFI), but also safeguard easy de-molding after compression-molding, combinations are provided with PPS having low MFI. For example, high-MFI PPS is mixed with low-MFI PPS for the separator plate, or a central layer of high-MFI PPS is sandwiched between layers of low-MFI PPS. Other water insoluble thermoplastic non-fluoropolymers than PPS can be used as alternatives.

氢燃料电池船氢气泄漏监测装置布置方法、系统、电子设备及介质

NºPublicación:  CN121766185A 31/03/2026
Solicitante: 
中国长江电力股份有限公司
CN_121766185_PA

Resumen de: CN121766185A

本发明属于氢燃料电池船安全监测技术领域,具体提供一种氢燃料电池船氢气泄漏监测装置布置方法、系统、电子设备及介质,包括:在涉氢舱室构建空间坐标系,对等间隔离散化的空间单元编号,将部分含氢单元定义为可破损单元;在舱室顶部下方设定安装平面并构建坐标系、离散化及编号;构建舱室三维模型,对可破损单元开孔得到系列模型,经CFD模拟获取氢气逸散云图;设定浓度阈值,获取安装平面浓度首次达阈值的极限时刻及对应浓度,通过算数优化算法迭代,确定多个氢气监测传感器最优安装位置。本发明通过CFD模拟与优化算法,科学分析氢气扩散特性,提升监测装置布置准确性。

气水分离器、燃料电池系统和车辆

NºPublicación:  CN121754963A 31/03/2026
Solicitante: 
蜂巢蔚领动力科技(江苏)有限公司
CN_121754963_PA

Resumen de: CN121754963A

本发明提出了一种气水分离器、燃料电池系统和车辆,涉及车辆制造技术领域,包括:壳体内形成有分离腔,壳体设有与分离腔连通的进流口和出气口;第一分离组件和第二分离组件,第一分离组件和第二分离组件安装于分离腔内,第一分离组件和第二分离组件位于进流口和出气口之间,且第二分离组件位于第一分离组件的上方,第一分离组件包括旋叶式分离件且第二分离组件包括至少一个分离板。本发明实施例的气水分离器,可对分离腔内的介质进行两次分离,提高分离效率的同时还可减小分离腔所需空间,进而可减小气水分离器占用空间,以提高集成度以及轻量化,且旋叶式分离件可对介质进行离心式分离,保证分离效果,进而保证气水分离器的使用可靠性。

一种燃料电池电堆组歧管总成

NºPublicación:  CN121769140A 31/03/2026
Solicitante: 
中国科学院大连化学物理研究所
CN_121769140_PA

Resumen de: CN121769140A

本发明涉及一种燃料电池电堆组歧管总成,其中冷却介质分配板上侧设有冷却介质分配流场和阴极气体分配流场、下侧设有冷却介质换热流场,冷却介质换热流场两端分别与冷却介质主进口和冷却介质分配流场连通,冷却介质分配流场设有介质流场端部分别与对应的单堆冷却介质进口连通,阴极气体分配流场设有阴极气体流场端部分别与对应的单堆阴极气体进气口连通,阳极气体分配板上侧设有阳极气体换热流场、下侧设有阳极气体分配流场,阳极气体换热流场两端分别与阳极气体主进气口和阳极气体分配流场连通,阳极气体分配流场设有阳极气体流场端部分别与对应的单堆阳极气体进气口连通。本发明占用安装空间小,集成度高,且省去了换热器及相关结构。

一种氢电能源涡轮混合推进发动机系统

NºPublicación:  CN121760827A 31/03/2026
Solicitante: 
青岛航空技术研究院
CN_121760827_PA

Resumen de: CN121760827A

本发明涉及一种氢电能源涡轮混合推进发动机系统,涉及发动机技术领域,其将由氢燃料电池驱动的电动机和氢燃料燃气涡轮发动机使用齿轮传动单元并联,齿轮传动单元具有可切换的三种传动模式;推进结构通过第一种传动模式同时与电动机和氢燃料燃气涡轮发动机的动力涡轮建立传动关系;推进结构通过第二种传动模式仅与电动机建立传动关系;推进结构通过第三种传动模式仅与氢燃料燃气涡轮发动机的动力涡轮建立传动关系。本发明可选择性使用氢燃料燃气涡轮发动机和氢燃料电池中的至少一种,以提高发动机系统的响应速度,减少发动机系统的红外特征和噪声。

一种定位机构、装配装置和装配方法

NºPublicación:  CN121769160A 31/03/2026
Solicitante: 
广东电网有限责任公司佛山供电局
CN_121769160_PA

Resumen de: CN121769160A

本发明公开了一种定位机构、装配装置和装配方法,用于电池电堆装配技术领域。本机构包括基板和多个定位组件;多个定位组件与基板连接固定,多个定位组件围合形成用于放置双极板的安装空间;每个定位组件均包括定位块、定位轴、定位杆和限位件;定位块固定于基板上,定位轴固定于定位块上,定位杆的一端转动安装于定位轴上,定位杆的另一端被配置为转动靠近或转动远离安装空间,限位件固定于定位块上,限位件位于定位杆的摆动轨迹上,在定位杆摆动至与基板垂直时,限位件用于限制定位杆继续摆动。本机构通过设置转动式的定位杆,能够更有效地消除定位杆与双极板之间的余量,实现更为精确的定位,并且降低了操作难度并提升了效率。

一种含有尾气处理装置的氨氢燃料电池系统及其控制方法

NºPublicación:  CN121769155A 31/03/2026
Solicitante: 
福大紫金氢能科技股份有限公司福州大学
CN_121769155_PA

Resumen de: CN121769155A

本发明公开一种含有尾气处理装置的氨氢燃料电池系统,包括氨气蒸发柜、氨分解反应装置、第一换热器、吸附装置、燃料电池、第二换热器、尾气监测装置和尾气吸附装置。氨气蒸发柜分为储氨区和储水区,储氨区连接氨分解反应装置,分解气经换热、吸附后进入燃料电池发电。储水区液态水经第一、第二换热器加热后回流,为液氨蒸发供热。尾气依次经第二换热器、尾气监测装置和尾气吸附装置处理,尾气吸附装置分为残氨吸附模块和氮氧化物吸附模块,可实现氨气与氮氧化物的高效分步吸附。尾气监测装置根据气体成分分配吸附路径,实现了尾气中有害成分的智能高效处理,同时通过余热回收提高能量利用率,具有环保、高效、结构紧凑、运行稳定的优点。

膜电极热压工艺优化与Nafion用量调控系统及方法

NºPublicación:  CN121756562A 31/03/2026
Solicitante: 
西北工业大学
CN_121756562_PA

Resumen de: CN121756562A

本发明公开了膜电极热压工艺优化与Nafion用量调控系统及方法,涉及氢燃料电池核心部件制备技术领域,本发明先通过工艺参数优化算法和Nafion用量计算模型,基于催化剂特性输出最优热压参数与Nafion用量方案并建立关联映射,再集成相关硬件组件实现热压、分区域涂覆及热压‑封装同步成型,最后通过三类监测组件采集膜电极数据,反馈至智能软件调控模块触发参数自适应调整。本方案解决了传统工艺存在的界面接触不良、传质效率低、水淹频发和寿命短的缺点,实现与高活性超低铂载量催化剂的精准适配,提升膜电极的质子传导效率、气体扩散能力与使用寿命,降低燃料电池电堆综合成本。

一种多级湿度调控的燃料电池燃气轮机混合发电系统

NºPublicación:  CN121769153A 31/03/2026
Solicitante: 
湖南理工学院
CN_121769153_PA

Resumen de: CN121769153A

本发明提供一种多级湿度调控的燃料电池燃气轮机混合发电系统,属于分布式能源技术领域。系统包括多级湿度调控模块,通过逐级调节燃料湿度,确保燃料水碳比持续优化,从而避免SOFC阳极发生局部碳沉积;预重整模块,用于多碳烃类燃料初步裂解,避免复杂碳链物质在SOFC阳极腔室沉积引发电极堵塞问题;内重整固体氧化物燃料电池模块,与预重整模块连接,利用燃料进行发电,其燃料包容度以及能量利用率均高于传统固体氧化物燃料电池;燃气轮机模块,采用低压一体化燃气轮机,利用电池阳极排出的高温尾气进行发电,实现能量二级利用。本发明通过多级湿度调控、预重整以及热能梯级利用,实现混合发电系统效率提升,有效增长SOFC运行寿命,兼具高效性和实用性。

一种基于多能互补的热主导型孤岛综合能源系统及其运行方法

NºPublicación:  CN121769999A 31/03/2026
Solicitante: 
西安交通大学
CN_121769999_PA

Resumen de: CN121769999A

本发明公开了一种基于多能互补的热主导型孤岛综合能源系统及其运行方法,属于综合能源利用技术领域。本系统通过风力发电机和光伏热给孤岛电网供电,利用电解池制氢、储氢罐储氢以供给氢气负荷或通过燃料电池发电。系统创新性地构建了低压低温储热罐和高压储热罐组(高压中温/高压低温),将光伏热、氢电解池及燃料电池的余热回收存入低压低温储热罐。该低温热能经地热井辅助加热后作为热泵热源,热泵制热存入高压中温储热罐。高压中温储热罐的热能既可供给中温热负荷,又可驱动ORC系统发电。本发明实现了风、光、地热及余热的高效梯级利用,通过电力与热力的双向灵活调节,显著提升了孤岛微网的能源自给率和系统稳定性。

一种适用于空间的双引射全闭式被动氢氧燃料电池系统

NºPublicación:  CN121769143A 31/03/2026
Solicitante: 
西安航天动力研究所
CN_121769143_PA

Resumen de: CN121769143A

本发明涉及一种适用于空间的双引射全闭式被动氢氧燃料电池系统,氢气供气支路将氢气根据设定的压力通入氢氧燃料电池堆阳极入口,氢气引射再循环支路将阳极出口未反应的氢气重新通入阳极入口;氧气供气支路将氧气根据设定的压力通入氢氧燃料电池堆阴极入口,氧气引射再循环支路将阴极出口未反应的氧气重新通入阴极入口;被动热管理子系统包括依次进行热交换的平板热管、第一换热器和辐射散热板;被动水管理子系统包括依次连接的排水阻气膜及排水板、第三单向阀和水储罐;平板热管、排水阻气膜及排水板设置在相邻两个电池单体之间。本发明最大限度的减少系统的复杂程度,提高了空间用燃料电池使用效率、可靠性和寿命。

耐高电位腐蚀导电碳基涂层及其制备方法与应用

NºPublicación:  CN121759880A 31/03/2026
Solicitante: 
中国科学院宁波材料技术与工程研究所
CN_121759880_PA

Resumen de: CN121759880A

本发明涉及表面工程防护技术领域,提出一种耐高电位腐蚀导电碳基涂层及其制备方法与应用,所述耐高电位腐蚀导电碳基涂层包括:通过等离子体辅助气相沉积技术在预设基体的表面形成类石墨非晶碳层;基于所述类石墨非晶碳层形成所述耐高电位腐蚀导电碳基涂层;所述耐高电位腐蚀导电碳基涂层在高电位标准电压下的腐蚀电流密度小于2.1×10‑5A/cm2,腐蚀12h后接触电阻小于7mΩ•cm2。本发明能够有效解决预设基体在高电位下的腐蚀与导电性能矛盾,实现长效防护,为燃料电池在动态工况下的耐久性与效率提升提供了关键材料支撑。

一种耐低温锌基液流电池电解液及应用

NºPublicación:  CN121769279A 31/03/2026
Solicitante: 
深圳理工大学
CN_121769279_PA

Resumen de: CN121769279A

本发明公开了一种锌基液流电池电解液及应用,属于电化学储能技术领域。电解液为包括锌盐和添加剂的水溶液,所述添加剂包括钙盐、镁盐;所述添加剂还包括:锂盐、钠盐、锶盐中的一种或多种。其中,Ca2+与Mg2+可与水分子发生强相互作用,有效削弱电解液中的氢键网络,从而显著降低凝固点;其他少量添加的金属阳离子则与Ca2+、Mg2+产生协同效应,使电解液在获得超低凝固点的同时,仍保持优异的高离子电导率等电化学性能。基于此,该电解液成功实现了锌碘液流电池在极端低温环境下的稳定循环。本发明电解液成本低廉、安全环保,为拓宽锌基液流电池的应用场景至极端低温领域提供了可靠的技术方案。

一种氢气灵活供应的燃料电池系统

NºPublicación:  CN121769142A 31/03/2026
Solicitante: 
中能建氢能源有限公司青启未来(北京)氢能源科技有限公司
CN_121769142_PA

Resumen de: CN121769142A

本申请提供了一种氢气灵活供应的燃料电池系统,包括电堆,设有第一气腔口、第二气腔口、第三气腔口、第四气腔口;气体供应装置包括供氢装置和供氧装置;换向装置分别与供氢装置、第一气腔口和第二气腔口连接,包括第一循环回路和第二循环回路;供氧装置与第三气腔口连接;供氢装置还可与第三气腔口连接,并通过第四气腔口排出,且此时供氧装置与第三气腔口的连通断开。提供了多种不同形式的氢气输入方式,相比于现有的单一氢气输入方式,能够根据不同的工况或启动策略选择匹配的氢气输入方式,进而满足不同的使用需求。

一种液流电池柔性石墨双极板及其制备方法

NºPublicación:  CN121769137A 31/03/2026
Solicitante: 
中国机械总院集团北京机电研究所有限公司
CN_121769137_PA

Resumen de: CN121769137A

本发明涉及燃料电池领域,公开了一种液流电池柔性石墨双极板的制备方法,包括如下步骤:将不同粒径的蠕虫石墨粉在三维混料机中混合,得到混合粉末;将混合粉末置入至带有振动装置的模具中,通过振动模压成型工艺,制得预制胚体,预制胚体中含有孔隙;将预制胚体置入至树脂溶液中,进行浸渍强化,以制得初级板体;对初级板体依次进行清洗、固化和烘干,以制得液流电池柔性石墨双极板,以及一种液流电池柔性石墨双极板。发明实现了双极板基底与脊的密度保持一致,从而提高了柔性石墨双极板的导电与力学性能,同时生产方式简单,产品内与产品之间的密度差异小,产品的成品率高,废板率降低,整体的生产效率提高。

一种液流电池石墨双极板制备方法

NºPublicación:  CN121769136A 31/03/2026
Solicitante: 
中国机械总院集团北京机电研究所有限公司
CN_121769136_PA

Resumen de: CN121769136A

本发明公开了一种液流电池石墨双极板制备方法,属于液流电池技术领域。该方法包括:将石墨粉末与第一树脂混合得到复合粉末;将该复合粉末冷压成形得到石墨双极板预制体;然后将预制体在惰性气氛中进行热处理碳化,形成一个高导电的多孔导电骨架;最后对该多孔导电骨架进行第二树脂的浸渍和固化,得到成品双极板。本发明通过“先碳化成骨,后浸渍强筋”的工艺,将导电性能与力学性能的构建分离开来,解决了传统工艺中二者此消彼长的矛盾,使得制备的双极板同时具备了优异的导电性和高机械强度,且工艺高效,适合批量化生产。

水下氢燃料电池阴极并联引射氧气循环系统及其控制方法

NºPublicación:  CN121769144A 31/03/2026
Solicitante: 
山东大学
CN_121769144_PA

Resumen de: CN121769144A

本发明属于氢燃料电池技术领域,提供了一种水下氢燃料电池阴极并联引射氧气循环系统及其控制方法,包括减压阀、燃料电池电堆、气液分离器、排气阀以及并联设置在所述减压阀和所述燃料电池电堆之间的第一引射器氧气循环回路和第二引射器氧气循环回路;其中,所述第一引射器氧气循环回路包括第一比例阀、第一引射器和第一开关阀,所述第二引射器氧气循环回路包括第二比例阀、第二引射器和第二开关阀。

全钒液流电池的隔膜及其制备方法、全钒液流电池和储能装置

NºPublicación:  CN121769138A 31/03/2026
Solicitante: 
浙江星辰新能科技有限公司
CN_121769138_PA

Resumen de: CN121769138A

本发明涉及一种全钒液流电池的隔膜及其制备方法、全钒液流电池和储能装置。该全钒液流电池的隔膜包括全氟磺酸树脂和负载有离子液体的多孔材料;负载有离子液体的多孔材料包括多孔材料和负载于多孔材料上的离子液体,多孔材料包括ZIF‑8,离子液体包括1‑丁基‑3‑甲基咪唑四氟硼酸盐。该全钒液流电池的隔膜包括离子液体,且该隔膜的性能稳定性,能够有效解决离子液体快速流失的问题。

一种燃料电池废旧催化剂浆料回收并再生铂基高熵金属间化合物催化剂的方法

NºPublicación:  CN121769132A 31/03/2026
Solicitante: 
中国石油大学(北京)
CN_121769132_PA

Resumen de: CN121769132A

本发明公开了一种燃料电池废旧催化剂浆料回收并再生铂基高熵金属间化合物催化剂的方法。本发明方法包括如下步骤:S1、从燃料电池废旧催化剂中分离出Pt/C催化剂;S2、将所述Pt/C催化剂分散在溶剂中,加入铁源、钴源、镍源、镓源进行浸渍吸附,去除溶剂得到前驱体粉末;S3、将所述前驱体粉末进行焦耳热闪蒸,得到铂基高熵金属间化合物催化剂。本发明通过多步纯化,将燃料电池废旧催化剂浆料中的商业铂碳催化剂,通过闪蒸焦耳热制备为高熵金属间化合物催化剂,所制备的催化剂具有优异性能的同时降低了铂用量,制备方法绿色环保,同时适合规模化生产。

具有低微孔性和优化的介孔性的高结构、中等表面积炭黑

NºPublicación:  CN121773501A 31/03/2026
Solicitante: 
伊梅科技
CN_121773501_PA

Resumen de: WO2025045778A1

The present invention relates to carbonaceous particulate materials with optimized Braun-Emmett- Teller specific surface areas (BET SSAs), pore size distribution, crystallinity, and aggregate structure possessing advantageous properties, such as, e.g., high corrosion resistance, and improved mass transport characteristics, which renders them particularly useful as support material for catalysts in fuel cells or electrolyzers.

氢罐的剩余量预测方法、氢罐的剩余量预测装置和发电系统

NºPublicación:  CN121773503A 31/03/2026
Solicitante: 
松下知识产权经营株式会社
CN_121773503_PA

Resumen de: CN121773503A

本公开的氢罐的剩余量预测方法,是在包含至少一个燃料电池单元的燃料电池装置中使用的氢罐的剩余量预测方法,具备基于在横跨多天的第1期间中使用的所述氢罐的氢量来预测所述氢罐的氢剩余量成为第1阈值以下的时期的步骤、和将所述时期通知给显示装置的步骤,当在所述第1期间内的横跨多天的第2期间中使用的所述氢罐的氢量为第2阈值以下时,基于在所述第1期间中的除了所述第2期间以外的期间中使用的氢罐的氢量来预测所述时期。

一种全钒液流电池电解液

NºPublicación:  CN121769157A 31/03/2026
Solicitante: 
安徽海螺洁能科技有限公司安徽海螺融华储能科技有限公司
CN_121769157_PA

Resumen de: CN121769157A

本发明涉及全钒液流电池储能技术领域,公开了一种全钒液流电池电解液,包含支撑电解质、钒离子活性组分、第一添加剂与第二添加剂;所述第一添加剂为磷酸酯类化合物;所述第二添加剂为多齿有机膦酸类化合物。本发明通过引入三烯丙基磷酸酯与多齿有机膦酸构成的复合添加剂体系,二者在强酸电解液中发挥协同稳定作用。三烯丙基磷酸酯可有效络合五价钒离子,抑制其高温聚合沉淀;而多齿有机膦酸凭借其多个配位点,进一步强化对活性钒离子的螯合与分散作用,从而显著提升电解液在40‑60℃高温环境下的长期稳定性,有效延缓V2O5沉淀生成,降低因沉淀导致的容量衰减与流道堵塞风险。

一种具备压力均衡调节功能的抗形变氢燃料电池电堆

NºPublicación:  CN121769162A 31/03/2026
Solicitante: 
协氢(池州)氢能科技有限公司
CN_121769162_PA

Resumen de: CN121769162A

本发明公开了一种具备压力均衡调节功能的抗形变氢燃料电池电堆,属于氢燃料电池技术领域,包括两个内端板和电池框架,所述电池框架中设有电池单元,两个内端板之间形成反应腔,还包括弹性缓冲层,每两个相邻电池框架之间均设有一个弹性缓冲层,气垫结构,每个弹性缓冲层均配置有一个所述气垫结构,调压管路,连接反应腔与每个气垫结构,包括泄压管和通气管,所述泄压管上安装有电控阀门以及气压传感器。本发明通过预紧弹簧作用于内端板对电池框架施加初始堆叠压力,并经弹性缓冲层均匀传导,在电堆内部异常升压时,气垫结构充气膨胀从内周反压电池框架抑制翘曲,实现静态压紧与动态均衡协同的自适应抗形变调控。

一种铁电解耦合藻菌微生物燃料电池及其制备方法和应用、废水处理方法

NºPublicación:  CN121769156A 31/03/2026
Solicitante: 
长沙环境保护职业技术学院
CN_121769156_PA

Resumen de: CN121769156A

本发明提供了一种铁电解耦合藻菌微生物燃料电池及其制备方法和应用、废水处理方法,属于废水处理技术领域。本发明的IE‑MFC包括:顺次设置的阳极室、阴极室和铁电解室,所述阳极室和阴极室之间以质子交换膜分隔,阴极室和铁电解室之间以阳离子交换膜分隔,所述阳极的表面固定厌氧微生物膜;所述阴极的表面固定鞘藻。本发明引入铁电解和藻菌共生系统,通过内部产生的微电场能刺激和强化微生物的代谢活性,藻菌的生物代谢及其电场的协同作用分解磺胺甲噁唑,同时通过铁电解原位产生亚铁离子,与阴极区鞘藻光合作用产生的氧气触发生成强氧化性的羟基自由基,实现对难降解中间产物的矿化,形成了“生物降解‑微电场‑铁电解”三协同的降解机制。

电机总成、燃料电池系统和车辆

NºPublicación:  CN121770229A 31/03/2026
Solicitante: 
蜂巢蔚领动力科技(江苏)有限公司
CN_121770229_PA

Resumen de: CN121770229A

本发明公开了一种电机总成、燃料电池系统和车辆,涉及电机技术领域,电机总成包括:机壳,机壳内设有转子安装腔和定子安装腔,机壳设有与转子安装腔连通的进气口和与定子安装腔连通的出气口;转子结构和定子结构;其中,转子安装腔与定子安装腔之间设有透气孔,转子安装腔适于从进气口引入冷却气流,且冷却气流适于从透气孔处进入到定子安装腔内并从出气口排出,且透气孔处设有防水透气件。本发明实施例的电机总成,通过在转子安装腔与定子安装腔之间设置透气孔,且在透气孔处设置防水透气件,确保冷却气流可从转子安装腔进入定子安装腔,同时可防止进入机壳内部的水体进入定子安装腔,进而可避免电机总成的绝缘性能下降。

一种V2C纳米片复合电极、制备方法及其应用

NºPublicación:  CN121769127A 31/03/2026
Solicitante: 
张家港德泰储能装备有限公司
CN_121769127_PA

Resumen de: CN121769127A

本发明属于液流电池技术领域,公开一种V2C纳米片复合电极、制备方法及其应用。制备方法包括:将MAX陶瓷粉体用pH=4的温和酸性溶液与NaF刻蚀得V2C材料;经硅烷化偶联剂处理、惰性/还原性气氛冰浴超声及离心,制得V2C‑Si‑NH2纳米片;石墨烯电极浸于该纳米片悬浮液,加酰胺耦合剂水浴反应,得无粘结剂复合电极。该电极通过C‑C(O)NH‑Si‑V2C共价键结合,V2C纳米片缺陷低、分散均匀,兼具高导电与催化性。其可应用于全钒、锌铁等液流电池,能提升电池库伦效率与能量效率,适用于液流电池产业化。

氢燃料电池实时控制方法、设备、存储介质及程序产品

NºPublicación:  CN121769150A 31/03/2026
Solicitante: 
许昌许继软件技术有限公司许继电气股份有限公司
CN_121769150_PA

Resumen de: CN121769150A

本发明属于控制技术领域,具体涉及一种氢燃料电池实时控制方法、设备、存储介质及程序产品。本发明根据氢燃料电池的启停计划控制氢燃料电池动作,其中,所述氢燃料电池的启停计划根据负荷计划功率得到:当负荷计划功率低于氢燃料电池的安全发电功率下限,启停计划为关机;当负荷计划功率高于氢燃料电池的安全发电功率下限,启停计划为开机;根据燃料电池启停计划,增加了氢燃料电池的启停控制过程。解决了由于现有的发电系统实时控制方法与调度计划不符,增加了氢燃料电池输出功率的损耗的问题。

燃料电池与空调共用散热系统的控制方法、电池车及介质

NºPublicación:  CN121756812A 31/03/2026
Solicitante: 
佛山市飞驰汽车科技有限公司
CN_121756812_PA

Resumen de: CN121756812A

本发明提供了一种燃料电池与空调共用散热系统的控制方法、电池车及介质,控制方法包括:基于空调压力、蒸发器温度、压缩机转速,得到空调需求占空比;基于水入电堆温度、水出电堆温度确认第一散热系统占空比大小需求、第二散热系统占空比大小需求;选取第一散热系统占空比大小与空调的散热系统进行共用,第二散热系统占空比大小不与空调的散热系统进行共用,对散热系统进行控制;判断空调占空比大小需求是否大于第一散热系统占空比大小需求;若大于,基于燃料发动机水温的下降情况,调整燃料电池发动机水泵的转速、冷却液水路节温器的开度;若小于,基于空调的散热情况,调整空压机的转速,本发明能降低材料成本,节省安装空间和降低整车能耗。

一种燃料电池控制策略及质子交换膜燃料电池系统

NºPublicación:  CN121769147A 31/03/2026
Solicitante: 
中国重汽集团济南动力有限公司
CN_121769147_PA

Resumen de: CN121769147A

一种燃料电池控制策略及质子交换膜燃料电池系统,属于燃料电池领域,控制策略包括燃料电池进入怠速状态;进入耗氧放电阶段,调节阳极侧的氢气进气压力;燃料电池连接DC/DC变换器,设置第一放电电流,当电堆单体最低电压小于第一电压阈值后,切断DC/DC变换器并关闭阳极侧的比例阀;进入耗氢放电阶段,调节阴极侧的进气压力,使氧气浓度介于第一浓度阈值和第二浓度阈值;设置第二放电电流,当电堆单体最低电压小于第二电压阈值后,切断DC/DC变换器并关闭空压机和空气进口阀;打开阳极侧的尾排阀,通入空气。先耗氧放电后耗氢放电的分阶段操作,单电池电压下降平缓且一致性好,缓解了阴极催化剂表面的腐蚀,提高了燃料电池的寿命。

一种氢钝化碳边缘的铁单原子催化剂、制备方法及应用

NºPublicación:  CN121769131A 31/03/2026
Solicitante: 
西安交通大学
CN_121769131_PA

Resumen de: CN121769131A

本发明涉及电催化材料技术领域,尤其涉及一种氢钝化碳边缘的铁单原子催化剂、制备方法及应用,该催化剂中的铁以原子级分散形式锚定在氮掺杂碳载体中,形成Fe‑N4活性位点,提供丰富的活性中心;所述氮掺杂碳载体具有丰富的边缘结构,且所述边缘结构上的碳原子被氢原子所钝化。丰富的边缘结构为Fe‑N4活性位点提供了开放的配位环境与较高的电子密度,有利于氧分子的吸附与活化。氢钝化处理仅针对边缘碳原子,并未改变Fe‑N4活性位点本身的几何构型,不会对其催化活性产生负面影响,能够使催化剂在保持高稳定性的前提下,依然能够展现出优异的氧还原反应催化活性,实现了活性与稳定性的完美平衡。

一种氢空氢氧双模态临界空间燃料电池系统

NºPublicación:  CN121769145A 31/03/2026
Solicitante: 
沈阳盛科航宇氢能源科技有限责任公司
CN_121769145_PA

Resumen de: CN121769145A

本发明属于氢能动力系统与临近空间航空工程技术领域,更具体的说是一种氢空氢氧双模态临界空间燃料电池系统。一种氢空氢氧双模态临界空间燃料电池系统,包括氢空供给模块、氢氧供给模块、氢燃料电池系统、开放式余热回收装置、导热层、氢气密闭流道换热器、氧气密闭流道换热器及四口式气体接口;所述氢空供给模块包括储氢瓶、氢气入口电磁阀装置及空压机,所述氢氧供给模块包括氧气瓶及氧气输送控制阀,所述氢燃料电池系统包括氢燃料电池电堆、控制系统、氢出空出电磁阀、空压机电调及锂电池;系统具备更高的高空适应性与能量利用效率,从而克服现有技术中高空供氧不足、低温难以维持、电堆效率衰减等问题。

一种具有高稳定性、高柔性的阴离子交换膜及其制备方法

NºPublicación:  CN121758796A 31/03/2026
Solicitante: 
常州大学中集中电(扬州)制氢设备有限公司扬州大学
CN_121758796_PA

Resumen de: CN121758796A

本发明涉及阴离子交换膜领域,尤其涉及一种具有高稳定性、高柔性的阴离子交换膜及其制备方法,制备方法包括:S1将α,ω‑二苯烷、三苄胺及4‑咪唑甲醛溶于有机溶剂中,在超强酸催化下通过一锅法缩聚反应,纯化处理后制得支化型聚合物;S2对纯化后的支化型聚合物进行季铵化处理,得到季铵化聚合物;S3将季铵化聚合物溶解于成膜溶剂中,浇铸成膜;S4对所得膜进行离子置换,得到氢氧根型阴离子交换膜。解决阴离子交换膜稳定性差、柔性不足等缺陷,从分子水平设计,综合支化结构构建、柔性链段引入和“Cardo”结构缺失等技术,从源头上消除不稳定因素,制备刚柔并济的阴离子交换膜。

一种高稳定全钒液流电池电解液

NºPublicación:  CN121769158A 31/03/2026
Solicitante: 
安徽海螺洁能科技有限公司安徽海螺融华储能科技有限公司
CN_121769158_PA

Resumen de: CN121769158A

本发明涉及全钒液流电池储能技术领域,公开了一种高稳定全钒液流电池电解液,包括支撑电解质;钒离子活性组分;以及稳定添加剂;支撑电解质为硫酸;钒离子活性组分包含V2+、V3+、V4+和V5+中的至少两种;稳定添加剂为与钒离子形成三齿配位络合物的芳香杂环二甲酸化合物。本发明通过引入2,6‑吡啶二甲酸作为稳定添加剂,利用吡啶氮与双羧基构成的三齿配位结构,与五价钒离子(V5+)形成稳定络合物,避免V5+离子的水解生成羟桥,继而通过羟桥缩合脱水形成稳定的氧桥,最终聚合生成V2O5沉淀;提升电解液在40℃以上,尤其是在50℃苛刻条件下的长期化学稳定性,解决了现有电解液高温沉淀导致容量衰减快、流道堵塞的问题。

一种集成化氢氧储能供能系统

NºPublicación:  CN121769154A 31/03/2026
Solicitante: 
广州骥翀氢能科技有限公司
CN_121769154_PA

Resumen de: CN121769154A

本发明涉及一种集成化氢氧储能供能系统,属于氢能源技术领域。系统包括电解制氢单元,用于电解水制取氢气和氧气;氢气管理子系统与氧气管理子系统,分别连接电解槽的氢气出口和氧气出口,用于对生成的氢气和氧气进行纯化与储存;燃料电池发电单元,其氢气进气口和氧气进气口分别连接两个子系统的供应端,用于消耗储存的氢气和氧气进行发电;且燃料电池产生的电能可回馈至电解制氢单元;电流转换装置,连接在燃料电池发电单元的电力输出端与电解制氢单元的供电输入端之间。本发明通过构建氢氧独立储存与供给的结构,使系统摆脱对外部空气的依赖,并利用内部电能回馈实现了能量调配,适用于高原、高空、长途运输等特殊环境的稳定供能。

一种压合工装和压合方法

NºPublicación:  CN121769141A 31/03/2026
Solicitante: 
上海交通大学上海治臻新能源股份有限公司
CN_121769141_PA

Resumen de: CN121769141A

本发明涉及一种压合工装和压合方法,所述工装用于压合密封件和燃料电池的极板,所述极板上开设有密封槽,密封件通过胶黏剂与密封槽粘接,所述工装包括第一压合板、第二压合板和变形件,所述第一压合板用于与密封件接触,所述第二压合板用于放置极板,所述第一压合板和第二压合板能够相对运动;所述变形件至少设置于一个压合板朝向极板的表面上,所述变形件朝向极板的投影至少覆盖密封件,当第一压合板和第二压合板相互靠近时,所述变形件在变形件与密封件接触时弹性变形,以使变形件的外轮廓与密封件的外轮廓相同。与现有技术相比,本发明中压合板对密封件进行均一压合,有利于提高密封件与极板连接的可靠性,以提高密封件的密封效果。

导电性金属氧化物粒子和电化学反应用催化剂粒子

NºPublicación:  CN121773484A 31/03/2026
Solicitante: 
株式会社科特拉国立大学法人广岛大学
CN_121773484_PA

Resumen de: WO2025052799A1

According to the present invention, a carrier for an electrode catalyst is conductive metal oxide particles having a specific surface area of 35 m2/g or more and a pore volume of a pore having a pore diameter of 20-100 nm of 0.25 mL/g or more, and the electrode catalyst is catalyst particles for electrochemical reaction in which catalyst noble metal particles are carried on the conductive metal oxide particles.

一种全钒液流电池的电解液及其制备方法

NºPublicación:  CN121769159A 31/03/2026
Solicitante: 
安徽海螺洁能科技有限公司安徽海螺融华储能科技有限公司
CN_121769159_PA

Resumen de: CN121769159A

本发明涉及全钒液流电池电解液技术领域,公开了一种全钒液流电池的电解液及其制备方法,包括硫酸、钒离子活性物质以及由磷酸锂和可溶性三价铈盐组成的复合添加剂。本发明通过磷酸锂与三价铈盐的复配,磷酸根离子与五价钒离子形成稳定的配合物,有效抑制了其在高温下的水解聚合与V2O5沉淀;同时,三价铈离子凭借其可变的价态,不仅增强了上述稳定作用,更作为氧化还原媒介加速V4+/V5+电对的反应动力学。该协同体系使得电解液在50℃下长期存放的沉淀量降低至0.015‑0.025 g/L,并将稳定的V5+工作浓度提升至2.2‑2.8 mol/L,解决高能量密度与高温运行稳定性之间的矛盾。

中空纤维膜长度可调节的燃料电池加湿器以及中空纤维膜之间的间隙可调节的燃料电池加湿器

NºPublicación:  CN121773504A 31/03/2026
Solicitante: 
可隆工业株式会社
CN_121773504_PA

Resumen de: KR20250033782A

The present invention relates to a humidifier for a fuel cell in which the length of a hollow fiber membrane or the interval between the hollow fiber membranes is adjusted in response to the internal temperature of the humidifier that changes according to the output situation of the fuel cell. The humidifier for a fuel cell comprises: a housing; a hollow fiber membrane located inside the housing, in which dry air flows inside, and wet air flows outside; and potting materials located at both ends of the hollow fiber membrane to fix the ends of the hollow fiber membrane. The potting material is divided into an inner potting material located inside the housing and an outer potting material located outside the housing and spaced apart from the inner potting material based on the first temperature-sensitive volume change member by inserting a first temperature-sensitive volume change member that expands and contracts according to the temperature inside the potting material.

散热防护罩及新能源机车

NºPublicación:  CN121769163A 31/03/2026
Solicitante: 
中车大同电力机车有限公司
CN_121769163_PA

Resumen de: CN121769163A

本公开提出一种散热防护罩及新能源机车,散热防护罩包括罩体、通风罩以及通风盖板;罩体呈槽口朝下的槽体结构,且槽体结构的槽腔沿第一方向贯穿;罩体的顶部设置有通风口;通风罩设置于罩体的通风口处,并包括连接部及通风部;连接部呈筒状结构并连接通风口,连接部上端向上伸出通风口;通风部连接于连接部上端的开口的周缘,并与罩体间隔布置而形成第一间隙,通风部为网板结构;通风盖板连接通风罩,通风盖板部分间隔位于通风部上方,而形成连通通风口的第二间隙。

一种燃料电池包组装结构及电堆

NºPublicación:  CN224067663U 31/03/2026
Solicitante: 
浙江锋源氢能科技有限公司锋源氢能(广州)有限公司
CN_224067663_U

Resumen de: CN224067663U

本实用新型涉及一种燃料电池包组装结构及电堆,包括:第一膜电极、第一密封件、第一过渡层、第一双极板、外密封件和若干半电池单元体,外密封件粘结在第一双极板的外侧面上,第一过渡层粘结在第一密封件与第一双极板相对的端面上,并且第一双极板粘结在第一过渡层上,第一密封件的另一端面连接第一膜电极,若干半电池单元体叠加在一起,第一膜电极与若干半电池单元体构成的整体连接构成电池包。本实用新型所的目的在于为了提高双极板和膜电极组装效率及密封性能,提高燃料电池的稳定性和使用寿命增加产品竞争力;同时提出了与锂电一样的电池包概念致力于制作更为稳定的燃料电池组以及更为快速便捷的对受损电池组进行更换的结构。

一种氢能重卡的余热回收装置

NºPublicación:  CN224067664U 31/03/2026
Solicitante: 
内蒙古圆速蒙泰智能氢电商用车有限公司
CN_224067664_U

Resumen de: CN224067664U

本实用新型提供了一种氢能重卡的余热回收装置,包括有壳体和内部的气瓶,壳体的两侧分别固定连接有导出管道和导入管道,壳体的顶端固定设置有密封结构,壳体的内部从内向外依次固定设置有限位腔和换热腔,换热腔和限位腔之间嵌入设置有换热夹层,导出管道和导入管道分别位于壳体的两侧上下位,和换热腔相通设置。通过伸缩杆达到控制对应连接的第一密封座与第一密封层横向进行移动调节的效果,通过第一密封层达到从下方位置保证密封结构密封性的效果,通过第二密封座和第二密封层达到和对应的第一密封座以及以第一密封层接触形成嵌合,从而保证对气瓶和壳体之间密封性的效果。

极板、燃料电池和车辆

NºPublicación:  CN224067662U 31/03/2026
Solicitante: 
广州汽车集团股份有限公司
CN_224067662_U

Resumen de: CN224067662U

本申请提供极板、燃料电池和车辆。极板包括板体,板体沿长度方向的端部设有气体通道和冷却通道,板体沿厚度方向的相对两侧分别为第一侧和第二侧。第一侧设有反应区和第一分配区。第一分配区设有第一过桥结构和气体分配结构。气体分配结构包括多个直线型的气体分配流道。第一过桥结构连通气体通道和气体分配流道的一端,气体分配流道的另一端连通反应区。第二侧设有冷却区和第二分配区,第二分配区连通冷却通道和冷却区。第二分配区设有冷却分配结构。冷却分配结构包括多个凸点结构,冷却分配结构在第一侧的投影与气体分配结构相邻设置。从而将反应气体快速均匀地直通反应区,以及均匀导入冷却介质至冷却区,降低分配区的流阻,提高流场均一性。

热管理系统及车辆

NºPublicación:  CN224067665U 31/03/2026
Solicitante: 
未势能源科技河北有限公司
CN_224067665_U

Resumen de: CN224067665U

本实用新型提供了一种热管理系统及车辆,涉及车辆热管理技术领域,且热管理系统包括燃料电池冷却液循环回路,以及内部设有换热装置的储气瓶,其中,燃料电池冷却液循环回路包括冷却液循环管路,以及通过冷却液循环管路连接的循环泵、燃料电池堆和散热器,沿燃料电池冷却液循环回路中冷却液的流向,散热器的下游与换热装置的进口连接,散热器的上游与换热装置的出口连接。本实用新型所述的热管理系统,能够对储气瓶内的气体进行降温,将气体温度精确控制在安全阈值范围内,从而可避免因温度升高导致的压缩气体压力骤增,能够有效降低气瓶结构损伤、密封失效等风险,并能够提升系统的运行可靠性,进而可保证车辆的安全性能。

燃料电池尾气测量系统及燃料电池

NºPublicación:  CN224066753U 31/03/2026
Solicitante: 
特嗨氢能检测(保定)有限公司
CN_224066753_U

Resumen de: CN224066753U

本实用新型涉及燃料电池技术领域,具体提供了一种燃料电池尾气测量系统及燃料电池。本实用新型的燃料电池尾气测量系统包括换热单元,出气管路,水气分离器和测量管路。其中,换热单元中设有用于连通电堆尾排单元的制冷通道,由电堆尾排单元排入的尾气被制冷通道降温除湿后经出气管路输送至水气分离器;测量管路连通水气分离器的出气口,而且测量管路上设有气体测量装置,气体测量装置用于检测流经测量管路的气体流量以及气体中的氢气浓度。本实用新型的燃料电池尾气测量系统,可避免凝水对气体测量装置测量的影响,利于提升气体测量装置对气体中氢气含量的测量准确性。

一种固体氧化物燃料电池电堆连接装置

NºPublicación:  CN224067666U 31/03/2026
Solicitante: 
太原科技大学
CN_224067666_U

Resumen de: CN224067666U

本实用新型属于连接装置技术领域,具体涉及一种固体氧化物燃料电池电堆连接装置,包括第一连接架、第二连接架和第一连接架、第二连接架内部装配的燃料电池电堆本体,所述第二连接架的顶部表面开设有安装槽,所述安装槽的内部装配有丝杆,所述丝杆的一端安装有轴承,所述丝杆的表面螺纹连接有丝套,本实用新型利用丝杆、丝套与第一连接架的配合,能调整燃料电池电堆本体位置,解决加工误差导致的偏差,使孔位对齐至同一垂直线,便于连接。同时,螺纹杆、固定块与限位板的结合,稳固固定燃料电池电堆本体,为调节提供便利,防止移动,确保孔位准确连接,显著提升连接稳定性和效率。

一种使用金属储氢材料的快递车用氢电联动系统

NºPublicación:  CN121756937A 31/03/2026
Solicitante: 
太仓向日葵动力科技有限公司
CN_121756937_PA

Resumen de: CN121756937A

本发明公开了一种使用金属储氢材料的快递车用氢电联动系统,涉及氢能动力技术领域;该系统包括金属固态储氢系统、发电系统和电控系统;发电系统包含氢能燃料电池和连接该燃料电池与固态储氢系统的导风风道;本发明核心在于利用燃料电池运行时产生的废热,通过导风风道主动引导至金属固态储氢系统,为金属储氢材料提供解吸所需的热量,从而实现系统内部能量的高效协同利用。该系统有效解决低温环境下金属储氢释氢困难的问题,提升整体能效和续航里程,同时通过一体式集成阀、轻量化瓶体、分层电控架构等,提高系统的紧凑性、安全性和可靠性,特别适用于快递、外卖等对续航和补能效率要求高的商用车辆。

一种SOFC流场调控密封垫片、燃料电池及流场优化方法

NºPublicación:  CN121761112A 31/03/2026
Solicitante: 
福赛尔(武汉)集成有限公司
CN_121761112_PA

Resumen de: CN121761112A

本申请涉及一种SOFC流场调控密封垫片、燃料电池及流场优化方法,SOFC流场调控密封垫片包括:垫片主体,所述垫片主体设有气体进口和气体出口,所述垫片主体于所述气体进口与所述气体出口的一侧均设有气体分配区;所述气体分配区于流体通道侧的边缘设有弧形密封边,且所述弧形密封边朝向靠近所述垫片主体的中心方向凹陷形成。本申请通过在流体通道处设置了弧形密封边,弧形密封边可以对流体通道进行遮挡,且不同位置的流体通道遮挡的范围大小不同,从而可以控制各流体通道的流体分配,使得流体分配更加均匀;气体出口处的弧形密封边同样可以控制各流体通道流出的气体流量,使得出口处的流体也分配均匀。

液流电池用大尺寸薄壁耐候改性聚丙烯电极框及其制备方法

NºPublicación:  CN121758869A 31/03/2026
Solicitante: 
南京华格电汽塑业有限公司南京工业大学
CN_121758869_PA

Resumen de: CN121758869A

本发明公开了一种液流电池用大尺寸薄壁耐候改性聚丙烯电极框及其制备方法,构成该电极框的改性聚丙烯材料由以下原料按比例制成:均聚聚丙烯功能母料20~53份,抗冲共聚聚丙烯40~80份,聚烯烃弹性体5~30份。其中均聚聚丙烯功能母料由以下组分组成:均聚聚丙烯粉料20~50份,金属钝化剂0.1~0.3份,刚性成核剂0.05~0.1份,抗氧剂0.2~0.5份,润滑剂0.2~1份,光稳定剂0.5~2份。原料混合后经平行双螺杆挤出机造粒,再注塑成型为电极框。本发明的液流电池用大尺寸薄壁耐候改性聚丙烯电极框具有有强度高、不易开裂、平整度高、尺寸稳定性好、耐电解液腐蚀、耐候性好等优点,易于加工成型,可以经特定波长激光熔融焊接,广泛适用于储能行业。

一种钒电池用催化活性电极的制备方法及其催化活性电极和应用

NºPublicación:  CN121769129A 31/03/2026
Solicitante: 
四川伟力得能源股份有限公司
CN_121769129_PA

Resumen de: CN121769129A

本发明涉及钒电池用电极技术领域,特别涉及一种钒电池用催化活性电极的制备方法及其催化活性电极和应用。以氧化铋水相分散液作为前驱体,负载于石墨毡电极基体表面后,将石墨毡电极置于惰性气氛下进行碳热还原反应,在惰性气氛中使氧化铋与石墨毡碳基体发生固相反应,原位生成强结合的催化活性位点。通过针对性控制氧化铋水相分散液的浓度以及碳热还原反应的温度,使得制备出的钒电池用催化活性电极中活性组分均匀且牢固地结合于基体表面,表现出高均匀性和高稳定性。同时本申请采用先负载后一步碳热还原法,能够实现规模化生产,有效提升产品的电化学活性,可实现性能的均匀一致性,有效满足了商业化生产对电极性能与制造效率的多维严苛要求。

一种整车冷能利用系统及整车冷能利用系统的控制方法

NºPublicación:  CN121756846A 31/03/2026
Solicitante: 
国鸿氢能科技(嘉兴)股份有限公司
CN_121756846_PA

Resumen de: CN121756846A

本发明提出一种整车冷能利用系统及整车冷能利用系统的控制方法,所述系统包括:液体燃料低温储供模块、第一冷能利用模块、第二冷能利用模块、发电模块、第三冷能利用模块、辅助制冷模块和燃料电池模块,液体燃料低温储供模块、第一冷能利用模块、第二冷能利用模块、第三冷能利用模块和燃料电池模块形成单向通路;第一冷能利用模块与发电模块形成第一循环通路;第二冷能利用模块与辅助制冷模块形成第二循环通路;第三冷能利用模块还与所述燃料电池模块形成第三循环通路;本发明解决现有技术冷能利用结构过于复杂或过于简单导致冷能利用率低的问题。本发明实现设计梯级冷能利用结构对冷能进行分级利用,提高整车冷能利用率。

一种基于自适应GCN的全钒液流电池泵故障检测方法

NºPublicación:  CN121765562A 31/03/2026
Solicitante: 
武汉理工大学
CN_121765562_PA

Resumen de: CN121765562A

本发明提供了一种基于自适应GCN的全钒液流电池泵故障检测方法,包括以下步骤:在多种运行状态下进行全钒液流电池的运行实验,采集实验过程中的电池电压信号与电解液流量信号并标注对应的电池状态作为训练集;对电池电压信号与电解液流量信号进行特征提取和特征融合,得到全钒液流电池的多模态节点特征矩阵;计算节点间的欧几里得距离作为节点间的相似度,构建相似度矩阵,从相似度矩阵中为每个节点筛选出相似度最高的个邻居,构建邻接矩阵;基于邻接矩阵构建图卷积神经网络模型,引入用于在卷积聚合时动态调节邻域特征的平滑强度的自适应平滑因子;将待检测的电池运行数据输入训练后的图卷积神经网络模型,得到电池泵故障诊断结果。

一种基于氢燃料电池的备用电源供电系统

NºPublicación:  CN121769152A 31/03/2026
Solicitante: 
国网福建省电力有限公司电力科学研究院福州大学
CN_121769152_PA

Resumen de: CN121769152A

本发明涉及了一种基于氢燃料电池的备用电源供电系统,包括液氨罐、燃料电池、电加热器、反应器、燃烧器和吸附器。液氨罐与燃料电池直接连通,燃料电池为电加热器供电,电加热器为反应器提供热能。反应器分解产生的气体分别通向吸附器和燃烧器,燃烧器与反应器热联通以回收余热,吸附器净化后的气体送入燃料电池发电。本发明通过回收利用氨分解过程的反应余热,显著提高了系统能量利用率,降低了散热能耗,实现了系统的零碳发电。同时,利用液氨有效控制了燃料电池的工作温度,保障了备用电源的稳定输出功率,减少了对市电或锂电储能的依赖。

一种燃料电池电堆

NºPublicación:  CN121769161A 31/03/2026
Solicitante: 
中国科学院大连化学物理研究所
CN_121769161_PA

Resumen de: CN121769161A

本发明属于燃料电池技术领域,具体地说是一种燃料电池电堆,采用联级燃料电池电堆结构,设置主电堆、副电堆的结构形式,将主电堆反应的剩余氢气通入副电堆阳极,通过输出电流及电堆节数控制副电堆阳极气体分配,采用此结构电堆相较于传统电堆结构,可提升电堆燃料转化效率1%~5%。

一种燃料电池水热管理测试平台及其测试方法

NºPublicación:  CN121769148A 31/03/2026
Solicitante: 
中经云数据存储科技(北京)有限公司
CN_121769148_PA

Resumen de: CN121769148A

本发明涉及水热管理测试领域,尤其涉及一种燃料电池水热管理测试平台及其测试方法。所述水箱、水泵、加热单元、第一温度计、入口电磁阀依次通过第一管路连接,所述出口电磁阀、第二温度计和水箱依次通过第二管路连接,所述第一管路与第二管路分别连接换热器。这样,加热单元模拟电堆的发热功率,打开水泵、入口电磁阀、出口电磁阀使得加热后的循环水可以流经换热器,通过第一温度计、第二温度计的数据显示,可以判断出换热器的换热效率是否符合使用环境,从而确定换热器及风扇的选型;通过加热单元模拟电堆发热,可以在不使用电堆的情况下就可以对换热器及风扇进行选型,有效减少电堆在测试过程中的损耗。

一种带多层碳基涂层的铝镁硅合金极板及其制备方法

NºPublicación:  CN121769135A 31/03/2026
Solicitante: 
丽水学院
CN_121769135_PA

Resumen de: CN121769135A

本发明涉及合金极板技术领域,尤其涉及一种带多层碳基涂层的铝镁硅合金极板及其制备方法,带多层碳基涂层的铝镁硅合金极板包括铝镁硅合金基材层,铝镁硅合金基材层的表面连接有多层碳基涂层;多层碳基涂层包括依次层叠设置的CrN层、CrNC层、CrC层以及掺杂金属原子和氮原子的非晶碳涂层,且CrN层位于靠近铝镁硅合金基材层的一侧,所述带多层碳基涂层的铝镁硅合金极板的多层碳基涂层与Al‑Mg‑Si合金基材层之间的结合力较强、并且具有较好的导电性能和耐腐蚀性能,解决现有的涂层与Al‑Mg‑Si合金极板之间的结合力、耐腐蚀性与界面导电性能难以同时提升的问题。

一种生物炭-聚氨酯碳阳极材料及其制备方法以及微生物燃料电池和应用

NºPublicación:  CN121769130A 31/03/2026
Solicitante: 
中南大学
CN_121769130_PA

Resumen de: CN121769130A

本发明公开了一种生物炭‑聚氨酯碳阳极材料及其制备方法以及微生物燃料电池和应用,将生物炭、多元醇、三乙醇胺、水和异氰酸酯加入模具中混合获得混合物,在搅拌下反应至出现白色浮沫,然后静置发泡,待材料固化后进行碳化,即得生物炭‑聚氨酯碳阳极材料,本发明中以碳化后的生物炭‑聚氨酯材料作为MFCs的阳极构建的双室型微生物燃料电池的内阻不超3.00Ω,最高电压稳定超620 mV,最大面积功率密度超800 mW m‑2,本发明的COD去除率达到97.24%。

電極触媒層

NºPublicación:  JP2026055107A 30/03/2026
Solicitante: 
DIC株式会社
JP_2026055107_A

Resumen de: JP2026055107A

【課題】 固体高分子形燃料電池の膜電極接合体を製造する場合に、膜電極接合体の作製プロセスとそれに伴う内部応力による触媒層の空隙や触媒担持粒子の破壊に効果的な電極触媒層を提供することを目的とする。【解決手段】 触媒担持粒子と、高分子電解質と、を含む電極触媒層であって、前記電極触媒層の膜厚を1~20μmとしたときの、多角度分光光度計を用いて測定されるCIE LAB表色系におけるL*、a*、及びb*が、L*≧16.0、 0.0≦a*≦5.0、 0.5≦b*≦10.0を満たす電極触媒層を提供する。【選択図】 なし

電気化学装置

NºPublicación:  JP2026054969A 30/03/2026
Solicitante: 
株式会社東芝
JP_2026054969_A

Resumen de: JP2026054969A

【課題】局所的な劣化の進行を抑制し、性能の向上を容易に実現可能な電気化学装置を提供する。【解決手段】実施形態の電気化学装置は、燃料極ガスが流れる燃料極と、酸素極ガスが流れる酸素極との間に電解質膜が挟まれている電気化学セルを備える。電気化学装置は、燃料極の側に設置されている、燃料極側金属板部と、燃料極と燃料極側金属板部との間に介在している、燃料極側集電材とを有する。燃料極側集電材は、燃料極ガスが燃料極側金属板部と燃料極との間を流れる流れ方向において最も上流側に位置する第1の燃料極側集電材部と、流れ方向において第1の燃料極側集電材部よりも下流側に位置する、第2の燃料極側集電材部とを少なくとも含む。第1の燃料極側集電材部の多孔率X11と、第2の燃料極側集電材部の多孔率X12とが、X11>X12に示す関係を満たす。【選択図】図2A

燃料電池セル

NºPublicación:  JP2026054943A 30/03/2026
Solicitante: 
トヨタ自動車株式会社
JP_2026054943_A

Resumen de: US20260081197A1

The fuel cell includes a resin frame body having an opening portion, a membrane electrode assembly disposed in the opening, and a first separator and a second separator opposed to each other via the frame body and the membrane electrode assembly. A first manifold hole is formed in the frame body, the first separator, and the second separator. A plurality of first gas passages extending from the first manifold hole to the membrane electrode assembly are opened in a first region that is a part of the inner peripheral face of the first manifold hole. The first gas passages are formed between the frame body and the first separator. In the first region, in the cross section passing through the central axis of the first manifold hole, the inner wall face of the first separator protrudes toward the central axis side than the inner wall face of the frame body.

燃料電池に用いるセパレータ及び燃料電池

NºPublicación:  JP2026054922A 30/03/2026
Solicitante: 
トヨタ自動車株式会社
JP_2026054922_A

Resumen de: US20260081188A1

A separator used in a fuel cell includes: a supply manifold hole for fuel gas; an exhaust manifold hole for the fuel gas; and a fuel gas flow path system causing the fuel gas to flow through an electricity generation portion of the fuel cell, the fuel gas flow path system including a first flow path portion directing the fuel gas from the supply manifold hole to the electricity generation portion, a second flow path portion facing the electricity generation portion and supplying the fuel gas to the electricity generation portion, and a third flow path portion directing the fuel gas from the electricity generation portion to the exhaust manifold hole. The third flow path portion includes a low-hydrophilicity flow path disposed at the vicinity of the exhaust manifold hole and includes a low-hydrophilicity surface.

一种氢燃料电池的冷却水路的加热保温装置及方法

NºPublicación:  CN121748434A 27/03/2026
Solicitante: 
佛山市飞驰汽车科技有限公司
CN_121748434_PA

Resumen de: CN121748434A

本发明涉及氢燃料电池技术领域,且公开了一种氢燃料电池的冷却水路的加热保温装置及方法,包括冷却水路主体,冷却水路主体的外侧固定连接有恒温层。本发明在冷却水路主体的外侧有恒温层,恒温层包括恒温壳体,恒温壳体通过恒温器一和恒温器二配合使用,保持冷却水路主体温度平衡,并且在冷却水路主体的一侧设置了加热结构,加热结构包括压力密封入孔,压力密封入孔连接了加热结构和冷却水路主体,然后冷却水路主体通过给水进口将水源输送至加热结构的内侧,蒸汽冷却段遮热板通过隔断板以及定距管的连接,将热量传输至疏水冷却段隔板,疏水冷却段隔板通过疏水出口将热量传输给冷却水路主体,起到加热的效果。

计算电解液中铁离子与铬离子物质的量之比的方法及其应用

NºPublicación:  CN121748447A 27/03/2026
Solicitante: 
大连融科储能集团股份有限公司
CN_121748447_PA

Resumen de: CN121748447A

本发明提供一种计算电解液中铁离子与铬离子物质的量之比的方法及其应用,计算电解液中铁离子与铬离子物质的量之比的方法,包括以下步骤:确定铁铬液流电池所使用的离子膜的离子交换容量IEC;设定电池的预期运行温度T及电解液的荷电状态SOC;根据下式n(Fe2+)/n(Cr3+)=0.1α+0.2β(T)+0.5γ(SOC)计算二价铁离子与三价铬离子的物质的量之比;α为基于离子膜离子交换容量确定的配比系数;β(T)为温度修正因子;γ(SOC)为与电解液荷电状态的关联因子。本发明能通过调节初始电解液中主要活性物质浓度比,以达到控制析氢、抑制铁铬液流电池容量衰减的效果。

一种质子交换膜燃料电池余能回收的电-汽联供系统

NºPublicación:  CN121748433A 27/03/2026
Solicitante: 
贵州电网有限责任公司
CN_121748433_PA

Resumen de: CN121748433A

本发明涉及低品位余热利用领域,尤其是一种质子交换膜燃料电池余能回收的电‑汽联供系统,其包括,燃料电池单元;与燃料电池单元相连的热泵单元;与热泵单元相连的蒸汽闪蒸单元;与燃料电池单元和蒸汽闪蒸单元相连的补水单元;燃料电池单元为热泵单元提供热源;蒸汽闪蒸单元吸收热泵的热量,生产蒸汽;补水单元回收空气余热,加热补水,并将吸收余热的水通过蒸汽闪蒸单元输送至热泵单元,通过设置催化燃烧器回收未燃尽的氢气尾气热能,通过膨胀机回收空气尾气的压力能,通过空气‑水换热器回收空气尾气余热,将质子交换膜燃料电池全部余能进行了回收,从而提高了整体系统的能源利用率。

一种支撑装置以及车辆

NºPublicación:  CN121734087A 27/03/2026
Solicitante: 
丰田自动车株式会社
CN_121734087_PA

Resumen de: CN121734087A

本申请提供了一种支撑装置以及车辆。所述车辆上设置有散热器和储氢模块,所述储氢模块为交换式且位于所述散热器的下方,所述支撑装置置于所述散热器和所述储氢模块之间且在流体作用下具有膨胀状态和收缩状态;在所述膨胀状态下,所述支撑装置支撑所述散热器;在所述收缩状态下,所述支撑装置收缩以形成用于交换所述储氢模块的空间。在进行储氢模块的交换时,可以收缩支撑装置,从而能够确保进行储氢模块交换作业的空间。

电解电堆性能评估方法及设备

NºPublicación:  CN121740981A 27/03/2026
Solicitante: 
国家能源投资集团有限责任公司北京低碳清洁能源研究院
CN_121740981_PA

Resumen de: CN121740981A

本发明公开电解电堆性能评估方法及设备。方法包括:获取电解电堆运行过程中在多个电流密度下测量得到的电化学阻抗谱;根据弛豫时间分布函数与电化学阻抗谱的阻抗数据的关系,确定电解电堆内部多个极化过程的特征频率段,根据特征频率段,确定电解电堆中溶液离子扩散过程、阴阳极的电荷转移过程和物质传输过程;进行性能评估。本发明利用弛豫时间分布方法通过识别不同的频率来量化不同的电化学过程,进而对电解电堆的全过程,如各部件内阻、离子传输过程、阴极和阳极反应动力学过程、气泡/电解质传输过程等内部电化学特征指标进行详细解析,以此来提高电解电堆的性能评估和故障诊断。

一种液流电池电解液流量控制方法及系统

NºPublicación:  CN121748438A 27/03/2026
Solicitante: 
浙江星辰新能科技有限公司
CN_121748438_PA

Resumen de: CN121748438A

本发明涉及一种液流电池电解液流量控制方法及系统,所述方法包括获取液流电池的初始参数数据;确定电解液的初始目标流量;根据电解液的初始目标流量、液流电池的初始参数数据,通过预设的流量拟合模型得出循环泵的初始目标工作频率,驱动循环泵以初始目标工作频率工作;持续采集液流电池的实时参数数据,并通过流量拟合模型更新电解液的实时流量;持续更新电解液的实时目标流量;通过流量拟合模型持续更新实时目标工作频率,并持续驱动循环泵根据实时目标工作频率调整工作频率实现电解液流量的全周期调控。本发明通过建立流量拟合模型,无需流量计即可实现流量的前馈计算与反馈调节,降低了系统的成本,提升了液流电池的运行可靠性与使用寿命。

燃料电池用隔板及燃料电池

NºPublicación:  CN121748457A 27/03/2026
Solicitante: 
丰田自动车株式会社
CN_121748457_PA

Resumen de: CN121748457A

本发明提供一种能够抑制所生成的水积聚在氢出口附近的流路中的隔板。一种燃料电池用隔板,其在包围流路的边缘区域具有向流路侧凹陷的凹部,其中,在边缘区域形成有在氢出口孔附近氢流路的一部分连通的旁通流路,凹部与旁通流路连接。

一种长寿命双极板、其制备方法及应用

NºPublicación:  CN121748428A 27/03/2026
Solicitante: 
大连融科储能集团股份有限公司

Resumen de: CN121748428A

本发明提供一种长寿命双极板、其制备方法及应用,所述长寿命双极板包括:预埋在长寿命双极板中的自修复材料基体微球和自修复引发剂微球;所述自修复材料基体微球为包含自修复基体材料与聚偏氟乙烯的复合物;所述自修复引发剂微球为包含自修复引发剂、聚偏氟乙烯和高分子聚合催化剂的复合物;当双极板破裂时,所述自修复材料基体微球与自修复引发剂微球释放并接触,通过聚合反应固化修复双极板裂缝。本发明长寿命双极板内部预埋自修复基体材料微球与引发剂微球,当双极板产生裂纹时,微球破裂释放修复材料并聚合固化,实现双极板自修复,显著提升机械强度和寿命,进而降低维护成本。

一种考虑膨胀能量回收的燃料电池透平空压机控制方法

NºPublicación:  CN121749828A 27/03/2026
Solicitante: 
福州大学

Resumen de: CN121749828A

本发明涉及一种考虑膨胀能量回收的燃料电池透平空压机控制方法,构建包括转速外环自抗扰控制模块、电流内环解耦PI控制模块、转速信号滤波模块的控制系统;采用由转速环和电流环构成的控制结构,转速外环自抗扰模块在传统控制基础上引入了超局部方程与扩张状态观测器。通过超局部模型对系统状态和扰动进行建模,扩张状态观测器实时估计空压机系统中由负载转矩、反电动势和其他扰动引起的影响,并进行在线补偿;电流环采用基于自抗扰控制的策略,实时估算电流控制中的扰动,并进行补偿,从而提高电流控制精度和响应速度。通过转速滤波模块将转速传感器信号转换为机械电角度信号,通过延迟补偿机制减小系统控制延迟影响,确保空压机保持平稳运行。

一种不锈钢双极板渗氮/氮化铬复合涂层及其制备方法

NºPublicación:  CN121737632A 27/03/2026
Solicitante: 
安徽大学中国科学院合肥物质科学研究院

Resumen de: CN121737632A

本发明公开了一种不锈钢双极板渗氮/氮化铬复合涂层及其制备方法,涉及燃料电池技术领域,其制备方法包括以下步骤:通过管式炉等离子体辅助渗氮在不锈钢表面形成富氮过渡层,再辅以磁控溅射沉积CrN涂层,构建“氮扩散层-CrN陶瓷层”复合结构。利用管式炉等离子体辅助渗氮这种新方法先进行第一步的渗氮,在不锈钢表面形成薄层的氮化铬,再通过磁控溅射直接在渗氮层的基础上制备反应溅射,制备致密的氮化铬涂层,实现涂层与基体间的化学键合与应力缓释,显著提升界面附着力与耐腐蚀协同性能。该方法兼具低温处理、工艺可控、成本适中等优势,为高性能金属双极板的表面改性提供了新思路。

用来加工用于电化学单池的基底的加工设备以及用来加工用于电化学单池的基底的方法

NºPublicación:  CN121733014A 27/03/2026
Solicitante: 
罗伯特·博世有限公司

Resumen de: CN121733014A

本发明涉及一种用来加工用于电化学单池的基底(12)的加工设备(10)以及一种用来借助于这样的加工设备(10)加工用于电化学单池的基底(12)的方法。提出了,借助于液体池(18)尤其主动式地冷却基底(12)。

燃料电池用催化剂墨水的制造方法

NºPublicación:  CN121748407A 27/03/2026
Solicitante: 
丰田自动车株式会社

Resumen de: CN121748407A

本发明的目的在于提供一种能够制作发电性能提高的燃料电池电极的催化剂墨水的制造方法。本发明涉及一种燃料电池用催化剂墨水的制造方法,其具备如下工序:使作为担持有催化剂的载体粒子的催化剂担持载体粒子分散于溶剂中来准备催化剂分散液;混合离聚物和挥发性溶剂来准备凝胶体;及搅拌混合所述催化剂分散液和所述凝胶体来制作催化剂墨水,控制搅拌速度及搅拌时间而进行所述催化剂分散液与所述凝胶体的搅拌混合。

正极电解液及其制备方法以及全钒液流电池

NºPublicación:  CN121748455A 27/03/2026
Solicitante: 
广州天赐高新材料股份有限公司

Resumen de: CN121748455A

本申请提出了一种正极电解液及其制备方法以及全钒液流电池,所述正极电解液包括:活性物质,所述活性物质包括+5价钒离子;添加剂,所述添加剂包括碳材料,所述碳材料的至少部分表面具有修饰基团,所述修饰基团包括硝基、磺酸基、羰基、氨基、羧基和羟基的至少一种。由此,该碳材料能够抑制+5价钒离子团聚沉淀,提高+5价钒离子在正极电解液中的分散性,提高正极电解液的稳定性。

复合粉体及复合粉体的制造方法、气体扩散层、膜电极接合体及燃料电池

NºPublicación:  CN121752640A 27/03/2026
Solicitante: 
松下知识产权经营株式会社
CN_121752640_PA

Resumen de: WO2025079675A1

Provided is a composite powder for use in gas diffusion layers which have sufficient gas permeability and water-discharging properties while keeping the interior of the MEA hydrous. The composite powder comprises: a polymer resin; and fibers and/or particles. The composite powder has an average porosity of 50-98 vol%.

燃料电池分隔体用前体片材和燃料电池分隔体

NºPublicación:  CN121753158A 27/03/2026
Solicitante: 
日清纺化学株式会社
CN_121753158_A

Resumen de: WO2025047260A1

This precursor sheet for a fuel cell separator contains graphite particles, a particulate or fibrous water-insoluble resin, and a water-soluble resin. The content of the water-soluble resin is 0.8-18.0 parts by mass per 100 parts by mass of the graphite particles. The content of the particulate or fibrous water-insoluble resin is 19.0-63.0 parts by mass per 100 parts by mass of the graphite particles. The precursor sheet can be reverted into a slurry in an aqueous solvent, and thus it is possible to reuse defective articles and waste material generated during processing is made possible, and a separator that exhibits good strength, low volume resistivity, and high gas impermeability is obtained.

一种固态储氢燃料电池尾气除湿系统及方法

NºPublicación:  CN121748436A 27/03/2026
Solicitante: 
上海徐工智能科技有限公司
CN_121748436_PA

Resumen de: CN121748436A

本发明涉及固态储氢燃料电池技术领域,具体涉及一种固态储氢燃料电池尾气除湿系统及方法。其中除湿系统包括燃料电池排气口、冷凝组件和除湿组件。冷凝组件与燃料电池排气口相连,用于冷凝处理高温高湿尾气。除湿组件包括尾气通道和冷凝通道,冷凝通道设置在尾气通道外壁上进行热交换。冷凝通道通过鼓风器通入环境冷干空气,出气端排出的暖干空气与燃料电池供暖模块相连。除湿组件竖直安装在尾气出口上,下方连接集水箱。本发明的系统和方法相结合实现了高效除湿和余热回收双重功能,提高能源利用效率。

用于蒽醌官能化的系统和方法

NºPublicación:  CN121737737A 27/03/2026
Solicitante: 
哈佛学院菎能有限公司
CN_121737737_PA

Resumen de: JP2024144417A

To realize synthetic functionalization of anthraquinone molecules substituted with at least one hydroxyl group or amino group.SOLUTION: According to part of embodiments of the present invention, synthetic functionalization of anthraquinone molecules occurs not chemically but electrochemically by using a divided electrolytic tank.SELECTED DRAWING: Figure 2

分布式污水净化-废热利用-燃料电池集成系统

NºPublicación:  CN121735334A 27/03/2026
Solicitante: 
广东工业大学
CN_121735334_PA

Resumen de: CN121735334A

本发明涉及水处理技术领域,具体公开一种分布式污水净化‑废热利用‑燃料电池集成系统,包括污水处理模块、太阳能集热发电装置、气体回收模块、过滤模块、海水蒸发模块和质子交换膜燃料电池;气体回收模块连接于过滤模块的上部;过滤模块的污水入口与污水处理模块相连通,用于对污水进行净化处理;海水蒸发模块设置在过滤模块外围,海水蒸发模块配置为通过热传导吸收过滤模块的污水热量,以蒸发淡化海水;质子交换膜燃料电池与过滤模块的净水出口连通,质子交换膜燃料电池用于接收净化后的净水并完成电能输出;该系统解决了传统技术领域中多系统功能割裂、资源利用率低、能耗冗余的核心痛点。

一种用于闭式风冷燃料电池的集成流道双极板结构

NºPublicación:  CN121748429A 27/03/2026
Solicitante: 
太仓向日葵动力科技有限公司
CN_121748429_PA

Resumen de: CN121748429A

本发明公开了一种用于闭式风冷燃料电池的集成流道双极板结构,属于燃料电池技术领域。该结构采用单块厚度为1.1mm的导电基板,通过双面非对称流道设计实现反应气体分配与散热功能的高度集成。其中,第一面加工有蛇形反应流道,第二面加工有平行散热流道。两块所述双极板以反应面相对方式组装,中间夹持膜电极,其中一块板的散热流道与另一块板反应面的背部实体区域互补,共同构成总深度约1mm的完整冷却风道。该结构具有极致紧凑、散热效率高、结构强度好、工艺简单、成本低的优点,适用于高功率密度闭式风冷燃料电池系统,能够有效提升电堆的整体性能与可靠性。

一种基于ePTFE制备质子交换膜的方法

NºPublicación:  CN121748427A 27/03/2026
Solicitante: 
复旦大学
CN_121748427_PA

Resumen de: CN121748427A

本发明属于质子交换膜燃料电池技术领域,具体涉及一种膨体聚四氟乙烯(ePTFE)增强的含氟共聚物质子交换膜的制备方法。本发明以ePTFE为增强相,原位聚合全氟乙烯基磺酰氟单体、氟烯烃与乙烯基醚单体,在加热或光照条件下通过自由基聚合反应制备得到聚合物膜,经过水解酸化后的聚合物膜可以直接用作质子交换膜。本发明具有操作简便、反应条件温和、成本低等优点,且所制备的质子交换膜力学性能良好、质子传导率高、稳定性良好,为质子交换膜合成提供了一条新途径。

一种基于液体燃料重整的燃料电池空气供给系统及运行方法

NºPublicación:  CN121748435A 27/03/2026
Solicitante: 
中国科学院大连化学物理研究所
CN_121748435_PA

Resumen de: CN121748435A

本发明公开了一种基于液体燃料重整的燃料电池空气供给系统及运行方法其中系统包括:空气过滤器,所述空气过滤器的输出端通过气体管道与空压机相连接,所述空压机的出口端通过气体管道与冷却器相连接,所述冷却器的出口端与气体缓冲罐相连接,所述气体缓冲罐的输出端连接两类输出管路,其中第一类为燃料电池供气路,包括第一燃料电池空气路调节阀、第二燃料电池空气路调节阀、第三燃料电池空气路调节阀、第N燃料电池空气路调节阀,所其中第二类为燃料处理器供气路。其中该系统由单台空压机匹配多台高温质子交换膜燃料电池及燃料处理器,简化系统流程,减少部件,提高系统可靠性;启动阶段通过调节空压机转速与燃料处理器空气路调节阀有效通径匹配,避免了空压机的喘振,延迟系统寿命。

Structure de plaque bipolaire à deux plans de soudure pour pile à combustible

NºPublicación:  FR3166759A1 27/03/2026
Solicitante: 
INOCEL DEV [FR]
INOCEL DEVELOPMENT
FR_3166759_A1

Resumen de: FR3166759A1

Plaque bipolaire (BP) adaptée à une pile (FC) à combustible, formée d’un assemblage de deux plaque élémentaires (Pl1, Pl2) superposées et soudées, et comprenant : des premières ouvertures d’arrivée et de sortie (H2In, H2Out) d’un premier fluide ; des deuxièmes ouvertures (O2In, (O2+H20)Out) d’arrivée et de sortie d’un deuxième fluide ; des troisièmes ouvertures (CoolIn, CoolOut) d’arrivée et de sortie d’un troisième fluide destiné à circuler entre les deux plaques élémentaires ; des premières et des deuxièmes lignes de soudure (WeldOp) solidarisant respectivement les deux plaques élémentaires autour des premières et deuxièmes ouvertures, et des premières et deuxièmes soudures (WldCool) solidarisant les deux plaques élémentaires autour, respectivement, de troisièmes ouvertures, les premières et deuxièmes lignes de soudure étant formées dans un premier (HPlane) et un deuxième (LPlane) plan, respectivement, et les soudures associées à l’une des troisième ouvertures sont formées, exclusivement, dans l’un ou l’autre de ces plans. Figure à publier avec l’abrégé : Fig. 8(A)

PROCEDE DE DETECTION DE FUITE D’UN SYSTEME D’ALIMENTATION EN GAZ COMPRIME

NºPublicación:  FR3166698A1 27/03/2026
Solicitante: 
STELLANTIS AUTO SAS [FR]
STELLANTIS AUTO SAS
FR_3166698_A1

Resumen de: FR3166698A1

La présente invention a pour objet un procédé de détection de fuite dans un système d’alimentation en gaz comprimé (1), le procédé comportant une première phase de diagnostic d’étanchéité de la conduite (8) comprenant au moins un test de fuite se basant sur une dépression contrôlée dans un secteur (5, 6) de la conduite (8), un test de fuite se basant sur une surveillance de la variation d’un paramètre du gaz lorsque les secteurs (5, 6) de la conduite en amont et en aval d’un élément d’arrêt (V3a, V4) ont un écart de pression, et en cas de réussite de la première phase de diagnostic, une deuxième phase de diagnostic d’étanchéité de la conduite (8) consistant à activer au moins un test de fuite lorsque lesdits secteurs (5, 6) ont la même valeur de pression. Figure 1.

Système et procédé de gestion thermique d’un véhicule automobile comprenant une chaîne d’entraînement électrique et une pile à combustible

NºPublicación:  FR3166585A1 27/03/2026
Solicitante: 
RENAULT SAS [FR]
RENAULT SAS
FR_3166585_A1

Resumen de: FR3166585A1

TITRE : Système et procédé de gestion thermique d’un véhicule automobile comprenant une chaîne d’entraînement électrique et une pile à combustible Système de gestion thermique (1) d’un véhicule (100) automobile comprenant une chaîne d’entraînement électrique et un dispositif de pile à combustible (30), le système comprenant un circuit primaire (3) de circulation d’un fluide caloporteur déionisé (F1) comprenant au moins un composant de la chaîne d’entraînement électrique, la pile à combustible et un premier échangeur de chaleur (31). Figure de l’abrégé : Figure 1

Circuit de refroidissement d’une pile à combustible à isolation électrique optimisée

NºPublicación:  FR3166760A1 27/03/2026
Solicitante: 
HOPIUM [FR]
HOPIUM
FR_3166760_A1

Resumen de: FR3166760A1

La présente invention concerne un circuit de refroidissement (1) d’une pile à combustible (2), comprenant des composants reliés électriquement à la masse d’un châssis, tels qu’une pompe (11) ou un radiateur (10), et des canalisations (12, 13, 14) reliant ladite pile (2) auxdits composants (10, 11), au moins une desdites canalisation (12, 13, 14) comprenant au moins une portion de canalisation ayant une section transversale utile PHI1. Selon l’invention, au moins une desdites portions de canalisation de section transversale utile PHI1 présente un réducteur de section (3), ledit réducteur de section (3) ayant une section transversale utile PHI2 inférieure à ladite section transversale utile PHI1. Fig. 2

一种锂化交联菊糖及其制备方法和在有机/无机复合固态电解质中的应用

NºPublicación:  CN121736144A 27/03/2026
Solicitante: 
中国科学院赣江创新研究院
CN_121736144_PA

Resumen de: CN121736144A

本发明公开了一种锂化交联菊糖及其制备方法和在有机/无机复合固态电解质中的应用,涉及聚合物和固态电解质技术领域。本发明所提供的锂化交联菊糖,首先以六偏磷酸钠等作为交联剂使菊糖交联,随后加入锂盐通过离子交换的方式使交联菊糖锂化后制备得到,其能够提高有机/无机复合固态电解质中有机/无机界面的稳定性,提高有机电解质和无机电解质的复合强度,同时其三维交联结构能够向电解质基体中引入额外的锂离子传输通道。基于此,本发明所制备的复合电解质能够具有显著提高的离子电导率和更宽的电化学窗口。

制造用于电化学电池、尤其是燃料电池的膜电极单元(MEA)的方法以及用于制造MEA的设备

NºPublicación:  CN121748406A 27/03/2026
Solicitante: 
卡尔·弗罗伊登伯格公司
CN_121748406_PA

Resumen de: US20260088312A1

A method for manufacturing a membrane electrode assembly (MEA) for an electrochemical cell, includes providing: a layer including a gas-diffusion layer and a microporous layer, a layer as a membrane layer coated with catalysts including a proton exchange membrane on which a catalyst layer is applied on both sides, and a layer including a gas-diffusion layer and a microporous layer, each as a web-shaped material. The three layers are brought together such that a web-shaped 7-layer membrane electrode assembly is formed and laminated. A web-shaped carrier layer is provided and fed to the web-shaped 7-layer membrane electrode assembly such that the assembly rests on the web-shaped carrier layer. The web-shaped 7-layer membrane electrode assembly is fabricated by cutting out a desired contour so that individual sheet-like 7-layer membrane electrode assemblies are created.

一种具有三维纳米纤维骨架的超薄凝胶复合质子交换膜制备方法

NºPublicación:  CN121748451A 27/03/2026
Solicitante: 
北京化工大学
CN_121748451_PA

Resumen de: CN121748451A

本发明公开了一种具有三维纳米纤维骨架的超薄凝胶复合质子交换膜的制备方法。该质子交换膜以静电纺丝技术制备的PTFE基三维纳米纤维骨架作为机械支撑体,通过真空浸渍将SPEEK基半交联凝胶复合于骨架孔隙中,形成稳固的“骨架‑凝胶”互穿网络结构。所述制备方法关键在于:通过低固含量、高取向静电纺丝与轻度烧结技术,获得高孔隙率、厚度仅3‑10 μm的超薄高强纳米纤维骨架膜;进而通过配制SPEEK凝胶前驱体溶液,经真空浸渍、可控刮膜、水化膨胀及后处理,在骨架内形成2‑8 μm厚的连续质子传导凝胶相,最终得到总厚度为5‑15 μm的复合膜。该复合膜兼具超薄结构、高机械强度、低溶胀率、优异界面稳定性及高质子电导率,特别适用于高温质子交换膜燃料电池。

一种开放式空冷型燃料电池空气流量协同控制方法

NºPublicación:  CN121748444A 27/03/2026
Solicitante: 
广州骥翀氢能科技有限公司
CN_121748444_PA

Resumen de: CN121748444A

本发明涉及一种开放式空冷型燃料电池空气流量协同控制方法,属于燃料电池控制技术领域,方法包括:获取燃料电池运行的环境参数与电化学参数;分别通过反应过程水平衡模型与散热过程热平衡模型,确定满足反应所需的第一参考空气流量与满足散热所需的第二参考空气流量;对两者进行协同比较处理,确定目标空气总流量;进而基于该目标流量生成调节空气供应装置的控制信号,并通过该控制信号调节空气供应装置的输出流量。本发明针对开放式空冷型燃料电池反应与散热的特点,提出了一种协同决策的控制方法,实现了空气流量的动态精准调控,有效提升了电池的水热管理性能与运行稳定性。

一种基于新戊烷交联哌啶的聚合物膜及其制备方法与应用

NºPublicación:  CN121736211A 27/03/2026
Solicitante: 
东南大学
CN_121736211_PA

Resumen de: CN121736211A

本发明提供一种基于新戊烷交联哌啶的聚合物膜及其制备方法与应用,属于高分子材料技术领域。制备方法包括如下步骤:将酮基反应物与芳香族反应物溶于第一有机溶剂,在酸催化剂作用下反应,随后加入第一沉淀剂中沉淀、洗涤和干燥,得到聚芳基哌啶的聚合物粉末;随后溶于第二有机溶剂,加入第一甲基化试剂和碱性试剂反应,加入第二沉淀剂沉淀、洗涤和干燥,得到部分季铵化聚合物粉末;随后溶于第三有机溶剂,加入新戊烷交联剂反应后蒸发,得到部分季铵化的新戊烷交联聚合物膜;随后溶于第四有机溶剂,与第二甲基化试剂反应后蒸发,得到含有新戊烷交联哌啶的聚合物膜。本发明制备方法简单,原料获取便捷,适用于燃料电池或电解水等领域。

电压巡检辅助连接工装及电压巡检装置装配方法

NºPublicación:  CN121741238A 27/03/2026
Solicitante: 
东风汽车集团股份有限公司
CN_121741238_PA

Resumen de: CN121741238A

本申请公开了一种电压巡检辅助连接工装及电压巡检装置装配方法,解决相关技术中连接器与极耳对插装配效率低的技术问题。电压巡检辅助连接工装包括第一工装件和第二工装件,两个工装件均包括主体以及设于主体上且沿极耳的排列方向间隔设置的梳齿部;在第一工装件和第二工装件固定连接的情况下,第一梳齿部与对应的第二梳齿部在极耳的排列方向交错设置、且夹设于极耳的两侧,第一梳齿部、极耳和第二梳齿部在极耳的排列方向上的投影具有重叠区域。该重叠区域能够对极耳进行矫形,实现单电池极耳实际间距与理论间距统一,从而提高了连接器与极耳对插装配的装配效率和精度。

车辆的控制方法、计算机装置和车辆

NºPublicación:  CN121734193A 27/03/2026
Solicitante: 
丰田自动车株式会社
CN_121734193_PA

Resumen de: CN121734193A

本申请公开了一种车辆的控制方法、计算机装置和车辆,车辆包括燃料电池系统、具有风扇的散热器、以及与散热器相对地设置的储氢模块,散热器对流经燃料电池系统的冷却水进行冷却,该控制方法包括:获取燃料电池系统的第一温度和储氢模块的第二温度,并根据第一温度和第二温度对风扇进行控制。由于风扇可以带动散热器和储氢模块周围空气的流动,从而实现了通过控制散热器的风扇兼顾燃料电池系统和储氢模块的温度调节。

一种扭曲结构的咪唑类高温质子交换膜及其制备方法

NºPublicación:  CN121748449A 27/03/2026
Solicitante: 
东北大学
CN_121748449_PA

Resumen de: CN121748449A

本发明属于质子交换膜燃料电池技术领域,公开一种扭曲结构的咪唑类高温质子交换膜及其制备方法。以1‑甲基‑1H咪唑‑2‑甲醛、1‑乙基‑1H咪唑‑2‑甲醛、1‑丙基‑1H咪唑‑2‑甲醛、1‑丁基‑1H咪唑‑2‑甲醛中的一种、四甲基四氢‑螺二茚满‑二醇,三氟乙酸、三氟甲烷磺酸为催化,缩聚合成共聚聚合物,为具有螺环扭曲微孔结构的全碳骨架芳香族聚合物,得到共聚物膜材料。共聚物膜材料进行磷酸掺杂。本发明制备成本低,反应条件温和,膜材料具有更紧凑或更致密的结构,透明、均一致密,具有良好的导电性能和机械性能。

一种电池单低原因排查方法

NºPublicación:  CN121748441A 27/03/2026
Solicitante: 
中汽创智科技有限公司
CN_121748441_PA

Resumen de: CN121748441A

本申请公开了一种电池单低原因排查方法,方法包括:在待检测电堆出现单低现象时,对待检测电堆进行断路和短路排查;若断路和短路排查指示待检测电堆不存在断路和短路问题时,对待检测电池进行膜电极穿孔排查;若膜电极穿孔排查指示待检测电堆不存在膜电极穿孔问题时,确定待检测电堆的单低位置;基于单低位置对应的排查策略对待检测电堆进行排查。在本申请实施例中,首先判断单低是否为短路断路造成,其次判断是否为膜电极穿孔,其他可能原因具体根据单低位置针对性排查处理,通过对单低原因导致的灾难后果严重程度和发展速度列出排查优先级,可以针对不同情况对应处理,有助于快速判断单低原因,阻止单低情况发生严重后果。

一种余热回收装置

NºPublicación:  CN224053148U 27/03/2026
Solicitante: 
潮州三环(集团)股份有限公司
CN_224053148_U

Resumen de: CN224053148U

本实用新型涉及余热回收技术领域,公开了一种余热回收装置,用于回收多台燃料电池系统的余热,包括:换热器,具有进气口、出气口、进液口和出液口;进气管路,包括进气总管和多根进气支管,所述进气支管上安装有第一阀门,多根所述进气支管的入口与多台所述燃料电池系统一一对应连通,多根所述进气支管的出口分别与所述进气总管的入口连通,所述进气总管的出口与所述换热器的进气口连通;第一水箱,具有第一进水口、第一出水口、第二进水口和第二出水口,所述第一出水口与所述换热器的进液口通过出水管连通,所述第一进水口与所述换热器的出液口通过进水管连通。本实用新型的余热回收装置提高了热量回收效率,并降低设备成本。

一种燃料电池系统的自适应抗干扰控制方法及系统

NºPublicación:  CN121748439A 27/03/2026
Solicitante: 
深圳鹰及汽车有限公司
CN_121748439_PA

Resumen de: CN121748439A

本发明涉及新能源汽车燃料电池技术领域,具体提供了一种燃料电池系统的自适应抗干扰控制方法及系统,该方法包括:启动燃料电池系统,并实时采集至少一个外部干扰参数;根据外部干扰参数,判断干扰等级;根据干扰等级动态切换控制策略;判断切换后的控制策略是否有效,若无效,则进入安全运行模式。本发明通过实时采集至少一个外部干扰参数,判断干扰等级并根据干扰等级动态切换控制策略,其能够动态识别干扰源并快速响应,适应复杂运行环境,实现系统级的电磁抗干扰控制能力,保障燃料电池稳定运。

一种散热能力可调的分布式涵道风扇散热结构及温控方法

NºPublicación:  CN121734710A 27/03/2026
Solicitante: 
西安爱生技术集团有限公司
CN_121734710_PA

Resumen de: CN121734710A

本发明涉及无人机的燃料电池热管理技术领域,具体涉及一种散热能力可调的分布式涵道风扇散热结构及温控方法,包括:嵌设于涵道风扇的每个静导叶内的第一冷却流道以及嵌设于涵道风扇外壳上的第二冷却流道,多个相间隔的第一冷却流道之间通过第二冷却流道连通形成两条冷却通道;驱动泵用于驱动冷却工质管道的出口的介质进入两条冷却通道,并在静导叶和涵道风扇外壳散热后循环至氢燃料电池堆内;温控模块用于根据氢燃料电池堆的冷却工质管道的出口温度以及预设的温度范围,控制其中一个冷却通道通断,或者控制驱动泵通断电。本发明通过调节冷却通道的通断或者控制驱动泵的通断电,从而实现对氢燃料电池堆散热能力的动态调节。

一种氢燃料叉车水蒸气高位排气系统

NºPublicación:  CN121734086A 27/03/2026
Solicitante: 
杭叉集团股份有限公司杭叉集团(天津)新能源叉车有限公司
CN_121734086_PA

Resumen de: CN121734086A

本发明公开了一种氢燃料叉车水蒸气高位排气系统,设于安装有燃料电池的叉车车体上,本氢燃料叉车水蒸气高位排气系统包括导气过渡装置和排气管总成,导气过渡装置一端连接燃料电池,另一端连接排气管总成。通过设置导气过渡装置和排气管总成,将燃料电池产生的水蒸气引导至高位排出,改变了传统朝下排气导致水蒸气在车架底部形成冷凝水的状况。这有效避免了车架底部因长期积水而出现油漆面破坏、腐蚀等问题,从而延长车架的使用寿命,保证叉车结构的完整性和稳定性,进而提升叉车整体的可靠性和耐久性。

从电化学系统产生富氮气流的方法

NºPublicación:  CN121748443A 27/03/2026
Solicitante: 
罗伯特·博世有限公司
CN_121748443_PA

Resumen de: CN121748443A

本发明涉及从电化学系统产生富氮气流的方法。一种从电化学系统产生富氮气流的方法。所述方法包括在运行状态下操作电化学系统,在泄放状态下操作电化学系统以在电化学系统的阴极侧产生富氮气流,以及通过排气阀从电化学系统的阴极侧排出富氮气流以从电化学系统产生富氮气流。所产生的氮气气体可用于吹扫、覆盖、冷却和/或诊断电化学系统(如PEMFC系统)的健康状态(SoH)。

一种压缩机级间扩压导流结构、压缩机和燃料电池系统

NºPublicación:  CN224049425U 27/03/2026
Solicitante: 
广州市昊志机电股份有限公司
CN_224049425_U

Resumen de: CN224049425U

本实用新型公开了一种压缩机级间扩压导流结构、压缩机和燃料电池系统,包括:压缩机机体,内部设有级间轴向气流通道;一级压缩组件,设置于所述压缩机机体的一端,所述一级压缩组件包括一级叶轮和一级蜗壳,所述一级蜗壳与所述压缩机机体连接,所述一级叶轮设置于所述一级蜗壳内部,所述一级叶轮的出口与所述级间轴向气流通道之间设有扩压导流器,所述扩压导流器设有多个导流筋板,所述扩压导流器在相邻所述导流筋板之间形成扩压流道,所述导流筋板在所述扩压流道的入口处沿一级叶轮的出口气流方向倾斜延伸,所述导流筋板在所述扩压流道的出口处向所述扩压导流器的径向过渡延伸。本实用新型能够大大降低气流改向的气流能量损失。

一种氢燃料电池驱动系统和门式起重机

NºPublicación:  CN224053147U 27/03/2026
Solicitante: 
国鸿氢能科技(嘉兴)股份有限公司
CN_224053147_U

Resumen de: CN224053147U

本发明涉及起重机技术领域,具体公开了一种氢燃料电池驱动系统和门式起重机,氢燃料电池驱动系统包括:氢燃料电池模块;散热模块,用于对所述氢燃料电池模块进行散热;锂电池模块;配电柜,与所述氢燃料电池模块、所述散热模块和所述锂电池模块电连接;PCS柜,输入端与所述配电柜的输出端电连接;主变压器,输入端与所述PCS柜的输出端电连接;电抗柜,输入端与所述主变压器的输出端电连接;电流柜,输入端与所述电抗柜的输出端电连接;以及电机组件,输入端与所述电流柜的输出端电连接。本发明的氢燃料电池驱动系统和门式起重机供电稳定,提升能源利用率,绿色环保。

一种端板结构和氢燃料电池

NºPublicación:  CN224053154U 27/03/2026
Solicitante: 
国鸿氢能科技(嘉兴)股份有限公司
CN_224053154_U

Resumen de: CN224053154U

本实用新型涉及氢燃料电池技术领域,公开了一种端板结构和氢燃料电池,端板结构包括:板体,采用塑料材质制成,所述板体的正面具有第一凹槽,所述第一凹槽用于安装集流板,所述板体的侧面具有第二凹槽和第一安装孔,所述第二凹槽用于安装极耳,所述板体的背面具有第二安装孔;第一螺母,安装于所述第一安装孔中;以及第二螺母,安装于所述第二安装孔中;其中,所述第一凹槽、所述第一安装孔和所述第二安装孔之间两两不相贯通。本实用新型端板结构绝缘效果好,提高电堆空间利用率,方便安装使用。

一种多腔室的鼓泡增湿结构

NºPublicación:  CN224053149U 27/03/2026
Solicitante: 
上海氢洋科技有限公司
CN_224053149_U

Resumen de: CN224053149U

本实用新型提供了一种多腔室的鼓泡增湿结构。该鼓泡增湿结构包括罐体,罐体内部设有鼓泡结构,鼓泡结构上连接有进气管;罐体的侧面上部设有进水管,进水管上连接有电磁阀;罐体的侧面底部开设有出水管,出水管上连接有加热器;加热器上连接有水泵,水泵与换热器连接,换热器与电磁阀连接。本实用新型的鼓泡增湿结构通过将鼓泡结构做成金属粉末烧结的微孔曝气管的形式,气体通过微米孔高速喷出,形成更多的微米气柱,直接与水接触,增加了气体与水接触的面积;再通过电磁阀和换热器来调整罐体内水的温度和压力就可以得到需要的湿度,更好地实现了对湿度的控制精度。

用于运行燃料电池系统的方法以及燃料电池系统

NºPublicación:  CN121753159A 27/03/2026
Solicitante: 
罗伯特·博世有限公司
CN_121753159_PA

Resumen de: WO2025045547A1

The invention relates to a method for operating a fuel-cell system and to a fuel cell system. The method comprises the step of: actuating a proportional valve device in order to control an amount of a recirculation medium which is supplied to a fuel line of a fuel cell stack from a recirculation circuit, wherein the proportional valve device is operated continuously over time or in a pulsed manner depending on a predetermined operating parameter, so that in the pulsed operation at least one pressure pulse is produced in the fuel cell stack. The fuel cell system is equipped with - a fuel cell stack with an anode and a cathode; - a recirculation circuit for recirculating a recirculation medium at the anode; - a fuel line for supplying the fuel cell stack with a fuel, in particular hydrogen; - a proportional valve device, which is connected to the fuel line and to the recirculation circuit; - a control device, which is connected to the fuel line and/or to the recirculation circuit and/or to the proportional valve device and is configured to carry out such a method.

一种熔融碳酸盐高温燃料电池深度嵌合式碳捕集增效系统

NºPublicación:  CN121748454A 27/03/2026
Solicitante: 
山东建筑大学
CN_121748454_PA

Resumen de: CN121748454A

本发明属于大型火力发电厂节能减排与灵活性改造技术领域,公开了一种熔融碳酸盐高温燃料电池深度嵌合式碳捕集增效系统,包括烟气深度净化与组分优化子系统、MCFC阴极进气梯级加热子系统、熔融碳酸盐燃料电池电堆、阳极尾气处理与CO2捕集子系统、余热深度梯级回收子系统等;烟气深度净化与组分优化子系统,用于对经电厂原有环保岛处理后的原烟气进行末端精处理;MCFC阴极进气梯级加热子系统负责将深度净化后的低温烟气,加热至MCFC电堆所需的运行温度;阳极尾气处理与CO2捕集子系统用于处理燃料电池电堆产生的阳极排气。本发明通过多维度深度嵌合设计,将熔融碳酸盐燃料电池系统有机融入大型燃煤电厂现有框架,形成物质与能量高效内循环的综合增效系统。

一种低流阻双极板及其制造方法

NºPublicación:  CN121748431A 27/03/2026
Solicitante: 
宁波信远炭材料有限公司
CN_121748431_PA

Resumen de: CN121748431A

本发明提供了一种低流阻双极板及其制造方法,包括由天然石墨与树脂融合复合形成的基板,位于所述基板上一体设置有反应流场,包括由非直线型凸起与凹陷的组合或若干连续凹陷的组合形成的流场单元,通过使基板上一体设置的反应流场为非直线型凸起与凹陷的组合或若干连续凹陷的组合形成流场单元,且流道间的表面均布有凹陷的湍流河床,液流电堆工作过程电解液流径双极板反应区,在流道作用下大幅的降低了流阻、且使得液流能更均布的无流速差的布满整个反应场所;在凹陷的河床上电解液被搅动起来像湍流,得到与反应场所的碳毡有效充分的电化学反应,提高效率,消除极化不良因素,有利于提高双极板的稳定性和使用寿命。

一种用于全碱性锰基开路液流电池的改性石墨毡电极及其制备方法

NºPublicación:  CN121748424A 27/03/2026
Solicitante: 
北京化工大学衢州资源化工创新研究院
CN_121748424_PA

Resumen de: CN121748424A

本发明公开了一种用于全碱性锰基开路液流电池的改性石墨毡电极及其制备方法,首先对石墨毡基体进行预处理,然后将预处理后的石墨毡基体置于电解液中进行电化学活化处理,最后将电化学活化处理后的石墨毡进行烘干处理,即得改性石墨毡电极。本发明制备方法简便,得到的改性石墨毡电极具有亲水性、电化学活性面积大、传质内阻小的特点,电极性能提升明显,能够提高普通石墨毡的电化学活性和表面润湿性,从而提高开路液流电池的倍率性能和稳定性。

一种网板组装机构

NºPublicación:  CN224053152U 27/03/2026
Solicitante: 
四川华泸光电集团有限公司四川中新储能科技有限公司
CN_224053152_U

Resumen de: CN224053152U

本实用新型涉及化学电池技术领域,具体而言,涉及一种网板组装机构,采用本实用新型的上述结构,主要包括工作台和设置于工作台上的组装装置,组装装置包括对称设置的两个定位板,定位板底部与所述工作台上表面滑动连接,定位板的一侧面设置有动力装置,动力装置用于带动所述定位板横向移动,定位板的一端设置有限位装置。在使用的过程中,将两个网板零件分别设置在定位板的一侧,与定位板紧邻,通过限位装置对网板零件的顶部进行限位,启动动力装置后,将两个网板零件紧密贴合后,即可进行螺钉的安装,对两个网板零件固定,这样就可以一定程度的避免网板零件的错位,可以提高安装效率。

一种电堆端板和电堆

NºPublicación:  CN224053155U 27/03/2026
Solicitante: 
廊坊市飞泽复合材料科技有限公司大连融科储能技术发展有限公司中国石化上海石油化工股份有限公司
CN_224053155_U

Resumen de: CN224053155U

本申请涉及液流电池电堆技术领域,尤其涉及一种电堆端板和电堆。该种电堆端板具有第一补偿凸部和第二补偿凸部,第一补偿凸部为端板对应电池单体的电极的区域向电极方向凸出形成,第二补偿凸部为第一补偿凸部的中心区域向电极方向凸出形成;当端板夹持电池单体时,第一补偿凸部和第二补偿凸部在电极的挤压作用下趋于平展,以补偿端板向外的弹性变形。该种电堆端板和电堆,端板通过设置双重预凸结构,受压后分别补偿电极周围区域和中心区域导致的端板向外的弹性变形,确保端板组装后及电堆运行过程中电池单体的密封性,降低电解液泄露的风险。

一种流场内具有缓冲混合结构的双极板

NºPublicación:  CN224053145U 27/03/2026
Solicitante: 
成都新研氢能源科技有限公司
CN_224053145_U

Resumen de: CN224053145U

本发明公开了一种流场内具有缓冲混合结构的双极板,涉及氢燃料电池技术领域,可解现有流场内的各个流道的气体反应程度不均问题。本实施例的一种流场内具有缓冲混合结构的双极板,包括板体,所述板体的流场区设有若干间隔且平行于板体长度方向设置的直线形流道,以及设于流场区的缓冲槽,至少两条直线形流道通过缓冲槽连通。

可调式溢流组件及液流电池系统

NºPublicación:  CN224053150U 27/03/2026
Solicitante: 
绍兴柯桥星辰新能源有限公司
CN_224053150_U

Resumen de: CN224053150U

本实用新型提供了一种可调式溢流组件及液流电池系统,可调式溢流组件包括第一溢流管、第二溢流管和调节机构,第一溢流管包括第一连接管、第二连接管和连接第一连接管与第二连接管的第一摆动管,第二溢流管包括第三连接管、第四连接管和连接第三连接管与第四连接管的第二摆动管,第一连接管与第三连接管连接,第二连接管与第一储罐的溢流孔转动连接,第四连接管与第二储罐的溢流孔转动连接,使得连通的第一溢流管与第二溢流管构成能够在一定的高度范围内进行摆动的溢流组件,仅需通过调节机构调节并定位溢流组件的摆动位置,使得溢流组件的高度位置与第一储罐中的电解液实际液位匹配,从而无需加灌电解液就能使得第一储罐中的电解液实现溢流。

電池積層体を組み立てるための装置および方法

NºPublicación:  JP2026510039A 27/03/2026
Solicitante: 
シェフラーテクノロジーズアー・ゲーウントコー.カー・ゲー
JP_2026510039_A

Resumen de: CN120826801A

A device for assembling a cell stack (7), in particular a fuel cell stack, comprises a processing device (2), which comprises a gripper (6) and a positioning and pressure system (10), which is designed to compress the partially completed cell stack (7). The positioning and pressing system (10) comprises a lifting device (11) arranged to accommodate the cell stack (7) in any production stage and a transverse fixing device (12) located above the lifting device (11), the transverse fixing device consisting of a plurality of components (13, 14), wherein the components (13, 14) are provided for bearing against the cell stack (7) in vertical and horizontal directions and can be adjusted and fixed in both directions.

一种燃料电池用树脂浸渍液的处理方法及应用

NºPublicación:  CN121736150A 27/03/2026
Solicitante: 
浙江天能氢能源科技有限公司
CN_121736150_PA

Resumen de: CN121736150A

本发明提供一种燃料电池用树脂浸渍液的处理方法及应用。该处理方法,包括以下步骤:(1)记录初始树脂浸渍液中的引发剂含量a,测定初始树脂浸渍液的固化时间t0;(2)测定失活后的树脂浸渍液的固化时间t1;(3)计算引发剂补加量b=a×(t1‑t0)/t0,根据计算结果向失活后的树脂浸渍液中补加引发剂。本发明基于树脂浸渍液失活前后的固化时间变化计算引发剂补加量,该方法通过物理、化学、力学多维度验证,确保处理后的树脂浸渍液与失活前的初始树脂浸渍液的效果相差不大。本发明的处理方法简单易行,且很大程度地节省了成本。

一种基于液体燃料重整的燃料电池高效热管理系统及方法

NºPublicación:  CN121748432A 27/03/2026
Solicitante: 
中国科学院大连化学物理研究所
CN_121748432_PA

Resumen de: CN121748432A

本发明公开了一种基于液体燃料重整的燃料电池高效热管理系统及方法,其中系统包括包括高位油箱,所述高位油箱通过出油管道与高温油泵相连接;所述高温油泵的出口端依次连接电加热器、燃油换热器、催化燃烧入口温度传感器、催化燃烧器、催化燃烧出口温度传感器、燃料电池油路入口温度传感器、高温质子交换膜燃料电池;所述高温质子交换膜燃料电池的后端连接油管与三通切向阀相连接;所述三通切向阀的一端与所述高位油箱的出油管相连接、另一端与散热器总成相连接。该系统实现了基于液体燃料重整的燃料电池系统的稳定输出;通过催化燃烧器对阳极尾气的处理,提高系统安全性及效率,通过催化燃烧气泵联合散热,提高系统在各工况条件下的可靠性。

一种基于模型的燃料电池空压机高速电机控制台架及方法

NºPublicación:  CN121749818A 27/03/2026
Solicitante: 
福州大学
CN_121749818_PA

Resumen de: CN121749818A

本发明涉及一种基于模型的燃料电池空压机高速电机控制台架及方法,所述控制台架包括空压机高速电机负载控制模型、大功率直流电源、三相两电平电机驱动器、电机快速原型控制器、上位机、永磁同步电机、电涡流制动器、转矩传感器及信号采集与编码单元。所述控制台架基于空压机MAP数据与负载转矩寻优算法构建负载控制模型,根据任意转速计算对应最高绝热效率点的目标负载转矩,并控制电涡流制动器进行精确负载模拟;同时,通过快速原型控制器将用户自定义控制算法自动编译部署至电机驱动器,驱动永磁同步电机在模拟负载下运行,结合高精度信号反馈,实现对控制算法的安全、高效、高保真实时闭环验证,显著缩短了研发周期。

一种反应物预储存式线基微流体燃料电池

NºPublicación:  CN121748405A 27/03/2026
Solicitante: 
重庆大学
CN_121748405_A

Resumen de: CN121748405A

本发明公开了一种反应物预储存式线基微流体燃料电池,该燃料电池包括阳极、阴极以及分隔件,分隔件将阳极和阴极绝缘分隔。阳极具有多孔结构,阳极沿其轴向依次设有入口区及反应区,反应区负载有催化剂颗粒,阳极上负载有燃料颗粒,阴极用于提供氧化剂。其中,阳极在毛细作用下吸引溶剂,燃料颗粒与溶剂接触后溶解形成溶液,溶液在反应区的催化剂以及分隔件的作用下,发生电化学反应输出电流。电极集燃料和氧化剂的被动式运输、电化学反应场所和反应物储存为一体,仅外部提供溶剂即可启动电池,避免了传统的线基微流体燃料电池体积较大,降低电池集成度的问题,适合应用于目前许多类型的可穿戴电池中。

NºPublicación:  CN121752760A 27/03/2026
Solicitante: 
庄信万丰氢能科技有限公司
CN_121752760_PA

Resumen de: WO2025068713A1

The specification describes bilayer electrolyte membrane comprising: a first layer comprising a polymer electrolyte having particles of a recombination catalyst dispersed therein; and a second layer comprising a polymer electrolyte not having any recombination catalyst dispersed therein; wherein the thickness of the bilayer electrolyte membrane is 40-60 µm; the concentration of recombination catalyst in the first layer is 1-100 µg/cm2; and the bilayer electrolyte membrane is a single coherent polymer film. Also described is a method for preparing the bilayer electrolyte membrane, a catalyst coated membrane for an electrochemical device comprising the bilayer electrolyte membrane, and a fuel cell comprising the catalyst coated membrane.

电化学设备

NºPublicación:  CN121752762A 27/03/2026
Solicitante: 
罗伯特·博世有限公司
CN_121752762_PA

Resumen de: WO2024261031A1

The invention relates to an electrochemical system (1), in particular an electrolysis system, comprising at least two modules (2), in particular electrolysis modules, each comprising at least one stack (19) which is connected to a main supply line (4) via a supply line (3) for supplying a medium, in particular water, wherein a respective at least one valve (5, 6, 7) is arranged in the supply lines (3) for switching a bypass (8) a) for bypassing the respective module (2) and/or the at least one stack (19) of the module (2) and/or b) for limiting, in particular throttling, the through-flow in the direction of the respective module (2) or the at least one stack (19).

一种固态储氢燃料电池冷启动系统及方法

NºPublicación:  CN121748437A 27/03/2026
Solicitante: 
上海徐工智能科技有限公司
CN_121748437_PA

Resumen de: CN121748437A

本发明公开了一种固态储氢燃料电池冷启动系统,包括加氢机、固态储氢装置、燃料电池系统及固态储氢辅件。固态储氢装置由固态储氢模块与中压储氢罐组串联构成,二者之间设置单向阀以防止氢气回流。系统在低温冷启动时,首先利用中压储氢罐组中储存的中压氢气经减压阀减压后供给燃料电池系统启动,使电堆在短时间内产生热量;随后,该热量经管路传递至固态储氢模块,对其进行加热以促使氢气释放,并通过单向阀补充至中压储氢罐组,实现储氢与释氢的循环联动。本发明通过固态储氢模块的热回馈加热,实现低温环境下的快速启动和稳定释氢,有效解决了传统固态储氢在低温条件下氢释放迟滞和燃料电池无法启动的问题。

燃料电池系统、用于运行燃料电池系统的方法和车辆

NºPublicación:  CN121748445A 27/03/2026
Solicitante: 
罗伯特·博世有限公司
CN_121748445_PA

Resumen de: DE102024209266A1

Die Erfindung betrifft ein Brennstoffzellensystem (100), umfassend wenigstens einen Brennstoffzellenstack (101) sowie wenigstens ein Luftsystem (10), das Luftsystem (10) umfassend einen dem wenigstens einen Brennstoffzellenstack (101) vorgelagerten Zuluftpfad (11) sowie einen dem wenigstens einen Brennstoffzellenstack (101) nachgelagerten Abluftpfad (12), wobei das Luftsystem (10) wenigstens einen Wärmeübertrager (13) zur Wärmeübertragung zwischen einem in dem Zuluftpfad (11) geführten Fluidstrom und einem in dem Abluftpfad (12) geführten Fluidstrom umfasst, wobei das Luftsystem einen Entnahmepfad (14) zur Entnahme eines Fluidstroms aus dem Abluftpfad (12) an einer Entnahmestelle (14.1) umfasst und wobei die Entnahmestelle (14.1) in dem Abluftpfad (12) stromab des Wärmeübertragers (13) angeordnet ist.

一种具有梯度孔结构与杂元素掺杂电极材料及其制备方法和应用

NºPublicación:  CN121748456A 27/03/2026
Solicitante: 
华碳新材料科技(宿迁)有限公司
CN_121748456_PA

Resumen de: CN121748456A

本发明提供了一种具有梯度孔结构与杂元素掺杂电极材料及其制备方法和应用,属于全钒液流电池储能技术领域。本发明的方法包含如下步骤:将原丝纤维毡进行预氧化处理、碳化处理,得到碳纤维毡;将碳纤维毡在活化液中浸渍后烘干、煅烧处理,多孔碳毡进行石墨化处理,得到多孔石墨毡;将多孔石墨毡顺次在二氧化碳氛围和空气氛围下进行活化处理,得到梯度孔活化毡;将梯度孔活化毡在杂元素溶液中浸渍后煅烧处理,得到具有梯度孔结构与杂元素掺杂电极材料。本发明的方法得到了兼具良好亲水性、高比表面积、梯度孔隙结构、高能量效率和长循环稳定性的具有梯度孔结构与杂元素掺杂电极材料。

一种液流电池电解液管理与SOH优化控制方法及系统

NºPublicación:  CN121748446A 27/03/2026
Solicitante: 
浙江星辰新能科技有限公司
CN_121748446_PA

Resumen de: CN121748446A

本发明涉及一种液流电池电解液管理与SOH优化控制方法及系统,所述方法包括获取液流电池的SOC值、流量、温度、电流和电压数据;根据预设的动态流量优化算法计算最优流量设定值;根据电解液的流量和最优流量设定值,调节液流电池的循环泵,使得电解液的流量精准跟踪最优流量设定值;计算容量衰减因子与电解液健康因子,计算液流电池的SOH值;当液流电池的SOH值达到预设报警阈值时,更新预设的动态流量优化算法中的计算参数。本发明通过动态流量优化算法实时计算最优流量设定值,实现电解液流量与电池实际反应需求的精准匹配,实现自适应控制,延长电池的使用寿命。

用于电化学装置的隔板和包括该隔板的电化学装置

NºPublicación:  CN121752763A 27/03/2026
Solicitante: 
三星电机株式会社
CN_121752763_PA

Resumen de: WO2025127816A1

An example embodiment of the present disclosure provides a separator for an electrochemical device including a fluid inlet, a fluid outlet, and a plurality of streamlined walls configured to provide at least a portion of a flow path connected to the fluid inlet and the fluid outlet, and at least two of the plurality of streamlined walls, including one streamlined wall closer to the fluid inlet than another streamline wall, have a shape in which straight lines connecting one end and the other end are not parallel to each other.

一种膜电极组件及其制造方法

NºPublicación:  CN121753157A 27/03/2026
Solicitante: 
W.L.\u6208\u5C14\u53CA\u540C\u4EC1\u80A1\u4EFD\u6709\u9650\u516C\u53F8,
W.L.\u6208\u5C14\u6709\u9650\u516C\u53F8,
\u65E5\u672C\u6208\u5C14\u5408\u540C\u4F1A\u793E
CN_121753157_PA

Resumen de: WO2024236080A1

There is provided a membrane electrode assembly (MEA) for an electrochemical devices, such as for fuel cells and electrolyzers, particularly for polymer electrolyte membrane (PEM) fuel cells, said membrane electrode assembly comprising a composite electrolyte membrane comprising a reinforced electrolyte layer comprising at least one porous support, the porous support being at least partially imbibed with a first ion exchange material; and a first electrode comprising a reinforced electrode layer comprising a porous support, the porous support being at least partially imbibed with a first catalyst and a second ion exchange material, wherein the composite electrolyte membrane is in contact with the first electrode. Also provided is a composite electrolyte membrane, which can be used in the manufacture of the membrane electrode assembly and a fuel cell and electrolyzer comprising such a membrane electrode assembly. A method for the manufacture of the membrane electrode assembly, and a membrane electrode assembly obtainable by such a method are also disclosed.

提升循环稳定性和电化学性能的液流电池电极及制备方法

NºPublicación:  CN121748411A 27/03/2026
Solicitante: 
西子清洁能源装备制造股份有限公司
CN_121748411_PA

Resumen de: CN121748411A

本申请属于液流电池储能技术领域,具体涉及一种提升循环稳定性和电化学性能的液流电池电极及制备方法。该制备方法包括:将预处理的石墨毡,经碱处理,酸处理,得到多孔电极材料并进行浸渍处理,经聚合反应和加热固化处理,获得热响应自修复和纳米增强材料涂层修饰的电极材料;将其经前驱体溶液处理,获得具有氧化钽纳米结构基底的电极材料;使用六水合硝酸钕、六水合硝酸铈、乙二醇去离子水溶液的混合液,浸渍具有氧化钽纳米结构基底的电极材料,经分段式升温处理,获得提升循环稳定性和电化学性能的液流电池电极。该电极兼顾了高活性与长寿命,有利于电池能量效率、功率密度及长期循环稳定性的提升。

Fe-N-C@MXene复合材料及其合成方法和在微生物燃料电池的应用

NºPublicación:  CN121748416A 27/03/2026
Solicitante: 
南京理工大学
CN_121748416_PA

Resumen de: CN121748416A

本发明公开了一种Fe‑N‑C@MXene复合材料及其合成方法和在微生物燃料电池的应用。所述方法采用原位生长策略,在单层Ti3C2Tx MXene表面构筑MIL‑101(Fe),形成界面结合良好的MIL‑101(Fe)@MXene复合材料,再引入三聚氰胺作为氮源,通过高温热解实现协同氮掺杂与碳化,构建具有高比表面积与丰富活性位点的Fe‑N‑C@MXene复合材料。本发明的Fe‑N‑C@MXene复合材料不仅具备优异的导电性和结构稳定性,还具有多级孔道和高密度的电催化活性中心,有效促进氧气扩散和界面反应动力学。在MFC性能测试中,其作为阴极催化剂显著提升了电池输出电压和最大功率密度,超过了商用Pt/C催化剂,表现出广阔的应用前景。

一种增强型质子交换膜及其用途

NºPublicación:  CN121748452A 27/03/2026
Solicitante: 
上海交通大学
CN_121748452_PA

Resumen de: CN121748452A

本发明公开了一种增强型复合质子交换膜及其用途。制备时,先将聚合物增强骨架浸泡于多巴胺溶液中进行表面改性后清洗烘干,从而在其表面形成亲水性的聚多巴胺涂层,得到多巴胺亲水改性聚合物骨架;随后,将磺酸树脂溶液涂布于所述改性骨架的两侧,经烘干及热退火处理后,获得增强型复合质子交换膜。本发明通过聚多巴胺修饰涂层有效改善了ePTFE骨架的亲水性和表面极性,显著促进了聚合物骨架与磺酸树脂之间的界面结合,所制备的复合膜具有高机械强度、优异的阻钒能力和长期稳定的液流电池性能,并且该增强膜能够在不牺牲核心性能的前提下实现显著减薄,实现性能与成本最佳平衡,在全钒液流电池领域具有广阔的应用前景。

质子交换膜燃料电池气体供给系统建模与优化控制方法

NºPublicación:  CN121744990A 27/03/2026
Solicitante: 
四川轻绿科技有限公司
CN_121744990_PA

Resumen de: CN121744990A

本发明公开了一种质子交换膜燃料电池气体供给系统建模与优化控制方法,属于氢能源动力技术领域。本方法包括建立质子交换膜燃料电池气体供给系统的非线性状态空间模型;通过实验确定系统在不同负载电流下的最佳氧气过量比,并拟合为关于负载电流的参考函数;基于非线性状态空间模型,构建以跟踪最佳氧气过量比和最小化阴阳极压差为控制目标的模型预测控制问题,并表述为带约束的二次规划问题;采用交替方向乘子法对二次规划问题进行分解与迭代求解,得到当前控制周期的最优控制输入并作用于系统。本发明有效解决了传统模型预测控制因计算量大而难以在车载控制器中实时部署的问题,从而实现对质子交换膜燃料电池气体供给系统的高效、精准协同控制。

燃料电池膜电极及燃料电池

NºPublicación:  CN121748420A 27/03/2026
Solicitante: 
江苏擎动新能源科技有限公司
CN_121748420_PA

Resumen de: CN121748420A

一种燃料电池膜电极及燃料电池,属于燃料电池领域。燃料电池膜电极包括依次层叠设置的阴极扩散层、阴极催化层、质子交换膜、阳极催化层、阳极微孔层以及第一基底层,阳极微孔层中的抗氧化剂的质量占比≤5%,阳极微孔层的表面接触角‑第一基底层的表面接触角=5°‑10°,阳极微孔层的表面接触角‑阳极催化层的表面接触角=5°‑15°。燃料电池膜电极具有兼顾优良的耐久性以及本征性能。

离子传导膜及其制备方法、液流电池

NºPublicación:  CN121748450A 27/03/2026
Solicitante: 
深圳理工大学
CN_121748450_PA

Resumen de: CN121748450A

本申请涉及离子膜技术领域,主要提供一种离子传导膜及其制备方法、以及一种液流电池。该离子传导膜包括:5‑15质量份的环糊精、70‑90质量份的磺化聚合物、4‑15质量份的含氟聚合物。由本申请技术方案的离子传导膜形成的液流电池具有较高的的离子电导率,从而实现并维持高功率密度运行。

一种提高SOFC系统高温绝缘阻值的螺栓紧固结构

NºPublicación:  CN121738983A 27/03/2026
Solicitante: 
浙江氢邦科技有限公司
CN_121738983_PA

Resumen de: CN121738983A

本发明提供了一种提高SOFC系统高温绝缘阻值的螺栓紧固结构,包括不锈钢底板、保温板、不锈钢顶板、螺杆、绝缘套管、上紧固绝缘组件和下紧固绝缘组件;保温板设置在不锈钢底板和不锈钢顶板之间,不锈钢底板、保温板和不锈钢顶板上设置有贯穿孔;绝缘套管放在贯穿孔内;螺杆穿在绝缘套管中,上紧固绝缘组件通过上螺帽抵紧在螺杆上部与不锈钢顶板之间的上紧固面上,下紧固绝缘组件通过下螺帽抵紧在螺杆下部和不锈钢底板之间的下紧固面上,绝缘套管抵紧在上紧固绝缘组件和下紧固绝缘组件之间。本发明的优点从整体结构上阻断金属部件直接导通路径,兼顾系统连接紧固性与高温作业持续性,解决单纯依赖材料难以稳定高温绝缘的核心问题。

燃料电池氢气泄漏预测方法、系统和车辆

NºPublicación:  CN121748442A 27/03/2026
Solicitante: 
北京卡文新能源汽车有限公司
CN_121748442_PA

Resumen de: CN121748442A

本申请涉及一种燃料电池氢气泄漏预测方法、系统和车辆,包括:燃料电池系统运行时,若阳极电堆氢气入口处的当前压力值与目标压力值的差值小于或等于预设数值,则监测氢比例阀的当前开启持续时间和当前开启时间间隔;基于氢比例阀的当前开启持续时间与当前开启时间间隔、上一时刻的开启持续时间和上一时刻的开启时间间隔,计算当前开启持续时间与上一时刻的开启持续时间的第一差值,计算当前开启时间间隔与上一时刻的开启时间间隔的第二差值;根据第一差值和第二差值判断燃料电池系统是否存在氢泄漏,在燃料电池系统存在氢泄漏情况下确定氢泄漏等级,根据氢泄漏等级进行分级处理。在检测氢泄漏同时采取安全有效的处理方式,降低燃料电池系统成本。

一种用于提升空冷膜电极制备效率的工艺

NºPublicación:  CN121748408A 27/03/2026
Solicitante: 
苏州智合铭新能源科技有限公司
CN_121748408_A

Resumen de: CN121748408A

本申请涉及一种用于提升空冷膜电极制备效率的工艺,属于氢燃料电池技术领域。该工艺采用涂布、转印与喷涂相结合的方式:先通过涂布在质子交换膜阴极侧形成致密的内层催化层,其采用介孔或高活化极化催化剂,载量为0.16‑0.25mg/cm²;再通过转印在阳极侧形成载量为0.10‑0.15mg/cm²的催化层;最后通过喷涂在阴极内层上形成疏松的外层催化层,其采用普通铂碳催化剂,载量为0.15‑0.20mg/cm²。所述三种工艺所用浆料采用同种树脂和同种溶剂以确保界面兼容性。本发明构建了“内密外疏”的梯度结构,解决了空冷膜电极高性能与低成本、高效率生产难以兼得的矛盾,同时提升了电池的输出性能和耐久性。

一种车载快速放氢用储氢装置及其使用方法

NºPublicación:  CN121739281A 27/03/2026
Solicitante: 
武汉工程大学
CN_121739281_PA

Resumen de: CN121739281A

本发明提供了一种车载快速放氢用储氢装置及其使用方法,一种车载快速放氢用储氢装置,包括:罐体、液体循环机构以及电热机构,所述液体循环机构以及所述电热机构均安装在所述罐体的外侧壁上。放氢时通过高效地电加热及热水循环机构外部供热,提升温度,从而加快反应速率实现快速放氢。吸氢时通过外部通冷水降温的方式带走热量,降低合金床层温度从而提升吸氢反应速率。通过设计液体循环机构以及电热机构改善换热效果,提高了储氢合金的瞬时放氢速率,解决了固态合金储氢装置热量传递效率低下且放氢速率缓慢的问题。

双极板的仿形热压贴合方法及热压装置

NºPublicación:  CN121748430A 27/03/2026
Solicitante: 
湖南耕驰新能源科技有限公司
CN_121748430_PA

Resumen de: CN121748430A

本发明公开了一种双极板的仿形热压贴合方法及热压装置,属于石墨双极板制造技术领域。所述方法包括以下步骤:将压合设备的工作面设置为与待贴合单极板的胶道区域的受力面相互补的仿形结构,以便在压合过程中能够压实胶道区域对应的单极板;并且,在压合过程中对胶道中的胶水进行供热,使胶水发生预固化,防止或减少胶水出现流变现象。本发明在将两块单极板压合形成双极板过程中能够压实胶道区域对应的部位,整个胶道区域受力均匀,避免局部压力缺失或过载,从而确保粘连效果;同时,在压合过程中对胶水进行供热可使胶水发生预固化,减少其发生流变的趋势,胶水的流动在压合全程处于受控状态,最终确保产品的生产质量。

燃料电池冷却液安全检测系统及方法

NºPublicación:  CN121748440A 27/03/2026
Solicitante: 
一汽旗新动力(长春)科技有限公司
CN_121748440_PA

Resumen de: CN121748440A

本申请公开燃料电池冷却液安全检测系统及方法,涉及燃料电池技术领域,包括:电堆、冷却循环管路、多个电导率传感器以及数据处理单元。冷却循环管路连接至电堆,多个电导率传感器被分成若干组,每组至少两个电导率传感器设置于冷却循环管路中散热器、去离子器及PTC中至少一个关键部件的冷却液入口侧与出口侧,用于同步采集该部件工作前后冷却液的电导率信号。所有电导率传感器均与数据处理单元通信连接,由该单元接收并处理所述信号。系统通过在多部件前后实施对比监测,实现了对冷却液电导率变化的部件级定位与在线评估,有效解决传统单一测点监测方式无法区分污染来源、故障定位困难的问题,提升了燃料电池系统运行维护的精准性与安全性。

双管热交换器及其制造方法、用途和加氢站

NºPublicación:  CN121752863A 27/03/2026
Solicitante: 
林德有限责任公司
CN_121752863_PA

Resumen de: AU2024338643A1

The invention relates to a double-tube heat exchanger for heating a cryogenic fluid, in particular cryogenic hydrogen, said heat exchanger comprising an outer tube and an inner tube located inside the outer tube, the inner tube being designed to allow the flow of the cryogenic fluid, and a gap between the inner tube and the outer tube being designed to allow the flow of a heat exchange medium, the double-tube heat exchanger also comprising an intermediate piece (240) which surrounds the inner tube and is positioned in the gap, the intermediate piece (240) having an at least substantially cylindrical main body (242) with a longitudinal axis (L), the main body (242) having a through-opening (246) along the longitudinal axis (L), through which through-opening the inner tube is guided, the intermediate piece (240) having fins (244) on an outer side of the main body (242) which extend at least substantially parallel to the longitudinal axis (L) and are oriented radially with respect to the longitudinal axis (L), and the intermediate piece (240) being clamped onto the inner tube.

一种无泄露无碳毡无双极板的新型电堆

NºPublicación:  CN121748458A 27/03/2026
Solicitante: 
广东中科天钒储能科技有限公司
CN_121748458_PA

Resumen de: CN121748458A

本发明公开了一种无泄露无碳毡无双极板的新型电堆,属于全钒液流电池储能技术领域。该电堆以耐强酸性、抗钒离子溶胀的质子交换膜为核心功能件,其两端密封固定于支撑管件形成管程通道,电堆壳体与质子交换膜之间形成壳程通道,管程与壳程分别通入正、负极全钒电解液且总截面积相等;质子交换膜内外侧均设置抗钒腐蚀导电电极,电堆摒弃传统碳毡电极和双极板结构,采用全密封设计。本发明解决了传统电堆双极板腐蚀、碳毡钒吸附、电解液泄露等技术缺陷,实现钒离子截留率≥99.5%、泄露率≤0.01mL/(hL)、能量效率≥80%、循环寿命超20000次的技术效果,全生命周期成本降低35%以上,适用于大规模储能、新能源并网等场景,具有显著的经济和环保价值。

基于连接键局域柔性的磷酸型共价有机框架质子交换膜及其制备方法和应用

NºPublicación:  CN121748453A 27/03/2026
Solicitante: 
天津大学
CN_121748453_PA

Resumen de: CN121748453A

本发明公开了一种基于连接键局域柔性的磷酸型共价有机框架质子交换膜的制备方法,包括:磷酸型胺单体的制备,共价有机框架纳米片的合成和磷酸型共价有机框架膜的制备,其中的磷酸型胺单体选用3,5‑二肼羰基苯磷酸、2,5‑二氨基苯磷酸和2,5‑二肼羰基苯磷酸,通过改变连接键种类和键角调控磷酸型iCOF可控的局域柔性,赋予传导单元更强的局域运动能力,使得柔性iCOF纳米片在低湿条件下通过局域运动维持短氢键网络连续性,纳米片自组装成的离子型共价有机框架膜(iCOFMs)在高温高湿下展现优异的质子传导率,低湿度下维持较高的质子传导率。同时,局域柔性赋予iCOFMs更强的机械强度,确保在电池装置中的工作稳定性。

地热驱动的燃料电池与跨临界二氧化碳循环热电联产系统

NºPublicación:  CN121739436A 27/03/2026
Solicitante: 
中国电建集团成都勘测设计研究院有限公司
CN_121739436_PA

Resumen de: CN121739436A

本发明公开了地热驱动的燃料电池与跨临界二氧化碳循环热电联产系统,包括相连接的地热采暖循环子系统、高温质子交换膜燃料电池子系统和跨临界二氧化碳循环子系统;地热采暖循环子系统为高温质子交换膜燃料电池子系统的反应工质预热并作为建筑采暖系统的热源,高温质子交换膜燃料电池子系统排放的余热作为跨临界二氧化碳循环子系统的热源,跨临界二氧化碳循环子系统通过喷射器、气液分离器和第一增压泵形成自冷凝循环机构。本发明实现对中低温地热能的高效梯级利用,实现电能与热能的协同产出,能够突破传统热机受到的卡诺循环限制,有效提高系统综合能效;还可实现跨临界二氧化碳循环的自冷凝,克服了二氧化碳在常规冷凝条件下受限的问题。

一种用于风冷式燃料电池堆的温度监控装置

NºPublicación:  CN224053151U 27/03/2026
Solicitante: 
协氢(上海)新能源科技有限公司
CN_224053151_U

Resumen de: CN224053151U

本实用新型公开了一种用于风冷式燃料电池堆的温度监控装置,涉及燃料电池堆技术领域,包括:燃料电池堆壳体,所述燃料电池堆壳体的内底部开设有多个装配部,所述装配部包括中空装配通道,所述中空装配通道的内部安装有温度监控组件,所述温度监控组件包括装配座,所述装配座的上表面安装有多个温度传感器,所述温度监控组件还包括安装在燃料电池堆壳体侧壁上的控制器,所述控制器包括显示屏,且控制器的输入端与温度传感器的输出端电性连接。解决了现有温度监控装置虽然能够对燃料电池堆内部进行温度监测,但其后续拆装起来较为复杂不便,需要将燃料电池堆拆卸才能够对内部温度监测装置进行更换与检修的问题。

燃料电池多电堆集成装置

NºPublicación:  CN224053156U 27/03/2026
Solicitante: 
国家电投集团科学技术研究院有限公司
CN_224053156_U

Resumen de: CN224053156U

本实用新型的燃料电池多电堆集成装置,包括:电堆组件,电堆组件包括多个电池电堆;进气阀板,进气阀板具有间隔设置的空气进气流道、氢气进气流道和导热介质流道;空气进气流道包括依次连通的空气汇流进口、空气进气主流道和多个空气进气分支流道,空气进气分支流道内的空气流量可调节;氢气进气流道包括依次连通的氢气汇流进口、氢气进气主流道和多个氢气进气分支流道,氢气进气分支流道内的氢气流量可调节;导热介质流道包括依次连通的导热介质汇流进口、导热介质进液主流道和多个导热介质进液分支流道。因此,根据本实用新型的燃料电池多电堆集成装置具有集成性高、便于拆装和便于调节进气量的优点。

一种单电池单元及燃料电池电堆

NºPublicación:  CN224053153U 27/03/2026
Solicitante: 
国鸿氢能科技(嘉兴)股份有限公司
CN_224053153_U

Resumen de: CN224053153U

本实用新型涉及燃料电池技术领域,公开了一种单电池单元及燃料电池电堆,具有两两相交的第一方向和第二方向,包括层叠设置的氢单极板、氧单极板和膜电极组件,所述氢单极板的一侧连接有所述氧单极板,所述氢单极板的另一侧通过密封胶连接有所述膜电极组件;所述氢单极板朝向所述膜电极组件的一侧设有支撑桥、排气槽、溢胶槽和排胶槽,所述膜电极组件背向所述氢单极板的一侧设有注塑胶线,所述氧单极板背向所述氢单极板的一侧开设有与所述注塑胶线对应的密封槽。本实用新型的有益效果:提高燃料电池电堆的稳定性以及发电量;降低膜电极组件的另一侧与双极板之间粘接难度,降低生产成本,提升燃料电池电堆成品的良品率。

一种液流电池的膜密封结构

NºPublicación:  CN224053146U 27/03/2026
Solicitante: 
安徽湓润环保科技有限公司
CN_224053146_U

Resumen de: CN224053146U

本实用新型公开了一种液流电池的膜密封结构,涉及液流电池技术领域。本实用新型包括液流电池膜本体,液流电池膜本体相对两侧面均插接配合有第一边框件,液流电池膜本体另一相对两侧面均插接配合有第二边框件。本实用新型对电池膜本体、第一边框件、第二边框件、连接件的设计及配合关系,解决了现有的液流电池的膜密封结构在对液流电池内部的液流电池膜进行组装密封时,其多是将液流电池膜拼接组装至一个整体的矩形框架结构内部,容易导致其后期在进行组装时,其液流电池膜的边缘位置存在褶皱,对后期的使用过程产生影响,给工作人员的后期组装过程带来了一定的不便性的技术问题。

一种燃料电池系统的尾排控制方法和燃料电池系统

NºPublicación:  CN121748448A 27/03/2026
Solicitante: 
海亿新能(临海)科技有限公司武汉海亿新能源科技有限公司
CN_121748448_PA

Resumen de: CN121748448A

本发明提供了一种燃料电池系统的尾排控制方法和燃料电池系统。该方法包括:获取燃料电池系统的实际输出功率和实际堆芯湿度;根据所述实际输出功率确定尾排阀的基准控制参数,其中,所述基准控制参数包括如下至少一种:所述尾排阀的开启周期和单次开启的持续时长;通过所述实际堆芯湿度确定控制参数修正值,以用于对所述基准控制参数进行修正;利用修正后的基准控制参数,对所述尾排阀进行控制。该方法在燃料电池系统的输出功率动态变化时,能够结合燃料电池系统的实际输出功率和实际堆芯湿度,自适应地调整尾排阀的控制参数,进而能够更好地适配燃料电池系统输出功率动态变化的工况需求,从而解决了现有技术中的问题。

Brennstoffzellensystem und Verfahren zum Betrieb eines Brennstoffzellensystems und Fahrzeug

NºPublicación:  DE102024209266A1 26/03/2026
Solicitante: 
BOSCH GMBH ROBERT [DE]
Robert Bosch Gesellschaft mit beschr\u00E4nkter Haftung

Resumen de: DE102024209266A1

Die Erfindung betrifft ein Brennstoffzellensystem (100), umfassend wenigstens einen Brennstoffzellenstack (101) sowie wenigstens ein Luftsystem (10), das Luftsystem (10) umfassend einen dem wenigstens einen Brennstoffzellenstack (101) vorgelagerten Zuluftpfad (11) sowie einen dem wenigstens einen Brennstoffzellenstack (101) nachgelagerten Abluftpfad (12), wobei das Luftsystem (10) wenigstens einen Wärmeübertrager (13) zur Wärmeübertragung zwischen einem in dem Zuluftpfad (11) geführten Fluidstrom und einem in dem Abluftpfad (12) geführten Fluidstrom umfasst, wobei das Luftsystem einen Entnahmepfad (14) zur Entnahme eines Fluidstroms aus dem Abluftpfad (12) an einer Entnahmestelle (14.1) umfasst und wobei die Entnahmestelle (14.1) in dem Abluftpfad (12) stromab des Wärmeübertragers (13) angeordnet ist.

Verfahren zur Herstellung einer elektrochemischen Zelle, elektrochemische Zelle, elektrochemische Zellenvorrichtung

NºPublicación:  DE102024209084A1 26/03/2026
Solicitante: 
BOSCH GMBH ROBERT [DE]
Robert Bosch Gesellschaft mit beschr\u00E4nkter Haftung

Resumen de: DE102024209084A1

Die Erfindung betrifft ein Verfahren (10) zur Herstellung einer elektrochemische Zelle (12), insbesondere Elektrolysezelle (14), aufweisend ein Zellsubstrat (16), eine erste Elektrodenschicht (26), eine zweite Elektrodenschicht (32), eine zwischen der ersten Elektrodenschicht (26) und zweiten Elektrodenschicht (32) angeordnete Elektrolytschicht (28), sowie eine zwischen dem Zellsubstrat (16) und der ersten Elektrodenschicht (26) angeordnete erste Barriereschicht (22), wobei die erste Barriereschicht (22) mittels eines physical vapour deposition (PVD) Verfahrens auf das Zellsubstrat (16) abgeschieden wird, wobei die erste Barriereschicht (22) ein Ceroxid aufweist, welches eine erste Dotierung mit einem Seltenerdeelement aufweist. Es wird vorgeschlagen, dass das Ceroxid eine zweite Dotierung mit einem Übergangsmetall aus der fünften Nebengruppe oder sechsten Nebengruppe aufweist.

Brennstoffzellensystem, Verfahren zum Betrieb eines Brennstoffzellensystems und Fahrzeug

NºPublicación:  DE102024209267A1 26/03/2026
Solicitante: 
BOSCH GMBH ROBERT [DE]
Robert Bosch Gesellschaft mit beschr\u00E4nkter Haftung

Resumen de: DE102024209267A1

Die Erfindung betrifft ein Brennstoffzellensystem (100), umfassend wenigstens einen Brennstoffzellenstack (101) sowie wenigstens ein Luftsystem (10), das Luftsystem (10) umfassend einen dem wenigstens einen Brennstoffzellenstack (101) vorgelagerten Zuluftpfad (11) sowie einen dem wenigstens einen Brennstoffzellenstack (101) nachgelagerten Abluftpfad (12), wobei das Luftsystem (10) einen primären Wärmeübertrager (13.1) zur Wärmeübertragung zwischen einem in dem Zuluftpfad (11) geführten Fluidstrom und einem in dem Abluftpfad (12) geführten Fluidstrom umfasst, wobei der primäre Wärmeübertrager (13.1) in dem Zuluftpfad (11) stromauf wenigstens eines in dem Zuluftpfad (11) angeordneten Luftverdichters (14) und in dem Abluftpfad (12) stromab wenigstens einer in dem Abluftpfad (12) angeordneten Expansionsvorrichtung (15) angeordnet ist.

Strömungselement

NºPublicación:  DE102024127561A1 26/03/2026
Solicitante: 
EKPO FUEL CELL TECH GMBH [DE]
EKPO Fuel Cell Technologies GmbH

Resumen de: DE102024127561A1

Die Erfindung betrifft ein Strömungselement, aufweisend ein Flachelement, wobei das Flachelement z. B. ein Blechumformprodukt sein oder aufweisen kann, wobei- das Flachelement eine Erhöhung aufweist, wobei es vorteilhaft sein kann, wenn die Erhöhung z. B. einen Kanal des Strömungselements an wenigstens einer Seite des Kanals begrenzt,- die Erhöhung sich, in einer Höhenrichtung orthogonal zu zwei Haupterstreckungsrichtungen des Flachelements ausgehend von einem Basisniveau, insbesondere am Fuß der Erhöhung, auf ein Höchstniveau der Erhöhung erhebt,- die Erhöhung sich in einer Längsrichtung im Wesentlichen parallel zu einer durch die beiden Haupterstreckungsrichtungen des Flachelements definierten Hauptebene oder in einer durch die beiden Haupterstreckungsrichtungen des Flachelements definierten Hauptebene bis zu einem Ende der Erhöhung erstrecktund- die Erhöhung eine Übergangszone aufweist, wobei- in einem Höhenübergangsabschnitt der Übergangszone eine Höhe der Erhöhung abnimmt, z. B. bis die Höhe der Erhöhung sich an dem Ende auf null verringert hat, wobei die Höhe der Erhöhung in der Höhenrichtung genommen ist,und/oder- in einem Breitenübergangsabschnitt der Übergangszone sich eine Breite der Erhöhung verändert, z. B. bis die Breite der Erhöhung sich an dem Ende auf null verringert hat, wobei die Breite der Erhöhung in einer Breitenrichtung genommen ist, die parallel zu der Hauptebene und orthogonal zur Längsrichtung im Basisniveau verläuft.

Verfahren zur Fertigung von Kompositmaterialien

NºPublicación:  DE102024127259A1 26/03/2026
Solicitante: 
FRAUNHOFER GES FORSCHUNG [DE]
Fraunhofer-Gesellschaft zur F\u00F6rderung der angewandten Forschung eingetragener Verein

Resumen de: DE102024127259A1

Die Erfindung betrifft ein Verfahren zur kontinuierlichen oder semi-kontinuierlichen Herstellung von Kompositmaterialien, aufweisend einen thermoplastisches Polymer, mittels eines Mehrrollenwalzwerks, Kompositmaterialien und eine Vorrichtung zur Durchführung des Verfahrens.

Sicherheitsvorrichtung und Brennstoffzelle

NºPublicación:  DE102024127765A1 26/03/2026
Solicitante: 
SCHAEFFLER TECHNOLOGIES AG [DE]
Schaeffler Technologies AG & Co. KG

Resumen de: DE102024127765A1

Die Erfindung betrifft eine Sicherheitsvorrichtung (24) für eine Brenngaszufuhr eines Brenngases (B, Bs) über einen Brenngasstrang (14) zu einem Brennstoffzellenstapel (12) einer Brennstoffzelle (10), aufweisend ein an den Brenngasstrang (14) anschließbares steuerbares Zufuhrventil (26) zur zumindest Verringerung der Durchflussmenge des von außen in den Brenngasstrang (14) gelangenden Brenngases (Bn), ein Überdruckventil (28) zum selbsttätigen Abbau eines Brenngasdrucks (pe) in dem Brenngasstrang (14) bei Überschreiten eines Grenzdrucks des Brenngasdrucks (pm) in dem Brenngasstrang (14) durch Auslass des dabei ausgangsseitig einen Auslassdruck (pa) bewirkenden Brenngases (Ba) aus dem Brenngasstrang (14), wobei das Zufuhrventil (26) zur zumindest Verringerung der Durchflussmenge des Brenngases (Bn) durch den Auslassdruck (pa) steuerbar ist. Weiterhin betrifft die Erfindung eine Brennstoffzelle (10) mit einer derartigen Sicherheitsvorrichtung (24).

METHOD FOR MANUFACTURING A MEMBRANE ELECTRODE ASSEMBLY (MEA) FOR AN ELECTROCHEMICAL CELL AND APPARATUS FOR MANUFACTURING THE MEA

NºPublicación:  US20260088312A1 26/03/2026
Solicitante: 
CARL FREUDENBERG KG [DE]
Carl Freudenberg KG
US_20260088312_A1

Resumen de: US20260088312A1

A method for manufacturing a membrane electrode assembly (MEA) for an electrochemical cell, includes providing: a layer including a gas-diffusion layer and a microporous layer, a layer as a membrane layer coated with catalysts including a proton exchange membrane on which a catalyst layer is applied on both sides, and a layer including a gas-diffusion layer and a microporous layer, each as a web-shaped material. The three layers are brought together such that a web-shaped 7-layer membrane electrode assembly is formed and laminated. A web-shaped carrier layer is provided and fed to the web-shaped 7-layer membrane electrode assembly such that the assembly rests on the web-shaped carrier layer. The web-shaped 7-layer membrane electrode assembly is fabricated by cutting out a desired contour so that individual sheet-like 7-layer membrane electrode assemblies are created.

ELECTROCHEMICAL CELL

NºPublicación:  US20260088309A1 26/03/2026
Solicitante: 
CERES INTELLECTUAL PROPERTY COMPANY LTD [GB]
CERES INTELLECTUAL PROPERTY COMPANY LIMITED
US_20260088309_A1

Resumen de: US20260088309A1

An electrochemical cell is disclosed having a porous metal support, at least one layer of a first electrode on the porous metal support, a first electron-blocking electrolyte layer of rare earth doped zirconia on the at least one layer of the first electrode, and a second bulk electrolyte layer of rare earth doped ceria on the first electron-blocking electrolyte layer. The first electron-blocking electrolyte layer of rare earth doped zirconia may have a thickness of 0.5 μm or greater, and the second bulk electrolyte layer of rare earth doped ceria may have a thickness of 4 μm or greater.

POROUS CATALYST SUPPORT AND ITS METHOD OF PRODUCTION

NºPublicación:  US20260088308A1 26/03/2026
Solicitante: 
TRIAD NAT SECURITY LLC [US]
Triad National Security, LLC
US_20260088308_A1

Resumen de: US20260088308A1

Porous catalyst support and methods for producing same are provided herein. An example porous catalyst support includes a porous material defining a plurality of pores, wherein the porous material comprises a porous carbon material, the plurality of pores comprises a plurality of micropores and a plurality of mesopores, and a porosity of the porous catalyst has a predetermined volume of micropores and of mesopores.

Sub-systems and methods within a thermal storage solution

NºPublicación:  AU2026201679A1 26/03/2026
Solicitante: 
ANTORA ENERGY INC
Antora Energy, Inc
AU_2026201679_A1

Resumen de: AU2026201679A1

SUB-SYSTEMS AND METHODS WITHIN A THERMAL STORAGE SOLUTION A thermal storage solution system is disclosed herein. The system includes an insulated container having a thermal storage medium, a heating element configured to heat the thermal storage medium, a heat receiving unit (e.g., thermophotovoltaic (TPV) heat engine, heat transfer fluid, an industrial process component) configured to convert heat into electric energy, and a mechanism configured to control a view factor between the thermal storage medium and the heat engine. In another embodiment, the system includes multiple thermal storage media as unit cells in a single enclosure or container with insulation between adjacent unit cells. ar a r

BIPOLAR PLATE AND ELECTROCHEMICAL CELL

NºPublicación:  US20260088313A1 26/03/2026
Solicitante: 
SCHAEFFLER TECH AG & CO KG [DE]
Schaeffler Technologies AG & Co. KG
US_20260088313_A1

Resumen de: US20260088313A1

The invention relates to a bipolar plate and an electrochemical cell comprising a plurality of such bipolar plates. The bipolar plate comprises a first half-plate and a second half-plate which are fixedly connected to one another, wherein the bipolar plate has a plurality of fluid passage openings comprising fluid inlet openings and fluid outlet openings and a first distributor field for distributing a fluid, an active field, and a second distributor field for distributing the fluid are located on both sides of the bipolar plate.

TUBULAR FLOW BATTERY DESIGN HAVING SOLID ANODE BODY

NºPublicación:  AU2024354578A1 26/03/2026
Solicitante: 
THE SUN COMPANY AMERICAS INC
THE SUN COMPANY AMERICAS, INC
AU_2024354578_PA

Resumen de: AU2024354578A1

A cylindrical reactor for a flow battery includes a solid anode body with through-holes through which hollow membrane tubes extend. The hollow membrane tubes surround cathodic wires. A first electrolyte is pumped in from a first electrolyte tank between the cathodic wires and the hollow membrane tubes, while a second electrolyte is pumped in from a second electrolyte tank between the hollow membrane tubes and the surrounding portion of the solid anode body. Redox half reactions between the first electrolyte and the second electrolyte are thereby able to happen across the hollow membrane tubes.

ELECTROCHEMICAL REACTOR WITH CIRCUMFERENTIAL SEAL

NºPublicación:  AU2024342144A1 26/03/2026
Solicitante: 
FRAUNHOFER GES ZUR FOERDERUNG DER ANGEWANDTEN FORSCHUNG E V
FRAUNHOFER-GESELLSCHAFT ZUR F\u00D6RDERUNG DER ANGEWANDTEN FORSCHUNG E.V
AU_2024342144_PA

Resumen de: AU2024342144A1

The invention relates to an electrochemical reactor (1), in particular a redox-flow battery, fuel cell, electrolyser or electrosynthesis cell, having a cell stack (Z) consisting of a plurality of cells (2) stacked in a stacking direction (R), wherein each cell (2) has at least one cell frame (12), wherein between at least two adjacent cell frames (12) a seal (13) is arranged in a manner encircling a cell interior (14) and wherein the seal (13) is in each case provided at least partially in adjacent grooves (20, 21) of the adjacent cell frames (12). So that an improved seal can be provided, the invention proposes that the cross section of at least one groove (21) has an inner region (24) with a lower-set region of the groove base (27) and an outer region (25) with a higher-set region of the groove base (27), that the inner region (24) of the groove (21) and the outer region (25) of the groove (21) are connected to one another, more particularly directly, by a step (26) in the groove base (27), and that the seal (13) rests against the at least one step (26).

LOW OPERATING TEMPERATURE OXYGEN ELECTRODE CONTACT LAYER AND ITS MANUFACTURING PROCESS

NºPublicación:  WO2026062319A1 26/03/2026
Solicitante: 
ELCOGEN OY [FI]
ELCOGEN OY
WO_2026062319_A1

Resumen de: WO2026062319A1

An object of the invention is a low operating temperature oxygen electrode contact layer (110) in a fuel cell system or in an electrolyzer cell system providing electrical contact between an oxygen electrode (100) of a solid oxide cell and at least one of the interconnector (114), bipolar plate, and contact structures of the solid oxide stack. The low operating temperature oxygen electrode contact layer (110) comprises an ABO3 perovskite structure containing at least one of La and Ca together with trace amounts of Mg, Sr, and Ba, and La and Sr together with trace amounts of Mg, Ca, and Ba on the A-site and at least one of Mn, Fe, Ni, and Cu and Fe, Ni, Co, and Cu on the B-site to lower the sintering temperature to 500 - 800 °C.

ANION-EXCHANGE MEMBRANES FOR A FUEL CELL OR ELECTROLYZER

NºPublicación:  WO2026061779A1 26/03/2026
Solicitante: 
CIE GENERALE DES ETABLISSEMENTS MICHELIN [FR]
COMPAGNIE GENERALE DES ETABLISSEMENTS MICHELIN
WO_2026061779_A1

Resumen de: WO2026061779A1

The invention relates to an anion-exchange membrane containing a composite film made of an ionomer and zirconium oxide particles of formula ZrO2, the ionomer being a block polymer of formula (A-B)n-A, the symbol A representing a polyvinyl aromatic block carrying quaternary amine groups, the symbol B representing a hydrogenated block of a poly(1,3-diene) or of a copolymer comprising monomer units of a 1,3-diene and of a vinyl aromatic monomer, n being an integer greater than or equal to 1, the zirconium oxide particle content of the composite film being greater than 40 wt% relative to the weight of the composite film, the zirconium oxide particles having a median particle size, D50, greater than 100 nm and less than 1 μm. The membrane has good plasticity.

BLOWER FOR A FUEL CELL ASSEMBLY

NºPublicación:  WO2026061705A1 26/03/2026
Solicitante: 
ZF CV SYSTEMS GLOBAL GMBH [CH]
ZF CV SYSTEMS GLOBAL GMBH
WO_2026061705_A1

Resumen de: WO2026061705A1

A blower (1) for a fuel cell assembly for recirculating a volume flow occurring during the operation of the fuel cell assembly is described, wherein the blower has a blower channel (2) with an outer wall (2a) which extends along a channel axis (A) between a blower channel inlet (2b) and a blower channel outlet (2c) of the blower channel (2), a motor shaft (3) which extends through an annular channel section (2d) of the blower channel, a flow guiding means (4) which is arranged adjacently to the blower channel inlet (2b) and is configured to impart a swirl to the entering volume flow, an outlet channel (5) with an outlet channel opening (5a) which is arranged in the outer wall (2a) and through which liquid can be discharged, and a pressure equalization channel (6) which is fluidically connected to the outlet channel (5) and has a pressure equalization channel opening (6a) which is arranged in the outer wall (2a) and is spaced apart from the outlet channel opening (5a) along the channel axis (A).

METHOD OF OPERATING A FUEL CELL SYSTEM, CONTROL DEVICE

NºPublicación:  WO2026061699A1 26/03/2026
Solicitante: 
ROBERT BOSCH GMBH [DE]
ROBERT BOSCH GMBH
WO_2026061699_A1

Resumen de: WO2026061699A1

The invention relates to a method of operating a fuel cell system (1), in which a fuel cell stack (2) is supplied via an anode circuit (3) of an anode subsystem (4) with an anode gas containing hydrogen from a tank (5) and recirculated anode gas, and in which recirculated anode gas is removed from the anode circuit (3) from time to time by opening an electromagnetically actuatable purge valve (6) integrated into the anode circuit (3) and is replaced by hydrogen from the tank (5). According to the invention, the composition of the anode gas is determined indirectly by actuating the purge valve (6), and the composition of the anode gas is inferred from the progression of a current or voltage signal of the actuation. The invention further relates to a control unit for a fuel cell system for executing the steps of a method according to the invention.

METHOD FOR OPERATING A FUEL CELL SYSTEM, AND FUEL CELL SYSTEM

NºPublicación:  WO2026061696A1 26/03/2026
Solicitante: 
ROBERT BOSCH GMBH [DE]
ROBERT BOSCH GMBH
WO_2026061696_A1

Resumen de: WO2026061696A1

The invention relates to a method (100) for operating a fuel cell system (200), said method (100) comprising: introducing (101) hydrogen into an anode chamber (203) of a fuel cell stack (201) of the fuel cell system (200); applying (103) a starting voltage to the fuel cell stack (201), wherein the starting voltage has a reversed polarity relative to an operating voltage of the fuel cell stack (201); and opening (105) at least one cathode shut-off valve (207) of the fuel cell system (200). The invention also relates to a fuel cell system (200).

METHOD FOR OPERATING A FUEL CELL SYSTEM, AND FUEL CELL SYSTEM

NºPublicación:  WO2026061695A1 26/03/2026
Solicitante: 
ROBERT BOSCH GMBH [DE]
ROBERT BOSCH GMBH
WO_2026061695_A1

Resumen de: WO2026061695A1

The invention relates to a method (100) for operating a fuel cell system (200), said method (100) comprising: operating (101) the fuel cell system (200) in a normal operation with open cathode isolation valves (207) and a predefined anode operating pressure as well as a predefined cathode operating pressure, providing electrical current via a fuel cell stack (201) of the fuel cell system (200); lowering (103) the anode operating pressure below a predefined anode threshold and the cathode operating pressure below a predefined cathode threshold, in response to a control command to switch the fuel cell system (200) into a standby operation; initiating (105) a passive bleed down, in which the cathode isolation valves (207) are closed and the provision of electrical current via the fuel cell stack (201) is ended; introducing (107) hydrogen into the anode chamber (203), in response to a control command for a restarting of the fuel cell system (200) from the standby operation; and opening (109) the cathode isolation valves (207). The invention also relates to a fuel cell system (200).

METHOD FOR OPERATING A FUEL CELL SYSTEM

NºPublicación:  WO2026061697A1 26/03/2026
Solicitante: 
ROBERT BOSCH GMBH [DE]
ROBERT BOSCH GMBH
WO_2026061697_A1

Resumen de: WO2026061697A1

The invention relates to a method for operating a fuel cell system (100), in particular of a vehicle (200), by a control unit (FCCU), comprising: providing (110), by means of the control unit (FCCU), a respective heating current (/i,k) to a heater of a number (n) of heaters of the fuel cell system (100) in a second calculation step (k), wherein the heating currents (/i k) in total result in an overall heating current (I ges,k); predicting (120), by means of the control unit (FCCU), the overall heating current (I ges,k+i) for a third calculation step (k+1), following the second calculation step (k), in dependence on the overall heating current (I ges,k) of the second calculation step (k); and operating (130), by the control unit (FCCU), the fuel cell system (100) in dependence on the overall heating current (I ges,k+1) of the third calculation step (k+1). The invention also relates to a fuel cell system (100), to a computer program product, to a computer-readable data carrier, to a control unit (FCCU) and to a system (200).

BIPOLAR PLATE PRODUCTION METHOD, BIPOLAR PLATE AND ELECTROMECHANICAL CELL

NºPublicación:  US20260084349A1 26/03/2026
Solicitante: 
SCHAEFFLER TECH AG & CO KG [DE]
SCHAEFFLER Technologies AG & CO. KG
US_20260084349_A1

Resumen de: US20260084349A1

The disclosure relates to a bipolar plate production method for producing a bipolar plate, in particular for an electrochemical cell, which method comprises the following steps: providing two foil sections made of a polymer graphite material comprising at least one polymer and at least 75 wt. % of an electrically conductive filler comprising predominantly graphite and also carbon black,inserting the two foil sections into an embossing and molding tool, closing the tool, wherein the foil sections are embossed and tightly connected to one another at their edges,forming a hollow structure between the foil sections by means of gas pressure differences at the foil surfaces, wherein the foil sections rest against surface structures of tool surfaces, which face one another, of the embossing and molding tool,removing the bipolar plate, formed from the foil sections, from the embossing and molding tool after the foil sections have solidified.

HOLLOW FIBER MEMBRANE MODULE

NºPublicación:  US20260084113A1 26/03/2026
Solicitante: 
NOK CORP [JP]
NOK CORPORATION
US_20260084113_A1

Resumen de: US20260084113A1

A case has a first pipe and a second pipe. In the case, a holding member that holds a plurality of hollow fiber membranes is provided. The holding member includes a first plate-shaped portion and a second plate-shaped portion provided to sandwich the plurality of hollow fiber membranes and a connection portion connecting the plate-shaped portions. A passage passing from the first pipe to the first plate-shaped portion is formed between the first plate-shaped portion and the case and a passage passing from the second pipe to the second plate-shaped portion is formed between the second plate-shaped portion and the case.

Construction Machine

NºPublicación:  US20260085493A1 26/03/2026
Solicitante: 
HITACHI CONSTRUCTION MACHINERY CO LTD [JP]
HITACHI CONSTRUCTION MACHINERY CO., LTD
US_20260085493_A1

Resumen de: US20260085493A1

A construction machine includes a machine body, an electrically driven motor as a power source, a fuel cell that generates electric power to be supplied to the electrically driven motor, a battery that stores the electric power generated by the fuel cell, an inclination angle sensor that senses an inclination of the machine body, and a controller, in which the controller switches supplying of the electric power to the electrically driven motor from the fuel cell to the battery when a sensing result from the inclination angle sensor is equal to or larger than a predetermined inclination angle threshold. With this arrangement, even when the machine body is inclined, the water generated in the process of generating electric power by the fuel cell is prevented from being left undrained.

Construction Machine

NºPublicación:  US20260085490A1 26/03/2026
Solicitante: 
HITACHI CONSTRUCTION MACHINERY CO LTD [JP]
Hitachi Construction Machinery Co., Ltd
US_20260085490_A1

Resumen de: US20260085490A1

A hydraulic excavator (1) includes a vehicle body composed of a self-propelled lower traveling structure (2) and an upper revolving structure (3), and an operator's seat (9) provided on the upper revolving structure (3). The upper revolving structure (3) is provided with a fuel cell (11) generating power supplied to an electric motor (14), a hydrogen tank (20) storing hydrogen supplied to the fuel cell (11), a heat exchanger (24) cooling the fuel cell (11), and cooling fans (25C), (25D), (26A), (27A) each supplying a cooling air to the heat exchanger (24). The operator's seat (9) is disposed on the upstream side of the hydrogen tank (20) with respect to a flow direction of a cooling air F1 generated by the cooling fans (25C), (25D), (26A), (27A).

WORK VEHICLE

NºPublicación:  US20260084548A1 26/03/2026
Solicitante: 
KUBOTA CORP [JP]
Kubota Corporation
US_20260084548_A1

Resumen de: US20260084548A1

A work vehicle includes a vehicle body, a traveling device including front wheels and rear wheels on opposite sides in a vehicle-width direction, a tank configured to store hydrogen gas, a fuel cell configured to generate motive power from the hydrogen gas as fuel, and a discharge path through which water or water vapor generated due to operation of the fuel cell is to be discharged externally. The discharge path includes a discharge pipe including a discharge port through which water or water vapor is to be discharged externally, and a connection pipe connecting the fuel cell and the discharge pipe, and the discharge pipe is located between the front wheels and the rear wheels.

FAN FOR A FUEL CELL ASSEMBLY

NºPublicación:  WO2026061694A1 26/03/2026
Solicitante: 
ZF CV SYSTEMS GLOBAL GMBH [CH]
ZF CV SYSTEMS GLOBAL GMBH
WO_2026061694_A1

Resumen de: WO2026061694A1

The invention relates to a fan (1) for a fuel cell assembly for recirculating a volumetric flow which arises during operation of the fuel cell assembly, the fan comprising: an annular channel (2) having an outer wall (2a) which extends along a channel axis (A) between an annular-channel inlet (2b) and an annular-channel outlet (2c) of the annular channel; a motor shaft (3) which extends through the annular channel; a flow-guiding device (4) which is arranged adjacent to the annular-channel inlet (2b) and is designed to apply a swirl to the incoming volumetric flow; an insert body (6) for arrangement in the annular-channel outlet (2c), the insert body having a tubular portion (6a) which extends along the channel axis toward the annular-channel inlet (2b) and delimits, together with the outer wall (2a), an annular gap for discharging liquid from the annular channel (2), wherein the insert body (6) has a recess (6b), extending around the tubular portion (6a), for guiding liquid particles from the annular gap (7) to a mouth portion (6c) of the insert body (6) in order to discharge liquid particles from the insert body.

METHOD FOR OPERATING A FUEL CELL SYSTEM, FUEL CELL SYSTEM, AND CONTROL DEVICE

NºPublicación:  WO2026061686A1 26/03/2026
Solicitante: 
ROBERT BOSCH GMBH [DE]
ROBERT BOSCH GMBH
WO_2026061686_A1

Resumen de: WO2026061686A1

The invention relates to a method for operating a fuel cell system (100) having at least one fuel cell stack (11) and an anode system (200), wherein a drain valve (24) is arranged in the anode system (200), wherein the following steps are carried out: i. switching the drain valve (24), wherein the switching describes a transition of the drain valve (24) from an open switch position into a closed switch position and vice versa ii. determining a switching feature from a current characteristic curve of the drain valve (24) iii. determining whether fuel flows through the drain valve (24) during the switching of the drain valve (24).

METHOD FOR DIAGNOSING A FUEL CELL SYSTEM

NºPublicación:  WO2026061698A1 26/03/2026
Solicitante: 
ROBERT BOSCH GMBH [DE]
ROBERT BOSCH GMBH
WO_2026061698_A1

Resumen de: WO2026061698A1

The presented invention relates to a method (100) for diagnosing a fuel cell system (200). The method (100) has the steps of: - closing (101) an anode subsystem and a cathode subsystem of a fuel cell stack (201) of the fuel cell system (200); - determining (103) a duration of a stagnation phase; - assigning (105) the determined duration to a state of the fuel cell system (200); - outputting (107) the state assigned to the determined duration, wherein the stagnation phase begins at a first point in time (t1) at which an anode pressure (111) in the anode subsystem corresponds to a cathode pressure (113) in the cathode subsystem, and wherein the stagnation phase ends at a second point in time (t2) at which a rate of change in the profile of the anode pressure (111) and/or the cathode pressure (113) is above a predefined threshold value.

PROTON-CONDUCTING SOLID ELECTROLYTE, ELECTROLYTE LAYER, AND BATTERY

NºPublicación:  US20260088321A1 26/03/2026
Solicitante: 
INST OF SCIENCE TOKYO [JP]
SHIN ETSU CHEMICAL CO LTD [JP]
INSTITUTE OF SCIENCE TOKYO,
Shin-Etsu Chemical Co., Ltd
US_20260088321_A1

Resumen de: US20260088321A1

What is provided are a proton-conducting solid electrolyte which can exhibit high proton conductivity and stability in a low-temperature range and a medium-temperature range, an electrolyte layer formed of the proton-conducting solid electrolyte, and a battery. As an example, a proton-conducting solid electrolyte represented by a general formula: Ba1-αSc1-xMoxO3-δHy, in which α is −0.2 to 0.2, x is 0.1 to 0.3, y is 0 to 1-3x, and δ is 0 to 1⁄2-3x/2, a proton-conducting solid electrolyte represented by a general formula: BaSc1-xMoxO3-δHy, in which x is 0.15 to 0.25, y is 0 to 1-3x, and δ is 0 to 1⁄2-3x/2, or the like; an electrolyte layer, and a battery are provided.

FUEL CELL STACK

NºPublicación:  US20260088322A1 26/03/2026
Solicitante: 
TOYOTA JIDOSHA KK [JP]
TOYOTA JIDOSHA KABUSHIKI KAISHA
US_20260088322_A1

Resumen de: US20260088322A1

Fuel cells each includes: a frame body made of resin and including an opening portion; a membrane electrode assembly disposed at the opening portion; and first and second separators facing each other through the frame body and the membrane electrode assembly. A first manifold hole is provided in a fuel cell stack. The frame body includes a frame-body inner edge demarcating the first manifold hole. The first separator includes a first-separator inner edge demarcating the first manifold hole, a flat portion disposed along the first-separator inner edge, a concave-convex portion forming gas passages, and a border line between the flat portion and the concave-convex portion. When a specific line is defined as a line that is away from the border line toward the first-separator inner edge, the frame-body inner edge is positioned at a side that is more distant from the first manifold hole than the specific line is.

SYSTEM FOR A DUAL INPUT FUEL CELL

NºPublicación:  US20260088320A1 26/03/2026
Solicitante: 
CATERPILLAR INC [US]
Caterpillar Inc
US_20260088320_A1

Resumen de: US20260088320A1

Provided herein are systems and methods for using a dual input in a fuel cell. A vehicle may include a fuel cell, a first storage, a second storage, a plurality of valves, and a processing circuit. The fuel cell includes an anode loop configured to receive hydrogen, and the plurality of valves are respectively fluidically coupled between the anode loop and at least one of the first storage or the second storage. The processing circuit may determine a type of fuel to be supplied to the anode loop, from a first type stored in the first storage and a second type stored in the second storage. The processing circuit may also generate control signals for the plurality of valves to control fluid flow from a respective storage of the first storage and the second storage, based on the type of fuel, to supply hydrogen to the anode loop.

VANADIUM-CHROMIUM ELECTROLYTE, METHOD FOR PREPARING THE SAME, AND REDOX FLOW BATTERY COMPOSED THEREOF

NºPublicación:  US20260088317A1 26/03/2026
Solicitante: 
DALIAN RONGKE POWER GROUP CO LTD [CN]
DALIAN RONGKE POWER GROUP CO., LTD
US_20260088317_A1

Resumen de: US20260088317A1

A vanadium-chromium electrolyte, a method for preparing the same, and a redox flow battery composed thereof are provided. The vanadium-chromium electrolyte includes active substances and a free acid, the free acid acts as a proton conductive agent after ionization, and the active substances contain at least vanadium ions and chromium ions. The present disclosure further provides the method for preparing the vanadium-chromium electrolyte, which includes the following steps: dissolving a vanadium compound with a free acid, and obtaining a mixed solution of the free acid and vanadium ions through filtering; electrolytically reducing vanadium to an average valence state of 3.5 to 4 valence; adding a chromium compound, dissolving through stirring, and implementing a filtering; and adding pure water and an auxiliary reagent to adjust concentration, and preparing the vanadium-chromium electrolyte.

WORK VEHICLE

NºPublicación:  US20260084547A1 26/03/2026
Solicitante: 
KUBOTA CORP [JP]
Kubota Corporation
US_20260084547_A1

Resumen de: US20260084547A1

A work vehicle includes a vehicle body, a fuel cell installed on the vehicle body, a driver's seat installed on the vehicle body aligning with the fuel cell in a horizontal direction, and an electrical component between the fuel cell and the driver's seat in the horizontal direction.

METHOD FOR OPERATING A FUEL CELL SYSTEM, AND A CONTROL DEVICE

NºPublicación:  US20260088318A1 26/03/2026
Solicitante: 
ROBERT BOSCH GMBH [DE]
Robert Bosch GmbH
US_20260088318_A1

Resumen de: US20260088318A1

The invention relates to a method for operating a fuel cell system, in particular a mobile fuel cell system, comprising a lying fuel cell stack (1) with a face (2) at which media channels (3, 4) for distributing and collecting at least one medium enter and exit, wherein the media channels (3, 4) are dried by applying the at least one medium prior to the fuel cell system being shut down. According to the present invention, prior to the shutdown, the current slope of the fuel cell stack (1) compared to a reference plane (E) that runs perpendicular to earth's gravity vector (v) is detected and the drying duration is determined depending on the current slope of the fuel cell stack (1).The invention also relates to a control device for a fuel cell system.

SYSTEM AND METHOD FOR CONTROLLING OPERATION OF FUEL CELL SYSTEM

NºPublicación:  US20260088319A1 26/03/2026
Solicitante: 
HYUNDAI MOTOR COMPANY [KR]
KIA CORP [KR]
HYUNDAI MOTOR COMPANY,
KIA CORPORATION
US_20260088319_A1

Resumen de: US20260088319A1

A system and method for controlling operation of a fuel cell system are described. The method includes diagnosing fuel cells by collecting voltage information of the fuel cells and selecting fuel cells vulnerable to reverse voltage based on the collected voltage information of the fuel cells, classifying the selected fuel cells vulnerable to reverse voltage depending on predetermined vulnerable operating conditions by confirming operating conditions of the selected fuel cells vulnerable to reverse voltage, and performing compensatory operation of the fuel cell system by executing fuel compensation control of the fuel cells vulnerable to reverse voltage depending on the classified vulnerable operation conditions.

FUEL CELL OPERATING SYSTEM AND METHOD OF CONTROLLING OPERATION OF FUEL CELL

NºPublicación:  US20260088316A1 26/03/2026
Solicitante: 
HYUNDAI MOTOR COMPANY [KR]
KIA CORP [KR]
HYUNDAI MOTOR COMPANY,
KIA CORPORATION
US_20260088316_A1

Resumen de: US20260088316A1

A fuel cell operating system including an air compressor disposed on an air supply line and configured to compress an oxidation gas to be supplied to a fuel cell stack and supply the compressed air to a fuel cell inlet side, an air discharge line configured to discharge the oxidation gas from the fuel cell stack, a bypass line configured to branch off from the air discharge line through a valve, connected to the air supply line, and configured to resupply the discharged oxidation gas to the fuel cell inlet side, and a control unit configured to control a flow rate of the oxidation gas to be supplied to the fuel cell stack by controlling the valve on the bypass line depending on a cell ratio value which is a ratio of the fuel cells each being applied with a voltage lower than a first voltage among the fuel cells.

Arrangement and Fuel Cell Device

NºPublicación:  US20260088315A1 26/03/2026
Solicitante: 
BAYER ARNO [DE]
EKPO FUEL CELL TECH GMBH [DE]
Bayer Arno,
EKPO FUEL CELL TECHNOLOGIES GMBH
US_20260088315_A1

Resumen de: US20260088315A1

The aim of the invention is to improve an arrangement which comprises several flat components in particular for a fuel-cell device, wherein at least two flat components are welded together by means of at least one weld seam that extends along a weld contour. According to the invention, in at least one weld seam, at least two partial weld seam portions at least partially overlap in a region of overlap along the weld contour.

BIPOLAR FLOW FIELD PLATE FOR FUEL CELLS

NºPublicación:  US20260088314A1 26/03/2026
Solicitante: 
BALLARD POWER SYSTEMS INC [CA]
BALLARD POWER SYSTEMS INC
US_20260088314_A1

Resumen de: US20260088314A1

A bipolar flow field plate for an electrochemical fuel cell comprises fuel supply channels formed on the first surface of the bipolar flow field plate, having a constant cross-section along the length of bipolar flow field plate, oxidant supply channels formed on another surface of the bipolar flow field plate, opposite to the first surface, and having a constant cross-section along the length of the bipolar flow field plate and coolant flow channels provided within the bipolar flow field plate, wherein at least two adjacent coolant flow channels in the active area of the bipolar flow field plate communicate to each other through a flow sharing portion. The size of the flow sharing portion can vary according to the coolant flow sharing needs. The projections of the bipolar flow field plate which form the coolant flow channels can be provided with pillars along the flow sharing portions of the plate.

Verfahren zum Betreiben eines Brennstoffzellensystems sowie Steuergerät

NºPublicación:  DE102024209317A1 26/03/2026
Solicitante: 
BOSCH GMBH ROBERT [DE]
Robert Bosch Gesellschaft mit beschr\u00E4nkter Haftung

Resumen de: DE102024209317A1

Vorgeschlagen wird ein Verfahren zum Betreiben eines Brennstoffzellensystems (1), umfassend mindestens eine Brennstoffzelle (14) mit einer Membrane (13) sowie beidseits hieran angrenzenden Katalysatorschichten, die eine Anode (2) und eine Kathode (3) ausbilden. Dabei wird im Normalbetrieb der Anode (2) über einen Anodenkreis (4) Wasserstoff und der Kathode (3) über einen Zuluftpfad (6) Luft zugeführt wird. Erfindungsgemäß wird die Anode (2) von Zeit zu Zeit gereinigt, wobei zur Reinigung der Betrieb der mindestens einen Brennstoffzelle (14) unterbrochen wird und der Anode (2) über den Anodenkreis (4) ein definiertes, aus mindestens einem Kennwert des Brennstoffzellensystems (1) berechnetes Luftvolumen aus dem Zuluftpfad (6) zugeführt wird.Darüber hinaus betrifft die Erfindung ein Steuergerät, das dazu eingerichtet ist, ein Verfahren oder einzelne Schritte eines Verfahrens durchzuführen.

Brennstoffzellensystem und Kraftfahrzeug mit einem Brennstoffzellensystem

NºPublicación:  DE102024209178A1 26/03/2026
Solicitante: 
BOSCH GMBH ROBERT [DE]
Robert Bosch Gesellschaft mit beschr\u00E4nkter Haftung

Resumen de: DE102024209178A1

Ein Brennstoffzellensystem (2) hat wenigstens eine Brennstoffzelle (4), die eine Anode (6) und eine Kathode (8) hat; ein Wasserstoffzufuhrsystem (12), das dazu vorgesehen und ausgebildet ist, der wenigstens einen Brennstoffzelle (4) Wasserstoffgas (42) zuzuführen; und einen Anodenrezirkulationskreis (18), der dazu vorgesehen und ausgebildet ist, ein aus der Anode (6) der Brennstoffzelle (4) austretendes Gasgemisch (36) in die Anode (6) der wenigstens einen Brennstoffzelle (4) zurückzuführen. Der Anodenrezirkulationskreis (18) enthält einen Mischer (34), der dazu vorgesehen und ausgebildet ist, das aus der Anode (6) der Brennstoffzelle (4) austretende Gasgemisch (36) mit Wasserstoffgas (42), das von dem Wasserstoffzufuhrsystem (12) zugeführt wird, zu vermischen, bevor es in die Anode (6) der wenigstens einen Brennstoffzelle (4) zurückgeführt wird. Der Mischer (34) umfasst eine Coanda-Düse (46), oder der Mischer (34) hat einen axialen Strömungskanal (35), durch den das aus der Anode (6) der Brennstoffzelle (4) austretende Gasgemisch (36) in einer Axialrichtung (A) durch den Mischer (34) strömt, und einen ringförmigen Wasserstoff-Zufuhrkanal (38), der ringförmig um den axialen Strömungskanal (35) ausgebildet ist und der fluidisch mit dem Wasserstoffzufuhrsystem (12) verbunden ist, um Wasserstoffgas (42) aus dem Wasserstoffzufuhrsystem (12) in das durch den axialen Strömungskanal (35) strömende Gasgemisch (36) einzubringen.

BRENNSTOFFZELLENSYSTEM, TRENNVORRICHTUNG UND VERFAHREN ZUM BETREIBEN EINES BRENNSTOFFZELLENSYSTEMS

NºPublicación:  DE102024127687A1 26/03/2026
Solicitante: 
WOODWARD LORANGE GMBH [DE]
Woodward L`Orange GmbH

Resumen de: DE102024127687A1

Offenbart ist eine Trennvorrichtung für ein Anodenrezirkulat einer Brennstoffzelle. Die Trennvorrichtung ist in einem Rezirkulationspfad einer Anode der Brennstoffzelle anordenbar und eingerichtet, ein inertes Gas und einen gasförmigen Brennstoff in dem Anodenrezirkulat voneinander zu trennen. Die Trennvorrichtung ist ferner eingerichtet, das inerte Gas in Richtung einer Spüleinrichtung und den Brennstoff in Richtung eines Einlasses eines Anodenraums der Anode auszugeben.Auch ist ein Brennstoffzellensystem, das die Trennvorrichtung umfasst, offenbart.Zudem ist ein Verfahren zum Betreiben eines Brennstoffzellensystems offenbart. Das Brennstoffzellensystem weist eine Brennstoffzelle und einen Rezirkulationspfad auf. Der Rezirkulationspfad verbindet einen Auslass eines Anodenraums einer Anode der Brennstoffzelle mit einem Einlass des Anodenraums. Das Verfahren umfasst ein Auslassen eines Abgases aus dem Anodenraum über den Auslass in den Rezirkulationspfad als Anodenrezirkulat, ein Trennen des Anodenrezirkulats mindestens in eine mit einem inerten Gas angereicherte Gasphase und eine mit einem Brennstoff angereicherte Gasphase, ein Auslassen der mit dem inerten Gas angereicherten Gasphase aus dem Rezirkulationspfad, sowie ein Einlassen der mit dem Brennstoff angereicherten Gasphase in den Anodenraum über den Einlass.

SYSTEMS AND METHODS FOR HYDROGEN TANK ASSEMBLY DIAGNOSTICS

NºPublicación:  WO2026064773A1 26/03/2026
Solicitante: 
HYROAD NETWORKS LLC [US]
HYROAD NETWORKS LLC
WO_2026064773_A1

Resumen de: WO2026064773A1

The present disclosure provides a hydrogen storage system for a fuel cell electric vehicle (FCEV) that includes a controller in electronic communication with a plurality of pressure sensors, each pressure sensor coupled to a hydrogen storage tank of a plurality of hydrogen storage tanks and a non-transitory computer-readable storage medium in electronic communication with the controller. The controller may be capable of identifying a stuck closed on tank valve (OTV) fault and a tank leak fault using a plurality of pressure measurements from the plurality of pressure sensors.

REACTIVE EXTRACTION OF METALS, ENERGY STORAGE AND DELIVERY SYSTEMS, AND ASSOCIATED ARTICLES, SYSTEMS, AND METHODS

NºPublicación:  WO2026064801A2 26/03/2026
Solicitante: 
MASSACHUSETTS INSTITUTE OF TECH [US]
MASSACHUSETTS INSTITUTE OF TECHNOLOGY
WO_2026064801_A2

Resumen de: WO2026064801A2

Reactive extraction of metals, energy storage and delivery systems, and associated articles, systems, and methods are generally described. Certain aspects related to energy storage and delivery systems that employ metallic sodium and/or metallic lithium and/or metallic potassium as an electrochemically active material.

EXPANDABLE AND ADAPTABLE FUEL CELL SYSTEMS

NºPublicación:  WO2026064391A2 26/03/2026
Solicitante: 
WATT FUEL CELL CORP [US]
WATT FUEL CELL CORP
WO_2026064391_A2

Resumen de: WO2026064391A2

The present teachings are related to fuel cell systems having a fuel cell housing that can be expanded, for example, with one or more battery modules, one or more inverter modules, a DC power management module, an external power management module and./or a solar MPPT module on the front end of the fuel cell housing, and adaptable to various environmental conditions with the use of other auxiliary modules readily attachable to the back end of the fuel cell housing.

SYSTEM FOR A DUAL INPUT FUEL CELL

NºPublicación:  WO2026064137A1 26/03/2026
Solicitante: 
CATERPILLAR INC [US]
CATERPILLAR INC
WO_2026064137_A1

Resumen de: WO2026064137A1

Provided herein are systems and methods for using a dual input in a fuel cell. A vehicle may include a fuel cell, a first storage, a second storage, a plurality of valves, and a processing circuit. The fuel cell includes an anode loop configured to receive hydrogen, and the plurality of valves are respectively fluidically coupled between the anode loop and at least one of the first storage or the second storage. The processing circuit may determine a type of fuel to be supplied to the anode loop, from a first type stored in the first storage and a second type stored in the second storage. The processing circuit may also generate control signals for the plurality of valves to control fluid flow from a respective storage of the first storage and the second storage, based on the type of fuel, to supply hydrogen to the anode loop.

Verfahren zur Herstellung einer Membran-Elektrodeneinheit (MEA) für eine elektrochemische Zelle, insbesondere Brennstoffzelle, sowie Anlage zur Herstellung der MEA

NºPublicación:  DE102024127701A1 26/03/2026
Solicitante: 
FREUDENBERG CARL KG [DE]
Carl Freudenberg KG

Resumen de: DE102024127701A1

Die Erfindung betrifft ein Verfahren zur Herstellung einer Membran-Elektrodeneinheit MEA (10) für eine elektrochemische Zelle, insbesondere eine Brennstoffzelle, sowie eine Anlage (100) zur Herstellung einer Membran-Elektrodeneinheit (10) gemäß diesem Verfahren.Erfindungsgemäß wurde als vorteilhaft erkannt vor dem Konfektionieren der MEA, z.B. durch Stanzen in einer Stanzeinheit (40), die MEA in einer Laminiereinheit (20) zu laminieren und die MEA (10) während des Konfektionierprozesses durch eine Trägerlage (18) zu stützen.

SOLID ELECTROLYTE FOR NA-ION AND K-ION BATTERY

NºPublicación:  WO2026062349A1 26/03/2026
Solicitante: 
ARKEMA FRANCE [FR]
ARKEMA FRANCE
WO_2026062349_A1

Resumen de: WO2026062349A1

The invention relates to a solid electrolyte composition which can be used to manufacture a film offering a very good compromise between ion conductivity, electrochemical stability, high-temperature stability and mechanical strength. This composition can be used in a separator or an electrode of Na-ion or K-ion batteries.

METHOD FOR DRYING A FUEL CELL SYSTEM

NºPublicación:  WO2026061823A1 26/03/2026
Solicitante: 
ROBERT BOSCH GMBH [DE]
ROBERT BOSCH GMBH
WO_2026061823_A1

Resumen de: WO2026061823A1

The invention relates to a method (100) for drying a fuel cell system (200), said method (100) comprising: - opening (101) at least one purge valve (211) of the fuel cell system (200), - determining (103) an anode pressure in an anode subsystem (203) of the fuel cell system (200), - opening (105) a hydrogen metering valve (207) for metering hydrogen into the anode subsystem (203) in the event that the anode pressure is below a predefined lower threshold value (119), - reducing (107) an amount of hydrogen metered into the anode subsystem (203) by the hydrogen metering valve (207) in the event that the anode pressure is above a predefined upper threshold value (121), wherein during opening (105) of the hydrogen metering valve (207), the hydrogen metering valve (207) is completely opened, and wherein the opening (105) of the hydrogen metering valve (207) and the reducing (107) of the amount of hydrogen metered into the anode subsystem (203) by the hydrogen metering valve (207) are repeated until a predefined termination condition is met.

ELECTROCHEMICAL CELL STACK FOR CARBON DIOXIDE GAS SEPARATOR WITH BI-LATERAL FLOW

NºPublicación:  WO2026062496A1 26/03/2026
Solicitante: 
REPAIR CARBON LTD [IL]
REPAIR-CARBON LTD
WO_2026062496_A1

Resumen de: WO2026062496A1

An electrochemically-based carbon-dioxide gas separation system includes a stack of membrane electrode assemblies (MEAs), each of the MEAs including a membrane separator between a cathode and an anode. The cathode includes a charge-storage compound that reacts to form hydroxide and the anode includes a charge-storage compound that reacts to consume hydroxide or produce protons. A double-sided flow-field plate is placed between adjacent MEAs of the stack of electrochemical cells. The cathode of one of the adjacent MEAs which is on a first side of the double-sided flow-field plate faces the cathode of a next adjacent MEA on the first side, and the anode of one of the adjacent MEAs which is on a second side of the double-sided flow-field plate faces the anode of a next adjacent MEA on the second side.

METHOD FOR OPERATING A FUEL CELL SYSTEM, AND ASSOCIATED CONTROL DEVICE

NºPublicación:  WO2026061826A1 26/03/2026
Solicitante: 
ROBERT BOSCH GMBH [DE]
ROBERT BOSCH GMBH
WO_2026061826_A1

Resumen de: WO2026061826A1

The invention relates to a method for operating a fuel cell system comprising at least one fuel cell which has a membrane arranged between two catalyst layers in order to form an anode and a cathode, wherein, during normal operation, hydrogen is supplied to the anode via an anode circuit. The following steps are carried out prior to a system start: - opening at least one discharge valve, for example a drain and/or purge valve, integrated in the anode circuit, - drawing ambient air into the anode circuit and into the anode of the at least one fuel cell via the at least one opened discharge valve, and - removing impurities from the anode-side catalyst layer by way of the drawn-in air. According to the invention, the discharge valve integrated into the anode circuit is opened if the fuel cell is deactivated and the hydrogen concentration in the anode circuit is between 15 and 30 percent by volume. The invention also relates to a control device for carrying out steps of the method according to the invention.

METHOD FOR PRODUCING COMPOSITE MATERIALS

NºPublicación:  WO2026062091A1 26/03/2026
Solicitante: 
FRAUNHOFER GES ZUR FOERDERUNG DER ANGEWANDTEN FORSCHUNG E V [DE]
FRAUNHOFER-GESELLSCHAFT ZUR F\u00D6RDERUNG DER ANGEWANDTEN FORSCHUNG E.V
WO_2026062091_A1

Resumen de: WO2026062091A1

The invention relates to a method for continuously or semi-continuously producing, by means of a multi-roller rolling mill, composite materials comprising a thermoplastic polymer; it also relates to composite materials, and to an apparatus for carrying out the method.

CONTINUOUS-FLOW MACHINE FOR A FUEL CELL SYSTEM WITH A FUEL CELL STACK FOR A VEHICLE, IN PARTICULAR A UTILITY VEHICLE, FUEL CELL SYSTEM AND VEHICLE

NºPublicación:  WO2026061772A1 26/03/2026
Solicitante: 
ZF CV SYSTEMS GLOBAL GMBH [CH]
ZF CV SYSTEMS GLOBAL GMBH
WO_2026061772_A1

Resumen de: WO2026061772A1

The invention relates to a continuous-flow machine (210) for a fuel cell system (205) with a fuel cell stack (206) for a vehicle (200a), in particular a utility vehicle (200b), wherein the continuous-flow machine (210) is designed to apply an air flow (240) to the cathode side of the fuel cell stack (206); wherein the continuous-flow machine (210) has an electric drive (215) and at least one compressor wheel (216), which can be driven by the electric drive (215) and is rotationally fixed to a rotor shaft (214), for drawing in supply air (239) and for providing the air flow (240); the continuous-flow machine (210) has a bearing assembly (217) for mounting the rotor shaft (214); and the continuous-flow machine (210) has at least one fluid-guiding lip (220); wherein the fluid-guiding lip (220) is designed to guide fluid (90) within the continuous-flow machine (210) around the bearing assembly (217) and/or to block a transporting of the fluid (90) in the direction of the bearing assembly (217).

REDOX FLOW STACK WITH A ONE-PIECE FRAME AND PRODUCTION METHOD

NºPublicación:  WO2026061746A1 26/03/2026
Solicitante: 
SIEMENS ENERGY GLOBAL GMBH & CO KG [DE]
SIEMENS ENERGY GLOBAL GMBH & CO. KG
WO_2026061746_A1

Resumen de: WO2026061746A1

The invention relates to a redox flow stack (01). The stack (01) comprises a left and a right terminating element and a plurality of redox flow cells (11) arranged between these terminating elements. Each redox flow cell (11) has a left and a right cell chamber (13, 14), with corresponding electrodes (17, 18) and cell frames (15, 16), and a cell membrane (12) which separates the cell chambers (13, 14). In addition, there are cell separating elements (19) between adjacent cell chambers (13, 14). The innovation is that all the cell frames (15, 16) consist of a one-piece stack frame (02) produced by means of additive manufacturing.

電極

NºPublicación:  JP2026054178A 26/03/2026
Solicitante: 
トヨタ自動車株式会社
JP_2026054178_A

Resumen de: US20260081184A1

An electrode capable of preventing Ni from being re-oxidized and reduced and thereby having improved initial characteristics and durability is provided. The electrode includes a cermet layer containing Ni-containing particles and an Nb compound. The Nb compound may cover at least parts of surfaces of the Ni-containing particles. The ratio of the mass of Nb contained in the Nb compound to the mass of Ni contained in Ni-containing particles may be 0.2 to 3.0 mass %. La may be contained in the Nb compound. The cermet layer may contain electrolyte particles having oxide ion conductivity or both oxide ion and electron conductivities.

Brennstoffzellenstapel

NºPublicación:  DE102025115649A1 26/03/2026
Solicitante: 
TOYOTA MOTOR CO LTD [JP]
TOYOTA JIDOSHA KABUSHIKI KAISHA
CN_121726470_PA

Resumen de: DE102025115649A1

Brennstoffzellen, umfassen jeweils: einen Rahmenkörper aus Harz bzw. Kunststoff, der einen Öffnungsabschnitt aufweist; eine Membran-Elektroden-Anordnung, die an dem Öffnungsabschnitt angeordnet ist; und einen ersten und einen zweiten Separator, die einander durch den Rahmenkörper und die Membran-Elektroden-Anordnung gegenüberliegen. Eine erste Verteileröffnung ist in einem Brennstoffzellenstapel vorgesehen. Der Rahmenkörper umfasst eine Rahmenkörperinnenkante, die die erste Verteileröffnung begrenzt. Der erste Separator umfasst eine erste Separatorinnenkante, die die erste Verteileröffnung begrenzt, einen flachen Abschnitt, der entlang der ersten Separatorinnenkante angeordnet ist, einen konkav-konvexen Abschnitt, der Gasdurchgänge bildet, und eine Begrenzungslinie zwischen dem flachen Abschnitt und dem konkav-konvexen Abschnitt. Wenn eine bestimmte Linie als eine Linie definiert ist, die von der Begrenzungslinie in Richtung der ersten Separatorinnenkante verläuft, ist die Rahmenkörperinnenkante an einer Seite positioniert, die weiter von der ersten Verteileröffnung entfernt ist als die bestimmte Linie.

Vorrichtung zur dielektrischen Isolierung

NºPublicación:  DE102024127741A1 26/03/2026
Solicitante: 
NORMA GERMANY GMBH [DE]
NORMA Germany GmbH

Resumen de: DE102024127741A1

Die Erfindung betrifft eine Vorrichtung (1) zur dielektrischen Isolierung eines Objekts (50), insbesondere eines Wasserstoff-Brennstoffzellenstapels, umfassend ein Metallband (10) zum Fixieren des Objekts (50), eine Mehrzahl von Isolierblöcken (20), die zwischen dem Metallband (10) und einer Oberfläche des fixierten Objekts (50) angeordnet und an ausgewählten Stellen auf dem Metallband (10) befestigt sind. Erfindungsgemäß ist vorgesehen, dass die Isolierblöcke (20) derart an dem Metallband (10) angeordnet sind, dass sie den dielektrischen Widerstand lediglich an kritischen Oberflächenbereichen des fixierten Objekts (50) gewährleisten, wobei die Isolierblöcke (20) mittels Einschnappen oder Einklipsen mit dem Metallband (10) befestigbar sind, um eine einfache Anpassung an unterschiedliche Designanforderungen und eine kosteneffiziente Produktion zu ermöglichen.

PROTON EXCHANGE MEMBRANE COMPRISING HYDROGEN BARRIER COATING AND PREPARATION METHOD THEREFOR, MEMBRANE ELECTRODE, AND DEVICE FOR HYDROGEN PRODUCTION VIA WATER ELECTROLYSIS

NºPublicación:  WO2026060686A1 26/03/2026
Solicitante: 
ANHUI CONTANGO NEW ENERGY TECH CO LTD [CN]
\u5B89\u5FBD\u67A1\u6C34\u65B0\u80FD\u6E90\u79D1\u6280\u6709\u9650\u516C\u53F8
WO_2026060686_A1

Resumen de: WO2026060686A1

The present application relates to the technical field of hydrogen production via water electrolysis, and specifically relates to a method for preparing a proton exchange membrane comprising a hydrogen barrier coating. The method comprises the following steps: S1, mixing an inorganic filler with a functional resin, adding a solvent, and stirring same to obtain a slurry; S2, coating a surface of a proton exchange membrane with the slurry, the wet thickness of the resulting coating being 10-100 μm, and drying the wet coating to obtain a dried proton exchange membrane; and S3, performing a heat treatment on the dried proton exchange membrane to obtain a proton exchange membrane comprising a hydrogen barrier coating. The present application further relates to a proton exchange membrane comprising a hydrogen barrier coating, a membrane electrode, and a device for hydrogen production via water electrolysis. The hydrogen barrier coating described herein can physically block hydrogen gas from permeating through the proton exchange membrane, thereby improving the efficiency of a water-electrolysis membrane electrode made of the proton exchange membrane, reducing the content of hydrogen in oxygen at an anode side, and further improving the service life and safety of the device for hydrogen production via water electrolysis.

METHOD FOR DETECTING AND DIAGNOSING FAULTS

NºPublicación:  WO2026060526A1 26/03/2026
Solicitante: 
MCMASTER UNIV [CA]
MCMASTER UNIVERSITY
WO_2026060526_A1

Resumen de: WO2026060526A1

Various embodiments are described herein for a system and method for condition monitoring and detecting and diagnosing faults in electromechanical or electrochemical systems and batteries using a frequency-domain statistical analysis framework. The method comprises receiving raw time-domain signals from one or more sensors monitoring the electromechanical or electrochemical system, applying a Short-Time Fourier Transform to convert the time-domain signals into a spectrogram, and segmenting the spectrogram into a plurality of frequency band segments. Each segment is independently analyzed using Principal Component Analysis based Multivariate Statistical Process Control, followed by statistical smoothing of the MSPC outputs. Fault conditions can be classified based on the smoothed statistical indicators, enabling accurate identification of deviations from baseline behavior.

WORK VEHICLE

NºPublicación:  US20260084521A1 26/03/2026
Solicitante: 
KUBOTA CORP [JP]
Kubota Corporation
US_20260084521_A1

Resumen de: US20260084521A1

A work vehicle includes a vehicle body, a driver's seat, an electric motor, and a fuel cell module each installed on the vehicle body, a cabin around the driver's seat, a hydrogen pipe and a hydrogen tank through and from which hydrogen is supplied to the fuel cell module, and a tank case above the cabin and accommodating the hydrogen tank. The tank case includes a lower plate covering a lower surface of the hydrogen tank, side plates covering side surfaces of the hydrogen tank, and an upper plate covering an upper surface of the hydrogen tank, and includes a first vent that is open in the lower plate.

WORK VEHICLE

NºPublicación:  US20260084519A1 26/03/2026
Solicitante: 
KUBOTA CORP [JP]
Kubota Corporation
US_20260084519_A1

Resumen de: US20260084519A1

A work vehicle includes a vehicle body, a fuel cell installed on the vehicle body, a driver's seat installed on the vehicle body aligning with the fuel cell in a horizontal direction, and an air cleaner located between the fuel cell and the driver's seat in the horizontal direction to clean air supplied to the fuel cell.

WORK VEHICLE

NºPublicación:  US20260084517A1 26/03/2026
Solicitante: 
KUBOTA CORP [JP]
Kubota Corporation
US_20260084517_A1

Resumen de: US20260084517A1

A work vehicle includes a vehicle body, a fuel cell installed on the vehicle body, a radiator positioned side by side with the fuel cell, and a support that supports the radiator. The support includes a first support connected to the vehicle body and the radiator, and a second support connected to the fuel cell and the radiator.

燃料電池用ガス拡散複合材及び固体高分子形燃料電池

NºPublicación:  JP2026053872A 26/03/2026
Solicitante: 
国立大学法人九州大学
JP_2026053872_A

Resumen de: JP2026053872A

【課題】薄層であり、接触抵抗等の電気抵抗が低減した燃料電池用ガス拡散複合材を提供する。【解決手段】厚みが3μm以上150μm以下のメッシュシート、パンチングシート、エキスパンドシート又はメンブレンフィルタシートである、導電性材料又は非導電性材料からなる多孔基材シートと、粒子状及び/又は繊維状の炭素材料及び撥水性樹脂を含む微多孔炭素層と、を有し、(D1)微多孔炭素層が多孔基材シートの一方面を被覆し、かつ微多孔炭素層の一部が多孔基材シート内部に浸透し、微多孔炭素層が多孔基材シートの一方面から反対面まで到達している構造(D2)微多孔炭素層が多孔基材シートの両面を被覆し、かつ微多孔炭素層の一部が多孔基材シート内部に浸透し、微多孔炭素層が多孔基材シートの一方面から反対面まで到達している構造(E)微多孔炭素層に多孔基材シートの全部が埋設した構造、のいずれかである燃料電池用ガス拡散複合材。【選択図】図3B

シール構造体、および電気化学反応セルスタック

NºPublicación:  JP2026054037A 26/03/2026
Solicitante: 
森村SOFCテクノロジー株式会社
JP_2026054037_A

Resumen de: JP2026054037A

【課題】ガラスシール部によるガスシール性の保持と、シール部材の表面からの元素の揮発の抑制と、を両立する。【解決手段】シール構造体は、第1接合対象部材と、第2接合対象部材と、前記第1接合対象部材と前記第2接合対象部材との間に介在するガラスシール部と、を備え、前記ガラスシール部が、結晶化ガラスを含み、前記第1接合対象部材および前記第2接合対象部材に接しない非接合面から深さ10μmまでの領域である表面領域と、前記表面領域を除く残りの領域である非表面領域と、を有し、前記表面領域の結晶化度が、前記非表面領域の結晶化度よりも高い。【選択図】図6

GASKET AND GASKET DEVICE

NºPublicación:  WO2026063526A1 26/03/2026
Solicitante: 
NOK CORP [JP]
\uFF2E\uFF2F\uFF2B\u682A\u5F0F\u4F1A\u793E
WO_2026063526_A1

Resumen de: WO2026063526A1

A gasket (2) is provided with a gasket member (10) and a support member (30). The gasket member (10) has a seal side surface (11), a contact side surface (12), and a plurality of through holes (16). The gasket member (10) has: a first seal part (13) and a second seal part (14) that seal an anode chamber (S1) or a cathode chamber (S2); and a third seal part (15) that seals some of the plurality of flow paths (109) with respect to the anode chamber (S1) or the cathode chamber (S2). The gasket member (10) has a communication region (17) that communicates each of the through-holes (16a, 16c) with an internal space (10a). The support member (30) is provided in the communication region (17). An electrolyte membrane (104) is sandwiched between the second seal part (14) of the gasket member (10) of the first gasket (2) and the support member (30) of a second gasket (3).

WORK MACHINE

NºPublicación:  WO2026063269A1 26/03/2026
Solicitante: 
HITACHI CONSTRUCTION MACHINERY CO LTD [JP]
\u65E5\u7ACB\u5EFA\u6A5F\u682A\u5F0F\u4F1A\u793E
WO_2026063269_A1

Resumen de: WO2026063269A1

This work machine comprises: a fuel cell; an electric motor driven by electric power generated by the fuel cell; and a drain pipe line that is connected to the fuel cell and drains generated water generated by the fuel cell. The drain pipe line has a first drain pipe line and a second drain pipe line that guide the generated water to the outside. The first drain pipe line and the second drain pipe line are disposed so as to extend from the fuel cell to mutually opposite sides.

IONOMERS COMPOSITION, PROCESS OF PREPARATION AND APPLICATION IN PROTON EXCHANGE MEMBRANE FUEL CELLS

NºPublicación:  WO2026062698A1 26/03/2026
Solicitante: 
COUNCIL OF SCIENT & INDUSTRIAL RESEARCH [IN]
COUNCIL OF SCIENTIFIC & INDUSTRIAL RESEARCH
WO_2026062698_A1

Resumen de: WO2026062698A1

The present invention relates to the in-situ generation of low molecular weight ionomers to enhance the triple-phase boundary in a 3D structured carbon-supported catalyst and the process for its preparation and application thereof.

ADHESIVE COMPOSITION

NºPublicación:  WO2026063361A1 26/03/2026
Solicitante: 
SUMITOMO RIKO COMPANY LTD [JP]
\u4F4F\u53CB\u7406\u5DE5\u682A\u5F0F\u4F1A\u793E
WO_2026063361_A1

Resumen de: WO2026063361A1

This adhesive composition includes: an adhesive solution which comprises a dilution solvent and an adhesive component including one or more components selected from a silane coupling agent, an organic titanate compound, an aluminate-based coupling agent, and a zirconate-based coupling agent; and a slow-volatile solvent which is added separately from the adhesive solution, can dissolve the adhesive components therein, and has a vapor pressure at 20°C of 2.33 kPa or less. The slow-volatile solvent includes one or more components selected from methyl isobutyl ketone, ethylene glycol, diacetone alcohol, and ethyl cellosolve.

FUEL CELL STACK PURGING SYSTEM AND METHOD

NºPublicación:  WO2026060813A1 26/03/2026
Solicitante: 
DONGFENG MOTOR GROUP CO LTD [CN]
\u4E1C\u98CE\u6C7D\u8F66\u96C6\u56E2\u80A1\u4EFD\u6709\u9650\u516C\u53F8
WO_2026060813_A1

Resumen de: WO2026060813A1

The present invention relates to the technical field of fuel cell purging. Disclosed are a fuel cell stack purging system and method. The purging system comprises a purging device and a control unit, the purging device is separately connected to inlets and outlets of a hydrogen cavity, a water cavity and an air cavity in a fuel cell stack, the control unit is connected to the purging device, and is configured to control the purging device to purge the hydrogen cavity, the water cavity and the air cavity according to a first mode until the humidity of the fuel cell stack is not greater than a preset threshold, and then control the purging device to purge the hydrogen cavity, the water cavity and the air cavity according to a second mode until the humidity of the fuel cell stack is zero. In embodiment of the present invention, the control unit controls the purging device to perform purging according to two modes, so that gas can reach the interior of the fuel cell stack to purge liquid water accumulated at the bottom of the fuel cell stack, improving the purging efficiency.

SUBMICRON ULTRA-THIN SELF-SUPPORTING ION-CONDUCTING MEMBRANE, AND PREPARATION METHOD THEREFOR AND USE THEREOF

NºPublicación:  WO2026061260A1 26/03/2026
Solicitante: 
DALIAN INST OF CHEMICAL PHYSICS CHINESE ACADEMY OF SCIENCES [CN]
\u4E2D\u56FD\u79D1\u5B66\u9662\u5927\u8FDE\u5316\u5B66\u7269\u7406\u7814\u7A76\u6240
WO_2026061260_A1

Resumen de: WO2026061260A1

Disclosed in the present application are a submicron ultra-thin self-supporting ion-conducting membrane, and a preparation method therefor and the use thereof. The ion-conducting membrane is obtained by reacting an organic polymer resin with a cross-linking agent, and has a fully cross-linked structure; and there is no interface impedance between a separation layer and a support layer. The organic polymer resin is selected from polybenzimidazole polymers; and the cross-linking agent is selected from 4,4'-bis(chloromethyl)biphenyl and/or p-chloromethylbenzene. A reaction and diffusionless phase transformation method is used, and a portion that is not cross-linked or has a low degree of cross-linking is dissolved after the reaction, so as to prepare a submicron-sized ion-conducting membrane for flow batteries. A cross-linking reaction results in a more tightly packed polymer structure and a reduced membrane pore size, thereby mitigating the crossover of active materials in a flow battery and improving the coulombic efficiency of the battery; moreover, the reduced thickness of the membrane can effectively shorten the transport path of ions in the membrane, thereby improving the voltage efficiency of the battery.

PRESSURE CONTROL APPARATUS AND METHOD, SOLID FUEL CELL SYSTEM, AND CONTROL DEVICE

NºPublicación:  WO2026061177A1 26/03/2026
Solicitante: 
CHINA NUCLEAR POWER TECH RESEARCH INSTITUTE CO LTD [CN]
CGN POWER CO LTD [CN]
\u4E2D\u5E7F\u6838\u7814\u7A76\u9662\u6709\u9650\u516C\u53F8,
\u4E2D\u56FD\u5E7F\u6838\u7535\u529B\u80A1\u4EFD\u6709\u9650\u516C\u53F8
WO_2026061177_A1

Resumen de: WO2026061177A1

The present application relates to a pressure control apparatus and method, a solid fuel cell system, and a control device. The pressure control apparatus comprises a control device, a buffer container, and a pressure regulating device; the control device is used for acquiring pressure fluctuation information and temperature information of a working medium in a solid fuel cell system, and determining a control mode of the pressure control apparatus on the basis of the pressure fluctuation information and the temperature information; the pressure regulating device is used for controlling, under the control of the control device and on the basis of the control mode, the pressure of the working medium in the solid fuel cell system flowing through the buffer container. In embodiments of the present application, in the solid fuel cell system, due to the provision of the buffer container, when the pressure of the working medium in the solid fuel cell system fluctuates, the inherent space provided by the buffer container can provide a certain amount of buffer capacity, thereby buffering the pressure fluctuation. The pressure of the working medium flowing through the buffer container can also be controlled by controlling the pressure regulating device, thereby achieving a pressure fluctuation suppression effect.

STACK MODULE AND METHOD OF ITS USE

NºPublicación:  EP4713982A1 25/03/2026
Solicitante: 
ELCOGEN OY [FI]
Elcogen Oy
CN_121311982_PA

Resumen de: CN121311982A

The object of the invention is a stack module of a solid oxide cell stack comprising a fuel inlet manifold (150) and a fuel outlet manifold (152) between two adjacent stacks (103). The stack module comprises at least two stack bundles, each stack bundle comprising a row or matrix of stacks (103) connected in parallel to the manifolds (150, 152) through their fuel inlets and fuel outlets and a fuel inlet manifold (150) for supplying the stacks with fuel and a fuel outlet manifold (152) for collecting fuel gas from the stacks (103), the stack module being located within a gas-tight cover (169), the gas-tight cover (169) includes a desired interface into and out of the gas-tight cover (169), and a fuel gas flow characteristic in the manifold (150, 152) is optimized based on a pressure drop characteristic of the manifold (150, 152) and a stack connected in parallel therewith with a size of an aperture connecting the manifold and the stack, and the stack is electrically isolated from the fuel manifold structure (150, 152) with an electrical isolation structure (172), the stack module includes a side sealing scheme (166) between adjacent stacks (103a) of the bundle of stacks and between the stack (103b) at the end of the bundle and a hermetic cover (169), the side sealing scheme (166) preventing air from flowing directly from the inlet chamber to the outlet chamber without flowing through the stacks, the side sealing scheme being electrically isolated, and the stack bundle comprise

アンモニア供給システム、水素生産システム、無炭素発電システム、および燃料電池システム

NºPublicación:  JP2026053309A 25/03/2026
Solicitante: 
エスケーイノベーションカンパニーリミテッド
JP_2026053309_A

Resumen de: US20260070782A1

Disclosed are an ammonia supply system, a hydrogen production system, a carbon-free power generation system and a fuel cell system. The ammonia supply system includes an ammonia supply unit; an ammonia demand unit; a connection line that connects the ammonia supply unit and the ammonia demand unit; a hydrogen supply unit; and one or more first hydrogen supply lines that connect the hydrogen supply unit and the connection line, and are configured to supply a hydrogen gas stream, wherein the connection line includes a first pipe controlled to an average temperature of 410° C. or lower and a second pipe controlled to an average temperature of greater than 410° C., and the second pipe includes a nickel-based alloy (NT) satisfying Equation 1 below.T≤15⁢µmEquation⁢1

IMPROVED PRODUCTION OF REACTION PRODUCTS FROM AN ELECTROSYNTHETIC REACTION

NºPublicación:  EP4713308A2 25/03/2026
Solicitante: 
QUINO ENERGY INC [US]
Quino Energy, Inc
CN_121153128_PA

Resumen de: CN121153128A

Conventional redox flow batteries may be limited by the solubility of raw materials used to form negative electrode electrolytes. Disclosed herein are methods for improving the solubility of a negative electrode electrolyte feedstock by conversion to a more soluble compound that retains the desired reactivity with a negative electrode electrolyte reagent under operating conditions.

PROTON CONDUCTOR, MEMBRANE ELECTRODE ASSEMBLY, ELECTROCHEMICAL CELL AND FUEL CELL STACK

NºPublicación:  EP4715843A1 25/03/2026
Solicitante: 
PANASONIC HOLDINGS CORP [JP]
Panasonic Holdings Corporation
EP_4715843_PA

Resumen de: EP4715843A1

A proton conductor of the present disclosure contains a compound represented by a chemical formula BaaZr1-x-yYbxCuyO3-δ. In the chemical formula, 0.95 ≤ a ≤ 1.05, 0.1 ≤ x ≤ 0.4, 0.01 < y < 0.20, and 0 < δ ≤ 0.65 are satisfied. An electrolyte film 10 of the present disclosure contains the proton conductor of the present disclosure.

ELECTRO-SYNTHETIC OR ELECTRO-ENERGY CELL, SYSTEM, AND METHOD OF OPERATION

NºPublicación:  EP4713981A1 25/03/2026
Solicitante: 
HYSATA PTY LTD [AU]
Hysata Pty Ltd
CN_121359271_PA

Resumen de: CN121359271A

Electrosynthetic or electrical energy batteries and systems that exhibit low impedance despite employing poorly conductive liquid electrolytes, as well as methods of operating such batteries and systems, are disclosed. In one example, an electrosynthesis or power cell is provided that includes a first electrode, a second electrode, and a liquid flow channel positioned between the first electrode and the second electrode. The liquid flow channel supplies a liquid electrolyte, and the liquid flow channel is narrow. A porous spacer, which may be a porous capillary spacer, may be positioned in the liquid flow channel. In another example, a method of operating a battery is provided that includes filling a flow channel with a highly conductive liquid electrolyte and applying a potential difference between a first electrode and a second electrode. During operation of the battery, a poorly conductive liquid electrolyte flows through the flow channel.

ADDITIVES FOR IMPROVED ELECTROLYZER DURABILITY

NºPublicación:  EP4713506A1 25/03/2026
Solicitante: 
LUBRIZOL CORP [US]
The Lubrizol Corporation
CN_121152901_A

Resumen de: CN121152901A

The disclosed technology relates to a composition for mitigating hydrogen penetration and mitigating polymer oxidation by adding a radical scavenging organic inhibitor within an anion exchange membrane ("AEM") electrolysis cell.

ADDITIVES FOR IMPROVED ELECTROLYZER DURABILITY

NºPublicación:  EP4713505A1 25/03/2026
Solicitante: 
LUBRIZOL CORP [US]
The Lubrizol Corporation
CN_121152901_A

Resumen de: CN121152901A

The disclosed technology relates to a composition for mitigating hydrogen penetration and mitigating polymer oxidation by adding a radical scavenging organic inhibitor within an anion exchange membrane ("AEM") electrolysis cell.

BIPOLAR PLATE

NºPublicación:  EP4713979A1 25/03/2026
Solicitante: 
SCHAEFFLER TECHNOLOGIES AG [DE]
Schaeffler Technologies AG & Co. KG
KR_20260003035_PA

Resumen de: CN120917587A

The invention relates to a bipolar plate (1) for an electrochemical system, having a rectangular basic shape, in which three ports (11, 12, 13, 14, 15, 16), in particular two working agent ports (11, 13, 14, 16) and one coolant port (12, 15), are arranged adjacent to one another on each of the plate narrow sides (4, 5), the coolant port (12, 15) being located between the working agent ports (11, 13, 14, 16), and the coolant port (12, 15) being located between the working agent ports (11, 13, 14, 16). The plate (1) has a plate longitudinal side (2, 3) and has a port longitudinal side (18) aligned in parallel with the plate narrow side (4, 5), and each working agent port (11, 13, 14, 16) has a port longitudinal side (20) aligned in parallel with the plate longitudinal side (2, 3), with a rectangular effective field (10) positioned between three ports (11, 12, 13) on one plate narrow side (4) and three ports (14, 15, 16) on the opposite plate narrow side (5), the active field (10) has two active field longitudinal sides (22, 22 '), each of which is arranged parallel to the plate longitudinal sides (2, 3); the effective field (10) has linear channels (10a) for guiding the flow of the working agent and the coolant parallel to the effective field longitudinal sides (22, 22 '). The product of the length (L18) of the port longitudinal side (18) of the coolant port (12, 15) and the length (L20) of the port longitudinal side (20, 20 ') of one of the two working agent ports (11, 13, 14,

FUEL CELL SYSTEM WITH IMPROVED HUMIDIFIER

NºPublicación:  EP4713980A1 25/03/2026
Solicitante: 
PLASTIC OMNIUM NEW ENERGIES FRANCE [FR]
PLASTIC OMNIUM NEW ENERGIES FRANCE
KR_20260015143_PA

Resumen de: CN120981947A

A fuel cell system (2) comprising:-a fuel cell stack (4) comprising an anode (6) and a cathode (8),-a cathode supply device (20) arranged for providing a gas comprising air and water to a cathode inlet (8a),-an air compressor (22) arranged between said cathode supply device (20) and said cathode (8),-first and second dosing devices (42a, 42b) arranged for dosing the gas,-a first dosing device (42a) and a second dosing device (42b) arranged for dosing the gas to the cathode inlet (8a),-a second dosing device (42b) arranged for dosing the gas to the cathode inlet (8a), and-a second dosing device (42b) arranged for dosing the gas to the cathode inlet (8a). The first dosing device (42a) is configured to inject water upstream of the air compressor (22) and the second dosing device (42b) is configured to inject water downstream of the air compressor (22), and-a heat exchanger (24) arranged upstream of the air compressor (22), the heat exchanger (24) is arranged to receive heat from a cooling circuit of the fuel cell stack (4) and/or from a motor of the air compressor (22).

A MEMBRANE ELECTRODE ASSEMBLY AND A METHOD FOR THE MANUFACTURE THEREOF

NºPublicación:  EP4713978A1 25/03/2026
Solicitante: 
GORE & ASS [US]
GORE W L & ASS GMBH [DE]
W L GORE & ASS G K [JP]
W. L. Gore & Associates, Inc,
W. L. Gore & Associates GmbH,
W. L. Gore & Associates G.K
KR_20260025088_PA

Resumen de: WO2024236080A1

There is provided a membrane electrode assembly (MEA) for an electrochemical devices, such as for fuel cells and electrolyzers, particularly for polymer electrolyte membrane (PEM) fuel cells, said membrane electrode assembly comprising a composite electrolyte membrane comprising a reinforced electrolyte layer comprising at least one porous support, the porous support being at least partially imbibed with a first ion exchange material; and a first electrode comprising a reinforced electrode layer comprising a porous support, the porous support being at least partially imbibed with a first catalyst and a second ion exchange material, wherein the composite electrolyte membrane is in contact with the first electrode. Also provided is a composite electrolyte membrane, which can be used in the manufacture of the membrane electrode assembly and a fuel cell and electrolyzer comprising such a membrane electrode assembly. A method for the manufacture of the membrane electrode assembly, and a membrane electrode assembly obtainable by such a method are also disclosed.

SEPARATOR, ELECTROCHEMICAL CELL, STACK, AND APPARATUS

NºPublicación:  EP4715912A1 25/03/2026
Solicitante: 
TOSHIBA ELEVATOR KK [JP]
Toshiba Elevator Kabushiki Kaisha
EP_4715912_PA

Resumen de: EP4715912A1

A separator according to an embodiment includes a first flow channel comprising flow-channel grooves and connecting a first location and a second location. The first flow channel has a serpentine flow channel shape. The midpoint in a length direction of the first flow channel is defined as the boundary. A range from the boundary to the first location side is defined as the first half. A range from the boundary to the second location side is defined as the second half. A turnaround area is included in the first half of the first flow channel. A turnaround area is included in the second half of the first flow channel that has a flow channel pattern different from that in the first half of the first flow channel.

FERRITIC STAINLESS STEEL FOR SOLID OXIDE ELECTROCHEMICAL CELLS

NºPublicación:  EP4715079A1 25/03/2026
Solicitante: 
JFE STEEL CORP [JP]
JFE Steel Corporation
EP_4715079_PA

Resumen de: EP4715079A1

Stainless steel that has excellent oxidation resistance, resistance to Cr poisoning, and electrical conductivity not only in the operating environments of SOFCs but also in the operating environments of SOECs. The chemical composition is appropriately controlled, in particular, to Al: 0.60 mass% to 1.50 mass%, Nb: 0.20 mass% to 0.45 mass%, Cr: 20.0 mass% to 30.0 mass%, and Si: 0.05 mass% to 0.50 mass%, and the relationships of the following expressions (1) and (2) are satisfied: 0.03 × Cr + Al ≤ 2.20 ...(1), 0.44 × Si + Al ≤ 1.52 ...(2).

Electrode

NºPublicación:  GB2700877A 25/03/2026
Solicitante: 
DENSO CORP [JP]
Denso Corporation
US_2025293266_PA

Resumen de: GB2700877A

An electrode comprising particles of Gd-doped cerium oxide (GDC) and/or gadolinium and lanthanum-doped ceria (La-GDC), and particles comprising a core of Ni or nickel-based alloy fully or partially coated with a composite oxide shell containing NiO or Ni. An area ratio of the shell to the core in a cross-section of the electrode may be greater than 0 and equal to or less than 0.98. The shell may include an area having a thickness equal to or less than 200 nm. The Gd content may be greater than 0 and less than or equal to 20 mol% relative to the total number of moles of Ce and Gd in GDC. The Gd content may be greater than 0 and less than or equal to 10 mol% relative to the total number of moles of Ce, Gd and La in La-GDC. The Ni content may be between 30 and 70 mass% relative to the total mass of particles. The electrode porosity may be between 20 and 40 %. The electrode may be used as a fuel electrode in a solid oxide fuel or electrolyser cell. Figure 1

SOLID ELECTROLYTE LAYER, ELECTROCHEMICAL CELL, ELECTROCHEMICAL CELL DEVICE, MODULE, AND MODULE STORAGE DEVICE

NºPublicación:  EP4715914A1 25/03/2026
Solicitante: 
KYOCERA CORP [JP]
Kyocera Corporation
EP_4715914_PA

Resumen de: EP4715914A1

A solid electrolyte layer includes a plurality of electrolyte particles, each of the electrolyte particles containing an oxide, and a plurality of pores. The plurality of electrolyte particles includes a first particle and a second particle. The plurality of pores includes a first pore and a second pore. The first pore is in contact with the first particle. The second pore is inside the second particle.

SEPARATOR, ELECTROCHEMICAL CELL, AND APPARATUS

NºPublicación:  EP4715910A1 25/03/2026
Solicitante: 
TOSHIBA KK [JP]
KABUSHIKI KAISHA TOSHIBA
EP_4715910_PA

Resumen de: EP4715910A1

A separator including a flow channel 10 comprising a first flow-channel wall, a second flow-channel wall, a first flow-channel groove between the first flow-channel wall and the second flow-channel wall, and one or more first blocking walls in the first flow-channel groove. The first blocking walls close off a portion of the latter half of the first flow-channel groove.

ADDITIVES FOR ELECTROCHEMICAL FLOW REACTORS

NºPublicación:  EP4715913A1 25/03/2026
Solicitante: 
SERVICES PETROLIERS SCHLUMBERGER [FR]
SCHLUMBERGER TECHNOLOGY BV [NL]
Services P\u00E9troliers Schlumberger,
Schlumberger Technology B.V
EP_4715913_PA

Resumen de: EP4715913A1

An electrochemical reactor, which may be a half-cell of a rechargeable battery, contains a liquid electrolyte which is pumped through the half-cell and has an electrochemical system in which a solid is deposited at an electrode while electric current is flowing. The liquid contains a high molecular weight polymer or a viscoelastic surfactant enabling elastic turbulence to occur and the half-cell is configured to compel through flow to make changes in direction, so that elastic turbulence occurs, enhancing mass transport through the liquid and reducing overpotential at the electrode, which enhances uniformity of deposited solid and inhibits parasitic reactions.

SEPARATOR, ELECTROCHEMICAL CELL, AND ELECTROLYTIC DEVICE

NºPublicación:  EP4715911A1 25/03/2026
Solicitante: 
TOSHIBA KK [JP]
KABUSHIKI KAISHA TOSHIBA
EP_4715911_PA

Resumen de: EP4715911A1

A separator according to an embodiment including: a flow channel comprising flow-channel walls and flow-channel grooves provided between the flow-channel walls; a supply manifold; an exhaust manifold; a supply connection channel connecting one end of the flow channel to the supply manifold; and an exhaust connection channel connecting the other end of the flow channel to the exhaust manifold. The supply connection channel or/and the exhaust connection channel comprise one or more first protrusion-wall groups including first protrusion-walls and one or more second protrusion-wall groups including second protrusion-walls. The first protrusion-walls are aligned in a second direction which is a vertical direction relative to a first direction which is parallel to the flow-channel grooves at the end portion of the flow channel. The second protrusion-walls are aligned in a second direction. The first protrusion-wall groups and the second protrusion-wall groups are aligned in the first direction. The second protrusion-wall groups are offset in the second direction from the first protrusion-wall groups.

電力制御方法

NºPublicación:  JP2026053552A 25/03/2026
Solicitante: 
株式会社フジタ
JP_2026053552_A

Resumen de: US2025167559A1

The electric power control system includes an electric power generation mechanism using renewable energy, a first DC bus line connected to the electric power generation mechanism and corresponding to a first voltage, a DC/DC converter connected to the first DC bus line and capable of converting the first voltage into a second voltage lower than the first voltage, a second DC bus line connected to the DC/DC converter and corresponding to the second voltage, a power generation apparatus electrically connected to the second DC bus line, and a power generation fuel generation apparatus electrically connected to the second DC bus line and connected to the power generation apparatus to generate fuel for use in power generation in the power generation apparatus.

電解セルスタックおよび電解装置

NºPublicación:  JP2026052912A 25/03/2026
Solicitante: 
株式会社東芝
JP_2026052912_A

Resumen de: JP2026052912A

【課題】電解セルスタックからのガスのリークを抑制する。【解決手段】電解セルスタックは、複数の電解セルを含む積層体と、第1方向に積層体を貫通して設けられ、複数の電解セルを固定する締め具と、締め具に接して設けられ、締め具に接して冷却流体が流れる流路と、を具備する。冷却流体の温度は、電解セルスタックの運転温度よりも低い。【選択図】図5

電気合成又は電気エネルギー液体ガスセル又はセルスタックのためのバランスオブプラント

NºPublicación:  JP2026509887A 25/03/2026
Solicitante: 
ハイサタ・ピーティーワイ・リミテッド
JP_2026509887_A

Resumen de: CN121100420A

Gas pressure equalization systems (400-401) and methods of operation for electrosynthetic or electrical energy liquid gas cells or cell stacks (210) are disclosed in one example. The gas pressure equalization systems (400-401) include a first pressure equalization tank (410) for partially containing a first liquid (470) and a first gas. The first gas is positioned above a first liquid level (471). A first gas conduit (430) is provided for transporting the first gas between the battery or battery stack (210) and the first pressure equalization tank (410). In another example, a second pressure equalization tank (420) may additionally be provided for partially containing a second liquid (473) and a second gas positioned above a second liquid level (472). A second gas conduit (440) is then provided for conveying the second gas between the cell or cell stack (210) and the second pressure equalization tank (420).

強化イオン伝導性膜

NºPublicación:  JP2026509703A 25/03/2026
Solicitante: 
ジョンソンマッセイハイドロジェンテクノロジーズリミテッド
JP_2026509703_A

Resumen de: CN120476490A

The present invention provides a reinforced ion conducting membrane comprising: (a) a reinforcement layer comprising a porous polymer structure; and (b) a polymer ion conducting membrane material impregnated within the porous polymer structure; wherein the porous polymer structure comprises a polymer backbone based on a nitrogen-containing heterocyclic ring, and the polymer ion-conducting membrane material has a transition temperature T alpha in the range of from 60 DEG C to 80 DEG C and including end values.

カソード電極

NºPublicación:  JP2026053583A 25/03/2026
Solicitante: 
キッコーマン株式会社
JP_2026053583_A

Resumen de: JP2021197365A

To provide a cathode electrode that can be used in fuel cells.SOLUTION: A cathode electrode combining reductase and amorphous carbon, a fuel cell including the same, and a method of power generation are provided.SELECTED DRAWING: None

腐食抑制システム、無炭素発電システム、および燃料電池システム

NºPublicación:  JP2026053311A 25/03/2026
Solicitante: 
エスケーイノベーションカンパニーリミテッド
JP_2026053311_A

Resumen de: US20260074250A1

A corrosion-resistant system, a carbon-free power generation system, and a fuel cell system are provided. The corrosion-resistant system includes an ammonia supply unit; a first conduit connected to the ammonia supply unit; an ammonia decomposition unit comprising a chamber connected to the first conduit; and a second conduit connected to the chamber, wherein an operating temperature of the chamber is 410° C. or lower, the first conduit and the chamber comprise at least one selected from the group consisting of carbon steel, low alloy steel, stainless steel and a nickel-based alloy, and the second conduit comprises a nickel-based alloy (NT) satisfying Equation 1: T≤15 μm.

PROTON EXCHANGE MEMBRANE AND CATALYST-COATED PROTON EXCHANGE MEMBRANE

NºPublicación:  EP4713509A1 25/03/2026
Solicitante: 
UOP LLC [US]
UOP LLC
KR_20260012274_PA

Resumen de: CN121358894A

Proton exchange membranes are described. The proton exchange membrane includes: a reinforcing membrane; a continuous non-porous hydrogen recombination catalyst coating, the continuous non-porous hydrogen recombination catalyst coating comprising a mixture of a hydrogen recombination catalyst and a proton conducting ionomer; and a continuous non-porous cross-linked polyelectrolyte multilayer coating, the continuous non-porous cross-linked polyelectrolyte multilayer coating comprising alternating layers of a polycationic polymer and a polyanionic polymer. Catalyst coated membranes incorporating proton exchange membranes and methods of making proton exchange membranes are also described.

一种燃料电池巡检器滤波控制方法

NºPublicación:  CN121726451A 24/03/2026
Solicitante: 
武汉海亿新能源科技有限公司
CN_121726451_PA

Resumen de: CN121726451A

本发明公开了一种燃料电池巡检器滤波控制方法,涉及燃料电池巡检滤波技术领域,包括采集第k片单片电池对应的单片电压值Uk,并将Uk保存至数据缓存器;Uk与前一通道Uk‑1作比较,判断是否满足Uk‑Uk‑1≤ΔU,如果不满足则第k片单片电池对应电压采集通道数Nk=0,当前单片电压值即为采集值Uk,Nk=Nk+1,Nk为第k片单片电池对应电压采集通道数,切换进入下一通道单片电压采集;通道计数器判断是否满足Nk≥3,如满足则第k片单片电池对应电压采集通道数Nk=0,当前单片电压值即为采集值Uk,如不满足,以前三个通道平均值为当前单片电压值即Uk=(Uk‑1+Uk‑2+Uk‑3)/3;最后将Uk值刷新至数据处理缓存器;本申请中的技术方案通过延时处理进行滤波,针对“奇异值”的瞬变性特征做甄别,进一步来减少单低故障的误触发,提高系统的稳定性,减少巡检器采集电压值的波动。

一种方便安装的氢燃料电池双极板

NºPublicación:  CN121726436A 24/03/2026
Solicitante: 
锦宜(绵阳)氢能科技有限公司
CN_121726436_PA

Resumen de: CN121726436A

本发明公开了一种方便安装的氢燃料电池双极板,包括双极板和锥形套,双极板四角均贯穿设置有锥形套,锥形套底部卡接有可上下活动的连接台,上下相邻的连接台首尾相接以连接多个双极板,连接台中部固定有连接筒,连接筒顶部为直径小于连接筒内径的对接头,对接头顶部转动设置有旋转头,连接筒内部开设有引导槽,旋转头两侧固定有与引导槽适配的滑块,引导槽顶部开设有与引导槽垂直的矫正口,连接筒顶部内壁固定有多个矫正头,本发明通过按压动作,即可完成多块双极板之间连接台的对接与旋转互锁,将对接的下压力转化为旋转头的旋转力,使滑块滑入矫正口实现锁定,无需额外工具,实现了快速安装,缩短了电堆的装配时间。

燃料电池组

NºPublicación:  CN121726470A 24/03/2026
Solicitante: 
丰田自动车株式会社
CN_121726470_PA

Resumen de: CN121726470A

本发明提供燃料电池组。多个燃料电池单体分别具备:具备开口部的树脂制的框体;配置于开口部的膜电极接合体;以及隔着框体及膜电极接合体而相互对置的第一及第二隔板。燃料电池组具备第一歧管孔。框体具有划定第一歧管孔的框体内缘。第一隔板具有划定第一歧管孔的第一隔板内缘、沿着第一隔板内缘配置的平坦部、形成多个气体通路的凹凸部、以及平坦部与凹凸部的边界线。在通过将边界线向第一隔板内缘侧离开而得到的线来规定出确定线时,框体内缘位于比确定线远离第一歧管孔的一侧的位置。

用于燃料电池系统的端板构件和燃料电池系统

NºPublicación:  CN121729772A 24/03/2026
Solicitante: 
罗伯特·博世有限公司
CN_121729772_PA

Resumen de: WO2025030474A1

An end-plate member for a fuel cell system. The end-plate member comprises an end-plate main body and a heat exchange structure located in the end-plate main body. The end-plate member is configured to be shared by a first galvanic pile assembly and a second galvanic pile assembly of a fuel cell system, and at least allocate a first reactive fluid and a coolant to a first pile of the first galvanic pile assembly and to a second pile of the second galvanic pile assembly. The end-plate member is further configured to enable the first reactive fluid to exchange heat with part of the coolant before the first reactive fluid and the coolant are allocated to the first pile and the second pile. In the fuel cell system which comprises the end-plate member, the number of components and tubes of the fuel cell system can be significantly reduced, thereby reducing the complexity of the fuel cell system, improving the level of integration of the fuel cell system and reducing the space occupied by same.

一种基于有机硅钼酸盐的钒电池负极电解液及其应用

NºPublicación:  CN121726462A 24/03/2026
Solicitante: 
成都先进金属材料产业技术研究院股份有限公司
CN_121726462_PA

Resumen de: CN121726462A

本发明属于全钒液流电池电解液技术领域,具体为一种基于有机硅钼酸盐的钒电池负极电解液及其应用。本发明提供的钒电池负极电解液的成分包括钒离子、支持电解质和有机硅钼酸盐添加剂;所述有机硅钼酸盐添加剂为TBA4SiMo12O40和/或BMIM4SiMo12O40。本发明将有机硅钼酸盐添加到钒电池负极电解液中,有效提升了钒电池负极电解液在低温下的稳定性,拓展了钒电池的温度适应区间。

一种适用于含硫燃料的固体氧化物燃料电池的电极催化剂

NºPublicación:  CN121726428A 24/03/2026
Solicitante: 
佛山大学
CN_121726428_PA

Resumen de: CN121726428A

本发明属于固体氧化物燃料电池技术领域,具体涉及一种适用于含硫燃料的固体氧化物燃料电池的电极催化剂。本申请通过流延‑相转化法与真空辅助浸渍工艺,制备直孔+球形孔复合结构NiMo‑YSZ电极催化剂;所得催化剂中的复合孔结构提升传质效率与比表面积,Mo凭借“表面选择性吸附+体相化学固硫”双重机制主动捕硫,且可动态再生。其能将H2S从120ppm降至14ppm,去除率达88%;在分别含硫氢气和甲醇中300小时运行,性能稳定性分别提升160%和125%,衰退速率低至0.4mV/小时,再生恢复98%初始性能,突破“活性‑稳定性”权衡瓶颈,为含硫碳氢燃料SOFC的高效稳定应用提供可靠支撑。

一种NiCuM/C氨氧化催化剂及其制备方法和应用

NºPublicación:  CN121726427A 24/03/2026
Solicitante: 
浙江省白马湖实验室有限公司
CN_121726427_PA

Resumen de: CN121726427A

本发明涉及工业催化技术领域,公开了一种NiCuM/C氨氧化催化剂及其制备方法和应用,制备方法包括如下步骤:将Ni盐、Cu盐和M金属盐溶于乙醇得到混合溶液A;将草酸溶解于乙醇中,并加入炭黑,搅拌分散均匀,得到混合溶液B;混合溶液A缓慢滴加到混合溶液B中,搅拌反应得到固体产物,经过滤、洗涤、干燥后,惰性气氛下热处理,得到NiCuM/C氨氧化催化剂。本发明以乙醇为溶剂的草酸共沉淀法,将金属组分直接沉积负载于碳载体上,省去了pH调节过程和后续制备浆料的碳掺杂过程,制备工艺流程简单;得到的催化剂各成分协同作用,电化学活性表面积大,在室温的氨氧化反应中表现出较高的电流密度和良好的稳定性。

一种壳聚糖基两性离子膜及其制备方法和应用

NºPublicación:  CN121718178A 24/03/2026
Solicitante: 
广西师范大学
CN_121718178_PA

Resumen de: CN121718178A

本发明公开了一种壳聚糖基两性离子膜及其制备方法和应用。该薄膜具有由两性离子化壳聚糖衍生物化学交联网络与聚乙烯醇物理交联网络构成的互穿网络结构。所述两性离子化壳聚糖衍生物是通过对壳聚糖主链进行梯度季铵化、选择性氧化引入羧基以及二次季铵化引入额外阳离子基团而制得。其制备方法包括:制备壳聚糖季铵盐前驱体,分别进行氧化和二次季铵化改性,将两种改性产物混合化学交联,再与聚乙烯醇物理交联成膜。本发明薄膜兼具高离子电导率(室温OH‑电导率20‑150 mS cm‑1)、高机械强度(断裂伸长率>120%)和良好的化学稳定性,且原料成本低、工艺简单,在二氧化碳电催化还原、液流电池等领域具有广阔应用前景。

一种燃料电池的双极板结构

NºPublicación:  CN121726441A 24/03/2026
Solicitante: 
国鸿氢能科技(嘉兴)股份有限公司
CN_121726441_PA

Resumen de: CN121726441A

本发明属于燃料电池技术领域,提供一种燃料电池的双极板结构,在双极板板体上设有气体进口区、气体出口区、气体分配区和气体流场区,所述气体分配区和气体流场区设于所述气体进口区与所述气体出口区之间,所述气体分配区设于所述气体流场区的两侧。本申请的燃料电池的双极板结构,其对气体分配区和气体流场区的结构进行优化设计,使得气体经过气体分配区时能及时打散并扩散开来,确保进入流场区时气体分布更加的均匀;同时使得气体在流经气体流场区时产生气体波动,增加气体的传质效果,进而提高整个燃料电池电堆的工作性能。

铜片-石墨复合双极板的制备方法、双极板及液流电池

NºPublicación:  CN121726439A 24/03/2026
Solicitante: 
湖南耕驰新能源科技有限公司
CN_121726439_A

Resumen de: CN121726439A

本发明提供了一种铜片‑石墨复合双极板的制备方法、双极板及液流电池,该双极板由铜片与石墨复合层经注塑工艺复合而成。其制备方法包括对铜片表面经预处理、质子化、硅烷水解液反应等处理,得到表面接枝硅烷化的铜片;制作石墨树脂复合材料;将表面接枝硅烷的铜片放入模具型腔,并将石墨树脂复合材料注入模具,注塑成型得到铜片‑石墨复合一体化双极板。由此制备的双极板有效解决了金属石墨复合双极板现有技术难以同时实现的强度提升与降低接触电阻的平衡技术问题,且耐电解液腐蚀性优异,可广泛应用于液流电池双极板精密制造技术领域。

一种燃料电池金属极板及其镀层加工工艺

NºPublicación:  CN121718873A 24/03/2026
Solicitante: 
中国重汽集团济南动力有限公司
CN_121718873_PA

Resumen de: CN121718873A

本发明涉及燃料电池金属极板技术领域,具体涉及一种燃料电池金属极板及其镀层加工工艺,包括如下步骤:(1)在燃料电池金属极板表面沉积Me,形成Me打底层;(2)在Me打底层上沉积MexC1‑x,形成第一功能层;(3)对燃料电池金属极板的反应区进行掩板遮罩,在第一功能层上对应分配区的位置沉积DLC:H/DLC:F,形成第二功能层。本发明在燃料电池金属极板表面沉积Me打底层,增强膜基结合力;在Me打底层上沉积Me和C梯度共沉积的第一功能层,增强基体的耐腐蚀性能和导电性能;使用掩板遮罩反应区,对分配区沉积第二功能层,能够使极板在反应区拥有良好导电性的同时,提升基体分配区的疏水特效,间接提升了耐腐蚀性能。

一种全钒液流储能厂房的排氢系统

NºPublicación:  CN121726453A 24/03/2026
Solicitante: 
上海勘测设计研究院有限公司
CN_121726453_PA

Resumen de: CN121726453A

本申请实施例提供了一种全钒液流储能厂房的排氢系统,全钒液流储能厂房中放置有全钒液流电池,全钒液流电池在运行时产生氢气,全钒液流储能厂房的排氢系统通过设置与全钒液流电池连接的氢气收集管路与排放组件进行直接导排,并通过在全钒液流储能厂房顶部安装检测清理组件实时监测氢气浓度,联动排气风机根据浓度切换运行状态以实现按需排风,共同构成了双重排氢路径。此外,通过第一驱动机构驱动氢气检测件伸缩及第二驱动机构在其回缩时进行擦拭,保障了氢气浓度数据的准确性。在显著提升安全性的同时优化了运行能效。

PI-原位功能化双金属MOF/磷酸质子交换膜及制备方法、水系有机液流电池

NºPublicación:  CN121726460A 24/03/2026
Solicitante: 
西安热工研究院有限公司华能罗源发电有限责任公司
CN_121726460_PA

Resumen de: CN121726460A

本公开提供一种PI‑原位功能化双金属MOF/磷酸质子交换膜及制备方法、水系有机液流电池。制备方法包括在极性溶剂中依次加入二胺单体和二酐单体搅拌反应,形成黏稠聚酰胺酸纺丝液;将纺丝液进行静电纺丝处理得到PAA纤维膜;将PAA纤维膜进行梯度升温亚胺化得到PI静电纺丝纤维膜;对PI静电纺丝纤维膜进行等离子体预处理,得到表面活化的PI静电纺丝纤维膜,采用溶剂热原位生长法将磺化改性双金属MOF反应液与PI静电纺丝纤维膜置于反应釜中反应,得到PI@磺化改性双金属MOF复合纤维膜;将PI@磺化改性双金属MOF复合纤维膜浸入含硅烷偶联剂的磷酸溶液中浸泡处理,再经热压致密化和干燥处理,得到PI原位功能化双金属MOF/磷酸复合质子交换膜。

一种用于燃料电池的加湿装置及其使用方法

NºPublicación:  CN121726445A 24/03/2026
Solicitante: 
合肥综合性国家科学中心能源研究院(安徽省能源实验室)
CN_121726445_PA

Resumen de: CN121726445A

本发明公开一种用于燃料电池的加湿装置及其使用方法,属于燃料电池技术领域。所述用于燃料电池的加湿装置包括双重加湿系统,所述双重加湿系统包括一次加湿装置和二次加湿装置,一次加湿装置输出的一次加湿气体经过二次加湿装置进一步加湿后排出所述双重加湿系统。本发明的用于燃料电池的加湿装置采用超声波加湿结合膜加湿的方法,形成一种双重加湿系统,超声波加湿装置用于提供用于气体使用的大容量湿气,膜加湿装置负责在相对稳定的条件下提供对加湿效果进行精确调节。

一种固体氧化物燃料电池及其制备方法

NºPublicación:  CN121726458A 24/03/2026
Solicitante: 
福赛尔(武汉)集成有限公司
CN_121726458_PA

Resumen de: CN121726458A

本申请涉及一种固体氧化物燃料电池及其制备方法,包括:片体基板,固定在片体基板正反两面的第一电池单体和第二电池单体;第一电池单体和第二电池单体均包括依次层叠连接的多孔支撑层、阳极功能层、电解质层和阴极功能层;片体基板连接于第一电池单体的多孔支撑层和所述第二电池单体的多孔支撑层之间;片体基板上开设有分隔槽,分隔槽与第一电池单体和第二电池单体之间共同形成燃料气流道。本申请接入燃料气的管路可与燃料气流道接通后,燃料气只在燃料气流道内流动,该燃料气流道具有良好的密封性能。且多孔支撑层、阳极功能层、电解质层和阴极功能层均为逐层印刷成型的平面片体,制作难度小,便于工业化大规模制作,降低生产成本。

一种船用燃料电池与制氮集成系统及其操作方法

NºPublicación:  CN121726454A 24/03/2026
Solicitante: 
中科嘉鸿(佛山市)新能源科技有限公司
CN_121726454_PA

Resumen de: CN121726454A

本申请公开了一种船用燃料电池与制氮集成系统及其操作方法,涉及船舶动力与辅助领域。系统包括高温甲醇燃料电池系统与制氮机,燃料电池系统的阴极排气口通过第一管路与制氮机的原料气进气口连通,制氮机的富氧气排放口通过第二管路与燃料电池系统的阴极进气口连通,还包括中央控制器以协同控制设备运行。方法包括启动预热系统至满足反应条件,稳定运行后,将阴极高浓度氮气尾气经第一管路送制氮机作原料气,制氮机分离出高纯度氮气供船舶使用,同时产生富氧气体,富氧气体经第二管路回送燃料电池阴极作氧化剂,中央控制器根据实时工况动态调控。本发明通过气体循环利用,提升燃料电池输出功率密度与电压效率,降低制氮机能耗与分离负荷。

一种配位调控型高稳定水系有机液流电池及其制备方法

NºPublicación:  CN121726461A 24/03/2026
Solicitante: 
西安热工研究院有限公司华能罗源发电有限责任公司
CN_121726461_PA

Resumen de: CN121726461A

本公开提供一种适配火电储能调频的配位调控型高稳定水系有机液流电池及其制备方法。制备方法包括:在有机阳极活性物质和阳极配位调节剂中加入脱氧去离子水,通入惰性气体,搅拌处理并加入pH调节剂调节溶液pH,搅拌处理形成阳极电解液;在有机阴极活性物质与阴极配位调节剂中加入脱氧去离子水,通入惰性气体搅拌处理,并加入支持电解质搅拌处理,形成阴极电解液;将离子交换膜浸入改性液中经搅拌处理得到改性膜;将改性膜浸入碱金属溶液中浸泡处理激活离子交换位点;将电极浸入掺杂液中分散处理、干燥处理得到掺杂后的电极,以该掺杂后的电极为工作电极,铂片为对电极、饱和甘汞电极为参比电极,在H2SO4溶液中进行循环伏安活化。

一种质子交换膜电极及其制备方法与质子交换膜燃料电池

NºPublicación:  CN121726422A 24/03/2026
Solicitante: 
北汽福田汽车股份有限公司
CN_121726422_A

Resumen de: CN121726422A

本公开涉及一种质子交换膜电极及其制备方法与质子交换膜燃料电池,该质子交换膜电极包括催化层,所述催化层包含复合吸湿剂,所述复合吸湿剂包括内核和壳层,所述内核包括微晶纤维素,所述壳层包括沸石咪唑有机框架材料。本公开的膜电极可以实现在干工况下长期稳定运行,质子交换膜燃料电池具有优异的耐久性。

一种氢燃料电池电堆

NºPublicación:  CN121726469A 24/03/2026
Solicitante: 
上海氢盛创合能源科技有限公司
CN_121726469_PA

Resumen de: CN121726469A

本申请公开了一种氢燃料电池电堆,涉及燃料电池技术领域。本申请通过在氢气进口处设置螺旋装置,使循环氢中夹带的液态水在进入电堆前即被有效打散并重新分布,液态水在螺旋导向作用下转化为细小水珠,并在气流推动下依次进入气口假电池组和真电池组的氢进气通道内,从而避免液态水以集中液流形式直接冲入某一单电池。该结构能够显著减弱低电密工况下液态水集中排放对局部单电池电化学反应和结构件的冲击,使液态水以更温和、分散的方式被多节电池带出,进而改善电堆内氢气分布均匀性,提升整体运行稳定性和耐用性。

一种燃料电池的电堆、燃料电池与电动装置

NºPublicación:  CN121726468A 24/03/2026
Solicitante: 
一汽解放汽车有限公司
CN_121726468_PA

Resumen de: CN121726468A

本发明提供了一种燃料电池的电堆、燃料电池与电动装置,电堆包括阳极集流板、阴极集流板,及设置于阳极集流板与阴极集流板之间的电堆堆芯;电堆堆芯包括依次堆叠设置的靠近阳极集流板的近阳极堆芯、中部堆芯与靠近阴极集流板的近阴极堆芯;近阳极堆芯、中部堆芯与近阴极堆芯分别独立地包括堆叠设置的至少一个串联的单电池;近阳极堆芯与近阴极堆芯中阳极流道与阴极流道的流道体积,大于中部堆芯中阳极流道与阴极流道的流道体积。电堆中,近阳极堆芯与近阴极堆芯中的单电池的阴极流道与阳极流道具有更小的流阻,低温冷启动时,可以产生更多的热量,防止内部结冰,燃料电池能够在理想的时长内实现无损低温冷启动。

一种燃电系统自动下线检测装置及检测方法

NºPublicación:  CN121720670A 24/03/2026
Solicitante: 
东风汽车集团股份有限公司
CN_121720670_PA

Resumen de: CN121720670A

本申请涉及一种燃电系统自动下线检测装置及检测方法,三路流量调节与检测模块与气源处理模块连接以接收调节后气源,分别对燃电系统氢气路、空气路、水路的流量进行调节并检测各回路回流流量,其一端与燃电系统连接以传递检测介质,另一端与排气模块连接以将回流气体输送至排气模块排出,控制中枢模块与气源处理模块、三路流量调节与检测模块、排气模块均电连接,对检测全流程进行状态监控、指令下发及数据处理,同时与燃电系统的燃料电池控制器通讯交互以统筹协调各模块协同工作,通过各模块的有机结合与协同运作,实现燃电系统氢气路、空气路、水路气密性的全自动检测,有效解决传统检测设备自动化程度不足、依赖人工操作易出错的问题。

プロトン伝導型固体酸化物形電気化学セル用酸素極集電体およびプロトン伝導型固体酸化物形電気化学セル

NºPublicación:  JP2026052271A 24/03/2026
Solicitante: 
株式会社東芝
JP_2026052271_A

Resumen de: JP2026052271A

【課題】プロトン伝導型固体酸化物形電気化学セルに利用可能な、高い電気伝導性を示す酸素極集電体を低コストで提供する。【解決手段】プロトン伝導型固体酸化物形電気化学セル用酸素極集電体は、導電基材と、導電基材の表面に設けられ、プロトン伝導型固体酸化物形電気化学セルの運転環境下において水蒸気に曝されることにより導電基材の電気伝導性よりも高い電気伝導性を示す表面を有する金属酸化物膜と、を具備する。【選択図】図2

発電システム及び発電方法

NºPublicación:  JP2026052578A 24/03/2026
Solicitante: 
パナソニックIPマネジメント株式会社
JP_2026052578_A

Resumen de: JP2026052578A

【課題】特定の燃料電池を停止させて他の燃料電池を起動するときにシステム全体の発電電力の変動を抑制する。【解決手段】発電システム1aは、第一燃料電池10aと、第二燃料電池10bと、制御器20とを備える。制御器20は、第一燃料電池10a及び第二燃料電池10bを制御する。制御器20は、第一燃料電池10aの発電電力を特定期間Eにおいて減少させるとともに第二燃料電池10bの発電電力を増加させる。制御器20は、第一燃料電池10aの発電電力と第二燃料電池10bの発電電力との和を特定期間Eにおいて所定範囲に保つ。制御器20は、特定期間E経過後に第一燃料電池10aを停止させる。【選択図】図1

燃料電池システム及びその制御方法

NºPublicación:  JP2026052557A 24/03/2026
Solicitante: 
パナソニックIPマネジメント株式会社
JP_2026052557_A

Resumen de: JP2026052557A

【課題】複数台の燃料電池ユニットの全体としての累積発電時間を延ばすことに適した技術を提供する。【解決手段】第1群5G1に属する燃料電池ユニット5を、第1運転計画に基づいて制御する。第2群5G2に属する燃料電池ユニット5を、第2運転計画に基づいて制御する。第1運転計画及び第2運転計画は、第1比率ξ1が第2比率ξ2よりも大きくなるように構成される。第1比率ξ1は、第1群5G1に属する燃料電池ユニット5の累積起動回数に対する累積発電時間の比率である。第2比率ξ2は、第2群5G2に属する燃料電池ユニット5の累積起動回数に対する累積発電時間の比率である。【選択図】図2

電気化学セルスタックおよび電気化学装置

NºPublicación:  JP2026052655A 24/03/2026
Solicitante: 
株式会社東芝
JP_2026052655_A

Resumen de: JP2026052655A

【課題】電気化学セルスタックからのガスのリークを抑制する。【解決手段】電気化学セルスタックは、複数の電気化学セルを含む積層体と、積層体に接して設けられた第1の締付板と、第1の締付板に接して設けられた熱伝導部材と、を具備する。電気化学セルスタックの運転温度範囲において、熱伝導部材の熱伝導率は、第1の締付板の熱伝導率よりも低い。【選択図】図4

運転管理装置

NºPublicación:  JP2026052592A 24/03/2026
Solicitante: 
ヤンマーホールディングス株式会社
JP_2026052592_A

Resumen de: EP4712293A1

Problem To provide an operation management device capable of ensuring the convenience of a power generation system by causing the power generation system to perform an operation suitable for a request to the power generation system in a predetermined case.Solution An operation management device manages an operation of a power generation system comprising an engine power generator and a fuel cell power generator, and the operation management device comprises a processing portion that operates one of the engine power generator and the fuel cell power generator when a required output of the power generation system is equal to or less than a first predetermined value.

燃料電池モジュール

NºPublicación:  JP2026052222A 24/03/2026
Solicitante: 
トヨタ自動車株式会社
JP_2026052222_A

Resumen de: US20260074246A1

A fuel cell module includes a fuel cell stack made up of a plurality of stacked fuel-cell cells, a fuel gas outlet manifold that extends inside the fuel cell stack in a stacking direction, and through which a fuel gas that has passed through each of the fuel-cell cells flows, an oxidant gas outlet manifold that extends inside the fuel cell stack in the stacking direction, and through which an oxidant gas that has passed through each of the fuel-cell cells flows, a discharge flow passage that discharges the oxidant gas from the oxidant gas outlet manifold, a pressure regulating valve provided in the discharge flow passage, the pressure regulating valve being configured to lower a pressure in the discharge flow passage downstream from the pressure regulating valve than a pressure in the oxidant gas outlet manifold, and a water drain flow passage.

一种质子交换膜燃料电池金属双极板

NºPublicación:  CN224036365U 24/03/2026
Solicitante: 
华中科技大学
CN_224036365_U

Resumen de: CN224036365U

本实用新型公开了一种质子交换膜燃料电池金属双极板,包括阳极单板、阴极单板、覆于极板上的密封条,阳极单板和阴极单板上分别设置有阳极流场通道和阴极流场通道,阳极单板和阴极单板之间的空腔形成冷却剂流场通道;本实用新型针对传统平行流场冷却性能差以及长流道压降大导致空压机功耗大的问题,阴极流场流道采用垂直波浪流场结构和短流道形式,使该流道内压降更低,从而降低空压机的功耗损失,提升了电化学反应活性,同时增加冷却剂与流道的接触面积,实现了更好的热管理。

一种双向集流电极板

NºPublicación:  CN224036362U 24/03/2026
Solicitante: 
辽宁兰陵易电工程技术有限公司
CN_224036362_U

Resumen de: CN224036362U

本实用新型属于全钒液流电池技术领域,尤其涉及一种双向集流电极板,包括板体,在板体的两侧表面中部设有一个用于与电极接触的电极区域,板体的四角设有四个电解液通过孔,四个电解液通过孔之间的电极区域内设有导流凹槽,所述板体的电极区域的表面下凹形成容纳电极的空间,其内设有至少一个压力平衡孔,压力平衡孔周边设有承压台,承压台上设有环形的密封沟槽。与现有技术相比,本实用新型的有益效果是:1)通过在板体的电极区域中间设置压力平衡孔,使板体受力更均匀,有效减少在多片电极板叠加施压后,因板体变形造成的泄漏问题,有助于改善酸性电解液对环境的腐蚀问题;2)板体变形小,可以明显提高全钒液流电池电解液生产的效能。

一种氢气品质监控系统

NºPublicación:  CN224036375U 24/03/2026
Solicitante: 
河南省日立信股份有限公司
CN_224036375_U

Resumen de: CN224036375U

一种氢气品质监控系统,包括氢气净化模块和补氢模块;氢气净化模块,进口用于连接氢冷发电机组的高压侧,出口串联第一单向阀后连接氢冷发电机组的低压侧,净化氢气中的杂质气体;补氢模块的出口串联第二单向阀后连接氢冷发电机组的低压侧,将高纯氢补入也氢冷发电机组的低压侧;氢气净化模块和补氢模块连接氢冷发电机组的低压侧的连接管路上分别连接或共用监测补氢压力的压力计;还包括用于采集发电机组氢气纯度值和压力值,满足预设条件或触发事件发生时,控制氢气净化模块或补氢模块的启停的控制器。能实时根据发电机组内氢气压力和纯度变化,及时净化氢气,补入高纯氢稳定发电机氢气品质,改变了根据监测数据人工调节氢气纯度和压力的滞后性。

一种组合式固体氧化物燃料电池用连接件

NºPublicación:  CN224036368U 24/03/2026
Solicitante: 
上海研氢能源科技有限公司
CN_224036368_U

Resumen de: CN224036368U

本实用新型公开了一种组合式固体氧化物燃料电池用连接件,包括第一支撑框、第二支撑框、连接主体,所述第一支撑框第二支撑框上下相对设置且均为中空框架结构,所述连接主体位于第一支撑框与第二支撑框之间,所述连接主体与第一支撑框、第二支撑框连接为一个整体后安装至燃料电池中,所述连接主体设有上凸起部与下凸起部,若干所述上凸起部沿连接主体的长度方向间隔均匀设置,若干所述下凸起部沿连接主体的长度方向间隔均匀设置,若干所述上凸起部与若干所述下凸起部相互交错设置,通过冲压工艺的精密塑性成形能力,在保证性能的前提下,将连接件厚度减小,同时实现成本降低与性能优化。

一种电堆网板

NºPublicación:  CN224036380U 24/03/2026
Solicitante: 
四川华泸光电集团有限公司四川中新储能科技有限公司
CN_224036380_U

Resumen de: CN224036380U

本实用新型涉及电池储能技术领域,具体而言,涉及一种电堆网板,采用本实用新型所提供的结构,主要包括了碳板和两块对称设置的夹板,两个所述夹板将所述碳板夹设设置于两个夹板之间,其中一个所述夹板的表面对称于碳板开设有第一流道槽和第二流道槽,所述第一流道槽用于未还原电解液流动,所述第二流道槽用于已还原电解液流动,所述碳板位于第一流道槽的一侧的表面上覆盖设置有离子交换膜。通过上述结构,不在使用胶条粘接的方式,而是使用两个夹板将碳板更牢固的夹在两个夹板之间,这这样尽可能的使碳板不再脱落,大幅提升了整个装置的使用寿命。

一种燃料电池系统的框架固定结构

NºPublicación:  CN224036382U 24/03/2026
Solicitante: 
上海重塑能源科技有限公司
CN_224036382_U

Resumen de: CN224036382U

本申请提供一种燃料电池系统的框架固定结构,包括固定架、过渡框架以及轨道框架,所述轨道框架包括滑轨和导轨,所述固定架用于与燃料电池系统固定,所述滑轨与所述固定架固定为一体,所述导轨与所述过渡框架固定为一体,所述过渡框架与安装面固定。采用创新的模块化设计,将固定架、过渡框架和轨道框架有机结合,形成可整体滑动的集成式结构,这种设计大幅提升了燃料电池系统的安装效率与维护便捷性,使系统在狭小空间内的检修作业变得简单易行。

一种电解电锥的膜反应单元

NºPublicación:  CN224036367U 24/03/2026
Solicitante: 
辽宁兰陵易电工程技术有限公司
CN_224036367_U

Resumen de: CN224036367U

本实用新型属于全钒液流电池技术领域,尤其涉及一种电解电锥的膜反应单元,其特征在于,包括双向集流电极板、正极板、负极板和隔膜,在双向集流电极板的一侧设有正极板,另一侧设有负极板,正极板外侧和/或负极板外侧设有隔膜;所述双向集流电极板的两侧表面各设有一个用于与电极板接触的电极区域,板体四角各设一个液流孔,双向集流电极板的电极区域内设有一个压力平衡孔。本实用新型的有益效果是:1)通过将双向集流电极板和正极板、负极板、隔膜组合后成为一个膜反应单元,有效地减少了板片叠加后的尺寸,使产品的成本显著降低,产品更有市场竞争力;2)在相同电解电堆体积下,隔膜的工作面积更大,提高了全钒液流电池电解液生产的效能。

电化学能量转换装置

NºPublicación:  CN224031110U 24/03/2026
Solicitante: 
舍弗勒技术股份两合公司
CN_224031110_U

Resumen de: CN224031110U

本实用新型涉及一种电化学能量转换装置,包括沿堆叠方向堆叠的一个或多个单模块,所述单模块具有在所述堆叠方向上位于最外侧的两个双极板、夹在所述两个双极板之间的基础框架、用于进行电化学反应的催化剂涂膜以及用于传输气体和液体的多孔传输件,所述催化剂涂膜和所述多孔传输件置于所述基础框架的反应区域内,其中,所述多孔传输件具有朝向所述基础框架的密封区域延展的凸缘部,所述凸缘部在所述堆叠方向上在所述基础框架和所述催化剂涂膜之间支撑所述催化剂涂膜,从而避免催化剂涂膜在高压环境下嵌入基础框架与多孔传输件之间的间隙而受损。

一种风冷燃料电池双极板结构

NºPublicación:  CN224036366U 24/03/2026
Solicitante: 
江苏芳宣氢能科技有限公司
CN_224036366_U

Resumen de: CN224036366U

本实用新型公开了一种风冷燃料电池双极板结构,该双极板的阳极侧和阴极侧均通过瓦楞箔形成阳极、阴极流场,阳极流场和阴极流场通过扁平型的分离箔进行分隔,分离箔的两侧均设置有密封组件以实现阳极流场和阴极流场的密封;所述的阴极侧包括阴极框架,所述的阴极框架位于阳极集流口处,且阴极框架置于阴极瓦楞箔的两端,配合阴极瓦楞箔的厚度,以实现MEA组件中的边框紧密贴合设置,形成阴极流场。本实用新型采用了阴极与冷却气流的分离技术,保证了阴极气流的相对湿度和电堆的电压性能。本实用新型为风冷燃料电池系统提供了一种经济高效的解决方案,特别是在便携式发电和低功率运输领域的应用。

单电池、燃料电池系统及车辆

NºPublicación:  CN224036369U 24/03/2026
Solicitante: 
广州汽车集团股份有限公司
CN_224036369_U

Resumen de: CN224036369U

本申请涉及燃料电池技术领域,旨在解决膜电极和极板之间的密封结构容易失效的技术问题,提供一种单电池、燃料电池系统及车辆。单电池包括膜电极、极板和气路密封件。极板沿其长度方向的端部设有气体通道。气体通道被配置为供反应气体通过。气路密封件被构造为热压于膜电极和极板之间以将膜电极和极板粘接,且沿极板的厚度方向,气路密封件的投影围绕气体通道的投影以密封气体通道。本申请的有益效果是采用热压的方式将气路密封件设于膜电极和极板之间,可以降低气路密封件的厚度,使得膜电极和极板之间呈近乎贴合的状态。当多个单电池装配成电堆时,可以降低气路密封件发生变形的概率,以有效保证电堆的密封性。

一种燃料电池膜电极制备用新型压板装置

NºPublicación:  CN224036364U 24/03/2026
Solicitante: 
中科洁净能源创新研究院苏州有限公司苏州市氢能产业创新中心有限公司
CN_224036364_U

Resumen de: CN224036364U

本实用新型公开了一种燃料电池膜电极制备用新型压板装置,包括呈方形的下底板和上压板,所述下底板和上压板上均设有相通的通槽口,所述下底板和上压板的一同侧对应侧边处均固定设有连接轴,所述连接轴之间均通过连接板实现连接,所述连接板分别铰接在两连接轴上,所述下底板与上压板完全重合时,下底板和上压板的通槽口完全重合;可以有效实现对碳纸的压制作用,保证碳纸在热风循环箱内顺利烘干工作。

一种一体化燃料电池膜电极及其制备方法和应用

NºPublicación:  CN121726424A 24/03/2026
Solicitante: 
上海纳尔实业股份有限公司
CN_121726424_PA

Resumen de: CN121726424A

本发明属于气体传感器技术领域,具体涉及一种一体化燃料电池膜电极及其制备方法和应用。本发明提供的制备方法包括以下步骤:浆料配制:在该浆料配制中包括催化剂浆料配制、碳纸浆料配制;(2)在各浆料配制完成后,进行催化剂浆料喷涂,喷涂过程为在质子交换两面依次喷涂催化剂浆料;(3)随后进行碳纸浆料喷涂;该喷涂过程中为在碳纸MPL层表面喷涂碳纸浆料;(4)最后,进行热压成型,得到一体化燃料电池膜电极。通过本发明制备的一体化燃料电池膜电极,保证了改善了质子交换膜的强度与保湿性,降低了膜电极的阻抗,有效提高传感器测量精度与寿命。

一种Ti/Nb共掺杂的层状双钙钛矿型氧电极材料及其制备方法和应用

NºPublicación:  CN121726431A 24/03/2026
Solicitante: 
中国矿业大学
CN_121726431_PA

Resumen de: CN121726431A

本发明公开了一种Ti/Nb共掺杂的层状双钙钛矿型氧电极材料及其制备方法和应用,Ti/Nb共掺杂的层状双钙钛矿型氧电极材料的化学通式为PrBaCo2‑x‑yTixNbyO5+δ,其中,0 < x ≤ 0.2,0 < y ≤ 0.2,δ为氧空位含量。本发明制备得到的Ti/Nb共掺杂的层状双钙钛矿型氧电极材料在PrBaCo2O5+δ高本征活性的基础上,通过Ti/Nb双元素的掺杂,提升了氧电极材料的质子电导率、抑制元素偏析、降低热膨胀系数,使得氧电极材料具有高电催化活性与运行稳定性。

一种单电池、片状固体氧化物燃料电池及制备方法

NºPublicación:  CN121726457A 24/03/2026
Solicitante: 
福赛尔(武汉)集成有限公司
CN_121726457_PA

Resumen de: CN121726457A

本申请涉及一种单电池、片状固体氧化物燃料电池及制备方法,所述单电池包括:两个基体、阳极层、电解质层和阴极层,两个基体相对设置,两个基体之间夹设有片状基板,且基体与片状基板之间涂覆有连接浆料,其中片状基板设有多个间隔设置的分隔槽;阳极层包括多个阳极本体,多个阳极本体间隔设置,且多个阳极本体堆叠于基体上;电解质层填充于相邻两个阳极本体之间,电解质层堆叠于阳极层上,且电解质层于相邻两个阳极本体之间的位置设有连接体;阴极层包括多个阴极本体,多个阴极本体间隔设置,每个阴极本体涂覆于对应的阳极本体,且每个阴极本体与对应的电解质层之间涂覆有隔离层,其中每个阴极本体通过连接体与对应的阳极本体连接。

层系统、具有该类型的层系统的流场板、以及燃料电池、电解槽或氧化还原流电池

NºPublicación:  CN121726435A 24/03/2026
Solicitante: 
舍弗勒技术股份两合公司
CN_121726435_PA

Resumen de: US2023223559A1

A layer system for coating a metal substrate in order to form a flow field plate includes at least one cover layer made of metal oxide; at least one intermediate layer, which supports the cover layer; and a lower layer, which supports the intermediate layer(s). The cover layer is formed of indium tin oxide; wherein the indium tin oxide is optionally doped with at least one element from the group comprising carbon, nitrogen, boron, fluorine, hydrogen, silicon, titanium, tin and zirconium. At least one intermediate layer is formed of titanium nitride and/or titanium carbide and/or titanium carbonitride and/or titanium niobium nitride and/or titanium niobium carbide and/or titanium niobium carbonitride and/or chromium nitride and/or chromium carbide and/or chromium carbonitride. The lower layer is formed of titanium or a titanium-niobium alloy or chromium.

用于热风循环烘箱上的碳纸限位装置

NºPublicación:  CN224036363U 24/03/2026
Solicitante: 
中科洁净能源创新研究院苏州有限公司苏州市氢能产业创新中心有限公司
CN_224036363_U

Resumen de: CN224036363U

本实用新型公开了一种用于热风循环烘箱上的碳纸限位装置,包括下底板和上压板,所述下底板和上压板上均设有全等的通槽口,所述上压板上设有锁扣机构,所述锁扣机构包括与上压板平行的固定块,所述固定块的底部固定设有多根与固定块垂直的滑移杆,所述滑移杆均滑移设置在上压板内,所述固定块底部固定设有连接弹簧,所述上压板上设有供连接弹簧贯穿的限位通孔,所述固定块内滑移扣嵌有与上压板平行的限位板,所述下底板上设有延伸块,所述延伸块上设有供限位板嵌置的限位槽;可以有效实现对碳纸的压制作用,使得碳纸在热风循环烘箱内顺利的进行烘干。

一种空压机轴承冷却气排出通道集成排气降噪结构

NºPublicación:  CN224032843U 24/03/2026
Solicitante: 
海德韦尔(浙江)能源科技有限公司
CN_224032843_U

Resumen de: CN224032843U

本实用新型属于空气压缩机技术领域,具体提供了一种空压机轴承冷却气排出通道集成排气降噪结构,包括涡壳和轴承冷却气流道,所述冷却流道设于涡壳上;所述蜗壳上设有涡端气流入口和涡端气流出口,所述轴承冷却气流道包括轴承座过气腔、轴承冷却气排气通道和轴承冷却气环状出口,所述轴承冷却气环状出口的方向与涡端气流出口的方向一致。轴承冷却气对轴承冷却升温后,经过轴承冷却气流道包括轴承座过气腔和轴承冷却气排气通道从轴承冷却气环状出口,轴承冷却气环状出口的气流方向与涡端气流出口平行,两股气流不会发生碰撞,大幅降低了噪音。

一种自组装氧电极材料及其制备方法和应用

NºPublicación:  CN121726429A 24/03/2026
Solicitante: 
广东电网有限责任公司广州供电局
CN_121726429_PA

Resumen de: CN121726429A

本发明涉及一种自组装氧电极材料及其制备方法和应用,包括如下步骤:按通式(Sm0.5Sr0.5)1‑xCo1‑yCeyO3‑δ的化学计量比取钐源、锶源、钴源和铈源与水混合得到混合液,经液相法反应制得前驱体凝胶;其中0

一种氢板氧板双边冷却区域的双极板

NºPublicación:  CN121726442A 24/03/2026
Solicitante: 
国鸿氢能科技(嘉兴)股份有限公司
CN_121726442_PA

Resumen de: CN121726442A

本发明属于燃料电池技术领域,提供一种氢板氧板双边冷却区域的双极板,包括氢板件和氧板件。在氢板件和氧板件上均设有冷却区域和水分配区,且在氢板件与氧板件相贴合时,氢板冷却区域与氧板冷却区域相对应设置,使得双极板的整体厚度减小,从而可以减少电堆的体积。

一种集成低温制冷与制氢的船舶联合发电系统

NºPublicación:  CN121716875A 24/03/2026
Solicitante: 
中国海洋大学
CN_121716875_PA

Resumen de: CN121716875A

本发明涉及能源的综合利用与优化配置领域,具体的涉及一种集成低温制冷与制氢的船舶联合发电系统,包括SOFC‑GT发电模块,利用燃气轮机为船舶动力和船舶服务负载提供能量;DARC制冷模块:通过SOFC‑GT模块产生的余热进行制冷,满足制冷需求;PEME制氢模块:产生氧气作为固体氧化物燃料电池阴极的氧化剂,提高燃烧效率;TCPC发电模块:减低航行过程中碳排放量,保障船舶电力需求;LNG冷能利用子系统:为船舶提供冷水,实现制冷需求;二氧化碳捕获模块:实现二氧化碳的捕集和封存,降低船舶在航运过程当中的储蓄成本。整合电能、冷能、热能、氢能等多种能源形式以及应用在船舶上进行了系统性考量,更适配船舶的多能源需求以及零碳约束的复杂场景。

一种多车并联氢系统的加注、供给系统及控制方法

NºPublicación:  CN121726443A 24/03/2026
Solicitante: 
北京星驰蓝氢科技有限公司中车长春轨道客车股份有限公司
CN_121726443_PA

Resumen de: CN121726443A

本申请公开了一种多车并联氢系统的加注、供给系统及控制方法,涉及加氢设备的技术领域,包括并联管路,并联同组氢气瓶组的各个氢气瓶;柔性连接管,设置于两个所述并联管路之间;启闭阀件,有多个且分别设置于所述柔性连接管与所述并联管路之间,所述启闭阀件控制所述柔性连接管与所述并联管路的断开以及连通;检测模块,检测所述柔性连接管的状态,所述检测模块与所述启闭阀件电性连接,所述检测模块控制所述启闭阀件的开启以及关闭;排空模块,设置于所述柔性连接管,所述排空模块与所述检测模块电性连接,所述检测模块控制所述排空模块排空所述柔性连接管。本申请能在降低建设成本的情况下快速地对多车厢车辆进行氢气补充。

一种膜电极、燃料电池

NºPublicación:  CN121726455A 24/03/2026
Solicitante: 
江苏擎动新能源科技有限公司
CN_121726455_PA

Resumen de: CN121726455A

一种膜电极、燃料电池,属于燃料电池技术领域;膜电极包括质子交换膜及分别设于质子交换膜两表面的阴极催化层和阳极催化层;阴极催化层中离聚物覆盖率W1和阳极催化层中离聚物覆盖率W2的关系满足:W1>W2、75%≤W1≤85%、60%≤W2≤70%;阴极催化层中离聚物覆盖率W1和阴极催化层的厚度T1的关系满足:4≤W1×T1≤10,其中,T1为以μm为单位的厚度值;能够在外部负载变化时(即在电流密度发生骤升骤降时),使膜电极内维持较好的湿度,进而有利于气体的传输和催化反应的发生,维持较好的性能。

全钒液流电池负极储液罐保护气体控制装置

NºPublicación:  CN224036376U 24/03/2026
Solicitante: 
泓曜绿色能源发展(江苏)有限公司
CN_224036376_U

Resumen de: CN224036376U

本实用新型公开了一种全钒液流电池负极储液罐保护气体控制装置,包括:通过一供气管连接于储液罐的储气罐,所述供气管上连接有启闭电磁阀;气体浓度检测模组、用于检测储液罐中氢气和氧气的浓度,所述气体浓度检测模组检测到储液罐中氢气浓度超过第一浓度阈值或者氧气浓度超过第二浓度阈值时,所述启闭电磁阀打开以向储液罐中注入惰性气体;第一压力检测表,用于实时检测储液罐内的第一气压值;单呼阀,所述第一气压值达到高压阈值范围内时,所述单呼阀将储液罐内气体排出;以及,连接于所述储液罐的紧急排气阀。在氢气浓度超过第一浓度阈值或者氧气浓度超过第二浓度阈值时,储气罐向储液罐中补入惰性气体,从而降低电解液氧化反应。

一种电堆端盖板

NºPublicación:  CN224036381U 24/03/2026
Solicitante: 
四川华泸光电集团有限公司四川中新储能科技有限公司
CN_224036381_U

Resumen de: CN224036381U

本实用新型涉及化学电池技术领域,具体而言,涉及一种电堆端盖板,采用本实用新型所提供的上述方案,主要包括了两个对称的盖板装置,两个盖板装置之间用于设置电堆;盖板装置包括支撑平板和设置于支撑平板上的密封装置,所述支撑平板上开设有若干个通孔,两个所述支撑平板之间通过螺栓固定连接,将所述电堆压紧于两个支撑平板之间;支撑平板的一侧开设有进液孔和出液孔。通过,上述结构,在支撑平板与电堆之间加设了一个密封装置,该密封装置能够一定的程度的加强密封效果,防止电解液从电池组中流出,导致电解液从电堆与支撑平板之间缝隙流出。

单兵氢能源装置

NºPublicación:  CN224036373U 24/03/2026
Solicitante: 
北京空航航空科技有限公司
CN_224036373_U

Resumen de: CN224036373U

本实用新型提供了一种单兵氢能源装置,包括依次连接的储水罐、水泵、一个或者多个并联的反应发生器、缓冲罐以及单兵氢氧燃料电池,所述储水罐用于加水,所述水泵用于将水传输到反应发生器;所述反应发生器内放置有氢转换材料,用于与水反应后产生氢气;所述缓冲罐用于贮存和消减生成氢气传输过程的压力波动;所述氢氧燃料电池将生成的氢气与氧气反应,为单兵配置的作战设备提供电能。该实施方式通过加水与反应发生器内的氢转换材料反应产生氢气,氢气可以即产即用,降低了氢气运输和储存的风险。相较于加氢站来说,能够大幅提高机动性和灵活性,可在野外环境为单兵氢氧燃料电池提供氢气。

一种电堆装配结构

NºPublicación:  CN224036379U 24/03/2026
Solicitante: 
常州翌晶氢能科技有限公司
CN_224036379_U

Resumen de: CN224036379U

本实用新型公开了一种电堆装配结构,包括:燃料侧端板、空气侧端板和电堆重复单元,一组或多组电堆重复单元堆叠装配在燃料侧端板和空气侧端板之间;电堆重复单元包括第一堆叠层、第二堆叠层和第三堆叠层,多组电堆重复单元之间设置有连接体。本实用新型,一组或多组电堆重复单元堆叠装配在燃料侧端板和空气侧端板之间,而多组电堆重复单元之间则设置有连接体,整体装配结构无须金属框架即可实现单池或多池的密封,有效降低了与框架厚度相匹配的集流网厚度,有效降低了装配成本并提高了整体稳定性。

一种基于阳极尾气超微量氧气分析的燃料电池氢氧互串直接探测方法及系统

NºPublicación:  CN121726450A 24/03/2026
Solicitante: 
燧人消防科技有限公司
CN_121726450_PA

Resumen de: CN121726450A

本发明公开了一种基于阳极尾气超微量氧气分析的燃料电池氢氧互串直接探测方法及系统,通过采集并预处理阳极尾气,利用高灵敏度氧气分析技术直接测量其中微量氧气浓度,并基于浓度值进行分级风险评估与预警。本发明突破了传统间接诊断方法的局限,提供了氢氧互串的直接证据,实现了从ppb到ppm级的超高灵敏度检测,并针对车载、电站及研发等不同场景提供了MEMS电化学、TDLAS激光光谱与微型气相色谱多种技术路径,有效克服富氢环境干扰,具有响应快、精度高、可靠性强的优点,能实现早期预警与预测性维护,极大提升了燃料电池运行安全性。

一种聚苯硫醚复合材料、制备方法及其应用

NºPublicación:  CN121718166A 24/03/2026
Solicitante: 
萍乡德博科技股份有限公司
CN_121718166_PA

Resumen de: CN121718166A

本申请涉及聚苯硫醚复合材料的制备和应用技术领域,尤其是涉及一种聚苯硫醚复合材料、制备方法及其应用,一种聚苯硫醚复合材料,由以下组分按重量份数制备而成:90‑99份的聚苯硫醚‑40%玻璃纤维,1‑10份的聚四氟乙烯,1份的偶联剂,0.5份的润滑剂;一种聚苯硫醚复合材料的制备方法,包括如下步骤:(1)按照重量份数计,将90‑99份的聚苯硫醚‑40%玻璃纤维、1‑10份的聚四氟乙烯和1份的偶联剂放入混料机中混合均匀,得到混合物A;(2)将混合物A置于挤出机中并加入0.5份的润滑剂,挤出机挤出棒状材料。本申请的聚苯硫醚复合材料同时兼具玻璃纤维的抗拉强度、耐磨性以及聚四氟乙烯的自润滑性,提升了材料的自润滑性能。

基于哌啶功能化主侧链双阳离子的阴离子交换膜及其制备方法

NºPublicación:  CN121717968A 24/03/2026
Solicitante: 
常州大学
CN_121717968_PA

Resumen de: CN121717968A

本发明属于阴离子交换膜领域,具体涉及一种基于哌啶功能化主侧链双阳离子的阴离子交换膜及其制备方法。将对三联苯、N‑甲基‑4‑哌啶酮、2,2,2‑三氟苯乙酮进行Friedel‑Crafts聚合反应,合成聚(三联苯‑哌啶酮‑三氟苯乙酮)。将1,6‑二溴己烷与1‑甲基哌啶反应,合成亲水的长烷基哌啶阳离子侧链。然后采用梳状接枝策略,与主链哌啶阳离子共同作用,再进行季铵化,得到阴离子交换膜。构建了良好的亲/疏水微相分离结构,亲水相有利于改善OH‑传输效率,为离子的运输提供专属通道;疏水相则提高了膜的机械性能;通过增加阳离子的个数改善电导率,通过接枝的方式引入无醚烷基侧链来提高尺寸稳定性与耐碱稳定性。

介孔碳材料及其制备方法、催化剂和燃料电池

NºPublicación:  CN121726430A 24/03/2026
Solicitante: 
深圳市贝特瑞新能源技术研究院有限公司
CN_121726430_PA

Resumen de: CN121726430A

本发明公开了一种介孔碳材料及其制备方法、催化剂和燃料电池,涉及燃料电池技术领域,其中,所述介孔碳材料满足:1.2<1000×V/SSA<2.0;1.8<ID/IG<2.2;其中,V为所述介孔碳材料的介孔孔容积,所述介孔的孔径为2~50 nm;SSA为所述介孔碳材料的比表面积;ID为所述介孔碳材料通过拉曼光谱测定的D峰强度;IG为所述介孔碳材料通过拉曼光谱测定的G峰强度。本发明制备的介孔碳材料具备较高的电化学活性与出色的结构稳定性。

一种MOF/聚酰胺双复合膜及其制备方法和应用

NºPublicación:  CN121726440A 24/03/2026
Solicitante: 
中国科学院大连化学物理研究所
CN_121726440_PA

Resumen de: CN121726440A

本发明公开了一种MOF/聚酰胺双复合膜的制备及其在碱性介质的能源转换与存储装置中的应用,包括1)利用互不相溶溶剂界面自组装在多孔基底上原位生长MOF膜,极大地提高了MOF材料在多孔基底上的覆盖度和均匀性;2)在已经生长MOF膜的基底上利用界面聚合引入聚酰胺涂层来填补MOF层缺陷。该类复合膜致密皮层由MOF和聚酰胺组成,一方面保证了膜材料的离子选择性;另一方面,MOF材料自身规整且贯通的多孔结构可选择性传递离子,使得膜材料保持较高的离子传导性。该方法制备简单、易放大且过程易于调控。所制备的MOF/聚酰胺双复合膜应用于基于碱性介质的能源转换与存储装置中可以赋予电池反应器件良好的性能。

一种热能自适应循环燃料电池电堆结构

NºPublicación:  CN224036371U 24/03/2026
Solicitante: 
深圳市氢瑞燃料电池科技有限公司深圳市雄韬电源科技股份有限公司
CN_224036371_U

Resumen de: CN224036371U

本申请涉及一种热能自适应循环燃料电池电堆结构,包括电堆本体以及设置于所述电堆本体一端的配气端;所述配气端的一端设置有第一冷却路进口和第二冷却路出口,所述配气端的另一端设置有第一冷却路出口和第二冷却路进口;所述电堆本体包括交替设置的第一双极板和第二双极板;所述第一冷却路进口通过所述第一双极板的第一冷却路流场与所述第一冷却路出口连通形成第一冷却路;所述第二冷却路进口通过所述第二双极板的第二冷却路流场与所述第二冷却路出口连通形成第二冷却路;所述第一冷却路的流动方向与所述第二冷却路的流动方向相反。本申请能实现电堆内部热能的自适应循环,有效均匀反应区的温差,提高电堆性能的一致性和寿命。

一种电解液生产用电堆装置

NºPublicación:  CN224036378U 24/03/2026
Solicitante: 
辽宁兰陵易电工程技术有限公司
CN_224036378_U

Resumen de: CN224036378U

本实用新型属于全钒液流电池技术领域,尤其涉及一种电解液生产用电堆装置,其特征在于,包括端夹板和膜反应单元,两个端夹板之间叠装排列有多组膜反应单元并通过螺栓连接固定,膜反应单元包括双向集流电极板、正极板、负极板和隔膜,电极区域内居中设有一个压力平衡孔,压力平衡孔周边设有承压台;液流孔上分别设有液流导向台,液流导向台的侧边设有贯穿孔,贯穿孔与电极区域内的导槽凹槽相连通;一个端夹板上与液流孔对应的位置至少设有正极液流进管、正极液流出管、负极液流进管、负极液流出管中的任意两个。本实用新型的优点是:有效地减少了板片叠加后的尺寸,使产品的制作成本显著降低,提高了全钒液流电池电解液生产的效能。

电堆加湿系统

NºPublicación:  CN224036374U 24/03/2026
Solicitante: 
特嗨氢能检测(保定)有限公司
CN_224036374_U

Resumen de: CN224036374U

本实用新型涉及燃料电池技术领域,具体提供了一种电堆加湿系统。本实用新型的电堆加湿系统包括加湿单元,尾排单元,以及向加湿单元供入气体的供气单元;加湿单元和尾排单元分别连通电堆的进气口和排气口,且尾排单元和供气单元之间连通有循环管路;由供气单元供入的气体被加湿单元加湿后进入电堆,电堆排出的尾气进入尾排单元,且尾排单元能够分离出尾气中的水分,并将分离水分的气体通过循环管路输送至供气单元。本实用新型的电堆加湿系统,通过尾排单元的分离处理,可重新得到用于加湿的气体,并循环输送至供气单元后再次用于加湿使用,有利于节省用于电堆加湿的气体的消耗量。

一种电池散热结构

NºPublicación:  CN224036372U 24/03/2026
Solicitante: 
深圳市氢瑞燃料电池科技有限公司
CN_224036372_U

Resumen de: CN224036372U

本实用新型公开一种电池散热结构,包括无人机和设置于所述无人机内的电池;所述无人机包括机身本体、多个机翼和顶盖;多个所述机翼均匀设置于所述机身本体远离所述顶盖的一面上;所述机身本体内设置有容置腔,所述容置腔的底部设置有集气腔,所述集气腔分别与每个所述机翼连通设置;所述电池设置于所述容置腔内;所述顶盖盖合于所述容置腔的顶部。本申请结构简单,拆装方便,便于维护,稳定性较好,经济安全实用,在不改变无人机结构的基础上,利用飞行扇叶飞行时的风进行散热,达到既能散热又能减轻重量的目的,能够大大提高无人机装载电池的散热性能,可以应用于燃料电池和动力电池中,很好的满足实际使用的需要。

一种氨燃料SOFC发电系统

NºPublicación:  CN224036377U 24/03/2026
Solicitante: 
浙江氢邦科技有限公司
CN_224036377_U

Resumen de: CN224036377U

本实用新型涉及发电设备技术领域,具体公开了一种氨燃料SOFC发电系统,包括:燃料供应及处理子系统,用于提供氨燃料并对氨燃料进行预热和裂解;空气供应子系统,用于提供空气并对空气进行预热;燃烧供热子系统,作为燃料燃烧的场所及向燃料供应及处理子系统和空气供应子系统供热;SOFC电堆子系统,作为发生电化学反应的场所;和电能转换子系统,用于将SOFC电堆子系统中产生的电流进行电源类型转换及储存。该系统所用燃料都是氨燃料,无需其他甲烷辅助气体,也不是氨水,无需氨水汽化的步骤,节约能耗,整个发电系统结构简单,发电效率高,原料的利用率高。

一种集成分水器的燃料电池歧管结构

NºPublicación:  CN224036383U 24/03/2026
Solicitante: 
氢质氢离(北京)氢能科技有限公司
CN_224036383_U

Resumen de: CN224036383U

本实用新型涉及燃料电池领域,具体为一种集成分水器的燃料电池歧管结构,其包括:歧管;分水器,设置在歧管上,歧管上的氢出口与分水器内腔连通,分水器顶部设置出口和接头;滤板,设置在分水器内腔中,滤板下方形成储水区,上方形成分水区;挡板,设置在分水器内腔内且位于滤板上方;以及盖板,设置在分水器上用来密封分水器内腔。本实用新型将分水器集成在歧管上,提高歧管集成度,设计优化燃料电池发动机布置,使得发动机整体更加紧凑。将分水器靠近歧管氢出口,通过合理设计分水器的容积以及挡板结构,提高了分水器的分水效率,提升了电堆性能。将分水器集成在歧管上,免去了分水器单独的采购,降低了成本,同时也简化了装配。

电解液储罐及液流电池系统

NºPublicación:  CN224036370U 24/03/2026
Solicitante: 
泓曜绿色能源发展(江苏)有限公司
CN_224036370_U

Resumen de: CN224036370U

本实用新型公开了一种电解液储罐及液流电池系统,其中,一种电解液储罐包括:罐体,所述罐体靠近顶部位置处设有进液口,所述罐体靠近底部位置处设有出液口;进液管组,所述进液管组包括:与进液导管、分液主管、若干环绕所述分液主管轴向分布的分液支管、以及向下延伸的匀流管,所述匀流管的侧面设有若干间隔分布的布液孔,电解液从所述布液孔中喷出后产生冲击力作用于罐内电解液以形成搅拌作用;以及,出液管。本实用新型能够对罐体内电解液形成搅拌作用,从而使得电解液在罐体内分布的更加均匀,同时布液孔的设置也可以使电解液在垂直方向上更加均匀的分布,从而有效地缓解电解液浓度梯度和温度梯度,进而提高液流电池系统的稳定性。

一种燃料电池系统恒流限压控制模式及系统控制方法

NºPublicación:  CN121726452A 24/03/2026
Solicitante: 
唐山锐唯新能源科技有限公司
CN_121726452_PA

Resumen de: CN121726452A

本发明公开了一种燃料电池系统恒流限压控制模式及系统控制方法,包括功率管理模块,恒流限压模块和DCDC转换器,通过本发明通过恒流与限压双模式的动态切换机制,增强了燃料电池系统在变载工况下的电压稳定性。系统能根据实时电堆电压状态自主选择最优控制模式:在电压正常范围维持恒流输出以满足功率需求;超压时自动切换至上限恒压模式保护电堆;欠压时则启用下限恒压模式防止停机。该设计无需人工干预即可覆盖开机、大功率运行、吹扫等全场景,有效克服了传统单一控制模式在复杂工况下的响应滞后问题,从根本上提升了系统可靠性。

一种高空极寒场景燃料电池排水防结冰装置与控制方法

NºPublicación:  CN121726446A 24/03/2026
Solicitante: 
四川轻绿科技有限公司
CN_121726446_PA

Resumen de: CN121726446A

本发明公开了一种高空极寒场景燃料电池排水防结冰装置与控制方法,属于氢能源动力技术领域。装置包括同轴套设的排水管与套管,两者间形成环形流道。排水管用于排出燃料电池阴极产生的第一介质,环形流道通入来自电堆冷却回路的第二介质进行加热。套管出口为扩散状结构。控制方法通过强化学习模型,实时融合环境及系统状态,输出使长期价值最大的第二介质最优调控参数。本发明实现了智能前瞻性防结冰控制,能自适应高空极端环境变化,在保障排水绝对可靠的同时,显著降低防冰能耗,并通过与燃料电池系统的深度集成,提升了整体运行效率与安全性。

一种氢气循环集成模块、循环方法及燃料电池系统

NºPublicación:  CN121726444A 24/03/2026
Solicitante: 
东风汽车集团股份有限公司
CN_121726444_PA

Resumen de: CN121726444A

本发明涉及燃料电池技术领域,公开了一种氢气循环集成模块、循环方法及燃料电池系统,包含模块主体,模块主体外表面设置若干安装面、且内部开设射流腔及若干内流道;出氢口设置于射流腔出口;依次设置的氢气热交换器、进氢电磁阀及氢气比例阀,均安装于所述安装面且两两之间通过内流道连通;两个反流支路,一个反流支路包含带单向阀的二次流刚性进气管,另一个反流支路包含氢气循环泵及其两侧内流道连通,氢气循环泵安装于安装面。本申请的氢气循环集成模块、循环方法及燃料电池系统,形成两个并联反流支路,降低了功耗,还减少了零件、管路及管路接头的数量,结构紧凑占用空间小,氢气泄漏风险低,装配效率高。

一种封闭式空冷型燃料电池内部液态水分布的预测方法

NºPublicación:  CN121726448A 24/03/2026
Solicitante: 
广州骥翀氢能科技有限公司
CN_121726448_PA

Resumen de: CN121726448A

本发明涉及一种封闭式空冷型燃料电池内部液态水分布的预测方法,属于燃料电池技术领域。该方法首先将燃料电池膜电极区域划分为多个温度计算区块;随后设定系统运行的边界条件并计算从进气口到出气口的露点温度分布;接着,通过建立反应气体与散热空气的热平衡方程,采用迭代算法计算出每个温度区块的平均温度,从而获得电池内部的温度分布场;最后,通过对比温度场与露点温度场,精准判定液态水的凝结区域。该方法能有效揭示空冷型燃料电池内部的水分布状态,为优化排水流道设计、提升电池性能提供了关键的理论计算依据。

一种燃料电池振动幅度自适应调节方法及系统

NºPublicación:  CN121723428A 24/03/2026
Solicitante: 
南京工程学院
CN_121723428_PA

Resumen de: CN121723428A

本发明涉及燃料电池技术领域,揭露了一种燃料电池振动幅度自适应调节方法及系统,所述方法包括:基于燃料电池的实时运行状态数据,建立振动幅度与燃料电池运行状态的关联映射关系;根据关联映射关系,确定燃料电池在最优运行状态下的基准振幅参数范围;将燃料电池的当前振动幅度参数与基准振幅参数范围进行偏差比对,并根据比对结果,确定振幅调节方向和振幅调节量,动态调整当前振动幅度参数,得到调整后振动幅度参数;当调整后振动幅度参数符合基准振幅参数范围时,将调整后振动幅度参数传输至燃料电池;本发明可以提高燃料电池振动幅度的自适应调节效率。

一种改性电极材料的制备方法及系统

NºPublicación:  CN121726423A 24/03/2026
Solicitante: 
国家能源投资集团有限责任公司北京低碳清洁能源研究院
CN_121726423_A

Resumen de: CN121726423A

本发明公开了一种改性电极材料的制备方法及系统,该方法包括:电极材料移动进入改性槽内部,所述改性槽内部容纳浓度不断变化的改性溶液,电极材料通过改性槽时始终浸泡在改性溶液中;电极材料离开改性槽后进行清洗﹑干燥以及热处理,得到具有连续电化学活性变化的改性电极材料。本发明通过控制电极材料表面反应活性位点的连续变化,将反应位点的电化学活性充分利用,不仅将电化学活性变化集中于同一块电极材料上,也避免了多段电极拼接造成的繁琐工序。

燃料电池分隔体用前体片材

NºPublicación:  CN121729770A 24/03/2026
Solicitante: 
日清纺化学株式会社
CN_121729770_A

Resumen de: WO2025047261A1

This precursor sheet for a fuel cell separator contains graphite particles, a particulate or fibrous water-insoluble resin, and a water-soluble resin. The precursor sheet can be reverted to a slurry in an aqueous solvent, and thus it is possible to reuse defective articles and waste material generated during processing.

具有在绕过热交换器的旁通管路中的节流阀的燃料电池设备

NºPublicación:  CN121729771A 24/03/2026
Solicitante: 
罗伯特·博世有限公司
CN_121729771_PA

Resumen de: WO2025031894A1

The invention is based on a fuel cell device having a fuel cell stack (12) and having a fresh air supply unit (16), which is provided for supplying the fuel cell stack (12) with fresh air, and having a heat exchanger (24) for heating the fresh air, wherein the fresh air supply unit (16) has at least a first fresh air line (18) leading through the heat exchanger (24), and a bypass line (28) leading past the heat exchanger (24), and having a flow adjustment unit (30) which is positioned in the bypass line (28) and is provided for adjusting a flow through the bypass line (28). It is proposed that the flow adjustment unit (30) has a throttle valve (32) which is provided so as, when deactivated, to move automatically into a closed position.

一种负极电解液及其制备方法和锌溴液流电池

NºPublicación:  CN121726463A 24/03/2026
Solicitante: 
西安热工研究院有限公司华能赫章风力发电有限公司
CN_121726463_A

Resumen de: CN121726463A

本发明属于电化学储能技术领域,提供一种负极电解液及其制备方法和锌溴液流电池。所述负极电解液的组分包括:溴化锌、支持电解质、负极添加剂和水,所述负极添加剂包括苹果酸;所述负极电解液中溴化锌、支持电解质和苹果酸的浓度分别为2.0‑2.5mol/L、2.0‑3.0mol/L和0.02‑0.04mol/L。有效抑制锌枝晶与析氢反应,实现库伦效率、电压效率及能量效率的协同提升。因此,本发明通过在负极电解液中引入苹果酸,可以有效抑制锌溴液流电池中锌枝晶与析氢反应,实现库伦效率、电压效率及能量效率的协同提升。

电堆自动堆叠设备及其工作方法

NºPublicación:  CN121726466A 24/03/2026
Solicitante: 
苏州市东拓新能源有限公司
CN_121726466_PA

Resumen de: CN121726466A

本发明属于运输装置技术领域,具体涉及物料搬运装置,尤其涉及电堆自动堆叠设备及其工作方法;其中一种电堆自动堆叠设备,包括:机械手,其设置在工作台一侧;若干缓冲组件,每两缓冲组件对称设置于工作台上;包括:限位块,其升降设置于工作台上,且与工作台互相垂直;引导块,其升降设置于限位块内,且上端凸出限位块;承托块,其滑动设置于引导块侧壁,且适于收缩入限位块内;其中,机械手夹取电堆移动至各缓冲组件内侧,至电堆底壁与承托块抵接;承托块支撑电堆并带动各引导块缓慢向下移动;承托块下端与限位块抵接后,承托块逐渐向引导块方向收缩移动至承托块收缩入限位块内,电堆底壁与脱离承托块脱离并与上一次放置的电堆抵接。

含稠环结构的聚芳基吡啶型高温质子交换膜及其制备方法

NºPublicación:  CN121726456A 24/03/2026
Solicitante: 
浙江德创环保科技股份有限公司东北大学
CN_121726456_PA

Resumen de: CN121726456A

本发明公开一种含稠环结构的聚芳基吡啶型高温质子交换膜及其制备方法,属于质子交换膜燃料电池技术领域。该方法以对三联苯‑乙酰基吡啶为基体材料,通过超酸催化反应将具有碱性基团的稠环或大块芳香族共聚单体共聚到对三联苯乙酰基吡啶主链上,得到基于碱性基团共聚的膜材料,具体为:将对三联苯、乙酰基吡啶以及共聚单体与极性有机溶剂混匀,得反应物溶液;向反应物溶液中加入三氟甲烷磺酸进行反应,然后将反应液沉淀,洗涤、干燥沉淀物制得共聚聚合物;将共聚聚合物制成膜;将膜材料进行磷酸掺杂。本发明制备成本较低,反应条件温和,膜材料具有更紧凑或更致密的结构,透明、均一致密,具有良好的导电性能和机械性能。

一种基于水溶性有机二硫化物的水系液流电池负极电解液及其应用和水系液流电池

NºPublicación:  CN121726459A 24/03/2026
Solicitante: 
郑州大学
CN_121726459_A

Resumen de: CN121726459A

本发明公开了一种基于水溶性有机二硫化物的水系液流电池负极电解液及其应用和水系液流电池,属于液流电池领域。该负极电解液包括水溶性脂肪族有机二硫化物、催化剂、支持电解质和水;其中:所述水溶性脂肪族有机二硫化物的通式为R‑S‑S‑R,其中R为端部含有亲水基团的烷基;所述催化剂为硒、硫、碲中的一种或者两种的组合。本发明所得负极电解液用于液流电池中,液流电池具备高能量密度和优异的倍率性能,长循环稳定性优异,2000圈的循环容量保持率依然大于95%;同时成本低,具有广泛的应用前景。

一种多电池拼接式电堆结构、电堆及发电系统

NºPublicación:  CN121726467A 24/03/2026
Solicitante: 
福赛尔(武汉)集成有限公司
CN_121726467_PA

Resumen de: CN121726467A

本申请涉及一种多电池拼接式电堆结构、电堆及发电系统,属于电池技术领域,多电池拼接式电堆结构包括:多个电极板,多个所述电极板层叠设置,每个所述电极板的阳极面至少一部分构成第一区域,每个所述电极板的阴极面至少一部分构成第二区域;支撑板,其设置于相邻所述电极板之间,所述支撑板上设有多个凹槽,每个所述凹槽底壁设有通孔;电池,其设于所述凹槽内,所述电池工作区在所述支撑板上的投影至少部分与所述通孔在支撑板上的投影重叠,所述电池在所述支撑板上的投影位于所述第一区域内且位于第二区域内,有效解决了大尺寸电池烧结平整度差,出现变形、开裂的制备难题。

燃料电池系统水平衡控制方法、装置、车辆及存储介质

NºPublicación:  CN121726449A 24/03/2026
Solicitante: 
北京卡文新能源汽车有限公司
CN_121726449_PA

Resumen de: CN121726449A

本申请涉及一种燃料电池系统水平衡控制方法、装置、车辆及存储介质。该方法包括:获取燃料电池电堆预设时间窗口内的高频电阻数据序列,据此计算高频电阻的变化率和变化加速度;基于变化率和变化加速度,利用预设含水量状态预测模型生成质子交换膜含水量状态预测信号;根据预测信号,利用预设前馈‑反馈控制策略生成气路子系统调控指令,基于指令调整预设气路子系统,使质子交换膜含水量维持在目标范围。由此,通过实时监测高频电阻随负载/时间的变化率,预测膜电极水含量的未来变化趋势,并在电堆中水状态恶化至不可逆之前调节气路参数,解决了现有技术中水管理响应滞后、适应性差等问题,从而实现水含量的精确、平稳控制。

一种多离子传输位点的改性聚苯醚阴离子交换膜的制备方法

NºPublicación:  CN121718050A 24/03/2026
Solicitante: 
天津理工大学
CN_121718050_PA

Resumen de: CN121718050A

本发明公开了一种多离子传输位点的改性聚苯醚阴离子交换膜的制备方法,旨在解决现有阴离子交换膜离子电导率低、尺寸稳定性不足的技术问题。核心创新在于:采用带有溴化位点的咪唑类接枝剂对聚苯醚(PPO)进行接枝改性,通过咪唑基团与溴化聚苯醚(BPPO)的反应先构建大量季铵阳离子基团;后续引入的交联剂具有双重反应活性,既能够与BPPO长链发生交联反应形成网络结构,又可与咪唑基团的溴化位点进一步发生季铵化反应,额外生成大量季铵阳离子基团——通过这一“接枝预修饰+交联双反应”协同机制。本发明制备的阴离子交换膜在80℃下离子电导率可达88.6mS/cm~138mS/cm,膜厚度均匀(114~148μm),工艺简单,易于工业化放大,适用于电解水制氢、燃料电池等电化学装置。

一种钆单原子掺杂钌/氧化钌异质结构电催化剂及其制备方法与应用

NºPublicación:  CN121726434A 24/03/2026
Solicitante: 
西安交通大学
CN_121726434_PA

Resumen de: CN121726434A

本发明涉及电催化技术领域,公开了一种钆单原子掺杂钌/氧化钌异质结构电催化剂及其制备方法与应用,其制备方法包括:将苯三甲酸与六水合硝酸钆溶于超纯水中超声处理,通过加热反应,离心、干燥得到前驱体;前驱体在700~1000 ℃、氩气气氛下煅烧制得Gd2O3 MOF材料;将Gd2O3 MOF材料、聚乙烯吡络烷酮和氯化钌水合物加入乙二醇中并于100~180 ℃下进行反应,反应产物离心、洗涤并真空干燥,得到钆单原子掺杂钌/氧化钌异质结构电催化剂。本发明的催化剂在碱性HOR反应中表现出卓越的电催化性能:异质界面优化了电子结构,提升本征活性;晶格中的钆单原子增强了结构稳定性与抗CO毒化能力,为碱性氢燃料电池阳极催化提供了高性能材料解决方案。

一种亚微米超薄自支撑离子传导膜及其制备方法和应用

NºPublicación:  CN121718022A 24/03/2026
Solicitante: 
中国科学院大连化学物理研究所
CN_121718022_PA

Resumen de: CN121718022A

本申请公开了一种亚微米超薄自支撑离子传导膜及其制备方法和应用。通过有机高分子树脂与交联剂反应得到,具有全交联结构,不存在分离层和支撑层之间的界面阻抗;有机高分子树脂选自聚苯并咪唑类聚合物;交联剂选自4,4'‑二(氯甲基)联苯和/或对氯甲基苯。采用反应‑非扩散相转化的方法,并在反应后将未交联或交联度较低的部分溶解,制备得到亚微米级的液流电池用离子传导膜。交联反应使聚合物堆积更加紧密,膜孔径尺寸减小,减缓液流电池中的活性物质互串,提高电池的库伦效率;同时减小的膜厚度可以有效缩短离子在膜内的传输路径,从而提高电池的电压效率。

高分散性有机-无机杂化二氧化铈纳米颗粒及其制备方法

NºPublicación:  CN121729386A 24/03/2026
Solicitante: 
爱思泰克有限公司
CN_121729386_PA

Resumen de: US2025084240A1

The present invention relates to highly dispersible organic-inorganic hybrid ceria nanoparticles, a method for preparing the same, and an ionomer and ion exchange membrane having improved oxidation stability, including the organic-inorganic hybrid ceria nanoparticles.

一种电解液及制备方法和全钒液流电池

NºPublicación:  CN121726464A 24/03/2026
Solicitante: 
西安热工研究院有限公司
CN_121726464_PA

Resumen de: CN121726464A

本发明属于电化学储能技术领域,提供一种电解液及制备方法和全钒液流电池,所述电解液包括:酸性电解质、硫酸氧钒、添加剂和水,所述添加剂为5‑氨基‑2萘磺酸、3‑氨基苯磺酸或3‑氨基丙磺酸;所述电解液中,酸性电解质的浓度为3.0~3.5 mol/L,硫酸氧钒的浓度为1.7~2.0 mol/L,添加剂的浓度为0.05~0.25 mol/L。所述电解液能够在保证良好电化学性能的前提下提高VO2+的高温稳定性。

一种高气密性的柔性石墨极板及其制备方法

NºPublicación:  CN121726437A 24/03/2026
Solicitante: 
浙江天能氢能源科技有限公司
CN_121726437_PA

Resumen de: CN121726437A

本发明提供一种高气密性的柔性石墨极板及其制备方法,该制备方法包括以下步骤:(1)将膨胀石墨预制板模压成型为石墨素坯极板;(2)采用微型针在石墨素坯极板上冲出微型针孔;(3)将步骤(2)得到的带有微型针孔的石墨素坯极板在浸渍胶中进行浸渍处理,得到浸渍后的极板;(4)将步骤(3)中浸渍后的极板进行清洗、固化、干燥和整平,得到所述高气密性的柔性石墨极板。本发明通过创新性地在模压后的石墨素坯极板表面采用冲制微型孔的方法,使得模压后的石墨素坯极板内部的一部分孔隙被打破。冲制的微型孔使预制板内存在的孔隙的气体更加容易被抽出,浸渍胶更容易填充至极板内部,实现了浸渍胶浸渍难度的降低和透气率的上升。

一种适配高温燃料电池的柔性石墨双极板及其制备方法和应用

NºPublicación:  CN121726438A 24/03/2026
Solicitante: 
浙江天能氢能源科技有限公司
CN_121726438_A

Resumen de: CN121726438A

本发明提供一种适配高温燃料电池的柔性石墨双极板及其制备方法和应用。本发明通过优化双马来酰亚胺浸渍液配方、真空压力浸渍与阶梯式固化工艺,使得柔性石墨双极板具备高TG点(>260℃)、优异机械性能及高温下的长期稳定性,既满足传统中温燃料电池长期服役需求,又能适配120~200℃高温燃料电池场景,填补高温双极板技术空白。

一种离子传导膜的制备方法及其在弱碱性锌铁液流电池中的应用

NºPublicación:  CN121718049A 24/03/2026
Solicitante: 
中国科学院大连化学物理研究所
CN_121718049_PA

Resumen de: CN121718049A

本发明公开了一种交联PBI膜的制备方法及其在弱碱性锌铁液流电池体系中的应用,该离子传导膜具有致密交联层和多孔支撑层非对称一体化结构,同时兼具高离子传导率和高离子选择性。基于双凝结浴诱导相转化结合化学交联反应的方法,通过调控单体浓度、刮涂厚度及交联反应时间得到具有上述结构的膜材料。使用含有‑Cl和/或‑Br的具有刚性结构的多苯环芳香族化合物作为交联剂,利用交联手段破坏PBI链段之间紧密堆积的氢键,形成纳米或亚纳米孔道,同时在膜内引入‑Cl/‑Br等亲水官能团,形成连续水通道促进离子选择性快速传递;将其应用于弱碱性锌铁液流电池体系中,可缓解由于水迁移造成的电解液失衡、维持电池的长期稳定运行,同时可以赋予电池较高的功率密度。

一种提高质子交换膜燃料电池功率密度的活化方法

NºPublicación:  CN121726447A 24/03/2026
Solicitante: 
华东理工大学
CN_121726447_PA

Resumen de: CN121726447A

本发明公开了一种提高质子交换膜燃料电池功率密度的活化方法,涉及燃料电池技术领域,具体过程如下:S1)将燃料电池连接于燃料电池测试系统,并用N2吹扫,同时设定加湿器、气路管道和电池温度;S2)到达一定温度后更换反应气体空气和H2,测试I‑V曲线,确定峰功率密度;S3)设置电池温度梯度(60℃‑85℃)和电流密度梯度(0.05A/cm2‑3A/cm2),测试得到I‑V曲线,即可得到开路电压、额定功率密度和峰功率密度。本专利提出了一种高效的质子交换膜燃料电池活化的方法,与传统的活化方法相比,燃料电池的额定功率密度和峰功率密度分别提高了45%和20%。

一种金属-氧化物界面提升氨氧化活性催化剂的制备方法

NºPublicación:  CN121726432A 24/03/2026
Solicitante: 
南通大学
CN_121726432_PA

Resumen de: CN121726432A

本申请公开一种金属‑氧化物界面提升氨氧化活性催化剂的制备方法,涉及新能源材料技术领域,将炭黑和乙二醇混合均匀,加入氯亚铂酸钾、硝酸钴混合均匀,加入抗坏血酸,置于油浴锅加热,冷却后离心洗涤所得样品,将样品放入真空干燥箱中干燥,将得到的催化剂分别置于空气和氮气的氛围下退火处理,该方法制备出来的催化剂PtCoOx/C基于PtCo‑C结构与具有亲*OH能力的CoOx复合形成的材料,实现高效的氨氧化催化性能;CoOx增强*OH在催化剂表面的结合,Co的引入与Pt形成合金能优化一系列中间体的吸附,NH3一系列中间体与*OH结合后脱氢,有效降低AOR动力学的吸附能,突破更高的氨氧化性能以及优异的稳定性。

一种电化学装置管道连接组件及其应用

NºPublicación:  CN121719986A 24/03/2026
Solicitante: 
国家能源投资集团有限责任公司北京低碳清洁能源研究院
CN_121719986_PA

Resumen de: CN121719986A

本发明涉及电化学装置管道连接技术领域,提供一种电化学装置管道连接组件及其应用,采用本发明的电化学装置管道连接组件可以同时满足高温下电池堆与外接金属管道间的气体传输、密封和绝缘要求。管道连接组件包括用于将外部的第一金属管道和与所述电化学装置存在电接触的第二金属管道之间连通的连接件;连接件包括用于依次设置在所述第一金属管道和所述第二金属管道之间的第一密封垫圈、陶瓷连通管道和第二密封垫圈;连接件的热膨胀系数在第一金属管道的热膨胀系数和第二金属管道的热膨胀系数之间。

多电堆重整制氢燃料电池能量管理拓扑结构及其控制方法

NºPublicación:  CN121726465A 24/03/2026
Solicitante: 
中国科学院大连化学物理研究所
CN_121726465_PA

Resumen de: CN121726465A

本发明提供一种多电堆重整制氢燃料电池能量管理拓扑结构及其控制方法。拓扑结构包括燃料电池系统处理器和若干条拓扑支路,所述燃料电池系统处理器的输出端连接若干条拓扑支路;所述拓扑支路包括依次连接的开度阀、流量传感器、电堆、DCDC和继电器,所述开度阀的输入端连接燃料电池系统处理器的输入端,所述继电器的输出端与锂电池一起连接直流负载或通过逆变器连接交流负载。本发明针对多电堆,考虑变载频率影响,设计重整燃料电池系统能量管理系统。

燃料電池モジュール

NºPublicación:  JP2026051899A 23/03/2026
Solicitante: 
トヨタ自動車株式会社
JP_2026051899_A

Resumen de: US20260074244A1

A fuel cell module includes a fuel cell stack; a fuel gas outlet manifold that extends inside the fuel cell stack in a stacking direction, is configured such that a fuel gas that has passed through each of fuel-cell cells flows through the fuel gas outlet manifold, and includes a fuel gas discharge port on a first end surface of the fuel cell stack; an oxidant gas outlet manifold that extends inside the fuel cell stack in the stacking direction, is configured such that an oxidant gas that has passed through each of the fuel-cell cells flows through the oxidant gas outlet manifold, and includes an oxidant gas discharge port on a second end surface of the fuel cell stack; and a water drain flow passage that connects an upstream end portion of the fuel gas outlet manifold and the oxidant gas discharge port.

燃料電池モジュール

NºPublicación:  JP2026051597A 23/03/2026
Solicitante: 
トヨタ自動車株式会社
JP_2026051597_A

Resumen de: WO2026058579A1

The present invention simplifies the shape of a fuel cell module. Provided is a fuel cell module having a stack case that accommodates a fuel cell stack. The stack case has a first end surface, which is one end surface in a stacking direction of a plurality of fuel cells, and a second end surface, which is an end surface on the side opposite the first end surface in the stacking direction. A first pipe, which is at least one from among a group of pipes consisting of a fuel gas supply pipe, a fuel gas discharge pipe, an oxidant gas supply pipe, an oxidant gas discharge pipe, a coolant supply pipe, and a coolant discharge pipe, is connected to the first end surface, and a second pipe other than the first pipe among the group of pipes is connected to the second end surface.

膜電極接合体

NºPublicación:  JP2026051780A 23/03/2026
Solicitante: 
トヨタ自動車株式会社
JP_2026051780_A

Resumen de: US20260074240A1

In this embodiment, an anode catalyst layer disposed on one surface of the solid polymer electrolyte membrane and the other surface of the solid polymer electrolyte membrane are provided. A membrane electrode assembly having a cathode catalyst layer disposed thereon, wherein the membrane electrode assembly comprises a metallic ions selected from cerium ions and manganese ions and a host compound capable of forming a clathrate compound with the metallic ions, wherein the cathode catalyst layer comprises an electrode catalyst, a binder, and an organic nitrogen-containing compound, wherein the electrode catalyst comprises a metal-supported catalyst comprising a catalyst metal and a support supporting the catalyst metal, and wherein the organic nitrogen-containing compound is at least one compound selected from the group consisting of a compound of formula (1), a compound of formula (2), and a compound of formula (3), or a polymer thereof.

燃料電池

NºPublicación:  JP2026051781A 23/03/2026
Solicitante: 
トヨタ自動車株式会社
JP_2026051781_A

Resumen de: US20260074239A1

The present embodiment is a fuel cell including at least a membrane electrode assembly including an electrolyte membrane, an anode catalyst layer disposed on one surface of the electrolyte membrane, and a cathode catalyst layer disposed on the other surface of the electrolyte membrane, wherein the cathode catalyst layer includes at least an electrochemical oxygen reduction electrode catalyst including a catalyst metal having oxygen reduction activity and a modifier that modifies the catalyst metal, wherein the modifier is at least one selected from a nitrogen-containing cyclic organic compound and a polymer thereof, and includes a decomposition inhibitor that suppresses decomposition of the modifier in at least one selected from an electrolyte membrane, an anode catalyst layer, and a cathode catalyst layer.

スルホン酸基を有するポリシラン誘導体及び固体高分子形燃料電池

NºPublicación:  JP2026051908A 23/03/2026
Solicitante: 
日産化学株式会社
JP_2026051908_A

Resumen de: JP2026051908A

【課題】親水性部位と疎水性部位を併せ持つ化合物であって、固体高分子形燃料電池の触媒層における電解質として用いられた場合に、固体高分子形燃料電池が良好な発電特性を奏するとともに、高電流密度域における電圧降下が抑制できる化合物を提供する。【解決手段】式(I)で表される化合物とする。TIFF2026051908000013.tif59161(式中、R1及びR2はそれぞれ独立に、置換/非置換の芳香族基又は置換/非置換アルキル基であり、Aは、直接結合、置換/非置換芳香族基、置換/非置換アルキル基又はこれらの組み合わせであり、xは0.1~0.8、yは0.2~0.9、x+y=1、nは1~3である。)【選択図】図1

一种以酸掺杂吡啶型侧链的新型纳米复合膜

NºPublicación:  CN121709651A 20/03/2026
Solicitante: 
山西国润储能科技有限公司
CN_121709651_A

Resumen de: CN121709651A

本申请涉及质子交换膜技术领域,公开了一种以酸掺杂吡啶型侧链的新型纳米复合膜,所述复合膜包括:一种双功能含吡啶侧基聚芳醚酮酮聚合物;六方氮化硼纳米片(h‑BN);磷酸,所述聚合物通过含吡啶侧基的单体(2,6‑二(4‑羟基苯基)吡啶)和含乙烯基侧链的单体(4,4'‑(1,2‑乙烯基)二苯酚)等共聚得到,该复合膜通过将聚合物与h‑BN制成基膜,随后进行磷酸溶液掺杂,最后进行140℃至180℃的热处理以引发乙烯基交联。本发明利用吡啶基团对磷酸的酸碱吸附作用,与热交联网络对磷酸的物理锁定作用,构建了双重掺杂剂保留机制,纳米片则提供了物理阻隔,该复合膜兼具高质子传导率、低钒离子渗透率和优异的长期稳定性。

一种风冷式燃料电池堆的散热装置

NºPublicación:  CN224020743U 20/03/2026
Solicitante: 
协氢(上海)新能源科技有限公司
CN_224020743_U

Resumen de: CN224020743U

本实用新型公开了一种风冷式燃料电池堆的散热装置,涉及散热装置技术领域,该散热装置包括装置托台,装置托台的内部中心位置上设置有内载槽,内载槽的内部设置有两个内滑槽,内滑槽的前端位置上设置有组装插槽,组装插槽和内滑槽均与装置托台为一体结构;还包括:侧挡板,其设置在所述内载槽的两侧外壁上,两个侧挡板均与装置托台焊接连接,且两个侧挡板的内部均设置有通风孔,两个侧挡板的后端位置上设置有后置座板,解决了现有的冷却装置通过设置的风冷机构配合水箱对燃料电池堆进行冷却散热,但风冷机构只能对燃料电池堆的一个面进行冷却,无法实现对燃料电池堆的全方位散热,导致燃料电池堆散热效果较差的问题。

电池模组的堆叠工装

NºPublicación:  CN224020756U 20/03/2026
Solicitante: 
江苏中兴派能电池有限公司
CN_224020756_U

Resumen de: CN224020756U

本申请涉及电池技术领域,尤其是涉及一种电池模组的堆叠工装,包括托盘连接件、定位组装机构及支撑座,定位组装机构以及支撑座均设置于托盘连接件,且定位组装机构与支撑座转动连接,以使得定位组装机构以及安装于定位组装机构内堆叠完成的电芯组件由竖直状态翻转为水平状态。可见,本申请提供的电池模组的堆叠工装在使用过程中,当利用定位组装机构对电芯堆叠完成后,整体可相对托盘连接件翻转,也即由竖直状态翻转至水平状态,从而方便在电芯组件的水平设置的顶部刷导热胶以及贴加热膜,省时省力,极大地提升了工作效率,而且不会污染工装,避免了后续的清洁工作。

一种燃料电池输出控制电路、单元及控制系统

NºPublicación:  CN224020169U 20/03/2026
Solicitante: 
永安行科技股份有限公司
CN_224020169_U

Resumen de: CN224020169U

本实用新型提供了一种燃料电池输出控制电路、单元及控制系统,涉及燃料电池管理技术领域,包括:转换电路,输入侧连接单片机,获取单片机输出的PWM信号并生成基准电压信号;比较电路,输入侧连接燃料电池与所述转换电路,输出侧连接电源模块,接收电堆的电流输出信号与基准电压信号,比较后输出控制信号至电源模块,从而调整燃料电池的输出电压,解决现有燃料电池输出控制结构复杂,控制效果不够好的问题。

非晶/晶态异质结复合材料、固体氧化物燃料电池和催化剂

NºPublicación:  CN121709643A 20/03/2026
Solicitante: 
中国科学技术大学
CN_121709643_PA

Resumen de: CN121709643A

本发明涉及催化剂材料与固体氧化物电池技术领域,提供了一种非晶/晶态异质结复合材料、一种固体氧化物燃料电池和一种催化剂;其中,所述非晶/晶态异质结复合材料由非晶态组元和晶态组元组成,所述非晶态组元为MxRyTz,所述晶态组元包括质子传导氧化物、氧离子传导氧化物、锂离子传导陶瓷、钠离子传导陶瓷、金属材料、碳材料、无机盐、电子传导材料和非导电陶瓷中的一种或多种。本发明提供的非晶/晶态异质结复合材料利用非晶态材料独特的无序原子排列、高密度的表面缺陷位点等特性及晶态非晶态材料的协同作用,显著增强了催化剂活性及稳定性。

燃料电池极板结构和燃料电池单电池

NºPublicación:  CN121709650A 20/03/2026
Solicitante: 
北汽福田汽车股份有限公司
CN_121709650_PA

Resumen de: CN121709650A

本发明公开了一种燃料电池极板结构和燃料电池单电池,燃料电池极板结构包括极板本体和流场,流场设置在极板本体上,流场包括第一进气分配区和第一反应流场区,第一进气分配区包括并排设置的多个第一分配流道,第一反应流场区包括多个第一基础流道,多个第一分配流道中的两个分别为第一流道和第二流道,第一流道的长度小于第二流道的长度,第一流道与N个第一基础流道连通,第二流道与M个第一基础流道连通,且满足:N≥M。根据本发明的燃料电池极板结构,使得从第一进气分配区进入到第一反应流场区的气体的压力以及供应量较为一致,使得第一反应流场区的反应速率较为均衡,有利于提升能量转换效率。

一种液流电池电堆

NºPublicación:  CN224020751U 20/03/2026
Solicitante: 
中国科学院大连化学物理研究所

Resumen de: CN224020751U

本申请公开了一种液流电池电堆,包括下端板一体件、芯端板一体件、上端板一体件、密封‑电极‑膜框焊接预置一体件和密封‑电极‑板框焊接预置一体件;由五种一体件组装而成,重复堆叠的关键一体件仅为两种;采用本申请提出的电堆结构,可以在实现电堆全自动化装配的同时,极大地减少电堆部件的组装数量,提高电堆的组装效率;部件的减少同样提升了电堆组装过程中的定位精度和一致性,有利于提升产品的性能一致性;对电堆组装自动化生产平台的工位、机台以及机械臂要求少,结构简单,占地面积小,成本低。

一种高温固体氧化物燃料电池的冷却系统

NºPublicación:  CN224020744U 20/03/2026
Solicitante: 
福赛尔(武汉)集成有限公司
CN_224020744_U

Resumen de: CN224020744U

本实用新型提供了一种高温固体氧化物燃料电池的冷却系统,属于燃料电池领域。该系统包括散热器、冷却水泵、待冷却设备和燃料电池发电模块,燃料电池发电模块上设置有第一进气口和第一出气口,第一出气口与外部空气连接,散热器包括冷水侧和热水侧,散热器上设置有冷气管和热气管,冷气管和热气管靠近热水侧设置,冷气管与外部空气连通,热气管与第一进气口连通,冷水侧与冷却水泵连接,冷却水泵与待冷却设备连接,待冷却设备与热水侧连接。采用本实用新型实施例所提供的一种高温固体氧化物燃料电池的冷却系统,能够解决现有技术中能量利用率较低的问题。

一种金属燃料电池单体结构及含有其的金属燃料电池

NºPublicación:  CN224020739U 20/03/2026
Solicitante: 
郑州佛光发电设备股份有限公司
CN_224020739_U

Resumen de: CN224020739U

本实用新型公开了一种金属燃料电池单体结构及含有其的金属燃料电池,电池单体结构包括金属壳体、阴极膜、电解液、正极接线柱和负极接线柱;金属壳体的外周侧面经钝化绝缘处理形成有钝化层,金属壳体内部形成有容纳腔,阴极膜和电解液均设置在容纳腔内,金属壳体上开设有注液口、透气口和正极引出口,正极引出口处设置有第一绝缘层,正极接线柱穿过正极引出口与阴极膜连接,负极接线柱与金属壳体连接。本实用新型提供的单体结构,金属壳体不仅作为单体的外壳,还作为单体反应的阳极电极,外部经过钝化绝缘处理,不仅耐磨损、防腐蚀,而且坚固、绝缘。随着单体反应,阳极内部厚度变薄,但是外部钝化层不会反应,可有效解决单体的漏液问题。

燃料电池及供料系统

NºPublicación:  CN224020745U 20/03/2026
Solicitante: 
三一氢能科技有限公司
CN_224020745_U

Resumen de: CN224020745U

本申请涉及燃料电池技术领域,公开了燃料电池及供料系统,包括:反应腔体、第一连接块和第二连接块。反应腔体用于进行化学反应,反应腔体开设有多个第一通孔和多个第二通孔;第一连接块连接在反应腔体上,第一连接块上开设有多个第一通道,多个第一通道分别与多个第一通孔密封连通;第二连接块连接在反应腔体上,第二连接块上开设有多个第二通道,多个第二通道分别与多个第二通孔密封连通;其中,各第一通道垂直其轴线的横截面的形状相同尺寸相等,各第二通道垂直其轴线的横截面的形状相同尺寸相等。本申请公开的燃料电池及供料系统,解决或改善电池供电效率低的问题。

集箱式模块化电解液价态生产系统

NºPublicación:  CN224020750U 20/03/2026
Solicitante: 
辽宁兰陵易电工程技术有限公司
CN_224020750_U

Resumen de: CN224020750U

本实用新型属于全钒液流电池技术领域,尤其涉及一种集箱式模块化电解液价态生产系统,包括集装箱、冷却风扇、电解电堆和电解电源,集装箱内并排设有两组电解电堆,两组电解电堆通过电缆与电解电源相连接,所述集装箱的顶部对应两组电解电堆的位置分别设有开窗,开窗上设有盖板;集装箱的一侧设有两组对开门,对开门上设有锁具;集装箱的后侧设有进出管连接座;集装箱的左侧和右侧分别设有通风口;两组电解电堆的管路为并联关系。本实用新型的有益效果是:通过采用集箱式模块化结构,利用集箱数量的匹配即可快速实现多功率规格全钒液流电池储能系统的电解液价态调节旁路配套作业,提高了全钒液流电池电解液生产的效能。

一种SOFC系统进出气装置及模组

NºPublicación:  CN224020746U 20/03/2026
Solicitante: 
福赛尔(武汉)集成有限公司
CN_224020746_U

Resumen de: CN224020746U

本实用新型提供了一种SOFC系统进出气装置及模组,属于燃料电池领域。该装置包括盒体,盒体的顶部一侧设置有电堆组燃气进口管和电堆组空气进口管,另一侧设置有电堆组燃气出口管和电堆组空气出口管,盒体内部设置有第一空腔、第二空腔、第三空腔和第四空腔,第一空腔、第二空腔、第三空腔和第四空腔互相分隔,盒体的底部开设有电堆孔组,电堆孔组包括电堆组燃气进口孔、电堆组空气进口孔、电堆组燃气出口孔和电堆组空气出口孔。采用本实用新型实施例所提供的一种SOFC系统进出气装置及模组,能够解决现有技术中外部管道交错冗杂的问题,管道的排列设置复杂,占用空间和安装难度大,影响SOFC系统的组装效率和维护难度。

防外渗液流电池电堆及电解液回收系统

NºPublicación:  CN224020748U 20/03/2026
Solicitante: 
泓曜绿色能源发展(江苏)有限公司
CN_224020748_U

Resumen de: CN224020748U

本实用新型公开了一种防外渗液流电池电堆及电解液回收系统,其中,防外渗液流电池电堆包括:用于装载电极的板框,所述板框内形成有反应区,所述板框的贴近电极的一侧位于靠近反应区处设有密封槽,所述密封槽用于嵌设密封件以形成密封区,所述密封区的外周设有缓存导流槽,缓存导流槽与密封槽之间形成导流通道,所述板框的底部设有若干与所述缓存导流槽相连通的泄流槽,所述泄流槽用于将泄漏的电解液引流导出;以及,接液盘,所述接液盘上设有用于与泄流槽相对应设置的接液口,所述接液盘内形成有用于存储漏液的储液腔。本实用新型通过缓存导流槽及泄流槽对泄漏的电解液进行导流,由接液盘收集暂存,从而避免电对电池电堆造成腐蚀损伤。

船舶及其发电系统

NºPublicación:  CN224020747U 20/03/2026
Solicitante: 
中集蓝水科技发展(广东)有限公司中集安瑞科投资控股(深圳)有限公司中国国际海运集装箱(集团)股份有限公司
CN_224020747_U

Resumen de: CN224020747U

本实用新型提供一种船舶及其发电系统。发电系统包括储罐、供氧模块、燃料电池及分离罐。储罐用于储存氢燃料。储罐上设有出气口,出气口出连通有一用于输送气态氢气的输气管路。供氧模块用于提供氧气。燃料电池与输气管路连通,燃料电池与供氧模块连通,燃料电池用于接收气态氢气和氧气,并用于产生电能。燃料电池用于与用电模块电连接。分离罐设于连通管路上,并通过连通管路连通于燃料电池的上游,分离罐用于分离液化的氢气和气态氢气。本申请通过输气管路、分离罐的配合,对储罐内部的气态氢气进行合理利用,将其直接用作燃料电池产生电能的燃料,且分离罐还具有储存功能,以便于后续对其分离出的液态氢气进行回收利用,而提升了能源的利用率。

一种快拆式固态储氢换热一体化装置

NºPublicación:  CN224020742U 20/03/2026
Solicitante: 
中晶(泰州)氢能源科技有限公司
CN_224020742_U

Resumen de: CN224020742U

本申请提供一种快拆式固态储氢换热一体化装置,包括:电池,电池包括同轴嵌套的内壳和外壳,内壳内部容置储氢材料,外壳与内壳之间形成换热流道;电池前端设有吸氢口和集成于吸氢口周围的环形冷媒口;安装接头,安装接头上设有安装通道,安装通道内端设置有补氢口和冷媒循环口;安装通道内设有第一安装位和第二安装位,电池插入安装通道内至第一安装位时,补氢口与吸氢口对接并导通,且冷媒循环口与环形冷媒口对接;当电池由第一安装位旋转至第二安装位时,冷媒循环口与环形冷媒口导通。本申请提供的装置可实现电池吸氢时的快速安装和拆卸,操作便捷,并且系统集成化程度高。

气体扩散层及其制造方法、气体扩散层用粉体、膜电极接合体、燃料电池

NºPublicación:  CN121713291A 20/03/2026
Solicitante: 
松下知识产权经营株式会社
CN_121713291_PA

Resumen de: WO2025079699A1

Provided is a gas diffusion layer that maintains the inside of an MEA in a water-containing state and that has sufficient gas permeability and water discharge properties. The gas diffusion layer includes a sheet of a composite powder including conductive particles, conductive fibers, and polymer resin. A grain boundary of the composite powder exists on a surface or in a cross section of the gas diffusion layer, the composite powder including the conductive particles, the conductive fibers, and the polymer resin.

用于电池电极板的含有HDPE和碳纳米管的高导电性化合物

NºPublicación:  CN121712839A 20/03/2026
Solicitante: 
高新特殊工程塑料全球技术有限公司
CN_121712839_A

Resumen de: WO2025032441A1

Thermoplastic compositions include: from about 35 wt% to about 70 wt% of a polymer resin, wherein the polymer resin comprises at least two polymer resins, wherein at least one of the polymer resins includes a high density polyethylene (HDPE) polymer having a degree of crystallinity of at least 47% as measured by differential scanning calorimetry (DSC); from about 10 wt% to about 40 wt% synthetic graphite; from about 5 wt% to about 15 wt% carbon nanotubes (CNTs); and from about 3 wt% to about 15 wt% conductive carbon black powder.

ELECTROLYTE SOLIDE POUR BATTERIE NA-ION et K-ION

NºPublicación:  FR3166477A1 20/03/2026
Solicitante: 
ARKEMA FRANCE [FR]
ARKEMA FRANCE
FR_3166477_A1

Resumen de: FR3166477A1

L’invention concerne une composition d’un électrolyte solide qui permet la fabrication d’un film présentant un très bon compromis entre conductivité ionique, stabilité électrochimique, stabilité à haute température, et tenue mécanique. Cette composition peut être utilisée dans un séparateur ou une électrode de batteries Na-ion ou K-ion.

Empilement de cellules électrochimiques réparties en groupes distincts et comportant des plaques bipolaires à réduction d’écoulement de court-circuit

NºPublicación:  FR3166481A1 20/03/2026
Solicitante: 
COMMISSARIAT A L ENERGIE ATOMIQUE ET AUX ENERGIES ALTERNATIVES [FR]
COMMISSARIAT A L' ENERGIE ATOMIQUE ET AUX ENERGIES ALTERNATIVES
FR_3166481_A1

Resumen de: FR3166481A1

L’invention porte sur un empilement de cellules électrochimiques réparties en N groupes d’alimentation en les fluides réactifs. Chaque plaque bipolaire (1a) comporte N premiers collecteurs (4a, 4b) pour l’alimentation en le même premier fluide réactif, au moins une ligne d’étanchéité interne (5b), N premières lignes de joint (10a, 10b), et un compartiment d’homogénéisation (20). La ligne d’étanchéité interne (5b) est située entre le premier collecteur non-alimentant (4b) et la première ligne de joint (10b) associée. La première tôle (2) s’étend continûment entre les tunnels d’injection aval (14a, 14b) et le compartiment d’homogénéisation (20) en restant espacée de la deuxième tôle (3), de sorte que le premier fluide réactif s’écoule des tunnels d’injection aval (14a) dans le compartiment d’homogénéisation (20) en étant confiné entre les deux tôles (2, 3). Figure pour l’abrégé : Fig. 2

质子交换膜燃料电池的膜电极参数敏感性的量化分析方法、装置、计算机设备、可读存储介质和程序产品

NºPublicación:  CN121706429A 20/03/2026
Solicitante: 
广东新型储能国家研究院有限公司
CN_121706429_PA

Resumen de: CN121706429A

本申请涉及一种质子交换膜燃料电池的膜电极参数敏感性的量化分析方法、装置、计算机设备、计算机可读存储介质和计算机程序产品,涉及燃料电池技术领域,提高了膜电极的优化设计过程效率。所述方法包括:基于质子交换膜燃料电池的物理运行行为,确定质子交换膜燃料电池的三维计算域和一维计算域;获取计算域之间的数据交互接口;基于三维计算域、一维计算域和数据交互接口,确定仿真模型;确定质子交换膜燃料电池发生预设变换后的敏感性参数的相对变换率;基于仿真模型,确定质子交换膜燃料电池发生预设变换后的目标性能指标的相对变换率;基于目标性能指标的相对变化率与敏感性参数的相对变化率,确定量化敏感性系数。

一种低温原位法制备的钒电池用石墨毡电极及其制备方法

NºPublicación:  CN121709646A 20/03/2026
Solicitante: 
常州大学
CN_121709646_PA

Resumen de: CN121709646A

本发明公开了一种低温原位法制备的钒电池用石墨毡电极及其制备方法。本发明将石墨毡浸入由多巴胺和含氮功能剂组成的缓冲溶液中,通过自聚合在纤维表面形成一层富氮活性界面网络;在对铋物种进行负载,活性物种在分子层面均匀分散;最后,在低温和空气气氛下对石墨毡进行热处理,可使界面网络的碳化和铋物种向氧化铋的原位转化。本发明能够在石墨毡纤维表面形成均匀、稳定负载的纳米级铋氧化物颗粒,显著提升了电极的比表面积、催化活性,从而提高了钒电池的能量效率、功率密度和循环稳定性,具备良好的工业化应用前景。

隔板、电化学电池和装置

NºPublicación:  CN121709655A 20/03/2026
Solicitante: 
株式会社东芝
CN_121709655_PA

Resumen de: US20260081191A1

A separator according to an embodiment includes a flow channel comprising one or more flow-channel grooves provided between flow-channel walls. One or more protrusions are provided on the flow-channel walls.

隔离件、电化学电池、电堆和装置

NºPublicación:  CN121709653A 20/03/2026
Solicitante: 
株式会社东芝
CN_121709653_PA

Resumen de: US20260081190A1

A separator according to an embodiment includes a first flow channel comprising flow-channel grooves and connecting a first location and a second location. The first flow channel has a serpentine flow channel shape. The midpoint in a length direction of the first flow channel is defined as the boundary. A range from the boundary to the first location side is defined as the first half. A range from the boundary to the second location side is defined as the second half. A turnaround area is included in the first half of the first flow channel. A turnaround area is included in the second half of the first flow channel that has a flow channel pattern different from that in the first half of the first flow channel.

电极、膜电极接合体、电化学电池、电池组、电解装置

NºPublicación:  CN121709644A 20/03/2026
Solicitante: 
株式会社东芝东芝能源系统株式会社
CN_121709644_PA

Resumen de: US20260081187A1

An electrode according to an embodiment includes a support comprising metal fibers or metal particles, the support comprising a first surface and a second surface located opposite the first surface and a catalyst layer provided on the metal fibers or the metal particles on the first surface side of the support. An average fiber diameter of the metal fibers and an average primary diameter of the metal particles are denoted as D. A direction from the first surface of the support to the second surface of the support is a thickness direction of the support. The catalyst layer is provided at from the first surface to a position at a minimum depth of 3×D or more and a position at a maximum depth of 10×D or less.

Rotor bobiné de machine électrique

NºPublicación:  FR3166496A1 20/03/2026
Solicitante: 
AMPERE SAS [FR]
AMPERE SAS
FR_3166496_A1

Resumen de: FR3166496A1

L’invention concerne un rotor pour machine électrique comprenant : - un châssis qui comporte un moyeu (29) et, répartis autour d’un axe longitudinal, des éléments de pôle magnétique (21) qui s’élèvent à partir du moyeu (29) et qui sont séparés deux à deux par des gorges (40), chaque élément de pôle magnétique comportant un pied (210) et une tête évasée (211), - des bobinages de fil électrique conducteur enroulés autour des pieds des éléments de pôle magnétique, et - dans chaque gorge, une feuille de papier (100) isolant électriquement, qui est pliée de façon à présenter un fond (101) contre le moyeu, deux ailes (102) repliées par rapport au fond et engagées chacune entre l’un des bobinages et l’un des pieds des éléments de pôle magnétique, et deux retours (103) repliés par rapports aux ailes l’un vers l’autre et engagés chacun entre l’un des bobinages et l’une des têtes évasées des éléments de pôle magnétique. Selon l’invention, chaque feuille de papier comporte en outre au moins deux rabats (104) repliés par rapports aux deux retours vers le fond, entre les bobinages. Figure pour l’abrégé : Fig.3

一种燃料电池用密封胶的快速可靠施胶工艺

NºPublicación:  CN121709658A 20/03/2026
Solicitante: 
孙舒苇
CN_121709658_A

Resumen de: CN121709658A

本发明涉及新能源领域燃料电池密封技术,具体为一种燃料电池用密封胶快速可靠施胶工艺。氢燃料电池是通过氢气的燃烧反应将化学能转变为电能。此发电过程是在密封的燃烧室里进行的,其燃烧室的密封需要用耐温密封胶。燃烧室的结构有的比较复杂,密封面是不在同一个平面上的连续施胶,给施胶操作带来一定难度。本发明提供了一种燃料电池用密封胶快速可靠的施胶工艺。它可用于施胶位置在多个平面上乃至一些曲率半径较大的弧形面上瞬间完成施胶操作,还能保证所有电池产品的施胶质量完全一致及稳定性和可靠性,大幅提高生产效率,减少电池企业对施胶设备的投入和厂房面积、操作人员数量和水电费消耗,降低生产成本,提高市场竞争力。

一种用于高温质子交换膜的双季铵型聚离子液体/季铵型聚苯并咪唑交联膜的制备方法

NºPublicación:  CN121699209A 20/03/2026
Solicitante: 
长春工业大学
CN_121699209_A

Resumen de: CN121699209A

本发明首先提供一种用于高温质子交换膜的双季铵型聚离子液体/季铵型聚苯并咪唑交联膜,该复合膜中离子液体按质量百分比占有30%,制备的QMPBI‑P‑Ox‑Ty膜通过酸碱掺杂反应,将阴离子交换成H2PO4‑,从而形成离子对,使得膜在体系中构建质子传输通道,促进质子传递与转移,提供碱性季铵位点并与PA具有较强的酸碱相互作用,可以有效的减少PA的泄露。可以增强高温质子交换膜的长期性能。本发明还提供了一种用于高温质子交换膜的双季铵型聚离子液体/季铵型聚苯并咪唑交联膜的制备方法,QMPBI‑P‑Ox‑Ty膜通过原位自由基聚合的方法交联而成。形成的高温质子交换膜电化学性能优异、成本可控、有生产前景,可应用于高温质子交换膜燃料电池领域。

一种不对称液流电池电极材料及其制备方法和应用

NºPublicación:  CN121709642A 20/03/2026
Solicitante: 
华碳新材料科技(宿迁)有限公司
CN_121709642_PA

Resumen de: CN121709642A

本发明提供了一种不对称液流电池电极材料及其制备方法和应用,属于液流电池储能技术领域。本发明的制备方法包含如下步骤:将预氧化纤维在氢氧化钾溶液中浸泡后顺次进行烘干、煅烧,多孔碳材料进行石墨化处理、活化处理,得到空气活化电极材料;将空气活化电极材料在氧化石墨烯和还原剂的混合液中进行水热反应,将石墨烯负载活化电极材料浸渍于银盐溶液中进行电沉积,得到银负载活化电极材料。本发明通过正负极不对称电极结构设计,显著提高了全钒液流电池的循环稳定性和倍率性能;首先通过氢氧化钾的煅烧成孔作用、高温石墨化、二次活性气体活化作为正极,提高氧化还原反应速率;进而在电极表面负载石墨烯与银纳米颗粒作为负极提高长时稳定性。

一种基于半导体器件的燃料电池系统配电系统

NºPublicación:  CN224020749U 20/03/2026
Solicitante: 
广东云韬氢能科技有限公司

Resumen de: CN224020749U

本实用新型公开一种基于半导体器件的燃料电池系统配电系统。该系统包括中央控制器、HSD、上位机、芯片和电源;所述中央控制器控制HSD,同时HSD将通讯信号反馈给中央控制器;所述中央控制器与上位机之间通过CAN通讯相互连接;所述中央控制器驱动芯片,所述电源为中央控制器与芯片供电;所述中央处理器集成了CAN通讯控制模块,上位机通过CAN通信对中央控制器发送命令,从而进行各个控制器引脚进行HSD驱动,以及零部件供电驱动。本实用新型对燃料电池系统配电控制进行开环解耦;本实用新型可以实时监控、诊断以及控制燃料电池系统;减少燃电系统的线束设计裕量。

一种具有偏心圆锥型凹槽阳极结构的固体氧化物燃料电池

NºPublicación:  CN224020738U 20/03/2026
Solicitante: 
吉林大学

Resumen de: CN224020738U

本实用新型适用于固体氧化物燃料电池技术领域,提供了一种具有偏心圆锥型凹槽阳极结构的固体氧化物燃料电池,包括阳极流道和阴极流道,所述阳极流道和阴极流道之间设置有三合一电极,所述三合一电极包括阳极、阴极和电解质层;所述阳极包括阳极支撑层和阳极功能层,所述阴极包括阴极功能层和阴极扩散层两层;所述阳极支撑层上沿着气体输送方向设有两排偏心圆锥型凹槽,两排偏心圆锥型凹槽的间距相等,用于对气体进行扰动和导流。该固体氧化物燃料电池可使得气体更容易在多孔介质内部进行流动和扩散,有利于强化对流换热,可有效减小沿槽边的最大温度梯度,改善电池内部热分布不均的问题,增加其使用寿命。

一种基于仿生叶脉形流道的液流电池

NºPublicación:  CN224020740U 20/03/2026
Solicitante: 
吉林大学

Resumen de: CN224020740U

本实用新型适用于电池仿真技术领域,提供了一种基于仿生叶脉形流道的液流电池,包括电极模块和离子交换膜,电极模块设置有两个,且两个电极模块之间通过离子交换膜相互连接;电极模块包括流道板和多孔电极,所述流道板上设有进液流道、出液流道以及多个支流道;所述进液流道位于流道板的中央,所述出液流道位于流道板的四角;各所述支流道依次设置于进液流道和出液流道之间,形成叶脉状流道形式;所述支流道以中心对称的方式布置,并与出液流道相互连通。该液流电池基于生物拟态原理开发出叶脉分形流道技术,其融合了辐射状主脉与分形次级网络的双重优势,确保了电极表面各处的电化学反应速率保持高度一致,使电池的整体容量得到显著提升。

一种液氢燃料电池机车系统

NºPublicación:  CN224020741U 20/03/2026
Solicitante: 
成都深冷科技有限公司

Resumen de: CN224020741U

本实用新型公开了一种液氢燃料电池机车系统,涉及电池机车系统领域,包括:燃料罐系统,用于储存燃料;燃料罐出液管路,其输入端与燃料罐系统的输出端连通;换热系统,其输入端与燃料罐出液管路的输出端连通;用氢管路,其输入端与换热系统的输出端连通;反应系统,其输入端与用氢管路的输出端连通;循环系统,其与换热系统和反应系统形成循环流体流动。本实用新型通过设置与换热系统和反应系统形成循环流体流动的循环系统,以达到将电堆热量充分利用,降低整车能耗,确保了整机的经济性的目的。

一种燃料电池用在线EIS检测系统及在线EIS检测方法

NºPublicación:  CN121709666A 20/03/2026
Solicitante: 
上海空间电源研究所
CN_121709666_PA

Resumen de: CN121709666A

本发明公开了一种燃料电池用在线EIS检测系统及在线EIS检测方法,所述系统包括DC‑DC变换器、DC‑DC控制模块、EIS测量模块、燃料电池及负载;DC‑DC变换器、燃料电池与负载构成主回路;DC‑DC变换器还设有一控制端;DC‑DC控制模块与DC‑DC变换器连接,用于在控制DC‑DC变换器运行时,向DC‑DC变换器的控制端发送注入特征频率的扰动信号的驱动控制信号,激励燃料电池产生响应信号;DC‑DC控制模块还设有一信号采集端,信号采集端与燃料电池及DC‑DC变换器连接,用于采集所述燃料电池的响应信号;EIS测量模块的信号输入端复用DC‑DC控制模块的信号采集端;EIS测量模块基于采集的所述响应信号,计算所述燃料电池在所述特征频率下的阻抗。本发明实现了在燃料电池的正常工作状态下实时、高效的EIS检测。

一种燃料电池电堆气密性测试方法及检测装置

NºPublicación:  CN121702655A 20/03/2026
Solicitante: 
国网青海省电力公司电力科学研究院
CN_121702655_PA

Resumen de: CN121702655A

本申请实施例涉及气密性检测技术领域,尤其涉及一种燃料电池电堆气密性测试方法及检测装置,其中,方法包括通过检测装置向所述燃料电池电堆的目标测试腔体内充入设定压力的测试气体,同时向检测装置内部的参考容积腔体内充入相同压力的相同气体,将所述目标测试腔体和所述参考容积腔体隔离,并监测压力差;在所述目标测试腔体和所述参考容积腔体不存在压力波动后,基于所述预设周期内压力差的变化值、目标测试腔体的容积、测试时间以及气体性质参数,确定燃料电池电堆的气密性是否合格;本申请实施例通过建立等压平衡的差压比较系统并监测压差变化,实现了对燃料电池电堆气密性的精确、高效、自动化检测。

熔盐供热型甲醇重整燃料电池储能装置及方法

NºPublicación:  CN121709669A 20/03/2026
Solicitante: 
中南大学
CN_121709669_PA

Resumen de: CN121709669A

熔盐供热型甲醇重整燃料电池储能装置及方法,明属于综合能源存储技术领域。熔盐储能系统采用复合相变储热熔盐,其储热密度与热稳定性显著提升;催化重整器采用锯齿螺旋管束式结构以强化传热;燃料电池采用仿生分形流道双极板以提升气体分布均匀性与发电效率。本发明利用熔盐储能系统储存的绿色热能,为甲醇重整制氢系统提供稳定、零碳排的反应热;通过废热回收系统将燃料电池发电系统产生的高温尾气及反应废热进行回收,并回馈至熔盐系统或用于催化重整和蒸汽发生,构建了系统内部的热量闭环。方法部分包括利用廉价能源加热熔盐进行储能,以及利用熔盐热驱动甲醇重整制氢、进而通过燃料电池发电的供能过程。

一种基于多溶剂梯级蒸发-冷凝的电化学热电转化方法及装置

NºPublicación:  CN121710740A 20/03/2026
Solicitante: 
中国科学技术大学
CN_121710740_PA

Resumen de: CN121710740A

本发明涉及热电化学温差发电技术领域,具体为一种基于多溶剂梯级蒸发‑冷凝的电化学热电转化方法及装置,解决了传统TREC系统的电解液因普遍采用单一溶剂体系,受限于溶剂沸点特性,当热源超溶剂沸点时无法稳定工作,同时局限于单一温度水平的热能利用,缺乏有效的梯级利用机制,无法适配热量连续温度下的分布,热量在收集与转换过程中存在明显的能量耗散的问题,基于多溶剂梯级蒸发‑冷凝的电化学热电转化装置,包括多级串联TREC单元、多级蒸汽换热单元、多级蒸汽流通单元及多级溶剂循环复用单元。本发明以双溶剂体系适配中高温工况,梯级传热提升热能回收效率,闭环循环降低溶剂损耗,模块化结构增强场景适配性,在低品位能源利用领域应用前景良好。

一种用于UUV的氢氧燃料电池阴极闭式循环多模式协同调控系统

NºPublicación:  CN121709662A 20/03/2026
Solicitante: 
西北工业大学宁波研究院
CN_121709662_PA

Resumen de: CN121709662A

本发明涉及燃料电池技术领域,具体涉及一种用于UUV的氢氧燃料电池阴极闭式循环多模式协同调控系统,包括:氮气供应模块、氧气供应模块、混合模块、气体循环与水热管理模块、检测模块以及控制模块;控制模块用于在电堆的实时温度小于预设的温度阈值时,控制电堆进入预热模式;用于在负载变化率大于阈值时,控制电堆进入动态负载响应模式;用于在单电池电压异常波动时控制系统进入水管理辅助模式;用于在阴极氢气浓度大于氢浓度安全阈值时,控制系统进入安全纯化模式。本发明能够快速、准确地跟踪负载变化,并及时调控电堆氧气分压,避免系统性能的剧烈波动。

燃料电池混合推进系统及其功率波动-消耗协同优化方法

NºPublicación:  CN121697510A 20/03/2026
Solicitante: 
南京航空航天大学
CN_121697510_PA

Resumen de: CN121697510A

本发明公开了一种燃料电池混合推进系统及其功率波动‑消耗协同优化方法,系统包括:燃料电池发电单元、锂离子电池单元、电力驱动单元、传感与数据采集单元以及能量管理控制器;基于近端策略优化,通过构建以系统状态、工况信息为输入,以动力源功率分配指令为输出的智能体,并设计融合了总能耗惩罚与功率波动惩罚的奖励函数,驱动智能体在连续动作空间中学习最优能源管理策略。本发明能在满足动态功率需求与安全约束的前提下,抑制锂离子电池功率的频繁剧烈波动,延长电池寿命、保障系统安全的同时最小化整体氢燃料消耗,实现长期运行经济性与系统输出平稳性的协同最优,以实现混合推进系统在动态环境下的高效、平顺、长寿命运行。

一种抗铂毒害的膜电极催化层浆料及其制备方法和应用

NºPublicación:  CN121709645A 20/03/2026
Solicitante: 
东风汽车集团股份有限公司
CN_121709645_PA

Resumen de: CN121709645A

本发明属于膜电极技术领域,涉及一种抗铂毒害的膜电极催化层浆料及其制备方法和应用。该膜电极催化层浆料包含以下组分:铂基催化剂、离聚物、主分散溶剂,以及至少一种多元醇。该膜电极催化层浆料中的多元醇能解决因传统低沸点溶剂快速挥发导致的催化层结构缺陷问题,且能有效抑制和降低离聚物磺酸基团对铂基催化剂的毒害效应,从而提升膜电极的综合性能。

一种宽湿度工况自适应的膜电极及其制备方法

NºPublicación:  CN121709638A 20/03/2026
Solicitante: 
江苏投特新能源有限公司苏州盈思格物无损检测科技有限公司
CN_121709638_PA

Resumen de: CN121709638A

本发明公开一种宽湿度工况自适应的膜电极及其制备方法,包括质子交换膜,质子交换膜的两侧分别设有阴极催化层和阳极催化层,阴极催化层与阳极催化层的外侧均设有气体扩散层;阴极催化层由至少两层功能梯度层组成,功能梯度层包括催化剂、离聚物、溶剂、水传输通道组分和气体传输通道组分;功能梯度层在从质子交换膜向气体扩散层的方向上,水传输通道组分质量比例连续递减,气体传输通道组分质量比例连续递增;水传输通道组分为孔径分布在2~20 nm的亲水耐酸纳米多孔碳材料,气体传输通道组分为孔径分布在20~120 nm的疏水耐酸纳米多孔碳材料。通过亲水多孔材料与疏水多孔材料协同调控的催化层结构,提升电池性能和耐久性。

一种固体氧化物电池自抗扰控制方法

NºPublicación:  CN121709665A 20/03/2026
Solicitante: 
深圳华中科技大学研究院
CN_121709665_PA

Resumen de: CN121709665A

本发明涉及一种固体氧化物电池自抗扰控制方法,属于自动控制技术领域,其中,该方法包括:根据LADRC各个目标参数的候选解空间随机生成多个目标参数组合,并将每个目标参数组合作为一个萤火虫位置,并根据萤火虫位置计算萤火虫的最大亮度;对最大亮度排序靠后的目标萤火虫的萤火虫位置进行更新后,根据惯性权重以及自适应步长因子更新各个萤火虫的萤火虫位置;然后通过LADRC基于萤火虫位置生成SOC系统的控制参数,当SOC系统根据控制参数运行时的性能指标满足指标要求时,确定LADRC参数优化完成。本发明将改进萤火虫算法应用到SOC系统的自抗扰控制器中进行参数优化,从而提高固体氧化物电池输出电压的抗干扰能力。

燃料电池余热回收系统的控制方法及余热回收系统

NºPublicación:  CN121709661A 20/03/2026
Solicitante: 
青岛海尔智能技术研发有限公司
CN_121709661_PA

Resumen de: CN121709661A

本发明涉及燃料电池技术领域,具体提供一种燃料电池余热回收系统的控制方法及余热回收系统。具体地,本发明的燃料电池余热回收系统包括燃料电池、换热器、蓄热水箱和换热水循环管,换热器的两端均与燃料电池的冷却液出口和冷却液进口连通,燃料电池与散热器和换热器之间分别设有第一电磁阀和第二电磁阀;换热水循环管将换热器与蓄热水箱连通,控制方法包括:在需要由所述散热模式切换至所述热回收模式时,先控制所述第二电磁阀打开一段时间后再控制所述第一电磁阀关闭。通过这样的设置,有利于避免出现因为换热水温度低导致迅速拉低燃料电池的电堆温度的情况,有利于维持燃料电池的电堆温度的稳定性。

用于基于集成自适应观测器的预测模型实现系统的最优控制的方法

NºPublicación:  CN121713127A 20/03/2026
Solicitante: 
舍弗勒技术股份两合公司
CN_121713127_PA

Resumen de: WO2025104148A1

The present invention relates to a method for determining at least one control setpoint ut of a system comprising, at a time t: - a set of input quantities comprising the control setpoint ut and modelled in the form of a vector: Ut, - a set of output quantities modelled in the form of a vector: Yt, and - a set of quantities representing the state of the system and modelled in the form of a vector: xt; the method being implemented in a computing unit and comprising: - a first step E1 of programming a set of linear differential equations relating the input quantities, the quantities representing the state of the system and the output quantities, and - a step E4 of determining the optimal control setpoint by means of the quadratic programming method.

一种金属氧化物和无机氧化物负载的柔性碳纳米纤维电极材料的制备方法及其锌锰液流电池

NºPublicación:  CN121709647A 20/03/2026
Solicitante: 
铜仁学院
CN_121709647_PA

Resumen de: CN121709647A

本发明公开了一种金属氧化物和无机氧化物负载的柔性碳纳米纤维电极材料及其锌锰液流电池,属于电化学储能材料技术领域。本发明以碳毡为基底,采用静电纺丝‑预氧化‑碳化技术,在其表面复合负载金属氧化物和二氧化硅纳米颗粒的碳纳米纤维膜,形成从1微米到100微米孔隙结构的碳电极。该复合电极可利用碳毡的大孔径实现高电解液渗透率与锌离子传输率,同时通过碳纳米纤维中均匀分布的金属氧化物和二氧化硅纳米颗粒,增强亲锌性能、增加锌成核位点,引导锌均匀沉积。本发明应用于锌锰液流电池负极,能显著抑制锌枝晶生长,提升电池库仑效率与能量效率,延长电池寿命,且制备工艺简单、成本低,适合规模化生产,为锌基液流电池在大规模储能领域的应用提供可靠解决方案。

Membranes échangeuses d’anions pour pile à combustible ou électrolyseur

NºPublicación:  FR3166311A1 20/03/2026
Solicitante: 
CIE GENERALE DES ETABLISSEMENTS MICHELIN [FR]
COMPAGNIE GENERALE DES ETABLISSEMENTS MICHELIN
FR_3166311_A1

Resumen de: FR3166311A1

L’invention concerne une membrane échangeuse d’anions qui contient un film composite d’un ionomère et de particules d’oxyde de zirconium de formule ZrO2, l’ionomère étant un polymère à blocs de formule (A-B)n-A, le symbole A représentant un bloc polyvinylaromatique portant des groupements amines quaternaires, le symbole B représentant un bloc hydrogéné d’un poly(1,3-diène) ou d’un copolymère comprenant des unités monomères d’un 1,3-diène et d’un monomère vinylaromatique, n étant un entier égal ou supérieur à 1, la teneur en les particules d’oxyde de zirconium du film composite étant supérieure à 40% en masse de la masse du film composite, les particules d’oxyde de zirconium ayant une taille médiane en volume, D50, supérieure à 100 nm et inférieure à 1 µm. La membrane présente une bonne plasticité.

一种聚苯并咪唑/H3PO4膜及其制备和应用

NºPublicación:  CN121699208A 20/03/2026
Solicitante: 
中国科学院大连化学物理研究所
CN_121699208_PA

Resumen de: CN121699208A

高温聚合物燃料电池以其良好的耐CO等毒化能力成为目前国际研究的热点。目前PBI/H3PO4膜的常用制备方法为后浸渍法和溶胶‑凝胶法。相比后浸渍法制备PBI/H3PO4膜,溶胶凝胶法具有系列优势,国际上一直致力于开发其制备工艺。然而,高分子量线型聚苯并咪唑是溶胶‑凝胶法制备PBI/H3PO4膜的难点,反应过程中,反应溶液的质、热等很容易出现分布不均的问题,造成反应终止或反应物聚合度在局部明显差异,最终造成无法制备高分子量线型聚苯并咪唑。本方法,通过改变单体比例或/与当反应到一定程度后降低反应液浓度方法能有效地避免由于反应液粘度骤增带来的传质、传热问题,制备出高分子量线型PBI,从而得到高性能的PBI/H3PO4膜。

一种燃料电池阳极压力波动抑制方法及系统

NºPublicación:  CN121709667A 20/03/2026
Solicitante: 
山东大学氢探新能源(烟台)有限公司
CN_121709667_PA

Resumen de: CN121709667A

本发明提供了一种燃料电池阳极压力波动抑制方法及系统,涉及电池智能控制技术领域,包括:对目标燃料电池的电堆运行情况进行实时感知,得到电堆运行状态参数;基于电堆运行状态参数,进行临界工况识别、压力趋势预测和自适应模型预测控制,决策出平衡压力稳定性、动作平滑性和系统能效的最优控制指令;将最优控制指令转化为引射器前端的比例阀开度和阳极循环泵的转速,通过改变开度和转速,最终调节进入阳极的氢气流量和再循环气量,以抑制目标燃料电池的阳极压力波动;本发明通过多层次的信息融合与决策优化,实现对阳极压力的精准、平滑控制,显著提升燃料电池系统的动态性能与可靠性。

铁铬电解质

NºPublicación:  CN121713294A 20/03/2026
Solicitante: 
瑞多克斯一号有限公司
CN_121713294_PA

Resumen de: WO2025008718A1

A process for producing an iron chromium electrolyte, the process includes leaching iron and chromium from a ferrochrome alloy at an elevated leaching temperature, using hydrochloric acid. A raw iron chromium electrolyte comprising dissolved iron and dissolved chromium is produced. The raw electrolyte is purified and adjusted to produce a functional iron chromium electrolyte.

一种直接碳燃料电池及其制备方法与直接碳燃料电池堆

NºPublicación:  CN121709657A 20/03/2026
Solicitante: 
深圳北理莫斯科大学
CN_121709657_PA

Resumen de: CN121709657A

本发明公开一种直接碳燃料电池及其制备方法与直接碳燃料电池堆,涉及燃料电池技术领域。直接碳燃料电池包括单电池、氧化剂和燃料;单电池包括依次层叠设置的第一镀银支撑网、阴极、电解质层、阳极和第二镀银支撑网;氧化剂施加在第一镀银支撑网侧,用于与所述阴极进行反应;燃料施加在第二镀银支撑网侧,用于与阳极进行反应;氧化剂包括空气和二氧化碳。本发明以二氧化碳和空气的混合气体作为氧化剂施加在第一镀银支撑网侧,用于与所述阴极进行反应,二氧化碳显著促进了电池的氧化还原反应效率,降低了反应活化能并大幅提升离子电导率(680℃时提升了两倍),提高电池的电化学反应寿命、开路电压、电流和功率密度。

一种耐低温复合离子液体基全钒液流电池电解液制备方法及其应用

NºPublicación:  CN121709671A 20/03/2026
Solicitante: 
山西国润储能科技有限公司
CN_121709671_PA

Resumen de: CN121709671A

本发明涉及全钒液流电池技术领域,具体涉及一种耐低温复合离子液体基全钒液流电池电解液制备方法及其应用,包括以下步骤:S1:将所述主离子液体与辅离子液体按预定质量比混合,得到复合离子液体前驱体;S2:进行阴离子交换反应,得到耐低温复合离子液体;S3:耐低温复合离子液体与高介电常数溶剂混合,得到功能性前驱液;S4:进行预络合反应,形成预络合电解液;S5:加入复合表面活性剂,得到耐低温复合离子液体基全钒液流电池电解液成品。本发明,通过复合离子液体协同络合、导电与后处理稳定化,使电解液在‑30℃仍保持不析晶、不增黏且电导率稳定,从而显著提升全钒液流电池在极寒环境下的可靠运行能力。

一种固体氧化物燃料电池与热泵耦合的供能系统

NºPublicación:  CN121701925A 20/03/2026
Solicitante: 
赣州市华安能源技术有限公司深圳市燃气集团股份有限公司
CN_121701925_PA

Resumen de: CN121701925A

本发明公开了一种固体氧化物燃料电池与热泵耦合的供能系统,涉及清洁能源利用技术领域。本发明系统以燃气为单一输入,固体氧化物燃料电池产生的电能为热泵模块提供驱动能源,热泵模块高效生产热能,而余热回收模块则通过热交换过程完成固体氧化物燃料电池的烟气余热的最终回收,三者相互配合使得燃气的一次能源被高效转化为电能和多种形式、多种品位的热能与冷量,既满足了用户多元化的能源需求,也实现了系统整体能源效率的最大化。

一种可用于高温质子交换膜燃料电池的具有高保酸能力和长期稳定性的聚离子液体/聚苯并咪唑质子交换膜及其制备方法

NºPublicación:  CN121699206A 20/03/2026
Solicitante: 
长春工业大学
CN_121699206_A

Resumen de: CN121699206A

本发明涉及一种高温质子交换膜的制备方法,属于燃料电池领域。本发明制备了具有不同交联比例的醚键型聚苯并咪唑‑聚离子液体(OPBI‑PIL‑X)(X=10%,20%,30%,40%)复合膜,由于其中引入了含有季铵基团的大体积可交联的离子液体,因此所获得的膜可以在吸收更多的磷酸(PA)的同时具有优秀的磷酸保留能力,膜内咪唑和氮正离子形成密集的氢键网络以提高膜的抗拉强度和构建高速质子传输通道,使体系获得更高的力学性能和质子传导率。

一种用于全钒液流电池的氟化改性锆基金属有机框架/接枝型磺化聚苯并咪唑复合膜的制备方法

NºPublicación:  CN121709649A 20/03/2026
Solicitante: 
长春工业大学
CN_121709649_A

Resumen de: CN121709649A

本发明首先提供一种用于全钒液流电池的氟化改性锆基金属有机框架/接枝型磺化聚苯并咪唑复合膜,该复合膜中氟化改性锆基金属有机框架(F‑MOF 801)按质量百分比占有1‑5wt%,制备的sPBIA5‑FMx膜引入带磺酸基团的刚性侧链和F‑MOF 801,使得复合膜在体系中构建更多的质子传输通道,促进质子传递与转移。此外,通过F‑MOF 801的尺寸筛分和聚合物本身的唐南排斥,可以有效地阻止钒离子透过,可以增强复合型质子交换膜的离子选择性。本发明还提供了一种用于全钒液流电池的氟化改性锆基金属有机框架/接枝型磺化聚苯并咪唑复合膜的制备方法,sPBIA5‑FMx膜通过接枝和掺杂并通过流延法而成。形成的复合型质子交换膜电化学性能优异、成本可控、有生产前景,可应用于钒液流电池领域。

用于从催化剂涂覆的膜中回收催化剂的方法

NºPublicación:  CN121712913A 20/03/2026
Solicitante: 
环球油品有限责任公司
CN_121712913_PA

Resumen de: WO2025038434A1

A method for recycling anode and/or cathode catalyst from the catalyst coated membranes comprising proton exchange membrane, a continuous nonporous cross-linked polyelectrolyte multilayer coating comprising alternating layers of a polycation polymer and a polyanion polymer, an anode coating layer comprising anode catalyst particles, a cathode coating layer comprising cathode catalyst particles, and optionally a second continuous nonporous cross-linked polyelectrolyte multilayer coating between the second surface of the proton exchange membrane and the cathode coating layer. The cross-linked polyelectrolyte multilayer coating between the proton exchange membrane and the anode and/or cathode catalyst coating layer is dissolved in an aqueous solution with a pH of greater than 7. The catalyst coated membrane is delaminated, and the anode and/or cathode catalyst is recovered.

固体氧化物燃料电池系统的操作方法及固体氧化物燃料电池系统

NºPublicación:  CN121713293A 20/03/2026
Solicitante: 
西门子能源国际公司
CN_121713293_PA

Resumen de: WO2025036682A1

The invention relates to a method for operating a solid oxide fuel cell system (2), comprising the steps of providing a fuel feed stream (FF) to a fuel cell module (4) and the fuel cell module (4) expelling an exhaust fuel stream (EF), and providing an air feed stream (AF) to the fuel cell module (4) and the fuel cell module (4) expelling an exhaust air stream (EA). In order to improve the separation of CO2 from the exhaust gas, the method comprises further the steps of feeding at least a portion of the exhaust fuel stream (EF) to an afterburner (26), feeding in the afterburner (26) oxygen from an oxygen source (28) and burning the exhaust fuel stream (EF) and the oxygen in a stochiometric ratio, and using flue gas (FG) from the afterburner (26) in a superheater (30) to superheat the exhaust air stream (EA).

用于燃料电池系统的电池堆系统

NºPublicación:  CN121713292A 20/03/2026
Solicitante: 
AVL \u674E\u65AF\u7279\u6709\u9650\u8D23\u4EFB\u516C\u53F8
CN_121713292_PA

Resumen de: WO2025024877A1

The invention relates to a cell stack system (100) for a fuel cell system, having a plurality of cell stacks (110, 112), each cell stack (110, 112) having an anode section (120) and a cathode section (130), wherein the plurality of cell stacks (110, 112) have at least one edge cell stack (112), and the at least one edge cell stack (112) is arranged relative to the plurality of cell stacks (110, 112) such that no cell stack (100, 112) of the plurality of cell stacks (110, 112) is arranged on one side of the edge cell stack (112), a tube system (50) for supplying anode supply gas (AZG) and cathode supply gas (KZG) to the cell stacks (110, 112) and for discharging anode exhaust gas (AAG) and cathode exhaust gas (KAG) from the cell stacks (110, 112), a distributor system (10) per cell stack (110, 112), each distributor system (10) connecting the anode section (120) and the cathode section (130) of the corresponding cell stack (110, 112) to the tube system (50) for a fluidic communication, and a thermal insulation device (70) for thermally insulating the at least one edge cell stack (112) so as to prevent heat losses.

氧化还原三相电池

NºPublicación:  CN121713295A 20/03/2026
Solicitante: 
丰达西翁伊梅达能源有限公司
CN_121713295_PA

Resumen de: WO2025016911A1

The present invention refers to a redox battery, to a method of storing electricity comprising the redox battery, to a method of delivering electricity comprising the redox battery, an energy storage and/or delivery system, and to the use of the redox battery or the energy system to store or deliver electricity.

一种以液氢为能源的供能冷却同步的激光发生装置

NºPublicación:  CN121710020A 20/03/2026
Solicitante: 
北京理工大学
CN_121710020_A

Resumen de: CN121710020A

本发明是一种以液氢为能源的供能冷却同步的激光发生装置,属于冷能技术领域与新能源武器领域。装置由液氢燃料电池及谐振腔等组成,主要包含由电解质流出管(1)、氧电极(2)、电解质溶液槽(3)、氢电极(6)、电解质泵入管(9)、绝缘层(12)、绝缘密封管(15)组成的氢氧燃料电池,由全反射镜(4)、谐振腔(5)、半透半反镜(8)、光泵浦(11)、电压适配器(16)组成的激光发生装置,由冷却液腔(7)、液氢泵入管(10)、控温器(13)、冷却液管(14)组成的冷却系统。通过对液氢的合理利用使装置供能与冷却同步进行,使之在低温下工作,无需额外大功率冷却装置,解决了高功率激光武器供能慢、散热难的问题。

分离器、电化学池、电堆、电解装置及燃料电池

NºPublicación:  CN121709656A 20/03/2026
Solicitante: 
株式会社东芝
CN_121709656_PA

Resumen de: US20260081189A1

A separator according to an embodiment including: a flow channel comprising flow-channel walls and flow channel grooves provided between the flow-channel walls; a supply manifold; an exhaust manifold; a supply connection channel connecting one end of the flow channel to the supply manifold; and an exhaust connection channel connecting the other end of the flow channel to the exhaust manifold. The supply connection channel or/and the exhaust connection channel comprise one or more first protrusion-wall groups including first protrusion-walls and one or more second protrusion-wall groups including second protrusion-walls. The first protrusion-walls are aligned in a second direction which is a vertical direction relative to a first direction which is parallel to the flow-channel grooves at the end portion of the flow channel. The second protrusion-walls are aligned in a second direction. The first protrusion-wall groups and the second protrusion-wall groups are aligned in the first direction. The second protrusion-wall groups are offset in the second direction from the first protrusion-wall groups.

隔离件、电化学电池、电堆、电解装置以及燃料电池

NºPublicación:  CN121709654A 20/03/2026
Solicitante: 
株式会社东芝
CN_121709654_PA

Resumen de: US20260081192A1

A separator including a flow channel 10 comprising a first flow-channel wall, a second flow-channel wall, a first flow-channel groove between the first flow-channel wall and the second flow-channel wall, and one or more first blocking walls in the first flow-channel groove. The first blocking walls close off a portion of the latter half of the first flow-channel groove.

燃料电池单元

NºPublicación:  CN121709652A 20/03/2026
Solicitante: 
丰田自动车株式会社
CN_121709652_PA

Resumen de: CN121709652A

本发明的课题在于提供一种能够有效地抑制电解质膜的劣化的燃料电池单元。一种燃料电池单元,其具备具有流路的隔板和电解质膜,在隔板的氢出口附近的流路的表面上覆盖有铈。

一种用于磷酸稳定型高温质子交换膜的两亲型聚苯并咪唑和叠氮型离子液体的制备方法

NºPublicación:  CN121699207A 20/03/2026
Solicitante: 
长春工业大学
CN_121699207_A

Resumen de: CN121699207A

本发明首先提供一种具有两亲型聚苯并咪唑和叠氮型离子液体的磷酸稳定型高温质子交换膜,该复合膜中离子液体按质量百分比占有30%,制备的OHPBI‑PIL‑Px膜通过酸碱掺杂反应,将阴离子交换成H2PO4‑,从而形成离子对,使得复合膜在体系中构建质子传输通道,促进质子传递与转移,提供碱性季铵位点并与PA具有较强的酸碱相互作用,可以有效的减少PA的泄露。可以增强高温质子交换膜的长期性能。本发明还提供了一种具有两亲型聚苯并咪唑和叠氮型离子液体磷酸稳定型高温质子交换膜的制备方法,OHPBI‑PIL‑Px膜通过原位自由基聚合的方法交联而成。形成的高温质子交换膜电化学性能优异、成本可控、有生产前景,可应用于高温质子交换膜燃料电池领域。

PEMFC纯氧转富氧阴极循环系统及富氧浓度控制方法

NºPublicación:  CN121709663A 20/03/2026
Solicitante: 
四川轻绿科技有限公司
CN_121709663_PA

Resumen de: CN121709663A

本发明公开了一种PEMFC纯氧转富氧阴极循环系统及富氧浓度控制方法。系统包括纯氧转富氧供给回路、阴极循环回路、富氧浓度控制单元。控制方法采用模型预测控制策略,以压力调节阀开度、循环泵转速和尾排阀开度为操纵变量,以氧浓度和压力为被控变量。通过状态观测器估计系统状态,基于状态空间模型进行多步预测,根据负载电流工作点自适应调用参数表中的权重与约束集,滚动求解有限时域优化问题获得最优控制序列并实施首个控制指令,周期滚动执行。本发明实现了对富氧浓度和阴极循环系统的自适应高精度控制,提升了燃料电池在密闭空间中的动态性能与运行安全性。

一种通过反迁移恢复全钒液流电池性能的方法

NºPublicación:  CN121709664A 20/03/2026
Solicitante: 
湖北小弟钒业有限公司
CN_121709664_PA

Resumen de: CN121709664A

本发明涉及钒电池技术领域,提供了一种通过反迁移恢复全钒液流电池性能的方法。本发明在全钒液流电池运行至发生容量衰减时,将正极电解液和负极电解液进行混堆,将混堆后的电解液分成两部分,将两部分电解液分别重新注入正极电解液和负极电解液的储罐内。本发明将正负极电解液进行混堆,混堆过程中,正极电解液中未放电的V5+通过自放电全部变成V4+,将混堆后的电解液重新注入正负极电解液的储罐内,从而确保正负极电解液中钒离子和价态平衡,实现恢复全钒液流电池的性能,恢复电池容量的目的。

一种水系有机液流电池及其应用

NºPublicación:  CN121709672A 20/03/2026
Solicitante: 
西安热工研究院有限公司华能罗源发电有限责任公司
CN_121709672_A

Resumen de: CN121709672A

本发明公开了一种水系有机液流电池及其应用,属于液流电池设计技术领域,针对电堆因材料和装配偏差导致的内阻不一致问题,通过优化电堆在模块中的排布方式,即采用将内阻相近的电堆布置于同一串联支路,并针对性能最差电堆实施流量的单独控制和优化,实现模块容量和效率的提升。通过建立动态模型,进行模拟仿真分析表明,将内阻相近的电堆布置于同一串联支路这一方法可显著提高模块的活性物质利用率,在牺牲较小系统效率的前提下大幅提升充电容量,对大型储能模块的高效、稳定运行具有重要意义。

一种用于碱性甲醇氧化与析氢的稀土氟化物复合催化剂

NºPublicación:  CN121695886A 20/03/2026
Solicitante: 
江西理工大学
CN_121695886_PA

Resumen de: CN121695886A

本发明属于碱性燃料电池及电解水制氢电催化技术领域,提供了一种用于碱性甲醇氧化与析氢的稀土氟化物复合催化剂,该催化剂以稀土氟化物修饰的过渡金属‑碳复合材料为载体,负载多组分金属活性中心,构建出NM/TM‑REFx/C结构的多元金属催化剂体系,其中NM为贵金属,TM为过渡金属,RE为稀土元素,各组分质量分数分别为:NM:1 wt%‑9 wt%,TM:2 wt%‑15 wt%,RE:0.5 wt%‑5 wt%;本发明通过稀土氟化物的电子调控与界面协同作用,解决了铂基催化剂在碱性甲醇氧化及析氢反应中贵金属用量大、抗CO中毒能力差及成本高等问题,适用于低温、高效、低能耗的碱性甲醇氧化及析氢过程。

燃料电池系统、燃料电池阳极水控制方法和装置

NºPublicación:  CN121709668A 20/03/2026
Solicitante: 
清研易氢能源科技(常州)有限公司
CN_121709668_PA

Resumen de: CN121709668A

本申请涉及一种燃料电池系统、燃料电池阳极水控制方法和装置。所述系统包括引射器、燃料电池电堆和多层燃料电池双极板;每层燃料电池双极板至少包括流道口,流道口上包括多个导流口;多层燃料电池双极板的流道口形成公共流道,导流口形成导流槽,公共流道与氢气歧管连接;其中:引射器,用于将公共流道的输出口的回流氢气导入氢气歧管的输入口,以使回流氢气与燃料电池系统的氢气进入端口的新氢气进行混合得到混合氢气;氢气歧管,用于在混合氢气的吹扫作用下,将回流氢气与新氢气混合产生的液态水,引向燃料电池系统的导流槽和公共流道,以及通过导流槽和公共流道导入隔离结构中。采用本系统能够提高燃料电池的安全性的。

一种钒电池电解液及其制备方法

NºPublicación:  CN121709670A 20/03/2026
Solicitante: 
湖北小弟钒业有限公司
CN_121709670_PA

Resumen de: CN121709670A

本发明涉及钒电池技术领域,提供了一种钒电池电解液及其制备方法,本发明将五氧化二钒、浓硫酸和水混合后加热,然后加入亚酸酯,之后依次进行进行煮沸、冷却和过滤,得到所述钒电池电解液;五氧化二钒和浓硫酸的质量比为1:(1.3~1.5);五氧化二钒和亚酸酯的质量比为1:(1.1~1.3);所述亚酸酯包括以下质量分数的组分:草酸50~51%,亚硫酸钠4~5%,醋酸乙酯45~46%。和传统钒电池电解液相比,本发明使用的浓硫酸和草酸用量大大减少,所得电解液的呈弱酸性,腐蚀性和危险性大大降低,且充放电过程中不易析出,不易堵膜。综上所述,本发明提供的钒电池电解液和传统电解液相比,更加安全、环保、高效。

燃料电池余热回收系统的控制方法及余热回收系统

NºPublicación:  CN121709660A 20/03/2026
Solicitante: 
青岛海尔智能技术研发有限公司
CN_121709660_PA

Resumen de: CN121709660A

本发明涉及燃料电池技术领域,具体提供一种燃料电池余热回收系统的控制方法及余热回收系统。具体地,本发明的燃料电池余热回收系统包括燃料电池、散热器、换热器和蓄热水箱,散热器的两端和换热器的两端均与燃料电池的冷却液出口和冷却液进口连通,燃料电池与散热器和换热器之间分别设有第一电磁阀和第二电磁阀;换热器与蓄热水箱连通,控制方法包括:在执行热回收模式的过程中,将第二电磁阀完全打开;获取冷却液的入堆温度;根据入堆温度,选择性地打开第一电磁阀。当需要通过散热器对冷却液进行降温时,能够及时的打开第一电磁阀,以避免因为冷却液的温度过高而导致燃料电池的电堆温度偏高,有利于保证燃料电池的电堆温度的稳定性。

燃料电池余热回收系统的控制方法及余热回收系统

Nº publicación: CN121709659A 20/03/2026

Solicitante:

青岛海尔智能技术研发有限公司

CN_121709659_A

Resumen de: CN121709659A

本发明涉及燃料电池技术领域,具体提供一种燃料电池余热回收系统的控制方法及余热回收系统。具体地,本发明的燃料电池余热回收系统包括燃料电池、换热器、蓄热水箱及与换热器并联的旁通水管,换热器的两端与燃料电池的冷却液出口和冷却液进口连通,蓄热水箱通过第一循环管和第二循环管与换热器连通,第一循环管上设有水泵,旁通水管上设有旁通电磁阀,控制方法包括:获取水泵的目标转速;根据目标转速,选择性地打开旁通电磁阀。通过目标转速来判断是否需要打开旁通电磁阀,以便水泵的实际转速无法达到目标转速时,及时地打开旁通电磁阀,从效果上等同于降低水泵的转速,有利于保证冷却液的入堆温度在设计的温度范围内,从而避免电堆温度偏低。

traducir