Ministerio de Industria, Turismo y Comercio LogoMinisterior
 

Alerta

Resultados 226 resultados
LastUpdate Última actualización 26/12/2025 [07:20:00]
pdfxls
Solicitudes publicadas en los últimos 30 días / Applications published in the last 30 days
previousPage Resultados 75 a 100 de 226 nextPage  

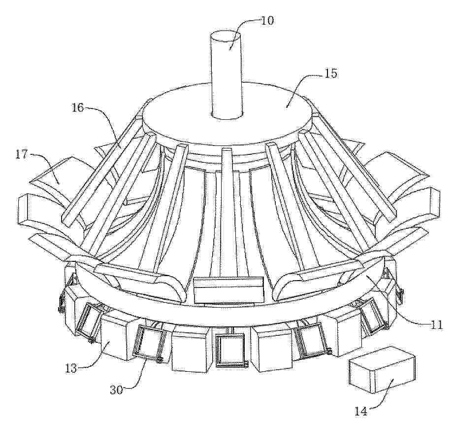
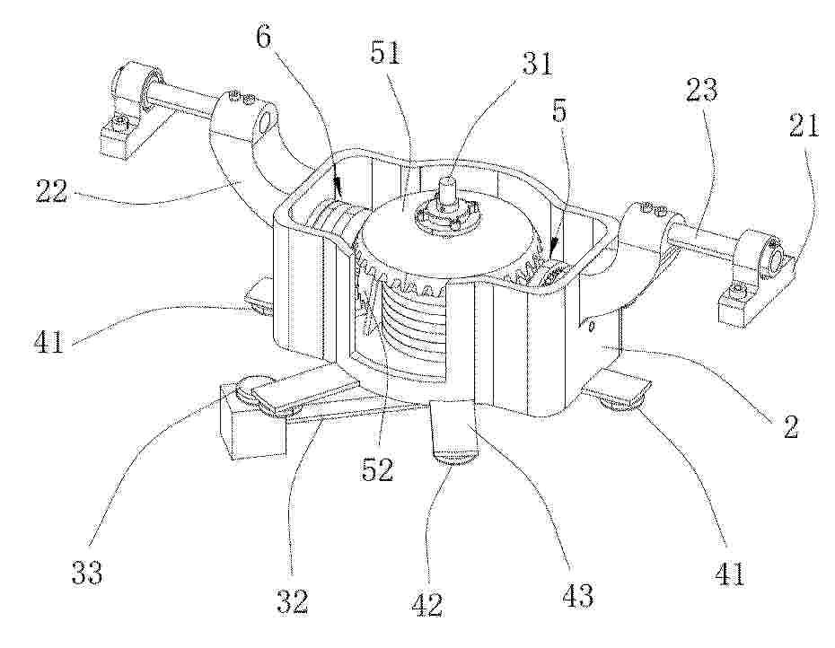
一种浮子阵列及杠杆支点可调的双向波浪能采集装置

NºPublicación:  CN121066755A 05/12/2025
Solicitante: 
西南科技大学

Resumen de: CN121066755A

本发明公开了一种浮子阵列及杠杆支点可调的双向波浪能采集装置,属于波浪能发电技术领域。该装置包括搭载平台、俘能装置、杠杆转换装置和波能转换装置。所述俘能装置通过多向转动机构与杠杆转换装置的一端铰接,其包括浮子阵列安装盘和多个可拆卸地安装于其上不同位点的陀螺型浮子,形成可调阵列。所述杠杆转换装置的杠杆支点位置可调地安装于搭载平台上,其另一端与波能转换装置的拉杆传动连接。波能转换装置采用低摩擦滑动密封圈和导向环结构。本发明通过可调的浮子阵列和杠杆支点,自适应匹配不同波况,并利用杠杆转换装置和独立的液压缸驱动机构,捕获纵向和横向波浪能;通过低摩擦密封结构和导向环,显著减少机械损耗,提高能量转换效率;特别适用于低能量密度的波浪环境,显著提高了能量捕获和转换效率。

一种可升降式能源自给海洋通信浮标系统

NºPublicación:  CN121062879A 05/12/2025
Solicitante: 
华南理工大学
CN_121062879_PA

Resumen de: CN121062879A

本发明涉及一种可升降式能源自给海洋通信浮标系统,包括浮标主体;波浪能发电装置,安装于浮标主体内,用于在浮标主体随着波浪上下运动时将波浪机械能转换为电能;储能装置,电连接于波浪能发电装置;升降系统,包括压载舱和机械升降装置;其中,压载舱设于浮标主体内,用于通过调节舱内水量以调节所受浮力;机械升降装置固定于外部的锚固基础且连接于浮标主体,用于驱动浮标主体在水中做升降运动;通信装置,用于在水面状态或水下隐蔽状态下进行数据通信;控制装置,用于根据环境参数或远程指令控制浮标主体的升降与通信装置的通信模式切换,具有抗恶劣海况能力强、隐蔽性与场景适应性高、能源自给且稳定、运维成本低、通信功能可靠的优点。

一种用于船舶海水淡化的方法及系统

NºPublicación:  CN121063741A 05/12/2025
Solicitante: 
江苏科技大学南通象屿海洋装备股份有限公司江苏现代造船技术有限公司
CN_121063741_PA

Resumen de: CN121063741A

本发明涉及一种用于船舶海水淡化的方法及系统,属于船舶海水淡化技术领域。方法包括以下步骤:首先,利用集振发电装置收集能量;其次,驱动抽水单元抽取海水并过滤后存储;然后,将海水输送至推进仓并施加压力,引导其进入反渗透结构进行淡化;最后,将淡化后的淡水根据用途输送至生活淡水仓或工业淡水仓。该系统包括集振发电单元、抽水单元、海水箱、推进仓、竖向位移单元、反渗透结构、净水空间以及生活淡水仓和工业淡水仓等组件。本发明通过收集船舶自身振动能量和海浪撞击振动能量,驱动海水淡化过程,以实现高效淡水制造和能源自给,能够有效降低船舶淡水制造的能量消耗和运行成本,同时提高能源利用率,适用于各种规模的船舶。

一种底部带有聚能结构的振荡水柱式波能发电系统

NºPublicación:  CN121066756A 05/12/2025
Solicitante: 
大连理工大学
CN_121066756_PA

Resumen de: CN121066756A

本发明涉及海洋新能源技术利用技术领域,且公开了一种底部带有聚能结构的振荡水柱式波能发电系统,包括导管架、气室、涡轮发电系统、雷达高度计、红外摄像头、气流速度传感器和控制主机,还包括底部聚能组件,底部聚能组件安装在气室的下端并配置有传动机构,通过设置有的水平底板和对称设置的两个聚能板实现在气室底部对海水进行反射导流,完成气室宽度以外的能量汇聚,利用传动机构同步控制聚能板的开合,改变入水口处涌入气室内的海水量。本波能发电系统,可以根据海面波浪的变化调节气室内水柱的振荡强度,使产生的气流速度够匹配涡轮发电系统的最佳工作频率,保证装置的发电效率,还可以对振荡水柱式波能发电装置进行保护,避免因海浪冲击。

动能和势能的海洋涡轮机

NºPublicación:  CN121079499A 05/12/2025
Solicitante: 
波塞冬智能股份有限公司
CN_121079499_PA

Resumen de: MX2025009883A

The invention relates to a system for harnessing the kinetic energy of ocean, sea or river estuary currents by transferring the energy of water motion to a turbine that moves an electric generator. This system comprises several parts, primarily including: A) the intakes and ejector pump with a mixing chamber; and B) a cross-flow turbine (M1) (revolving door type, double blade).

A LATCHING FULL-LENGTH HOLLOW SHAFT WAVE ENERGY CONVERTER FOR SCALABLE CONVERSION AND STORAGE

NºPublicación:  US2025369416A1 04/12/2025
Solicitante: 
WALL BRIAN [IE]
Wall Brian
IE_20220183_A1

Resumen de: US2025369416A1

The present invention relates to the use of marine devices for ocean energy extraction.The invention provides for a wave energy converter that uses latching to control a buoyant moving component that comprises a float attached to a shaft with a piston that pressurises fluid in a compression chamber within a submerged floatation component.According to the present invention, the shaft is a full-length hollow shaft that extends down through the compression chamber and is attached to a rotatable float with submerged vanes.

Subsea Power Generation

NºPublicación:  US2025369426A1 04/12/2025
Solicitante: 
SAPPHIRE TECH INC [US]
Sapphire Technologies, Inc
WO_2025250640_PA

Resumen de: US2025369426A1

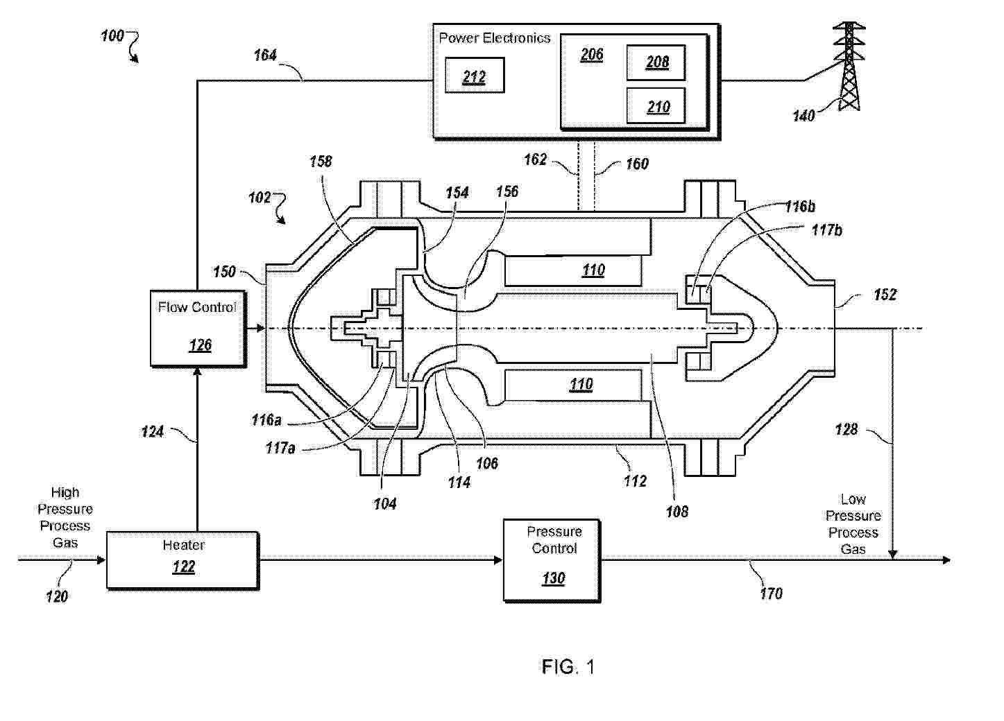
The subject matter of this specification can be embodied in, among other things, a subsea energy recovery system for generating electric power that includes an inlet flow line configured to couple to a subsea tree of a subsea gas well to receive gas produced from the subsea gas well, and a subsea electric power generation system, the subsea electric power generation system configured to reside subsea on a subsea production site of the subsea gas well and including a turbine wheel configured to rotate in response to expansion of the gas, a rotor configured to rotate with the turbine wheel, a stationary electric stator, the rotor and electric stator defining an electric generator configured to generate current, and a hermetically sealed housing enclosing the turbine wheel, the rotor, and the electric stator and hermetically sealed inline in the first flow line.

REGENERATIVE ENERGY SYSTEM USING KINETIC ENERGY TRANSFER FROM WAVE MOTION AND TRAIN MOTION TO A GENERATOR

NºPublicación:  US2025369414A1 04/12/2025
Solicitante: 
G R E S LLC [US]
G.R.E.S. LLC

Resumen de: US2025369414A1

The present invention is a system and method for providing a regenerative energy system and method for capturing kinetic energy from wave motion or the relative motion of train cars on tracks to generate electricity, wherein the system uses a hydraulic mechanism coupled to a wave motion capture system or train track components to convert vertical movement into rotational motion, wherein this rotational motion is amplified by a gear reduction assembly, driving one or more generators to produce electrical power. The generated electricity can be utilized in real time by electrical motors, stored in batteries or supercapacitors, or supplied directly to the power grid, wherein the invention integrates hydraulic conversion, motion amplification, and efficient energy transformation to create a durable, scalable system for renewable energy production, and wherein it is designed to harness repetitive, continuous movements, making it applicable for sustainable energy in coastal and transportation infrastructures.

PRESSURE-REGULATING HYDRODYNAMIC PUMP AND WAVE ENGINE WITH ENERGY PRODUCT GENERATION AND TRANSPORT

NºPublicación:  US2025369415A1 04/12/2025
Solicitante: 
LONE GULL HOLDINGS LTD [US]
Lone Gull Holdings, Ltd
WO_2025122658_PA

Resumen de: US2025369415A1

A pressure-regulating buoyant hydrodynamic pump is disclosed that floats adjacent to a surface of a body of water over which waves tend to pass. In response to wave-induced movements of the device, water is drawn into a mouth at a lower end of an injection tube, and water is ejected from a mouth at an upper end of the injection tube. The ejected water is deposited into an interior of the hollow buoy thereby augmenting a water reservoir therein. And water flows from the water reservoir to and through a water turbine, thereby energizing a generator, power electronics, and an electrical load. A novel water-turbine effluent buffering tube, or chamber, smooths pressure variations felt across the water turbine.

SYSTEM FOR GENERATING ELECTRICITY FROM AN UNDERWATER OCEAN STREAM

NºPublicación:  US2025369413A1 04/12/2025
Solicitante: 
ENERGY VAULT INC [US]
Energy Vault, Inc
AU_2024217457_PA

Resumen de: US2025369413A1

A system for generating electricity from an underwater stream for generating electricity for the electric grid or for producing hydrogen includes an underwater turbine. The underwater turbine includes an upper pontoon, a lower pontoon, and a pylon structure that extends between and interconnects the upper pontoon and the lower pontoon. The underwater turbine also includes a single propeller assembly rotatably coupled to the lower pontoon. Rotation of the propeller operates a generator to generate electricity. The underwater turbine can be moored to a sea floor via a mooring weight. An optional friction winch is operable to raise or lower the underwater turbine relative to the sea floor.

WAVE POWER GENERATION DEVICE CAPABLE OF DEALING WITH TIDAL FLUCTUATIONS

NºPublicación:  WO2025249795A1 04/12/2025
Solicitante: 
KIM JUN YONG [KR]
NAM HUI OK [KR]
KIM YU JEONG [KR]
KWON OH CHAN [KR]
KIM YU KYEONG [KR]
LEE JIN UK [KR]
\uAE40\uC900\uC6A9,
\uB0A8\uD76C\uC625,
\uAE40\uC720\uC815,
\uAD8C\uC624\uCC2C,
\uAE40\uC720\uACBD,
\uC774\uC9C4\uC6B1
WO_2025249795_PA

Resumen de: WO2025249795A1

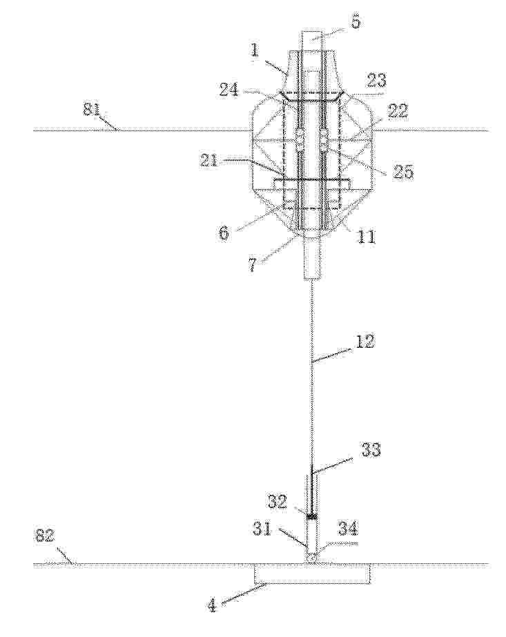
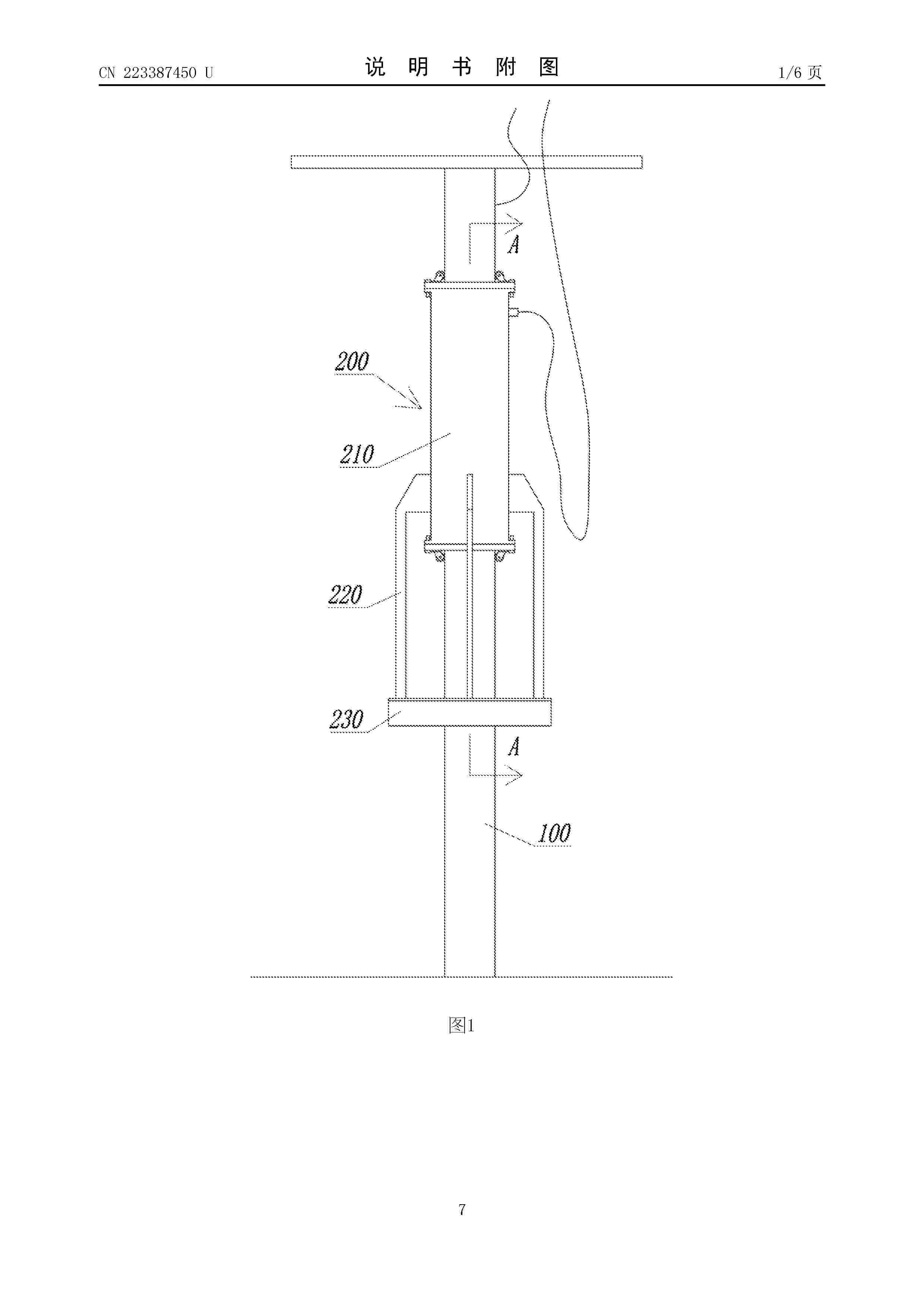
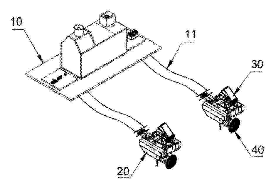
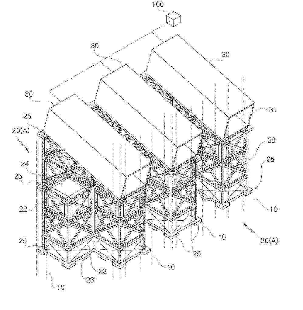
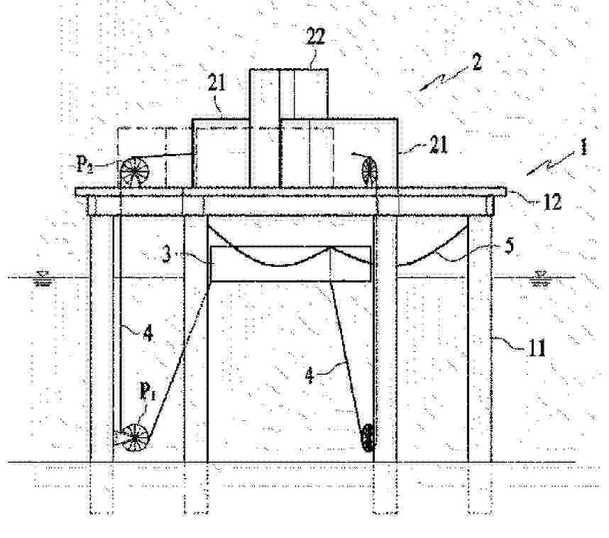
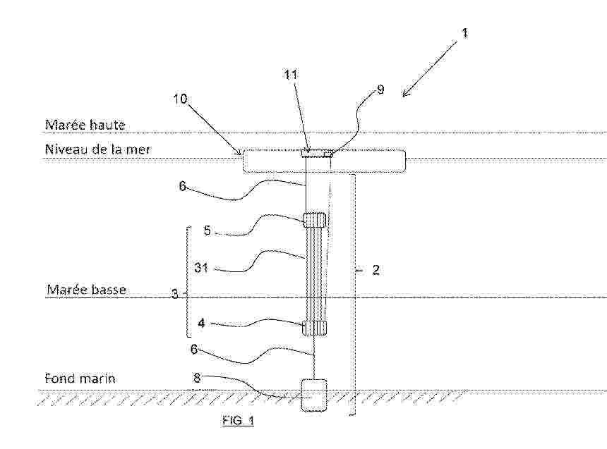
The purpose of the present invention is to provide a wave power generation device capable of dealing with tidal fluctuations. That is, the present invention comprises: a foundation structure (10) that is installed upright on the seabed and has a pile member driven therein; leveling structures (20A, 20B) that are installed on the foundation structure (10) and are adjusted in height in response to changes in sea level caused by tidal fluctuations; and a seawater guide pipe (30) which is installed on the leveling structures (20A, 20B) and has an inclined flow path (31) having one end submerged in seawater and the other end exposed outside the surface of the seawater, and which drives a wave power generator (100) by collectively utilizing the longitudinal and transverse wave energy of seawater moving at an inclined angle along the inclined flow path (31). The wave power generation device has an improved structure in which the height of the seawater guide pipe changes in response to changes in sea level, and thus can uniformly sustain wave power generation even in environments with significant tidal fluctuations.

Self-propelled buoyant energy converter and method for deploying same

NºPublicación:  AU2025263901A1 04/12/2025
Solicitante: 
LONE GULL HOLDINGS LTD
Lone Gull Holdings, Ltd
AU_2025263901_A1

Resumen de: AU2025263901A1

WO 2018/156959 PCT/US20198/019529 The present invention provides a floating computational network, comprising: a plurality of buoyant energy converters configured to run onboard computers from power developed directly from one of ocean waves and wind; a plurality of flexible connectors each coupling a pair of said buoyant energy converters, where each buoyant energy converter is coupled to at least one other buoyant energy converter to establish a maximum distance between said pair of buoyant energy converters; wherein at least one flexible connector further comprises a data transmission cable for exchanging data between said pair of buoyant energy converters. WO 2018/156959 PCT/US20198/019529 The present invention provides a floating computational network, comprising: a plurality of buoyant energy converters configured to run onboard computers from power developed directly from one of ocean waves and wind; a plurality of flexible connectors each coupling a pair of said buoyant energy converters, where each buoyant energy converter is coupled to at least one other buoyant energy converter to establish a maximum distance between said pair of buoyant energy converters; wherein at least one flexible connector further comprises a data transmission cable for exchanging data between said pair of buoyant energy converters. ov o v

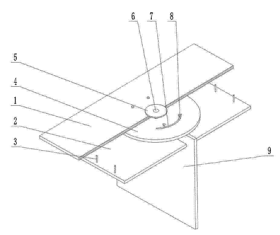
A WAVE ENERGY DEVICE

NºPublicación:  AU2024258310A1 04/12/2025
Solicitante: 
CRESTWING APS
CRESTWING APS
AU_2024258310_PA

Resumen de: AU2024258310A1

A wave energy device (1) adapted for extracting and converting mechanical energy of sea-waves to electrical energy. The wave energy device (1) comprises a first float (2) and a second float (3) connected to each other along a common hinge axis (4), so as to be movable with respect to each other. A plurality of force transmission members (9) extend between the first float (2) and the second float (3), each force transmission member having a passive end (10) and an active end. The passive end is movably connected to one of said first and second floats (2, 3) in a rotatable manner, and each force transmission member (9) is associated with at least one of a plurality of electrical generators so as to allow the electrical generator to be driven by relative motion between the first and second floats (2, 3).

WAVE ENERGY CONVERTER

NºPublicación:  AU2023447621A1 04/12/2025
Solicitante: 
BREAKING WAVE TECH LTD
BREAKING WAVE TECHNOLOGIES LTD
AU_2023447621_PA

Resumen de: AU2023447621A1

A wave energy converter is provided. The converter includes a first frame with buoyancy means, and a second frame with buoyancy means and a displaceable member. The first frame is hingedly connected to the second frame. The converter further includes a linkage assembly with a first end hingedly connected to the first frame, and a second end that is actuatingly engageable with the displaceable member. The linkage assembly is configured to translate hinged motion between the first frame and the second frame to the displaceable member. A generator may be connected to the displaceable member for generating electricity from pressure pulses from compression and extension of the displaceable member.

MULTIPURPOSE WAVE ENERGY CONVERTER

NºPublicación:  EP4655497A1 03/12/2025
Solicitante: 
VULJAJ SOKOLJ [ME]
VULJAJ, Sokolj
WO_2025219751_PA

Resumen de: WO2025219751A1

The multipurpose wave energy converter with accumulative spring enables the conversion of sea and ocean wave energy into stable rotational energy with minimal losses. This converter is provided with multiple surge protections. The accumulator spring of the invention is a torsion or helical spring mounted in a mechanical interface that rotates constantly in one direction only and serves as a rotary accumulator to convert stepped rotations to uniform rotations without energy loss. This invention represents a multi-purpose wave energy converter to stable rotational energy constructed in three different models: - stationary power plant for fixed areas on ocean shores, - floating power plant anchored near or far from the coast, - converter of wave energy into rotational energy for the propulsion of cargo or recreational vessels that do not move at high speed.

DEVICE FOR GENERATING POWER BY SALINITY GRADIENT COMPRISING AN ACTIVATED CARBON FABRIC

NºPublicación:  EP4655832A1 03/12/2025
Solicitante: 
SWEETCH ENERGY [FR]
Sweetch Energy
KR_20250166883_PA

Resumen de: CN120584417A

The invention relates to a device for generating electricity, comprising: two electrodes (1); -a stack of membranes (9) arranged between the two electrodes and comprising an alternation of membranes (2) selectively permeable to cations and membranes (3) selectively permeable to anions, such that each membrane is separated from adjacent membranes by an inter-membrane space in which an activated carbon fabric (4) is located; and-means (5) capable of collecting the electrical power generated by the potential difference present between the two electrodes (1), the stack (9) of membranes being intended to be supplied with an electrolyte solution (7) of a solute with a concentration CA and an electrolyte solution (8) of the same solute with a concentration CB, CB being greater than CA, said solutions being circulated alternately in the inter-membrane spaces of the stack (9).

基于波流驱动的水下永磁-机电式发电装置

NºPublicación:  CN121055809A 02/12/2025
Solicitante: 
温州大学
CN_121055809_PA

Resumen de: CN121055809A

本发明公开了一种基于波流驱动的水下永磁-机电式发电装置,包括密闭壳体、弹性支撑件、能量激发组件、转杆机构、压电悬臂梁阵列;密封壳体采用弹性支撑件设置于海底或既有基础上;能量激发组件包括横向设置的上轨道板和下轨道板,上轨道板和下轨道板上下间隔着架设于主轴杆上,上轨道板下侧带有上环形轨道槽,下轨道板上侧带有上环形轨道槽,小球设置于下环形轨道槽和上环形轨道槽包围的空间中并可沿轨道槽滚动;转杆可摆动的连接在主轴杆上并处于上轨道板和下轨道板之间;压电悬臂阵列包括围绕转杆圆周转动轨迹周围的压电悬臂梁,压电悬臂梁上设置有压电片。该装置能够吸收低频且多源振动产生的动能,通过压电转化为电能,便于为水下设备供电。

海基中央管理平台的太阳能与波浪能复合供电装置

NºPublicación:  CN121055863A 02/12/2025
Solicitante: 
浙江中惟东寨岛养殖有限公司
CN_121055863_PA

Resumen de: CN121055863A

本发明公开海基中央管理平台的太阳能与波浪能复合供电装置,发电设备技术领域,本发明的复合供电装置包括第一平台,第一平台通过锚绳连接有至少一个浮力组件,浮力组件上方设有光伏组件,浮力组件下方设有波浪发电组件,浮力组件包括两块相对设置的第一浮板,第一浮板底部之间间隔设置有第二浮板,第二浮板上方设有分别于光伏组件以及波浪发电组件连接的电控箱,解决了现有海基平台供电装置中单一能源模式稳定性差、浮力结构抗风浪能力弱、设备易受波浪冲击损伤等问题。

一种自适应柔性护裙式风机基础防冲刷系统

NºPublicación:  CN121047305A 02/12/2025
Solicitante: 
山东渤海一号风电有限公司浙江大学
CN_121047305_PA

Resumen de: CN121047305A

本发明公开了一种自适应柔性护裙式风机基础防冲刷系统,具体涉及海洋工程领域,包括风机基柱,所述风机基柱的外侧固定连接有柔性护裙本体,所述柔性护裙本体由聚酯纤维基布与氟碳涂层复合制成,环绕基础设置且下缘呈波浪褶皱形态;所述柔性护裙本体的底部通过链条固定连接有一组呈圆周排布的配重块,所述柔性护裙本体的底部通过柔性的铰接件铰接有一组呈圆周排布且与一组配重块间隔排列的沉积袋,所述沉积袋的袋体孔隙率为40‑60%。通过波浪褶皱式护裙下缘设计配合间隔分布的配重‑沉积袋复合结构,首次实现“材料自适应释放+沉积自增稳”双重防护机制;能自由适配海床的不同形状,达到装置维护成本体低、安装方便、修复容易以及稳定性强的效果。

弹性锚链能量回收控制方法及装置、设备及存储介质

NºPublicación:  CN121043990A 02/12/2025
Solicitante: 
南方海洋科学与工程广东省实验室(湛江)
CN_121043990_PA

Resumen de: CN121043990A

本发明公开了一种弹性锚链能量回收控制方法及装置、设备及存储介质,涉及能量回收技术领域,包括:获取布置在弹性锚链两端的传感器信号;根据传感器信号判断弹性锚链的伸缩状态;基于伸缩状态选择作动器的工作模式,工作模式包括能量回收模式和耗能驱动模式;在能量回收模式下,控制储能装置使作动器工作在馈能制动状态,以将弹性锚链伸缩运动的机械能转换为电能存储至储能装置;在耗能驱动模式下,控制储能装置向作动器供电,使作动器产生附加锚泊力作用于弹性锚链,通过弹性锚链伸缩运动的机械能捕获与双向能量转换控制,在维持锚泊物位置稳定的同时,实现波浪能量的回收利用,从而达成能源回收与主动稳位的协同增益。

一种可自动调节运行深度的潜式潮流能发电装置及调节方法

NºPublicación:  CN121047706A 02/12/2025
Solicitante: 
河海大学
CN_121047706_PA

Resumen de: CN121047706A

本发明公开了一种可自动调节运行深度的潜式潮流能发电装置及调节方法,包括浮体,所述浮体上方设有压载水舱,浮体下方设有潮流能发电机,浮体内部安装有工况控制器,压载水舱内部设置有水舱、气泵和储气罐,水舱固定于压载水舱底部,水舱底部设置通海阀,水舱上方安装有储气罐和气泵,气泵与储气罐之间连接有充气管道。本发明可自动调节运行深度的潜式潮流能发电装置采用潜式设计,有效避免海面风浪载荷;同时可自动调节深度的设计使得潮流能发电机能随着潮流流速的变化自动调节工作的深度,以实时处于最优工况,大幅提升发电效率;此外,当海面工况恶劣,如台风等极端天气时,可将水轮机深度调节至安全位置,以免损坏装置。

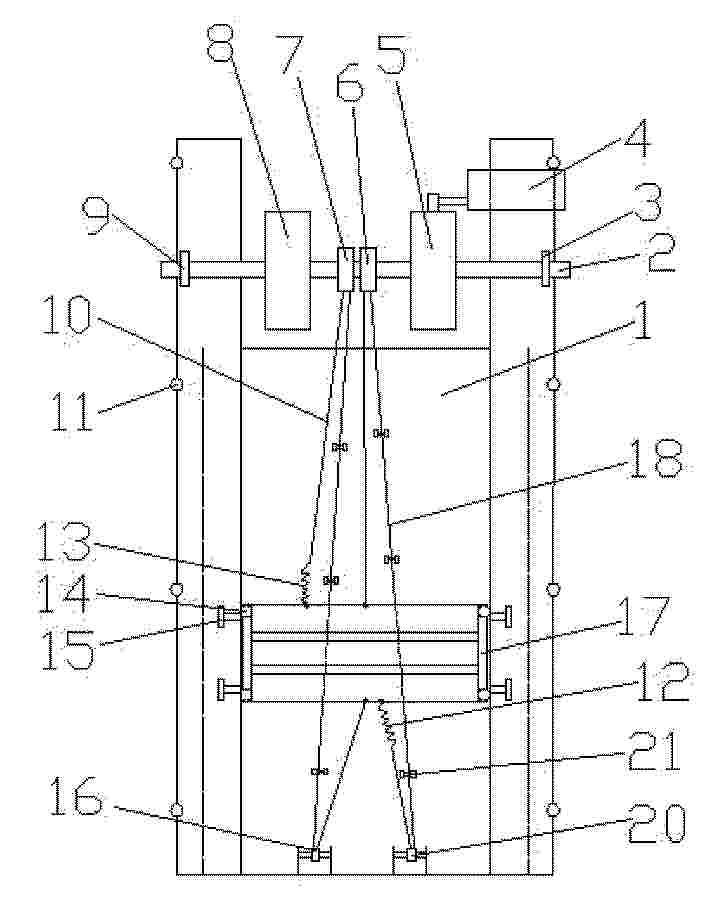
一种巨型潮汐发电站

NºPublicación:  CN223621716U 02/12/2025
Solicitante: 
杨志君
CN_223621716_U

Resumen de: CN223621716U

本实用新型公开了一种巨型潮汐发电站,涉及潮汐发电技术领域,该巨型潮汐发电站包括相互平行的进水通道和排水通道,进水通道和排水通道通过隔墙分隔,隔墙上沿进水通道的延伸方向直线阵列设置有若干发电涡轮;进水通道和排水通道均具有进水口和排水口,涨潮时海水从进水通道的进水口流入进水通道内;退潮时,进入进水通道内的海水可经排水通道的进水口流至排水通道的排水口。通过在两个围堰之间设计进水通道和排水通道,进水通道和排水通道通过隔墙分隔开来,并在隔墙上沿进水通道的延伸方向直线阵列设置有若干发电涡轮,涨潮和退潮时海水的流动产生的动能都能利用起来以进行发电,提高了发电量。

用于海上风能与波浪能的发电装置及其控制方法

NºPublicación:  CN121047719A 02/12/2025
Solicitante: 
南方电网电力科技股份有限公司
CN_121047719_PA

Resumen de: CN121047719A

本发明涉及海洋能源利用技术领域,公开了一种用于海上风能与波浪能的发电装置及其控制方法,发电装置包括浮式基础平台、风能发电模块、波浪能发电模块、能量管理模块以及控制模块,风能发电模块设于浮式基础平台上;波浪能发电模块包括浮筒、液压传动系统和发电机,浮筒内设有磁流变液,浮筒连接于浮式基础平台,浮筒与液压传动系统连接,液压传动系统与发电机连接;能量管理模块设于浮式基础平台上,能量管理模块与风能发电模块和波浪能发电模块电连接;控制模块设于浮式基础平台上,控制模块与风能发电模块、波浪能发电模块和能量管理模块通信连接。本发明可使发电装置整体的输出电能稳定,提高风能发电模块和波浪能发电模块的协同性。

一种海水压力驱动的能量转换器

NºPublicación:  CN223608685U 28/11/2025
Solicitante: 
云南大学昆明市东川区环卫站昆明市东川区科技信息中心昆明市东川区项目管理中心北京理工大学
CN_223608685_U

Resumen de: CN223608685U

本实用新型公开了一种海水压力驱动的能量转换器,包括波浪收集空心漂浮球,所述波浪收集空心漂浮球的外表面设置有收集海水压力对波浪收集空心漂浮球的机械应力的压电叠层结构,压电叠层结构包裹波浪收集空心漂浮球,压电叠层结构的外表面设置有结构防水膜;波浪收集空心漂浮球的内部设置有实心小球和压电拔式结构,压电拔式结构设置在实心小球的运动路径上,实心小球可在波浪收集空心漂浮球内部自由移动;压电拔式结构上均覆盖有压电PVDF薄膜,通过波浪引起波浪收集空心漂浮球运动带动实心小球对压电拔式结构和压电PVDF薄膜产生压迫力进而产生电力。所提供的能量转换器具有高灵敏度和宽频带响应,能够高效地将微小的机械振动或压力变化转化为电能。

Inertial pneumatic wave energy device

Nº publicación: NZ770165A 28/11/2025

Solicitante:

LONE GULL HOLDINGS LTD
LONE GULL HOLDINGS LTD

AU_2025204066_A1

Resumen de: NZ770165A

A buoyant wave energy device is disclosed that incorporates an open-bottomed tube (1304) of substantial length in which is partially enclosed a first body of water that oscillates in response to wave action. The device incorporates a buoy (1302) to which an upper end of the tube is connected and inside of which is trapped a second body of water (1329) of substantial mass. A differential phase in the oscillations of the water trapped in the tube, and the oscillations of the buoy of augmented mass, result in the periodic compression of a pocket of air (1325) trapped at the top of the tube. The pressurised air passes through valve (1327) into an accumulator (1326) partially formed by the body of water (1329) within the upper part of the buoy (1302) and the subsequent expulsion of pressurized air through a turbine (1322) in a duct (1308) thereby generates electrical power. A second valve (1331) allows for the return of air to the top of the column as the pressure of the pocket of air is periodically reduced.

traducir