Ministerio de Industria, Turismo y Comercio LogoMinisterior
 

Alerta

Resultados 225 resultados
LastUpdate Última actualización 28/10/2025 [07:28:00]
pdfxls
Solicitudes publicadas en los últimos 30 días / Applications published in the last 30 days
previousPage Resultados 50 a 75 de 225 nextPage  

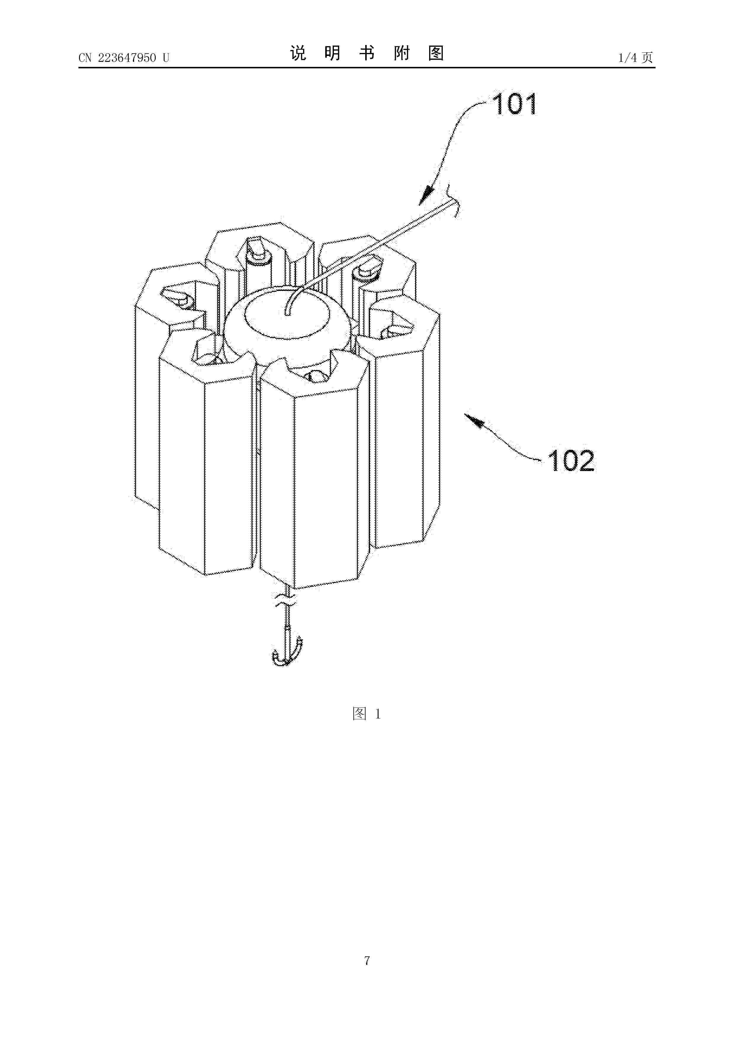
METHODS AND SYSTEMS FOR OFFSHORE MOORING OPERATIONS

NºPublicación:  WO2025219732A1 23/10/2025
Solicitante: 
ENCOMARA LTD [GB]
ENCOMARA LIMITED
WO_2025219732_PA

Resumen de: WO2025219732A1

A method of preparing a mooring rope for use in a mooring system for a floating offshore structure. The method comprises laying the mooring rope between a buoy and a seabed anchor; and tensioning the mooring rope between a buoyancy force from the buoy and the seabed anchor, thereby elongating the mooring rope towards a worked length condition. In another aspect, there is provided a method of preparing a mooring system for a floating offshore structure. The mooring system has at least one mooring line between a buoy and a seabed anchor, and the mooring line comprises a mooring rope. The method comprises tensioning the at least one mooring line between a buoyancy force from the buoy and the seabed anchor, thereby elongating the mooring rope towards a worked length condition. Preferred embodiments include tensioning the at least one mooring rope or mooring line between a buoyancy force from the buoy and a tensioning device acting against the buoyancy force. The tensioning device may be a part of the mooring system.

FOUR-COLUMN FLOATING WIND TURBINE FOUNDATIONS

NºPublicación:  US2025327441A1 23/10/2025
Solicitante: 
PRINCIPLE POWER INC [US]
Principle Power, Inc
US_2025327441_PA

Resumen de: US2025327441A1

A floatable, semi-submersible platform for a wind turbine includes a central turbine-tower-hosting column and three or more stabilizing columns. Upper main beams connect the top ends of the stabilizing columns to a top node that is itself connected about the turbine-tower-hosting column. Lower main beams connect the bottom ends of the stabilizing columns to a bottom node that is also connected about the turbine-tower-hosting column. Fixed ballast components may be located within the turbine-tower-hosting column and within the lower main beams. Hull trim compartments for containing ballast may be provided in the three stabilizing columns, and/or lower main beams, with transfer of ballast between the compartments being controlled by a hull trim system (HTS).

SEA ROUTE PLAN GENERATING SYSTEM AND POWER GENERATION FLOATING BODY

NºPublicación:  US2025327673A1 23/10/2025
Solicitante: 
TOYOTA JIDOSHA KK [JP]
TOYOTA JIDOSHA KABUSHIKI KAISHA
US_2025327673_PA

Resumen de: US2025327673A1

In the sea route plan generating system, a sea route plan generating unit that generates a sea route plan for sailing the power generation floating body that performs wind power generation using a kite while sailing at sea, at a predetermined sailing angle based on the wind conditions and a tidal current determining unit that determines whether or not there is an opposing tidal current opposed to the wind direction based on the wind conditions are provided for the power generation floating body that generates wind power using kite while sailing on the sea. When it is determined that there is an opposite tidal current, the sea route plan generating unit generates the sea route plan such that the power generation floating body proceeds at the sailing angle at which the power generation efficiency increases in the sea area of the opposite tidal current.

PREDICTIVE CONTROL METHOD BASED ON A SINGLE LINEAR MODEL FOR REDUCING STRUCTURAL LOADS IN ONSHORE, OFFSHORE AND FLOATING WIND TURBINES

NºPublicación:  WO2025219628A1 23/10/2025
Solicitante: 
UNIV DEL PAIS VASCO / EUSKAL HERRIKO UNIBERTSITATEA [ES]
UNIVERSIDAD DEL PA\u00CDS VASCO / EUSKAL HERRIKO UNIBERTSITATEA
WO_2025219628_PA

Resumen de: WO2025219628A1

The present invention relates to a method for controlling the angles of attack of wind turbine blades, based on a linear model of the wind turbine using a parameter indicative of the acceleration of the wind turbine tower, the linear model being constant across the entire wind turbine operating range. The invention further relates to processing means configured to execute the model-based predictive control. The invention further relates to a method for controlling the position of a moving mass coupled to the wind turbine, based on a linear model of the wind turbine using a parameter indicative of the acceleration of the wind turbine tower and a parameter indicative of the position of the moving mass, the linear model being constant across the entire wind turbine operating range.

FLOATING OFFSHORE WIND TURBINE SYSTEM, AND CONSTRUCTION METHOD, DEMOLITION METHOD, AND MAINTENANCE METHOD THEREFOR

NºPublicación:  WO2025220289A1 23/10/2025
Solicitante: 
HITACHI LTD [JP]
\u682A\u5F0F\u4F1A\u793E\u65E5\u7ACB\u88FD\u4F5C\u6240
WO_2025220289_PA

Resumen de: WO2025220289A1

Provided is a floating offshore wind turbine system having a structure useful for implementing replacement of a large component of a floating offshore wind turbine. The floating offshore wind turbine system includes a floating offshore wind turbine, a main floating body, and a mooring body. The floating offshore wind turbine has: blades that receive wind; a hub to which the blades are fixed; a nacelle that houses a generator that converts rotational energy of the hub into electric power; a tower that supports the nacelle; and a sub-floating body that supports the tower. The main floating body is moored to the sea bottom by the mooring body, and has a sub-floating body insertion space into which the sub-floating body is inserted. The sub-floating body inserted into the sub-floating body insertion space is detachably connected at a connection part with the main floating body.

SHALLOW DRAFT, WIDE-BASE FLOATING WIND TURBINE WITHOUT NACELLE

NºPublicación:  EP4636245A2 22/10/2025
Solicitante: 
UNIV NORTHEASTERN [US]
Northeastern University
EP_4636245_PA

Resumen de: EP4636245A2

Disclosed are wind turbines suitable for floating application. The wind turbines include multiple floats and multiple towers connected to the floats, a turbine rotor, including a hub and a plurality of blades, structurally supported by the plurality of towers, the turbine rotor coupled to an electrical generator; and have a very shallow draft even for rated capacities of at least 1 MW. The wind turbines can have a single mooring line for yawing eliminating the need for a nacelle, and can allow for deck-level belt driven electrical generators without the need for gear boxes.

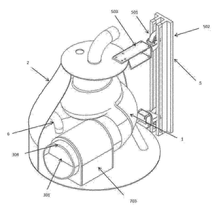
TENSIONED LEG PLATFORM MOORING LINE TENSIONING DEVICE

NºPublicación:  WO2025214803A1 16/10/2025
Solicitante: 
TECHNIP ENERGIES FRANCE [FR]
TECHNIP ENERGIES FRANCE
WO_2025214803_PA

Resumen de: WO2025214803A1

A mooring line tensioning device is disclosed. The mooring line tensioning device may be coupled to a floating platform, such as a floating wind turbine platform. The mooring line tensioning device may include a housing, a proximal suspension element that can pivotably couple the housing to the floating platform, and a linearly displaceable element of a linear actuator that may extend through the base portion of the housing and may be linearly displaced relative to the housing. The linear actuator may be a jackscrew assembly and the linearly displaceable element may be a lifting screw of the jackscrew assembly. A mooring line may be coupled between a submerged anchor and a coupling element located at a distal end of the linearly displaceable element. Linear displacement of the linearly displaceable element by operation of the linear actuator can be used to adjust the tension of the mooring line.

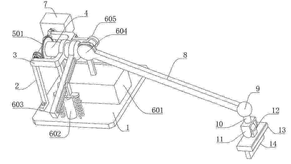
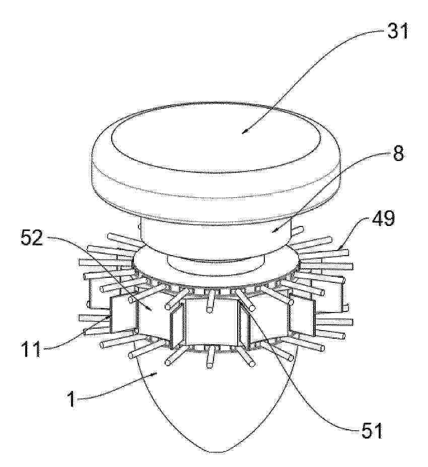
BLADE INSTALLATION SYSTEM AND METHOD FOR WIND TURBINE GENERATOR IN FLOATING OFFSHORE WIND POWER SYSTEM

NºPublicación:  WO2025213767A1 16/10/2025
Solicitante: 
SHANGHAI INVESTIGATION DESIGN & RES INSTITUTE CO LTD [CN]
SINO PORTUGUESE NEW ENERGY TECH CENTER SHANGHAI CO LTD [CN]
\u4E0A\u6D77\u52D8\u6D4B\u8BBE\u8BA1\u7814\u7A76\u9662\u6709\u9650\u516C\u53F8,
\u4E2D\u8461\u65B0\u80FD\u6E90\u6280\u672F\u4E2D\u5FC3\uFF08\u4E0A\u6D77\uFF09\u6709\u9650\u516C\u53F8
WO_2025213767_PA

Resumen de: WO2025213767A1

Disclosed in the present application is a blade installation system and method for a wind turbine generator in a floating offshore wind power system. The blade installation system comprises a nacelle gripper, a blade gripper and a lifting installation vessel, wherein the nacelle gripper comprises a gripping housing and a plurality of telescopic tightening block assemblies; the blade gripper comprises a gripping cylinder which is arranged on a front outer side surface of the gripping housing and can slide left and right, the inner circumferential surface of the gripping cylinder being provided with a plurality of telescopic driving wheel assemblies; a crane on the lifting installation vessel is configured to hoist the nacelle gripper to or away from a nacelle, and the plurality of telescopic tightening block assemblies cooperate to grip or release the nacelle; and the crane is further configured to hoist a blade root into the gripping cylinder in an open state, the plurality of telescopic driving wheel assemblies cooperate to grip or release the blade root, and the plurality of telescopic driving wheel assemblies cooperate to horizontally drive the gripped blade root from the front to the rear into a mounting hole of a hub. At a working sea area, the blade root can be conveniently mounted in the mounting hole of the hub; the installation difficulty is low.

FLOATING WIND TURBINE PLATFORM WITH BALLAST DISTRIBUTION SYSTEM

NºPublicación:  WO2025215420A1 16/10/2025
Solicitante: 
TECHNIP ENERGIES FRANCE [FR]
TECHNIP ENERGIES FRANCE
WO_2025215420_PA

Resumen de: WO2025215420A1

A floating wind turbine platform is disclosed. The floating wind turbine platform may include a floatable structure having multiple semisubmersible columns. The semisubmersible columns may be interconnected by pontoons, at least some of which may contain a ballast. The floating wind turbine platform may also include a ballast distribution system having a sensor that is usable to detect an inclination of the floatable structure in a body of water. The ballast distribution system can balance the floatable structure in response to a signal from the sensor by operating a pump to distribute the ballast within the pontoons. Distributing the ballast within the pontoons may include selectively adjusting a position of the ballast contained within the internal volume of at least one of the pontoons, or transferring at least some of the ballast between the internal volumes of the pontoons.

FLOATING WIND TURBINE PLATFORM WITH BALLAST CONTROL SYSTEM

NºPublicación:  WO2025215424A1 16/10/2025
Solicitante: 
TECHNIP ENERGIES FRANCE [FR]
TECHNIP ENERGIES FRANCE
WO_2025215424_PA

Resumen de: WO2025215424A1

A floating wind turbine platform is disclosed. The floating wind turbine platform may include a floatable structure that is deployable to a body of water and includes a plurality of semisubmersible columns. The semisubmersible columns may be interconnected. Each semisubmersible column can define an internal ballast volume. An intake port in each semisubmersible column can place the internal ballast volume of the semisubmersible column into fluid communication with the body of water. A ballast control system may be provided to balance the floatable structure upon a detected inclination thereof. Balancing of the floatable structure may be accomplished by selectively controlling a transfer of water from the body of water to the internal ballast volume of at least one of the semisubmersible columns, and/or by selectively controlling a transfer of water from the internal ballast volume of at least one of the semisubmersible columns to the body of water.

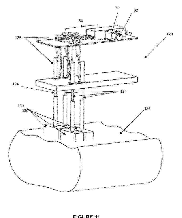
FLOATING INTERVENTION VESSEL FOR TEMPORARILY DOCKING ON AN OFFSHORE WIND TURBINE PLATFORM AND ASSOCIATED INTERVENTION ASSEMBLY AND SYSTEM

NºPublicación:  EP4630316A1 15/10/2025
Solicitante: 
TECHNIP ENERGIES FRANCE [FR]
Technip Energies France
KR_20250116710_PA

Resumen de: TW202446669A

The vessel comprises a float (80) and an intervention assembly on the wind turbine, carried by the float (80). The float (80) comprises a buoyant body (86) and a fastening baseplate (88) protruding relative to the buoyant body (86) along a fastening axis (A-A') on a lower surface of the offshore wind turbine platform. The buoyant body (86) defines a ballast-receiving volume, the vessel comprising a ballast controller configured to control the amount of ballast received in the ballast-receiving volume to raise an upper contact surface (94) of the baseplate (88) to place it in contact with a lower surface of the offshore wind turbine platform, the float (80) being monohull.

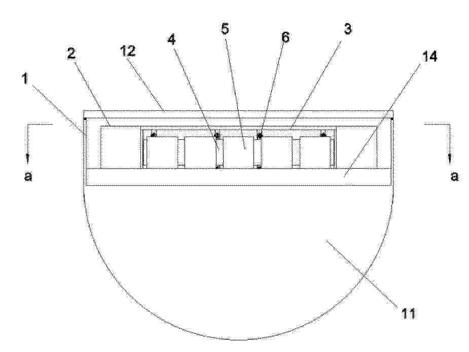
METHOD OF MANUFACTURING A FLOATER, IN PARTICULAR A FLOATER OF A FLOATING STRUCTURE OF AN OFFSHORE WIND TURBINE

NºPublicación:  EP4630313A1 15/10/2025
Solicitante: 
TOTALENERGIES ONETECH [FR]
TotalEnergies OneTech
KR_20250121362_PA

Resumen de: WO2024121391A1

The method of manufacturing a floater (2) comprises the steps of obtaining a plurality of wall portions (12), each wall portion (12) corresponding to an angular sector of an axial section (10) of a sidewall (6) of the floater, and assembling the wall portions (12) such as to manufacture axial sections (10) of the sidewall (6) sequentially. The assembly of the wall portions (12) starts with the assembly of a first axial section (10) onto one of the end plates (8) and at least one wall portion (12) is stiffened and/or at least one of the end plates (8) is stiffened.

TENSIONED LEG PLATFORM MOORING LINE TENSIONING DEVICE

NºPublicación:  EP4631843A1 15/10/2025
Solicitante: 
TECHNIP ENERGIES FRANCE [FR]
Technip Energies France
EP_4631843_PA

Resumen de: EP4631843A1

A mooring line tensioning device is disclosed. The mooring line tensioning device may be coupled to a floating platform, such as a floating wind turbine platform. The mooring line tensioning device may include a housing, a proximal suspension element that can pivotably couple the housing to the floating platform, and a linearly displaceable element of a linear actuator that may extend through the base portion of the housing and may be linearly displaced relative to the housing. The linear actuator may be a jackscrew assembly and the linearly displaceable element may be a lifting screw of the jackscrew assembly. A mooring line may be coupled between a submerged anchor and a coupling element located at a distal end of the linearly displaceable element. Linear displacement of the linearly displaceable element by operation of the linear actuator can be used to adjust the tension of the mooring line.

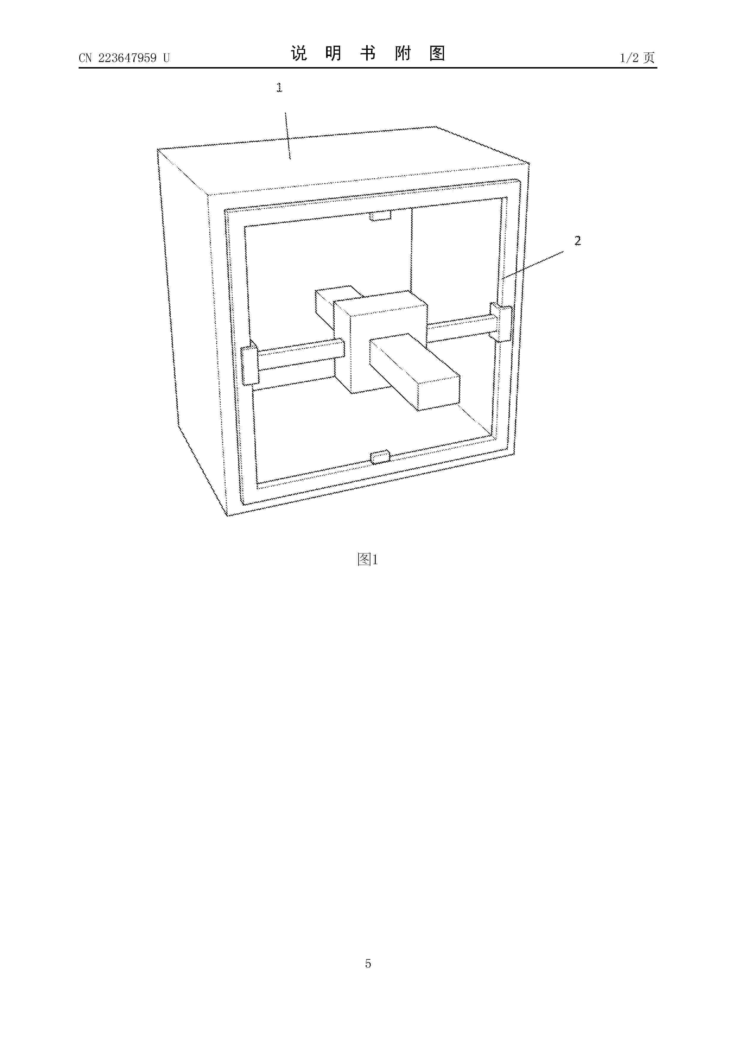
MASS AUGMENTATION OF A TENSION-LEG PLATFORM

NºPublicación:  EP4630688A1 15/10/2025
Solicitante: 
PELASTAR LLC [US]
PelaStar, LLC
WO_2025178634_PA

Resumen de: WO2025178634A1

Tension-leg platforms for supporting wind turbines are augmented with surge plates. The surge plates increase the amount of water that is displaced when a tension-leg platform is accelerated horizontally, which reduces wave induced accelerations. The surge plates are mounted to the deepest parts of the submerged structure of each platform to minimize wave loading.

FLOATING WIND TURBINE PLATFORM WITH BALLAST DISTRIBUTION SYSTEM

NºPublicación:  EP4631847A1 15/10/2025
Solicitante: 
TECHNIP ENERGIES FRANCE [FR]
Technip Energies France
EP_4631847_PA

Resumen de: EP4631847A1

A floating wind turbine platform is disclosed. The floating wind turbine platform may include a floatable structure having multiple semisubmersible columns: The semisubmersible columns may be interconnected by pontoons, at least some of which may contain a ballast. The floating wind turbine platform may also include a ballast distribution system having a sensor that is usable to detect an inclination of the floatable structure in a body of water. The ballast distribution system can balance the floatable structure in response to a signal from the sensor by operating a pump to distribute the ballast within the pontoons. Distributing the ballast within the pontoons may include selectively adjusting a position of the ballast contained within the internal volume of at least one of the pontoons, or transferring at least some of the ballast between the internal volumes of the pontoons.

FLOATING POWER GENERATION PLATFORM WITH WATER PLANE PLATFORM

NºPublicación:  WO2025212571A1 09/10/2025
Solicitante: 
MIGHTY WAVES ENERGY LLC [US]
MIGHTY WAVES ENERGY, LLC

Resumen de: WO2025212571A1

A floating power generation platform includes a water plane platform having a plurality of hydrodynamically fared columns respectively connected with a plurality of buoyant subsurface hulls. At least one tower extends above the water plane platform and is configured to support at least one power generation system. The at least one tower has a center core capable of hosting a stowed member. A deployable spar is movable between a stowed position, in which the deployable spar is stowed within the center core of the tower, and a deployed position, in which the deployable spar is extended below the water plane platform and each of the plurality of hydrodynamically fared columns.

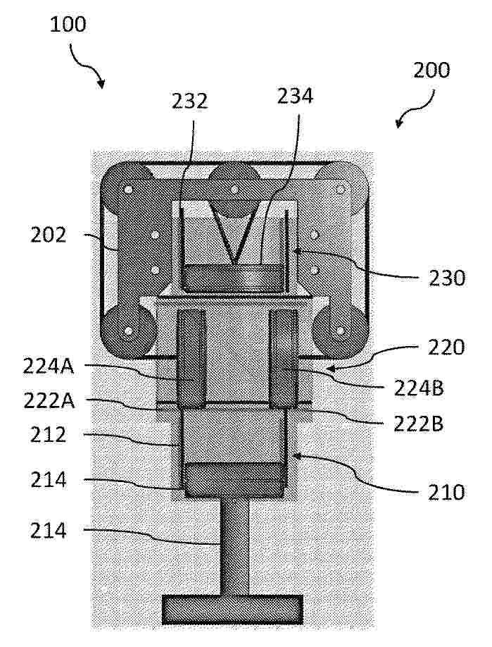
TENDON FOR A TENSION LEG PLATFORM AND TENSION LEG PLATFORM INCLUDING SUCH TENDON

NºPublicación:  AU2024234263A1 09/10/2025
Solicitante: 
CABIN AIR GROUP B V
CABIN AIR GROUP B.V
AU_2024234263_PA

Resumen de: AU2024234263A1

A tendon (224) for a tension leg platform (202), TLP, is provided. The TLP comprises a foundation (206), connectable to a bottom (208) of a body of water, and a buoyant hull (216). The tendon has a length, a proximal end (223), and a distal end (225). The tendon comprises a proximal end fitting at the proximal end and a distal end fitting at the distal end. The tendon is connectable with the proximal end fitting to the hull and with the distal end to the foundation to provide a pulling force on the hull. The length of the tendon is at least 300 meters. The tendon comprises basalt fibres for transferring the pulling force from the proximal end fitting to the distal end fitting.

ASYMMETRIC FLOATING WIND TURBINE INSTALLATION

NºPublicación:  US2025313310A1 09/10/2025
Solicitante: 
EQUINOR ENERGY AS [NO]
EQUINOR ENERGY AS
US_2025313310_PA

Resumen de: US2025313310A1

A floating wind turbine installation including an asymmetric floating wind turbine structure that is tethered to the floor of a body of water by a mooring system. The floating wind turbine structure includes a wind turbine mounted on a semi-submersible floating platform, and is oriented such that the wind turbine is positioned on an upwind side of the centre of mass of the floating wind turbine structure when the wind approaches the wind turbine structure in the direction of the prevailing wind at the location of the wind turbine installation.

SUBSEA CONFIGURATION FOR FLOATING STRUCTURES OF AN OFFSHORE WIND FARM

NºPublicación:  US2025313305A1 09/10/2025
Solicitante: 
TOTALENERGIES ONETECH [FR]
TOTALENERGIES ONETECH
US_2025313305_PA

Resumen de: US2025313305A1

An offshore wind farm includes at least four floating structures designed to receive a wind turbine, with each floating structure having at least three mooring lines, and each mooring line is attached to a mooring point arranged around said floating structure. The mooring lines facing inward from the offshore wind farm form the inner mooring lines of the offshore wind farm and the mooring lines facing outward from the offshore wind farm form the peripheral mooring lines of the offshore wind farm, wherein two adjacent floating structures have at least one of their peripheral mooring lines crossing each other, with at least one of these peripheral mooring lines comprising a buoyancy element.

FLOW-GUIDE DEVICE FOR OFFSHORE PLATFORM

NºPublicación:  US2025313309A1 09/10/2025
Solicitante: 
UNIV HOHAI [CN]
Hohai University
US_2025313309_PA

Resumen de: US2025313309A1

Disclosed is a flow-guide device for an offshore platform, comprising a flow-guide column base, a ballast level control device and a spiral side belt system, wherein the flow-guide column base is located at the bottom of an offshore platform, and multiple flow-guide column bases are arranged symmetrically and distributed in a ring array; the flow-guide column base is rotatably connected to the offshore platform; a ballast compartment is arranged in the flow-guide column base, and the ballast level control device is used for controlling a ballast level in the ballast compartment; and the spiral side belt system is arranged outside the flow-guide column base and used for restraining vortex-induced resonance. The flow-guide column base and the offshore platform can be kept in a relatively fixed state by means of a clamping device, such that the offshore platform is able to rotate synchronously with the flow-guide column base.

Offshore Floating Platform for Aeolian Generators

NºPublicación:  US2025314239A1 09/10/2025
Solicitante: 
MC2WORLD S R L [IT]
MC2WORLD S.R.L
US_2025314239_PA

Resumen de: US2025314239A1

An offshore floating platform includes a plurality of aeolian generators having: an aeolian tower having a longitudinal extension and provided with a first and a second end; a blade-type aeolian generator positioned at the first end; and an engagement base positioned at the second end; a connection section, which joins two aeolian generators, including at least one connection element; wherein each engagement base is engaged with the connection element in such a way that each aeolian tower can move independently in a direction substantially parallel to the axis of longitudinal development of an aeolian tower.

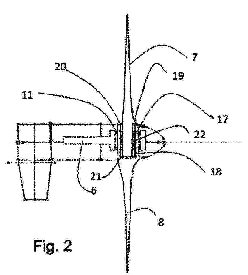
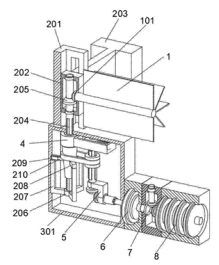
A METHOD FOR HANDLING A WIND TURBINE ROTOR BLADE

NºPublicación:  WO2025209633A1 09/10/2025
Solicitante: 
VESTAS WIND SYSTEMS AS [DK]
VESTAS WIND SYSTEMS A/S

Resumen de: WO2025209633A1

The invention provides a method for handling a wind turbine rotor blade (11) of a horizontal axis wind turbine (1), which wind turbine comprises a tower (14) supported by and fixed to a foundation (17), a nacelle (15) on the tower, and a rotor hub (18) rotatably mounted to the nacelle, the method comprising - fixedly mounting a blade supporting device (21a, 21b) to the foundation and/or to the wind turbine, - lifting the blade to the hub, or lowering the blade from the hub, and - positioning the blade on the blade supporting device (21a, 21b) so as to be supported by the blade supporting device, before the blade is lifted to the hub, or upon lowering the blade from the hub.

PROCESS OF ANCHORING A FLOATING PLATFORM ON A ROCKY SEABED

NºPublicación:  EP4627158A1 08/10/2025
Solicitante: 
TOTALENERGIES ONETECH [FR]
TotalEnergies OneTech
WO_2024115444_PA

Resumen de: WO2024115444A1

Process of anchoring a floating platform on a rocky seabed, comprising: - providing a trench portion (20) in the seabed, - installing an anchor structure (22) in the trench portion, comprising a steel reinforcement cage (34) extending in a longitudinal direction (L), and a chain supporting system (36) fixed to the reinforcement cage and including at least one plate (38), - connecting a mooring chain (26) to the chain supporting system, - injecting grout (24) in the trench portion, the reinforcement cage and the chain supporting system being at least partly surrounded by the injected grout, - after curing of the injected grout, connecting the mooring chain to the platform. Corresponding anchoring system.

METHOD FOR TRANSPORTING HYDROGEN FROM A FLOATING WIND TURBINE TO A WATER VEHICLE

NºPublicación:  EP4627215A1 08/10/2025
Solicitante: 
CRUSE OFFSHORE GMBH [DE]
CRUSE Offshore GmbH
KR_20250099193_PA

Resumen de: WO2024115474A1

The aim of the invention is to transport energy produced in an environmentally friendly manner by means of an offshore wind turbine to land in a simple and reliable manner. This is achieved by a method (100) for transporting hydrogen from a floating wind turbine (10) to a water vehicle (11), wherein hydrogen is provided in a storage tank (31) of a floating wind turbine (10), and a water vehicle (11) with a transport tank (36) is positioned by the floating wind turbine (10). The hydrogen is transported from the storage tank (31) to the transport tank (36) using a line (35) which is designed to transport the hydrogen.

FLOATING OFFSHORE STRUCTURE AND FLOATING OFFSHORE POWER GENERATION APPARATUS HAVING SAME

Nº publicación: EP4628398A2 08/10/2025

Solicitante:

HYUN DAI HEAVY IND CO LTD [KR]
Hyundai Heavy Industries Co., Ltd

EP_4628398_A2

Resumen de: EP4628398A2

A floating offshore structure of the present disclosure includes: a plurality of columns; and a plurality of pontoons installed at lower ends of the columns, respectively, wherein a polygonal shape is formed by an imaginary line connecting the columns, the pontoons are installed inside the polygonal shape, a cross-sectional area in a direction parallel to sea level of the pontoons is greater than or equal to the cross-sectional area in the direction parallel to the sea level of the columns, and the pontoons may have a shape protruding outward at the lower ends of the columns.

traducir