Ministerio de Industria, Turismo y Comercio LogoMinisterior
 

Alerta

Resultados 205 resultados
LastUpdate Última actualización 25/02/2026 [08:21:00]
pdfxls
Solicitudes publicadas en los últimos 30 días / Applications published in the last 30 days
previousPage Resultados 25 a 50 de 205 nextPage  

저유속 조류용 잠수식 발전소

NºPublicación:  KR20260021642A 13/02/2026
Solicitante: 
미네스토에이비
DK_202570147_A1

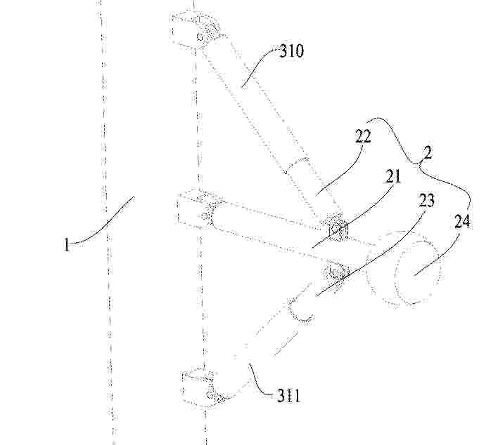
Resumen de: MX2025014284A

The invention relates to a submersible power plant (1) comprising a major rotor (2) arranged on a buoyant body (3) relative which it can rotate. The major rotor (2) comprises at least two major rotor blades (4) and is rotatable around a major rotor axis (A_r) from a fluid flow acting on the major rotor blades (4). The major rotor (2) comprises a minor rotor arranged on each major rotor blade (4), each comprising a minor rotor blade (7) rotatable around a minor rotor axis substantially perpendicular to the major rotor axis (A_r) and to an extension of the major rotor blades (4) from the major rotor axis (A_r) to each major rotor blade end (4a). The buoyant body (3) of the submersible power plant (1) is arranged to be secured to a structure by means of a tether and is arranged to change the angle (α) of the major rotor axis (A_r) relative the direction of the fluid flow (F_d), controlling the rotational speed of the major rotor (2).

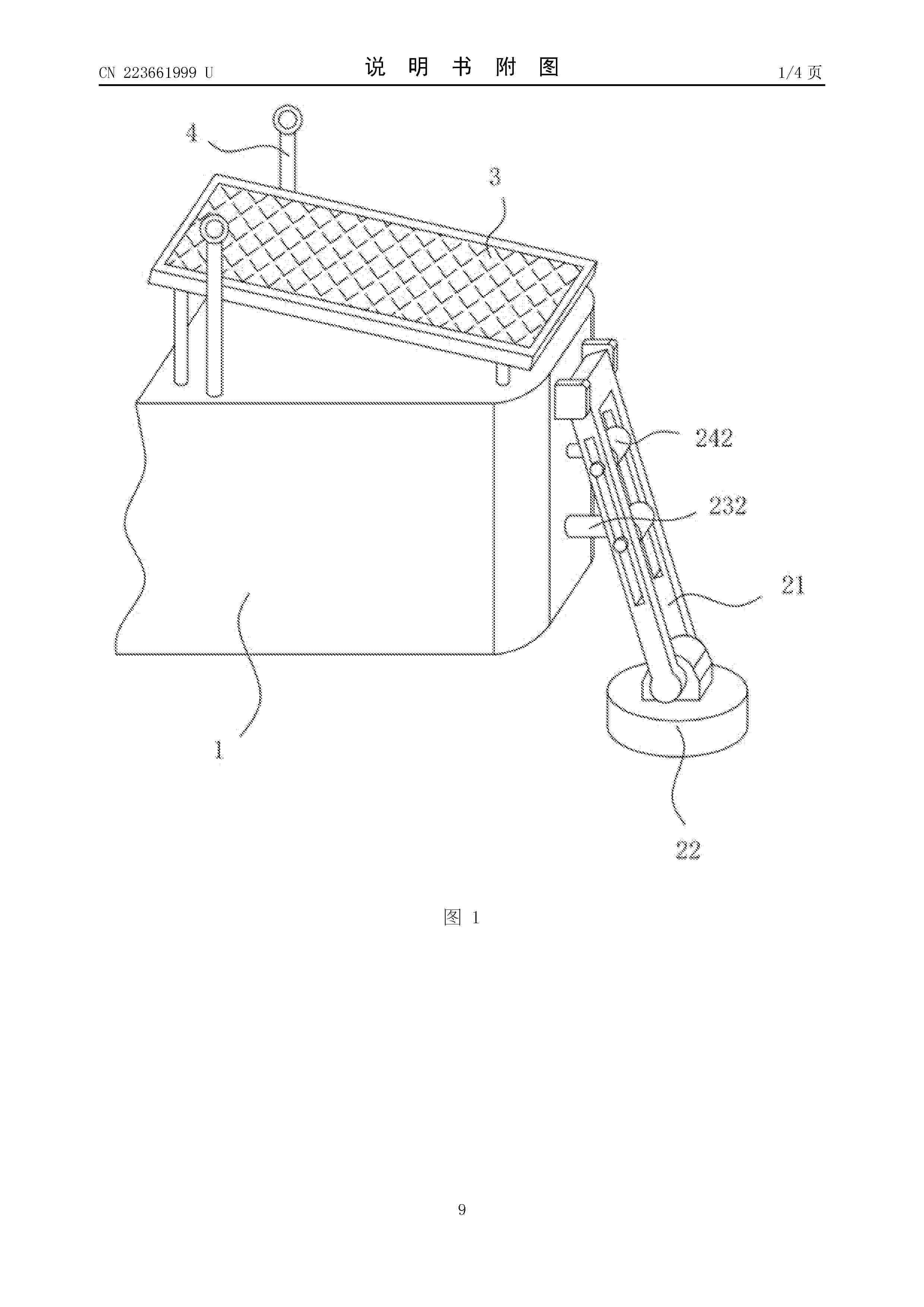
一种适用于外海的航标

NºPublicación:  CN223905250U 13/02/2026
Solicitante: 
广东海工建设工程有限公司
CN_223905250_U

Resumen de: CN223905250U

本实用新型提供了一种适用于外海的航标,包括:内部中空的浮体,浮体顶部设有航标灯;发电机,发电机安装在浮体内部;蓄电池,蓄电池安装在浮体内部,蓄电池分别与发电机和航标灯电连接;旋转轴,旋转轴转动设置在浮体底部,旋转轴顶端伸入到浮体内与发电机传动连接,旋转轴底端沿其周向设有多个扇叶;阻尼系统,阻尼系统设置在浮体内部,用于降低浮体所受的晃动;锚定系统,锚定系统与浮体连接。本实用新型稳定性高,防台风能力强,且能利用海洋资源稳定解决航标供电能力。

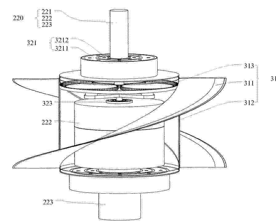
调控转动惯量增强轴系稳定性的方法及海洋能发电机组

NºPublicación:  CN121520115A 13/02/2026
Solicitante: 
中国大唐集团科技创新有限公司清华大学
CN_121520115_PA

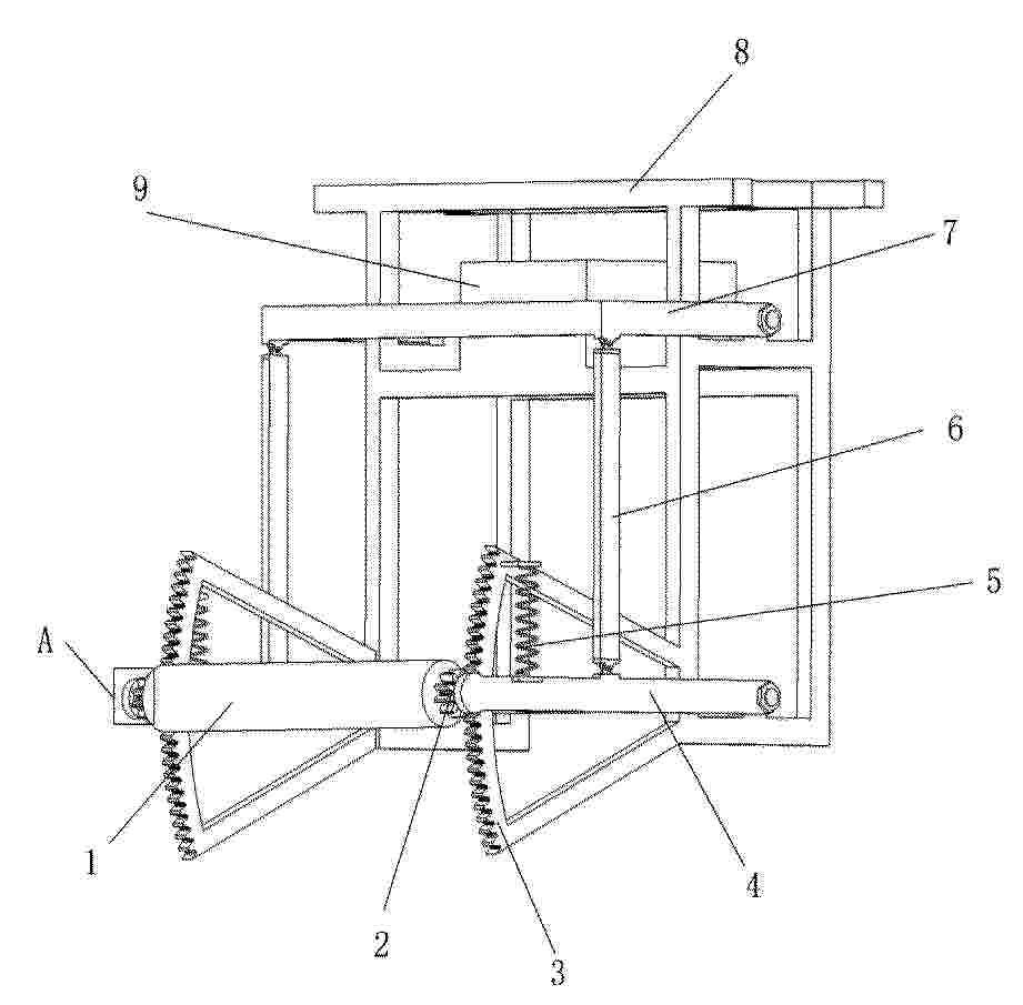
Resumen de: CN121520115A

本发明提供了一种调控转动惯量增强轴系稳定性的方法及海洋能发电机组,该方法包括:沿主轴周向固定安装至少一个离心滑块稳速装置,主轴连接叶轮;离心滑块稳速装置由一个滑杆、一个套装于滑杆上的滑块以及若干个用于控制滑块径向运动的弹性复位机构组成;滑杆的一端通过法兰或螺栓固定于主轴上,另一端向主轴径向延伸,并在末端设置限位板,以控制滑块的运动范围;弹性复位机构设置于所述主轴与滑块之间,以及滑杆末端与滑块之间。本发明通过完全被动的机械结构自适应调节转速,有效平抑因流体流速变化引起的转轮转速波动,有利于提高系统的轴系稳定性,降低运行过程中的振动,并减少因频繁转速变化引起的材料疲劳消耗,提高转轮使用寿命。

一种波浪能转化装置

NºPublicación:  CN223908317U 13/02/2026
Solicitante: 
平顶山学院
CN_223908317_U

Resumen de: CN223908317U

本实用新型公开了一种波浪能转化装置,具体涉及波浪发电技术领域,包括驱动组件、传动组件和输出组件,驱动组件用于将波浪能转换为机械能,驱动组件与传动组件传动连接,传动组件的输出端包括两个棘轮‑齿轮组件,棘轮‑齿轮组件包括传动齿轮和棘轮,棘轮与传动齿轮能够啮合或分离,两个棘轮‑齿轮组件的棘轮的旋转方向相反,当一个棘轮‑齿轮组件的棘轮与传动齿轮啮合时,另一个棘轮‑齿轮组件的棘轮与传动齿轮分离,输出组件包括两个输入齿轮,两个输入齿轮分别与两个棘轮‑齿轮组件的传动齿轮啮合,输出组件的输出端用于与发电机连接。本实用新型结构简单,能够充分利用波浪能的往复运动,提高能量转换效率和发电质量。

一种收集不平衡力的装置及方法

NºPublicación:  CN121520114A 13/02/2026
Solicitante: 
汤福安
CN_121520114_PA

Resumen de: CN121520114A

本发明公开了一种收集不平衡力的装置及方法,能够高效捕捉海浪、风等环境的不平衡力,并转化为机械能或电能。装置包括不平衡力收集板、活塞、齿条及棘轮和/或齿轮机构等部件,通过精密的机械联动,将往复运动转换为同向旋转运动,进而驱动外部设备。本发明创新地在汽车头部应用,利用风阻进行空气压缩与回弹,兼具防撞与能量转换双重功效。同时,在山谷或海边的大型结构中,本发明能高效利用风力进行能量转换,为偏远地区提供清洁能源。与现有技术相比,本发明通过创新设计,提升了能量转换效率和系统稳定性。

一种自驱水冷的气动稳定式海上光伏支撑平台及控制方法

NºPublicación:  CN121516182A 13/02/2026
Solicitante: 
中国海洋大学
CN_121516182_PA

Resumen de: CN121516182A

本发明属于海上光伏支撑平台技术领域,具体提出一种自驱水冷的气动稳定式海上光伏支撑平台及控制方法,该平台利用振荡水柱腔体构成的气动群柱结构,通过腔内压缩空气与外部波浪的动态耦合作用,有效消散波浪能量,显著降低复杂海况下平台的运动响应,从而实现自适应稳定;同时,依托同一气腔压强波动驱动海水循环流动,构成无需外部能耗的自驱水冷系统,用于驱动海水取水、循环及光伏组件散热,以提升光伏组件发电效率,该平台在结构稳性与能量利用方面实现协同优化,具备优异的抗浪性能与能源自持能力。

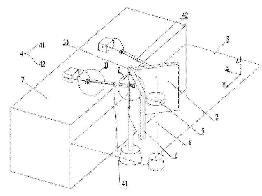
基于对称双摆与复位弹簧的波浪发电装置及发电方法

NºPublicación:  CN121520118A 13/02/2026
Solicitante: 
中国海洋大学
CN_121520118_PA

Resumen de: CN121520118A

本发明属于波浪能发电领域,具体为一种基于对称双摆与复位弹簧的波浪发电装置及发电方法,装置包括漂浮壳体,其底部通过锚链系泊。壳体内设有可绕中心主轴旋转的双摆系统,双摆通过复位弹簧约束,并装有双向驱动棘爪。摆的往复运动通过棘轮‑涡簧机构转换为单向旋转,涡簧起到平缓能量、缓冲储能的作用。旋转运动经锥形大齿轮、水平及垂向双联齿轮构成的增速传动链,最终驱动发电机发电。装置设有锁停机构,在小波高时锁停齿轮、储存能量于涡簧,待能量积累至阈值后释放以实现间断性发电。当波向与双摆平衡位置不垂直时,不对称的摆动力矩会通过复位弹簧与限位装置驱动整个中心主轴旋转,使双摆自动对准来波方向,实现全向自适应。

GENERATOR

NºPublicación:  WO2026033930A1 12/02/2026
Solicitante: 
GET CLEAN ENERGY CO LTD [JP]
\u682A\u5F0F\u4F1A\u793E\u30B2\u30C3\u30C8\u30AF\u30EA\u30FC\u30F3\u30A8\u30CA\u30B8\u30FC
WO_2026033930_PA

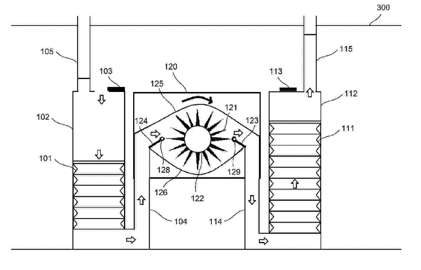
Resumen de: WO2026033930A1

Problem To provide a generator that is driven by utilizing water pressure. Solution A drive mechanism of this generator 122 comprises: a pair of bellows pump chambers 102, 112 in which bellows pumps 101, 111 are disposed; a windmill 121 which rotates by using air sent from the bellows pumps, which expand and contract; and a generator 122 which is directly connected to the windmill 121. The bellows pump chambers 102, 112 are disposed in water, opening/closing doors 103, 113 of the bellows pump chambers are alternately opened and closed, and air flows into a windmill chamber from the bellows pump of the bellows pump chamber in which the opening/closing door is open. In a windmill chamber 120 in which the windmill 121 is disposed, switching plates 123, 124 that switch a flow passage of air are provided so that the windmill 121 and the generator 122 rotate in the same direction regardless from which of the bellows pump chambers 102, 112 the air enters.

INERTIAL PNEUMATIC WAVE ENERGY DEVICE

NºPublicación:  US20260043386A1 12/02/2026
Solicitante: 
LONE GULL HOLDINGS LTD [US]
LONE GULL HOLDINGS, LTD
US_20260043386_PA

Resumen de: US20260043386A1

A buoyant wave energy device is disclosed that incorporates an open-bottomed tube of substantial length in which is partially enclosed a first body of water that oscillates in response to wave action. The device incorporates a buoy to which an upper end of the tube is connected and inside of which is trapped a second body of water of substantial mass. A differential phase in the oscillations of the water trapped in the tube, and the oscillations of the buoy of augmented mass, result in the periodic compression of a pocket of air trapped at the top of the tube, and in the subsequent expulsion of pressurized air through a turbine, thereby generating electrical power.

HYDROELECTRIC POWER GENERATION UTILIZING TIDAL FLOWS AND CORIOLIS FORCE

NºPublicación:  WO2026036122A1 12/02/2026
Solicitante: 
TALUKDAR SUBRATA [US]
TALUKDAR, Subrata
WO_2026036122_PA

Resumen de: WO2026036122A1

A system and method for harnessing and converting tidal energy into electricity utilizes the predictable nature of tidal phenomena. The system captures the Coriolis force, an inertial force imparted to a moving fluid by Earth's rotation, through a low-head turbine. The system creates a potential water column difference using multiple reservoirs and a tide capture/release algorithm. Water flows down this gradient through the turbine chamber to a lower potential energy reservoir, regulated by pump-assisted buoyant valve locks. The turbine design captures the summated rotational energy from the rotating water body created by the forced vortex and the Coriolis force as it exits the turbine chamber. This system provides a reliable, environmentally friendly, and virtually endless source of energy.

HYDROELECTRIC POWER GENERATION UTILIZING TIDAL FLOWS AND CORIOLIS FORCE

NºPublicación:  US20260043387A1 12/02/2026
Solicitante: 
TALUKDAR SUBRATA [US]
Talukdar Subrata
US_20260043387_PA

Resumen de: US20260043387A1

A system and method for harnessing and converting tidal energy into electricity utilizes the predictable nature of tidal phenomena. The system captures the Coriolis force, an inertial force imparted to a moving fluid by Earth's rotation, through a low-head turbine. The system creates a potential water column difference using multiple reservoirs and a tide capture/release algorithm. Water flows down this gradient through the turbine chamber to a lower potential energy reservoir, regulated by pump-assisted buoyant valve locks. The turbine design captures the summated rotational energy from the rotating water body created by the forced vortex and the Coriolis force as it exits the turbine chamber. This system provides a reliable, environmentally friendly, and virtually endless source of energy.

WATER-DRAWING STRUCTURE FOR OCEAN ENERGY GENERATOR

NºPublicación:  US20260043385A1 12/02/2026
Solicitante: 
HSIEH HO YUAN [TW]
Hsieh Ho-Yuan
US_20260043385_PA

Resumen de: US20260043385A1

A water-drawing structure for an ocean energy generator includes a sea-water collection tank with multiple locating posts at its bottom. An intake conduit includes a check valve connected to the tank, and a water-drawing assembly connected to the intake conduit. A floating element on the water surface is connected to a linkage system comprising a main linkage, a piston rod and a floating element linkage. The main linkage pivots on a pillar at one end and is connected to the floating element linkage at the other end. The piston rod is connected between the main linkage and the water-drawing assembly. A counterweight is connected to the main linkage where it connects to the floating element linkage. One pillar has two positioning feet between which the main linkage passes. As waves cause the floating element, the linkage system drives the water-drawing assembly to pump seawater efficiently for power generation.

METHOD AND SYSTEM FOR CONVERTING MECHANICAL ENERGY OF AN OSCILLATING BODY INTO ELECTRICAL ENERGY

NºPublicación:  EP4689383A1 11/02/2026
Solicitante: 
UNIV DEL PAIS VASCO/EUSKAL HERRIKO UNIBERTSITATEA [ES]
Universidad del Pa\u00EDs Vasco/Euskal Herriko Unibertsitatea
ES_2986240_PA

Resumen de: ES2986240A1

The present invention relates to a method of converting mechanical energy of oscillations into electrical energy, the method comprising adjusting a displacement of a mass (1) mechanically coupled to an electrical machine (3), the coupling being such that the electrical machine (3) generates the electrical energy from the displacement of the mass (1) in the oscillations, the displacement being relative to an oscillating body; the displacement being adjusted by an adjustment of a force applied by the electrical machine (3) to the mass (1); and the applied force being adjusted by a controller configured so that a control objective is to achieve that an instantaneous velocity of the displacement of the mass (1) is positively accelerated by a gravitational force (Fg) applied to the mass (1) at certain instants of the oscillations. (Machine-translation by Google Translate, not legally binding)

HYDRAULIC MOTOR

NºPublicación:  EP4689416A1 11/02/2026
Solicitante: 
WORLDPOWER AS [NO]
Worldpower AS
CN_121127684_PA

Resumen de: AU2024253856A1

A hydraulic motor for energy conversion and method for operating a hydraulic motor5 for energy conversion are provided. The present invention attains the above-described objective by a pressure annulling unit that can selectively annul the ambient pressure outside the pressure annulling unit.

WAVE ENERGY DEVICE

NºPublicación:  EP4689384A1 11/02/2026
Solicitante: 
GEPS TECHNO [FR]
Geps Techno
WO_2024200584_PA

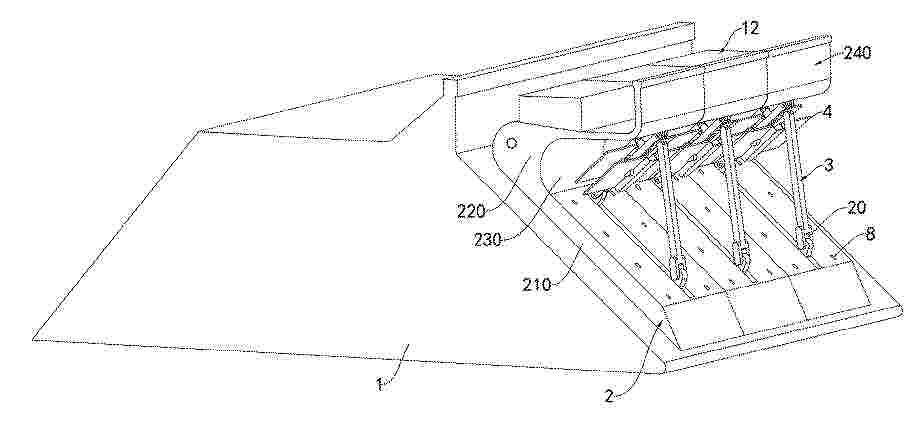
Resumen de: WO2024200584A1

The invention relates to a device for capturing wave energy, the device comprising a structure (1) that is intended, when in use, to float and to be anchored to a seabed, this structure comprising at least a first and a second wall (10, 11), the first and second walls being non-coplanar, one of the walls (10) comprising at least a first opening and a first flap (101) mounted inside the at least one first opening by being able to rotate about a first axis so as to be able to be moved rotationally about the first axis owing to the effect of the surge and produce, when in operation, mechanical energy, two adjacent walls of the structure being joined together via a float (12) to form a polygonal structure that has a bottom and an upper portion facing one another, the first flap being vertical in the rest position and behaving as a movable barrier which creates a pressure difference over the height of the flap so as to produce mechanical energy, the device also comprising means for converting the mechanical energy of the flaps into electrical energy.

SELF-CONTAINED HIGH-ENERGY-DENSITY COMPUTING SYSTEMS, AND METHODS OF USE

NºPublicación:  EP4691204A1 11/02/2026
Solicitante: 
OCEANBIT INC [US]
Oceanbit Inc
KR_20250160206_PA

Resumen de: MX2025011803A

Self-contained blockchain mining and high-energy-density computing systems have a low temperature heat engine (LTHE) with a working fluid loop extended between a heat source and a heat sink; a biockchain mining device connected to receive electricity generated from the LTHE; a heat exchanger on the working fluid loop; and a coolant loop extended between the blockchain mining device and the working fluid loop (heat exchanger). A self-contained high-energy-density computing data center (HEDC) system is disclosed comprising: a low temperature heat engine (LTHE) with a working fluid loop extended between a heat source and a heat sink; an HEDC device connected to receive electricity generated from the LTHE; a heat exchanger on the working fluid loop; and a coolant loop extended between the HEDC device and the working fluid loop (heat exchanger). A method is also disclosed comprising: generating electricity using a low temperature heat engine (LTHE); operating an HEDC device, using electricity generated by the LTHE, to carry put computer processes; and cooling the HEDC device by heat exchange with working fluid of the LTHE.

TURBINE BLADE

NºPublicación:  EP4689382A1 11/02/2026
Solicitante: 
UNIV COURT UNIV OF EDINBURGH [GB]
The University Court Of The University of Edinburgh
WO_2024209197_PA

Resumen de: WO2024209197A1

A turbine blade (10), a turbine (1) comprising said turbine blade (10), a trailing edge assembly (11', 11'', 111') for a turbine blade (10', 10'', 110') and a kit of parts for a turbine blade (10', 10'', 110'). The turbine blade (10) comprising a leading edge (12), a trailing edge (14), a pressure side (16), and a suction side (18); wherein each of the pressure side (16) and the suction side (18) extend between the leading edge (12) and the trailing edge (14); wherein the pressure side (16) is formed of a first wall (20); wherein the suction side (18) is formed of a second wall (22); and wherein the first wall (20) and the second wall (22) are configured to be independently deformable and move relative to each other proximal the trailing edge (14) in response to loading on the turbine blade (10).

WAVE ENERGY TO ELECTRICAL ENERGY CONVERTER

NºPublicación:  EP4689385A1 11/02/2026
Solicitante: 
UNIV DEL PAIS VASCO/EUSKAL HERRIKO UNIBERTSITATEA [ES]
Universidad del Pa\u00EDs Vasco/Euskal Herriko Unibertsitatea
AU_2024253203_PA

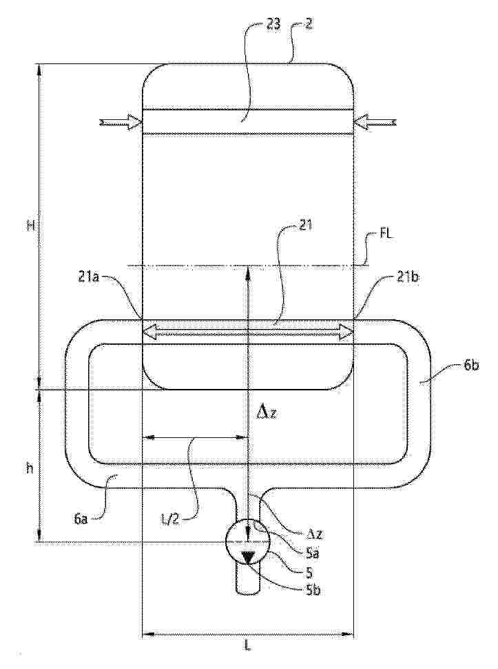
Resumen de: AU2024253203A1

The present invention relates to a wave energy to electrical energy converter, the wave energy converter comprising a hull (1), a movable mass (3), a guide (4) for displacement of the mass (3) and an electric power generator (10); the electric power generator (10) comprising a rotor, the mass (3) being coupled to the rotor by means of a mechanism configured to convert displacement of the mass (3) into rotation of the rotor; the mass (3), the guide (4), the generator (10) and the mechanism being in the hull (1); the guide having a port to starboard direction; the converter comprising a controller configured to adjust a rotor torque on the basis of the instantaneous position of the mass (3), instantaneous velocity of the mass (3) and the rolling of the hull (1).

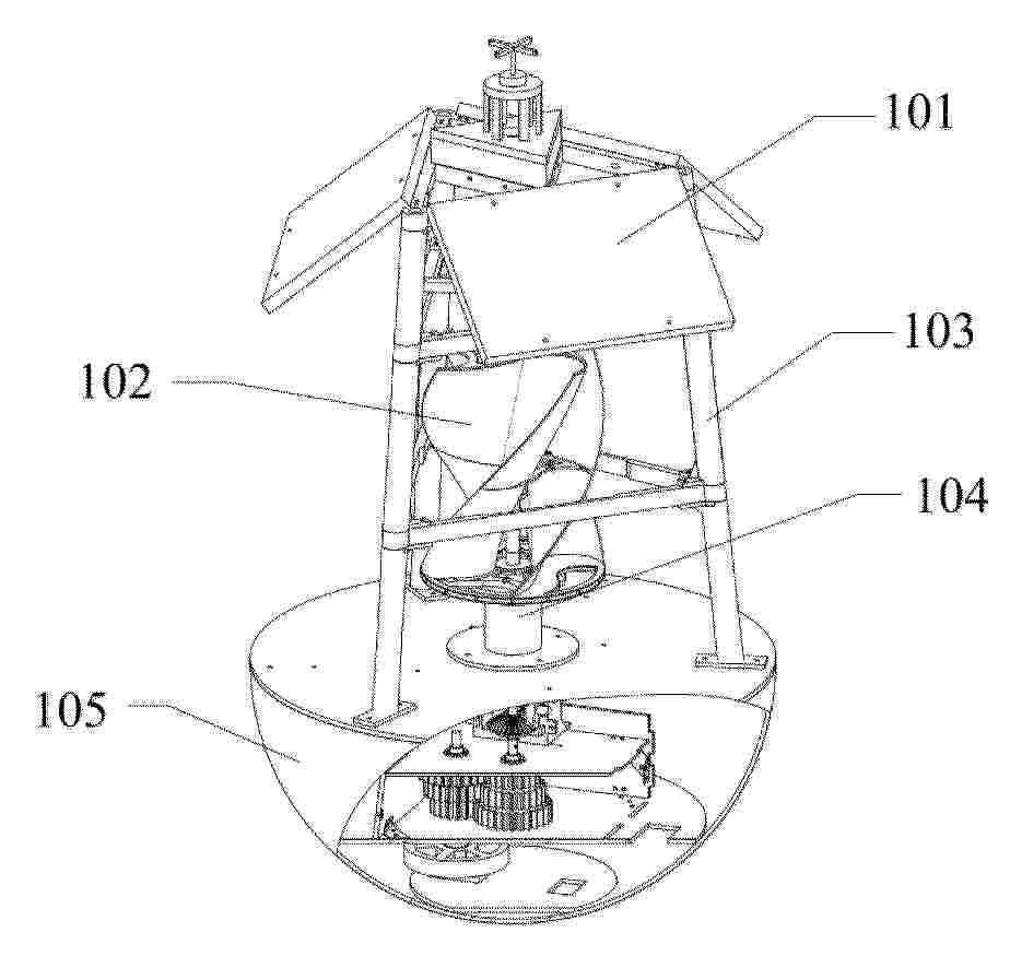
一种基于海星仿生学的新型自适应风能-光能-波浪能集成发电结构体系

NºPublicación:  CN121497551A 10/02/2026
Solicitante: 
桂林理工大学
CN_121497551_PA

Resumen de: CN121497551A

本发明公开了一种基于海星仿生学的新型自适应风能‑光能‑波浪能集成发电结构体系,包括风力发电、太阳能光伏发电、波浪能发电模块、海星仿生浮式平台及系泊系统。所述浮式平台为五轴对称结构,含中心体与五个星形臂平台;太阳能光伏发电模块包括布置于星形臂平台顶部的水上固定光伏阵列和嵌入星形臂平台外侧的水下可折叠光伏阵列;波浪能发电模块包括振荡水柱式单元与点吸收式浮子单元;风力发电模块沿星形臂径向对称布置且风机叶片可自适应收缩;所述系泊系统呈星形布置并动态调节张力与长度。本发明实现了海上风能、太阳能和波浪能的高效、互补、集成与自适应利用,显著提升了发电效率、平台稳定性和环境适应性,降低了度电成本与结构风险。

FLOATING APPRATUS FOR POWER GENERATION

NºPublicación:  KR20260019788A 10/02/2026
Solicitante: 
김정태

Resumen de: KR20260019788A

본 발명의 일 실시예에 따른 해상에 부유되는 부유체의 상면에 고정되는 부유식 발전 장치에 있어서, 소정 높이를 가지며, 상기 부유체의 상면에 고정되는 고정부, 및 상기 고정부의 양 측 각각에 결합되는 한 쌍의 지지부를 포함한다. 상기 지지부들 각각은, 상면, 상기 상면 보다 작은 길이를 갖는 하면, 및 상기 상면과 상기 하면을 연결하는 양측면을 포함하는 사다리꼴 형상을 가지며, 상단부의 양 끝단부에 회전 가능하게 결합되는 한 쌍의 제1 롤러, 하단부의 양 끝단부에 회전 가능하게 결합되는 한 쌍의 제2 롤러, 및 상기 지지부에 대응되는 형상을 가지며, 상기 한 쌍의 제1 롤러 및 상기 한 쌍의 제2 롤러를 따라 회전되는 회전벨트를 포함한다. 상기 지지부들 사이에 형성되며, 파도에 의해 상기 지지부들의 회전벨트를 따라 회전되어 운동에너지를 생성하고, 상기 운동에너지를 전기 에너지로 변환시키는 복수의 발전유닛을 포함한다.

一种海上风电机组防潮除湿系统及方法

NºPublicación:  CN121508012A 10/02/2026
Solicitante: 
华电科工股份有限公司
CN_121508012_PA

Resumen de: CN121508012A

本发明公开了一种海上风电机组防潮除湿系统,包括波浪能发电装置、分布式构网储能装置、除湿装置、多端口直流变换器和风电机组电源端口;波浪能发电装置经多端口直流变换器和除湿装置电连接,为风电机组的除湿装置供电;和/或分布式构网储能装置经多端口直流变换器和除湿装置电连接,为风电机组的除湿装置供电;和/或风电机组电源端口经多端口直流变换器和除湿装置电连接,为风电机组的除湿装置供电。本发明实现波浪能发电防潮除湿,实现了多种能源多端口驱动发电方案,多端口控制方案。

一种利用水轮机转换波浪能的发电浮标及其系泊方法

NºPublicación:  CN121493164A 10/02/2026
Solicitante: 
集美大学
CN_121493164_PA

Resumen de: CN121493164A

本发明涉及海洋能开发利用技术领域,具体为一种利用水轮机转换波浪能的发电浮标及其系泊方法,发电浮标包括浮体、连杆、混流式水轮机、减摇翅片,浮体固定安装在连杆的上方,连杆下方连接混流式水轮机,减摇翅片呈圆周状均匀分布固定在整个发电浮标的表面,混流式水轮机自上而下主要由上导流筒、转轮、内密封罩、外密封罩、下导流筒同轴安装组成,内密封罩固定在转轮叶片的圆周外侧,内密封罩上下圆周表面分别固定连接上导流筒的圆柱外壳和下导流筒的圆柱外壳的端面,外密封罩的上下安装端面通过橡胶密封固定安装在上导流筒和下导流筒上。本发明的浮体采用鱼漂型结构,采用混流式水轮机,外表面的减摇翅片等结构有效提高波浪能转换效率。

一种垂荡浮子式波浪能发电装置

NºPublicación:  CN121474041A 06/02/2026
Solicitante: 
中山大学
CN_121474041_PA

Resumen de: CN121474041A

本发明涉及波浪能发电技术领域,特别是涉及一种垂荡浮子式波浪能发电装置,包括支撑架、垂荡浮子、驱动装置、监测件和控制系统;支撑架漂浮或固定于海面;垂荡浮子上下滑动连接于支撑架;驱动装置连接于支撑架,驱动装置的输出端连接垂荡浮子;监测件能够监测海上波浪的浪高;监测件和驱动装置均与控制系统电连接;正常海况下,监测件监测到浪高小于设定值,控制系统控制驱动装置驱动下放垂荡浮子,垂荡浮子能够在波浪作用下上下移动,实现发电;强浪工况下,监测件监测到浪高大于设定值,控制系统控制驱动装置上提垂荡浮子并使垂荡浮子固定,避免垂荡浮子受强浪作用而剧烈冲击支撑架。

自适应海况的多自由度组合式海洋能发电装置及控制方法

NºPublicación:  CN121474040A 06/02/2026
Solicitante: 
中国海洋大学
CN_121474040_PA

Resumen de: CN121474040A

本发明属于海洋可再生能源技术领域,具体涉及自适应海况的多自由度组合式海洋能发电装置及控制方法。波浪能输入机构和换向机构安装于主动轴上,电能转换端机构安装于从动轴上,波浪能输入机构在换向机构作用下向电能转换端机构输入单向转动;自调节齿轮比系统置于浮体座内部,各齿轮组间的齿轮比不同,主动轮通过轴承安装于主动轴上且其内部开有内槽,从动轮固定安装于从动轴上;可控插销装置固定安装于主动轴内,控制插销伸入或退出内槽,切换齿轮组以适应不同的海况。本发明通过改变齿轮比,以此来改变摆锤运动时的阻力,使摆锤运动与浮体运动达到共振,可以更有效地利用在不同海况下的波浪能,显著提高波浪能利用效率。

一种基于动态定点聚波的波浪能高效转换装置及控制方法

Nº publicación: CN121474037A 06/02/2026

Solicitante:

山东大学

CN_121474037_PA

Resumen de: CN121474037A

本申请属于波浪能发电控制技术领域,提供一种基于动态定点聚波的波浪能高效转换装置及控制方法,所述高效转换装置包括第一反射波调节结构、第二反射波调节结构及旋转驱动单元;第一反射波调节结构和第二反射波调节结构能够各自独立地绕各自的与定点位置的径向距离保持不变的旋转轴进行旋转,以各自独立地调节产生的反射波的朝向,使定点位置处于入射波与反射波的相长干涉区域;旋转驱动单元用于驱动所述第一反射波调节结构和第二反射波调节结构各自独立地旋转。本申请提供的高效转换装置及控制方法,能够通过动态调节两个反射波的反射角度,使定点位置始终处于波浪的相长干涉区域,实现在各种海况下波浪能的高效转换。

traducir