Ministerio de Industria, Turismo y Comercio LogoMinisterior
 

Alerta

Resultados 463 resultados
LastUpdate Última actualización 25/04/2026 [07:54:00]
pdfxls
Solicitudes publicadas en los últimos 15 días / Applications published in the last 15 days
previousPage Resultados 200 a 225 de 463 nextPage  

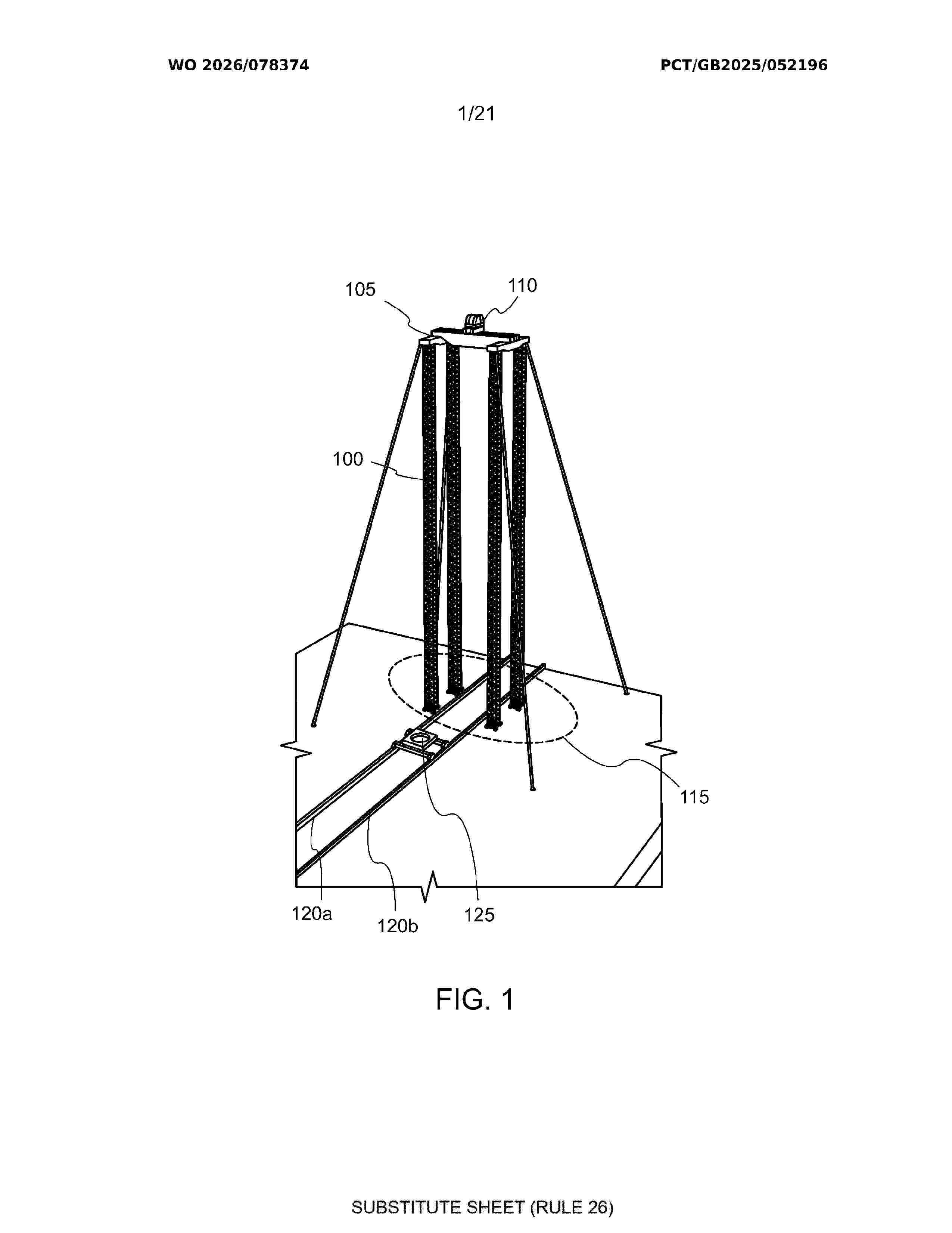
OFFSHORE WIND PLATFORM WITH ARTICULATED COLUMN

NºPublicación:  WO2026077972A1 16/04/2026
Solicitante: 
MARINE POWER SYSTEMS LTD [GB]
WO_2026077972_A1

Resumen de: WO2026077972A1

The present disclosure relates to an offshore wind turbine foundation comprising: a platform for the mounting of a wind turbine above the surface of a body of water, and at least three radial arms; a support column for supporting the platform above a bed of the body of water, the support column comprising, at a first end proximal to the platform, a first pivoting connection, and at a second end, distal to the first end, proximal to the bed of the body of water a second pivoting connection; and at least three tendons, each tendon connecting a respective radial arm of the platform to the bed of the body of water, wherein a length of each tendon is shorter than a length of the support column.

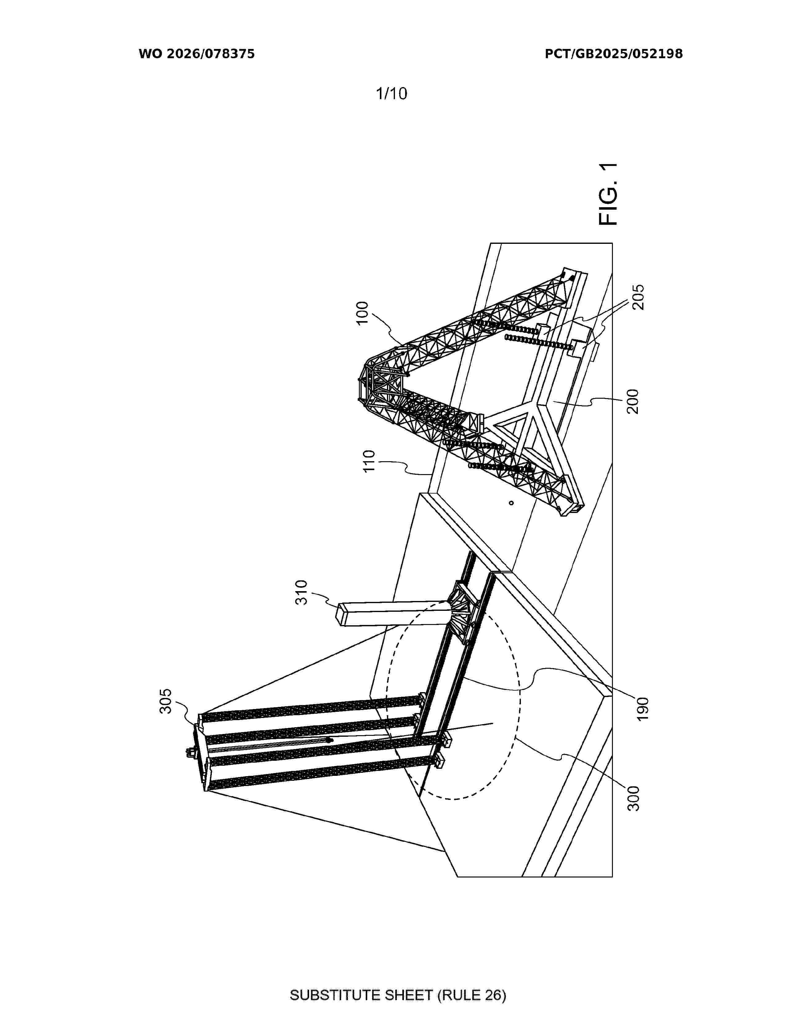
METHOD AND SYSTEM FOR DEPLOYING A STRUCTURE FOR OFFSHORE USE

NºPublicación:  WO2026078375A1 16/04/2026
Solicitante: 
PLANET 42B LTD [GB]
WO_2026078375_A1

Resumen de: WO2026078375A1

A method of deploying a structure for use in offshore assembly of a further structure, such as a wind turbine, is disclosed. The method comprises: providing the structure in an undeployed state at a deployment site located in a body of water, wherein the structure comprise a plurality of legs and the deployment site comprises a plurality of support structures; and transitioning the structure to a deployed state by extending each leg of the structure and then coupling each leg of the structure to a respective support structure of the plurality of support structures. Also disclosed is a corresponding system for deploying the structure for use in offshore assembly of the further structure.

Getriebeanordnung und Windkraftanlage

NºPublicación:  DE102024209977A1 16/04/2026
Solicitante: 
ZAHNRADFABRIK FRIEDRICHSHAFEN [DE]
ZF WIND POWER ANTWERPEN NV [BE]
DE_102024209977_PA

Resumen de: DE102024209977A1

Die Erfindung betrifft eine Getriebeanordnung für eine Windkraftanlage (10) mit einem Getriebe (22). Eine Welle (40) des Getriebes (22) ist mit einer weiteren Welle (16) der Windkraftanlage (10) in einem montierten Zustand der Windkraftanlage (10) durch eine formschlüssige Verbindung permanent drehfest verbunden. Die Getriebeanordnung weist eine Spannvorrichtung (60) auf, welche dazu ausgebildet ist, ein Spiel wenigstens in einem Teilbereich der formschlüssigen Verbindung aufzuheben. Zudem bezieht sich die Erfindung auf eine Windkraftanlage (10).

SYSTEM AND METHOD FOR ASSEMBLING AN OFFSHORE STRUCTURE

NºPublicación:  WO2026078372A1 16/04/2026
Solicitante: 
PLANET 42B LTD [GB]
WO_2026078372_A1

Resumen de: WO2026078372A1

An assembly system (100) for assembling an offshore structure (110), the assembly system comprising: a floating base (112) of the offshore structure (110); a lifting structure (120) configured to perform a landing operation, the landing operation comprising landing one or more components (114) of the offshore structure (110) onto the floating base (112); and a heave reduction system configured to selectively adjust a draft of the floating base (112) during the landing operation. A method (500) of assembling an offshore structure is also disclosed.

WIND TURBINE

NºPublicación:  WO2026078351A1 16/04/2026
Solicitante: 
ALPHA 311 LTD [GB]
WO_2026078351_A1

Resumen de: WO2026078351A1

Wind Turbine A wind turbine comprising a stator frame, a rotor blade apparatus and an electrical energy generator; wherein the stator frame comprises a lower stator frame plate; an upper stator frame plate; and two or more stator blades located between the upper and lower stator frame plates, wherein a first end of each stator blade is coupled to the lower stator frame plate and a second end of each stator blade is coupled to the upper stator frame plate; wherein the rotor blade apparatus comprises a lower rotor support plate; an upper rotor support plate; and two or more rotor blades located between the upper and lower rotor support plates, wherein a first end of each rotor blade is coupled to the lower rotor support plate and a second end of each rotor blade is coupled to the upper rotor support plate; wherein the rotor blade apparatus is rotatably coupled to the stator frame; the rotor blade apparatus defines a rotational axis about which it rotates; the stator blades and the rotor blades are arranged co-axially with the rotational axis; the stator blades are disposed radially outwards from the rotor blades; and the electrical energy generator is coupled to and driven by the rotor blade apparatus, wherein the electrical energy generator generates electrical energy when the rotor blade apparatus rotates relative to the stator frame; and wherein at least one of the stator blades defines a channel therethrough.

METHOD AND SYSTEM FOR ASSEMBLING A STRUCTURE FOR OFFSHORE USE

NºPublicación:  WO2026078374A1 16/04/2026
Solicitante: 
PLANET 42B LTD [GB]
WO_2026078374_A1

Resumen de: WO2026078374A1

A method of assembling a structure, such as a lifting structure, for use in offshore assembly of a further structure, such as a wind turbine, is disclosed. The method comprises: coupling a first leg of the structure to a support apparatus disposed in a first assembly orientation; rotating the support apparatus to a second assembly orientation; and coupling a second leg of the structure to the support apparatus. A system for assembling the structure for use in offshore assembly of the further structure is also disclosed. A support apparatus for use in assembly of the structure is also disclosed.

Windkraftgetriebe ohne Hauptwelle

NºPublicación:  DE102024209941A1 16/04/2026
Solicitante: 
ZAHNRADFABRIK FRIEDRICHSHAFEN [DE]
ZF WIND POWER ANTWERPEN NV [BE]
DE_102024209941_PA

Resumen de: DE102024209941A1

Die Erfindung betrifft ein Windkraftgetriebe (103) mit einem drehbar gelagerten Planetenträger (111). Der Planetenträger (111) ist ausgebildet, direkt mit einer Rotornabe (101) gefügt zu werden.

A SYSTEM FOR GENERATING ELECTRICAL POWER BY MAXIMIZING THE POTENTIAL OF TIDAL MOVEMENT THROUGH A COASTAL DAM AND A VARIABLE HEIGHT TURBINE

NºPublicación:  WO2026079995A1 16/04/2026
Solicitante: 
ALABDULLAH MOHAMMED [SA]
WO_2026079995_A1

Resumen de: WO2026079995A1

This invention relates to a system for generating clean electrical energy by maximizing the utilization of seawater flow during tidal movements. The system comprises a C-shaped coastal marine dam open towards the shoreline, consisting of four walls (1, 2, 3, and 4). A fixed base (5) is installed between the two walls (2 and 3) farthest from the shore and includes two lateral sides, forming a narrow water passage (gate) (6) between them. The dam encloses a large area adjacent to the shore, preventing seawater from entering during high tide except through the narrow passage, thereby creating a highly concentrated water flow that can be harnessed for electricity generation. The system also includes two movable bases (13) mounted on the lateral sides of the fixed base, capable of moving vertically in response to the changing water levels during tides In order to move the giant turbine(14) in a vertical motion.. Each movable base(13) is connected to air tanks (13-2) positioned beneath the fixed base. A large circular turbine (14) is mounted on a shaft (15) supported by the two movable bases. Two large pulleys (17) are attached to both ends of the turbine shaft, transmitting rotational motion to gearboxes (19), which in turn drive electrical generators (21). During tidal movement, seawater flows exclusively through the gate (6), striking the turbine blades and causing the turbine (14) to rotate with high torque. This rotational energy is transmitted via the pulleys and gearboxes to

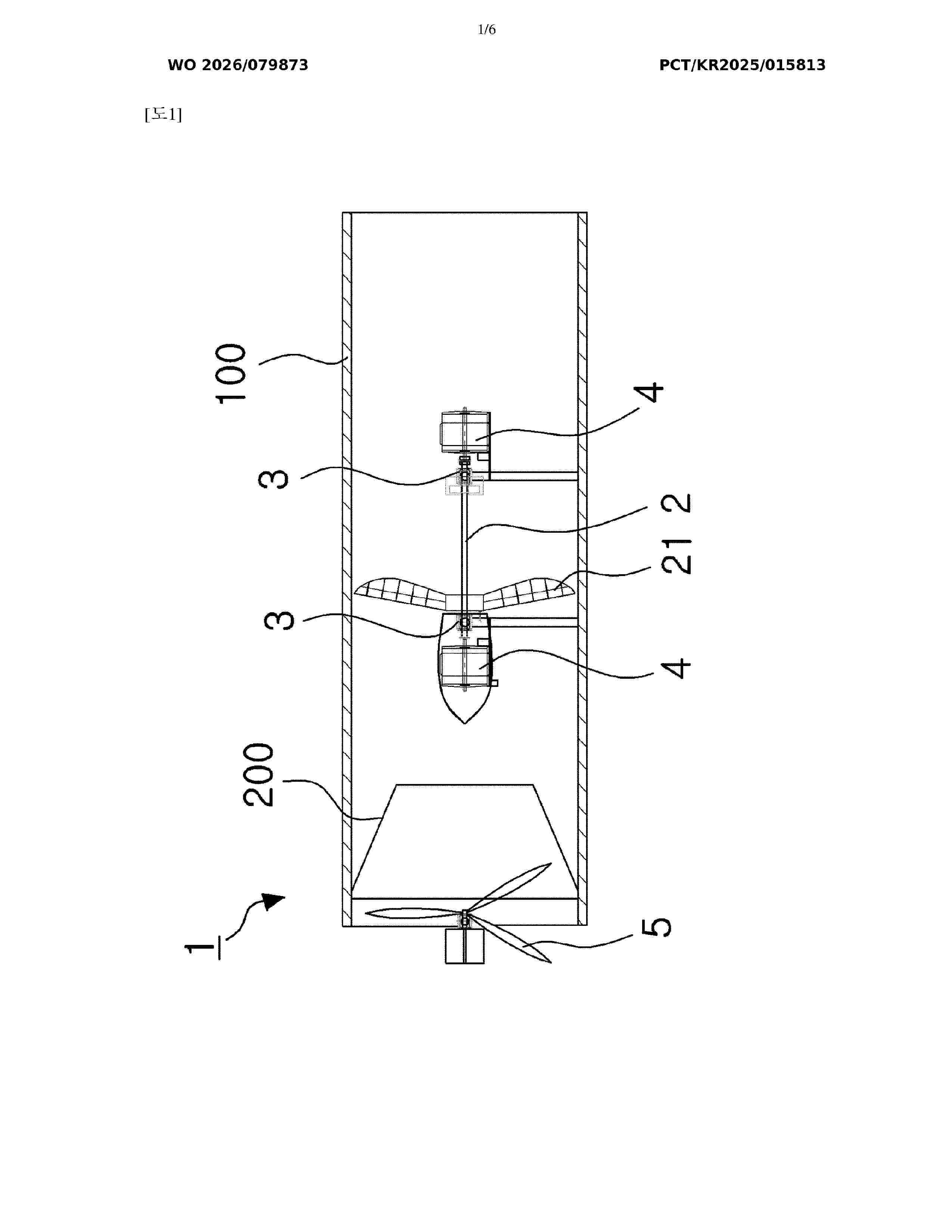
ARTIFICIAL INTELLIGENCE WIND POWER GENERATION SYSTEM AND POWER GENERATION METHOD THEREFOR

NºPublicación:  WO2026079873A1 16/04/2026
Solicitante: 
OH SUNG GU [KR]
\uC624\uC131\uADDC
WO_2026079873_A1

Resumen de: WO2026079873A1

The present invention relates to an artificial intelligence wind power generation system and a power generation method thereof, the system: steadily and continuously generating wind power (wind) for a dynamic artificial structure while generating wind power (wind) through the driving of an electric motor, and independently generating electricity by means of a generator for generating electric power on the basis of the wind power; improving usage quality by producing and supplying the power at a frequency of 60 Hz per second through a cyclo-converter to which digital control by artificial intelligence with respect to the electric motor is applied; and alleviating a reduction in a power generation rate due to irregular natural wind so as to produce the maximum electric power of the wind power generator (direct-current or alternating-current generator) and supply same to a user.

エネルギー貯蔵システム

NºPublicación:  JP2026065831A 16/04/2026
Solicitante: 
JFEエンジニアリング株式会社
JP_2026065831_A

Resumen de: JP2026065831A

0001 【課題】圧縮空気をエネルギー貯蔵媒体とするエネルギー貯蔵システムにおいて、製造やメンテナンスを含めたコストが極めて低廉なエネルギー貯蔵システムを提供する。 【解決手段】本発明に係るエネルギー貯蔵システム1は、発電設備10で得られた電力で稼動する空気圧縮機20と、海底に設置されて空気圧縮機20で得られた圧縮空気を貯留する蓄圧容器40と、蓄圧容器40内の圧縮空気によって稼動する空気膨張タービン30と、を備えたものであって、蓄圧容器40は、金属製で円筒形の胴体と、該胴体の底部に形成された開口部41を有し、開口部41が海底から離隔するように蓄圧容器40を支持する台座50を備えたことを特徴とするものである。 【選択図】 図1

アンカー、及びアンカーの設置方法

NºPublicación:  JP2026066079A 16/04/2026
Solicitante: 
五洋建設株式会社
JP_2026066079_A

Resumen de: JP2026066079A

【課題】係留ライン長の調整作業を回避し、安定した引抜き抵抗力を有するアンカーを実現する。【解決手段】アンカー(10)は、柱状の構造体(1)と、一部に係留ポイント(4)が設けられている羽板(6)とを備え、羽板(6)の基部(6a)は、柱状の構造体(1)根入れ区間に含まれ、係留ポイント(4)は、係留ポイント(4)を柱状の構造体(1)の外側面に投影した投影点が柱状の構造体(1)の突出区間及び仮想延長区間の少なくとも何れかに含まれる。【選択図】図2

FAULT EARLY WARNING METHOD AND APPARATUS FOR YAW SYSTEM OF WIND TURBINE GENERATOR UNIT

NºPublicación:  WO2026076914A1 16/04/2026
Solicitante: 
HUANENG ANHUI MENGCHENG WIND POWER GENERATION CO LTD [CN]
\u534E\u80FD\u5B89\u5FBD\u8499\u57CE\u98CE\u529B\u53D1\u7535\u6709\u9650\u8D23\u4EFB\u516C\u53F8
WO_2026076914_A1

Resumen de: WO2026076914A1

Provided are a fault early warning method and apparatus for a yaw system of a wind turbine generator unit. The method comprises: monitoring real-time data of a yaw system of a wind turbine generator unit, wherein the real-time data comprises an effective output power and an inflow wind speed, the inflow wind speed comprising an average inflow wind speed at the effective output power and an average inflow wind speed at a rated power; inputting the effective output power, the average inflow wind speed at the effective output power, and the average inflow wind speed at the rated power to a pre-constructed fault identification model, and outputting a fault identification result; and performing fault early warning on the basis of the fault identification result. By means of performing early warning by a fault identification model, the timeliness of the fault early warning is effectively ensured, enabling corresponding preventive maintenance to be performed during a fault incubation period, thereby ensuring the safety of a yaw system. Moreover, a fault early warning model is determined on the basis of multiple types of data, which further improves the accuracy of the fault early warning.

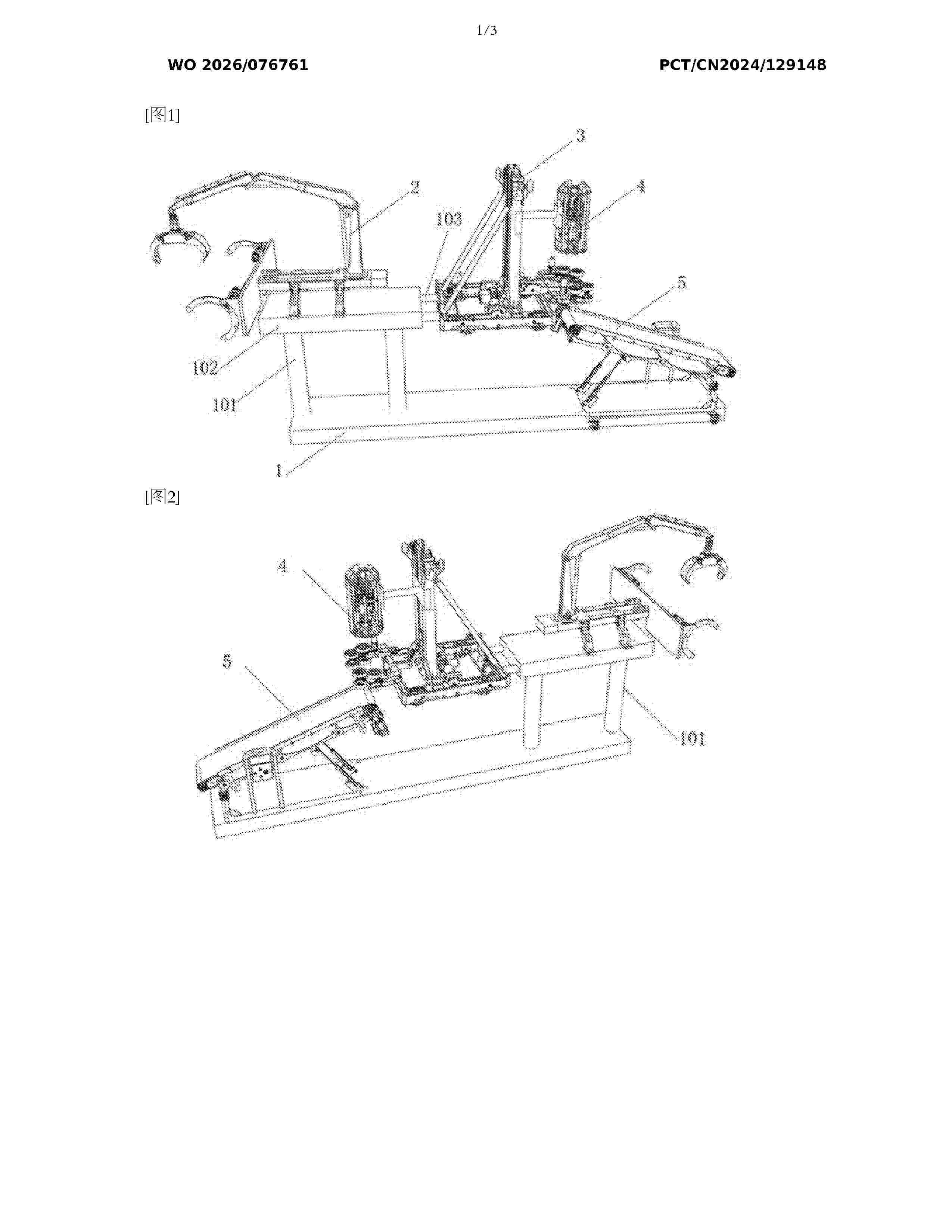
AUXILIARY APPARATUS FOR HOISTING OPERATION OF HYBRID TOWER OF WIND TURBINE

NºPublicación:  WO2026076761A1 16/04/2026
Solicitante: 
HUANENG RENEWABLES CORPORATION LTD LIAONING BRANCH [CN]
HUANENG NEW ENERGY ENG CONSTRUCTION BEIJING CO LTD [CN]
\u534E\u80FD\u65B0\u80FD\u6E90\u80A1\u4EFD\u6709\u9650\u516C\u53F8\u8FBD\u5B81\u5206\u516C\u53F8
\u534E\u80FD\u65B0\u80FD\u6E90\u5DE5\u7A0B\u5EFA\u8BBE\uFF08\u5317\u4EAC\uFF09\u6709\u9650\u516C\u53F8
WO_2026076761_A1

Resumen de: WO2026076761A1

An auxiliary apparatus for hoisting operation of hybrid tower segments of a wind turbine, comprising a fixed base (1), two first electro-hydraulic cylinders (101) being fixedly connected to the top of one end of the fixed base, and a mounting base (102) being fixedly connected to the top of the two first electro-hydraulic cylinders; a hoisting mechanism (2) is provided at the top of the mounting base, and second electro-hydraulic cylinders (103) are fixedly connected to one side of the mounting base; a positioning mechanism (3) is fixedly connected to one end of each second electro-hydraulic cylinder, and a safety lock device (4) is provided on one side of the positioning mechanism. The auxiliary apparatus facilitates hoisting of hybrid tower segments of wind turbines.

CONTROL METHOD AND SYSTEM FOR DOUBLE REHEAT UNIT TO QUICKLY RESPOND TO POWER GRID DEMANDS

NºPublicación:  WO2026077035A1 16/04/2026
Solicitante: 
CHN ENERGY JIANGSU ELECTRIC ENGINEERING TECH CO LTD [CN]
CHN ENERGY JIANGSU POWER CO LTD [CN]
CHN ENERGY SUQIAN POWER GENERATION CO LTD [CN]
\u56FD\u80FD\u6C5F\u82CF\u7535\u529B\u5DE5\u7A0B\u6280\u672F\u6709\u9650\u516C\u53F8
\u56FD\u5BB6\u80FD\u6E90\u96C6\u56E2\u6C5F\u82CF\u7535\u529B\u6709\u9650\u516C\u53F8
\u56FD\u5BB6\u80FD\u6E90\u96C6\u56E2\u5BBF\u8FC1\u53D1\u7535\u6709\u9650\u516C\u53F8
WO_2026077035_A1

Resumen de: WO2026077035A1

The present invention pertains to the field of power grid balance control, and particularly relates to a control method and system for a double reheat unit to quickly respond to power grid demands. The method comprises: acquiring boiler-side and turbine-side operation data via integrated sensors, performing preprocessing and then constructing and training a multivariable predictive control model, and acquiring boiler-side initial control parameters; second, by introducing a dynamic compensation strategy, acquiring boiler-side real-time heat flow distribution, and optimizing the boiler-side initial control parameters to ensure the accuracy of boiler-side control; third, acquiring turbine-side initial control parameters by using a turbine-side peak shaving strategy and a particle swarm algorithm; and fourth, constructing a wind and photovoltaic power output prediction model, and dynamically adjusting the output of the double reheat unit on the basis of the prediction result, and when the required output exceeds a threshold, applying pre-calculated boiler-side and turbine-side control parameters to control the unit to perform power generation, so as to ensure a quick response to power grid demands. The present invention effectively improves the response speed and operational efficiency of the double reheat unit, satisfying the requirements of rapid power grid changes.

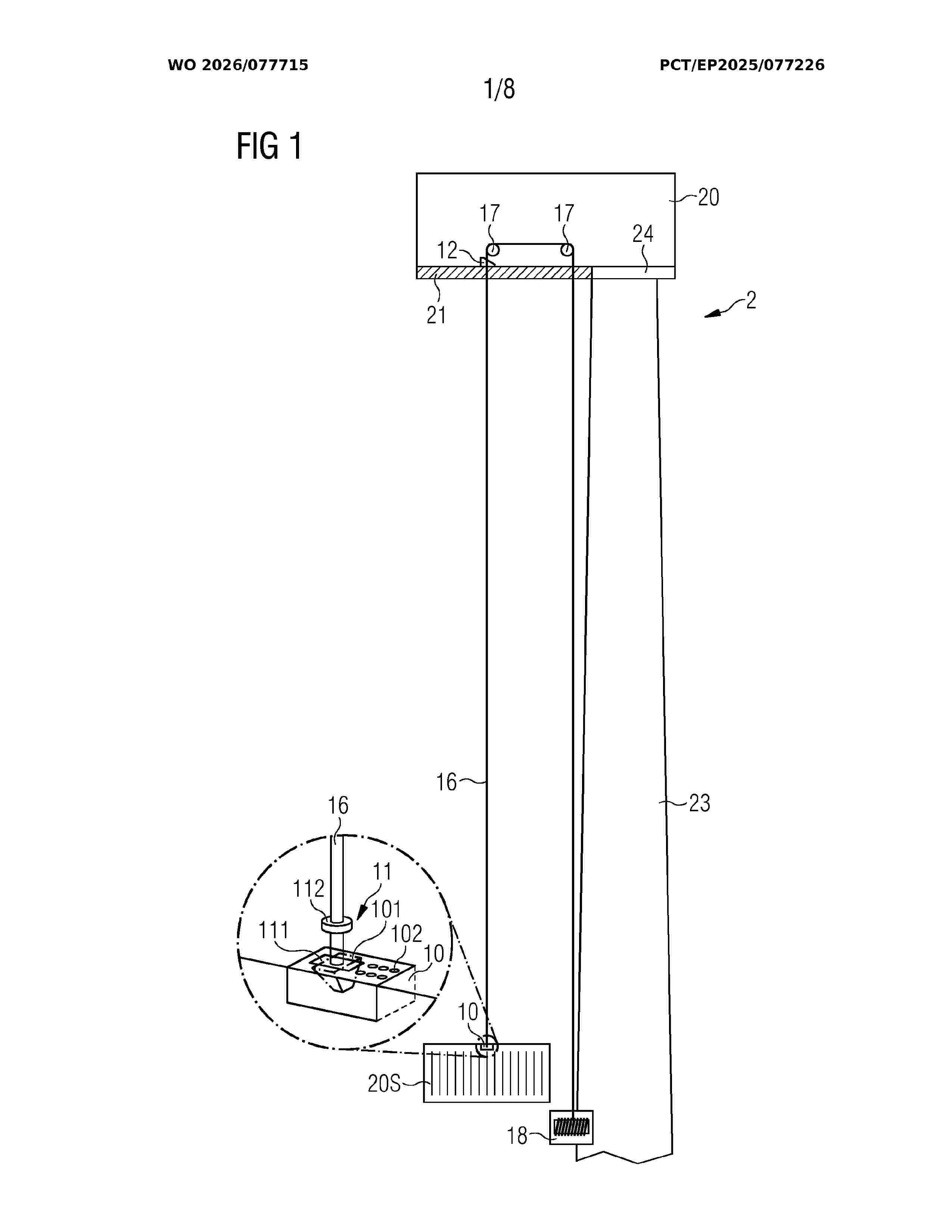
INSTALLATION ASSEMBLY

NºPublicación:  WO2026077715A1 16/04/2026
Solicitante: 
SIEMENS GAMESA RENEWABLE ENERGY INNOVATION & TECHNOLOGY SL [ES]
WO_2026077715_A1

Resumen de: WO2026077715A1

The invention describes an installation assembly (1) for use in installing a secondary nacelle structure (20S) underneath a wind turbine nacelle (20), which installation assembly (1) comprises a winch assembly comprising at least a winch cable (16) and a winch (18); a means (10, 11) of connecting the winch cable (16) to the secondary nacelle structure (20S); a bracket (12) adapted for installation at the mounting height of the secondary nacelle structure (20S); and a means (10, 102, 122, 14) of connecting the bracket (12) to the secondary nacelle structure (20S) after raising the secondary nacelle structure (20S) to its mounting height using the winch assembly (16, 18). The invention further describes a method of mounting a secondary nacelle structure (20S) underneath a wind turbine nacelle (20) using a number of such installation assemblies (1).

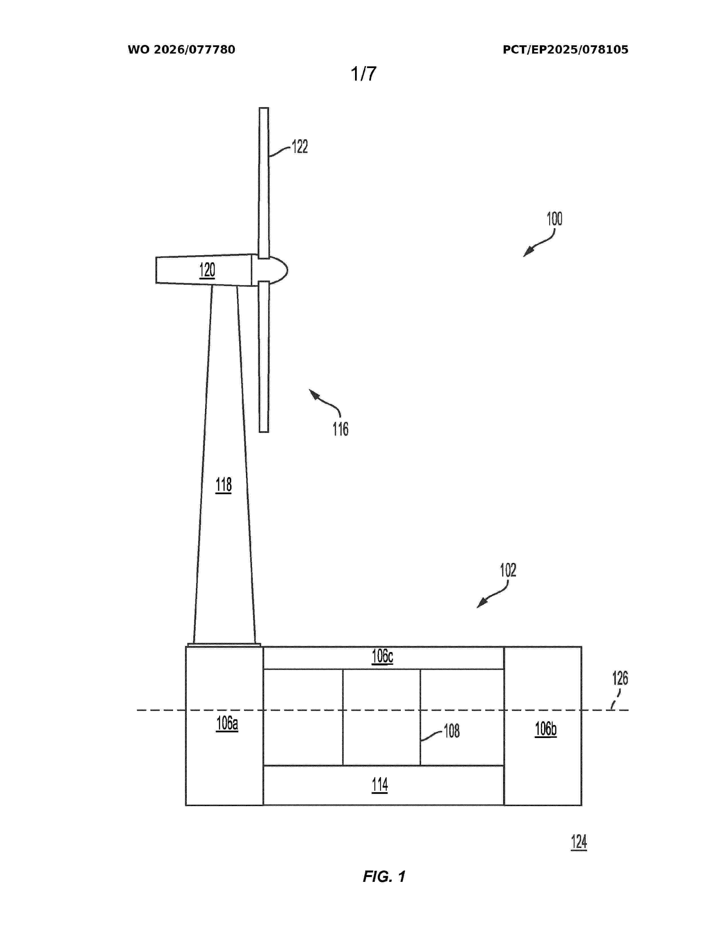
FLOATING PLATFORM STABILIZATION SYSTEM AND METHOD OF INSTALLATION

NºPublicación:  WO2026077780A1 16/04/2026
Solicitante: 
TECHNIP ENERGIES FRANCE [FR]
WO_2026077780_A1

Resumen de: WO2026077780A1

A floating platform system can be provided to facilitate mounting of and for supporting a structure on a floating platform. For example, the floating platform system can include the floating platform. The floating platform system can also include a ballast receiving volume inside the floating platform for receiving a ballasting liquid. The floating platform system can further include a mounting surface on the floating platform for mounting a structure. Additionally, the floating platform can include a downwardly-oriented stabbing guide.

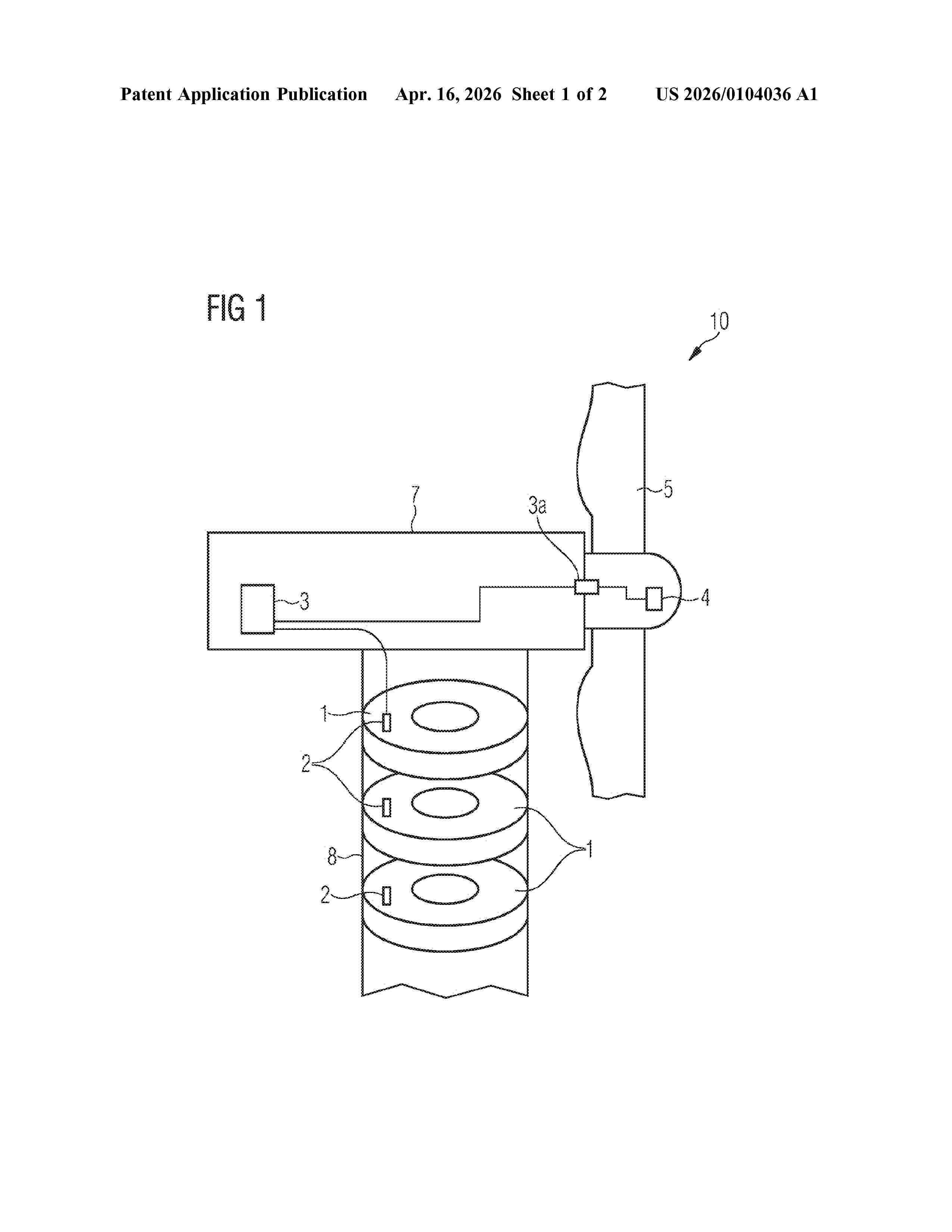
AUTOMATIC MONITORING OF A FLUID FILLED DAMPER OF A WIND TURBINE

NºPublicación:  US20260104036A1 16/04/2026
Solicitante: 
SIEMENS GAMESA RENEWABLE ENERGY AS [DK]
US_20260104036_A1

Resumen de: US20260104036A1

A method for monitoring a fluid filled damper of a wind turbine is provided. The method for monitoring a fluid filled damper of a wind turbine includes the steps of measuring a pressure value inside a fluid filled damper of the wind turbine, comparing the pressure value with a predetermined threshold value and initiating an idle state of the rotor of the wind turbine if it is detected that the threshold value has been exceeded. Further, a leak monitoring device is described. Additionally, a wind turbine is provided.

SYSTEM AND METHOD FOR REDUCING POWER CHANGES ON A DRIVETRAIN OF A POWER GENERATING ASSET DURING A GRID EVENT

NºPublicación:  US20260104031A1 16/04/2026
Solicitante: 
GENERAL ELECTRIC RENOVABLES ESPANA S L [ES]
US_20260104031_A1

Resumen de: US20260104031A1

A method for controlling a power generating asset connected to an electrical grid includes receiving, via a controller, a grid power limit associated with one or more grid events occurring in the electrical grid. During the one or more grid events, the method includes implementing, via the controller, a power softening function. The power softening function includes increasing a power command of a generator above the grid power limit to avoid large changes in power of the generator, thereby reducing a likelihood of coupling slips of the drivetrain and diverting extra power generated during the one or more grid events to an energy buffer of the power converter based on an energy buffer power command, thereby maintaining a net power generated by the power generating asset within the grid power limit.

IMPROVEMENTS RELATING TO WIND TURBINE BLADE ANTI-ICING SYSTEMS

NºPublicación:  US20260104037A1 16/04/2026
Solicitante: 
VESTAS WIND SYSTEMS AS [DK]
US_20260104037_A1

Resumen de: US20260104037A1

A wind turbine blade comprising an anti-icing system (30) comprising an electrothermal heating arrangement (35) configured to provide heat to an external surface of the blade, wherein the electrothermal heating arrangement is connected to a power supply interface (38) of the wind turbine blade by way of a power supply conductor (40) and an earth conductor (44). The blade further comprises a lightning protection system (31) having a lightning strike protection device (56) associated with an electrothermal heating element of the heating arrangement, the lightning strike protection device being connected to a lightning down conductor (50) of the lightning protection system leading to a current transfer unit (54) configured to transfer lightning current to a rotor hub, in use. A transient current limiting device (60) is connected in a conductive path (62) between the lightning down conductor of the lightning protection system and the earth conductor of the anti-icing system, thereby permitting induced parasitic currents in the lightning down conductor to earth through the anti-icing system. This provides the benefit of preventing electromagnetic emissions that can, otherwise, cause interference with electronics in the vicinity of the wind turbine. Thus, allowing the wind turbine to comply with established EMC standards.

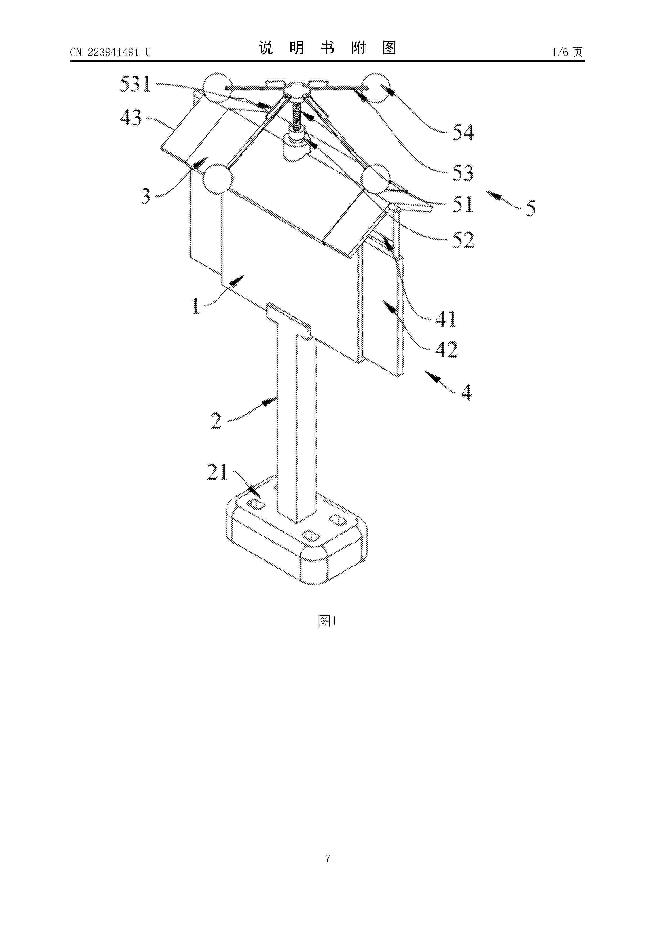
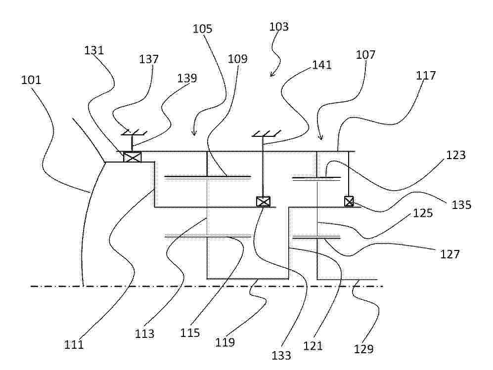
A CONNECTING SYSTEM FOR A WEATHERVANING FLOATING OFFSHORE WIND TURBINE, A FLOATING OFFSHORE WIND TURBINE SYSTEM, AND AN INTERCONNECTED SYSTEM

NºPublicación:  AU2024356626A1 16/04/2026
Solicitante: 
EXPONENTIAL RENEWABLES S L
AU_2024356626_PA

Resumen de: AU2024356626A1

A connecting system (100) for connecting a weathervaning floating offshore support structure (200) of a wind turbine (201) to a pre-laid mooring system (300), the connecting system (100) comprising: - a turret element (1) comprising: a base (2) for being solidly connected to the pre-laid mooring system (300); a support element (3) comprising a switchgear (31) connectable to one or more submarine cables (400) and connectable to receive a power generated by the wind turbine (201); a columnar body (4) extending from the base (2) to the support element (3), and comprising an inner passage (41); and a bearing system (5) configured to rotatably connect the turret element (1) to the weathervaning floating offshore support structure (200); and - a slip-ring connector (6) comprising a first connecting part (61) for receiving the power generated by the wind turbine (201), and a second connecting part (62) cable-connectable to the switchgear (31).

METHOD OF DETERMINING A TEMPERATURE OF A HEATING ELEMENT OF A WIND TURBINE BLADE

NºPublicación:  US20260104035A1 16/04/2026
Solicitante: 
LM WIND POWER AS [DK]
US_20260104035_A1

Resumen de: US20260104035A1

A method of determining a temperature of a heating element (210) of a wind turbine blade (200) includes heating the heating element by providing a heating current in the heating element. The method includes measuring a first value (I1) of the heating current at a first time. The method includes determining a first temperature (T1) of the heating element using the measured first value of the heating current and a known functional dependency (410) between the heating current in the heating element and the temperature of the heating element.

AUTOMATED TROLLEY SYSTEM FOR TIGHTENING TOWER SEGMENTS IN WIND TURBINES

NºPublicación:  US20260102858A1 16/04/2026
Solicitante: 
HYTORC DIV UNEX CORPORATION [US]
US_20260102858_A1

Resumen de: US20260102858A1

An automated trolley system for wind turbine tower segment tightening is presented. The system consists of a body with first and second portions at either end, with the first portion mounting close to bolts and driving on top of a flange while being guided by wheels, and the second portion pushing against the interior of the tower through wheels to move the body around a flange in order to automatically tighten the flange. The system includes at least one wrench socket with or without an internal pattern attached to a plate, and each wrench socket is designed to use electric or hydraulic torquing and/or tensioning to tighten each bolt that is placed on top rather than the bottom. The system comprises a winch with a balancer adapted to screwing the wrench socket with or without internal pattern.

GENERATOR ASSEMBLY

NºPublicación:  US20260106514A1 16/04/2026
Solicitante: 
PHOELENZ PTY LTD [AU]
US_20260106514_A1

Resumen de: US20260106514A1

A generator assembly (10) comprises a rotatable fan (12) with fan blades (14), and having blade magnets (16) at distal ends (11) of the fan blades (14). The assembly (10) further comprises a main tube (30) carrying a wire coil (32) and containing a movable magnet 34 therewithin. The main tube (30) has a recoil magnet (36) at a distal end (38) thereof which biases the movable magnet (34) towards the proximal end (40) of the main tube (30). The fan (12) in use is rotated by wind/airflow/fluid flow which causes the blade magnets (16) to interact with the movable magnet (34) causing the movable magnet (34) into a reciprocating motion within the main tube 30 through the wire coil (32), thus generating an electric current in the wire coil (32).

CONCRETE SEGMENT OF A SECTION OF A WIND TURBINE TOWER, MOULD CONFIGURED TO CAST A CONCRETE SEGMENT AND METHOD OF ASSEMBLING A WIND TURBINE

NºPublicación:  US20260104032A1 16/04/2026
Solicitante: 
NORDEX ENERGY SPAIN SAU [ES]
US_20260104032_A1

Resumen de: US20260104032A1

0000 The object of the invention is a concrete segment of a section of a wind turbine tower which minimizes the undesirable local effects in the connection area between adjacent concrete sections, a section comprising at least two concrete segments, a set comprising two adjacent sections and a joint disposed between the two adjacent sections, a tower comprising at least one set, a mould configured to cast a concrete segment and a method of assembling a wind turbine.

SUPPORT STRUCTURE FOR WIND BLADES

Nº publicación: AU2024356332A1 16/04/2026

Solicitante:

REWIND TURBINE S R L

AU_2024356332_PA

Resumen de: AU2024356332A1

Support structure (1) for wind blades (2), each wind blade (2) being associable to a rotor (3) and having a pressure side (4) and a suction side (5) defining a leading edge (6), a trailing edge (7), a back (8) and a belly (9), said support structure (1) comprising: a casing (10) insertable into a wing cavity (11) defined between the pressure side (4) and the suction side (5), said casing (10) extending along a direction of extension (X-X) between a first base (13) couplable to the rotor (3) and a second base (14) opposed thereto and having a side wall (15) connected to the first base (13) and to the second base (14) and configured for coupling to the pressure side (4) and to the suction side (5), said side wall (15) having a front portion (16) facing the leading edge (6) and a rear portion (17) opposed thereto and facing the trailing edge (7), an upper surface (18) facing the back (8) and a lower surface (19) facing the belly (9); said casing (10) has a cavity (20) which is pressurizable and defined among the side wall (15), the first base (13) and the second base (14), said casing (10) being configured for reversibly switching between a rest configuration and an operating configuration wherein said casing (10) is configured for preloading the upper surface (18) and the lower surface (19) by varying the pressure inside the cavity (20), said casing (10) maintaining substantially the same predefined shape while switching between the rest configuration and the operating configur

traducir