Ministerio de Industria, Turismo y Comercio LogoMinisterior
 

Alerta

Resultados 371 resultados
LastUpdate Última actualización 04/03/2026 [07:20:00]
pdfxls
Solicitudes publicadas en los últimos 15 días / Applications published in the last 15 days
previousPage Resultados 150 a 175 de 371 nextPage  

MEASUREMENT METHOD FOR BENDING MOMENT LOAD OF WIND TURBINE BLADE

NºPublicación:  WO2026040168A1 26/02/2026
Solicitante: 
SHANGHAI BAIANTEK SENSING TECH CO LTD [CN]
\u4E0A\u6D77\u62DC\u5B89\u4F20\u611F\u6280\u672F\u6709\u9650\u516C\u53F8
WO_2026040168_PA

Resumen de: WO2026040168A1

A measurement method for the bending moment load of a wind turbine blade, the method comprising: first acquiring a transformation matrix from a nacelle coordinate system to a blade coordinate system; under four different working conditions, converting, on the basis of the transformation matrix, bending moment loads generated by the self-weight of a target blade in the nacelle coordinate system to bending moment loads Mj in the blade coordinate system, and using the Mj under the four different working conditions to construct a bending moment load matrix M; obtaining a characteristic wavelength matrix Λi of each optical fiber load sensor under the four different working conditions; on the basis of the bending moment load matrix M and the characteristic wavelength matrix Λi, calculating a calibration coefficient matrix of the target blade; and acquiring real-time measurement data from the optical fiber load sensors, and, on the basis of the calibration coefficient matrix of the target blade, calculating a real-time bending moment load of the target blade. The method can accurately calculate the bending moment load of a blade, so as to provide accurate measurement data for blade operating state monitoring and wind turbine control, thereby ensuring the operating safety and reliability of wind turbines.

THERMAL MANAGEMENT SYSTEM FOR A WIND TURBINE

NºPublicación:  EP4698776A1 25/02/2026
Solicitante: 
GE VERNOVA INFRASTRUCTURE TECH LLC [US]
GE Vernova Infrastructure Technology LLC
CN_121039392_PA

Resumen de: CN121039392A

A thermal management system for a wind turbine includes at least one access door disposed adjacent to one or more components of the wind turbine that require cooling. The access door has at least one opening. The thermal management system also includes a filter device disposed in the at least one opening. The filtering device includes at least one filter disposed in the at least one opening, at least one shutter disposed adjacent to and outside the at least one filter, and at least one filter cover disposed adjacent to and outside the at least one shutter. In this regard, the filter cover passively directs airflow through the open side of the filter cover to optimize cooling of the one or more components and reduce dust particles from entering the wind turbine.

ICE FALL PROTECTION SYSTEM OF AT LEAST ONE MOVING OBJECTS MONITORING DEVICE AND/OR AT LEAST ONE MOVING OBJECTS COLLISION PREVENTION DEVICE INSTALLED ON THE TOWER OF A WIND TURBINE

NºPublicación:  EP4698775A1 25/02/2026
Solicitante: 
ORFANOS VASILEIOS [GR]
Orfanos, Vasileios
JP_2026503646_PA

Resumen de: WO2024157036A1

An ice fall protection system for at least one moving objects monitoring device and/or at least one moving objects collision prevention device installed on the tower of a wind turbine, wherein said system comprises: a mounting base (1) adapted to be fastened to the tower and comprising a flat surface (A) in a quadrilateral shape and at least one pair of opposite walls (2, 2'), at least one cover (10) comprising an ice repulsion surface (B) adapted to be installed on the tower to cover said devices and protect them from ice fall, wherein the mounting base (1) and the cover (10) are adapted to be removably connected to each other such that a removable installation of the cover (10) on the tower is achieved, with the repulsion surface (B) to present an inclination with respect to the surface of the tower, thereby repulsing the ice striking onto it.

WIND BLADE COMPONENT BONDING FIXTURE

NºPublicación:  EP4699789A2 25/02/2026
Solicitante: 
TPI COMPOSITES INC [US]
TPI Composites, Inc
EP_4699789_PA

Resumen de: EP4699789A2

The disclosed subject matter provides a system and method for facilitating bonding of various turbine blade components, including trailing edge inserts, or flatbacks, to the trailing edge of a wind turbine blade. The system disclosed herein ensures a consistent force is applied from root to top thereby preventing defects, e.g. paste voids, from forming. Additionally, a consistent bonding gap can be achieved due to the consistent application of force from the root to tip of the blade.

IMAGING ARRAY FOR BIRD OR BAT DETECTION AND IDENTIFICATION

NºPublicación:  EP4699441A2 25/02/2026
Solicitante: 
IDENTIFLIGHT INT LLC [US]
IdentiFlight International, LLC
EP_4699441_PA

Resumen de: EP4699441A2

An automated system for mitigating risk from a wind farm. The automated system may include an array of a plurality of image capturing devices independently mounted in a wind farm. The array may include a plurality of low resolution cameras and at least one high resolution camera. The plurality of low resolution cameras may be interconnected and may detect a spherical field surrounding the wind farm. A server is in communication with the array of image capturing devices. The server may automatically analyze images to classify an airborne object captured by the array of image capturing devices in response to receiving the images.

PERMANENT MAGNET GENERATOR

NºPublicación:  EP4701052A1 25/02/2026
Solicitante: 
ENVISION ENERGY CO LTD [CN]
Envision Energy Co., Ltd
EP_4701052_PA

Resumen de: EP4701052A1

The present invention relates to a permanent magnet generator, comprising: a base (1); a stator (2) having an internal ventilation duct, wherein the outer circumference of a pressing ring of the stator (2) is in interference fit with the base (1) by means of shrink-fitting, thus creating a circumferential air duct between the base (1) and the outer circumference of a core of the stator (2); a rotor located inside the stator (2), the rotor being provided with a rotor magnetic pole (4) having a finned ventilation duct; and coolers (6) arranged at the top of the base (1). Compared with the prior art, the design of the present invention uses a novel air-water cooling method in which cooling water circulates outside of the generator, and air circulates inside the generator; the pressure head for circulation inside the generator is provided by means of the rotation of the rotor having the finned ventilation duct, while a top drive fan at the top of each cooler further provides kinetic energy for an internal circulation air path.

LEVELLING SYSTEM OF A PLATE CONFIGURED TO BE DISPOSED OVER A CONCRETE SECTION OF A WIND TURBINE TOWER AND METHOD OF LEVELLING A PLATE

NºPublicación:  EP4700192A1 25/02/2026
Solicitante: 
NORDEX ENERGY SPAIN SAU [ES]
Nordex Energy Spain, S.A.U
EP_4700192_PA

Resumen de: EP4700192A1

Levelling system for wind turbine towers, the towers consisting of stacked sections, the system comprising a plate (1) configured to be disposed over a concrete section (50) of the wind turbine tower (100), the plate (1) having levelling means (21) configured to level the plate (1) in horizontal position over an upper surface (13) of the tower section positioned below the levelling system.

STATOR SEGMENT, ELECTRICAL MACHINE AND WIND TURBINE

NºPublicación:  EP4701045A1 25/02/2026
Solicitante: 
SIEMENS GAMESA RENEWABLE ENERGY AS [DK]
Siemens Gamesa Renewable Energy A/S
EP_4701045_PA

Resumen de: EP4701045A1

It is described a Stator segment (101a,b,c) for an electrical machine (100), in particular permanent magnet synchronous electrical generator, comprising: a core ring portion (106a,b,c) extending in a circumferential direction (cd) forming less than a whole circumference; plural first teeth (107a,b,c) extending radially from the ring portion (106a,b,c); two second teeth (108a,b,c) extending radially from the ring portion (106a,b,c) and being arranged at two circumferential ends of the ring portion; wherein between each of two adjacent first teeth (107a,b,c) a first slot (109a,b,c) is formed, wherein between each of the second teeth (108a,b,c) and an adjacent first tooth (107a,b,c) a second slot (110a,b,c) is formed,the stator segment further comprising: a multiple phase winding set (105A,B,C) wound according to a concentrated winding topology.

OPERATING A FLOATING WIND TURBINE

NºPublicación:  EP4700235A1 25/02/2026
Solicitante: 
SIEMENS GAMESA RENEWABLE ENERGY AS [DK]
Siemens Gamesa Renewable Energy A/S
EP_4700235_PA

Resumen de: EP4700235A1

A method of operating a floating wind turbine (1), FWT, is provided. The floating wind turbine (1) is exposed to waves during operation, the waves causing a wave induced motion of the floating wind turbine (1). The floating wind turbine (1) is configured to operate a protective function. The method comprises obtaining, during operation of the floating wind turbine (1), monitored wave data (70) indicative of a wave height of the waves the floating wind turbine (1) is exposed to during operation. It further comprises processing the monitored wave data (70) to obtain processed wave data, wherein the processing comprises at least a processing by descriptive statistical analysis, comparing the processed wave data to a threshold (140) that corresponds to a predetermined sea state and activating the protective function upon detecting that the processed wave data reaches or exceeds the threshold (140).

A METHOD FOR TESTING A FUNCTIONALITY OF A SYSTEM OF A WIND TURBINE, A CONTROLLER AND A DRIVE SYSTEM

NºPublicación:  EP4700236A1 25/02/2026
Solicitante: 
NORDEX ENERGY SE & CO KG [DE]
Nordex Energy SE & Co. KG
EP_4700236_PA

Resumen de: EP4700236A1

A method for testing a functionality of a system (200) of a wind turbine (100), in particular a drive system of a wind turbine, the system (200) is provided. The system comprises an electro-mechanical actuator (250), an energy storage unit (240), and an energy dissipating element (260) connectable to the energy storage unit (240) for selectively transferring energy from the energy storage unit (240) to the energy dissipating element (260). The method comprises: providing first information (11) which is representative of an operating mode of the system (200), and, if the operating mode is a test mode: causing a discharging of energy from the energy storage unit (240) and a supply of at least a portion of the discharged energy to the energy dissipating element (260); receiving measurements (M1, M2, M3, M4) being representative of a state of at least one of the energy storage unit (240) and the energy dissipating element (260) during the discharging and the supply; and determining a functionality of at least one of the energy storage unit (240) and the energy dissipating element (260) based on the measurements (M1, M2, M3, M4). Further aspects relate to a controller (210, 218) configured to execute the method and to a drive system.

METHOD FOR CONTROLLING A WIND FARM

NºPublicación:  EP4701026A1 25/02/2026
Solicitante: 
WOBBEN PROPERTIES GMBH [DE]
Wobben Properties GmbH
EP_4701026_PA

Resumen de: EP4701026A1

Verfahren zum Steuern eines mehrere Windenergieanlagen aufweisenden Windparks, wobei der Windpark zum Einspeisen elektrischer Leistung über einen Netzanschlusspunkt an ein eine Netzspannung mit einer Netzfrequenz aufweisendes elektrisches Versorgungsnetz angeschlossen ist, wobei der Windpark wahlweise in einem Normalbetriebsmodus oder einem von mehreren Auswahlbetriebsmodi betrieben wird, und der Normalbetriebsmodus und jeder der Auswahlbetriebsmodi jeweils einen Einspeisebetriebsmodus bilden, der festlegt, unter welchen Bedingungen der Windpark in das elektrische Versorgungsnetz einspeist, oder zum Einspeisen vorgehalten wird, und wobei ein Auswahlbetriebsmodus in Abhängigkeit von einem Auswahlsignal ausgewählt wird, wobei das Auswahlsignal eine Information enthält, welcher der Auswahlmodi auszuwählen ist, und der Windpark in dem Normalbetriebsmodus betrieben wird, wenn kein Auswahlsignal vorliegt, das zur Auswahl eines Auswahlbetriebsmodus führt.

METHOD OF BALANCING ROTOR BLADE SEGMENTS FOR A SET OF WIND TURBINE ROTOR BLADES

NºPublicación:  EP4700233A1 25/02/2026
Solicitante: 
NORDEX ENERGY SE & CO KG [DE]
Nordex Energy SE & Co. KG
EP_4700233_PA

Resumen de: EP4700233A1

The invention concerns a method of balancing rotor blade segments (132, 134) for a set of wind turbine rotor blades (110), the method comprising the steps:- providing a set of rotor blade segments (132, 134), the set of rotor blade segments (132, 134) comprising first rotor blade segments (132) and second rotor blade segments (134),- balancing the first rotor blade segments (132) comprising the sub-steps:-- determining a mass moment of each of the first rotor blade segments (132),-- determining a first rotor blade segment (132) having the highest mass moment amongst the first rotor blade segments (132),-- adding balancing ballast (138) to each of the remaining first rotor blade segments (132) such that each of the remaining first rotor blade segments (132) has a mass moment equal to the highest mass moment,- connecting each first rotor blade segment (132) to a second rotor blade segment (134) to form the set of wind turbine rotor blades (110).

WIND TURBINE, CONTROL SYSTEM AND METHOD FOR OPERATING A WIND TURBINE DURING IDLING

NºPublicación:  EP4700234A1 25/02/2026
Solicitante: 
SIEMENS GAMESA RENEWABLE ENERGY AS [DK]
Siemens Gamesa Renewable Energy A/S
EP_4700234_PA

Resumen de: EP4700234A1

A wind turbine, control system and method for operating a wind turbine during idling, the method comprising establishing two or more idling modes, the two or more idling modes including a first idling mode and a second idling mode, wherein the second idling mode comprises operating a wind rotor of the wind turbine at a higher rotational velocity than the first idling mode, determining an idling mode from the two or more idling modes, based at least in part on one or more fixed preference parameters and/or a measured parameter, the determination being related to an aerodynamic damping criterion and to an off-grid power generation requirement criterion, and selecting the idling mode resulting from the determination, when at least one of the criterions is fulfilled, and operating the wind turbine in said idling mode.

VERTICAL ROTOR TURBINE AND ITS PRODUCTION METHOD

NºPublicación:  EP4698774A1 25/02/2026
Solicitante: 
THUNDER TRICK SOC DE ENERGIA RENOVAVEL LDA [PT]
Thunder Trick - Sociedade de Energia Renov\u00E1vel, Lda
WO_2024218746_PA

Resumen de: WO2024218746A1

The present description concerns a production method and a vertical rotor turbine comprising at least one turbine blade comprising a central body with two blade ends, wherein the two blade ends define between them an axis of the blade, wherein the vertical rotor turbine blade comprises at least one wing connected to one of the blade ends, wherein said wing protrudes directly from the central body of the blade in a direction towards the inside and/or outside of the rotor, said wing comprising, longitudinally, a plurality of aerodynamic profiles, wherein said wing has a free end.

SYSTEM FORMING AN ANCHOR POINT FOR OFFSHORE WIND TURBINE FLOATS AND INSTALLATION METHOD

NºPublicación:  EP4698427A1 25/02/2026
Solicitante: 
SAIPEM SA [FR]
SAIPEM S.A
KR_20250165410_PA

Resumen de: CN120916941A

The invention relates to a system (2) for forming an anchor point for an offshore wind turbine float, comprising at least one enclosure (6) having an open bottom (8) and an open top (10), the enclosure being at least partially filled with a solid particulate material (12) capable of withstanding shear forces with a seabed (4) on which the enclosure is intended to sit, the enclosure further comprises at least one mooring lug (14) for securing a mooring line (16) of the float.

WIND TURBINE LUBRICATION SYSTEM

NºPublicación:  EP4698759A1 25/02/2026
Solicitante: 
VESTAS WIND SYS AS [DK]
VESTAS WIND SYSTEMS A/S
CN_120958221_PA

Resumen de: CN120958221A

A wind turbine lubrication system (10) is described. The system (10) comprises a lubricant reservoir (12), a pump (16) for circulating lubricant from the lubricant reservoir (12) to a driveline component (14) of the wind turbine and back to the lubricant reservoir (12). A filter assembly (18) is connected between the lubricant reservoir (12) and the driveline assembly (14). A bypass passage (30) provides a fluid connection between the filter assembly (18) and the lubricant reservoir (12) bypassing the driveline assembly (14). The fluid control device (20) is operable to select between a lubrication circuit and a cleaning circuit. The lubrication circuit includes a lubricant reservoir (12), a filter assembly (18), and a driveline assembly (14). The cleaning circuit does not include a driveline assembly (14) and includes a lubricant reservoir (12), a filter assembly (18), and a bypass passage (30). A method of maintaining a lubrication system (10) includes operating a fluid control device (20) to select a cleaning circuit. The lubricant is then circulated within the cleaning circuit during the cleaning cycle to remove contaminants from the lubricant.

ROTOR FOR A FLUID ENERGY MACHINE, ROTOR ASSEMBLY FOR A FLUID ENERGY MACHINE, AND CORRESPONDING FLUID ENERGY MACHINE AND METHOD FOR OPERATING A FLUID ENERGY MACHINE OF THIS TYPE

NºPublicación:  EP4698773A1 25/02/2026
Solicitante: 
KMTC VORTIFER TECH GMBH [DE]
KMTC Vortifer Technologies GmbH
CN_121241197_PA

Resumen de: WO2024218263A1

The invention relates to a rotor (1) for a fluid energy machine (13), comprising: a rotor hub (3) which can be rotated about a rotor rotational axis (4); and a plurality of rotor blades (2) which run from the rotor hub (3) and extend outward in the radial direction with respect to the rotor rotational axis (4). According to the invention, each of the rotor blades (2) has an aerodynamic rotor blade profile (5), and a chord angle between a chord (8) of the rotor blade profile (5) and an imaginary plane which contains the rotor rotational axis (4) or is perpendicular to the rotor rotational axis changes in the radial direction from the inside out such that the rotor blade (2), seen in the radial direction with respect to the rotor rotational axis (4), has rotor blade regions (11, 12) which are provided and designed for opposite axial flow directions. The invention also relates to a rotor assembly (14) for a fluid energy machine (13), to a fluid energy machine (13), and to a method for operating a fluid energy machine (13).

A METHOD FOR PRODUCING GREEN HYDROGEN BY ELECTROLYSIS IN A HYBRID POWER PLANT

NºPublicación:  EP4699201A1 25/02/2026
Solicitante: 
CWP H1 ENERGY PTE LTD [SG]
SCHUMACHER GUIDO [DE]
CWP H1 Energy Pte Ltd,
Schumacher, Guido
DE_102023109764_PA

Resumen de: WO2024217840A1

A method for producing green hydrogen by electrolysis in a hybrid power plant (10), which comprises at least: - a wind turbine (11 ) with a rotor (11.1), a drive-train and a generator; multiple photovoltaic modules (12), - an electrolysis unit (15) for producing hydrogen by electrical power generated by the wind turbine (11) and/or the photovoltaic modules (12), an internal electrical power grid interconnecting the generator, the photovoltaic modules (12) and the electrolysis unit (15) within the power plant (10) and - a control unit (16); wherein a) electrical energy is generated by using the photovoltaic modules (12) and/or wind turbines (11 ); b) cloud coverage and/or solar radiation is measured by at least one weather sensor (14) which is located in a windward position remote of the power plant (10) and which is connected to the control unit (16) via a data link; According to a first aspect of the invention the wind turbine (11) is used as kinetic energy storage and according to another aspect of the invention the wind turbine (11) is used as an energy absorber by increasing inertia of the rotor (11.1).

Floating platform

NºPublicación:  GB2643634A 25/02/2026
Solicitante: 
GAZELLE WIND POWER LTD [IE]
Gazelle Wind Power Limited
GB_2643634_PA

Resumen de: GB2643634A

The invention relates to a floating platform (1) comprising a pedestal frame (100) configured to function as a support for a structure, wherein the pedestal frame (100) is attached to a base plate (200) by means of a plurality of pillars (300) such that, during operation, the pedestal frame (100) is supported by the base plate (200) via the pillars (300), wherein the floating platform (1) comprises a plurality of immersion floats (400) projecting from the base plate (200) to an intermediate distance between the base plate (200) and the maximum height of the pillars (300) above the base plate (200). It also includes a geometry that allows the platform to be manufactured exclusively with flat panels.

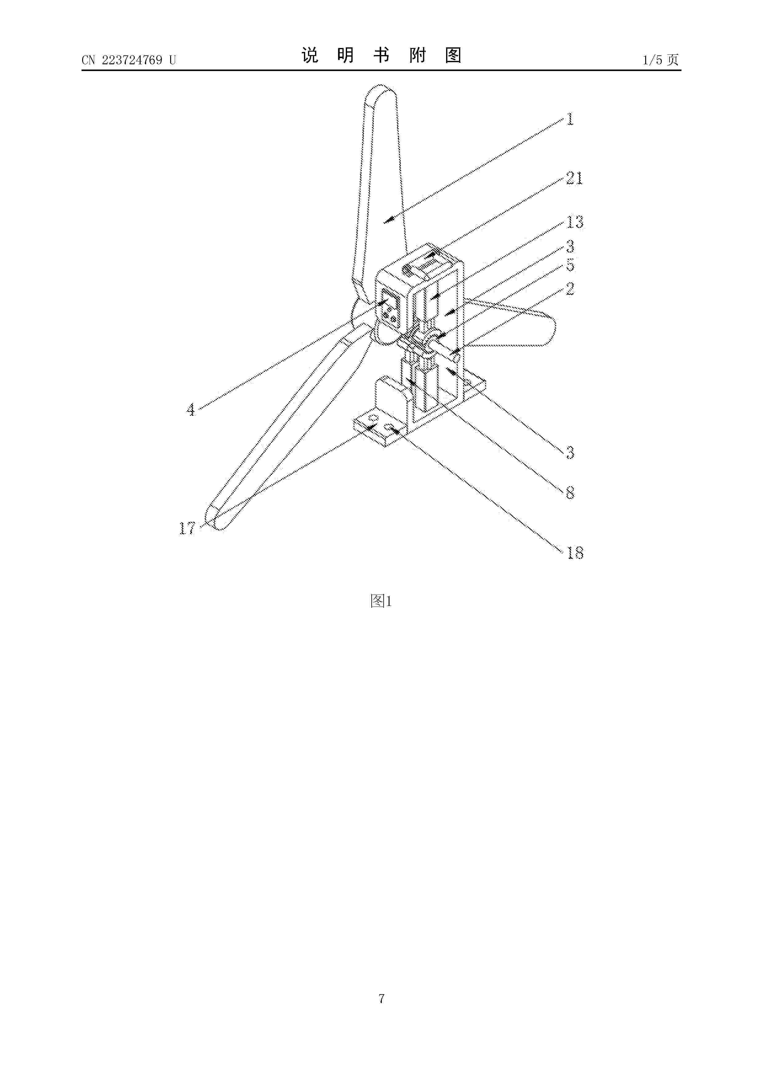
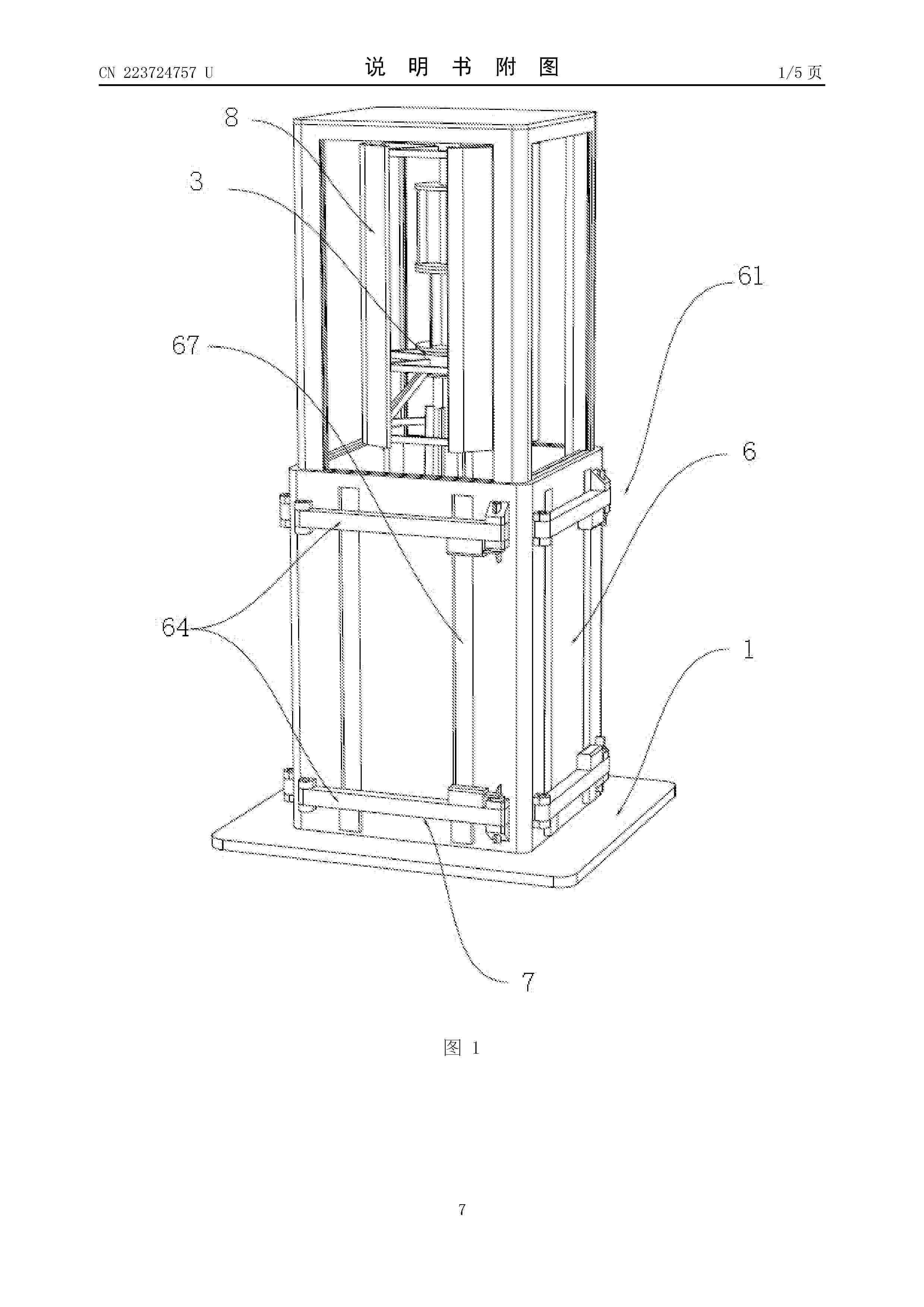
可调节支撑的风力发电装置维护设备

NºPublicación:  CN223938186U 24/02/2026
Solicitante: 
大唐康保新能源有限公司
CN_223938186_U

Resumen de: CN223938186U

本实用新型涉及风力发电装置维护设备领域,尤其涉及可调节支撑的风力发电装置维护设备,包括维护工作台,维护工作台包括有第一工作台和第二工作台,第一工作台和第二工作台顶面的中心位置均设有位移座,位移座的前端旋转连接有夹持板,位移座和夹持板的相交处分别设有第一齿轮和第二齿轮,第一齿轮和第二齿轮相互啮合,第一齿轮的一侧位于位移座的外端面设有第二旋钮,第一工作台和第二工作台顶面的相交处分别设有支撑定位架和插销机构;本实用新型通过传动齿轮使得第一工作台和第二工作台在支撑架的内侧进行旋转收纳,而当第一工作台和第二工作台持平时,通过插销机构对第一工作台和第二工作台进行支撑固定。

一种风电塔筒外爬梯踏步定位装置

NºPublicación:  CN223937700U 24/02/2026
Solicitante: 
河北云蛟电气设备制造有限公司
CN_223937700_U

Resumen de: CN223937700U

本实用新型公开了一种风电塔筒外爬梯踏步定位装置,涉及风电塔筒外爬梯技术领域,包括两个平行设置的支撑板,两个所述支撑板之间设有若干个可拆卸连接的踏步,所述踏步包括一体式连接的水平板和竖直板,所述水平板远离所述竖直板的一侧面上设有对称设置的磁性金属插柱,所述竖直板上设有与所述磁性金属插柱结构相适配的插孔,所述插孔内设有磁吸扣,所述水平板的两端面上均设有凸块,两个所述支撑板相对的侧面上均设有凹槽,所述凹槽与所述凸块一一对应设置。本实用新型采用上述结构的一种风电塔筒外爬梯踏步定位装置,在保证方便对踏步进行运输的前提下,能够实现外爬梯踏步与支撑板的快速固定,提高了风电塔筒外爬梯的安装效率。

风力发电机组

NºPublicación:  CN223938178U 24/02/2026
Solicitante: 
华能吉林新能源开发有限公司华能吉林新能源开发有限公司通榆分公司
CN_223938178_U

Resumen de: CN223938178U

本实用新型公开了一种风力发电机组,涉及风力发电技术领域,其中,风力发电机组包括塔筒、机舱、控制组件、轮毂和多个叶片,塔筒的顶部设置有偏航装置,偏航装置与机舱连接,机舱内设置有发电装置,控制组件与偏航装置信号连接,控制组件用于监测当前环境,并使偏航装置驱动机舱绕塔筒的中心轴旋转,轮毂与发电装置的输入轴传动连接,多个叶片均与轮毂连接,且多个叶片绕轮毂的中心呈圆周设置,每一叶片背离塔筒的一侧上均设置有太阳能电池。通过在风力发电机的叶片上设置太阳能电池实现太阳能发电,并且通过控制组件识别当前环境自动选择发电效率更高的一种发电方式进行发电,确保无论是哪种环境都能有较高的发电效率。

无风速传感器小型风力发电机离网系统控制方法及装置

NºPublicación:  CN121557039A 24/02/2026
Solicitante: 
浙江大学绍兴研究院杭州国昶新能源有限公司
CN_121557039_PA

Resumen de: CN121557039A

本申请提供一种无风速传感器小型风力发电机离网系统控制方法、装置、设备及介质,属于发电机离网系统控制领域。通过建立风力发电机叶片物理模型,结合风场类型,风机物理模型与风场安装角度,建立了风力发电机叶片捕获机械能模型。能够拟合不同型号风力发电机在各风速下捕获机械能的最大值对应的最佳转速曲线,提高了系统运用不同类型风机时刻的转速‑功率曲线的准确性。将仿真数据与电机硬件实测数据的双向验证与融合,提高了数据的准确性和整个系统的精度。以叶片空气动力学仿真得到的最佳转速曲线为基础,结合实测+仿真的电压‑电流曲线,实现从叶片机械能捕获到电机输出的全链路参数匹配。

风机叶片的防雷测试系统和防雷测试方法

NºPublicación:  CN121557063A 24/02/2026
Solicitante: 
国网湖南省电力有限公司湖南防灾科技有限公司国网湖南省电力有限公司防灾减灾中心国家电网有限公司
CN_121557063_PA

Resumen de: CN121557063A

本发明属于风电防灾技术领域,具体地涉及一种风机叶片的防雷测试系统和防雷测试方法,风机叶片的防雷测试系统包括:风机缩比模型,按照风机的尺寸进行等比缩小,风机缩比模型包括机架以及设于机架上的多个叶片;接闪器装置,可拆卸安装于叶片上,接闪器装置用于接收模拟雷击;雷击模拟模块,设置于多个叶片的上方,雷击模拟模块用于对叶片施加感应雷信号,以模拟雷击现象;防雷测试模块,安装于叶片上,防雷测试模块用于检测叶片接地回路的暂态电压和暂态电流;控制单元,用于根据雷击测试模块和接闪器装置的检测结果确定接闪器装置的防雷性能。采用上述的风机叶片的防雷测试系统能够对风机雷击环境进行模拟,以对接闪器装置进行调试和验证。

滑环室通风控制方法、系统、海上双馈发电机及存储介质

Nº publicación: CN121557066A 24/02/2026

Solicitante:

运达能源科技集团股份有限公司

CN_121557066_PA

Resumen de: CN121557066A

本发明公开了滑环室通风控制方法、系统、海上双馈发电机及存储介质,涉及风力发电技术领域,滑环室通风控制方法,适用于海上双馈发电机的滑环室通风控制系统,滑环室通风控制系统包括滑环室、与滑环室的进风口连通的送风管道,送风管道内沿气体流动方向依次设有机组滤棉和冷却风扇,滑环室通风控制方法包括:获取滑环室内的温度值和气体流经机组滤棉前后的压差值;判断出温度值大于滑环室的阈值温度和/或压差值超出预设压差范围时触发机组停机指令;若否,则触发机组持续运行指令;根据机组停机指令或机组持续运行指令控制冷却风扇停机或运行。在通过气体将电滑环工作产生的大量热量导出的同时减少气体对滑环室内的部件的腐蚀问题。

traducir