Ministerio de Industria, Turismo y Comercio LogoMinisterior
 

Alerta

Resultados 371 resultados
LastUpdate Última actualización 04/03/2026 [07:20:00]
pdfxls
Solicitudes publicadas en los últimos 15 días / Applications published in the last 15 days
previousPage Resultados 125 a 150 de 371 nextPage  

OPERATING A FLOATING WIND TURBINE

NºPublicación:  WO2026041307A1 26/02/2026
Solicitante: 
SIEMENS GAMESA RENEWABLE ENERGY AS [DK]
SIEMENS GAMESA RENEWABLE ENERGY A/S
WO_2026041307_PA

Resumen de: WO2026041307A1

A method of operating a floating wind turbine (1), FWT, is provided. The floating wind turbine (1) is exposed to waves during operation, the waves causing a wave induced motion of the floating wind turbine (1). The floating wind turbine (1) is configured to operate a protective function. The method comprises obtaining, during operation of the floating wind turbine (1), monitored wave data (70) indicative of a wave height of the waves the floating wind turbine (1) is exposed to during operation. It further comprises processing the monitored wave data (70) to obtain processed wave data, wherein the processing comprises at least a processing by descriptive statistical analysis, comparing the processed wave data to a threshold (140) that corresponds to a predetermined sea state and activating the protective function upon detecting that the processed wave data reaches or exceeds the threshold (140).

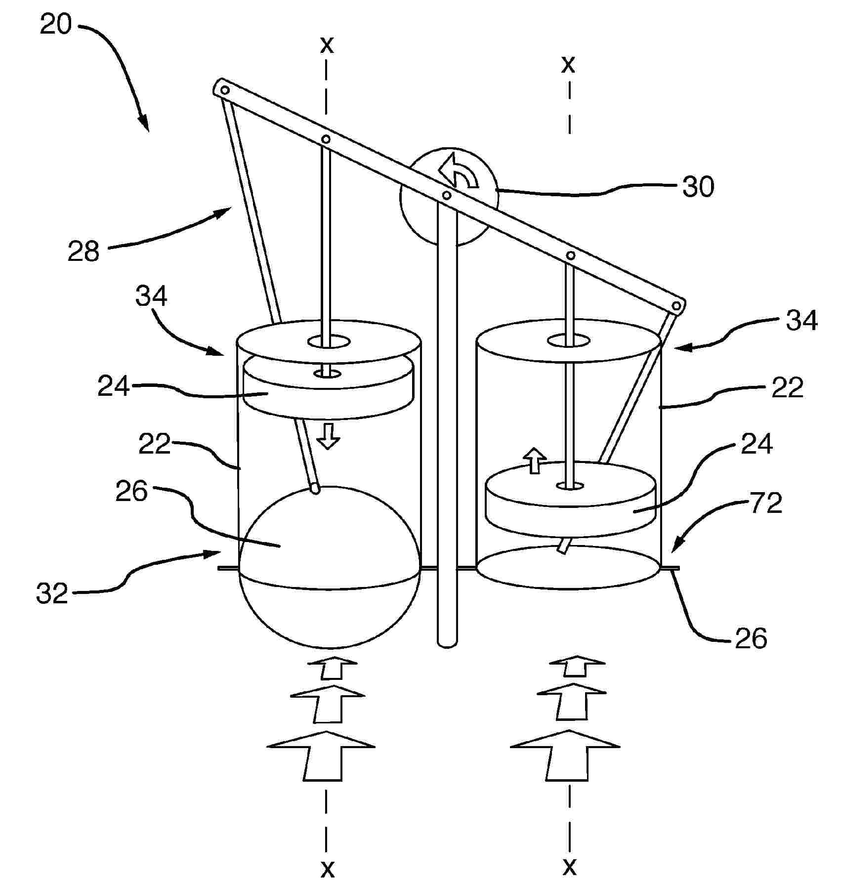
FLUID-ACTUATED POWER GENERATION SYSTEM HAVING AUTOMATIC REGULATION OF SWEPT AREA AND PROPULSION METHOD USING THE SYSTEM

NºPublicación:  WO2026041927A1 26/02/2026
Solicitante: 
RBC RICEBOWL LTD [IL]
RBC RICEBOWL LTD
WO_2026041927_PA

Resumen de: WO2026041927A1

An energy generation system (2) has a shaft (10) rotatably coupled to a support structure (6). A power converting device (4) coupled to the shaft is able to rotate relative to the support structure (6). First and second rotors (14, 18) located toward opposite ends of the shaft are rotatable about a longitudinal axis thereof. At least two vanes (20) coupled 5 to the rotors are independently rotatable, under the fluid force about a line (28) joining respective coupling points. At least one restraint (36) associated with each vane restrains the vane in an extended or folded power generative position. The line (28) is inclined to the shaft axis at an angle (θ) sufficient to ensure that gravity acting on the vane produces sufficient rotational moment about the line (28) to move the vane (20) so that its trailing 10 edge (24) reaches maximum distance from the shaft (10) corresponding to the extended position.

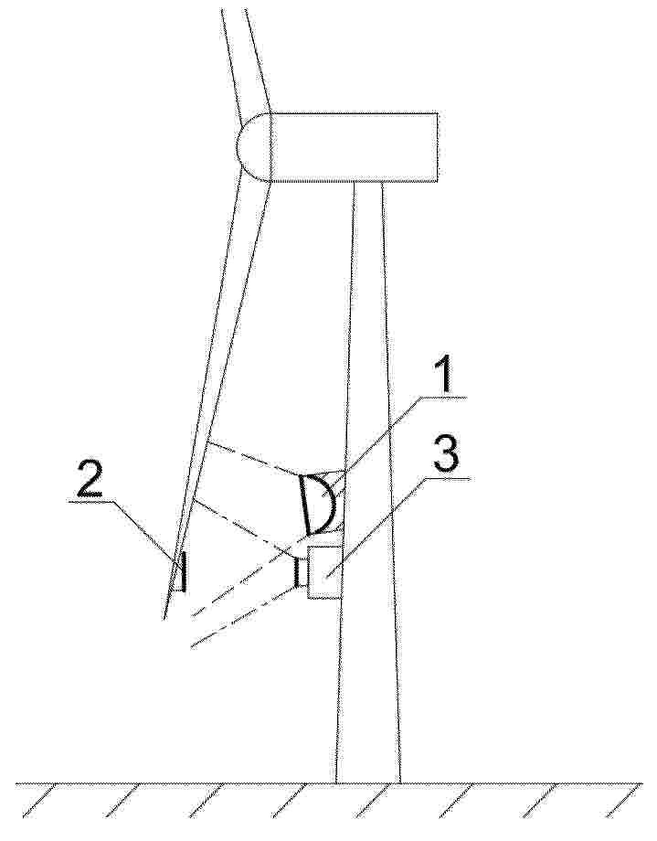
LEVELLING SYSTEM OF A PLATE CONFIGURED TO BE DISPOSED OVER A CONCRETE SECTION OF A WIND TURBINE TOWER AND METHOD OF LEVELLING A PLATE

NºPublicación:  WO2026041276A1 26/02/2026
Solicitante: 
NORDEX ENERGY SPAIN S A U [ES]
NORDEX ENERGY SPAIN, S.A.U
WO_2026041276_PA

Resumen de: WO2026041276A1

The object of the invention is a levelling system of a plate configured to be disposed over a concrete section of a wind turbine tower which reinforces the upper part of the section of the tower of the wind turbine, and also relates to a method of levelling a plate configured to be disposed over a concrete section of a wind turbine tower.

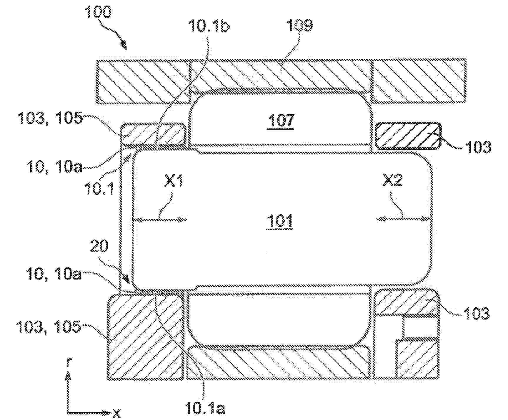
STATOR SEGMENT, ELECTRICAL MACHINE AND WIND TURBINE

NºPublicación:  WO2026041250A1 26/02/2026
Solicitante: 
SIEMENS GAMESA RENEWABLE ENERGY AS [DK]
SIEMENS GAMESA RENEWABLE ENERGY A/S
WO_2026041250_PA

Resumen de: WO2026041250A1

It is described a Stator segment (101a,b,c) for an electrical machine (100), in particular permanent magnet synchronous electrical generator, comprising: a core ring portion (106a,b,c) extending in a circumferential direction (cd) forming less than a whole circumference; plural first teeth (107a,b,c) extending radially from the ring portion (106a,b,c); two second teeth (108a,b,c) extending radially from the ring portion (106a,b,c) and being arranged at two circumferential ends of the ring portion; wherein between each of two adjacent first teeth (107a,b,c) a first slot (109a,b,c) is formed, wherein between each of the second teeth (108a,b,c) and an adjacent first tooth (107a,b,c) a second slot (110a,b,c) is formed, the stator segment further comprising: a multiple phase winding set (105A,B,C) wound according to a concentrated winding topology.

SYSTEM AND METHOD TO REDUCE BLADE VIBRATIONS WHEN YAWING A WIND TURBINE THAT IS IN A SHUTDOWN STATE AND CONFIGURED WITH A TURBINE-MOUNTED CRANE

NºPublicación:  WO2026043487A1 26/02/2026
Solicitante: 
GENERAL ELECTRIC RENOVABLES ESPANA S L [ES]
AHMAD HAMMAD [US]
GENERAL ELECTRIC RENOVABLES ESPANA, S.L,
AHMAD, Hammad
WO_2026043487_PA

Resumen de: WO2026043487A1

A system and method reduce vibrations in a blade mounted on a hub of a wind turbine rotor mounted atop a tower when the rotor is in a stand-still and limited yaw capacity state due to one or more cables that extend between a turbine-mounted crane and ground-based equipment. The method determines a new yaw position for the rotor that will reduce actual or predicted vibrations in the blade; and with a wind turbine controller in communication with the yaw system and a crane controller, the rotor is yawed from an initial yaw position to the new yaw position while simultaneously controlling payout of the cables from the ground-based equipment so that the cables wrap at least partially around the tower as the rotor rotates relative to the tower to the new yaw position.

SYSTEM AND METHOD FOR YAWING A WIND TURBINE WITHIN A CONSTRAINED YAW ANGLE SWEEP UPON DETECTION OF BLADE VIBRATIONS

NºPublicación:  WO2026043489A1 26/02/2026
Solicitante: 
GE INFRASTRUCTURE TECH LLC [US]
GE INFRASTRUCTURE TECHNOLOGY LLC
WO_2026043489_PA

Resumen de: WO2026043489A1

A system and method reduce vibrations in a blade mounted on a hub of a wind turbine rotor when the rotor is in a limited yaw capacity state with a defined allowable yaw sweep. An allowable yaw sweep is defined for the limited yaw capacity of the rotor. With a sensor in communication with a controller, actual vibrations in the blade are monitored with the rotor at an initial yaw position. Upon detection of vibrations in the blade, the controller determines a first new yaw position within the allowable yaw sweep and issues a yaw command to a yaw system to yaw the rotor to the first new yaw position. At the first new yaw position, the method and system continue to monitor for actual vibrations in the blade.

SYSTEM AND METHOD FOR YAWING A WIND TURBINE BASED ON AVOIDING CRITICAL BLADE ANGLES OF ATTACK WHEN YAW ANGLE SWEEP IS CONSTRAINED

NºPublicación:  WO2026043488A1 26/02/2026
Solicitante: 
GE INFRASTRUCTURE TECH LLC [US]
GE INFRASTRUCTURE TECHNOLOGY LLC
WO_2026043488_PA

Resumen de: WO2026043488A1

A system and method reduce vibrations in a blade mounted on a hub of a wind turbine rotor when the rotor is in a limited yaw capacity state with a defined allowable yaw sweep. The direction of an incoming wind acting on the blade is determined and used to define a blade angle of attack between the wind direction and a chord of the blade. If the blade angle of attack is at a critical angle of attack known to induce vibrations in the blade, a controller issues a yaw command to a yaw system to yaw the rotor to a new yaw position within the allowable yaw sweep where the blade angle of attack is not at the critical angle of attack.

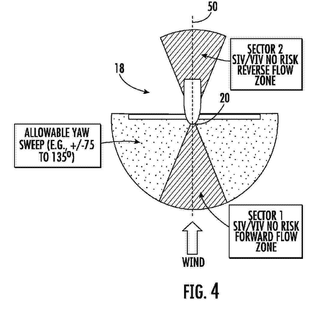
SYSTEM AND METHOD FOR REVERSE FLOW YAW MODE OF A WIND TURBINE WHEN YAW ANGLE SWEEP IS CONSTRAINED

NºPublicación:  WO2026043486A1 26/02/2026
Solicitante: 
GE INFRASTRUCTURE TECH LLC [US]
GE INFRASTRUCTURE TECHNOLOGY LLC
WO_2026043486_PA

Resumen de: WO2026043486A1

A system and method reduce vibrations in a blade on a hub of a wind turbine rotor when the rotor is in a non-operational and limited yaw capacity state. A yaw sweep is defined for the limited yaw capacity state. A controller determines a first yaw command to align the rotor into the wind and within a first range relative to the wind direction, the first range defining a forward zone of reduced or no blade vibrations caused by the incoming wind. When the first yaw command exceeds the yaw sweep, the controller determines a second yaw command that aligns the rotor away from the wind within a second range relative to a reciprocal heading of the wind direction, the second range defining a reverse zone of reduced or no vibrations caused by the incoming wind.

SYSTEM AND METHOD FOR YAWING A WIND TURBINE BASED ON AVOIDING BLADE VIBRATIONS AT SPECIFIED WIND SPEEDS WHEN YAW ANGLE SWEEP IS CONSTRAINED

NºPublicación:  WO2026043490A1 26/02/2026
Solicitante: 
GE INFRASTRUCTURE TECH LLC [US]
GE INFRASTRUCTURE TECHNOLOGY LLC
WO_2026043490_PA

Resumen de: WO2026043490A1

A system and method reduce vibrations in a blade mounted on a hub of a wind turbine rotor when the rotor is in a limited yaw capacity state with a defined allowable yaw sweep. Vibration risk zones are defined based on wind direction and actual wind parameters acting on the blade are determined with a sensor. With a controller and based on the actual wind parameters, the following conditions are determined: (a) if a present yaw position of the rotor is in one of the vibration risk zones; and (b) if one or more of the wind parameters is at a risk threshold associated with the vibration risk zone. When conditions (a) and (b) are met, a yaw command is issued to yaw the rotor to a new yaw position within the allowable yaw sweep where the rotor is not in one of the vibration risk zones or is in a different vibration risk zone where the one or more wind parameters are not at the risk threshold associated with the different vibration risk zone

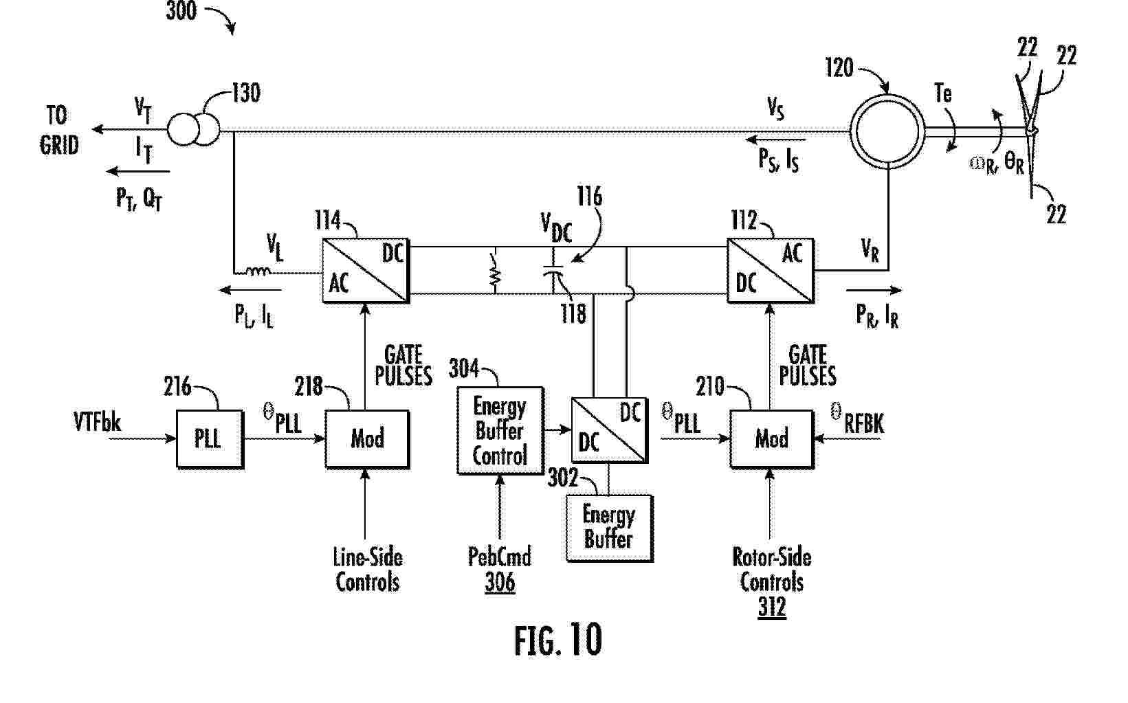
DRIVETRAIN DAMPER FOR A WIND TURBINE POWER SYSTEM

NºPublicación:  WO2026043477A1 26/02/2026
Solicitante: 
GE INFRASTRUCTURE TECH LLC [US]
GE INFRASTRUCTURE TECHNOLOGY LLC
WO_2026043477_PA

Resumen de: WO2026043477A1

A method of damping drivetrain oscillations in a wind turbine power system connected to an electrical grid includes receiving, via a drivetrain damping algorithm, an energy buffer power command for an energy buffer of the wind turbine power system. The method also includes modulating, via the drivetrain damping algorithm, the energy buffer power command in combination with providing rotor converter control commands that are sensitive to changes in electrical signals at a drivetrain frequency, wherein the electrical signals include at least one of total power injected into the electrical grid, an electrical angle, or an electrical frequency so as to dampen the drivetrain oscillations without directly controlling power or torque on a generator of the wind turbine power system.

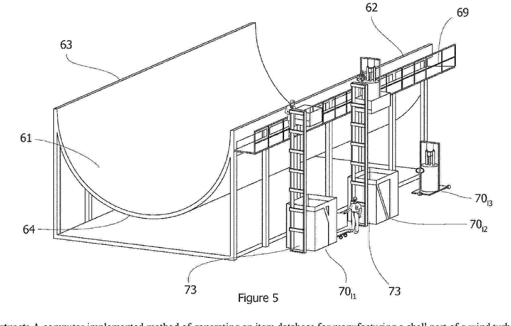
MANUFACTURING A SHELL PART FOR A WIND TURBINE BLADE

NºPublicación:  WO2026041230A1 26/02/2026
Solicitante: 
LM WIND POWER AS [DK]
LM WIND POWER A/S
WO_2026041230_PA

Resumen de: WO2026041230A1

A computer implemented method of generating an item database for manufacturing a shell part of a wind turbine blade in a factory, comprising receiving a laminate specification indicating a laminate structure of the shell part; generating a mould area representation indicating a shell mould for manufacturing the shell part; extracting a plurality of item types based on the laminate specification, the plurality of item types including constituents for forming part of the manufactured shell part; identifying, for each of the plurality of item types, one or more first locations of the mould area representation requiring the use of the respective item type based on the laminate specification; and determining a plurality of supply locations around the mould area representation based on the identified first locations and first criteria, wherein one or more of the plurality of item types are assigned to each supply location of the plurality of supply locations so that each item type of the plurality of item types is assigned to at least one supply location;

METHOD FOR TESTING A FUNCTIONALITY OF A SYSTEM OF A WIND TURBINE, A CONTROLLER AND A DRIVE SYSTEM

NºPublicación:  US20260056263A1 26/02/2026
Solicitante: 
NORDEX ENERGY SE & CO KG [DE]
Nordex Energy SE & Co. KG
US_20260056263_PA

Resumen de: US20260056263A1

A method is for testing a functionality of a system of a wind turbine. The system includes an electro-mechanical actuator, an energy storage unit, and an energy dissipating element connectable to the energy storage unit for selectively transferring energy from the energy storage unit to the energy dissipating element. The method includes: providing first information representative of an operating mode of the system, and, if the operating mode is a test mode: causing a discharging of energy from the energy storage unit and a supply of at least a portion of the discharged energy to the energy dissipating element; receiving measurements being representative of a state of at least one of the energy storage unit and the energy dissipating element during the discharging and the supply; and determining a functionality of at least one of the energy storage unit and the energy dissipating element based on the measurements.

Condition monitoring arrangement

NºPublicación:  US20260056087A1 26/02/2026
Solicitante: 
SIEMENS GAMESA RENEWABLE ENERGY AS [DK]
Siemens Gamesa Renewable Energy A/S
US_20260056087_PA

Resumen de: US20260056087A1

A method of monitoring the condition of a fluid-film bearing arranged to support the generator of a direct-drive wind turbine is provided. The method allows providing a hydrophone configured to convert acoustic noise to an output signal; immersing the hydrophone in the lubricating fluid of the fluid-film bearing; providing access to the hydrophone output signal at the exterior of the fluid-film bearing; and evaluating the hydrophone output signal to determine the condition of the fluid-film bearing. Disclosed embodiments further include a condition monitoring arrangement of a fluid-film bearing; and a direct-drive wind turbine comprising a fluid-film bearing and the condition monitoring arrangement.

NON-IMAGING NON-TRACKING SOLAR CONCENTRATOR BASED COMBINED CSP AND WAVE ENERGY AND WIND ENERGY CONVERSION HYBRID THERMAL ENERGY AND ELECTRIC POWER COGENERATION SYSTEM

NºPublicación:  US20260055756A1 26/02/2026
Solicitante: 
WANG YONGHUA [US]
Wang Yonghua
US_20260055756_PA

Resumen de: US20260055756A1

A combined stationary solar CSP, wave motion, and wind power generation and fresh water production system that deploys close structure non-imaging non-tracking solar concentrator array as buoy for wave motion converter system and floating platform for wind mills comprises a divergent Fresnel lens and non-imaging concentrator enabled non-imaging non-tracking solar concentrator based hybrid solar thermal and photovoltaic CSP system, a wave energy converter system, and a vertical axis wind energy system. Wherein, the stationary solar CSP system realizes ultra-high efficiency through solar thermal and photovoltaic cogeneration, substantially-low cost through stationary high concentration ratio concentration, and super-stable power generation through electrothermal energy storage. The system produces fresh water through thermal power generation and uses swappable battery modules to address power transportation and utilization issues.

WIND TURBINE BLADE

NºPublicación:  US20260055754A1 26/02/2026
Solicitante: 
JOTUN AS [NO]
JOTUN A/S
US_20260055754_A1

Resumen de: US20260055754A1

The invention relates to a wind turbine blade, preferably the leading edge of a wind turbine blade, coated with a coating composition comprising: (A) at least one polyaspartic selected from the group consisting of polyaspartic esters, polyetheraspartic esters and mixtures thereof; and (B) at least one aliphatic polyisocyanate prepolymer curing agent: wherein component B further comprises an aliphatic polyisocyanate which is different to the at least one aliphatic polyisocyanate prepolymer curing agent.

ENERGY PRODUCTION APPARATUS

NºPublicación:  US20260055755A1 26/02/2026
Solicitante: 
KOLIOS DIMITRIOS [CA]
Kolios Dimitrios
US_20260055755_PA

Resumen de: US20260055755A1

The apparatus comprises: a cylinder having an opening presenting perpendicular to a flow of air in use such that, in use, air flows through the cylinder; and means for generating power based upon the flow of air through the cylinder.

浮体式風力タービン基礎

NºPublicación:  JP2026506779A 26/02/2026
Solicitante: 
オドフェルオーシャンウィンドエーエス
JP_2026506779_PA

Resumen de: CN120897871A

The present invention relates to an offshore floating wind turbine foundation comprising at least two outer members arranged around a tower comprising a rotor-nacelle assembly with blades wherein a plurality of pairs of beams connect a central buoy and the at least two outer members, a pair of beams tapers from the tower toward each of the at least two outer members.

ENERGY HARVESTING DEVICE

NºPublicación:  US20260055930A1 26/02/2026
Solicitante: 
LEUNG CHI LAM [SG]
Leung Chi Lam
US_20260055930_PA

Resumen de: US20260055930A1

In general terms the present invention proposes a device for harvesting renewable energy. The device comprises a wind turbine, a channel for directing wind to the wind turbine, and a solar receiver positioned in the channel for receiving sunlight entering the channel.

FLOATING OFFSHORE WIND TURBINE SYSTEM, METHOD FOR TRANSPORTING FLOATING OFFSHORE WIND TURBINE, AND FLOATING OFFSHORE WIND TURBINE

NºPublicación:  WO2026042428A1 26/02/2026
Solicitante: 
HITACHI LTD [JP]
\u682A\u5F0F\u4F1A\u793E\u65E5\u7ACB\u88FD\u4F5C\u6240
WO_2026042428_PA

Resumen de: WO2026042428A1

Provided is a floating offshore wind turbine system having a structure useful for replacing large components of a floating offshore wind turbine. A floating offshore wind turbine system having a floating offshore wind turbine, a main floating body, and a mooring body, the floating offshore wind turbine system characterized in that: the floating offshore wind turbine has blades for receiving wind, a hub to which the blades are fixed, a nacelle for storing a generator for converting rotational energy of the hub into electric power, a tower for supporting the nacelle, a sub-floating body for supporting the tower, and a sub-floating body connection part that can be fitted to a transport ship connection part; and the main floating body is moored to the sea bottom by the mooring body, and has a sub-floating body insertion space into which the sub-floating body is inserted.

METHOD FOR JOINING AT LEAST TWO SECTIONS OF A WIND TURBINE BLADE USING AN AIR HEATER DEVICE

NºPublicación:  US20260054455A1 26/02/2026
Solicitante: 
SIEMENS GAMESA RENEWABLE ENERGY AS [DK]
Siemens Gamesa Renewable Energy A/S
US_20260054455_PA

Resumen de: US20260054455A1

Method for joining at least two sections of a wind turbine blade, use of an air heater device in a method for joining at least two sections of a wind turbine blade and external heater for use in a method for joining at least two sections of a wind turbine bladeThe method for joining at least two sections of a wind turbine blade involves providing an air heater device (3) and with the air heater device (3) supplying a stream of heated air into inner hollow spaces of first (11) and/or second blade sections (12) at least in a joining region (2) and/or placing an external heater (6) on an outer surface of the first (11) and/or second blade sections (12) at least in the joining region (2), wherein the external heater (6) comprises a multitude of heating zones (62-69), wherein a heating power in the heating zones (62-69) is individually controlled.The method according to the invention improves the curing of a curable resin used to join the blade sections (11,12).

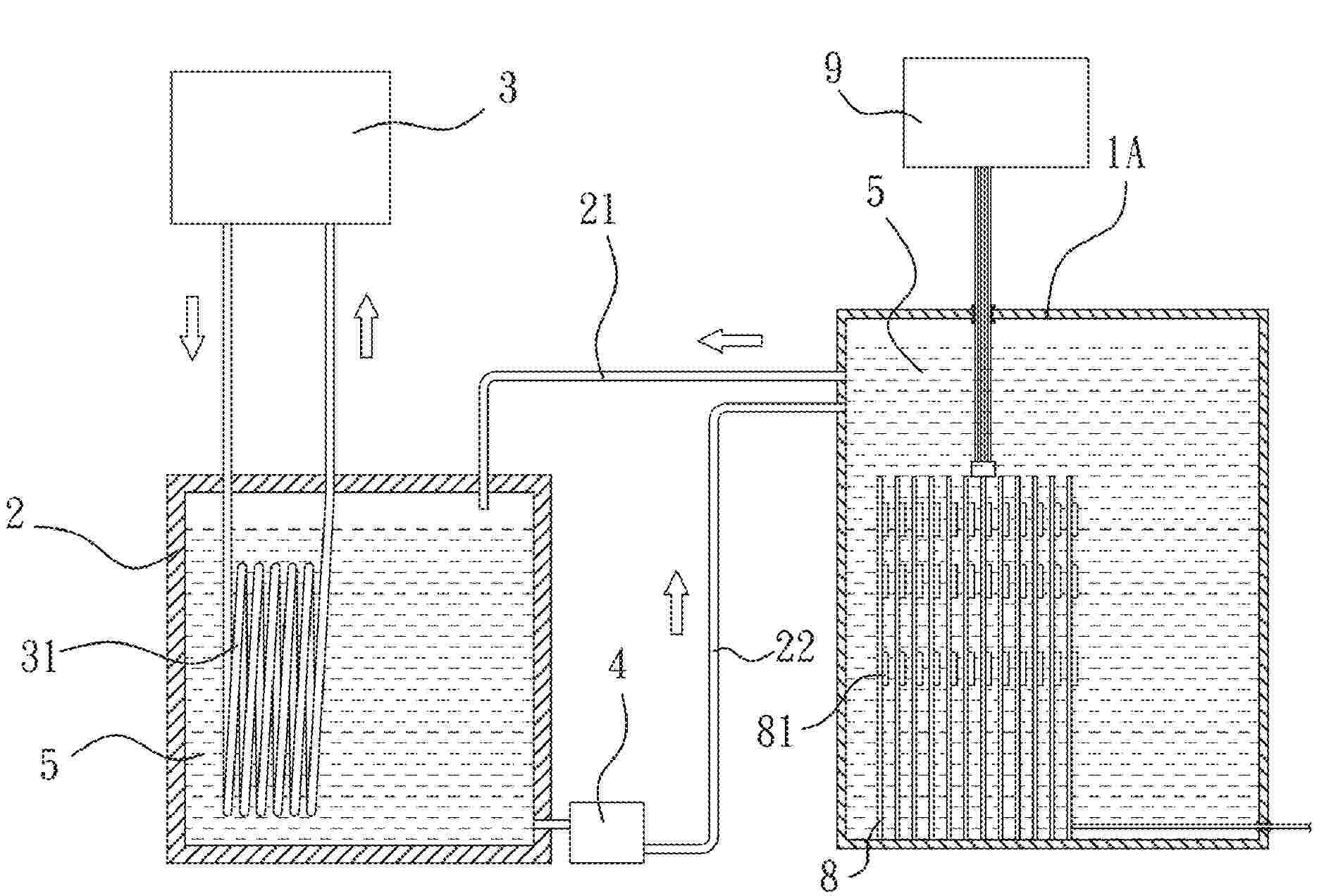
CLOSED-TYPE HEAT-DISSIPATING-FIN-FREE COOLING-LIQUID-IMMERSED COOLING SYSTEM

NºPublicación:  US20260059723A1 26/02/2026
Solicitante: 
WANG MENG THENG [TW]
WANG Meng-Theng
US_20260059723_PA

Resumen de: US20260059723A1

includes a first heat exchange box, a second heat exchange box, and a refrigeration machine. The refrigeration machine includes a refrigerant pipe extending into the second heat exchange box to immerse in the cooling liquid. The refrigeration machine feeds a refrigerant to circulate and flow through the refrigerant pipe. Temperature-lowered refrigerant performs, through the refrigerant pipe, heat exchange with the cooling liquid of the second heat exchange box, and the cooling liquid of which the temperature is lowered is fed into the first heat exchange box to perform heat exchange with, and absorb heat from, a heat-generating body disposed therein, and the cooling liquid of which the temperature increases flows back into the second heat exchange box to perform heat exchange for lowering the temperature thereof so as to have the process cyclically repeated.

INDUSTRIAL GEAR UNIT IN THE FORM OF A PLANETARY TRANSMISSION WITH AN INTERMEDIATE ELEMENT ASSEMBLY AND METHOD AND USE

NºPublicación:  US20260055808A1 26/02/2026
Solicitante: 
FLENDER GMBH [DE]
Flender GmbH
US_20260055808_PA

Resumen de: US20260055808A1

An industrial gear unit designed as a planetary transmission for installation in a wind power installation includes an axle receptacle, an axle including two axial portions via which the axle is mounted in the axle receptacle in an axially fixed manner on both sides of a planet gear of the planetary transmission, and an intermediate element assembly mounted in an axially fixed manner between the axle and the axle receptacle in at least one of the axial portions of the axle and acting between the axle receptacle and the axle. The intermediate element assembly includes a surface portion which faces the axle and/or the axle receptacle and has a structured surface with a laser-structured surface for restraining the intermediate element assembly against displacement in an axial direction.

EXTERNAL SHUTTER ASSEMBLY FOR HEADLIGHTS OF VEHICLES TO CONTROL ANGLE OF LIGHT BEAM

NºPublicación:  US20260054636A1 26/02/2026
Solicitante: 
FAIZAN MR MIRZA [US]
Faizan Mr. Mirza
US_20260054636_PA

Resumen de: US20260054636A1

An external shutter assembly to control a light beam emitted by a headlight of a vehicle includes a pair of transparent structures arranged facing the headlight and a blind assembly arranged between the transparent structures. The blind assembly includes a support rod extending movably coupled to a first transparent structure and a base rod fixedly coupled to a second transparent structure. The support rod is arranged to be displaced in the vertical direction. The blind assembly further includes a plurality of blinds arrayed in a vertical direction and arranged spaced apart from each other with first ends the blinds being pivotally coupled to the base rod and second end of the blinds attached to the support rod. The blinds pivot between a horizontal position and a slanted position in response to the vertical displacement of the support rod to control an angle of the light beam.

TAUT-MOORED FLOATING STRUCTURE

NºPublicación:  WO2026042417A1 26/02/2026
Solicitante: 
MODEC INC [JP]
\u4E09\u4E95\u6D77\u6D0B\u958B\u767A\u682A\u5F0F\u4F1A\u793E
WO_2026042417_PA

Resumen de: WO2026042417A1

The present invention addresses the problem of providing a taut-moored floating structure that is taut-moored by a plurality of taut mooring cables, the taut-moored floating structure reducing shaking due to wind or waves, preventing an instantaneous increase in load on the taut mooring cables, and reducing fluctuations in the load on the taut mooring cables when shaking occurs. The problem is solved by a taut-moored floating structure 1 that supports an offshore wind power generation system, the taut-moored floating structure comprising a floating structure 5 and three sets of taut mooring cables 7 that connect seabed mooring parts 9 fixed to the seabed and connection parts 5b. Each column 51, 52, 53 of the floating structure 5 is provided with the connection parts 5b on an outside portion of an overhang part 6 overhanging outward. Each set of taut mooring cables 7 is composed of at least three taut mooring cables. When tension is generated in each taut mooring cable 7 by buoyancy generated in the floating structure 5 and the floating structure 5 is held in a tautly-moored state, distances between one set of taut mooring cables 7 which are connected to one column 51 are substantially equal to each other and are between the connection parts 5b and the seabed mooring parts 9, and an angle formed by the one set of taut mooring cables with respect to a vertical line is 15° or less.

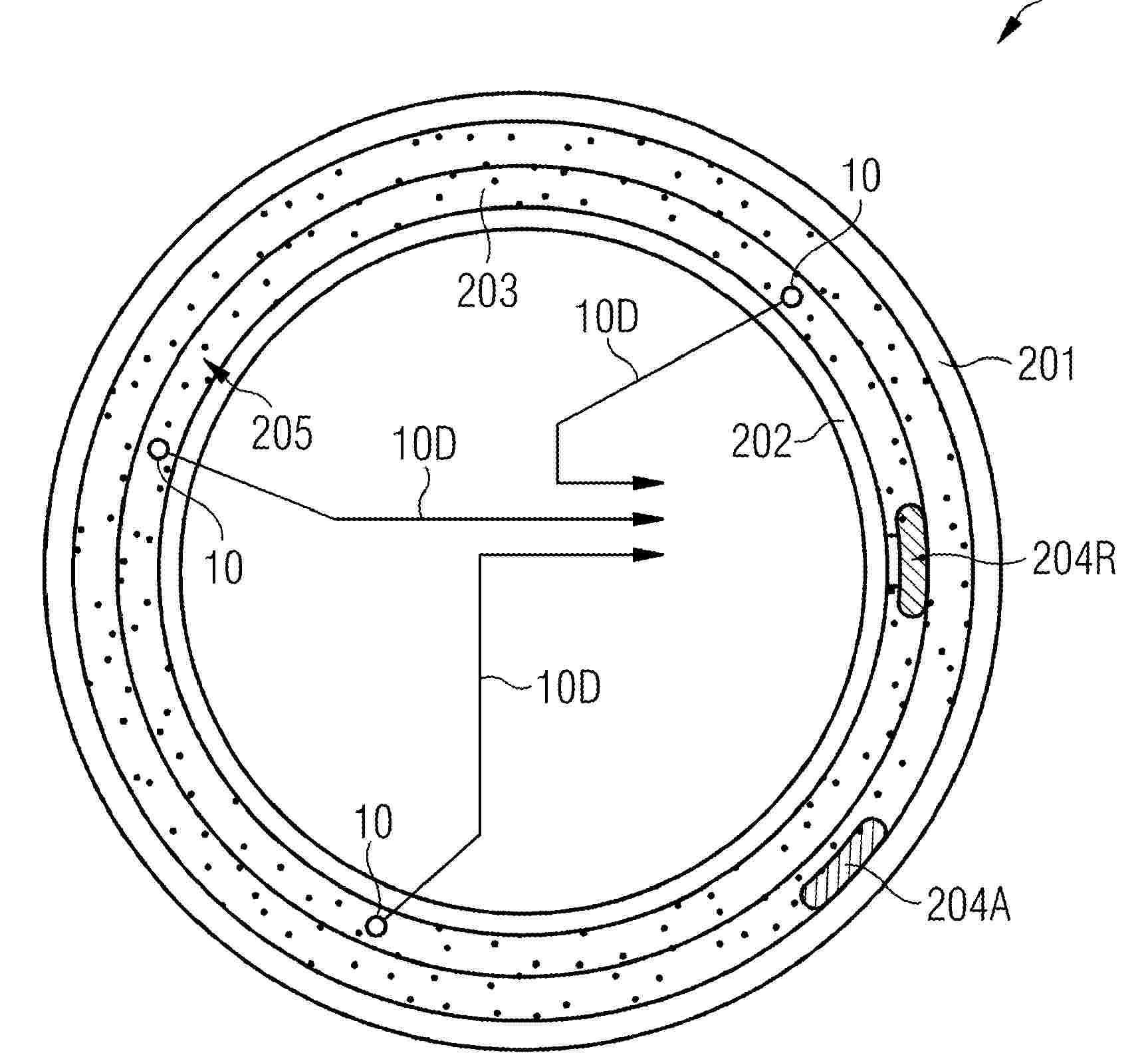
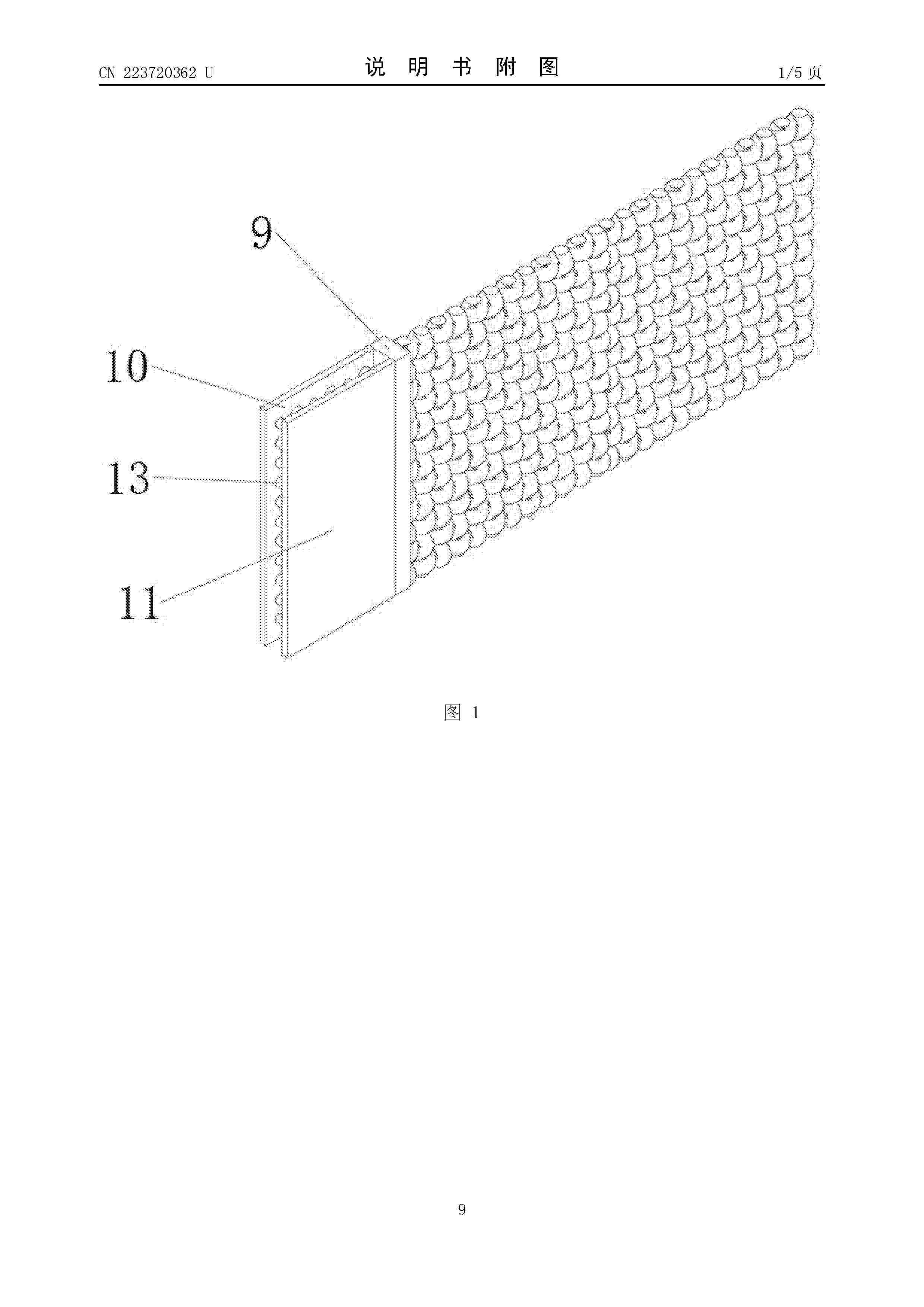
WIND TURBINE BLADE STRUCTURAL PREFORM, WIND TURBINE BLADE, AND DESIGN METHOD FOR STRUCTURAL PREFORM

Nº publicación: WO2026040572A1 26/02/2026

Solicitante:

SINOMA WIND POWER BLADE CO LTD [CN]
\u4E2D\u6750\u79D1\u6280\u98CE\u7535\u53F6\u7247\u80A1\u4EFD\u6709\u9650\u516C\u53F8

WO_2026040572_PA

Resumen de: WO2026040572A1

A wind turbine blade structural preform, a wind turbine blade, and a design method for a structural preform. The wind turbine blade structural preform (201) comprises a structural surface (100) having flow guide structures (110), wherein the structural surface (100) comprises first flow guide regions (101) and second flow guide regions (102), which are alternately arranged; the flow guide directions of the flow guide structures (110) of the first flow guide regions (101) and the second flow guide regions (102) intersect; and the flow guide structures (110) of the first flow guide regions (101) are distributed in a mesh pattern. The wind turbine blade comprises an outer skin (202), an inner skin (203), and a structural layer, wherein the structural layer comprises the wind turbine blade structural preform (201). The design method for the wind turbine blade structural preform (201) comprises: determining the slotting ratio of the structural preform (201), determining the cross-sectional area of each flow guide structure (110), and determining design parameters of each flow guide structure (110). The wind turbine blade structural preform can solve the problem of increased weight of the wind turbine blade caused by improving the permeation effect by means of continuous mats.

traducir