Ministerio de Industria, Turismo y Comercio LogoMinisterior
 

Alerta

Resultados 371 resultados
LastUpdate Última actualización 04/03/2026 [07:20:00]
pdfxls
Solicitudes publicadas en los últimos 15 días / Applications published in the last 15 days
previousPage Resultados 100 a 125 de 371 nextPage  

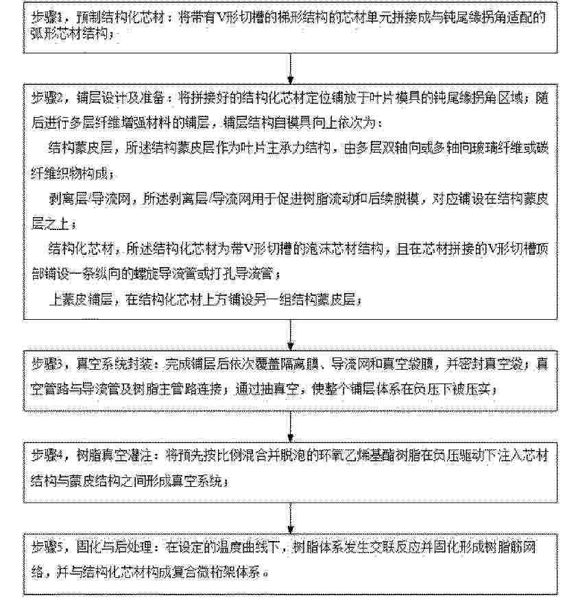
一种用于提升风电叶片结构性能的钝尾缘拐角结构及制备方法

NºPublicación:  CN121576215A 27/02/2026
Solicitante: 
中材科技(阜宁)风电叶片有限公司
CN_121576215_PA

Resumen de: CN121576215A

本发明公开了一种用于提升风电叶片结构性能的钝尾缘拐角结构及制备方法,属于风电叶片加工技术领域,钝尾缘拐角结构包括拐角芯材结构及位于拐角芯材结构内外侧的蒙皮结构:拐角芯材结构包括多个梯形基础的芯材单元,由轻质高强材料制成,且沿着钝尾缘的拐角弧形轮廓依次拼接组成;芯材单元之间设置有V形切槽;拐角芯材结构与蒙皮结构之间形成树脂筋网络,并构成用于主动引导并重新分配拐角区域的集中应力的复合微桁架体系;该方法包括预制结构化芯材、铺层设计及准备、真空系统封装、树脂真空灌注、固化与后处理等步骤。本发明通过复合微桁架体系与树脂筋网络的协同作用,实现应力的疏导与再分配,显著提升拐角区域的结构强度与抗疲劳性能。

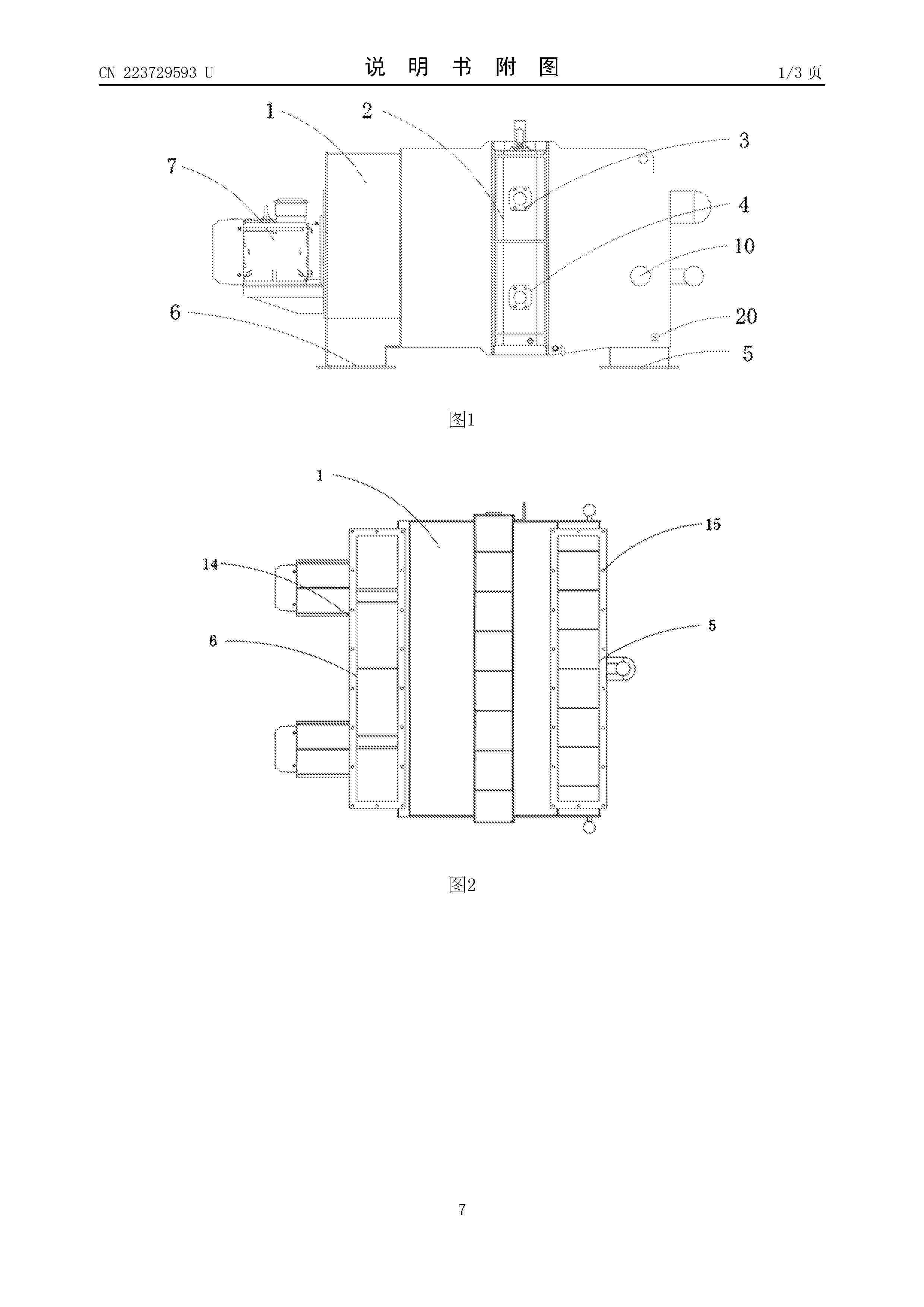
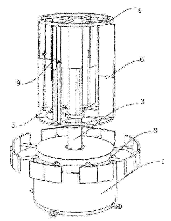
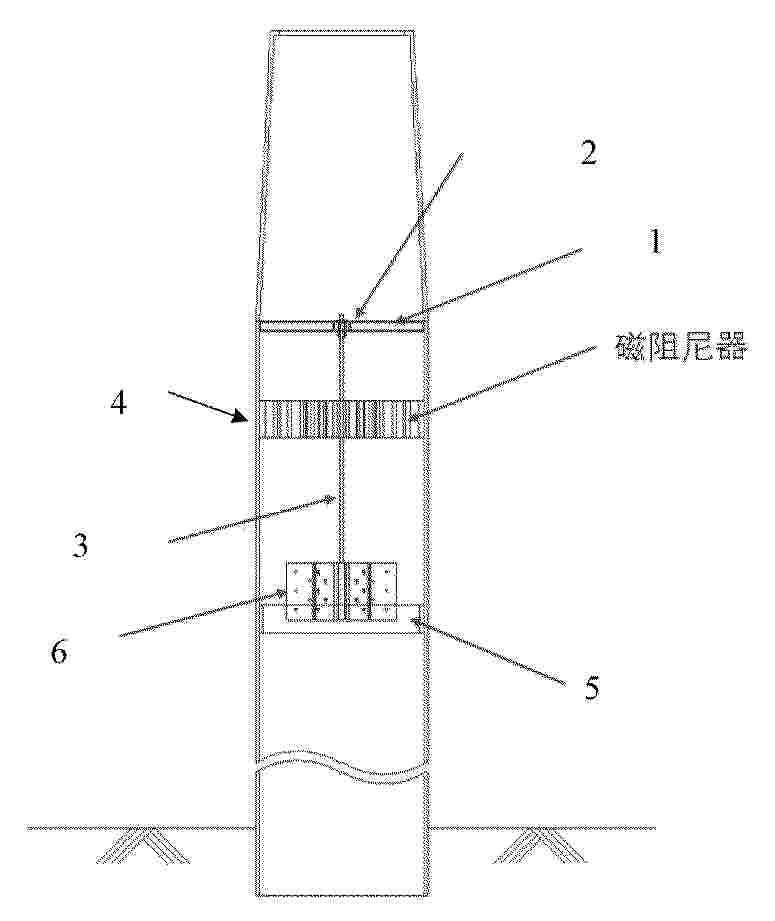
一种海上风电桩基础内置耦合阻尼器

NºPublicación:  CN121576379A 27/02/2026
Solicitante: 
华能如东八仙角海上风力发电有限责任公司中国华能集团清洁能源技术研究院有限公司华能国际电力江苏能源开发有限公司清洁能源分公司
CN_121576379_PA

Resumen de: CN121576379A

本发明实施例提供了一种海上风电桩基础的内置耦合阻尼器,由于在本发明实施例中,结合电磁涡流阻尼与流体动力阻尼,磁力质量块在永磁护圈磁场中运动产生涡流热耗散,同时扰流质量块在桩内海水中受潮流驱动形成附加流体阻尼,实现振动能量向热能与动能的双重转化。相较于传统粘滞油缸阻尼器,该设计在波浪频率与结构频率接近时,可降低振动幅值,显著缓解波浪极限载荷与疲劳载荷累积。通过磁阻尼单元与流体质量块的动态耦合,形成质量‑弹簧‑阻尼系统,有效抑制风机塔筒的低频晃动及桩基的高频振动,适应海上风电大型化、深水化带来的复杂荷载环境。

基于相变材料温控与热电效应的风力发电机组轴承自供电智能监测方法及系统

NºPublicación:  CN121576236A 27/02/2026
Solicitante: 
华能吉林清洁能源发电有限公司通榆分公司华能吉林新能源开发有限公司华能吉林发电有限公司
CN_121576236_PA

Resumen de: CN121576236A

本申请公开了一种基于相变材料温控与热电效应的风力发电机组轴承自供电智能监测方法及系统,涉及风力发电设备状态监测与故障诊断技术领域,该方法包括:在检测到轴承供电电压异常时,识别异常工况等级并匹配目标监测模式;在该模式下,监测高频振动信号并计算振动产热量,结合相变材料的温控特性建立振动‑热释放曲线;基于该曲线预测热电模块的输出电压,根据电压变化的惯性数据确定相变材料的目标热释放速率曲线;最终依据目标曲线控制相变材料的热量释放,以稳定热电模块的输出电压。通过上述方式,本申请实现了在外部供电异常工况下,利用轴承自身振动产热,通过智能热管理为监测系统提供稳定电能,提升了监测系统的可靠性与自维持能力。

一种风力发电机及其散热系统和方法

NºPublicación:  CN121576244A 27/02/2026
Solicitante: 
远景能源有限公司
CN_121576244_PA

Resumen de: CN121576244A

本公开涉及风力发电技术领域,尤其涉及一种风力发电机及其散热系统和方法。该散热系统包括:设置于机舱外的第一温度检测机构,用于获取环境温度;设置于机舱内的第二温度检测机构,用于获取舱内温度;设置于机舱外的雨量检测机构,用于检测降雨状态;散热机构,包括设置于机舱罩上的散热口及用于控制其开闭的执行单元;驱动机构,用于驱动风力发电机运行;控制模块,用于接收风力发电机的运行状态,环境温度、舱内温度、降雨状态,向散热机构和驱动机构发送控制指令,以控制执行单元开启或关闭散热口,和/或,控制驱动机构调节风力发电机的输出功率,至少能够提高风力发电机的散热效率。

一种浮式垂直轴风力机多分区变桨控制策略

NºPublicación:  CN121576225A 27/02/2026
Solicitante: 
福州大学
CN_121576225_PA

Resumen de: CN121576225A

本发明涉及风力发电机领域,具体公开了一种浮式垂直轴风力机多分区变桨控制策略,包括:S1、获取机组基本参数和运行条件参数;S2、基于双盘面多流管理论和叠加风速法建立空气动力学模型;S3、通过传感器测量参数,计算叶片理论攻角;S4、基于理论攻角建立多分区桨距角变化函数;S5、构建NSGA‑Ⅱ多目标优化模型,以最大化平均功率系数、最小化叶片推力标准差为目标;S6、代入函数求得最优变桨控制因子及最优桨距角;S7、将最优桨距角转换为变桨执行器指令。本发明解决了现有策略分区有限、忽略风向影响、缺乏工况适配最优参数的问题,实现了风能捕获效率提升、载荷波动降低,提高了变桨控制准确性。

一种陆上风电扰流板智能控制装置

NºPublicación:  CN121576237A 27/02/2026
Solicitante: 
中国电建集团北京勘测设计研究院有限公司
CN_121576237_PA

Resumen de: CN121576237A

本发明涉及风力发电技术领域,具体涉及一种陆上风电扰流板智能控制装置,包括:风况监测模块、人工智能中控模块和多个模块化扰流单元,风况监测模块安装在风电塔筒顶端,采用组合式传感器实时采集风况数据,并通过特定方式传输数据;人工智能中控模块安装在塔筒底部,内置高性能处理组件,借助深度学习模型预测风况变化,结合混合优化算法生成控制策略;模块化扰流单元通过快拆式结构固定在塔筒外侧,扰流板采用高强度材质并设有仿生结构,由驱动部件带动调节张开角度,确保调节精度;遇到极端风况时能快速将扰流板锁定至安全角度,风况解除后经观察期逐步恢复正常运行,可有效改善风电场内部风速分布,减少湍流对风电机组的影响。

洋上風力タービンの半潜水型浮体用のカウンターウェイトおよびその設置方法

NºPublicación:  JP2026507066A 27/02/2026
Solicitante: 
サイペムエス.アー.
JP_2026507066_PA

Resumen de: WO2024184604A1

The invention relates to a counterweight (2) for a semi-submersible float of an offshore wind turbine, which can be configured to be in a sinking state or a floating state, comprising a counterweight main structure (4) made of a material making it sink when immersed in water, and a plurality of airbags (6, 6') detachably attached to the main structure so as to make the counterweight float when the airbags are inflated. The invention also relates to a method for installing such a counterweight.

下降および/または持ち上げのための方法、ならびに風力タービンのロータブレードを整備するための方法

NºPublicación:  JP2026507080A 27/02/2026
Solicitante: 
シーメンスガメサリニューアブルエナジーエー/エス
JP_2026507080_PA

Resumen de: CN120712406A

Method for lowering and/or lifting a rotor blade (3) of a wind turbine (1) in order to vary a distance (6) between an end face (7) of a blade root (8) of the rotor blade (3) and a contact surface (64) of a blade bearing (8) of the rotor blade (3), comprising the steps of: providing a plurality of actuators (27-34), in particular at least four actuators (27-34), each actuator (27-34) having a first portion (48) and a second portion (49), wherein the second portion (49) is movable relative to the first portion (48) in a respective actuator movement direction (50, 55) by controlling the actuators (27-34), and wherein the respective first portion (48) is coupled to the blade bearing (9) and the respective second portion (49) is coupled to the rotor blade (3) such that when the rotor blade is in a given orientation (42), the second portion (49) is movable relative to the first portion (48) in a respective actuator movement direction (50, 55). All actuator movement directions (50, 55) deviate from the vertical direction (14, 15) by less than 20 DEG or less than 10 DEG or less than 5 DEG, controlling the actuators (27-34) to lower and/or raise the rotor blades (3) while the rotor blades (3) are in the given orientation (42), the actuators (27-34) are arranged such that: a first group (35) of the actuators (27-34) each exerts a vertically upward force on a first circumferential section (40) of the blade root (8), and a second group (36) of the actuators (27-34) exerts a vertically do

風力タービンロータブレードを持ち上げるための方法およびブレード持上げヨーク

NºPublicación:  JP2026506859A 27/02/2026
Solicitante: 
リフトラアイピーエイピーエス
JP_2026506859_PA

Resumen de: CN120731184A

The invention proposes a blade lifting yoke (1) and a method for lifting a wind turbine rotor blade, in which the blade lifting yoke has at least one crane attachment section (6) for attachment to a crane, in which the blade lifting yoke comprises a base section and at least one retaining device (5), in which the at least one crane attachment section (6) is arranged in the base section, and in which the at least one retaining device (5) is arranged in the at least one crane attachment section (6). The blade lifting yoke comprises first and second upper clamping elements (7) attached to the at least one holding device, first and second lower clamping elements (8), and a support element (9), the upper clamping elements are arranged at a distance from each other above the corresponding lower clamping elements in a direction substantially perpendicular to the longitudinal direction in order to press the rotor blade against the lower clamping elements. At least one holding device comprises a support element (9) adapted to be arranged in contact with the second surface of the wind turbine rotor blade at a predetermined distance from one of the lower clamping elements. A clamping mechanism is configured to contact the upper clamping members and the lower clamping element to clamp the wind turbine rotor blade using at least one clamping pressure between the upper clamping element and the lower clamping element such that during a lift operation, the upper clamping element and the lowe

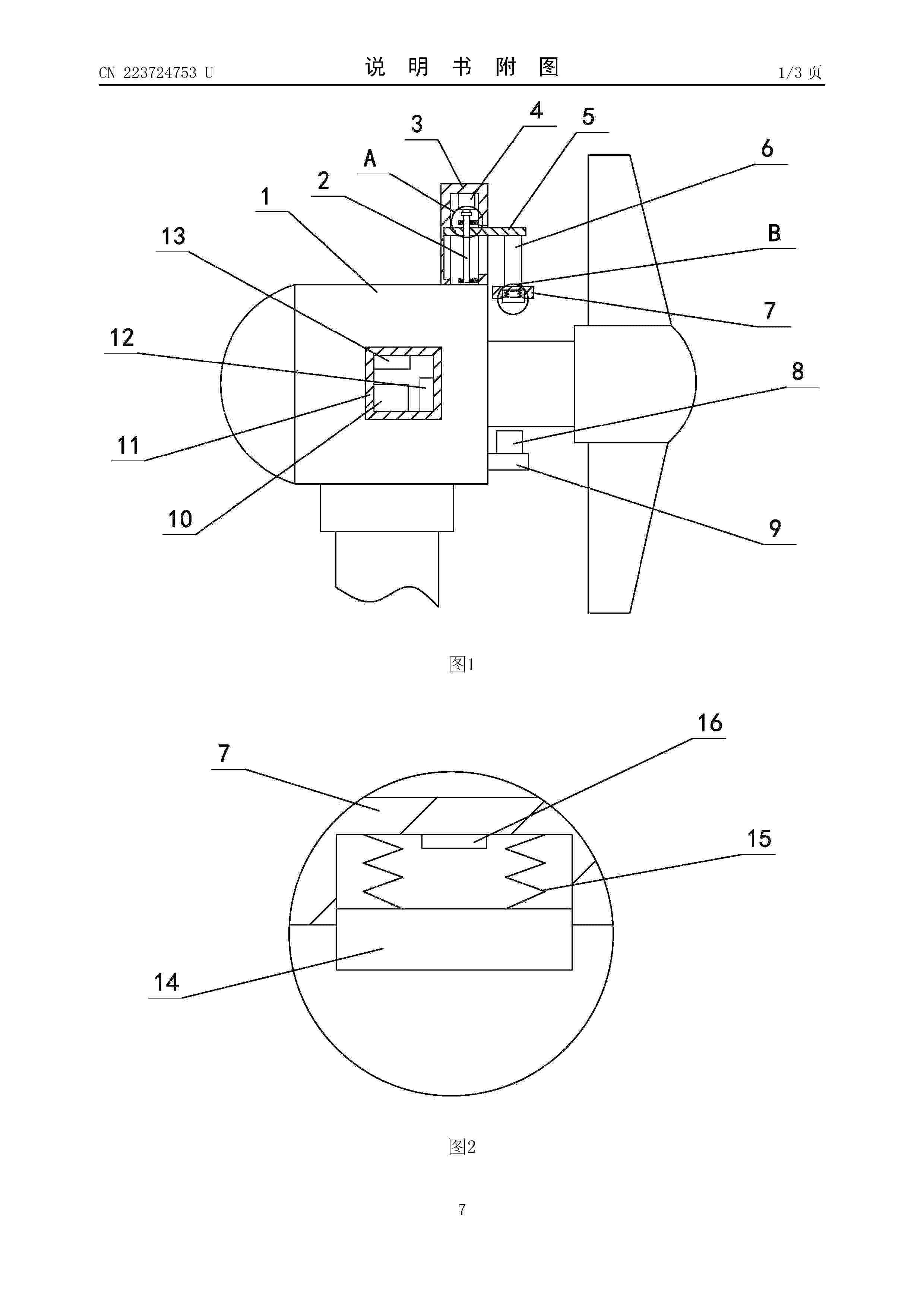
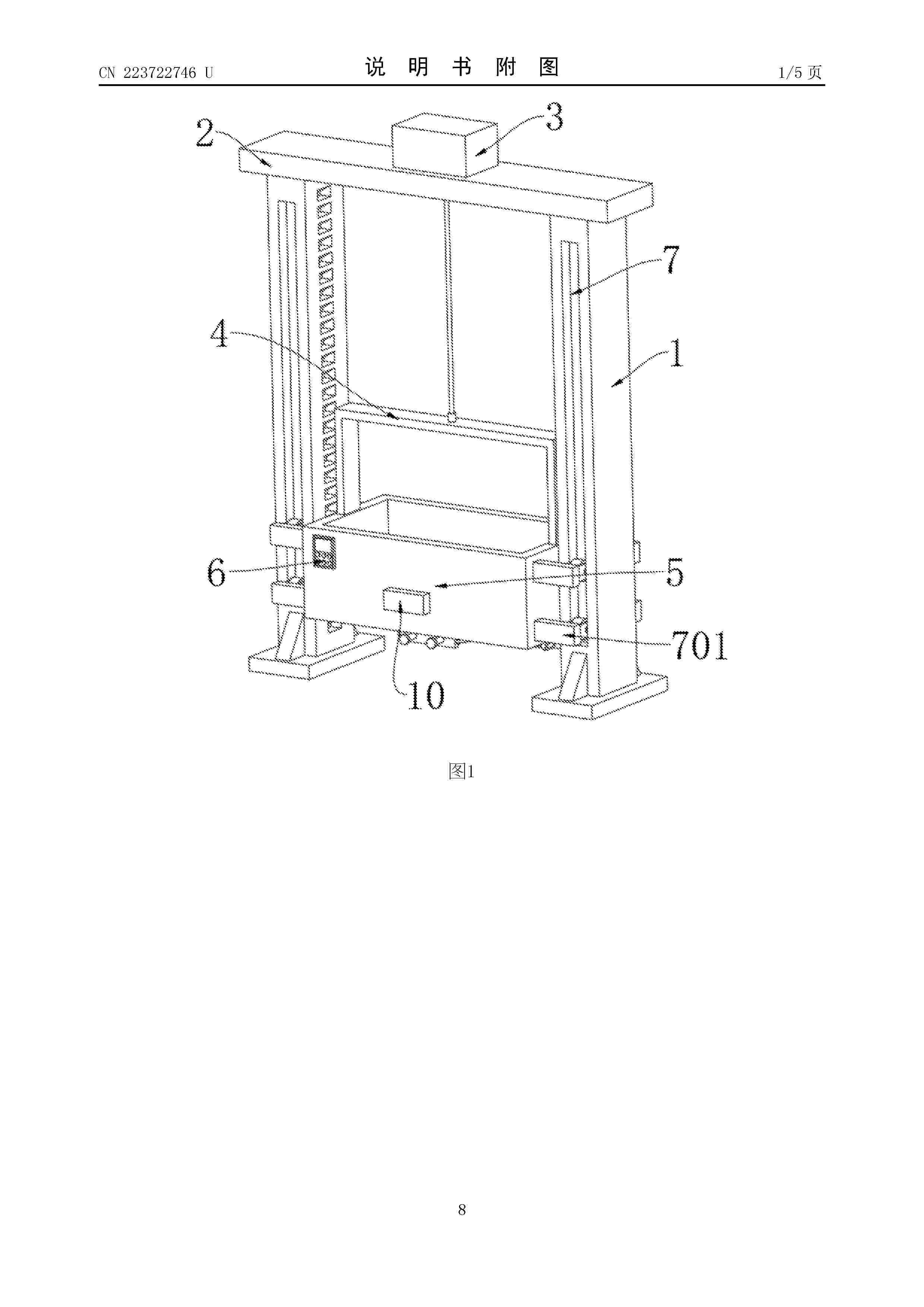
一种风电塔筒浆料刮板

NºPublicación:  CN223952260U 27/02/2026
Solicitante: 
中国电建集团河北工程有限公司
CN_223952260_U

Resumen de: CN223952260U

本实用新型公开了一种风电塔筒浆料刮板,包括刀架、刮刀、调整组件和手柄组件;其中刀架包括横撑和端部垂直固定在横撑中心位置处的中心撑,中心撑的另一端指向刮刀的中心位置并与刮刀固定连接,手柄组件螺纹连接在刀架上,刮刀采用弹性材料;调整组件包括第一调整件和第二调整件,第一调整件和第二调整件对称设置在中心撑的两侧;第一调整件包括固设在横撑上的第一连接座、固设在刮刀上的第二连接座和两端分别与第一连接座和第二连接座转动连接的伸缩杆机构,第二调整件的结构和第一调整件相同。本实用新型适用于风电塔筒的施工,便于刮除装配式混凝土塔筒在安装施工时每个塔节间溢出的浆料。

ASSEMBLY FOR A GEARBOX FOR A WIND TURBINE, ARRANGEMENT, KIT, GEARBOX FOR A WIND TURBINE, METHOD FOR TRANSPORTING AN ASSEMBLY FOR A GEARBOX AND METHOD FOR ASSEMBLING A WIND TURBINE

NºPublicación:  US20260055806A1 26/02/2026
Solicitante: 
NORDEX ENERGY SE & CO KG [DE]
ZF FRIEDRICHSHAFEN AG [DE]
Nordex Energy SE & Co. KG,
ZF Friedrichshafen AG
US_20260055806_PA

Resumen de: US20260055806A1

In at least one embodiment, the assembly for a gearbox for a wind turbine includes a housing element, a rotational element, a bearing, a first connection feature for connecting the housing element to a connection element and a second connection feature for connecting the rotational element to the connection element. The rotational element is arranged rotatably with respect to the housing element via the bearing. At least one of the first and the second connection feature is configured to form a movable, form-fitting connection such that, when the housing element and the rotational element are connected to the connection element via the first and the second connection feature, a relative axial movement between the rotational element and the housing element is prevented but a relative rotation between the rotational element and the housing element is enabled.

Base for Supporting a Portable Crane and a Method for Removing a Main Bearing of a Wind Turbine

NºPublicación:  US20260054967A1 26/02/2026
Solicitante: 
LIFTRA IP APS [DK]
LIFTRA IP APS
US_20260054967_PA

Resumen de: US20260054967A1

A base for supporting a portable crane for handling components of a wind turbine is described. The base is mountable on the wind turbine, and configured to be switched between a first configuration and a second configuration. In the first configuration the base is configured for being supported by a main bearing of the wind turbine to allow the portable crane to lift a gearbox of the wind turbine. In the second configuration the base is configured for being supported by a bed plate of a nacelle of the wind turbine to allow the portable crane to lift the main bearing. The base is configured for supporting the portable crane while switching between the first configuration and the second configuration. A method for removing a main bearing of a wind turbine is also disclosed.

ISOLATED HYBRID PLANT

NºPublicación:  US20260058477A1 26/02/2026
Solicitante: 
WOBBEN PROPERTIES GMBH [DE]
Wobben Properties GmbH
US_20260058477_PA

Resumen de: US20260058477A1

In one aspect, an electrical grid for an isolated hybrid power plant includes a first grid section configured to be connected to at least one wind power installation, be connected to at least one gas production installation, and transport an electrical power generated by the wind power installation to the at least one gas production installation; a second grid section configured to be connected to the at least one gas production installation; and a grid converter configured to electrically connect the first grid section and the second grid section to one another and bidirectionally exchange electrical power between the first electrical grid section and the second electrical grid section.

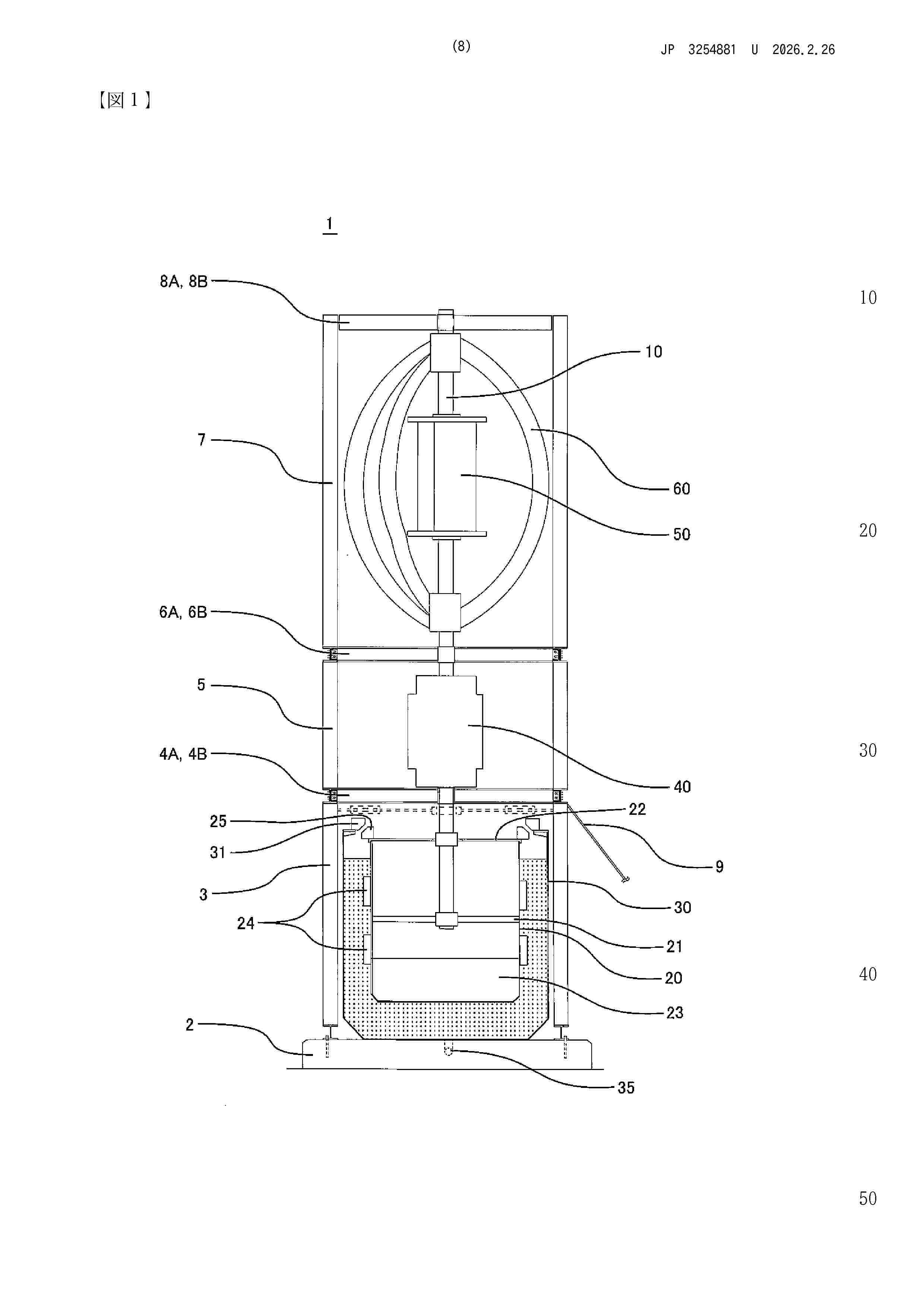
風力発電装置

NºPublicación:  JP3254881U 26/02/2026
Solicitante: 
藤崎早苗男
JP_3254881_U

Resumen de: JP3254881U

【課題】低速回転域と高速回転域の両域において発電効率の向上が可能な風力発電装置を提供する。【解決手段】風力発電装置1は、軸方向が垂直方向に配置された回転軸10と、前記回転軸に取り付けられ前記回転軸を中心に回転する風車50、60と、前記回転軸の回転を電気に変換する発電機40と、前記回転軸に固定され、前記回転軸とともに回転する内槽20と、前記回転軸の下部と前記内槽の下部を内部に収容する外槽30と、を有し、前記内槽と前記外槽との間に液体が充填されている。【選択図】図1

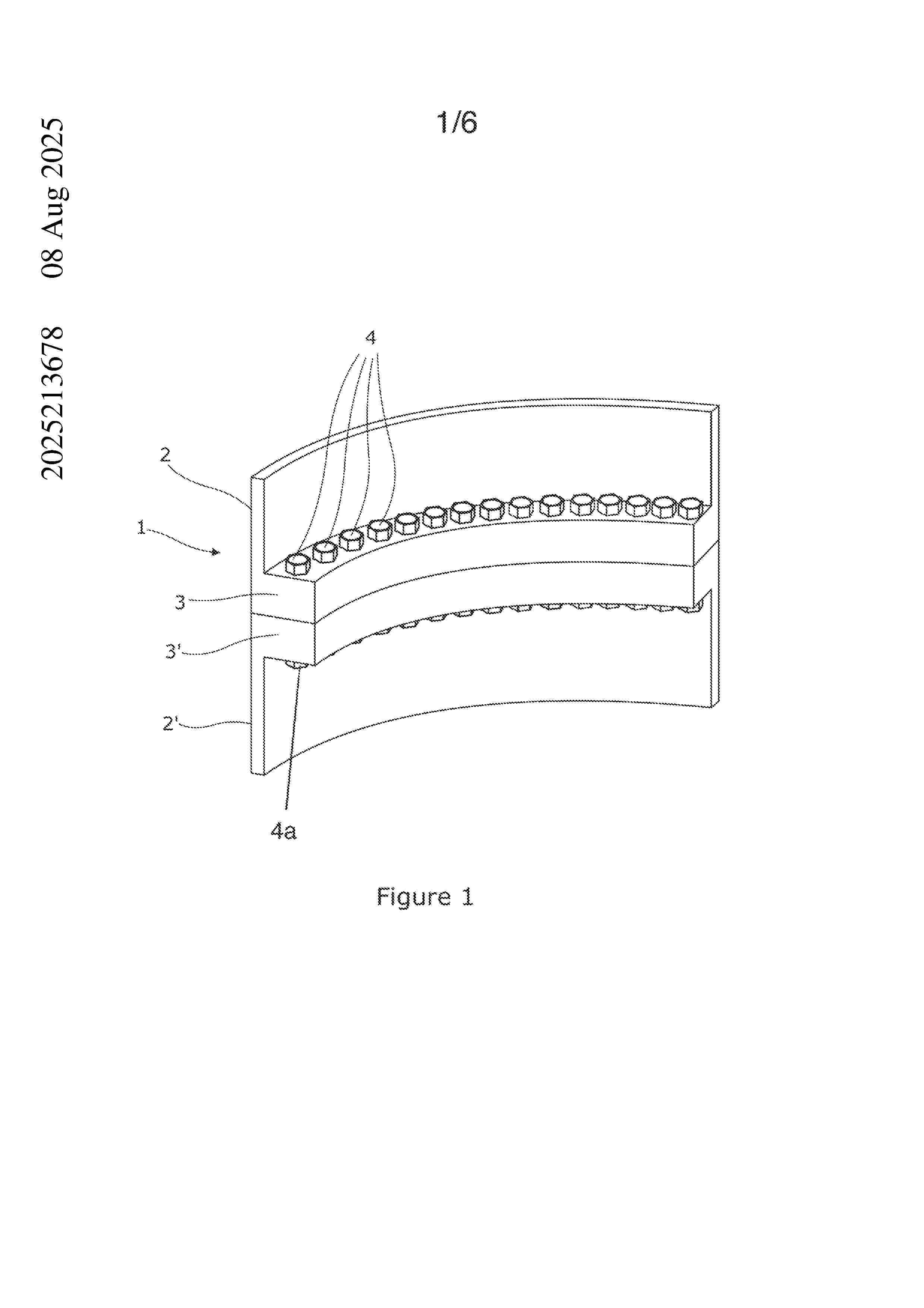
Apparatus and method for sealing and monitoring a bolted flange joint

NºPublicación:  AU2025213678A1 26/02/2026
Solicitante: 
HARITOU CHRISTOS SOTIRIOUS
FADA ALAN
Haritou, Christos Sotirious,
Fada, Alan
AU_2025213678_A1

Resumen de: AU2025213678A1

Abstract Apparatus and Method for Sealing and Monitoring a Bolted Flange Joint Bolted flange joint sealing and monitoring apparatus is disclosed for a bolted flange joint comprising two flanges abutting one another at an interface, each flange having a series of holes therein, the holes of the two flanges of the joint aligned and receiving a bolt therein, and the abutting flanges providing an inner surface and an outer surface. The sealing and monitoring apparatus provides a seal on the inner surface of the interface. The sealing and monitoring apparatus includes: a first, frangible, sealant applied to the interface on the inner surface; a first layer of sheet material overlying the first sealant and adapted to provide an air space; a second layer of sheet material overlying the first layer of sheet material; a second sealant overlying the second layer such that the air space is air tight; a vacuum source in fluid communication with the air space; and vacuum monitoring means to monitor the status of a vacuum created in the air space. Abstract Apparatus and Method for Sealing and Monitoring a Bolted Flange Joint Bolted flange joint sealing and monitoring apparatus is disclosed for a bolted flange joint comprising two flanges abutting one another at an interface, each flange having a series of holes therein, the holes of the two flanges of the joint aligned and receiving a bolt therein, and the abutting flanges providing an inner surface and an outer surface. The sealing and mo

METHOD AND APPARATUS FOR TURBINE BLADE PROTECTION

NºPublicación:  AU2024327176A1 26/02/2026
Solicitante: 
EDGE SOLUTIONS LTD
EDGE SOLUTIONS LIMITED
AU_2024327176_PA

Resumen de: AU2024327176A1

There is provided herein method and apparatus for turbine blade protection. In particular, there is provided a method for protecting a wind turbine blade or part thereof by an erosion shield comprising a polymer composition, the method comprising the steps of: receiving geometric data of at least a portion of a wind turbine blade to be protected; selecting an erosion shield based at least in part on an offset of the received geometric data; and optionally applying the erosion shield to the portion of the wind turbine blade to be protected using an adhesive, the adhesive being arranged between the erosion shield and the portion of the wind turbine blade to be protected.

GEARBOX UNIT AND WIND POWER GENERATION DEVICE

NºPublicación:  AU2024438852A1 26/02/2026
Solicitante: 
ENVISION ENERGY CO LTD
ENVISION ENERGY CO., LTD
AU_2024438852_PA

Resumen de: AU2024438852A1

The disclosure is directed to a gearbox unit for a wind power generation device (2), comprising a gearbox (14); an oil supply system (30) for cooling and/or lubricating the gearbox (14), the oil supply system (30) comprising an electrical pump (32) discharging the lubricant; a primary power source (34); a backup power source (36); and a power controller (38) configured to control a supply of the electrical power from the primary power source (34) and the backup power source (36) to the electrical pump (32). Further, the disclosure is directed to a wind power generation device (2) comprising a rotor (6); a main shaft (18); the gearbox unit; and a generator (16).

Geschlossenes, kühlrippenfreies Kühlöl-Tauchkühlsystem

NºPublicación:  DE102024123827A1 26/02/2026
Solicitante: 
WANG MENG THENG [TW]
Wang, Meng-Theng

Resumen de: DE102024123827A1

Ein geschlossenes, kühlrippenfreies Kühlöl-Tauchkühlsystem umfasst einen ersten Wärmetauscherkasten, einen zweiten Wärmetauscherkasten und eine Kältemaschine, wobei die Kältemittelleitung der Kältemaschine in den zweiten Wärmetauscherkasten reicht und in das Kühlöl eingetaucht ist und die Kältemaschine ein Kältemittel durch die Kältemittelleitung zirkuliert, sodass das abgekühlte Kältemittel über die Kältemittelleitung Wärme mit dem im zweiten Wärmetauscherkasten befindlichen Kühlöl austauscht, wobei das gekühlte Kühlöl in den ersten Wärmetauscherkasten eingeführt wird, um zur Aufnahme der Wärme einen Wärmeaustausch mit dem wärmeerzeugenden Körper durchzuführen, wobei das Kühlöl mit erhöhter Temperatur zum zweiten Wärmetauscherkasten zurückgeführt wird, um einen Wärmeaustausch zur Senkung der Temperatur durchzuführen, wobei sich dieser Zyklus fortsetzt.

Verfahren und Anordnung zur Vorbereitung und/oder Durchführung von Instandsetzungsarbeiten bei einer Windenergieanlage sowie Windenergieanlage

NºPublicación:  DE102024208063A1 26/02/2026
Solicitante: 
FRAUNHOFER GES FORSCHUNG [DE]
Fraunhofer-Gesellschaft zur F\u00F6rderung der angewandten Forschung eingetragener Verein

Resumen de: DE102024208063A1

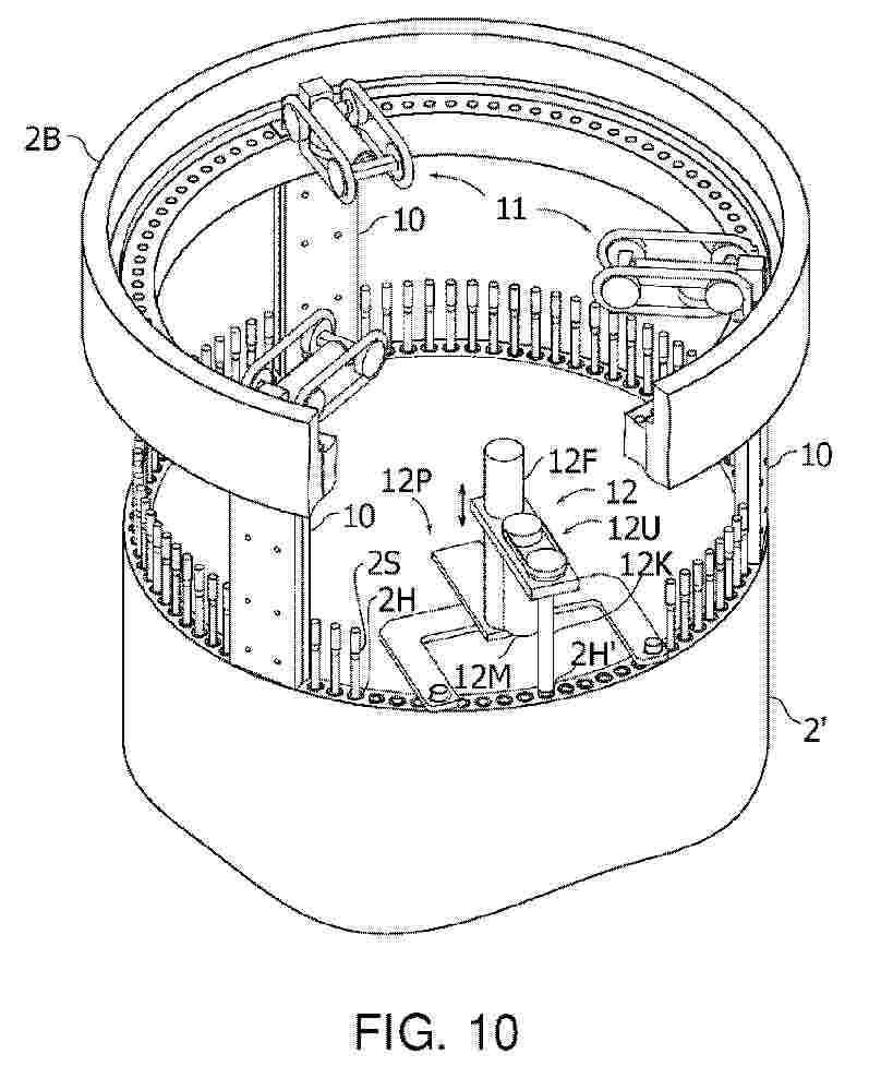
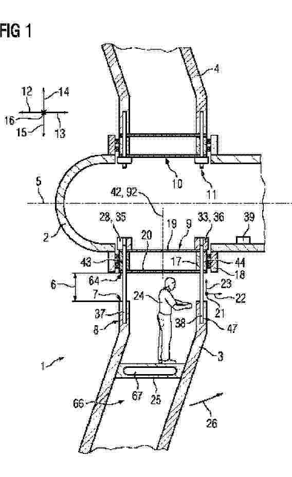
Die Erfindung betrifft ein Verfahren, aufweisend:a) Lösen einer existierenden Verbindung zwischen einem Rotorblatt (2, 2') und einer Rotornabe (3) einer Windenergieanlage (1);b) Verbinden des Rotorblatts (2, 2') mit wenigstens einer Hebevorrichtung (11), die dazu eingerichtet ist, einen Abstand zwischen dem Rotorblatt (2, 2') und der Rotornabe (3) zu variieren;c) Vergrößern des Abstandes zwischen Rotorblatt (2, 2') und Rotornabe (3) mittels der Hebevorrichtung (11);d) Anordnen wenigstens eines Abstandshalters (10) zwischen dem Rotorblatt (2, 2') und der Rotornabe (3);Aufbringen einer Klemmkraft auf den Abstandshalter (10) durch Verringern des Abstandes zwischen Rotorblatt (2, 2') und Rotornabe (3) mittels der Hebevorrichtung (11).Die Erfindung betrifft auch eine Anordnung und eine Windenergieanlage.

METHOD AND ARRANGEMENT FOR PREPARING AND/OR CARRYING OUT MAINTENANCE WORK IN A WIND TURBINE, AND WIND TURBINE

NºPublicación:  WO2026041761A1 26/02/2026
Solicitante: 
FRAUNHOFER GES ZUR FOERDERUNG DER ANGEWANDTEN FORSCHUNG E V [DE]
FRAUNHOFER-GESELLSCHAFT ZUR F\u00D6RDERUNG DER ANGEWANDTEN FORSCHUNG E.V
WO_2026041761_PA

Resumen de: WO2026041761A1

The invention relates to a method, comprising; a) detaching an existing connection between a rotor blade (2, 2') and a rotor hub (3) of a wind turbine (1); b) connecting the rotor blade (2, 2') to at least one lifting device (11) which is designed to vary a distance between the rotor blade (2, 2') and the rotor hub (3); c) increasing the distance between the rotor blade (2, 2') and the rotor hub (3) by means of the lifting device (11); d) arranging at least one spacer (10) between the rotor blade (2, 2') and the rotor hub (3); e) applying a clamping force to the spacer (10) by reducing the distance between the rotor blade (2, 2') and the rotor hub (3) by means of the lifting device (11). The invention also relates to an arrangement and to a wind turbine.

A METHOD OF INSPECTING A WIND TURBINE BLADE PART

NºPublicación:  WO2026041205A1 26/02/2026
Solicitante: 
VESTAS WIND SYSTEMS AS [DK]
VESTAS WIND SYSTEMS A/S
WO_2026041205_PA

Resumen de: WO2026041205A1

In a first aspect of the present invention there is provided a method of inspecting a wind turbine blade part. The method comprises providing a wind turbine blade part comprising a composite shell and a plurality of inserts embedded in the composite shell. The composite shell defines a shell surface. The blade part extends longitudinally in a spanwise direction between an inboard end and an outboard end. The blade part is attached to a supporting apparatus via the inserts. The method further comprises providing an array of strain gauges. The method further comprises arranging the array of strain gauges in an inspection region of the blade part such that each strain gauge is positioned proximal to a respective portion of the composite shell comprising at least one insert. The method further comprises measuring the strain of each respective portion of the composite shell using the array of strain gauges. Optionally, the method may further comprise evaluating the strain measured by a strain gauge in the array in comparison to the strain measured by one or more neighbouring strain gauges in the array.

A METHOD OF INSPECTING A WIND TURBINE

NºPublicación:  WO2026041203A1 26/02/2026
Solicitante: 
VESTAS WIND SYSTEMS AS [DK]
VESTAS WIND SYSTEMS A/S
WO_2026041203_PA

Resumen de: WO2026041203A1

In a first aspect of the present invention there is provided a method of inspecting a wind turbine comprising a rotor rotatably coupled to a nacelle. The rotor comprises a blade part attached to a hub assembly, and the blade part extends longitudinally between an inboard end and an outboard end along a spanwise axis. The blade part comprises a composite shell and an array of inserts embedded in the composite shell. The composite shell defines substantially hollow interior such that the composite shell comprises an exterior surface and an interior surface. The blade part is attached to the hub assembly via the array of inserts. The method comprises providing a pair of displacement sensors comprising a first displacement sensor and a second displacement sensor. The method comprises positioning the first displacement sensor to measure a first distance representative of a first spanwise distance between the hub assembly and the exterior surface of a portion of the composite shell comprising at least one insert. The method further comprises positioning the second displacement sensor to measure a second distance representative of a second spanwise distance between the hub assembly and the interior surface of the portion of the composite shell. The method further comprises moving the blade part by rotating the rotor and/or by pitching the blade part such that a varying load is applied to the portion of the composite shell comprising the at least one insert during a measurement time

WIND TURBINE INSPECTION METHOD

NºPublicación:  WO2026041204A1 26/02/2026
Solicitante: 
VESTAS WIND SYSTEMS AS [DK]
VESTAS WIND SYSTEMS A/S
WO_2026041204_PA

Resumen de: WO2026041204A1

In a first aspect of the present invention there is provided a method of inspecting a wind turbine comprising a rotor rotatably coupled to a nacelle. The rotor comprises a wind turbine blade rotatably coupled to a hub assembly. The wind turbine blade comprises a blade part, and the blade part extends longitudinally between an inboard end and an outboard end along a spanwise axis. The blade part comprises a composite shell, and the blade part is attached to the hub assembly or to another blade part via an array of inserts embedded in the composite shell. The method comprises providing sensing apparatus comprising a plurality of sensors, and arranging the sensing apparatus such that each sensor is configured to sense a load response behaviour of a respective portion of the composite shell comprising at least one insert. The method further comprises arranging the rotor in a first orientation in which the spanwise axis of the blade part extends substantially horizontally. The method further comprises rotating the wind turbine blade relative to the hub assembly through a range of pitch angles such that the array of inserts is rotated relative to the hub assembly and such that the load response behaviour of the respective portions of the composite shell varies. The method further comprises sensing, using the sensing apparatus, the variation in the load response behaviour of the respective portions of the composite shell when the wind turbine blade is rotated through the range of pi

A WIND TURBINE

NºPublicación:  WO2026041202A1 26/02/2026
Solicitante: 
VESTAS WIND SYSTEMS AS [DK]
VESTAS WIND SYSTEMS A/S
WO_2026041202_PA

Resumen de: WO2026041202A1

In a first aspect of the present invention there is provided a wind turbine comprising a rotor rotatably coupled to a nacelle. The rotor comprises a hub assembly and a blade part rotatably coupled to the hub assembly. The blade part extends longitudinally in a spanwise direction between an inboard end and an outboard end. The wind turbine further comprises a displacement sensor attached to the hub assembly and a plurality of sensor targets attached to the blade part to rotate relative to the displacement sensor when the blade part is rotated relative to the hub assembly. The displacement sensor is arranged to interact with each sensor target to measure a distance between the displacement sensor and the respective sensor target in a measurement direction substantially parallel to the spanwise direction of the blade part. Accordingly, the displacement sensor is arranged to interact with the plurality of sensor targets to measure a plurality of distances between the displacement sensor and the plurality of sensor targets when the blade part is rotated relative to the hub assembly.

WIND TURBINE, CONTROL SYSTEM AND METHOD FOR OPERATING A WIND TURBINE DURING IDLING

Nº publicación: WO2026041426A1 26/02/2026

Solicitante:

SIEMENS GAMESA RENEWABLE ENERGY AS [DK]
SIEMENS GAMESA RENEWABLE ENERGY A/S

WO_2026041426_PA

Resumen de: WO2026041426A1

A wind turbine, control system and method for operating a wind turbine during idling, the method comprising establishing two or more idling modes, the two or more idling modes including a first idling mode and a second idling mode, wherein the second idling mode comprises operating a wind rotor of the wind turbine at a higher rotational velocity than the first idling mode, determining an idling mode from the two or more idling modes, based at least in part on one or more fixed preference parameters and/or a measured parameter, the determination being related to an aerodynamic damping criterion and to an off-grid power generation requirement criterion, and selecting the idling mode resulting from the determination, when at least one of the criterions is fulfilled, and operating the wind turbine in said idling mode.

traducir