Ministerio de Industria, Turismo y Comercio LogoMinisterior
 

Alerta

Resultados 463 resultados
LastUpdate Última actualización 25/04/2026 [07:54:00]
pdfxls
Solicitudes publicadas en los últimos 15 días / Applications published in the last 15 days
previousPage Resultados 75 a 100 de 463 nextPage  

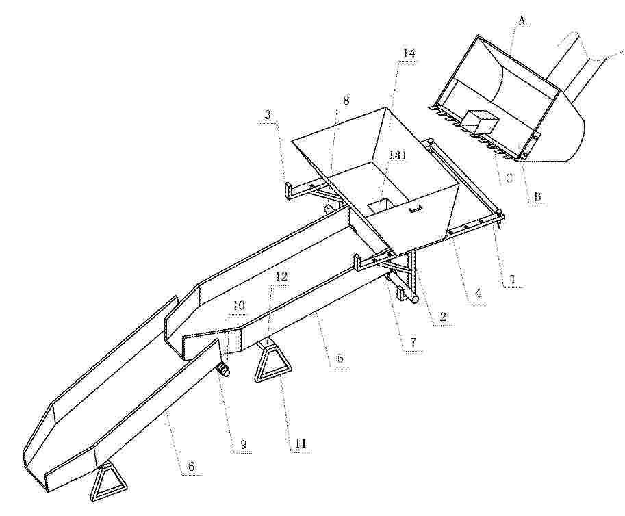
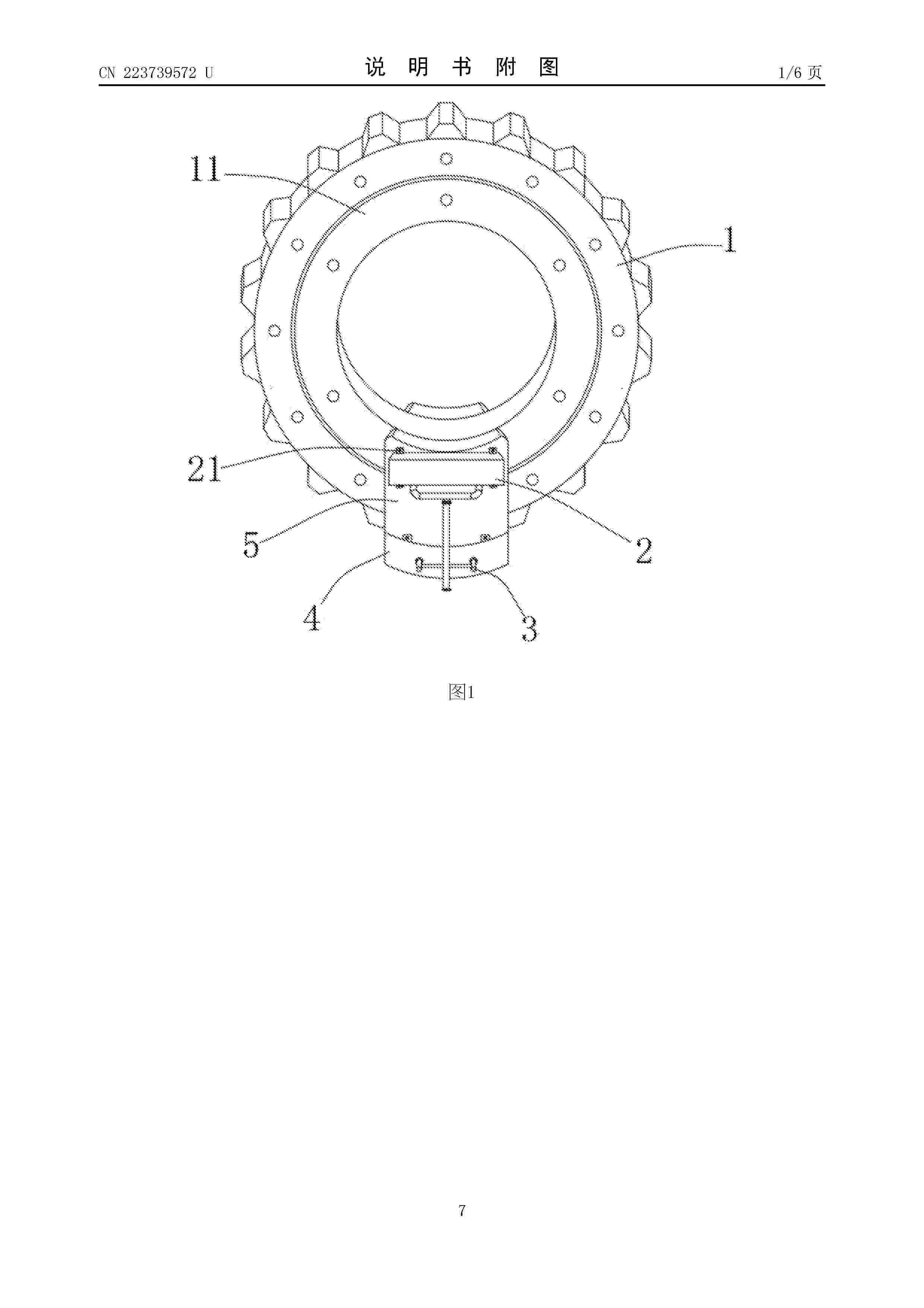
Semi-submersible offshore floating fan mounting platform

NºPublicación:  CN223821970U 23/01/2026
Solicitante: 
DALIAN SHIPBUILDING IND CO LTD
\u5927\u8FDE\u8239\u8236\u91CD\u5DE5\u96C6\u56E2\u6709\u9650\u516C\u53F8
CN_223821970_U

Resumen de: CN223821970U

A semi-submersible offshore floating type fan installation platform comprises a fan installation platform body and a three-stand-column type fan foundation, the fan installation platform body moves towards the three-stand-column type fan foundation, one stand column of the three-stand-column type fan foundation is provided with a conical groove and a fan floating body winch, and the installation platform body is provided with a butt joint groove and a platform winch. A stand column with a conical groove is inserted into the butt joint groove, a mooring rope is arranged between the fan floating body winch and the platform winch, hydraulic anti-collision devices at the two ends are started to clamp the stand column, and after the stand column is fixed, a hydraulic bolt is started, and a hydraulic rod of a locking hydraulic cylinder is inserted into the conical groove to be fixed. The floating body of the floating fan and the platform can be combined into a floating structure in an operation sea area of the floating fan, and the floating body and the platform are relatively static, so that good conditions are provided for fan installation, and the installation operation of the floating fan on the sea is completed. And the offshore installation operation of the floating fan is realized.

Anti-corrosion protection equipment for offshore wind power tower drum

NºPublicación:  CN223825175U 23/01/2026
Solicitante: 
JIANGSU TIANNENG MARINE HEAVY IND CO LTD
\u6C5F\u82CF\u5929\u80FD\u6D77\u6D0B\u91CD\u5DE5\u6709\u9650\u516C\u53F8
CN_223825175_U

Resumen de: CN223825175U

The utility model discloses an anti-corrosion protective device for an offshore wind power tower drum, which relates to the technical field of protective devices and comprises two symmetrically arranged semicircular mounting sleeves and two symmetrically arranged semicircular stroke sleeves, the semicircular mounting sleeves are sleeved on the outer drum walls of the semicircular stroke sleeves, and the semicircular stroke sleeves are sleeved on the outer drum walls of the semicircular stroke sleeves. A stroke block is fixedly connected to the outer cylinder wall of the semicircular stroke sleeve, a matched stroke groove corresponding to the stroke block is formed in the cylinder wall of the semicircular mounting sleeve, the offshore wind power tower cylinder can be effectively prevented from being collided through the arrangement of the mounting sleeve and the stroke sleeve, and a floating plate on the semicircular stroke sleeve can generate buoyancy along with the impact of sea waves. The buoyancy of the floating plate can drive the cleaning semi-ring in the semicircular stroke sleeve to clean the outer wall of the offshore wind power tower, dirt and marine organisms attached to the outer wall of the offshore wind power tower can be effectively scraped off, and the offshore wind power tower can be effectively prevented from being corroded.

MOORING SYSTEM

NºPublicación:  US20260022686A1 22/01/2026
Solicitante: 
GAZELLE WIND POWER LTD [IE]
GAZELLE WIND POWER LIMITED
US_20260022686_PA

Resumen de: US20260022686A1

The invention relates to a mooring system comprising a floating platform (1) with a plurality of mooring lines (7) configured to fix or anchor the floating platform (1) to the seabed by means of a bottom section (71) of each mooring line (7), wherein each mooring line (7) also comprises a central section (72) joined to a counterweight (8), wherein tilting arms (2) are joined by means of an articulated joint (3) to a main structure (4) of the floating platform (1), wherein each tilting arm (2) comprises an inner section (21) and an outer section (22), wherein the bottom section (71) and the central section (72) of each mooring line (7) are respectively joined to a terminal end of the outer section (22) and to a terminal end of the inner section (21) of each tilting arm (2).

SEMI-SUBMERSIBLE PLATFORM FOR A WIND TURBINE SUPPORT

NºPublicación:  US20260022687A1 22/01/2026
Solicitante: 
DRAGADOS S A [ES]
DRAGADOS S.A
US_20260022687_PA

Resumen de: US20260022687A1

A semi-submersible platform for supporting wind turbines comprising a mixed structure with two portions: a first concrete caisson-type structure, which serves as hydrodynamic stability and flotation of the platform, consisting of: a hollow, closed base plate, and cylindrical and/or frustoconical-shaped bodies, the bases of which are embedded in the base plate, in areas close to the vertices thereof, which are closed at the top by covers; and, a second structure formed by a transition piece that connects the base plate to the lower end of the tower of the wind turbine at connection points, located on each side of the base plate, distributing the service loads of the wind turbine towards the concrete caisson-type structure.

TENSION LEG PLATFORM ASSEMBLY, MOORING ASSEMBLY AND CONNECTOR ASSEMBLY

NºPublicación:  WO2026017251A1 22/01/2026
Solicitante: 
BLUEWATER ENERGY SERVICES B V [NL]
BLUEWATER ENERGY SERVICES B.V
WO_2026017251_PA

Resumen de: WO2026017251A1

A tension leg platform assembly is provided, comprising a buoyant body and a number of mooring assemblies attached thereto, which extend between the buoyant body and a fixed foundation on the seabed. Each mooring assembly comprises at least one elongate member having an upper end and an opposite lower end. At least one of said upper end and lower end by means of a connector assembly is connected to the buoyant body or the fixed foundation, respectively. Said connector assembly is provided with a first yoke which is connected to the buoyant body or fixed foundation for a rotation around a first axis which extends substantially horizontally at a first level, and a second yoke attached to the elongate member which is mounted in the first yoke for a rotation around a second axis which extends substantially perpendicularly to the first axis at a second level. The second level is further away from the upper end or lower end, respectively, of the elongate member than the first level.

FLOATER FOR FLOATING OFFSHORE WIND POWER GENERATOR AND ASSEMBLY METHOD THEREFOR

NºPublicación:  WO2026019171A1 22/01/2026
Solicitante: 
SAMSUNG HEAVY IND CO LTD [KR]
\uC0BC\uC131\uC911\uACF5\uC5C5 \uC8FC\uC2DD\uD68C\uC0AC
WO_2026019171_PA

Resumen de: WO2026019171A1

Disclosed is a floater for a floating offshore wind power generator, comprising: columns; and connection structures connecting the columns. According to a first embodiment, each of the columns may be provided with a sliding groove having an open upper end and extending in a vertical direction. Each of the connection structures may be slidably coupled to the sliding groove through the open upper end. According to a second embodiment, the columns may comprise: a central column having a wind power generator coupled to the top surface thereof; and a plurality of outer columns spaced apart from each other at regular angular intervals around the central column and providing buoyancy. The connection structures may comprise: an internal connection structure installed between the central column and the outer columns to establish an internal connection arrangement; and an external connection structure installed between the plurality of outer columns to establish an external connection arrangement.

TENDON FOR A TENSION LEG PLATFORM AND TENSION LEG PLATFORM INCLUDING SUCH TENDON

NºPublicación:  EP4680521A1 21/01/2026
Solicitante: 
CABIN AIR GROUP BV [NL]
Cabin Air Group B.V
CN_121100091_PA

Resumen de: AU2024234263A1

A tendon (224) for a tension leg platform (202), TLP, is provided. The TLP comprises a foundation (206), connectable to a bottom (208) of a body of water, and a buoyant hull (216). The tendon has a length, a proximal end (223), and a distal end (225). The tendon comprises a proximal end fitting at the proximal end and a distal end fitting at the distal end. The tendon is connectable with the proximal end fitting to the hull and with the distal end to the foundation to provide a pulling force on the hull. The length of the tendon is at least 300 meters. The tendon comprises basalt fibres for transferring the pulling force from the proximal end fitting to the distal end fitting.

Portable mooring type floating power generation device

NºPublicación:  CN223806237U 16/01/2026
Solicitante: 
WUHAN INSTITUTE OF SHIPBUILDING TECH
\u6B66\u6C49\u8239\u8236\u804C\u4E1A\u6280\u672F\u5B66\u9662
CN_223806237_U

Resumen de: CN223806237U

The utility model relates to the technical field of floating power generation, in particular to a portable mooring type floating power generation device which comprises a floating air bag, an air inlet duct is formed in the floating air bag, a wind driven generator is detachably installed on the inner wall of the air inlet duct through a connecting structure, and fan blades are fixed to an output shaft of the wind driven generator. The connecting structure is arranged between a shell of the wind driven generator and the inner wall of the tail end of the floating air bag and comprises two sets of fixing rods fixed to the shell of the wind driven generator, the outer ends of the fixing rods in each set are jointly connected with a fixing ring, and clamping heads corresponding to the fixing rods are fixed to the inner wall of the floating air bag. The two groups of clamping heads are oppositely arranged; the connecting piece is arranged between a pair of opposite clamping heads. The joints of the fixing rings and the fixing rods are clamped into the clamping connectors, then the joints of the two fixing rings and the two fixing rods abut against the interiors of the corresponding clamping connectors through the fixed sleeves and the movable sleeves, and the installation mode is simple and rapid.

Wind-powered computing buoy

NºPublicación:  AU2025283585A1 15/01/2026
Solicitante: 
LONE GULL HOLDINGS LTD
Lone Gull Holdings, Ltd
AU_2025283585_A1

Resumen de: AU2025283585A1

WIND-POWERED COMPUTING BUOY Disclosed is a novel type of computing apparatus which is integrated within a buoy that obtains the energy required to power its computing operations from winds that travel across the surface of the body of water on which the buoy floats. Additionally, these self-powered computing buoys utilize their close proximity to a body of water in order to significantly lower the cost and complexity of cooling their computing circuits. Computing tasks of an arbitrary nature are supported, as is the incorporation and/or utilization of computing circuits specialized for the execution of specific types of computing tasks. And, each buoy’s receipt of a computational task, and its return of a computational result, may be accomplished through the transmission of data across satellite links, fiber optic cables, LAN cables, radio, modulated light, microwaves, and/or any other channel, link, connection, and/or network. ec - e c

Suction Anchors and Their Methods of Manufacture

NºPublicación:  US20260015811A1 15/01/2026
Solicitante: 
RCAM TECH INC [US]
RCAM Technologies, Inc
US_20260015811_PA

Resumen de: US20260015811A1

In a general aspect, suction anchors are presented for securing structures to an underwater floor. The suction anchors include a tubular body formed at least in part of cementitious materials and having a closed end and an open end. The tubular body includes an edge defining an opening for the open end. The edge is configured to penetrate the underwater floor. The suction anchors also include a port configured to fluidly-couple a cavity within the tubular body to an exterior of the tubular body. The suction anchors additionally include a pad eye extending from an outer surface of the tubular body and configured to couple to a mooring line. In another aspect, methods of manufacturing the suction anchors are also presented.

BUOYANT SUPPORTS FOR FLOATING OFFSHORE WIND TURBINES

NºPublicación:  WO2026013445A1 15/01/2026
Solicitante: 
ACERGY FRANCE SAS [FR]
ACERGY FRANCE SAS
WO_2026013445_PA

Resumen de: WO2026013445A1

A floater for a floating offshore wind turbine comprises a turbine support and buoyancy structures connected to the turbine support by respective arms, each joined to a brace that is also joined to the turbine support. The floater is constructed by joining an inboard end of each arm to the turbine support at a lower fixing point, joining an inboard end of each brace to the turbine support at an upper fixing point, and joining an outboard end of each arm to a respective one of the buoyancy structures at an outer fixing point.

Reservoir-regulating digital load control

NºPublicación:  AU2025283459A1 15/01/2026
Solicitante: 
LONE GULL HOLDINGS LTD
Lone Gull Holdings, Ltd
AU_2025283459_A1

Resumen de: AU2025283459A1

Disclosed is a floating, self-regulating hydroelectric computer network comprising a water turbine, a hull adapted to float at a surface of a body of water and confine a water reservoir and impel a flow of pressurized water to the water turbine, an electrical generator operatively coupled to the water turbine, a power-conditioning module operatively connected to the electrical generator, an electrical load bus, a plurality of computers operatively connected to the power-conditioning module via the electrical load bus, a phased-array antenna operatively networked with the plurality of computers to transmit data from the plurality of computers to satellites, and a load manager configured to alter a rate of program execution of the plurality of computers. ec e c

SEMI-SUBMERSIBLE TRIMARAN FLOATING OFFSHORE WIND VESSEL WITH TURRET MOORING

NºPublicación:  US20260015065A1 15/01/2026
Solicitante: 
TRIVANE LTD [GB]
TRIVANE LTD
US_20260015065_PA

Resumen de: US20260015065A1

A floating structure (1) having three buoyant bodies (3,5,7) for supporting a horizontal axis wind turbine (6) and wind turbine tower (27). The floating structure (1) is provided with a geostationary mooring system that permits it to weathervane in order to head the wind turbine (6) into the wind, and has a wind turbine tower mount (29) for supporting the wind turbine tower (27). A central buoyant body (3) is located partially above water during assembly and tow out from port and is ballasted so that it is underwater when moored offshore, such that the floating structure (1) becomes a semi-submersible. The three buoyant bodies (3,5,7) are ship-shaped in form which reduces loads in the mooring system, and are made from stiffened flat plates, which are easier for many yards and fabrication shops to make, compared to cylindrical hulls.

METHOD FOR THE MASS PRODUCTION OF FLOATS FOR OFFSHORE WIND TURBINES

NºPublicación:  EP4676826A1 14/01/2026
Solicitante: 
SAIPEM SA [FR]
SAIPEM S.A
KR_20250155585_PA

Resumen de: CN120731167A

The invention relates to a method for the large-scale production of floats (2) for offshore wind turbines, each float being formed by the assembly of two to six steel unit giant blocks (B-1, B-2), the method comprising, in order: manufacturing the giant blocks on a dedicated building surface; transporting the giant blocks from the building surface by marine shipping and storing the giant blocks in a storage area (Z-1, Z-2) of a production surface (10) different from the building surface, the same giant blocks being stored on the same storage area; and a final pipelined manufacturing of the floats, comprising, for each float, the following steps in sequence: a step of preparing the giant blocks, a step of assembling and preliminarily welding the giant blocks together in an assembly and preliminary welding zone (Z-3), and a step of assembling and preliminarily welding the giant blocks together in the assembly and preliminary welding zone (Z-3). The assembly and preliminary welding area (Z-3) is different from and adjacent to the storage area, followed by a step of final welding of the giant blocks together in a final welding area (Z-4), and followed by a step of completing the float in a completion area (Z-5), wherein the floating giant blocks and floats move between different regions according to translational motion during manufacturing.

ELONGATE STRUCTURE AND CONSTRUCTION/ASSEMBLY METHOD

NºPublicación:  EP4677220A1 14/01/2026
Solicitante: 
OSBIT LTD [GB]
Osbit Limited
KR_20250160159_PA

Resumen de: WO2024184625A1

Apparatus and a method of providing a wind turbine (WT) are disclosed. The method comprises the steps of: at a lift position location, erecting a wind turbine portion that comprises at least one elongate tower and a nacelle member on an upper end region of the elongate tower and at least one blade member, by providing a lower tower section at the lift position location, lifting the lower tower section vertically via at least one lift support thereby providing a lifted tower section, urging at least one incoming further tower section to the lift position location, to a position under a preceding tower section, and securing a top region of the incoming further tower section to a lower region of a lifted preceding tower section; whereby lifting tower sections comprises providing tower sections, one-by-one, to the lift position location that is at a desired position proximate to at least one lift support, gripping an incoming tower section via at least one lift beam mounted on respective climber elements movable with respect to each lift support, and via the climber elements raising the gripped tower section upwards to a raised position.

FLOATING PLATFORMS THAT INCLUDE VERTICALLY ARRANGED MOORING SYSTEMS

NºPublicación:  EP4676821A1 14/01/2026
Solicitante: 
MODEC INT INC [US]
Modec International Inc
KR_20250160349_PA

Resumen de: WO2024186911A1

Offshore floating platform systems and processes for mooring same, In some embodiments, the offshore floating platform system can include a hull structure configured to float on a surface of a body of water, one or more anchors configured to be secured to a seabed, and one or more mooring lines configured to be connected to the hull structure at a first end thereof and to the anchor at a second end thereof. When the one or more anchors are secured to the seabed and the one or more mooring lines are connected to the hull structure and a corresponding anchor, the mooring lines can be substantially vertical and a peak response period of the offshore floating platform system in a pitch or a roll direction can be greater than a peak spectral period of a wave spectrum on the surface of the body of water.

COUNTERWEIGHT FOR SEMI-SUBMERSIBLE FLOAT OF OFFSHORE WIND TURBINE AND INSTALLATION METHOD THEREFOR

NºPublicación:  EP4677222A1 14/01/2026
Solicitante: 
SAIPEM SA [FR]
SAIPEM S.A
KR_20250153848_PA

Resumen de: WO2024184604A1

The invention relates to a counterweight (2) for a semi-submersible float of an offshore wind turbine, which can be configured to be in a sinking state or a floating state, comprising a counterweight main structure (4) made of a material making it sink when immersed in water, and a plurality of airbags (6, 6') detachably attached to the main structure so as to make the counterweight float when the airbags are inflated. The invention also relates to a method for installing such a counterweight.

FLOATING PLATFORM

NºPublicación:  EP4678528A1 14/01/2026
Solicitante: 
GAZELLE WIND POWER LTD [IE]
GAZELLE WIND POWER LIMITED
EP_4678528_PA

Resumen de: EP4678528A1

A floating platform (1) comprising a pedestal frame (100) configured to serve as a support for a structure, wherein the pedestal frame (100) is attached to a bottom plate (200) by means of a plurality of pillars (300) such that, in operating condition, the pedestal frame (100) is supported by the bottom plate (200) by means of the pillars (300), wherein the floating platform (1) comprises a plurality of immersion floats (400) projecting from the bottom plate (200) to an intermediate distance between the bottom plate (200) and the maximum height above the bottom plate (200) of the pillars (300). It also includes a geometry that allows the platform to be manufactured exclusively with flat panels.

Modularized floating type offshore wind power platform

NºPublicación:  CN223778529U 09/01/2026
Solicitante: 
MING YANG SMART ENERGY GROUP CO LTD
\u660E\u9633\u667A\u6167\u80FD\u6E90\u96C6\u56E2\u80A1\u4EFD\u516C\u53F8
CN_223778529_U

Resumen de: CN223778529U

The utility model discloses a modularized floating type offshore wind power platform which comprises a prefabricated center body and a plurality of prefabricated buoyancy cabins, the prefabricated center body is of a steel structure, one ends of the prefabricated buoyancy cabins are connected with the prefabricated center body, the other ends of the prefabricated buoyancy cabins are arranged in a radial mode, and the prefabricated buoyancy cabins are of reinforced concrete structures. And a plurality of split prefabricated modules are connected in sequence. The floating type offshore wind power platform can effectively solve the problems that the concrete wall of the floating type offshore wind power platform is prone to cracking, seawater permeates to corrode the steel bars, fracture and damage of the steel bars are accelerated, and the platform loses efficacy.

FLOATING WIND TURBINE OR EQUIPMENT FOUNDATIONS

NºPublicación:  WO2026008741A1 08/01/2026
Solicitante: 
AKER SOLUTIONS AS [NO]
AKER SOLUTIONS AS

Resumen de: WO2026008741A1

A floatable foundation (100) for a wind turbine generator and/or electrical equipment (61), the foundation (100) comprising: a central column structure (10,11,12); at least three outer column members (20,21,22) disposed about the central column structure (10,11,12); at least three horizontally extending lower connection members, such as pontoon members (30,31,32), each horizontally extending lower connection member fixed to and extending between the central column structure (10,11,12) and a respective one of the at least three outer column members (20,21,22); and three horizontally extending upper connection members, such as beam members (40,41,42), each horizontally extending upper connection member fixed to and extending between the central column structure (10,11,12) and a respective one of the at least three outer column members (20,21,22), wherein each column member (20,21,22) comprises a ballast tank (81) configured for holding water ballast and the ballast tank (81) vertically spans a design waterline (91) of the respective column member (20,21,22).

FLOATING STORAGE STRUCTURE FOR STORING AFLOAT A CONSTITUENT MEMBER OF ONE OR MORE FLOATING WIND TURBINES

NºPublicación:  WO2026008940A1 08/01/2026
Solicitante: 
SAFIER INGENIERIE [FR]
SAFIER INGENIERIE
FR_3164182_PA

Resumen de: WO2026008940A1

The present invention relates to a floating storage structure (2) for storing afloat a constituent member one or more floating wind turbines (4), comprising a flotation means comprising at least one flotation member (20) intended to be submerged and at least one flotation element (22) secured to the flotation member (20), the floating storage platform (2) comprising at least one volume (12) for receiving a constituent member of the floating wind turbine (4).

RELOCATABLE QUAYS TO DEPLOY AND RECOVER FLOATING UNITS

NºPublicación:  WO2026009031A1 08/01/2026
Solicitante: 
TECHNIP ENERGIES FRANCE [FR]
TECHNIP ENERGIES FRANCE
WO_2026009031_PA

Resumen de: WO2026009031A1

A relocatable quay includes a deck that is relocatable in a body of water adjacent a stationary quay. The deck is positioned at the stationary quay to receive a floating unit. The relocatable quay also includes an elevator system positionable to raise and lower the deck to receive the floating unit from the stationary quay and to deploy the floating unit into the body of water.

DYNAMIC CABLE SUPPORT FOR FLOATING OFFSHORE WIND TURBINES

NºPublicación:  US20260011995A1 08/01/2026
Solicitante: 
SCHLUMBERGER TECH CORPORATION [US]
Schlumberger Technology Corporation
US_20260011995_PA

Resumen de: US20260011995A1

An apparatus that a wind turbine configured for floating on a surface of water, wherein the wind turbine is operable to generate electrical energy. The wind turbine can include a floating base configured to support the wind turbine on the surface of water, and a cable configured to transmit the electrical energy. The wind turbine can also include a first sheave configured to support a part of the cable, and a second sheave configured to support a part of the cable. The cable is reeved between the first sheave and second sheave, and the first sheave is operable to impart a predetermined force to the cable to thereby maintain the cable at a predetermined tension.

A hull structure for a semi-submersible wind power turbine platform

NºPublicación:  SE2451205A1 07/01/2026
Solicitante: 
BASSOE TECH AB [SE]
Bassoe Technology AB

MOORING LINE FOR A FLOATING PLATFORM, INCLUDING A SEGMENT COMPRISING AN ELASTOMERIC MATERIAL

Nº publicación: EP4674745A1 07/01/2026

Solicitante:

TOTALENERGIES ONETECH [FR]
TECHLAM [FR]
TotalEnergies OneTech,
Techlam

EP_4674745_PA

Resumen de: EP4674745A1

A mooring including a segment (24) comprising two extremities (26, 28), and strands (30) comprising an elastomeric material and extending between the two extremities along a longitudinal direction (L) when the strands are subject to tensioning efforts,each of the strands having two end parts (44) and a median part (46) along the longitudinal direction,the median part having a cross-section (8) with an elongated shape in a first transverse direction (T1) perpendicular to the longitudinal direction, and a width (L2) in a second transverse direction (T2) perpendicular to the first transverse direction,at least one of the two extremities comprising steel and being adapted for applying the tensioning efforts,one of the two end parts having an enlarged portion (52) with a maximum width (L3) along the second transverse direction when the strands are at rest and parallel to each other, the maximum width being greater than the width (L2).

traducir