Ministerio de Industria, Turismo y Comercio LogoMinisterior
 

Alerta

Resultados 463 resultados
LastUpdate Última actualización 25/04/2026 [07:54:00]
pdfxls
Solicitudes publicadas en los últimos 15 días / Applications published in the last 15 days
previousPage Resultados 325 a 350 de 463 nextPage  

一种低压交流风力发电变桨驱动器散热装置

NºPublicación:  CN224120345U 14/04/2026
Solicitante: 
青岛池华电气科技有限公司
CN_224120345_U

Resumen de: CN224120345U

本实用新型公开了一种低压交流风力发电变桨驱动器散热装置,属于风力发电技术领域,包括隔热组件,所述隔热组件包括隔热箱,所述隔热箱的两侧设置有第一隔热板和第二隔热板;还包括散热组件,所述散热组件包括散热风扇和进风软管,所述散热风扇安装于变桨驱动器本体的一侧,所述散热风扇的外侧固定安装有排风管;本实用通过设置隔热箱,结构简单,方便实用,可对变桨驱动器防护,减少机舱内部的其它设备产生的热量传入,能有效阻挡热量传递,配合散热组件使用,提高了变桨驱动器本体的散热性能,并通过设置调节组件,可根据环境温度控制隔热箱打开或者关闭,从而实现在保证散热性能的同时降低能耗。

一种风力发电机机舱智能巡检系统

NºPublicación:  CN224120341U 14/04/2026
Solicitante: 
四川跟云电力技术服务有限公司
CN_224120341_U

Resumen de: CN224120341U

本实用新型涉及风力发电机智能巡检技术领域,具体公开一种风力发电机机舱智能巡检系统,包括排布在机舱内的智能巡检机器人和边缘服务器,以及排布在场站中控室内的场站服务器;机舱内的机舱盖上,固定有行走轨迹绕开机舱内待检测设备、具有待机停靠站的行走滑轨,以及机器人充电桩,机器人充电桩处在停靠站旁侧,机器人充电桩与进入停靠站待机的智能巡检机器人电连接;智能巡检机器人以可行走结构装配在行走滑轨上,在机舱内形成倒挂装配结构;边缘服务器控制机器人充电桩向智能巡检机器人充电。本实用新型有利于行走滑轨的排布轨迹针对待检测点位而灵活排布,减少、甚至避免检测死角,提高智能巡检的精细化程度。

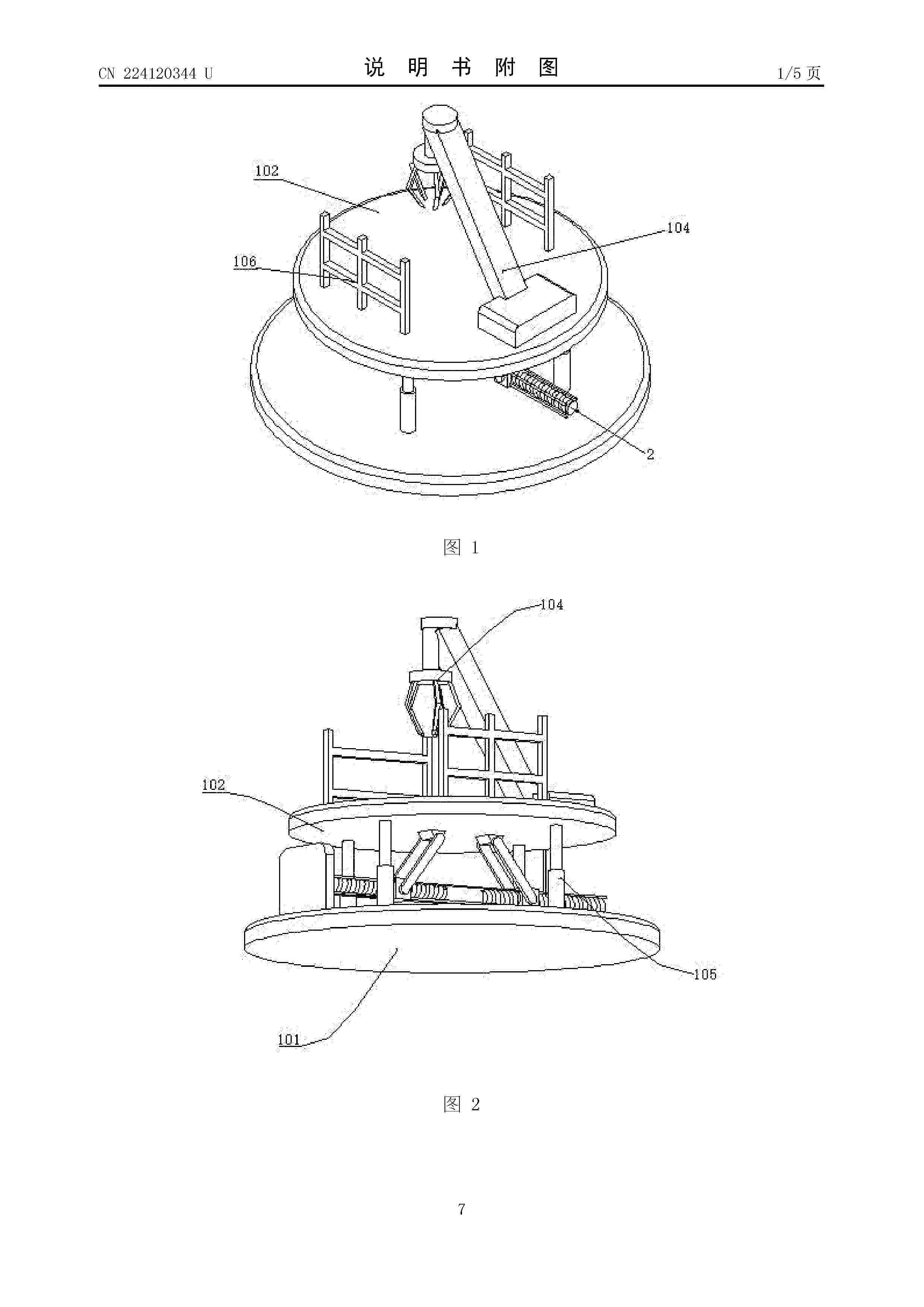
一种用于风机叶片整体吊装维修的支撑设备

NºPublicación:  CN224120344U 14/04/2026
Solicitante: 
江苏广恒新能源有限公司
CN_224120344_U

Resumen de: CN224120344U

一种用于风机叶片整体吊装维修的支撑设备,包括底座,所述底座的顶部固定连接有重型液压油缸,所述重型液压油缸的伸缩端固定连接有风机叶片放置板。本实用新型通过电机驱动双向往复丝杆进行转动的力与调节装置中的限位导向杆、位移滑块和转动杆等组件相互配合,实现了当风机叶片需要维修时,反向驱动电机使双向往复丝杆进行反向转动,风机叶片放置板即可带动风机叶片向下位移的作用,达到了调节风机叶片的高度的效果,便于维修,使得风机叶片在吊装或维修过程中能够精确定位,避免了人工调整可能带来的误差,维修人员可以快速定位和调整叶片的位置,减少了等待和准备时间。

基于融合模型的风电场机组转速异常预警方法

NºPublicación:  CN121854346A 14/04/2026
Solicitante: 
浙大城市学院浙江省白马湖实验室有限公司
CN_121854346_PA

Resumen de: CN121854346A

本发明公开了基于融合模型的风电场机组转速异常预警方法,包括以下步骤:步骤一:获取某一组风电机组的运行数据,并对运行数据进行数据预处理、归一化、相关性分析和特征筛选,得到输入数据集;步骤二:构建融合模型,并将输入数据集输入至融合模型进行训练,通过优化超参数使融合模型预测效果达到最优,得到最优融合模型;步骤三:通过所述最优融合模型,对该组风电机组进行预测平均发电机转速,得到其预测值,计算预测值与真实值之间的误差,基于预设阈值对误差进行判定,当异常信号累计超过设定条件时触发预警,完成风电机组的转速异常预警。本发明能够提高飞车预警监测准确率,有效降低风电机组早期飞车事故的概率和维护成本。

一种基于风潮复合能的景观汀步自供能模块结构

NºPublicación:  CN121854326A 14/04/2026
Solicitante: 
广东海洋大学
CN_121854326_PA

Resumen de: CN121854326A

本申请涉及景观生态能源装置技术领域,具体为一种基于风潮复合能的景观汀步自供能模块结构,包括浮力底座、数量为两个的传动主轴、安装于两个传动主轴上的汀步面板、风轮以及潮汐涡轮所组成的供能模块机构,所述浮力底座内设置有隔板,且隔板将浮力底座内部分隔成上腔室和下腔室,其中,上腔室及浮力底座上设置有水质改善模块,风轮和潮汐涡轮分别驱动独立发电机且电气并联,使得风能和潮汐能发电模块相互独立,当其中一个能源供应出现问题,如风力不足或潮汐变化导致潮汐涡轮转速不稳定时,另一个模块仍能正常工作,保证了整体发电系统的稳定性和可靠性,提高了能源供应的持续性,同时利用富余的机械动能对水体生态环境产生主动改善和检测。

一种变流器中IGBT模块的性能量化评估方法及系统

NºPublicación:  CN121859215A 14/04/2026
Solicitante: 
北方联合电力有限责任公司新能源分公司西安热工研究院有限公司
CN_121859215_PA

Resumen de: CN121859215A

本发明属于新能源风力发电技术领域,公开了一种变流器中IGBT模块的性能量化评估方法及系统,包括:在预设标准和预设极端气候与驱动条件下,采集待测IGBT模块的预确定多维度性能数据;基于待测IGBT模块的预确定多维度性能数据,对待测IGBT模块进行性能偏移率计算,获得待测IGBT模块的特性偏移率计算结果;结合预构造的动态权重,计算得到待测IGBT模块的通用性指数;基于待测IGBT模块的通用性指数,获得待测IGBT模块的性能量化评估结果;本发明通过多维度数据采集、量化评估计算以及考虑动态耦合效应,实现对IGBT模块的环境适应性与驱动通用性的精确评估,为模块的选型、使用和维护提供科学依据。

一种山地倾斜地面风机塔架基础件及其安装方法

NºPublicación:  CN121854334A 14/04/2026
Solicitante: 
三峡珠江发电有限公司三峡新能源发电(新丰)有限公司
CN_121854334_PA

Resumen de: CN121854334A

本发明提供一种山地倾斜地面风机塔架基础件及其安装方法,包括塔架和基础座,基础座上设有多个高度不一的弧形连接片,弧形连接片上设有支撑梁,多个支撑梁通过环形连件连接,基础座顶部设有调平柱,塔架包括多个竖杆和多个斜杆,调平柱抵靠在竖杆上,斜杆与支撑梁连接。环形连件的环形支撑结构与多个支撑梁相连接,山区强风、地形振动等产生的水平力作用于塔架时,会通过底部支撑结构传递至各支撑梁。环形连件的支撑结构可将单一支撑梁承受的集中水平力,快速分散至所有支撑梁,实现单点受力、全域承载,避免单根支撑梁因局部受力过大发生弯曲变形。多个支撑梁高度不一,减少了岩石开挖,避免对岩石的大量开挖既耗时费力的现象发生。

一种用于风电塔筒的组装式安全爬梯

NºPublicación:  CN224120187U 14/04/2026
Solicitante: 
国投贵州新能源有限公司
CN_224120187_U

Resumen de: CN224120187U

本实用新型公开了一种用于风电塔筒的组装式安全爬梯,属于风电塔筒辅助运维设备装置技术领域;它包括两个侧挡板;在侧挡板之间安装有脚踏杆;在脚踏杆的前侧安装防坠导轨;在两个侧挡板上对应的位置处开有若干组通孔;脚踏杆的两端均插入该通孔中进行设置;在脚踏杆中安装有承压轴;在承压轴的两个端侧均安装有定位夹板;定位夹板的另一端连接至塔筒内壁的连墙件上;在侧挡板的上下端侧分别设置有带定位孔的插头和插口;上下相邻的侧挡板通过螺栓组件进行安装;在防坠导轨的背部开有若干条形孔;上下相邻的防坠导轨通过连板可拆卸地进行连接;本实用新型解决了当前的组装式安全爬梯存在与塔筒之间的连接不够可靠,整体结构不够稳定的问题。

一种用于风电塔筒内的拼装式防护台架

NºPublicación:  CN224119947U 14/04/2026
Solicitante: 
国投贵州新能源有限公司
CN_224119947_U

Resumen de: CN224119947U

本实用新型公开了一种用于风电塔筒内的拼装式防护台架,属于及风电塔筒浇筑结构技术领域;它包括将铁皮环卷若干圈而成的圆柱状筒体;在筒体的外侧面上沿其周向绕有紧固绑带;在筒体内腔的中部设置有立柱;在立柱上设置有若干组支杆;支杆在水平方向呈悬臂状设置;在支杆的伸出端上设置有顶杆;顶杆沿竖向布置,且顶杆的一个侧端面支顶在筒体的内侧壁上设置;本实用新型有效地解决了当前在圆柱状区域使用钢模板或波纹管作为模具所存在的成本较高,且难以满足实际使用需求的问题。

双向流道的漂浮风机气液联动压载平衡装置

NºPublicación:  CN224120337U 14/04/2026
Solicitante: 
中国能源建设集团广西电力设计研究院有限公司
CN_224120337_U

Resumen de: CN224120337U

本实用新型公开了一种双向流道的漂浮风机气液联动压载平衡装置,主要由气液联动压载筒和环形安装架组成,气液联动压载筒包括中心气液联动压载筒和外侧气液联动压载筒;气液联动压载筒主要由圆柱筒构成,内部沿轴向布置多块密封隔板,密封隔板在圆柱筒内隔离出多个密封舱,最下面的密封隔板与活动盖板之间形成压缩仓,压缩仓内安装有压缩气囊;密封舱的内壁上安装有电子进水阀和电子排水阀;圆柱筒的顶面上安装气管,气泵的输出端通过送气管延伸至每个密封舱和压缩仓。该装置通过密封舱可动态调节气液,以此实现利用外侧和中心气液联动压载筒相互配合动态调整发电机组在海面的位置,有效减少风力和海浪的冲击,显著提高装置对于海浪的抗性。

一种防漏水抗变形的风电塔筒门结构及风电机组

NºPublicación:  CN224120165U 14/04/2026
Solicitante: 
明阳智慧能源集团股份公司
CN_224120165_U

Resumen de: CN224120165U

本实用新型公开了一种防漏水抗变形的风电塔筒门结构及风电机组,包括门框、门板、抗变形框架、挡边、双密封结构和压紧机构,所述门板的一侧与门框铰接,且门板的内侧面设置有抗变形框架,其外边缘形成有一圈向内侧折弯的折弯边,所述门框的内周面设置有一圈挡边,所述折弯边在门板呈闭合状态时抵接至挡边上,且折弯边和挡边之间设置有双密封结构,所述门框的另一侧和门板之间设置有压紧机构,通过压紧机构使折弯边和挡边紧密贴合并压紧双密封结构,实现密封效果。本实用新型能够有效解决风力发电机组塔筒门易变形漏水的问题。

风电机组的主轴穿线管及风电机组

NºPublicación:  CN224120342U 14/04/2026
Solicitante: 
华锐风电科技(集团)股份有限公司
CN_224120342_U

Resumen de: CN224120342U

本实用新型公开了一种风电机组的主轴穿线管及风电机组,该主轴穿线管包括沿轴向贯穿主轴的管体、与主轴前端面连接的前连接结构和与主轴后端面连接的后连接结构,后连接结构与管体的后端刚性固定连接,前连接结构与管体的前端柔性可拆卸连接。本方案能避免主轴穿线管与主轴连接处发生疲劳断裂带来的后续处理工作,提高产品稳定性,降低产品维护成本;而且可以降低主轴穿线管的加工与安装工艺要求,提高工作效率。

风机电机的配对轴承的故障诊断方法、电子设备及介质

NºPublicación:  CN121854348A 14/04/2026
Solicitante: 
远景能源有限公司
CN_121854348_PA

Resumen de: CN121854348A

本发明实施例涉及风机监测领域,公开了一种风机电机的配对轴承的故障诊断方法、电子设备及介质。本发明中,电机包括配对设置的第一轴承和第二轴承,第一轴承和第二轴承的类型不同,方法包括:获取预设统计周期内,第一轴承的第一温度序列和第二轴承的第二温度序列;基于第一温度序列与第二温度序列的差值,获取预设统计周期内的温差序列;获取与温差序列对应的预设温差基准序列;根据温差序列相对于预设温差基准序列的温差偏离特征,确定第二轴承的故障状态。以解决相关技术中存在的轴承故障识别灵敏度较低、故障早期识别能力不足以及诊断准确性较差的问题。

漂浮式风电机组的系泊装置、控制方法及漂浮式风电机组

NºPublicación:  CN121849291A 14/04/2026
Solicitante: 
浙江金风科技有限公司
CN_121849291_PA

Resumen de: CN121849291A

本申请公开了一种漂浮式风电机组的系泊装置、控制方法及漂浮式风电机组,属于风电技术领域。该系泊装置包括:浮体,具有顶面、底面以及侧面;引导件,沿底面指向顶面的方向设置于侧面;系泊件,与引导件可移动连接,与系泊缆连接,设置有受力传感器和锁定结构,受力传感器采集系泊件的受力数据,锁定结构被与引导件的至少部分位置锁定;控制单元,被配置为在风速落入第一风速区间的情况下,获取受力传感器采集的受力数据,根据受力数据与安全受力区间的关系以及引导件的长度,确定引导件上的目标系泊位置,控制系泊件沿引导件移动至目标系泊位置,并控制锁定结构锁定。根据本申请实施例能够提高漂浮式风电机组的稳定性。

基于PLC的大功率风电机组控制方法及系统

NºPublicación:  CN121854314A 14/04/2026
Solicitante: 
北京华能新锐控制技术有限公司
CN_121854314_A

Resumen de: CN121854314A

本发明实施例提供了一种基于PLC的大功率风电机组控制方法及系统,其通过基于时间序列模型对未来风速进行短时预测,并结合系统延迟生成前馈补偿桨距角,以主动应对即将到来的风速扰动,从而根本上克服传统控制的反应式缺陷。这种前瞻性的控制方式能够显著提升变桨系统的响应速度和控制精度,有效抑制因大惯量特性导致的功率和转速超调,平滑输出功率,从而提升机组的整体运行寿命、发电效率与电网友好性。

基于GPS和北斗MTK技术的风机叶片净空保护方法

NºPublicación:  CN121854358A 14/04/2026
Solicitante: 
道莅智远科技(青岛)有限公司
CN_121854358_PA

Resumen de: CN121854358A

本发明公开了基于GPS和北斗MTK技术的风机叶片净空保护方法,涉及风力发电安全监测技术领域,包括以下步骤:通过接收GPS和北斗卫星系统的导航信号,获取多频点观测数据;利用MTK定位芯片对所述观测数据进行实时动态定位计算,得到叶片尖端的三维坐标;基于得到的叶片尖端的三维坐标,对所述三维坐标进行卡尔曼滤波处理。本发明提出的风机叶片净空保护方法,通过集成GPS与北斗双模卫星定位系统,并结合MTK高性能定位芯片,实现了对风机叶片净空距离的高精度实时监测,有效提升了监测的准确性和可靠性,其厘米级定位精度和快速响应能力,确保了风机在各种工况下的安全运行,具备出色的环境适应性。

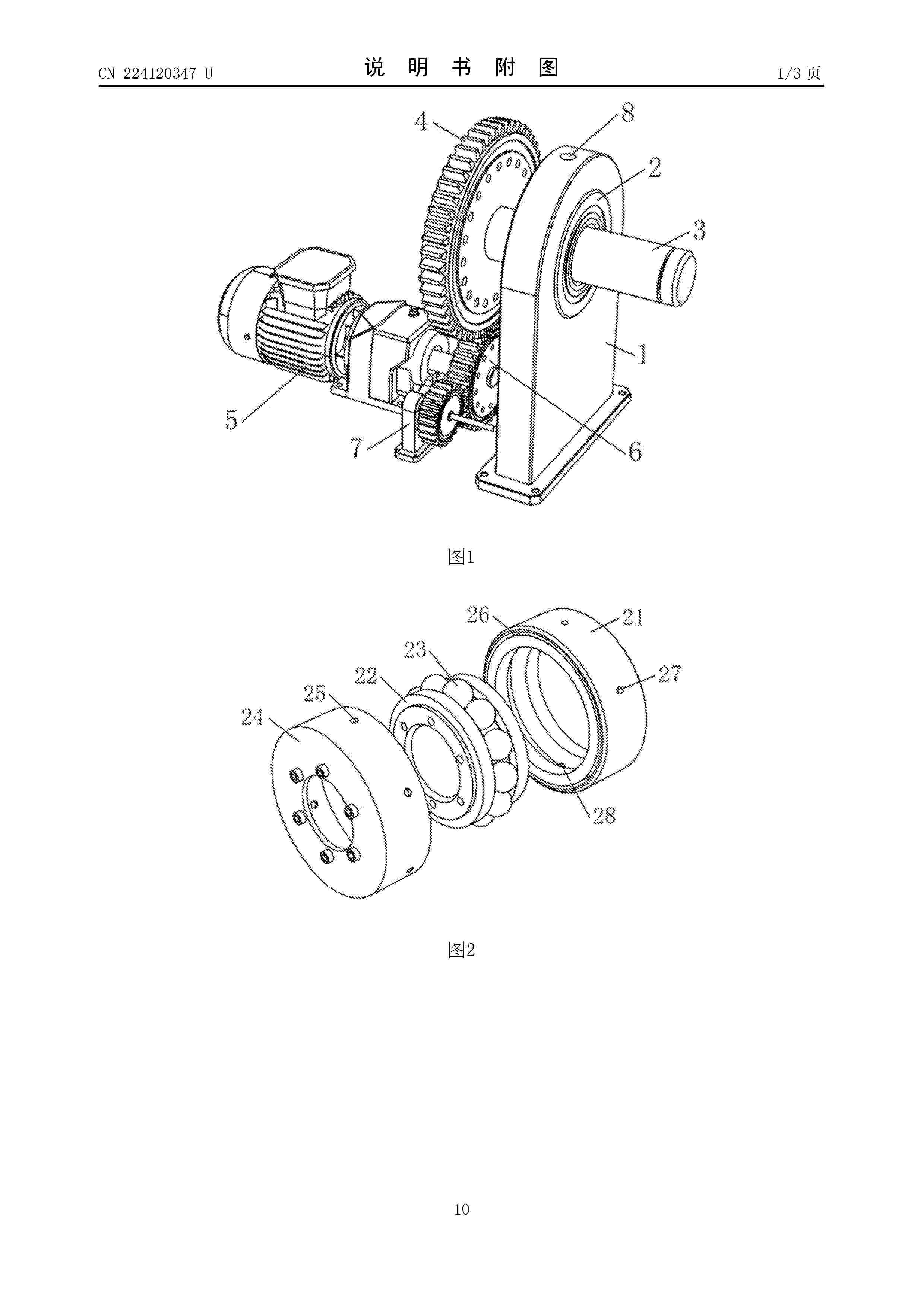
一种机舱罩通风口防护机构

NºPublicación:  CN121854355A 14/04/2026
Solicitante: 
常友科技集团股份有限公司
CN_121854355_PA

Resumen de: CN121854355A

本发明公开了一种机舱罩通风口防护机构,涉及风力发电机技术领域。包括内部防护组件以及固定连接在机舱罩通风口外侧的定位组件,所述定位组件包括固定环,所述固定环的外壁固定连接有导风罩,所述导风罩的内壁转动连接有齿环,所述导风罩的内部设有用于驱动齿环的驱动组件,所述齿环的内侧壁设置有预紧组件,所述内部防护组件与定位组件通过预紧组件相连接。利用驱动组件中的伺服电机带动齿环转动,使外防护罩上的通风口不断变换位置,提高了通风效率,利用导流板与回流板形成的回流仓,当外界气流进入时,在回流仓内形成高压,将灰尘等颗粒污染物从回流板上的通孔甩出,大大减少了外界污染物进入机舱内部,增强了本防护机构的防护性能。

锚栓式风电基础稳定装置

NºPublicación:  CN224120336U 14/04/2026
Solicitante: 
新疆中煤新能源有限公司
CN_224120336_U

Resumen de: CN224120336U

本实用新型提供锚栓式风电基础稳定装置,涉及锚栓技术领域,包括装置本体;所述装置本体设置有上下方向的封闭防护帽,封闭防护帽下端设置有喇叭口,封闭防护帽顶部端面设置有正六棱柱,封闭防护帽的正六棱柱底部端面开设有螺纹盲孔,方便封闭防护帽通过螺纹安装在预应力锚栓端部,方便通过封闭防护帽将风机板压筒罩起并与风机结构板接触封闭,解决了锚栓和螺母相互配合部分露在外部,容易在灰尘和雨水作用下产生锈蚀现象,不方便在锚栓上加装防护措施,来对锚栓和螺母相互配合部分罩起的问题。

一种具备校验功能的风机叶片净空监测装置

NºPublicación:  CN224120339U 14/04/2026
Solicitante: 
连云港费尔达科技有限公司
CN_224120339_U

Resumen de: CN224120339U

本实用新型涉及风机叶片净空监测技术领域,且公开了一种具备校验功能的风机叶片净空监测装置,包括监测箱和便于进行检修和维护的高度控制装置。该具备校验功能的风机叶片净空监测装置,检修工作人员能够直接控制滑动座带动监测箱向下移动,使监测箱移动至靠近地面的位置,从而接口由地面对监测设备进行检修和维护,无需进行高空作业,提高了检修的安全性以及便捷性,通过多点位监测的方式能够对风机叶片端部位置的形变形状进行监测,提高了监测的精准度,减少误差,并且当一个监测设备发生故障时,其他点位的监测设备能够维持正常工作,而后通过多点位监测能够预测风机叶片的形变位移距离,从而达到预警的目的。

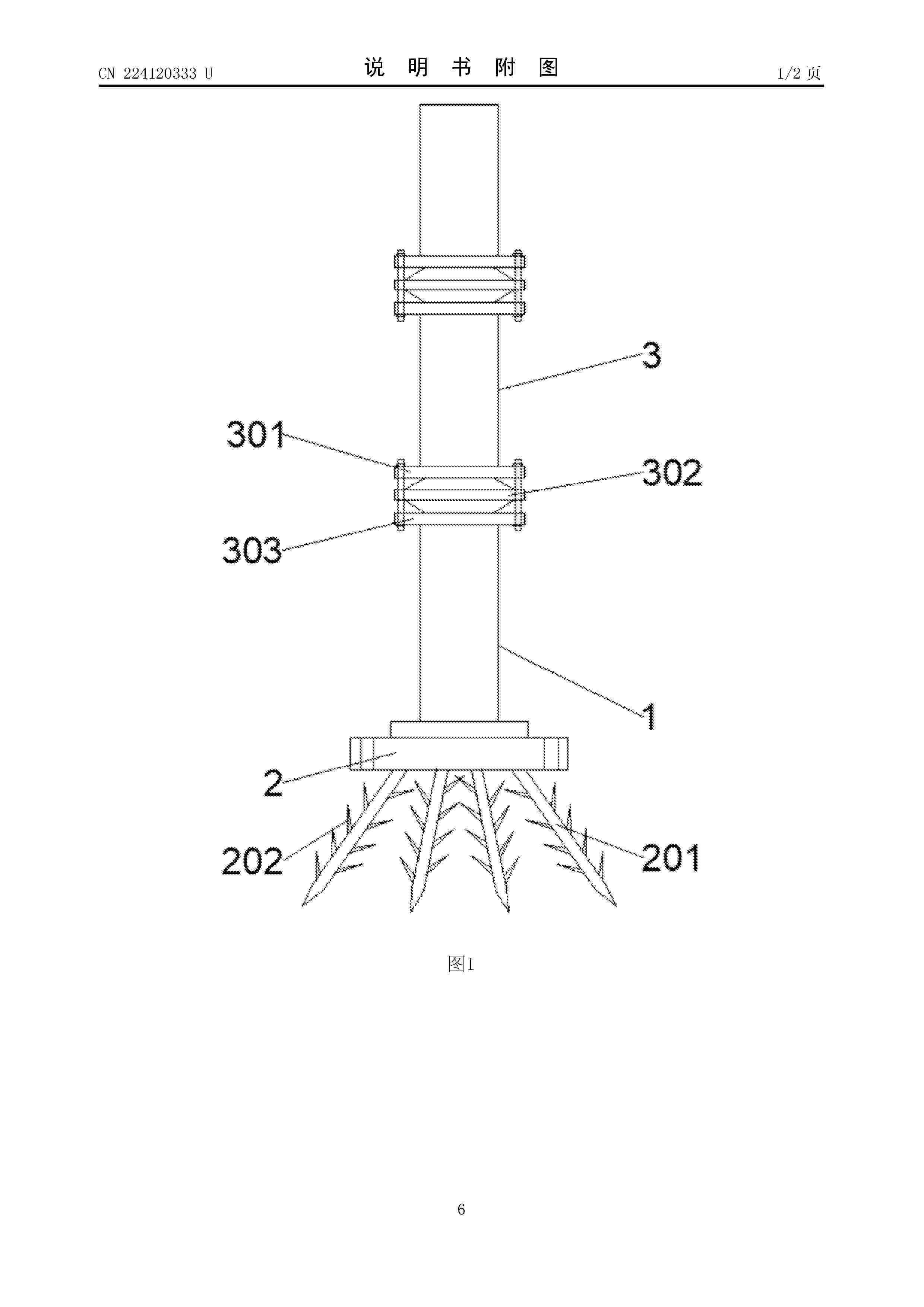
风力发电机组润滑装置

NºPublicación:  CN224120347U 14/04/2026
Solicitante: 
国家能源集团国源电力有限公司陕西德源府谷能源有限公司
CN_224120347_U

Resumen de: CN224120347U

本公开涉及一种风力发电机组润滑装置。包括支座、轴承机构、低速轴、第一齿轮、第二齿轮、油路分配组件和发动机;其中,支座上设有第一贯穿孔,轴承机构安装于第一贯穿孔的环形空腔内,轴承机构具有第二贯穿孔,低速轴贯穿第二贯穿孔,低速轴的一端与第一齿轮连接,第一齿轮与第二齿轮啮合,第二齿轮与发动机连接;油路分配组件设于支座的内部,油路分配组件的进油口外露于支座的顶部,油路分配组件的出油口外露于第一贯穿孔的孔壁,轴承机构包括周向方向设置多个油孔的固定环,油路分配组件的出油口与多个油孔中的任一个相对设置。进而可以替代人工手动涂抹,避免耗时费力与润滑不均的问题,保障风力发电机组长期稳定运行,降低维护成本。

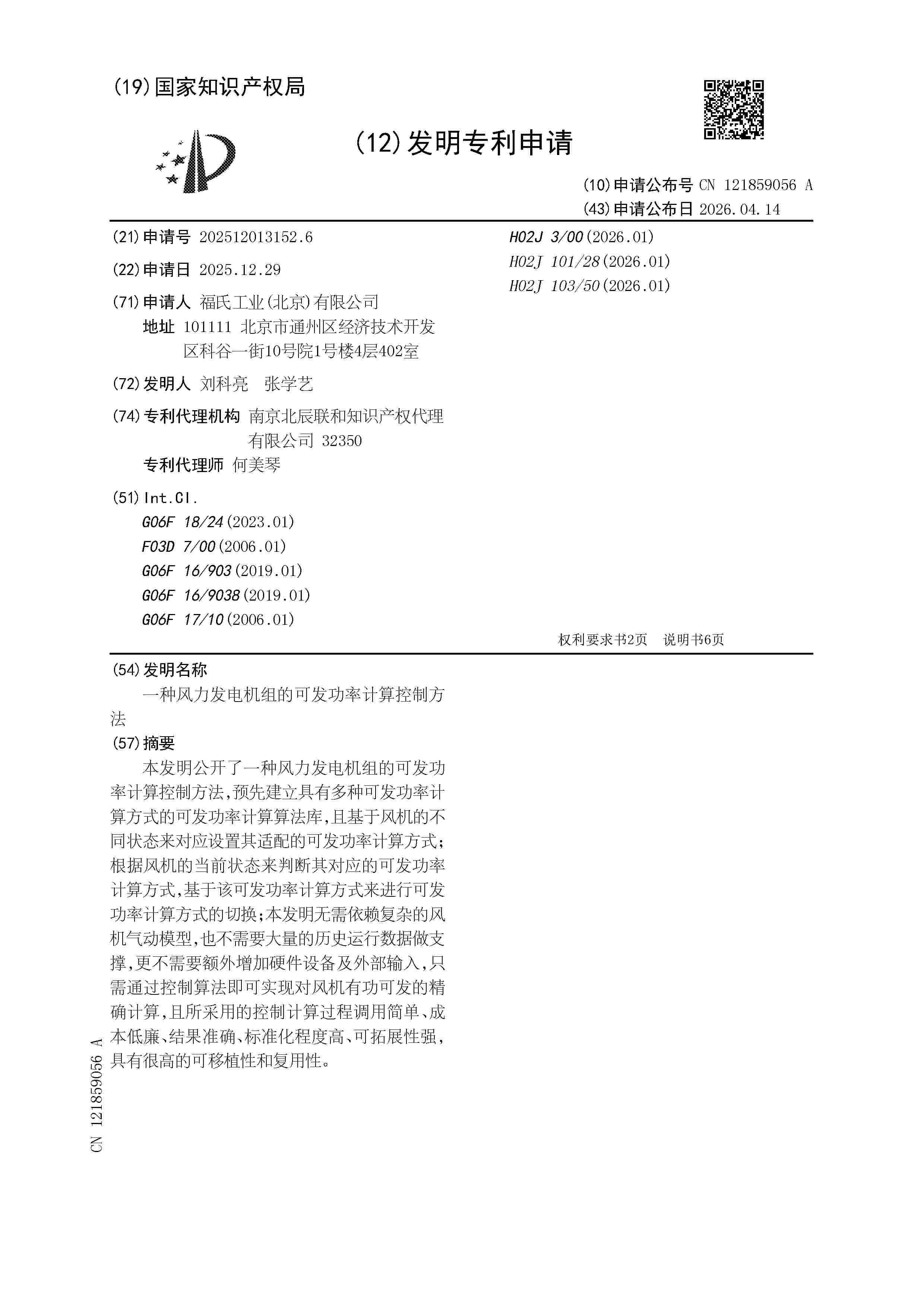
一种高强度风力发电机支架

NºPublicación:  CN224120333U 14/04/2026
Solicitante: 
宜兴乃尔风电科技有限公司
CN_224120333_U

Resumen de: CN224120333U

本实用新型涉及风力发电机支架技术领域,具体公开了一种高强度风力发电机支架,包括塔身,所述塔身由多段塔节同轴连接构成,相邻塔节之间设置有阶梯连接套结构,所述塔身的底端设置有稳固结构;所述稳固结构包括固定连接于塔身底端的基础法兰,多个焊接于基础法兰底端,且呈圆周放射状斜向下延伸的锚固杆,所述锚固杆的外壁固定连接有锥齿,通过弧形钢板焊接成正十二边形类圆筒体,十二边形棱角破坏气流,使气流远离塔体固有频率,相较传统圆形塔筒提升抗风涡激振动能力以及提升抗风性能,通过内肋板可将侧向风载转化为轴向拉压应力,阻断外壳屈曲波传播;通过阶梯连接套结构可分散塔节连接处的应力,延长塔身的使用寿命。

PLC前馈与反馈结合的偏航控制方法及系统

NºPublicación:  CN121854324A 14/04/2026
Solicitante: 
中国华能集团清洁能源技术研究院有限公司北京华能新锐控制技术有限公司华能广东汕头海上风电有限责任公司西安热工研究院有限公司
CN_121854324_A

Resumen de: CN121854324A

本发明实施例提供了一种PLC前馈与反馈结合的偏航控制方法及系统,其通过对LIDAR原始数据进行有效性校验后,运用基于物理模型的空间力矩加权与特征抽象,高效地将复杂风场信息降维为对风轮偏航力矩最具代表性的力矩加权的平均风偏角,在此基础上,对该风偏角进行时序演化分析以预测前馈偏航误差,并同时检测风向急变事件。最终,根据风向急变标志,智能地自适应融合前馈预测误差与传统反馈误差,生成精准的偏航角速度指令。通过这样的方式,实现了前馈与反馈在动态风况下的平滑、自适应融合,使控制策略在复杂多变的风况下更具鲁棒性和智能性。

一种内置连续柔性金属网状骨架的风力机叶片及制造方法

NºPublicación:  CN121854308A 14/04/2026
Solicitante: 
兰州理工大学
CN_121854308_PA

Resumen de: CN121854308A

本发明涉及风力机技术领域,公开了一种内置连续柔性金属网状骨架的风力机叶片及制造方法,包括:柔性连续金属网骨架,为三维网络结构且与风力机叶片的形状适配;复合材料层,覆盖设置于柔性连续金属网骨架的外部。以柔性连续金属网骨架作为内部支撑结构,利用三维网络结构的韧性和抗疲劳特性来吸收和分散应力,从而能够抑制裂纹扩展,显著提高叶片的抗疲劳性能和结构耐久性;在柔性连续金属网骨架的外部布置复合材料层,即使复合材料层出现局部损伤或开裂,也能够依靠柔性连续金属网骨架的延展性维持风力机叶片基本结构的完整性,避免灾难性的断裂,提供了一种渐进式的失效模式,提高了损伤容限,在长期运行工况下具有充足的可靠性。

一种风力发电机组的可发功率计算控制方法

NºPublicación:  CN121859056A 14/04/2026
Solicitante: 
福氏工业(北京)有限公司
CN_121859056_A

Resumen de: CN121859056A

本发明公开了一种风力发电机组的可发功率计算控制方法,预先建立具有多种可发功率计算方式的可发功率计算算法库,且基于风机的不同状态来对应设置其适配的可发功率计算方式;根据风机的当前状态来判断其对应的可发功率计算方式,基于该可发功率计算方式来进行可发功率计算方式的切换;本发明无需依赖复杂的风机气动模型,也不需要大量的历史运行数据做支撑,更不需要额外增加硬件设备及外部输入,只需通过控制算法即可实现对风机有功可发的精确计算,且所采用的控制计算过程调用简单、成本低廉、结果准确、标准化程度高、可拓展性强,具有很高的可移植性和复用性。

用于涡流发生器的安装设备、安装系统和安装方法

Nº publicación: CN121866135A 14/04/2026

Solicitante:

西门子歌美飒可再生能源公司

CN_121866135_PA

Resumen de: WO2024212198A1

The invention relates to a mounting device, a mounting system and a mounting method for vortex generators. The mounting device comprises: a mounting template, on a bottom surface, having a pressing surface for abutting against the base plates of the vortex generators and applying compressive force to the base plates, and an annular surface surrounding the pressing surface, cavities being formed in the pressing surface to receive fins of the vortex generators; an annular seal attached to the annular surface with the annular seal surrounding and spaced apart from the pressing surface, and configured to abut against the surface of the blade during mounting the vortex generators such that a closed annular chamber surrounding the pressing surface and the base plates is formed among the annular surface, the annular seal and the surface of the blade; a pressure source device connected to the annular chamber via a pressure port located on the annular surface, and configured to apply vacuum pressure into the annular chamber such that the pressing surface presses the base plate against the surface of the blade, so as to adhere the base plate onto the surface of the blade.

traducir