Ministerio de Industria, Turismo y Comercio LogoMinisterior
 

Alerta

Resultados 463 resultados
LastUpdate Última actualización 25/04/2026 [07:54:00]
pdfxls
Solicitudes publicadas en los últimos 15 días / Applications published in the last 15 days
previousPage Resultados 350 a 375 de 463 nextPage  

後縁アドオン

NºPublicación:  JP2026512128A 14/04/2026
Solicitante: 
シーメンスガメサリニューアブルエナジーエー/エス
JP_2026512128_A

Resumen de: EP4446578A1

0001 The invention describes a wind turbine rotor blade add-on (1) comprising a plurality of serration teeth (10) arranged to extend outward from the trailing edge (20) of the rotor blade (20), wherein a serration tooth (10) has an elongate shape defined by a base (10B) and two at least partially curved side edges (10S) converging at a tip (10T), and wherein the length of a serration tooth (10) from base (10B) to tip (10T) exceeds the width of the serration tooth (10) at its base (10B) by a factor of at least 6; a side edge (10S) of the serration tooth (10) includes a convex curved portion; and the closest distance (1G) between adjacent serration teeth (10) is at most 1 mm. The invention further describes a A wind turbine rotor blade (20) comprising a number of such add-ons (1) mounted to the trailing edge (20) of the airfoil portion of the rotor blade (20).

磁石要素を抽出するための抽出システムおよび方法

NºPublicación:  JP2026512138A 14/04/2026
Solicitante: 
シーメンスガメサリニューアブルエナジーエー/エス
JP_2026512138_A

Resumen de: EP4447295A1

0001 An extraction system configured to extract one or more magnet elements (10) from a wind turbine generator component (200) is provided. The wind turbine generator component (200) comprises plural rows (220) of magnet elements (10), each row (220) comprising one or more magnet elements (10). The extraction system (100) comprises an extraction device (20) comprising one or more actuators (25) and a support structure (50) that supports the wind turbine generator component (200) relative to the extraction device (20). The support structure (50) is configured to provide an alignment between the extraction device (20) and a row (220) of the wind turbine generator component (200). The system is configured to automatically extract, by means of the extraction device (20), one or more magnet elements (10) from the row (220) of the wind turbine generator component (200).

風力タービン・ブレードを吊り上げる方法

NºPublicación:  JP2026511995A 14/04/2026
Solicitante: 
リフトラアイピーエイピーエス
JP_2026511995_A

Resumen de: WO2024208874A1

Method of lifting a wind turbine blade (20), where said method comprises the step of providing a wind turbine blade, providing a blade yoke and connecting the blade yoke (22) to the blade, providing an elongated element connected to the blade adjacent to the suction or pressure surface, the elongated element: being arranged along at least 50% of the outer 1/3 of the blade, being arranged along the longitudinal axis of the blade, and the elongated element being arranged to reduce the coefficient of lift (CL) of the blade by more than 20%, and lifting the blade via the blade yoke. In this way, a simple way of mitigating the lift of the blade during lifting operations can be provided which increases the safety of the procedure and allows smaller lifting yokes to be used in the same winds, or the same lifting yokes to be used in higher winds.

使用风力涡轮机转子或叶片维护工具的方法以及用于该方法的转子或叶片工具

NºPublicación:  CN121866403A 14/04/2026
Solicitante: 
维斯塔斯风力系统有限公司
CN_121866403_PA

Resumen de: WO2025061245A1

A method of repairing a wind turbine (10) including a tower (12) and a nacelle (14) connected to the tower (12). The nacelle (14) includes a main shaft (20) and a main bearing assembly (36). A rotor (16) is connected to the main shaft (20). The rotor (16) includes a hub (22) and a plurality of blades (24) connected at respective blade interfaces (28). The blade interfaces (28) define a rotor rotational plane (30). The method includes clamping a rotor maintenance tool (40) or a blade maintenance tool (70) to the tower (12). The rotor maintenance tool (40) or the blade maintenance tool (70) includes a tower clamp (42, 44, 84) for connecting the rotor maintenance tool (40) or the blade maintenance tool (70) to the tower (12) and a cradle assembly (46, 72) for supporting a portion of the rotor (16). The cradle assembly (46, 72) is movable relative to the tower (12) between a retracted position adjacent the tower (12) and an extended position. The method includes moving the cradle assembly (46, 72) from the retracted position to the extended position and into contact with the rotor (16) and disconnecting the rotor (16) from the nacelle (14) so that the rotor (16) is supported by the tower (12).

用于风力涡轮机叶片的细长加强结构

NºPublicación:  CN121866146A 14/04/2026
Solicitante: 
欧文斯科宁知识产权资产有限公司
CN_121866146_PA

Resumen de: CN121866146A

本文描述了一种细长加强结构,该细长加强结构包括拉挤成型板条,该拉挤成型板条具有表面,热塑性粘结剂颗粒粘附到该表面。

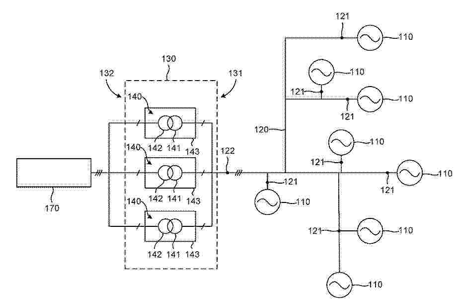
분산형 변압기 장치를 포함하는 해저 전력 수집 시스템

NºPublicación:  KR20260049663A 14/04/2026
Solicitante: 
에이비비슈바이쯔아게
CN_121713347_PA

Resumen de: EP4513704A1

0001 A power collection system (100) for collecting power from a plurality of offshore power generation units comprises a three-phase subgrid (120) and a subsea power substation (130). The subgrid has a plurality of power input points (121) towards the power generation units and a shared three-phase power output point (122). The power substation (130) is connected to the power output point, and its secondary side (132) is arranged to be connected to a power consumer (170). The power substation shall comprise three one-phase transformers (140), which are contained in respective housings (143), wherein each housing is arranged to rest on the seabed and to be liftable to the sea surface separately from the other housings. Each phase of the power output point is connected to a primary side (141) of a corresponding one of the one-phase transformers.

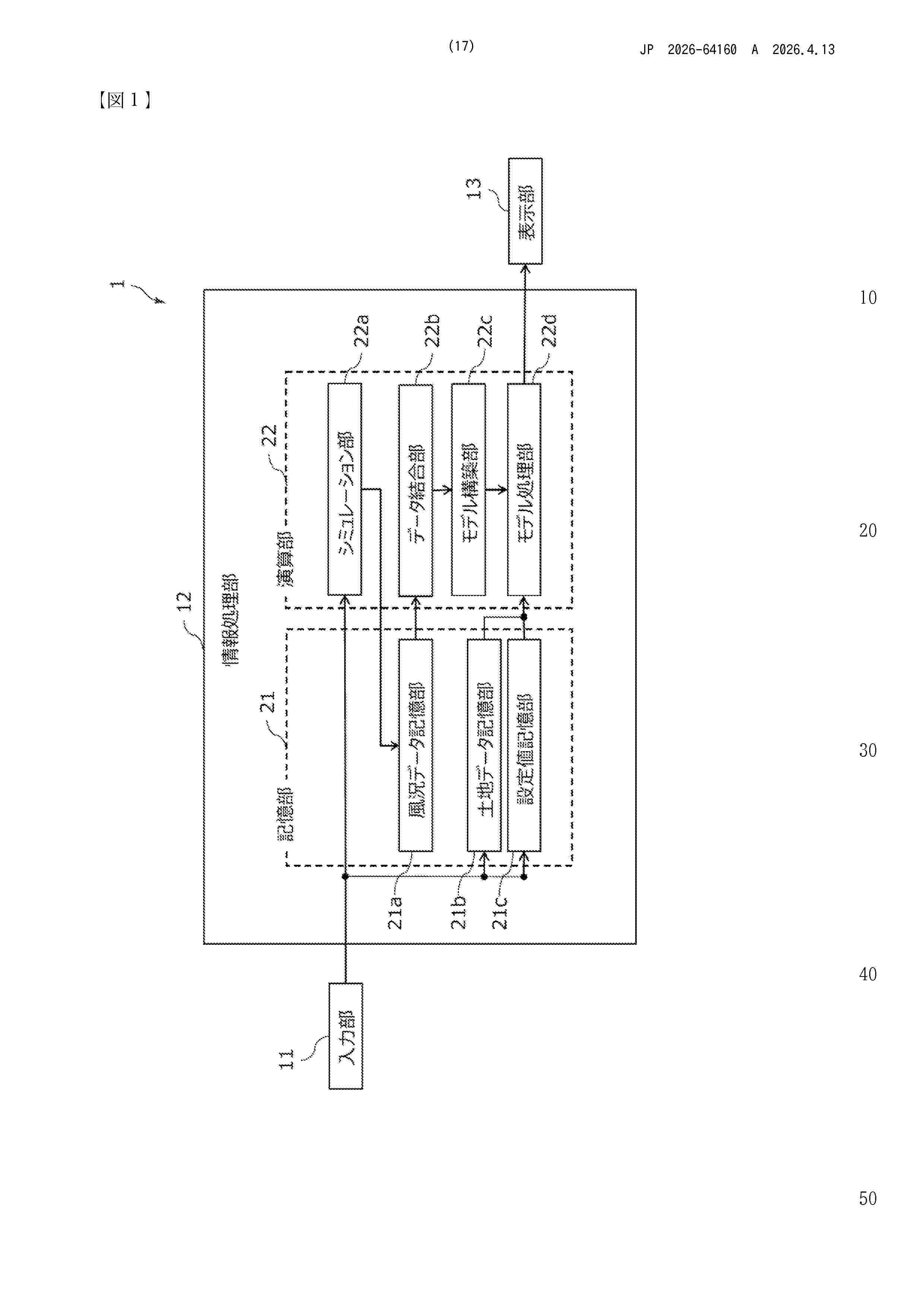
風況情報処理装置、風況情報処理方法、および風況情報処理プログラム

NºPublicación:  JP2026064160A 13/04/2026
Solicitante: 
株式会社東芝
JP_2026064160_A

Resumen de: JP2026064160A

【課題】好適な風況解析を実施することが可能な風況情報処理装置を提供する。【解決手段】一の実施形態によれば、風況情報処理装置は、第1領域において風況をシミュレートして、前記第1領域内の第1箇所における第1条件下の風況のシミュレーション結果である第1シミュレーション結果と、前記第1領域内の第2箇所における第2条件下の風況のシミュレーション結果である第2シミュレーション結果とを出力するシミュレーション部を備える。前記装置はさらに、前記第1シミュレーション結果および前記第2シミュレーション結果に基づいて、前記第1領域の風条件の予測モデルを構築するモデル構築部を備える。前記装置はさらに、前記第1領域の前記予測モデルに基づいて、前記第1領域の前記風条件に関する情報処理を行い、前記情報処理の結果を表示部に表示するモデル処理部を備える。【選択図】図1

Wind Power Simulation System Based on Virtual Wind Farm

NºPublicación:  KR20260048891A 13/04/2026
Solicitante: 
주티아이에스
KR_20260048891_PA

Resumen de: KR20260048891A

본 발명은 다양한 풍력발전단지의 특성을 고려하여 동적으로 풍력발전시스템을 가상화하고, 관련 제어 기술을 검증하는 가상 풍력발전단지 기반 풍력 시뮬레이션 시스템에 관한 것으로, 범용 풍력터빈 모델과 실시간 바람장 모델의 통합과 이들의 실시간성을 확보하기 위해 분산/병렬 처리하고, 풍력발전 단지를 3D 모델로 시각화하며, ESS 모델 및 풍력발전 단지 계통 모델을 포함하는 가상 풍력발전단지 시스템(100); 상기 가상 풍력발전단지 시스템에서 실시간으로 수집되는 RTDS 관련 데이터를 이용하여 3D 모델로 모니터 화면에 계통 상태를 시각화하는 실시간 계통 모의 시뮬레이터(200); 실제 풍력발전단지에서 활용되는 인터페이스를 기준으로 가상 풍력발전단지와 연동하고, 가상 풍력발전단지의 검증과 계통의 영향을 확인하기 위해 가상 풍력발전단지의 상태와 제어시스템의 제어 상태의 조작과 검증 시나리오를 수행하는 3D 시각화 연동 인터페이스를 포함하는 풍력발전단지 컨트롤러(300)를 포함하는 것이다. 본 발명은 새로운 제어 기술을 현장에 적용하기 전에 가상 풍력발전단지를 활용하여 충분한 사전 검증을 수행할 수 있는 기술을 축적할 수 있고, 재생에너지의 발전량 예측제 및 입찰제 참여를 위한 ESS 연계 제어 기

一种风电场集电线路保护装置

NºPublicación:  CN224110844U 10/04/2026
Solicitante: 
河南裕晟电力工程有限公司
CN_224110844_U

Resumen de: EP1000000A1

The invention relates to an apparatus (1) for manufacturing green bricks from clay for the brick manufacturing industry, comprising a circulating conveyor (3) carrying mould containers combined to mould container parts (4), a reservoir (5) for clay arranged above the mould containers, means for carrying clay out of the reservoir (5) into the mould containers, means (9) for pressing and trimming clay in the mould containers, means (11) for supplying and placing take-off plates for the green bricks (13) and means for discharging green bricks released from the mould containers, characterized in that the apparatus further comprises means (22) for moving the mould container parts (4) filled with green bricks such that a protruding edge is formed on at least one side of the green bricks.

一种风力发电机组传动链振动状态的监测方法

NºPublicación:  CN121828106A 10/04/2026
Solicitante: 
华能(乌鲁木齐县)新能源发电有限公司
CN_121828106_PA

Resumen de: EP1000000A1

The invention relates to an apparatus (1) for manufacturing green bricks from clay for the brick manufacturing industry, comprising a circulating conveyor (3) carrying mould containers combined to mould container parts (4), a reservoir (5) for clay arranged above the mould containers, means for carrying clay out of the reservoir (5) into the mould containers, means (9) for pressing and trimming clay in the mould containers, means (11) for supplying and placing take-off plates for the green bricks (13) and means for discharging green bricks released from the mould containers, characterized in that the apparatus further comprises means (22) for moving the mould container parts (4) filled with green bricks such that a protruding edge is formed on at least one side of the green bricks.

一种计及检修计划与设备健康度的风电场发电量预测方法及系统

NºPublicación:  CN121840576A 10/04/2026
Solicitante: 
华能包头风力发电有限公司华能(北京)综合能源科技服务有限公司北京金风慧能技术有限公司
CN_121840576_PA

Resumen de: EP1000000A1

The invention relates to an apparatus (1) for manufacturing green bricks from clay for the brick manufacturing industry, comprising a circulating conveyor (3) carrying mould containers combined to mould container parts (4), a reservoir (5) for clay arranged above the mould containers, means for carrying clay out of the reservoir (5) into the mould containers, means (9) for pressing and trimming clay in the mould containers, means (11) for supplying and placing take-off plates for the green bricks (13) and means for discharging green bricks released from the mould containers, characterized in that the apparatus further comprises means (22) for moving the mould container parts (4) filled with green bricks such that a protruding edge is formed on at least one side of the green bricks.

一种船舶用多向集风风电发电装置

NºPublicación:  CN121828092A 10/04/2026
Solicitante: 
冯氏防护科技(无锡)有限公司
CN_121828092_PA

Resumen de: EP1000000A1

The invention relates to an apparatus (1) for manufacturing green bricks from clay for the brick manufacturing industry, comprising a circulating conveyor (3) carrying mould containers combined to mould container parts (4), a reservoir (5) for clay arranged above the mould containers, means for carrying clay out of the reservoir (5) into the mould containers, means (9) for pressing and trimming clay in the mould containers, means (11) for supplying and placing take-off plates for the green bricks (13) and means for discharging green bricks released from the mould containers, characterized in that the apparatus further comprises means (22) for moving the mould container parts (4) filled with green bricks such that a protruding edge is formed on at least one side of the green bricks.

一种抑制钝体尾流周期性漩涡脱落的方法及装置

NºPublicación:  CN121828101A 10/04/2026
Solicitante: 
湖南大学
CN_121828101_PA

Resumen de: EP1000000A1

The invention relates to an apparatus (1) for manufacturing green bricks from clay for the brick manufacturing industry, comprising a circulating conveyor (3) carrying mould containers combined to mould container parts (4), a reservoir (5) for clay arranged above the mould containers, means for carrying clay out of the reservoir (5) into the mould containers, means (9) for pressing and trimming clay in the mould containers, means (11) for supplying and placing take-off plates for the green bricks (13) and means for discharging green bricks released from the mould containers, characterized in that the apparatus further comprises means (22) for moving the mould container parts (4) filled with green bricks such that a protruding edge is formed on at least one side of the green bricks.

基于视觉定位与SLAM的风力发电机叶片组巡检方法及系统

NºPublicación:  CN121828114A 10/04/2026
Solicitante: 
广东粤电珠海海上风电有限公司西安热工研究院有限公司
CN_121828114_PA

Resumen de: EP1000000A1

The invention relates to an apparatus (1) for manufacturing green bricks from clay for the brick manufacturing industry, comprising a circulating conveyor (3) carrying mould containers combined to mould container parts (4), a reservoir (5) for clay arranged above the mould containers, means for carrying clay out of the reservoir (5) into the mould containers, means (9) for pressing and trimming clay in the mould containers, means (11) for supplying and placing take-off plates for the green bricks (13) and means for discharging green bricks released from the mould containers, characterized in that the apparatus further comprises means (22) for moving the mould container parts (4) filled with green bricks such that a protruding edge is formed on at least one side of the green bricks.

硬化促進剤としてのヒドロキシ置換されたウロンの使用

NºPublicación:  JP2026510934A 10/04/2026
Solicitante: 
ヘクセルコンポジッツ、リミテッド
JP_2026510934_A

Resumen de: JP2026510934A

0001 少なくとも2つのオルトヒドロキシフェニル尿素単位を含有し、前記単位が、ヘテロ原子によって中断されていてよい二価または多価の架橋基を介して結合されているウロン化合物は、熱硬化性樹脂系、特に繊維充填エポキシ樹脂のための硬化促進剤として使用される。

一种风力发电机组叶片桨距角快速校准方法及系统

NºPublicación:  CN121828113A 10/04/2026
Solicitante: 
明阳智慧能源集团股份公司明阳智慧(临高)新能源技术有限公司
CN_121828113_PA

Resumen de: EP1000000A1

The invention relates to an apparatus (1) for manufacturing green bricks from clay for the brick manufacturing industry, comprising a circulating conveyor (3) carrying mould containers combined to mould container parts (4), a reservoir (5) for clay arranged above the mould containers, means for carrying clay out of the reservoir (5) into the mould containers, means (9) for pressing and trimming clay in the mould containers, means (11) for supplying and placing take-off plates for the green bricks (13) and means for discharging green bricks released from the mould containers, characterized in that the apparatus further comprises means (22) for moving the mould container parts (4) filled with green bricks such that a protruding edge is formed on at least one side of the green bricks.

一种基于DRL-PID融合非线性滤波的风电变桨智能控制方法及控制器

NºPublicación:  CN121828084A 10/04/2026
Solicitante: 
道莅智远科技(青岛)有限公司
CN_121828084_PA

Resumen de: EP1000000A1

The invention relates to an apparatus (1) for manufacturing green bricks from clay for the brick manufacturing industry, comprising a circulating conveyor (3) carrying mould containers combined to mould container parts (4), a reservoir (5) for clay arranged above the mould containers, means for carrying clay out of the reservoir (5) into the mould containers, means (9) for pressing and trimming clay in the mould containers, means (11) for supplying and placing take-off plates for the green bricks (13) and means for discharging green bricks released from the mould containers, characterized in that the apparatus further comprises means (22) for moving the mould container parts (4) filled with green bricks such that a protruding edge is formed on at least one side of the green bricks.

一种基于声纹信号的风电机组叶片巡检方法及相关装置

NºPublicación:  CN121828109A 10/04/2026
Solicitante: 
华能重庆奉节风电有限责任公司中国华能集团清洁能源技术研究院有限公司
CN_121828109_A

Resumen de: EP1000000A1

The invention relates to an apparatus (1) for manufacturing green bricks from clay for the brick manufacturing industry, comprising a circulating conveyor (3) carrying mould containers combined to mould container parts (4), a reservoir (5) for clay arranged above the mould containers, means for carrying clay out of the reservoir (5) into the mould containers, means (9) for pressing and trimming clay in the mould containers, means (11) for supplying and placing take-off plates for the green bricks (13) and means for discharging green bricks released from the mould containers, characterized in that the apparatus further comprises means (22) for moving the mould container parts (4) filled with green bricks such that a protruding edge is formed on at least one side of the green bricks.

用于风电机组涡激振动的检测方法及装置

NºPublicación:  CN121829737A 10/04/2026
Solicitante: 
金风科技股份有限公司
CN_121829737_PA

Resumen de: EP1000000A1

The invention relates to an apparatus (1) for manufacturing green bricks from clay for the brick manufacturing industry, comprising a circulating conveyor (3) carrying mould containers combined to mould container parts (4), a reservoir (5) for clay arranged above the mould containers, means for carrying clay out of the reservoir (5) into the mould containers, means (9) for pressing and trimming clay in the mould containers, means (11) for supplying and placing take-off plates for the green bricks (13) and means for discharging green bricks released from the mould containers, characterized in that the apparatus further comprises means (22) for moving the mould container parts (4) filled with green bricks such that a protruding edge is formed on at least one side of the green bricks.

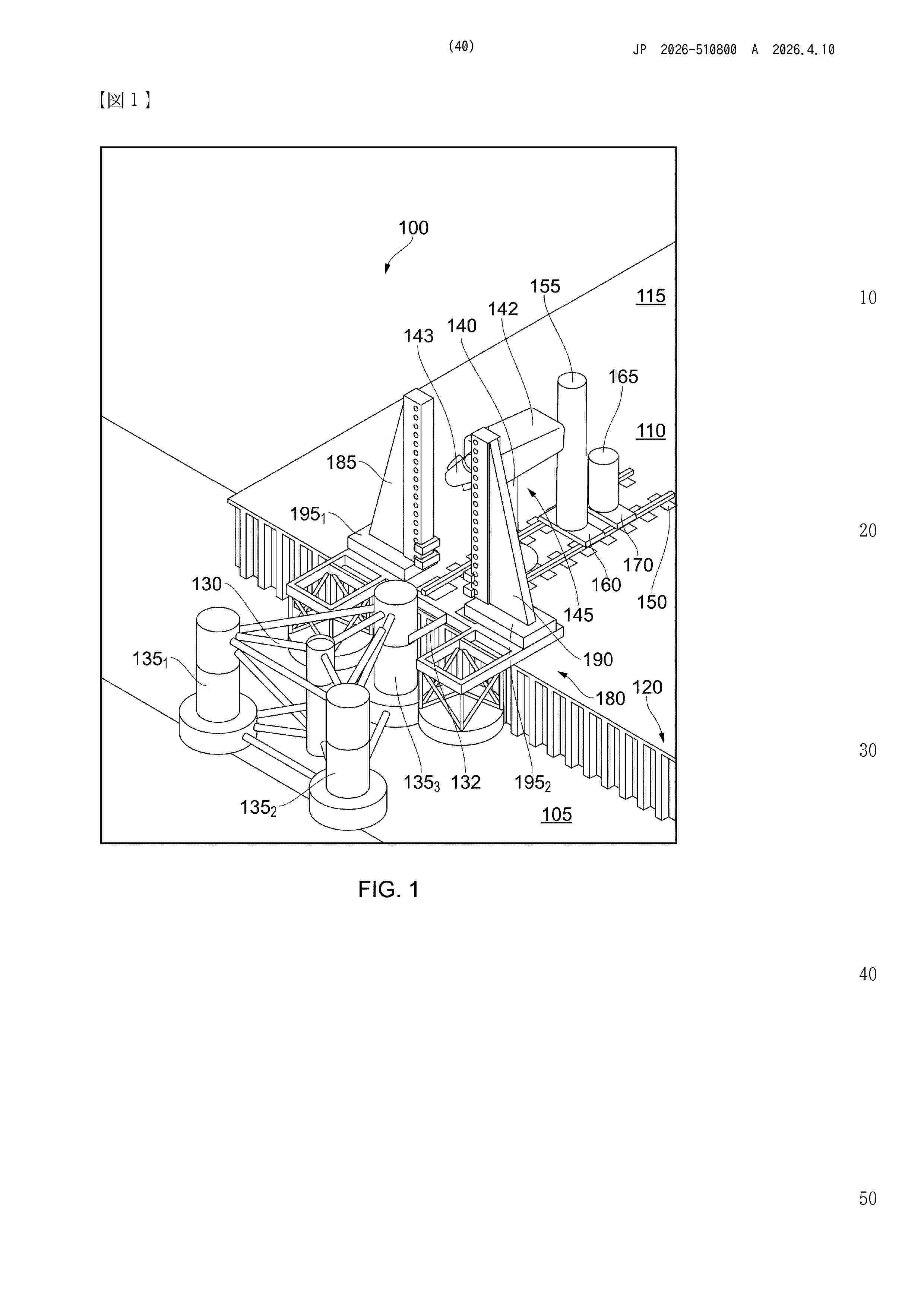
細長い構造および構築/組立方法

NºPublicación:  JP2026510800A 10/04/2026
Solicitante: 
オスビット・リミテッド
JP_2026510800_A

Resumen de: JP2026510800A

0001 風力タービン(WT)を提供する装置および方法が開示されている。方法は、下方タワーセクションを持ち上げ位置において提供することと、下方タワーセクションを少なくとも1つの持ち上げ支持部を介して垂直に持ち上げることで、持ち上げられたタワーセクションを提供することと、持ち上げ位置へと次に来る少なくとも1つのさらなるタワーセクションを、先行するタワーセクションの下の位置へ向かわせることと、次に来るさらなるタワーセクションの上領域を、持ち上げられた先行するタワーセクションの下方領域に固定することとによって、少なくとも1つの細長いタワーと、細長いタワーの上端領域におけるナセル部材と、少なくとも1つの翼部材とを備える風力タービン部分を、持ち上げ位置において立ち上げるステップを含み、タワーセクションを持ち上げることは、少なくとも1つの持ち上げ支持部に近接する所望の位置にある持ち上げ位置にタワーセクションを1つずつ提供することと、各々の持ち上げ支持部に対して移動可能なそれぞれのクライマ要素に搭載される少なくとも1つの持ち上げビームを介して、次に来るタワーセクションを把持することと、クライマ要素を介し

一种风机风轮锁销状态确定方法、电子设备及介质

NºPublicación:  CN121828105A 10/04/2026
Solicitante: 
华电重庆新能源有限公司
CN_121828105_PA

Resumen de: EP1000000A1

The invention relates to an apparatus (1) for manufacturing green bricks from clay for the brick manufacturing industry, comprising a circulating conveyor (3) carrying mould containers combined to mould container parts (4), a reservoir (5) for clay arranged above the mould containers, means for carrying clay out of the reservoir (5) into the mould containers, means (9) for pressing and trimming clay in the mould containers, means (11) for supplying and placing take-off plates for the green bricks (13) and means for discharging green bricks released from the mould containers, characterized in that the apparatus further comprises means (22) for moving the mould container parts (4) filled with green bricks such that a protruding edge is formed on at least one side of the green bricks.

磁通门式电流传感器及其控制方法、装置、风力发电机组和存储介质

NºPublicación:  CN121831231A 10/04/2026
Solicitante: 
北京金风慧能技术有限公司
CN_121831231_PA

Resumen de: EP1000000A1

The invention relates to an apparatus (1) for manufacturing green bricks from clay for the brick manufacturing industry, comprising a circulating conveyor (3) carrying mould containers combined to mould container parts (4), a reservoir (5) for clay arranged above the mould containers, means for carrying clay out of the reservoir (5) into the mould containers, means (9) for pressing and trimming clay in the mould containers, means (11) for supplying and placing take-off plates for the green bricks (13) and means for discharging green bricks released from the mould containers, characterized in that the apparatus further comprises means (22) for moving the mould container parts (4) filled with green bricks such that a protruding edge is formed on at least one side of the green bricks.

一种风机塔筒三级精度智能对接安装方法

NºPublicación:  CN121828099A 10/04/2026
Solicitante: 
杭州谛瞳科技有限公司
CN_121828099_PA

Resumen de: EP1000000A1

The invention relates to an apparatus (1) for manufacturing green bricks from clay for the brick manufacturing industry, comprising a circulating conveyor (3) carrying mould containers combined to mould container parts (4), a reservoir (5) for clay arranged above the mould containers, means for carrying clay out of the reservoir (5) into the mould containers, means (9) for pressing and trimming clay in the mould containers, means (11) for supplying and placing take-off plates for the green bricks (13) and means for discharging green bricks released from the mould containers, characterized in that the apparatus further comprises means (22) for moving the mould container parts (4) filled with green bricks such that a protruding edge is formed on at least one side of the green bricks.

山地风电场风电机组叶轮组装平台及其使用方法

NºPublicación:  CN121828100A 10/04/2026
Solicitante: 
三峡新能源(凤凰)发电有限公司
CN_121828100_PA

Resumen de: EP1000000A1

The invention relates to an apparatus (1) for manufacturing green bricks from clay for the brick manufacturing industry, comprising a circulating conveyor (3) carrying mould containers combined to mould container parts (4), a reservoir (5) for clay arranged above the mould containers, means for carrying clay out of the reservoir (5) into the mould containers, means (9) for pressing and trimming clay in the mould containers, means (11) for supplying and placing take-off plates for the green bricks (13) and means for discharging green bricks released from the mould containers, characterized in that the apparatus further comprises means (22) for moving the mould container parts (4) filled with green bricks such that a protruding edge is formed on at least one side of the green bricks.

降温发电装置

Nº publicación: CN121828098A 10/04/2026

Solicitante:

北方华热(北京)科技有限公司

CN_121828098_PA

Resumen de: EP1000000A1

The invention relates to an apparatus (1) for manufacturing green bricks from clay for the brick manufacturing industry, comprising a circulating conveyor (3) carrying mould containers combined to mould container parts (4), a reservoir (5) for clay arranged above the mould containers, means for carrying clay out of the reservoir (5) into the mould containers, means (9) for pressing and trimming clay in the mould containers, means (11) for supplying and placing take-off plates for the green bricks (13) and means for discharging green bricks released from the mould containers, characterized in that the apparatus further comprises means (22) for moving the mould container parts (4) filled with green bricks such that a protruding edge is formed on at least one side of the green bricks.

traducir