Ministerio de Industria, Turismo y Comercio LogoMinisterior
 

Alerta

Resultados 319 resultados
LastUpdate Última actualización 05/03/2026 [07:07:00]
pdfxls
Solicitudes publicadas en los últimos 15 días / Applications published in the last 15 days
previousPage Resultados 300 a 319 de 319  

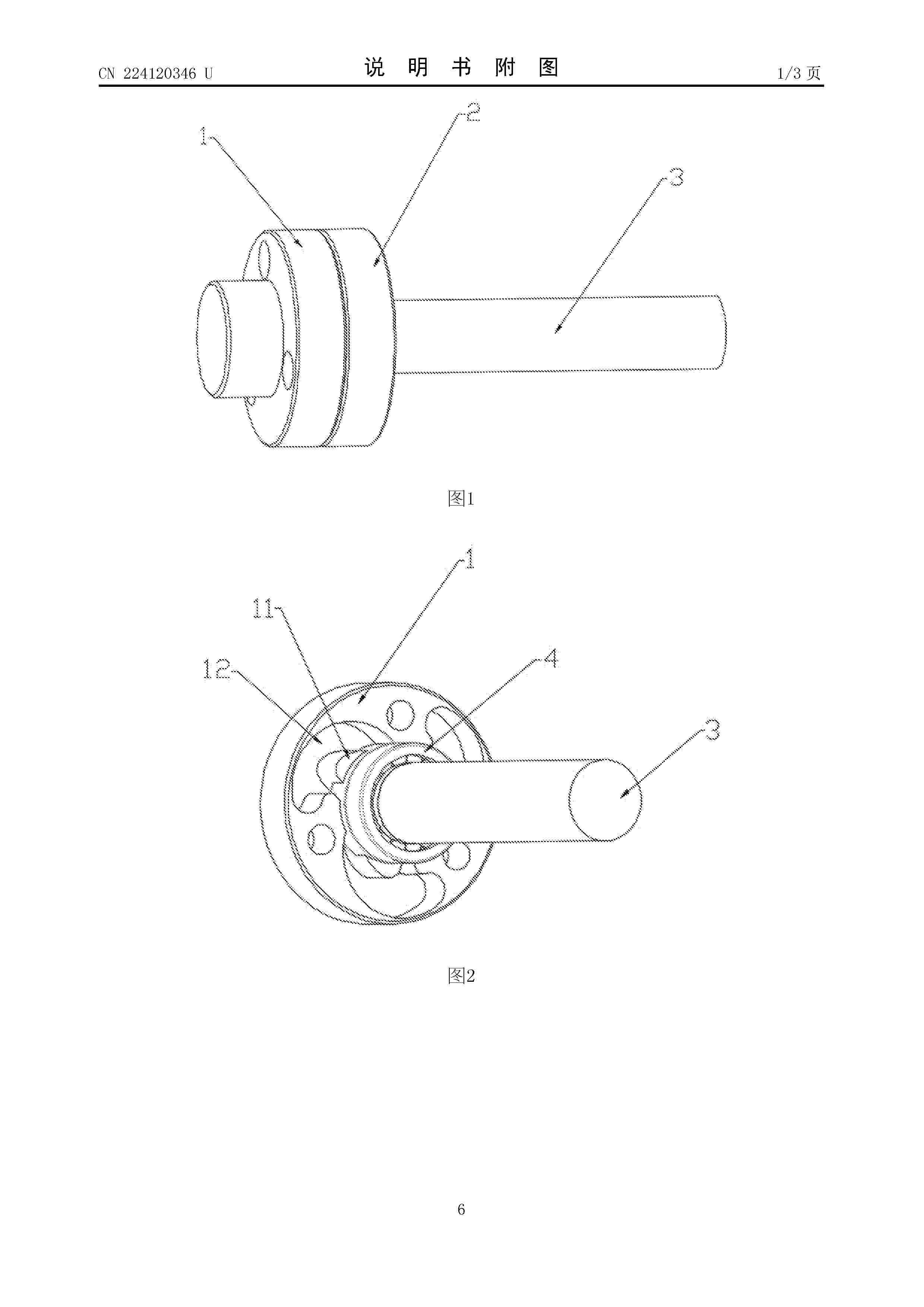
TURBINE ROTOR BLADE

NºPublicación:  AU2024329877A1 19/02/2026
Solicitante: 
HADIPOUR MORTEZA
PIRAN ROYA
HADIPOUR, Morteza,
PIRAN, Roya
AU_2024329877_A1

Resumen de: AU2024329877A1

A rotor blade assembly for use with a rotating shaft, the rotor blade assembly may comprise a rotor hub coaxially mounted on the rotating shaft, and a plurality of blades connected to and arranged circumferentially around the rotor hub. Each respective blade of the plurality of blades may be mirror-symmetrical with respect to a corresponding plane of symmetry. The corresponding plane of symmetry may extend between a hub-side end and a tip-side end of the respective blade, bisecting the respective blade into two similar portions, wherein each of the respective similar portions comprises a root edge connected to the rotor hub, a trailing edge, a leading edge, and a blade surface extending between the root edge, the trailing edge, the leading edge, and the corresponding plane of symmetry.

VERTICAL AXIS TURBINE AND FLOATING VESSEL

NºPublicación:  WO2026038959A1 19/02/2026
Solicitante: 
BLOWN B V [NL]
BLOWN B.V
WO_2026038959_PA

Resumen de: WO2026038959A1

The invention relates to a vertical axis turbine comprising a rotor and a frame for supporting the rotor, said frame comprising: - a top support with a bearing for the rotor, - a base support, and - six rigid legs, wherein the six rigid legs are attached in pairs to three mounting positions on the base support, and wherein the six rigid legs are attached in pairs different from the pairs formed at the base support to three mounting positions on the top support, wherein the three mounting positions on the base support lie on a first virtual circle with a first diameter, wherein the three mounting positions on the top support lie on a second virtual circle with a second diameter, and wherein the first diameter is larger than the second diameter.

WIND TURBINE AND WIND TURBINE ROTOR BLADE WITH ADD-ON

NºPublicación:  WO2026037780A1 19/02/2026
Solicitante: 
MUTECH B V [NL]
MUTECH B.V
WO_2026037780_PA

Resumen de: WO2026037780A1

The invention relates to a wind turbine rotor blade with an aerodynamic structure to reduce noise. The wind turbine rotor blade is formed by an assembly of a rotor blade and an aerodynamic add-on structure. The aerodynamic add-on structure has a plurality of through-holes for reducing noise. The add-on is provided at the rotor blade trailing-edge section of the rotor blade. In a cross-section of the assembly across the rotor blade pressure-side and rotor blade suction-side surfaces and/or the add-on pressure-side and add-on suction-side surfaces, which cross-section preferably is generally perpendicular to a radial direction of the rotor blade, the assembly has a first thickness at the add-on leading edge, the assembly has a second thickness at a through-hole positioned closest to the add-on leading edge, and a ratio of the first thickness to the second thickness is larger than 1.5, and preferably between 3 and 8.

Großwälzlager als Blatt-, Azimut- oder Hauptlager für eine Windenergieanlage

NºPublicación:  DE102024123253A1 19/02/2026
Solicitante: 
IMO HOLDING GMBH [DE]
IMO Holding GmbH

Resumen de: DE102024123253A1

Ein Großwälzlager hat einen Innenring und einen Außenring, die Laufbahnen für zwischen diesen Laufbahnen aufgenommene Wälzkörper, eine erste und eine zweite Stirnseite, und von der ersten zur zweiten Stirnseite durchgehende erste Befestigungsmittel haben, die im Abstand voneinander angeordnet einen ersten Befestigungskranz bilden; jede der ersten Befestigungsmittel fluchtet mit einer Bohrung eines ersten Anschluss-Elements; ein Adapterring verlängert den Außen- oder Innenring axial zu dem ersten oder einem zweiten Anschluss-Element hin; der Adapterring hat eine erste und eine zweite Stirnseite, von seiner ersten zu seiner zweiten Stirnseite durchgehende zweite Befestigungsmittel, die im Abstand voneinander angeordnet sind und einen zweiten Befestigungskranz bilden; jede der zweiten Befestigungsmittel fluchtet mit einer Bohrung eines zweiten Anschluss-Elements; zumindest an seiner ersten Stirnseite offene dritte Bohrungen sind im Abstand voneinander angeordnet und bilden einen dritten Befestigungskranz; jede der dritten Bohrungen fluchtet an der ersten Stirnseite des Adapterrings mit einer Bohrung des Außenrings oder des Innenrings. Der Durchmesser des dritten Befestigungskranzes ist größer als der der Durchmesser des zweiten Befestigungskranzes.

METHOD FOR OPERATING A WIND TURBINE

NºPublicación:  EP4697545A2 18/02/2026
Solicitante: 
WOBBEN PROPERTIES GMBH [DE]
Wobben Properties GmbH
EP_4697545_PA

Resumen de: EP4697545A2

Die Erfindung betrifft ein Verfahren zum Steuern wenigstens einer Windenergieanlage (100), wobei die wenigstens eine Windenergieanlage (100) zum Einspeisen elektrischer Leistung in ein elektrisches Versorgungsnetz (120) vorbereitet ist, und abhängig von einem Leistungsangebot in dem elektrischen Versorgungsnetz (120) elektrische Wirkleistung in das elektrische Versorgungsnetz (120) eingespeist wird oder elektrische Wirkleistung aus dem elektrischen Versorgungsnetz (120) entnommen und wenigstens einem elektrischen Verbraucher der wenigstens einen Windenregieanlage (100) zugeführt wird, und abhängig einer weiteren Zustandsgröße des elektrischen Versorgungsnetzes (120) elektrische Blindleistung in das elektrische Versorgungsnetz (120) eingespeist wird oder elektrische Blindleistung aus dem elektrischen Versorgungsnetz (120) entnommen wird.

PULTRUDED PLANK, SPAR CAP, WIND TURBINE BLADE, AND PULTRUSION PREPARATION PROCESS

NºPublicación:  EP4695078A1 18/02/2026
Solicitante: 
OWENS CORNING INTELLECTUAL CAPITAL LLC [US]
Owens Corning Intellectual Capital, LLC
WO_2024215564_PA

Resumen de: MX2025011983A

The present application discloses a pultruded plank, a spar cap, a wind turbine blade, and a pultrusion preparation process. The pultruded plank comprises a pultruded core and a coated interface layer. The pultruded core is made with reinforced fibers impregnated with a core resin. The interface layer is made with an interface resin present on at least one surface of the pultruded core, and allows the pultruded plank to be wound and packaged after manufacturing. The interface resin contains an isocyanate resin and a polyester resin, and the mass ratio of the isocyanate resin to the polyester resin is 1:3~2:3. The surface of the interface layer forms a bonded surface on the pultruded plank, and the bonded surface is used to form a bonding interface between at least two pultruded planks.

VERTICAL-AXIS WIND TURBINE CONTROL

NºPublicación:  EP4696883A1 18/02/2026
Solicitante: 
AERONOVIS S A [LU]
Aeronovis S.A
EP_4696883_PA

Resumen de: EP4696883A1

A lift-type VAWT (10), comprises a rotor (12), a generator, a drive train for transmitting mechanical power from the rotor to the generator (20), a braking system including an eddy-current brake (22) and at least one friction brake (24), and a control system (36). The drive train comprises a primary shaft (14) carrying the rotor, a secondary shaft (18) connected to the generator, and a transmission (16) connecting the primary to the secondary shaft. The control system monitors one or more operating parameters of the generator and retards the secondary shaft by regulating the braking power of the eddy-current brake depending on the monitored operating parameters of the generator. The control system further monitors operating parameters of the eddy-current brake and activates the friction brake(s) to bring the rotor to a halt when stopping of the wind turbine is mandated.

ASSEMBLY OF A ROTOR OF AN ELECTRICAL MACHINE

NºPublicación:  EP4697572A1 18/02/2026
Solicitante: 
SIEMENS GAMESA RENEWABLE ENERGY AS [DK]
Siemens Gamesa Renewable Energy A/S
EP_4697572_PA

Resumen de: EP4697572A1

It is described a method and arrangement (1) for mounting a stiffening ring (2), in particular brake disk, to a rotor house (3) of an electrical machine, comprising: a carrier frame (4) equipped with a driving system (5) adapted to move along a circumference (6) of the rotor house (3); at least one fastening device (10) mounted at the carrier frame (4), the fastening device comprising a torque spindle and being adapted to fasten a bolt (37) through a stiffening ring hole (11) into a hole in the rotor house (3).

WIND TURBINE ROTOR BLADE PITCH SYSTEM

NºPublicación:  EP4696884A1 18/02/2026
Solicitante: 
SIEMENS GAMESA RENEWABLE ENERGY AS [DK]
Siemens Gamesa Renewable Energy A/S
EP_4696884_PA

Resumen de: EP4696884A1

The invention describes a wind turbine rotor blade pitch system (1) comprising, for each rotor blade (20) of a wind turbine (2): a hydraulic cylinder (10) and a means of converting a linear displacement of the cylinder piston rod (10R) into a rotational displacement of that rotor blade (20); an accumulator (11) adapted to provide pressurised hydraulic fluid to the cap-end chamber (101) of the hydraulic cylinder (10) or to the rod-end chamber (102) of the hydraulic cylinder (10); and a hydraulic circuit (12) comprising a primary return line (L1) connecting the rod-end chamber (102) to the accumulator (11); a secondary return line (L2) connecting the rod-end chamber (102) to a fluid reservoir (19); and a means (122V, 124V) of opening the secondary return line (L2) to divert hydraulic fluid to the fluid reservoir (19); which pitch system (1) further comprises a pitch controller (1C) adapted to actuate the line opening means (122V, 124V) of a hydraulic circuit (12). The invention further describes a method of controlling such a wind turbine rotor blade pitch system (1).

リフトアップ装置

NºPublicación:  JP2026026561A 18/02/2026
Solicitante: 
株式会社大林組
JP_2026026561_PA

Resumen de: JP2026026561A

【課題】要素部材を上方へ搬送するためのステージの昇降回数を減らして工期短縮を可能としたリフトアップ装置を提供する。【解決手段】風力発電機を構築する際に要素部材を上方へ搬送するリフトアップ装置であって、ガイドタワー21と、旋回式クレーンを備えた移動式クレーン50が載置されると共に、ガイドタワー21に対して昇降可能に支持されたステージ30と、を備え、ステージ30は、ガイドタワー21に片持ち支持されている。ガイドタワー21は、タワー本体11とステーリング25を介して連結されている。ステージ30の最下位置は、地上の移動式クレーン50が移動可能な高さである。【選択図】図4

Improved wind farm turbine

NºPublicación:  GB2643393A 18/02/2026
Solicitante: 
CLEAN ENERGY DESIGN SYSTEMS LTD [GB]
Clean Energy Design Systems Ltd
GB_2643393_PA

Resumen de: GB2643393A

A wind turbine 10 comprises a turbine column 12, one or more rotatable shafts 11, and a turbine 13 coupled proximate to the first end of each shaft 11. A plurality of generators 15 are housed in the turbine, and are each detachably coupled to the surface of one of the rotating shafts, such that they can be selectively driven by rotation of the respective shaft. The generators supply power to one or more of several downstream systems. A controller housed within the turbine column controls the detachable couplings and the output of the plurality of generators. The controller analyses the power output of the generators and the power demand from each of the downstream systems, and adds or removes generators from the shaft(s) to maximize power generation. The controller is configured to supply at least a portion of the generated power to one or more of the downstream systems based on the amount of power generated and each systems relative power demand.

WIND ENERGY HARVESTER

NºPublicación:  EP4695513A1 18/02/2026
Solicitante: 
ARCHIMEDES IP PTY LTD [AU]
Archimedes IP Pty Ltd
CN_121002279_PA

Resumen de: CN121002279A

The present disclosure provides a wind energy collector 10 comprising a carousel platform 12 positionable on a surface 14 and a generator 16. The collector 10 comprises at least one elongate support boom 18, one proximal end 20 of which is pivotally disposed on the carousel platform 12 such that the support boom 18 is oscillatable and which is configured to oscillate to drive the fluid pump 16. The collector 10 further comprises a high lift airfoil 24 rotatably disposed at the distal end 22 of the support boom 18 to be higher than the carousel platform 12 and the surface 14, further comprises an orientation device 26 configured to reverse the airfoil 24 between oscillations to maintain a desired angle of attack of the airfoil 24 with respect to the carousel 12 during such oscillations, and a wind indicator device 28 configured to indicate the orientation of the airfoil 24 with respect to the carousel 12 during such oscillations. And a wind deflector disposed between the proximal end 20 and the distal end 22 of the support boom 18 and configured to correct an angle of attack of the airfoil 24 according to a relative wind direction with respect to the carousel 12. In this way, the oscillation of the support boom enables the collection of wind energy via the generator.

A SYSTEM AND METHOD FOR DETERMINING ROUGHNESS IN WIND TURBINE BLADES

NºPublicación:  EP4696886A1 18/02/2026
Solicitante: 
RE TECH GMBH [DE]
RE Technologies GmbH
EP_4696886_PA

Resumen de: EP4696886A1

The Invention determines roughness in wind turbine blades based on real time conditions. The invention also evaluates the performance of wind turbine by overruling the other possible factors contributing to lower performance of the wind turbine and determining the roughness in wind turbine blades being the determinative factor for the low performance of a wind turbine. The present invention determines roughness in the wind turbine blades based on a mechanism which can provide hub height wind speed input to the controller that is experienced by the turbine in real time basis.

ROTATING CONDUCTIVE APPARATUS AND POWER SOCKET

NºPublicación:  EP4697527A1 18/02/2026
Solicitante: 
JIANGXI RISHENG PREC HARDWARE CO LTD [CN]
Jiangxi Risheng Precision Hardware Co., Ltd
EP_4697527_PA

Resumen de: EP4697527A1

Disclosed in the present invention are a rotating conductive apparatus and a power socket. The rotating conductive apparatus comprises a conductive assembly, an elastic apparatus, a position limiting apparatus and a wire, the conductive assembly comprising a conductive shaft, a conductive carrier and a conductive base. A current first flows through the conductive base, the conductive base then electrifies the conductive shaft, the conductive shaft then transmits the current to the conductive carrier, and the conductive carrier can rotate around the conductive shaft. The wire is electrically connected to the conductive carrier, the wire rotates around the conductive shaft by means of the conductive carrier to achieve winding, and the conductive carrier can stably input and output the current to the wire. The elastic apparatus is responsible for winding the wire, and the position limiting apparatus is responsible for limiting the length of the wire drawn out. Compared with structures of follow-up circuit boards and conductive plates, the structural hardness of the conductive shaft is higher than that of a fixed circuit board, and the bearable contact friction force between the conductive shaft and the conductive carrier is greater than the bearable contact friction force between a circular conductive rail and a metal contact member, thereby effectively prolonging service life of products.

LIGHTNING STRIKE PROTECTION SYSTEM

NºPublicación:  EP4695514A1 18/02/2026
Solicitante: 
VESTAS WIND SYS AS [DK]
VESTAS WIND SYSTEMS A/S
CN_120936801_PA

Resumen de: CN120936801A

A pitch-controlled wind turbine comprising a tower, a nacelle mounted on the tower, a hub rotatably mounted on the nacelle, and at least three wind turbine blades wherein each wind turbine blade extends between a root end and a tip end, the root end being connected to the hub via a pitch mechanism; the wind turbine further comprises at least three blade connection members, each blade connection member extending from a connection point on one wind turbine blade towards a connection point on an adjacent wind turbine blade, wherein the connection points on a given wind turbine blade are arranged at a distance from the root end of the wind turbine blade and at a distance from the tip end of the wind turbine blade; each wind turbine blade comprising an outboard portion extending the distance from a tip end of the wind turbine blade to the connection point, and an inboard portion extending the distance from a root end of the wind turbine blade to the connection point; wherein the wind turbine further comprises a lightning strike protection system, and each blade connection member has an electrically conductive material configured to conduct lightning current from an outboard portion of the wind turbine blade from which the connection member extends and along a path extending with the blade connection member towards the tower.

TRANSMISSION SHAFT FOR A PLANETARY TRANSMISSION

NºPublicación:  EP4695535A1 18/02/2026
Solicitante: 
FLENDER GMBH [DE]
Flender GmbH
CN_121368690_PA

Resumen de: WO2024213479A1

The invention relates to a transmission shaft (32) for a planetary transmission, having a first coupling point (30) for introducing a torque and a second coupling point (52) for outputting the torque, wherein a path of a torque flow extending from the first coupling point to the second coupling point is formed and the axial portions of the path along which the torque flow flows are greater than an axial distance between the first coupling point and the second coupling point, wherein a freely oscillating shaft end is formed in a common axial subregion in which the torque flow flows on different radii in opposite axial directions. Due to the extended path of the torque flow (54), the stiffness and the natural frequency of an oscillatory overall system having the transmission shaft (32) can be reduced, thereby allowing disruptive oscillations in a planetary transmission to be reduced.

DAMPENING SYSTEM AND METHOD FOR WIND TURBINE INSTALLATION

NºPublicación:  EP4696885A2 18/02/2026
Solicitante: 
SIEMENS GAMESA RENEWABLE ENERGY AS [DK]
Siemens Gamesa Renewable Energy A/S
EP_4696885_PA

Resumen de: EP4696885A2

The invention relates to a Damping system (1) for damping a movement of a tower (2) of a wind turbine (3), comprising a string (4) for being attached to the tower (2) for applying a pulling force to the tower (2). The damping system (1) further comprises a pulling device (5) for providing a defined pulling force onto the string (4) and a controlling device (6) for controlling the pulling device (5). The invention further relates to a method for damping a movement of a tower (2) of a wind turbine (3).

A PITCH CONTROLLED WIND TURBINE WITH BLADE CONNECTING MEMBERS

NºPublicación:  EP4696882A2 18/02/2026
Solicitante: 
VESTAS WIND SYS AS [DK]
VESTAS WIND SYSTEMS A/S
EP_4696882_PA

Resumen de: EP4696882A2

A pitch controlled wind turbine (1) comprising a tower (2), a nacelle (3) mounted on the tower (2), a hub (4) mounted rotatably on the nacelle (3), and at least three wind turbine blades (5) is disclosed. Each wind turbine blade (5) extends between a root end (10) connected to the hub (4) via a pitch mechanism, and a tip end. The wind turbine (1) further comprises at least three blade connecting members (6), each blade connecting member (6) extending between a connection point (7) on one wind turbine blade (5) and a connection point (7) on a neighbouring wind turbine blade (5), the connection points (7) being arranged at a distance from the root end (10) and at a distance from the tip end of the wind turbine blade (5). The wind turbine (1) further comprises at least three pre-tension members (8), each pre-tension member (8) being connected to one of the blade connecting members (6) and to a hub part (4, 9, 26), the pre-tension members (8) thereby providing pre-tension in the blade connecting members (6).

BIAXIAL SINGLE FREQUENCY FATIGUE TEST FOR WIND TURBINE BLADES

Nº publicación: EP4695594A1 18/02/2026

Solicitante:

ENVISION ENERGY CO LTD [CN]
Envision Energy Co., Ltd

AU_2024441602_A1

Resumen de: AU2024441602A1

The present invention relates to a method and system of fatigue testing a wind turbine blade using a test system. The test system comprises a test stand to which the wind turbine is fixed. A first excitation unit is connected to the wind turbine blade and used to introduce loadings in the flapwise direction. A second excitation unit is connected to the wind turbine blade and used to introduce loadings in the edge wise direction. A load controllable unit is connected to the wind turbine blade and used to adjust the resonant frequency of the test system. Loadings in the flapwise and edgewise directions are introduced at the same resonant frequency and the loadings are measured using a number of detector units electrically connected to the control unit. The control unit monitors and controls the amplitude of the first and second harmonic motions and the phase between the first and second harmonic motions, thereby allowing the load polar plot to accurately match a target load polar plot.

traducir