Ministerio de Industria, Turismo y Comercio LogoMinisterior
 

Alerta

Resultados 371 resultados
LastUpdate Última actualización 04/03/2026 [07:20:00]
pdfxls
Solicitudes publicadas en los últimos 15 días / Applications published in the last 15 days
previousPage Resultados 250 a 275 de 371 nextPage  

再生可能エネルギー発電機候補地評価装置、陸上風車候補地評価装置、および、再生可能エネルギー発電機候補地評価装置方法

NºPublicación:  JP2026028646A 20/02/2026
Solicitante: 
株式会社日立パワーソリューションズ
JP_2026028646_PA

Resumen de: JP2026028646A

【課題】出力抑制量を考慮して陸上風車の建設候補地を探索する。【解決手段】陸上風車候補地評価装置3は、出力抑制量を評価するための算出条件を決定する算出条件入力部20と、算出条件に基づき電力系統を構成する発電機の発電出力と需要と電力系統モデルを記憶する電力系統データ記憶部21と、電力系統データ記憶部21に記憶されたデータに基づき、出力抑制量を算出する出力抑制量算出部22と、出力抑制量を表示する出力抑制量表示部23と、電力系統における送電線の利用率から電力系統の系統混雑具合を可視化する系統混雑レイヤ変換部24と、を備える。【選択図】図1

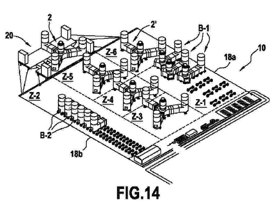
洋上風力タービン用の浮体を大量生産するための方法

NºPublicación:  JP2026506164A 20/02/2026
Solicitante: 
サイペムエス.アー.
JP_2026506164_PA

Resumen de: CN120731167A

The invention relates to a method for the large-scale production of floats (2) for offshore wind turbines, each float being formed by the assembly of two to six steel unit giant blocks (B-1, B-2), the method comprising, in order: manufacturing the giant blocks on a dedicated building surface; transporting the giant blocks from the building surface by marine shipping and storing the giant blocks in a storage area (Z-1, Z-2) of a production surface (10) different from the building surface, the same giant blocks being stored on the same storage area; and a final pipelined manufacturing of the floats, comprising, for each float, the following steps in sequence: a step of preparing the giant blocks, a step of assembling and preliminarily welding the giant blocks together in an assembly and preliminary welding zone (Z-3), and a step of assembling and preliminarily welding the giant blocks together in the assembly and preliminary welding zone (Z-3). The assembly and preliminary welding area (Z-3) is different from and adjacent to the storage area, followed by a step of final welding of the giant blocks together in a final welding area (Z-4), and followed by a step of completing the float in a completion area (Z-5), wherein the floating giant blocks and floats move between different regions according to translational motion during manufacturing.

鉄塔基礎及び鉄塔基礎の構築方法

NºPublicación:  JP2026028287A 20/02/2026
Solicitante: 
日本ヒューム株式会社
JP_2026028287_PA

Resumen de: JP2026028287A

【課題】鉄塔基礎を容易に構築する。【解決手段】PC部材200が床板10上で積層される(積層工程)。その後、この積層構造内にコンクリートを充填し固化させることによって、内部にコンクリート中詰層21が形成され、柱体20が形成される(コンクリート中詰層形成工程)。この際に、上部に複数本のアンカーボルト(鉄塔固定具)22を固定することができる。特に、アンカーボルト22は、PC部材200内部の狭い空間におけるコンクリート層に対して固定されるため、その固定を容易かつ正確に行うことができる。【選択図】図6

ブレード

NºPublicación:  JP2026029117A 20/02/2026
Solicitante: 
株式会社エクセディ
JP_2026029117_PA

Resumen de: JP2026029117A

【課題】ブレードを軽量化する。【解決手段】ブレードは、ブレード本体及び蓋部材を備える。ブレード本体は、凹部、及び凹部内を延びる第1リブ、を有する。蓋部材は、蓋部及び第2リブを有する。蓋部は、凹部を覆うようにブレード本体に取り付けられる。第2リブは、蓋部から凹部の底面に向かって突出する。第1リブは、蓋部に接合する。第2リブは、凹部の底面に接合する。【選択図】図3

Großwälzlager als Blatt-, Azimut- oder Hauptlager für eine Windenergieanlage

NºPublicación:  DE102024123253A1 19/02/2026
Solicitante: 
IMO HOLDING GMBH [DE]
IMO Holding GmbH

Resumen de: DE102024123253A1

Ein Großwälzlager hat einen Innenring und einen Außenring, die Laufbahnen für zwischen diesen Laufbahnen aufgenommene Wälzkörper, eine erste und eine zweite Stirnseite, und von der ersten zur zweiten Stirnseite durchgehende erste Befestigungsmittel haben, die im Abstand voneinander angeordnet einen ersten Befestigungskranz bilden; jede der ersten Befestigungsmittel fluchtet mit einer Bohrung eines ersten Anschluss-Elements; ein Adapterring verlängert den Außen- oder Innenring axial zu dem ersten oder einem zweiten Anschluss-Element hin; der Adapterring hat eine erste und eine zweite Stirnseite, von seiner ersten zu seiner zweiten Stirnseite durchgehende zweite Befestigungsmittel, die im Abstand voneinander angeordnet sind und einen zweiten Befestigungskranz bilden; jede der zweiten Befestigungsmittel fluchtet mit einer Bohrung eines zweiten Anschluss-Elements; zumindest an seiner ersten Stirnseite offene dritte Bohrungen sind im Abstand voneinander angeordnet und bilden einen dritten Befestigungskranz; jede der dritten Bohrungen fluchtet an der ersten Stirnseite des Adapterrings mit einer Bohrung des Außenrings oder des Innenrings. Der Durchmesser des dritten Befestigungskranzes ist größer als der der Durchmesser des zweiten Befestigungskranzes.

WIND POWER GENERATION STRUCTURE AND HYBRID POWER GENERATION APPARATUS USING SAME

NºPublicación:  WO2026038611A1 19/02/2026
Solicitante: 
KIM HEE JUN [KR]
CHAE JUNG SOOK [KR]
\uAE40\uD76C\uC900,
\uCC44\uC815\uC219
WO_2026038611_PA

Resumen de: WO2026038611A1

The present invention relates to a wind power generation structure and a hybrid power generation apparatus using same and, more specifically, to a wind power generation structure and a hybrid power generation apparatus using same, in which the wind power generation structure, in order to occupy less space during installation and improve power generation efficiency by increasing air inflow, comprises: a module structure through which air flowing in from the outside can pass and then be discharged to the outside; and a wind power generation module comprising a support pillar of which one end is coupled to the module structure and which is provided vertically, and a plurality of blades which are rotatably arranged on the support pillar and generate electrical energy via the rotational force of the blades, wherein the module structure has a three-dimensional structure by means of a first flow path forming member and a second flow path forming member respectively arranged on the upper and lower ends thereof, and a third flow path forming member connecting both edges of the first flow path forming member and both edges of the second flow path forming member, and the wind power generation module comprises a first wind power generation module which includes a support pillar having one end coupled to the upper end or lower end of the module structure, and includes blades positioned in a space between the first flow path forming member and the second flow path forming member.

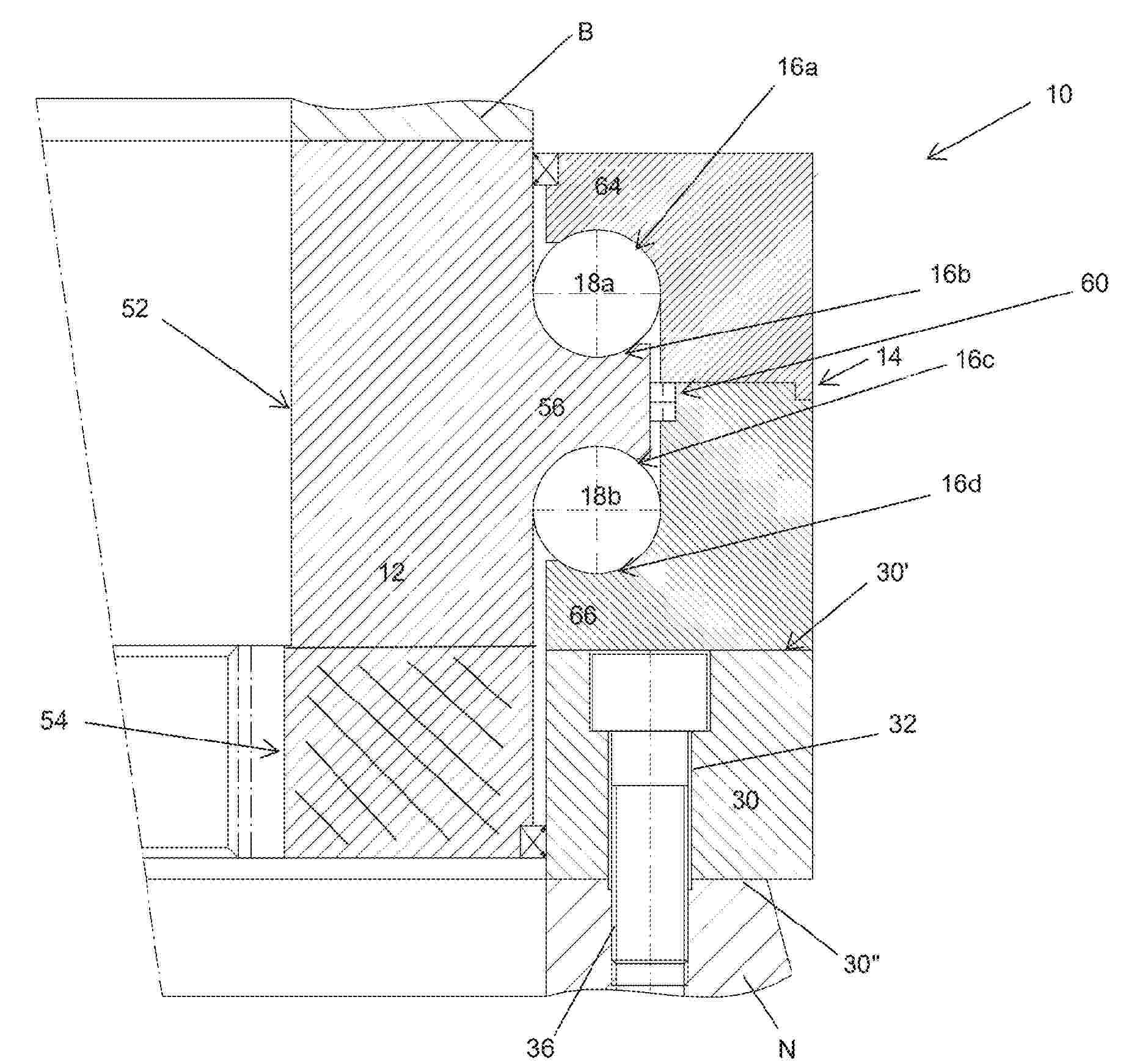
A WIND TURBINE BLADE WITH REINFORCEMENTS TO PREVENT LEADING EDGE BENDING

NºPublicación:  WO2026037744A1 19/02/2026
Solicitante: 
BLADENA APS [DK]
BLADENA APS
WO_2026037744_PA

Resumen de: WO2026037744A1

A wind turbine blade having a blade shell comprising a lead edge and a trailing edge and at least one girder, the wind turbine blade comprising at least one longitudinal reinforcing member mounted on the inner surface of the leading or trailing edge, and extending longitudinally at least part of the length of the wind turbine blade between its root and tip, and/or at least one angled reinforcing member connected at one end to the girder or to a junction between an end of the girder and the blade shell, and extending towards the leading or trailing edge and being fixed to said leading edge or trailing edge or to one or more of the longitudinally arranged members.

ROBOTIC VEHICLE FOR MEASURING FLANGES OF WIND POWER TOWERS AND MEASURING METHOD USING SAID VEHICLE

NºPublicación:  WO2026038130A1 19/02/2026
Solicitante: 
AXIST S R L [IT]
AXIST S.R.L
WO_2026038130_PA

Resumen de: WO2026038130A1

Robotic vehicle (11) for measuring flanges (FL) of wind power towers, comprising: a support structure (13); a drive unit (15) equipped with motorized locomotion members and associated with the support structure (13); a tilt sensor (19) capable of generating a signal indicative of the tilt angle of a plane of the sensor along a pair of mutually perpendicular axes; a profile-measuring device (21) capable of generating a signal indicative of dimensional features of a surface relative to which the vehicle (11) moves by means of the motorized locomotion members; a local electronic control unit (23) associated with the support structure (13) and capable of controlling the operation of the drive unit (15) and processing the signals coming from said tilt sensor (19) and said profile-measuring device (21).

WIND TURBINE AND WIND TURBINE ROTOR BLADE WITH ADD-ON

NºPublicación:  WO2026037780A1 19/02/2026
Solicitante: 
MUTECH B V [NL]
MUTECH B.V
WO_2026037780_PA

Resumen de: WO2026037780A1

The invention relates to a wind turbine rotor blade with an aerodynamic structure to reduce noise. The wind turbine rotor blade is formed by an assembly of a rotor blade and an aerodynamic add-on structure. The aerodynamic add-on structure has a plurality of through-holes for reducing noise. The add-on is provided at the rotor blade trailing-edge section of the rotor blade. In a cross-section of the assembly across the rotor blade pressure-side and rotor blade suction-side surfaces and/or the add-on pressure-side and add-on suction-side surfaces, which cross-section preferably is generally perpendicular to a radial direction of the rotor blade, the assembly has a first thickness at the add-on leading edge, the assembly has a second thickness at a through-hole positioned closest to the add-on leading edge, and a ratio of the first thickness to the second thickness is larger than 1.5, and preferably between 3 and 8.

MODULAR THERMOPLASTIC WEB STRUCTURE FOR WIND POWER, MANUFACTURING METHOD THEREFOR AND WIND TURBINE BLADE

NºPublicación:  WO2026036769A1 19/02/2026
Solicitante: 
ENVISION ENERGY CO LTD [CN]
\u8FDC\u666F\u80FD\u6E90\u6709\u9650\u516C\u53F8
WO_2026036769_PA

Resumen de: WO2026036769A1

A modular thermoplastic web structure for wind power, a manufacturing method therefor and a wind turbine blade. The modular thermoplastic web structure comprises: two continuous thermoset web flanges (11) fixedly connected to a wind turbine blade shell, and a thermoplastic modular interlayer (10). The thermoplastic modular interlayer (10) is arranged between the two continuous thermoset web flanges (11), with ends thereof being fixedly connected to the continuous thermoset web flanges (11).

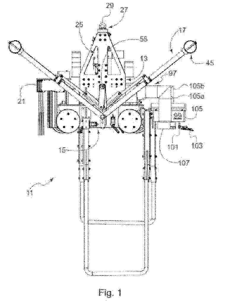
ROTOR LOCKING DEVICE AND USAGE METHOD THEREFOR, AND WIND TURBINE

NºPublicación:  WO2026036729A1 19/02/2026
Solicitante: 
ENVISION ENERGY CO LTD [CN]
\u8FDC\u666F\u80FD\u6E90\u6709\u9650\u516C\u53F8
WO_2026036729_PA

Resumen de: WO2026036729A1

A rotor locking device, comprising a lock plate body (1), telescopic assemblies (2), connecting plates (3), and locking assemblies (4). The lock plate body (1) comprises a rotor fastening portion (11) and locking box portions (12), wherein the rotor fastening portion (11) is provided with rotor connection holes (111) for connecting to a rotor, and each locking box portion (12) is provided with locking box fastening holes (121) for mounting the locking assemblies (4). The connecting plates (3) partially penetrate the inside of the locking box portions (12) and are connected to the locking box portions (12) by means of the telescopic assemblies (2); each connecting plate (3) is provided with a lock pin hole (31) matching a rotor lock pin and connecting plate fastening holes (32) for mounting the locking assemblies (4). The locking assemblies (4) pass through the locking box fastening holes (121) and the connecting plate fastening holes (32). The solution has advantages such as enabling fastening at any rotor azimuth angle. In addition, the present invention further relates to a usage method for the rotor locking device and a wind turbine.

FAULT MEASUREMENT IMPEDANCE CALCULATION METHOD AND DEVICE FOR HYBRID GRID-FOLLOWING/GRID-FORMING WIND POWER SYSTEM

NºPublicación:  WO2026036709A1 19/02/2026
Solicitante: 
NORTH CHINA ELECTRIC POWER UNIV [CN]
\u534E\u5317\u7535\u529B\u5927\u5B66
WO_2026036709_PA

Resumen de: WO2026036709A1

The present disclosure provides a fault measurement impedance calculation method and device for a hybrid grid-following/grid-forming wind power system. The method comprises: acquiring characteristics of a grid-following converter and a grid-forming converter, and corresponding low-voltage ride-through control strategies; establishing an equivalent circuit corresponding to a fault state; performing simplified analysis on a hybrid wind power system to obtain an equivalent network diagram; obtaining a branch circuit diagram under individual action of each power excitation; obtaining short-circuit currents and grid-connected point voltages on two sides of the system corresponding to the individual action of each power excitation; performing superimposition to obtain a total short-circuit current and a total grid-connected point voltage at the two sides of the hybrid wind power system; and obtaining a measurement impedance at a protection installation point on a new energy side. In the method, a measurement impedance value at a protection installation point of a hybrid wind power system after a fault occurs can be accurately calculated, so that the setting calculation of distance protection is ensured, so as to accurately reflect fault characteristic information of a hybrid AC system, thereby providing a basis for the distance protection applicability research of the hybrid wind power system, and thus ensuring the safe and stable operation of new energy systems.

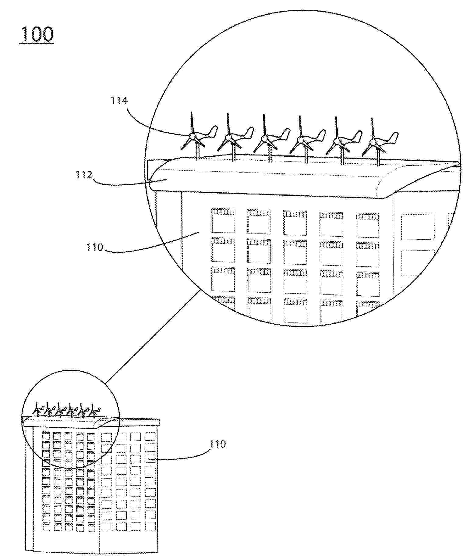
Architectural Optimization of Wall-to-Roof Interface to Enhance Wind Turbine Efficiency

NºPublicación:  US20260049591A1 19/02/2026
Solicitante: 
LOCCISANO VINCENT [US]
Loccisano Vincent
US_20260049591_PA

Resumen de: US20260049591A1

An aerodynamic form mounted at the interface between a building's wall and roof having an aerodynamic form that intercepts oncoming wind and directs it over the edge of the roof as laminar flow directed toward a wind turbine mounted on or proximal to the roof. This directed airflow channeled toward the rotors of the one or more wind turbines increases power generation while reducing noise from turbulent flow.

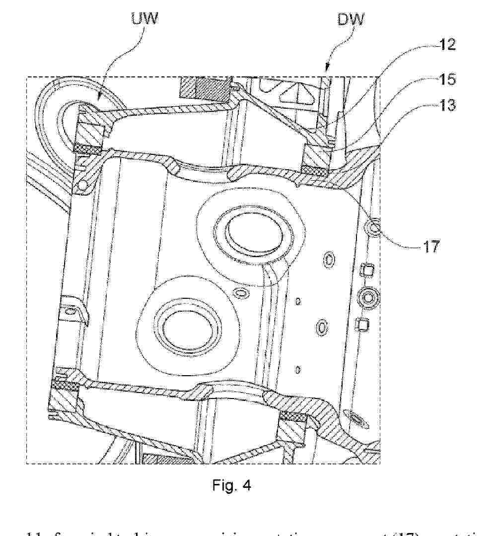
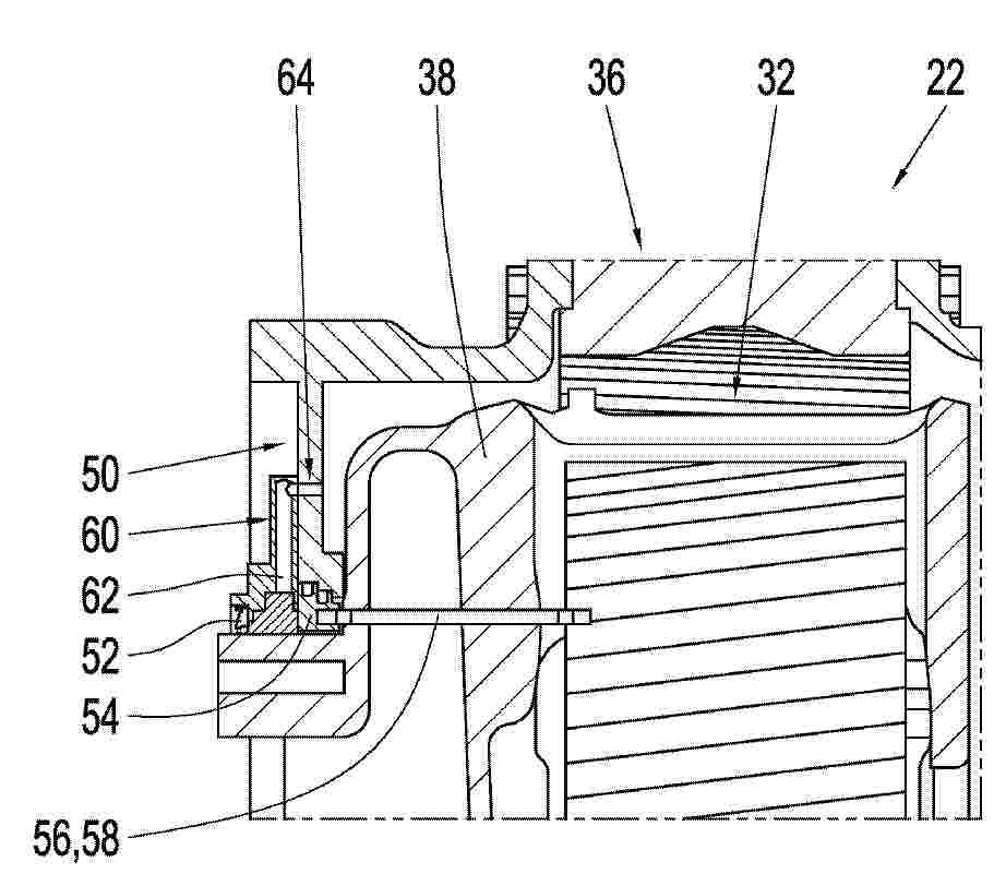
METHOD FOR REPARING A JOURNAL BEARING ASSEMBLY AND JOURNAL BEARING ASSEMBLY OF A WIND TURBINE

NºPublicación:  WO2026037498A1 19/02/2026
Solicitante: 
GENERAL ELECTRIC RENOVABLES ESPANA S L [ES]
GENERAL ELECTRIC RENOVABLES ESPA\u00D1A S.L
WO_2026037498_PA

Resumen de: WO2026037498A1

Journal bearing assembly for wind turbines comprising a static component (17), a rotating component (12) configured to rotate relative to the static component, a ring (13) mounted on the static component, and a plurality of bearing pads (15) mounted on the rotating component. The ring is configured to provide a clearance between the ring and the bearing pads in an area that is substantially unloaded by a weight of the wind turbine rotor. Method for repairing a journal bearing assembly of a wind turbine, comprising selecting a first bearing pad to be removed, positioning the first bearing pad in a removal position, the removal position being in an area of the journal bearing assembly that is substantially unloaded by a weight of the wind turbine rotor, locking the rotating component and maintaining the first bearing pad in the removal position and removing the first bearing pad through a clearance created in a ring mounted on the static component.

Internet of Things-based method and device for controlling power generation of wind power generator set

NºPublicación:  US20260049596A1 19/02/2026
Solicitante: 
ZHONGSHAN POWER SUPPLY BUREAU OF GUANGDONG POWER GRID CO LTD [CN]
Zhongshan Power Supply Bureau of Guangdong Power Grid Co Ltd
US_20260049596_PA

Resumen de: US20260049596A1

A method and a device for controlling power generation of a wind power generation unit based on the Internet of Things are provide. According to the method, at least one of a first electric power generation power control amount component, a second electric power control amount component, and a third electric power control amount component is controlled. An expected adjustment value of electric power is determined, so that at least one of a gearbox step-up ratio, an electromagnetic torque of a generator, and a rotation speed of a wind wheel can be calculated to adjust a data security adjustment and control amount of output power of an offshore wind power generator set. The electric power generation power of the wind turbine generator set is adjusted to be the difference between the current electric power generation power and the expected adjustment value of the electric power generation power.

MODULAR THERMOPLASTIC WEB STRUCTURE FOR WIND POWER GENERATION, MANUFACTURING METHOD THEREFOR, AND WIND TURBINE BLADE

NºPublicación:  US20260049594A1 19/02/2026
Solicitante: 
ENVISION ENERGY CO LTD [CN]
Envision Energy Co., Ltd
US_20260049594_PA

Resumen de: US20260049594A1

The present disclosure relates to a modular thermoplastic web structure for wind power generation, a manufacturing method therefor, and a wind turbine blade. The modular thermoplastic web structure includes: two continuous thermosetting web flanges fixedly connectable to a wind turbine blade housing; and a thermoplastic modular interlayer, disposed between the two continuous thermosetting web flanges and having two opposite ends fixedly and respectively connected to the two continuous thermosetting web flanges.

METHOD FOR OBTAINING AN IMPROVED SEGMENTED BLADE

NºPublicación:  US20260049595A1 19/02/2026
Solicitante: 
NABRAWIND TECH S L [ES]
NABRAWIND TECHNOLOGIES, S.L
US_20260049595_PA

Resumen de: US20260049595A1

A method for obtaining an improved segmented blade, wherein, for a blade 95 m long with the joint disposed 25-30 m from the blade tip: a) the chord and overall thickness in the 20 m of the outboard module are reduced by 75%; b) the outboard module is extended by 1 m; c) joining elements per cap are reduced from 10 to 8, and the blade mass from 800 kg to 640 kg, reducing the impact for the joint mass on the rest of the wind turbine; and d) loads at the blade root are reduced by 11% without affecting wind turbine productivity. The standard blade and the slender blade are manufactured in the same mould by adding detachable pieces at the end of the mould, depending on the required

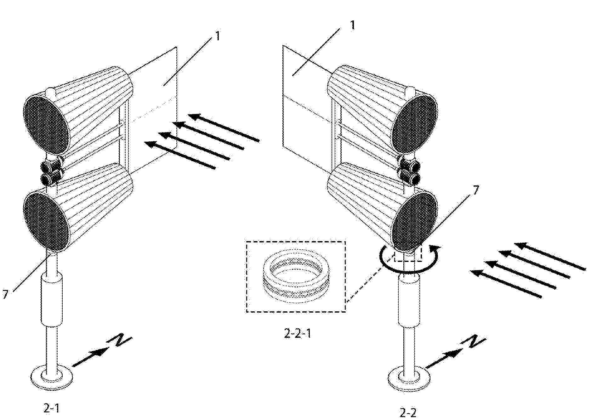
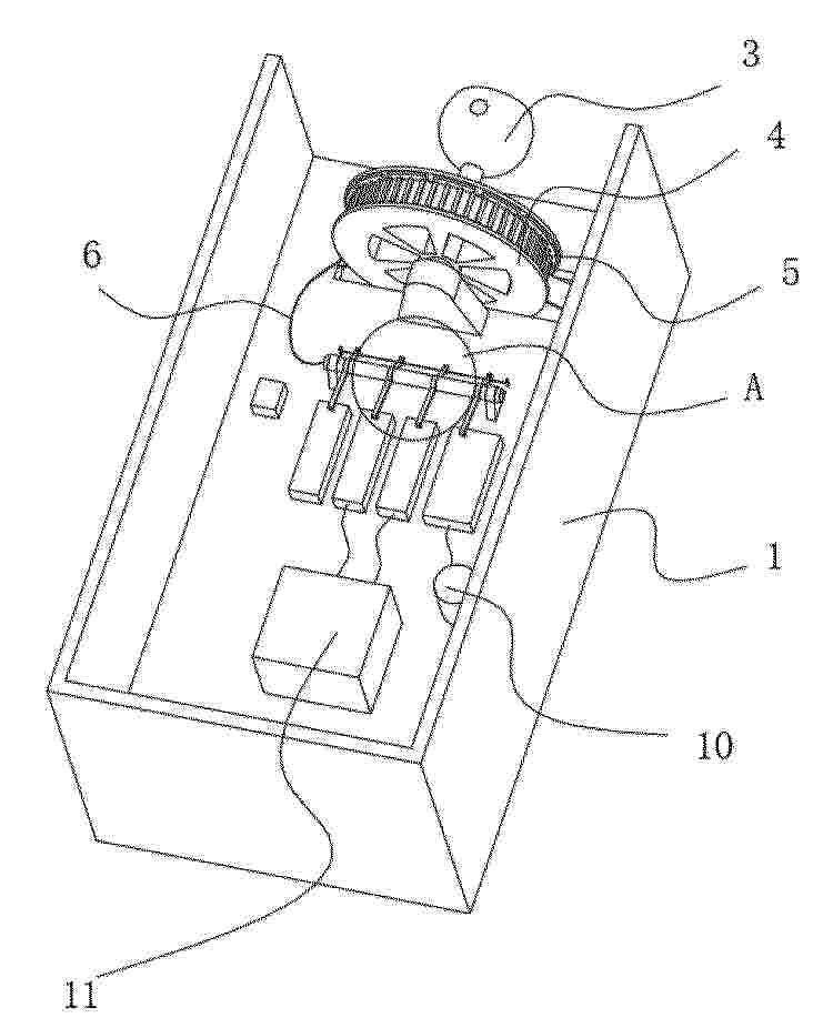
High-Efficiency Wind Power Generation Device

NºPublicación:  US20260049592A1 19/02/2026
Solicitante: 
WANG ZHENKUN ZACK [US]
Wang Zhenkun Zack
US_20260049592_PA

Resumen de: US20260049592A1

This invention provides a compact, high-efficiency wind power device featuring permanent wind alignment and avian protection. The conical shell's large inlet and small outlet utilize the Venturi effect to accelerate airflow driving generator blades at the outlet. A counterweighted front support with bearing joint and rear adjustment plate ensures inlet alignment via the lever principle. A collision-prevention net and warning light are mounted at the inlet. The upper cylinder surface integrates solar panels to power the device internally.

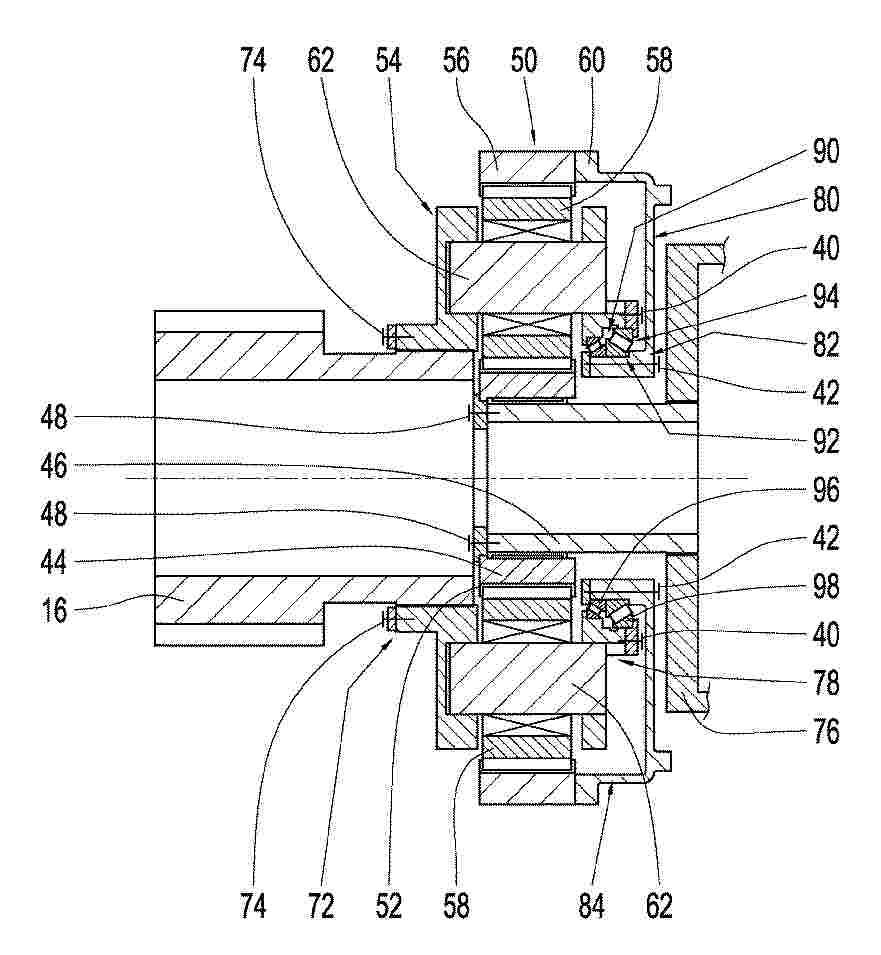
LARGE ROLLER BEARING AS BLADE, AZIMUTH OR MAIN BEARINGS FOR WIND TURBINES

NºPublicación:  US20260049593A1 19/02/2026
Solicitante: 
IMO HOLDING GMBH [DE]
IMO Holding GmbH
US_20260049593_PA

Resumen de: US20260049593A1

A large roller bearing has an inner ring and an outer ring, raceways for rolling elements received between these raceways, a first and a second end face. First fastening means extend from the first to the second end face, wherein each of the first fastening means is aligned with a bore of a first connecting element. An adapter ring extends from the outer or inner ring axially toward the first or a second connecting element. The adapter ring has a first and a second end face, and second fastening means extend from its first to its second end face, and each second fastening means is aligned with a bore of a second connecting element. Third bores are spaced apart from one another, wherein each of the third bores is aligned at the first end face of the adapter ring with a bore of the outer ring or the inner ring.

TURBOFAN ENGINE INCLUDING A FAN ACTUATION SYSTEM

NºPublicación:  US20260049557A1 19/02/2026
Solicitante: 
GENERAL ELECTRIC COMPANY [US]
General Electric Company
US_20260049557_PA

Resumen de: US20260049557A1

A turbofan engine for an aircraft includes a fan and a fan actuation system. The fan has a plurality of fan blades coupled to a fan shaft having one or more fan bearings. The fan blades are rotatable about a pitch axis. The fan actuation system is disposed within a fan hub and includes one or more actuators for rotating the fan blades about the pitch axis and one or more radial thrust bearings. The fan actuation system is characterized by a fan actuation system length envelope in a range of 8.5 to 24 and given byNFB×DFTLAXIAL×(RTBNFB).NFB is a number of the fan blades, DFT is a fan tip diameter of the fan blades, RTB is a thrust bearing radius of the radial thrust bearings, and LAXIAL is an axial length from a fan hub tip to the fan bearings.

Generation of Electrical Power Offshore

NºPublicación:  US20260048818A1 19/02/2026
Solicitante: 
SUBSEA 7 NORWAY AS [NO]
Subsea 7 Norway AS
US_20260048818_PA

Resumen de: US20260048818A1

A floating power-generation group comprises a floating hub such as a spar buoy that is anchored to subsea foundations by anchor lines. Floating power producer units such as wind turbines are connected electrically and mechanically to the hub. The power producer units are each moored by mooring lines. At least one mooring line extends inwardly toward the hub to effect mechanical connection to the hub and at least one other mooring line extends outwardly toward a subsea foundation. The groups are combined as a set whose hubs are connected electrically to each other via subsea energy storage units. Anchor lines of different groups can share subsea foundations. The storage units comprise pumping machinery to expel water from an elongate storage volume and generating machinery to generate electricity from a flow of water entering the storage volume. The pumping machinery can be in deeper water than the generating machinery.

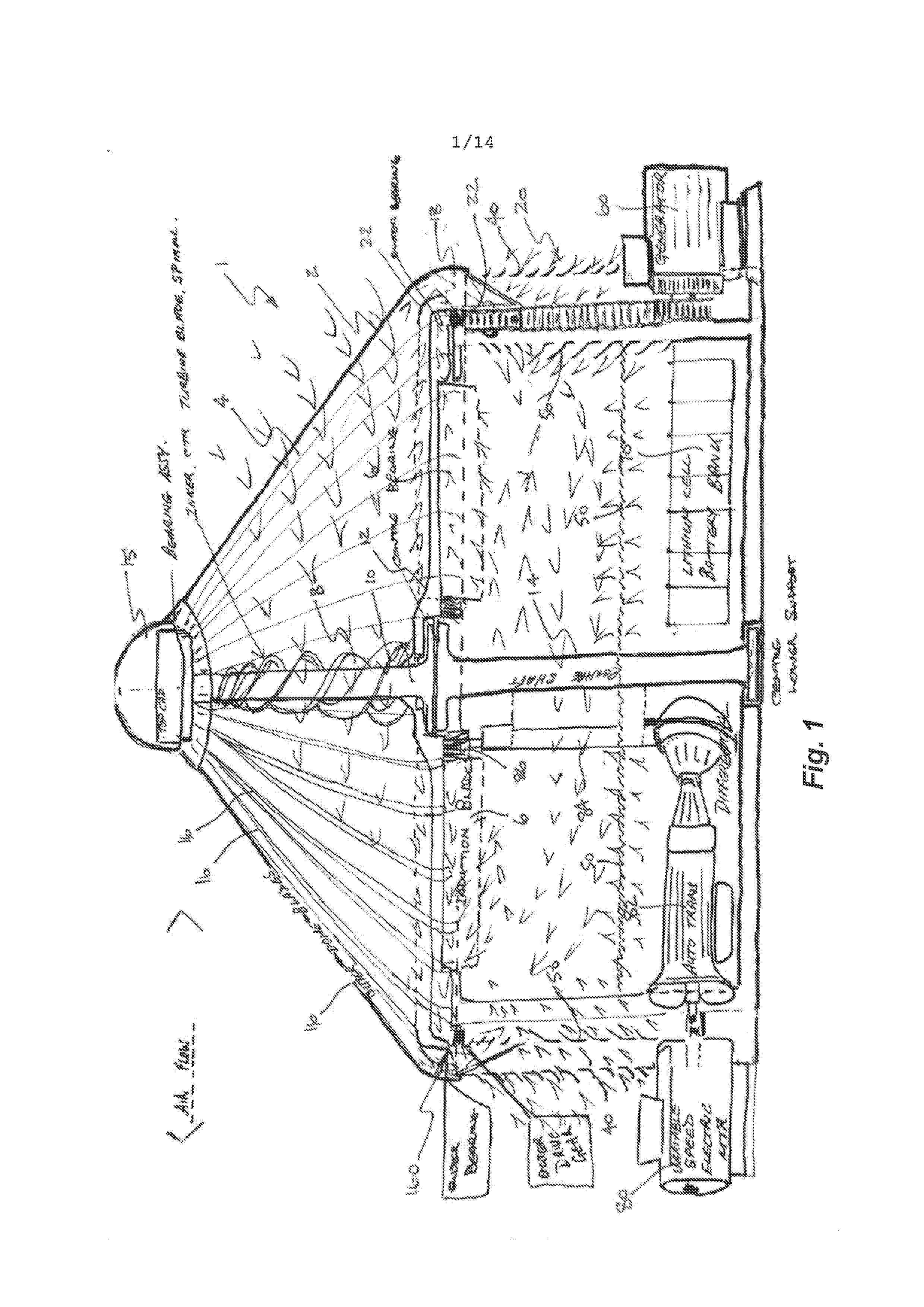
TURBINE MOTOR TRI DRIVE

NºPublicación:  AU2025210829A1 19/02/2026
Solicitante: 
AMOS PAUL
Amos, Paul
AU_2025210829_A1

Resumen de: AU2025210829A1

The present disclosure relates to a turbomachine for power generation, and to a turbine assembly for the turbomachine. The turbine assembly comprises a turbine of generally conical shape, and a disc shaped turbine positioned in a base of the conical turbine. A central turbine may extend internally along a central shaft inside of the conical turbine. Each of the turbines can be coupled with respect to each other so as to rotate together and uncoupled if required. In one form, the turbomachine further comprises a cylindrical support configured to rotationally support the turbine assembly with a vertical rotational axis. At least one generator can be driven by the turbine assembly. The present disclosure relates to a turbomachine for power generation, and to a turbine assembly for the turbomachine. The turbine assembly comprises a turbine of generally conical shape, and a disc shaped turbine positioned in a base of the conical turbine. A central turbine may extend internally along a central shaft inside of the conical turbine. Each of the turbines can be coupled with respect to each other so as to rotate together and uncoupled if required. In one form, the turbomachine further comprises a cylindrical support configured to rotationally support the turbine assembly with a vertical rotational axis. At least one generator can be driven by the turbine assembly. ul u l Fi g. BEARING ASSY. lb -BLA>65 -C ourse risu ) So < So CENTRE SHAFT so ^ " LITHIUM CELL BATTERY BANK DIFFERENTI

DIRECT-DRIVE MODULAR ARC GENERATOR SYSTEMS AND METHODS

NºPublicación:  US20260051789A1 19/02/2026
Solicitante: 
EOLIC CO [US]
UT BATTELLE LLC [US]
EOLIC CO,
UT-BATTELLE, LLC
US_20260051789_PA

Resumen de: US20260051789A1

An electrical direct-drive generator that extracts rotational motion from wind or water is described. One or more modular stators overlap with a portion of a rotor. Each modular stator includes multiple stationary coils wound around magnetic cores. The number of modular stators can be increased to increase the desired output. The low-speed rotation of the rotor relative to the stationary modular stator generates electricity without the need for a gearbox and/or additional stages of power conversion. As a result, the electrical generator has reduced system weight, reduced volume, increased efficiency, increased reliability, reduced cost, and other advantages.

TURBINE ROTOR BLADE

NºPublicación:  AU2024329877A1 19/02/2026
Solicitante: 
HADIPOUR MORTEZA
PIRAN ROYA
HADIPOUR, Morteza,
PIRAN, Roya
AU_2024329877_A1

Resumen de: AU2024329877A1

A rotor blade assembly for use with a rotating shaft, the rotor blade assembly may comprise a rotor hub coaxially mounted on the rotating shaft, and a plurality of blades connected to and arranged circumferentially around the rotor hub. Each respective blade of the plurality of blades may be mirror-symmetrical with respect to a corresponding plane of symmetry. The corresponding plane of symmetry may extend between a hub-side end and a tip-side end of the respective blade, bisecting the respective blade into two similar portions, wherein each of the respective similar portions comprises a root edge connected to the rotor hub, a trailing edge, a leading edge, and a blade surface extending between the root edge, the trailing edge, the leading edge, and the corresponding plane of symmetry.

BIDIRECTIONAL ROTOR DEVICE FOR ELECTROMECHANICAL ENERGY CONVERSION AND METHOD THEREOF

Nº publicación: WO2026039205A1 19/02/2026

Solicitante:

CHOKKALINGAM RAMKUMAR [US]
CHOKKALINGAM, Ramkumar

WO_2026039205_PA

Resumen de: WO2026039205A1

A bidirectional rotor device for electromechanical energy conversion and a method thereof is disclosed. The bidirectional rotor device comprises a first rotor, a second rotor, a plurality of planetary gears, an input actuation unit, and an electric power transferring unit. The first rotor and the second rotor counter-rotate, inducing electromagnetic interactions through strategically placed one of: one or more coils, one or more magnets, and one or more electromagnets enabling efficient power transfer. A braking system regulates rotational speed, enabling hybrid operation as both a motor and a generator. The bidirectional rotor device employs one or more artificial intelligence (Al) models, including load frequency control, droop control, and economic load dispatch, for real-time power optimization, predictive load balancing, and emergency fault detection. The bidirectional rotor device enhances energy efficiency, durability, and adaptability for renewable energy, industrial automation, and electric vehicle applications, providing a versatile and intelligent electromechanical conversion system.

traducir